HB3333MM11 - Autres appareil de cuisine AEG - Notice d'utilisation et mode d'emploi gratuit
Retrouvez gratuitement la notice de l'appareil HB3333MM11 AEG au format PDF.
| Caractéristiques | Détails |
|---|---|
| Type d'appareil | Mixeur plongeant |
| Puissance | 600 W |
| Vitesse | 2 vitesses |
| Accessoires inclus | Fouet, hachoir, gobelet |
| Matériaux | Acier inoxydable, plastique |
| Longueur du câble | 1,5 m |
| Poids | 1,2 kg |
| Utilisation | Idéal pour mixer, fouetter et hacher des aliments |
| Entretien | Accessoires lavables au lave-vaisselle |
| Sécurité | Système de verrouillage de sécurité |
| Garantie | 2 ans |
FOIRE AUX QUESTIONS - HB3333MM11 AEG
Questions des utilisateurs sur HB3333MM11 AEG
0 question sur cet appareil. Repondez a celles que vous connaissez ou posez la votre.
Poser une nouvelle question sur cet appareil
Téléchargez la notice de votre Autres appareil de cuisine au format PDF gratuitement ! Retrouvez votre notice HB3333MM11 - AEG et reprennez votre appareil électronique en main. Sur cette page sont publiés tous les documents nécessaires à l'utilisation de votre appareil HB3333MM11 de la marque AEG.
MODE D'EMPLOI HB3333MM11 AEG
FR Notice d'utilisation 21
Table de cuisson
Merci d'avoir choisi ce produit AEG. Nous l'avons conçu pour qu'il vous offre des performances irréprochables pour longtemps, en intégrant des technologies innovantes qui vous simplifient la vie grâce à des caractéristiques que vous ne trouverez pas forcément sur des appareils ordinaires. Veuillez prendre quelques instants pour lire cette notice afin d'utiliser au mieux votre appareil.
Visitez notre site Internet pour :

Obtenir des conseils d'utilisation, des brochures, de l'aide, des informations :
Enregistrez votre produit pour obtenir un meilleur service :
www.registereraeg.com

Acheter des accessoires, consommables et pièces de rechange d'origine pour votre appareil :
www.aeg.com/shop
Service après-vente
Utilisez toujours des pièces d'origine.
Avant de contacter le service après-vente, assurez-vous de disposer des informations suivantes : Modèle, PNC, numéro de série.
Vous trouvez ces informations sur la plaque signalétique.
Avertissement/Consignes de sécurité Informations générales et conseils Informations en matière de protection de l'environnement
Avant d'installer et d'utiliser cet appareil, lisez soigneusement les instructions fournies. Le fabricant ne pourra être tenu pour responsable des blessures et dégâts résultant d'une mauvaise installation ou
utilisation. Conservez toujours les instructions dans un lieu sûr et accessible pour vous y référer ultérieurement.
1.1 Sécurité des enfants et des personnes vulnérables
- Cet appareil peut être utilisé par des enfants de plus de 8 ans, ainsi que des personnes dont les capacité appareil et de comprendre les risques encourus.
- Les enfants entre 3 et 8 ans et les personnes ayant un handicap très important et complexe doivent être tenus à l'écart, à moins d'être surveillés en permanence.
- Les enfants de moins de 3 ans doivent être tenus à l'écart, à moins d'être surveillés en permanence.
- Ne laissez pas les enfants jouer avec l'appareil.
- Ne laissez pas les emballages à la portée des enfants et jetez-les convenablement.
- Tenez les enfants et les animaux éloignés de l'appareil lorsqu'il est en cours de fonctionnement ou lorsqu'il refroidit. Les parties accessibles sont chaudes.
- Si l'appareil est équipé d'un dispositif de sécurité enfants, nous vous recommandons de l'activer.
- Les enfants ne doivent pas nettoyer ni entreprendre une opération de maintenance sur l'appareil sans surveillance.
1.2 Sécurité générale
- AVENTISSEMENT : L'appareil et ses parties accessibles deviennent chauds pendant son fonctionnement. Veillez à ne pas toucher les éléments chauffants.
- Ne faites pas fonctionner l'appareil avec un minuteur externe ou un système de commande à distance.
- AVERTISSEMENT: Il peut être dangereux de laisser chauffer de la gra
- N'essayez JAMAIS d'éteindre un feu avec de l'eau. Éteignez l'appareil puis couvrez les flammes, par exemple avec un couvercle ou une couverture ignifuge.
- ATTENTION : Toute cuisson doit être surveillée. Une cuisson courte doit être surveillée en permanence.
- AVERTISSEMENT : Risque d'incendie : N'entreposez rien sur les surfaces de cuisson.
- Ne posez pas d'objets métalliques tels que couteaux, fourchettes, cuillères ou couvercles sur la table de cuisson car ils pourraient chauffer.
- N'utilisez pas de nettoyeur vapeur pour nettoyer l'appareil.
- À priori, utilisation, éteignez : toujours la zone de cuisson à l'aide de la manette de commande correspondante et ne vous fiez pas à la détection des récipients.
- Si la surface vitrocéramique / en verre est fissurée, éteignez l'appareil et débranchez-le. Si l'appareil est branché à l'alimentation secteur directement en utilisant une boîte de jonction, retirez le fusible pour déconnecter l'appareil de l'alimentation secteur. Dans tous les cas, contactez le service après-vente/agréé.
- Si le câble d'alimentation est endommagé, il doit être remplacé par le fabricant, un service de maintenance/agréé ou un technicien qualifié afin d'éviter tout danger.
- AVERTISSEMENT : Utilisez uniquement les dispositifs de protection pour table de cuisson conçus ou indiqués comme adaptations par le fabricant de l'appareil de cuisson dans les instructions d'utilisation, ou les dispositifs de protection pour table de cuisson intégrés à l'appareil. L'utilisation de dispositifs de protection non adaptés peut entraîner des accidents.

Avertissement!
L'appareil doit être installé uniquement par un professionnel qualifié.

Avertissement!
Risque de blessure corporelle ou de dommages matériels.
- Retirez l'intégralité de l'emballage.
- N'installez pas et ne branchez pas un appareil endommagé.
- Suivez scrupuleusement les instructions d'installation fournies avec l'appareil.
- Respectez l'espacement minimal requis par rapport aux autres appareils et éléments.
- Soyez toujours vigilants lorsque vous déplacez l'appareil car il est lourd. Utilisez toujours des gants de sécurité et des chaussures fermées.
- Isolez les surfaces découvertes à l'aide d'un matériel d'étanchéité pour éviter que la moisissure ne provoque des gonflements.
- Protégez la partie inférieure de l'appareil de la vapeur et de l'humidité.
- N'installez pas l'appareil près d'une porte ou sous une fenêtre. Les récipients chauds risqueraient de tomber de l'appareil lors de l'ouverture de celles-ci.
- Chaque appareil est doté de ventilateurs de refroidissement dans le fond.
- Si l'appareil est installé au-dessus d'un tiroir :
- Ne rangez pas de feuilles ni de petits bouts de papier qui pourrait entraver le refroidissement ou le système de refroidissement.
- Laissez une distance d'au moins 2 cm entre le fond de l'appareil et les objets rangés dans le tiroir.

Avertissement!
Risque d'incendie ou d'électrocution.
L'ensemble des branchements électriques doit être effectué par un technicien qualifié. - L'appareil doit être relié à la terre. - Avant de raccorder une table de cuisson à un four et avant de brancher les câbles, assurez-vous que les bornes principales des deux appareils sont hors tension. - Vérifiez que les paramètres figurant sur la plaque signalétique correspondent aux données électriques de votre réseau. Assurez-vous que l'appareil est bien installé. Un câble d'alimentation lâche et inapproprié ou une fiche (si présente) non serrée peut être à l'origine d'une surchauffe des bornes. - Utilisez le câble d'alimentation électrique approprié. - Ne laissez pas le câble d'alimentation s'emmêler. Assurez-vous qu'une protection antiélectrocution est installée. - Utilisez un collier anti-traction sur le câble. Assurez-vous que le câble d'alimentation ou la fiche (si présente) n'entrent pas en contact avec les surfaces brûlantes de l'appareil ou les récipients brûlants lorsque vous branchez l'appareil à des prises électriques situées à proximité. - N'utilisez pas d'adaptateurs ou de multiprises ni de rallonges. Veillez à ne pas endommager la fiche secteur (si présente) ni le câble d'alimentation. Contactez notre service après-vente agréé ou un électricien pour remplacer le câble d'alimentation s'il est endommagé. - La protection contre les chocs des parties sous tension et isolées doit être fixée de telle manière qu'elle ne peut pas être enlevée sans outils. - Ne branchez la fiche d'alimentation à la prise de courant qu'à la fin de l'installation. Assurez-vous que la
La prise de courant est accessible une fois l'appareil installé.
- Si la prise de courant est l'âche, ne branchez pas la fiche d'alimentation secteur.
- Ne tirez jamais sur le câble d'alimentation pour débrancher l'appareil. Tirez toujours sur la fiche.
- N'utilisez que des systèmes d'isolement appropriés : des coupe-circuits, des fusibles (les fusibles à visser doivent être reliés au support), un disjoncteur différentiel et des contacteurs.
- L'installation électrique doit être équipée d'un dispositif d'isolement à coupure omnipolaire. Le dispositif d'isolement doit avoir une distance d'ouverture des contacts d'au moins 3 mm.

Avertissement!
Risque de blessures, de brûlures ou d'électrocution.
- Avant la première utilisation, retirez les emballages, les étiquettes et les films de protection (si présents). Utilisez cet appareil dans un environnement domestique.
- Ne modifiez pas les caractéristiques de cet appareil. Assurez-vous que les orifices de ventilation ne sont pas bouchés.
- Ne laissez jamais l'appareil sans surveillance pendant son fonctionnement.
- Éteignez les zones de cuisson après chaque utilisation.
- Ne vous fiez pas uniquement au détecteur de récipient.
- Ne posez pas de couverts ou de couvercles sur les zones de cuisson. Elles sont chaudes.
- N'utilisez jamais cet appareil avec les mains mouillées ou lorsqu'il est en contact avec de l'eau.
- N'utilisez jamais l'appareil comme plan de travail ou comme plan de stockage.
- Si la surface de l'appareil presente des félures, débranchez immédiatement l'appareil pour éviter tout risque d'électrocution.
- appareil est en cours de fonctionnement. Lorsque vous versez un aliment dans de l'huile chaude, elle peut éclabousser.

Avertissement!
Risque d'incendie et d'explosion.
- Les graisses et l'huile chaudes peuvent dégager des vapeurs inflammables. Tenez les flammes ou les objets chauds éloignés des graisses et de l'huile lorsque vous vous en servez pour cuisiner.
- Les vapeurs dégagées par l'huile très chaude peuvent provoquer une combustion spontanée.
- L'huile qui a servi contient des restes d'aliments pouvant provoquer un incendie à température plus faible que l'huile n'avant jamais servi.
- Ne placez pas de produits inflammables ou d'éléments imbibés de produits inflammables à l'intérieur ou à proximité de l'appareil, ni sur celui-ci.

Avertissement!
Risque d'endommagement de l'appareil.
- Ne laissez pas de récipients chauds sur le bandeau de commande.
- Ne posez pas de couvercle de casserole chaud sur la surface en verre de la table de cuisson.
- Ne laissez pas le contenu des récipients de cuisson s'évaporer complètement.
- Prenez soin de ne pas laisser tomber d'objets ou de récipients sur l'objet. Sa surface risque d'être endommagée.
- Ne faites jamais fonctionner les zones de cuisson avec des récipients de cuisson vides ou sans aucun récipient de cuisson.
- Ne placez jamais de papier aluminium sur l'appareil.
- N'utilisez pas de récipients en fonte ou en aluminium, ni de récipients dont le fond est endommagé et
rugueux. Ils risqueraient de rayer le verre ou la surface vitrocéramique. Soulevez toujours ces objets lorsque vous devez les déplacer sur la surface de cuisson. - Cet appareil est exclusivement destiné à un usage culinaire. Ne l'utilisez pas pour des usages autres que celui pour lequel il a été créé, à des fins de chauffage par exemple.
2.4 Entretien et nettoyage
- Nettoyez régulièrement l'appareil afin de maintenir le revêtement en bon état.
- Éteignez l'appareil et laissez-le refroidir avant de le nettoyer.
- Débranchez l'appareil de l'alimentation électrique avant toute opération de maintenance.
- Ne pulvérisez pas d'eau ni de vapeur pour nettoyer l'appareil.
- Nettoyez l'appareil avec un chiffon doux humide. Utilisez uniquement des produits de lavage neutres.
N'utilisez pas de produits abrasifs, de tampons à récurer, de solvants ni d'objets métalliques.
2.5 Maintenance
- Pour réparer l'appareil, contactez un service après-vente/agréé. Utilisez exclusivement des pièces d'origine.

Avertissement!
Risque de blessure ou d'asphyxie.
- Contactez votre service municipal pour obtenir des informations sur la marche à suivre pour permettre l'appareil au rebut.
- Débranche l'appareil de l'alimentation électrique.
- Débranche le câble d'alimentation au ras de l'appareil et mettez-le au rebut.
3.1 Description de la table de cuisson

Zone de cuisson à induction 2 Bandeau de commande
3.2 Description du bandeau de commande

Les touches sensitives permettent de faire fonctionner l'appareil. Les affichages, les voyants et les signaux sonores indiquent les fonctions activées.
| Tou- che sensiti- ve | Fonction Commentaire | ||
| 1 | - Indicateur du niveau de cuisson | Pour indiquer le niveau de cuisson. | |
| 2 | - Voyants du minuteur des zones de cuisson | Pour indiquer la zone à laquelle se réfère la durée sélectionnée. | |
| 3 | - Affichage du minuteur Pour indiquer la durée, en minutes. | ||
| 4 | ○ | - Pour désirir la zone de cuisson. | |
| 5 | + / - | - Pour augmenter ou diminuer la durée. | |
| 6 | = | Hob2Hood Pour activer et désactiver le mode manuel de la fonction. | |
| 7 | @ | Verrou./ Dispositif de sé- curité enfants | Pour verrouiller ou déverrouiller le bandeau de commande. |
| 8 | || | Pause Pour activer et désactiver la fonction. | |
| 9 | @ | PowerBoost Pour activer la fonction. | |
3.3 Indicateurs de niveau de cuisson
| Écran d'affichage Description | |
| La zone de cuisson est désactivée. | |
| Écran d'affichage Description | |
| 1-9 | La zone de cuisson est activée. |
| 0 | Pause est activée. |
| A | Démarriage automatique de la cuisson est activée. |
| P | PowerBoost est activée. |
| E+ chiffre | Une anomalie de fonctionnement s'est produit. |
| 3/7 | OptiHeat Control (Voyant de chaleur résiduelle à 3 niveaux) : continu la cuisson / maintien au chaud / chaleur résiduelle. |
| L | Verrou. /Dispositif de sécurité enfants est activée. |
| F | Le écipient est inapproprié ou trop petit, ou bien il n'y a pas de réci-pient sur la zone de cuisson. |
| - | Arrêt automatique est activée. |
3.4 OptiHeat control (voyant de chaleur résiduelle à 3 niveaux)
Les zones de cuisson à induction générent la chaleur nécessaire directement sur le fond des plats de cuisson. La table vitrocéramique est chauffée par la chaleur des récipients.

Avertissement!


La chaleur
La chaleur résiduelle peut être source de brûlures. Le voyant indique le niveau de chaleur résiduelle.

Avertissement!
Reportez-vous aux chapitres concernant la sécurité.
4.1 Utilisation de la table de cuisson
La table de cuisson fonctionne à l'aide des manettes du four et du bandeau de commande de la table de cuisson. Le chapitre traitant de l'utilisation quotidienne du four vous indique comment faire fonctionner la table de cuisson.
Cette fonction arrête la table de cuisson automatiquement si :
- toutes les zones de cuisson sont désactivées,
- vous ne réglez pas le niveau de cuisson après avoir allumé la table de cuisson,
- vous avez renversé quelque chose ou placé un objet sur le bandeau de commande pendant plus de 1 éteint. Retirez l'objet du bandeau de commande ou nettoyez celui-ci.
- la table de cuisson surchauffe (par ex. lorsqu'un récipient chauffe à
- vous avez utilisé un réseau inadapté. Le symbole «F» s'allume et la zone de cuisson se désactive automatiquement au bout de 2 minutes.
- vous ne désactivez pas la zone de cuisson ou ne modifiez pas le niveau de cuisson. Au bout de quelques instants, s allume et la table de cuisson s'éteint.
La relation entre le niveau de cuisson et la durée après laquelle la table de cuisson s'éteint :
| Niveau de cuisson La table de cuisson s'éteint au bout de | |
| 0,1-2 | 6 heures |
| 3-4 5 heures | |
| 5 4 heures | |
| 6-9 1,5 heures | |
4.3 Utilisation des zones de cuisson
Posez le récipient au centre de la zone sélectionnée. Les zones de cuisson à induction s'adaptent automatiquement au diamètre du fond du récipient utilisé.
Vous pouvez cuisiner avec de grands récipients placés sur deux zones de cuisson en même temps. Le réseau doit couvrir les centres des deux zones.
4.4 Démarrage automatique de la cuisson
Cette fonction vous permet d'atteindre le niveau de cuisson sélectionné en un temps plus court. Cette fonction active le niveau de cuisson le plus élevé pendant un certain temps puis redescend au niveau sélectionné.

Pour activer la fonction, la zone de cuisson doit être froide.
Pour activer la fonction pour une zone de cuisson : tournez la manette vers la droite jusqu'à ce que Rallume. Réglez immédiatement le niveau de cuisson souhaité. Au bout de 3 secondes, s'allume.
Pour désactiver la fonction : tournez la manette vers la gauche.
4.5 PowerBoost
Cette fonction vous permet d'augmenter la puissance des zones de cuisson à induction. La fonction peut être activée pour la zone de cuisson à induction uniquement pour une durée limitée. Lorsque cette durée est écoulée, la zone de cuisson à induction revient automatiquement au niveau de cuisson le plus élevé.

Reportez-vous au chapitre « Caractéristiques techniques »
Pour activer la fonction pour une zone de cuisson : appuyez sur P, s'allume.
Pour désactiver la fonction : modifiez le niveau de cuisson.
Minuteur dégressif
Vous pouvez utiliser cette fonction pour régler la durée de fonctionnement de la zone de cuisson, uniquement pour une session.
Sélectionnez d'abord le niveau de cuisson de la zone de cuisson, puis régalez la fonction.
Pour sélectionner la zone de cuisson : appuyez sur a plusieurs reprises jusqu'à ce que l'indicateur de la zone de cuisson correspondante s'affiche.
Pour activer la fonction : appuyez sur la touche + du minuteur pour régler la durée (de 00 à 99 minutes). Lorsque le voyant de la zone de cuisson commence à clignoter lentement, le décompte commence.
Pour voir le temps restant :
Sélectionnez la zone de cuisson à l'aide de ①. L'affichage de la zone de cuisson clignote rapidement. L'affichage indique la durée restante.
Pour modifier la durée : sélectionnez la zone de cuisson à l'aide de ①. Appuyez sur + bu.
Pour désactiver la fonction :
Sélectionnez la zone de cuisson avec et appuyez sur. Le temps restant est décompté jusqu'à 00. Le voyant de la zone de cuisson s'éteint. Pour désactiver la fonction, vous pouvez également appuyer simultanément sur + et -

Lorsque la durée est écoulée, un signal sonore retentit et 00 clignote. La zone de cuisson se désactive.
Pour arrêter le signal sonore : appuyez sur
Cette fonction permet de vérifier la durée de fonctionnement de la zone de cuisson sélectionnée.
Pour sélectionner la zone de cuisson :
appuyez sur à plusieurs reprises jusqu'à ce que l'indicateur de la zone de cuisson correspondante s'affiche.
Pour activer la fonction : appuyez sur la touche du minuteur. s'allume. Lorsque le voyant de la zone de cuisson clignote lentement, le minuteur démarre. L'affichage indique, en alternance, et le nombre de minutes écoulées.
Pour contrôler la durée de fonctionnement de la zone de cuisson sélectionnée : sélectionnez la zone de
cuisson à l'aide du levoyant de la zone de cuisson clignote rapidement. L'affichage indique la durée de fonctionnement de la zone.
Pour désactiver la fonction :
Sélectionnez la zone de cuisson en appuyant sur ① et appuyez sur + bu
Le voyant de la zone de cuisson s'éteint.
Minuterie indépendante
Vous pouvez utiliser cette fonction comme minuteur lorsque la table de cuisson est allumée mais que les zones de cuisson ne sont pas activées. L'affichage du niveau de cuisson indique 0.
Pour activer la fonction : appuyez sur
Appuyez sur la touche du minuteur pour régler la durée. L'affichage des zones de cuisson se désactive automatiquement au bout de 10 secondes. Lorsque la durée s'est écoulée, un signal sonore retentit et 00 clignote.
Pour arrêter le signal sonore : appuyez sur
Pour désactiver la fonction : activez la zone de cuisson avant gauche pendant un court instant puis désactivez-la.

Cette fonction est sans effet sur le fonctionnement des zones de cuisson.
4.7 Pause
Cette fonction sélectionne le niveau de cuisson le plus bas pour toutes les zones de cuisson activées.
La fonction ne désactive pas les fonctions du minuteur.
Appuyez sur pour activer la fonction. apparait. Le niveau de cuisson passe à 1. Pour désactiver la fonction, appuyez sur la touche. Le niveau de cuisson précédent s'allume.

Lorsque vous modifiez le niveau de cuisson, la fonction s'arrête et le nouveau niveau de cuisson s'affiche.
4.8 Verrou.
Vous souchez verrouiller les touches sensitives de la table de cuisson pendant que les zones de cuisson fonctionnent.
Réglez d'abord le niveau de cuisson.
Pour activer la fonction : appuyez sur affiche pendant 4 secondes. Le minuteur reste activé.
Pour désactiver la fonction: appuyez sur le niveau de cuisson précédent.

Lorsque vous éteignez la table de cuisson, cette fonction est également désactivée.
4.9 Dispositif de sécurité enfants
Cette fonction permet d'éviter une utilisation involontaire de la table de cuisson.
Pour activer la fonction : la table de cuisson doit etre eteinte. Appuyez sur pendant 4 secondes jusqu'ac que clignote. Appuyez sur sallume pendant 4 secondes.
Pour désactiver la fonction : la table de cuisson doit être éteinte. Appuyez sur pendant 4 secondes jusqu'à ce que clignote. Appuyez sur s'allume pendant 4 secondes.
Pour désactiver la fonction le temps d'une cuisson : allumez une zone de cuisson. L'sallume. Appuyez sur pendant 4 secondes ; l'allume pour toutes les zones. Reglez le niveau de cuisson dans les 4 secondes qui suivent. Vous pouvez utiliser la table de cuisson. Lorsque vous éteignez l'appareil, cette fonction est à nouveau activée.
4.10 Offsound Control (désactivation et activation des signaux sonores)
Eteignez la table de cuisson. Appuyez sur pendant 3 secondes. Appuyez sur pendant 3 secondes.
s'allume. Appuyez sur la touche du minuteur pour choisir l'une des options suivantes :
- les signaux sonores sont désactivés
- Les signaux sonores sont actifs.
Pour confirmer le réglage, attendez que la table de cuisson s'éteigne automatiquement.
Lorsque cette fonction est réglée, l'appareil émet des signaux sonores uniquement lorsque:
- Minuterie indépendante se termine
- Minuteur dégressif se termine
- vous posez un objet sur le bandeau de commande.
4.11 Gestionnaire de puissance
- Toutes les zones de cuisson sont reliées à une phase. Reportez-vous à l'illustration.
- La phase dispose d'une charge électrique maximale de 3700 W.
- La fonction répartit la puissance entre les zones de cuisson.
- La fonction s'active lorsque la charge électrique totale des zones de cuisson dépasse 3700 W.
- La fonction diminue la puissance des autres zones de cuisson.
- L'affichage du niveau de cuisson des zones à puissance réduite oscille entre deux niveaux.

4.12 Hob²Hood
Il s'agit d'une fonction automatique de pointe permettant de relier la table de cuisson à une hotte spéciale. La table de cuisson et la hotte disposent toutes les deux d'un communicateur de signal infrarouge. La vitesse du ventilateur est définie automatiquement en se basant sur le réglage du mode et de la température du récipient le plus chaud se trouvant sur la table de cuisson. Vous pouvez également activer le ventilateur manuellement, depuis la table de cuisson.

Sur la plupart des hottes, le système de commande à distance est désactivé par défaut. Activez-le avant d'utiliser cette fonction. Pour plus d'informations, reportez-vous au manuel d'utilisation de la hotte.
Activation automatique de la fonction
Pour activer automatiquement la fonction, régalez le mode automatique sur H1 - H6. À l'origine, la table de cuisson est réglée sur H5. La hotte réagit dès que vous allumez la table de cuisson. La table de cuisson détecte automatiquement la température du récipient et ajuste la vitesse du ventilateur.
Modes automatiques
| Éclaira- | ge auto-matique | Faire bouillir1) | Faire fri-re2) |
| Mode H0 Désactive | Désactive | Désactive | |
| Mode H1 Activé Désactive | Désactive | ||
| Mode H2 3) | Activé Vitesse | Vitesse | |
| du venti-lateur 1 | du venti-lateur 1 | ||
| Mode H3 Activé Désactive | Vitesse | ||
| du venti-lateur 1 | du venti-lateur 1 | ||
| Mode H4 Activé Vitesse | Vitesse | ||
| du venti-lateur 1 | du venti-lateur 1 | ||
| Mode H5 Activé Vitesse | Vitesse | ||
| du venti-lateur 1 | du venti-lateur 2 | ||
| Mode H6 Activé Vitesse | Vitesse | ||
| du venti-lateur 2 | du venti-lateur 3 | ||
1) La table de cuisson détecte le processus d'ébullition et sélectionne la vitesse du ventilateur en fonction du mode automatique. 2) La table de cuisson détecte le processus de friture et sélectionne la vitesse du ventilateur en fonction du mode automatique. 3) Ce mode active le ventilateur et l'éclairage, sans tenir compte de la température.
Modification du mode automatique
- Éteignez l'appareil.
- Appuyez sur la touche pendant 3 secondes jusqu'à ce que vous entendiez un bip.
- Appuyez sur pendant 3 secondes jusqu'à ce que ou allume.
- Appuyez sur jusqu'à ce que H et un chiffre (0 - 6) s'affiche. H5 est le réglage par défaut.
- Appuyez sur la touche + du minuteur pour sélectionner le mode souhaité (H0 - H6). Le mode souhaité
s'active automatiquement après 10 secondes.

Pour faire fonctionner directement la hotte, désactivez le mode automatique de la fonction sur le bandeau de commande de la hotte.

Lorsque la cuisson est terminée et que vous désactivez la table de cuisson, le ventilateur de la hotte peut continuer de fonctionner pendant un certain temps. Au bout d'un moment, le système désactive automatiquement le ventilateur et vous empêche de l'activer accidentellement durant les 30 secondes qui suivent.
Activation manuelle de la vitesse du ventilateur
Vous pouvez également activer la fonction manuellement. Pour ce faire, appuyez sur la touche lorsque la table de cuisson est allumée. Cela désactive le
fonctionnement automatique de la fonction et vous permet de modifier manuellement la vitesse du ventilateur.
En appuyant sur la touche, la vitesse du ventilateur est augmentée d'un palier. Lorsque vous atteignez un niveau intensif et que vous appuyez sur la touche à nouveau, la vitesse du ventilateur revient à 0, désactivant ainsi le ventilateur de la hotte. Pour réactiver le ventilateur à vitesse 1, appuyez sur la touche.

Pour activer le fonctionnement automatique de la fonction, éteignez puis rallumez la table de cuisson.
Activation de l'éclairage
Vous pouvez régler la table de cuisson pour activer automatiquement l'éclairage dès que la table de cuisson est allumée. Pour ce faire, régalez le mode automatique sur H1 - H6.

L'éclairage de la hotte s'éteint 2 minutes après avoir éteint la table de cuisson.

Avertissement!
Reportez-vous aux chapitres concernant la sécurité.
5.1 Récepteurs

Sur les zones de cuisson à induction, un champ électromagnétique puissant chauffe les récipients très rapidement.

Utilisez des récipients adaptés aux zones de cuisson à induction.
Matériaux des récipients
- adaptations : fonte, acier, acier émaillé, acier inoxydable, fond multicouche (homologué par le fabricant).
- inadaptés : aluminium, cuivre, laiton, verre, céramique, porcelaine.
Les plats de cuisson conviennent pour l'induction si :
- une petite quantité d'eau contenue dans un récipient chauffe dans un bref laps de temps sur une zone de cuisson réglée sur le niveau de cuisson maximal.
- Un aimant adhère au fond du récipient.

Le fond de l’ustensile de cuisson doit être aussi plat et épais que possible. Assurez-vous que le fond du récipient est propre avant de le placer sur la surface de la table de cuisson.
Dimensions de l'ustensile
Les zones de cuisson à induction s'adaptent automatiquement au diamètre du fond du récipient utilisé.
L'efficacité de la zone de cuisson est liée au diamètre du récipient. Un récipient plus petit que le diamètre minimal recommandé ne reçoit qu'une petite partie de la puissance générée par la zone de cuisson.

Reportez-vous au chapitre « Caractéristiques techniques »
Si vous entendez :
- un craquement : le récipient est composé de différents matériaux (conception « sandwich »).
- un sifflement : vous utilisez la zone de cuisson avec un niveau de puissance élevé et le récipient est composé de différents matériaux (conception « sandwich »).
- un bourdonnement : vous utilisez un niveau de puissance élevé.
- un cliquetis : des commutations électriques se produisent.
- un sifflement, un bourdonnement : le ventilateur fonctionne.
Ces bruits sont normaux et n'indiquent pas une anomalie de la table de cuisson.
5.3 Eco timer (minuteur éco)
Pour réaliser des économies d'énergie, la zone de cuisson se désactive automatiquement avant le signal du minuteur. La différence de temps de fonctionnement dépend du niveau et de la durée de cuisson.
5.4 Exemples de cuisson
La corrélation entre le réglage de la chaleur d'une zone et sa consommation de puissance n'est pas linéaire. Lorsque vous augmentez le réglage de la chaleur, il n'est pas proportionnel à l'augmentation de la consommation de puissance. Cela signifie qu'une zone de cuisson à moyenne température utilise moins de la moitié de sa puissance.

Les données du tableau sont fournies à titre indicatif uniquement.
| Niveau de cuisson | Utilisation : Durée | (min) | Conseils |
| u - 1 | Conserve les alimentés cuits au chaud. | au be-soin | Placez un couvercle sur le réci-pient. |
| 1 - 2 Sauce hollandaise, faire fon-dre : beurre, chocolat, gélati-ne. | 5 - 25 Mélangez de temps en temps. | ||
| 1 - 2 Solidifier : omelettes, øeufs co-cotte. | 10 - 40 Couvrez pendant la cuisson. | ||
| 2 - 3 Faire moyen des plats à base de riz et de laitage, réchauffer des plats cuisinés. | 25 - 50 Ajoutez au moins deux fois plus de liquide que le riz, mé-langez les plats de lait à mi-chemin de la procédure. | ||
| 3 - 4 Cuire à la vapeur des légumes, du poisson et de la viande. | 20 - 45 Ajoutez quelques cuillères à soupe de liquide. | ||
| 4 - 5 Cuire des pommes de terre à la vapeur. | 20 - 60 Utilisez max. ¼ l d'eau pour 750 g de pommes de terre. | ||
| Niveau de cuisson | Utilisation : Durée | Conseils |
| (min) | ||
| 4 - 5 Cuire de grandes quantités d'aliments, des ragôuts et des soupes. | 60 - 150 Ajoutez jusqu'à 3 l de liquide, plus les ingrédients. | |
| 6 - 7 Poêler à feu doux : escalopes, cordons bleus de veau, côte- lettes, rissolettes, saucisses, foie, roux, øeufs, crépes, bei-gnets. | au be-soin | Retournez à mi-cuisson. |
| 7 - 8 Cuisson à température élevée des pommes de terre rissolées, filets, steaks. | 5 - 15 Retournez à mi-cuisson. | |
| 9 Faire bouillir de l'eau, cuire des pâtes, griller de la viande (goulasch, bœuf braisé), cuire des frites. | ||
| Faire bouillir une grande quantité d'eau. PowerBoost is activated. | ||
5.5 Conseils pour Hob²Hood
Lorsque vous faites fonctionner la table de cuisson avec la fonction :
- Protégez le bandeau de commande de la hotte des rayons directs du soleil.
- Ne dirigez pas de lumière halogène sur le bandeau de commande de la hotte.
- Ne recouvrez pas le bandeau de commande de la table de cuisson.
- N'interrompez pas le signal entre la table de cuisson et la hotte (par exemple avec la main ou la poignée d'un ustensile). Reportez-vous à l'image.
La hotte sur l'illustration est uniquement donnée à titre d'exemple.


Les autres appareils télécommandés peuvent bloquer le signal. N'utilise pas d'autre appareil télécommandé en même temps que la fonction de la table de cuisson.
Hottes de cuisinière dotées de la fonction hob²hood
Pour couvrir la gamme complète des hottes dotées de cette fonction, consultez notre site web destiné aux consommateurs. Les hottes AEG qui sont dotées de cette fonction doivent porter le symbole

Avertissement!
Reportez-vous aux chapitres concernant la sécurité.
6.1 Informations générales
- Nettoyez la table de cuisson après chaque utilisation. Utilisez toujours un réseau dont le fond est propre.
- Les rayures ou les taches sombres sur la surface n'ont aucune incidence sur le fonctionnement de la table de cuisson. Utilisez un nettoyant spécialement adaptable à la surface de la table de cuisson. Utilisez un racloir spécial pour la vitre.
6.2 Nettoyage de la table de cuisson
- Enlevez immédiatement : le plastique fondu, les feuilles de
plastique, le sucre et les aliments contenant du sucre car la saleté peut endommager la table de cuisson. Veillez à ne pas vous brûler. Tenez le racloir spécial incliné sur la surface vitrée et faites glisser la lame du racloir pour enlever les salissures.
- Une fois que la table de cuisson a suffisamment refroidi, enlevez : traces de calcaire et d'eau, projections de graisse, décolorations métalliques luisantes. Nettoyez la table de cuisson à l'aide d'un chiffon humide et d'un détergent non abrasif. Après le nettoyage, séchez la table de cuisson à l'aide d'un chiffon doux.
- Pour retirer les décolorations métalliques brillantes : utilisez une solution d'eau additionnée de vinaigre et nettoyez la surface vitrée avec un chiffon.

Avertissement!
Reportez-vous aux chapitres concernant la sécurité.
7.1 En cas d'anomalie de fonctionnement
| Problème Cause probable Solution | ||
| Vous ne pouvez pas allumer la table de cuisson ni la faire fonctionner. | Le fusible a disjoncté. Vérifiez | que le fusible est bien la cause de l'anomalie. Si les fusibles disjonctent de manière répétée, faites ap-pel à un électricien qualifié. |
| Vous avons appuyé sur plu-sieurs touches sensitives en même temps. | N'appuyez que sur une seule touche sensitive à la fois. | |
| Pause est activée. Reportez-vous au chapitre | « Utilisation quotidienne » | |
| Il y a de l'eau ou des taches deGRAISSÉ sur le bandeau de commande. | Nettoyez le bandeau de commande. | |
| Un signal sonore retentit et la table de cuisson s'éteint. Un signal sonore retentit lorsque la table de cuisson est éteinte. | Vouves avoir posé quelques chose sur une ou plusieurs touches sensitives. | Retirez l'objet des touches sensitives. |
| Levoyant de chaleur rési-duelle ne s'allume pas. | La zone de cuisson n'est pas chaude parce qu'elle n'a fonctionné que peu de temps ou le capteur est en-dommage. | Si la zone de cuisson a eu as-sez de temps pourCHAuffer, faites appel à votre service après-vente agréé. |
| Hob2Hood ne fonctionne pas. | Vouves avoir couvert le ban-deau de commande. | Retirez l'objet du bandeau de commande. |
| Démarrage automatique de la cuisson ne fonctionne pas. | La zone est chaude. Laissez la zone de cuisson refroidir. | |
| Le niveau de cuisson le plus élevé est régèle. | Le niveau de cuisson le plus élevé est identique à la fon-c-tion. | |
| Le niveau de cuisson oscille entre deux niveaux. | Gestionnaire de puissance est activée. | Reportez-vous au chapitre « Utilisation quotidienne » . |
| Les touches sensitives sont chaudes. | Le rècipient est trop grand ou vous l'avez placé tropures des commandes. | Placez les réciPIents de grande taille sur les zones de cuisson arrêté, si pos-sible. |
| Aucun signal sonore ne sait entendre lorsque vous appuyez sur les touches sens-itives du bandeau. | Les signaux sonores sont désactivés. | Activez les signaux sonores. Reportez-vous au chapitre « Utilisation quotidienne » . |
| s'llallume. | Arrêt automatique est acti-vee. | Éteignez la table de cuisson puis allumez-la de nouveau. |
| s'llallume. | Dispositif de sécurité enfants ou Verrou. est activée. | Reportez-vous au chapitre « Utilisation quotidienne » . |
| s'llallume. | Il n'y a pas de rècipient sur la zone de cuisson. | Placez un rècipient sur la zo-ne de cuisson. |
| Le rècipient n'est pas adap-ét. | Utilisez des réciPIents adap-tes. Reportez-vous au chapi-tre « Conseils » . | |
| Le diamètre du fond du réci-pient de cuisson est trop pe-tit pour la zone de cuisson. | Utilisez un rècipient de di-mensions appropriées. Re-portez-vous au chapitre « Caractéristiques techni-ques » . | |
| E et un chiffre s'affichent. | Une erreur s'est produit dans la table de cuisson. | Éteignez la table de cuisson et rallumez-la au bout de 30 secondes. Si S'affiche à nouveau, débranchez la ta-ble de cuisson de la prise électrique. Au bout de 30 secondes, rebranchez la table de cuisson. Si le problème persististe, contactez le service après-vente agréé. |
| Un bip constant se déclenche. | Le branchement électrique n'est pas adapté. | Débranchez l'appareil de l'alimentation électrique. Demandez à un électricien qualifié de vérifier l'installa-tion. |
7.2 Si vous ne trouvez pas de solution...
Si vous ne trouvez pas de solution au problème, veuillez contacter votre revendeur ou un service après-vente/agréé. Veuillez lui fournir les informations se trouvant sur la plaque signalétique. Donnez également la combinaison à 3 lettres et chiffres pour la vitrocéramique (située dans un des coins de la surface en verre) et le message
d'erreur qui s'affiche. Assurez-vous d'utiliser correctement l'appareil. En cas d'erreur de manipulation de la part de l'utilisateur, le déplacement du technicien du service après-vente ou du vendeur pourra être facturé, même en cours de garantie. Les instructions relatives au service après-vente et aux conditions de garantie figurent dans le livre de garantie.

Avertissement!
Reportez-vous aux chapitres concernant la sécurité.
8.1 Type de raccordement au gaz pour la table de cuisson et le four
Cet appareil dispose d'un connecteur 1x14 pôles jaune et peut être raccordé à un four doté d'un connecteur 1x14 pôles jaune.
8.2 Avant l'installation
Avant d'installer la table de cuisson, les informations de la plaque signalétique ci-dessous. La plaque
signalétique se trouve au bas de la table de cuisson.
Numéro de série
8.3 Tables de cuisson intégrées
Installez d'abord le four, puis la table de cuisson dans son logement.
Les tables de cuisson encastrables ne peuvent être mises en fonctionnement qu'après avoir été installées dans des meubles et sur des plans de travail homologués et adaptations.
8.4 Montage



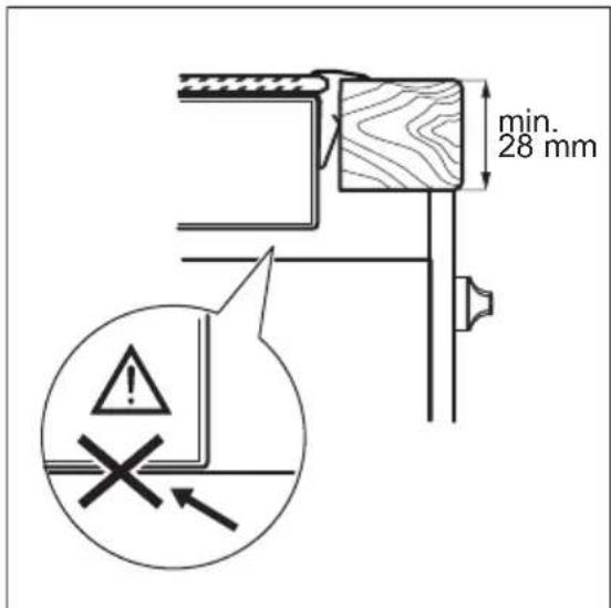
Si l'appareil est installé au-dessus d'un tiroir, la ventilation de la table de cuisson peut chauffer les éléments rangés dans le tiroir durant la cuisson.

9.1 Plaque signalétique
Modèle IEB64030XB PNC 949 597 289 00
Type 61 B4B 01 AA 220 - 240 V 50 - 60 Hz
Induction 7.35 kW Fabrication en Allemagne
Numéro de série 7.35 kW
AEG

9.2 Caractéristiques des zones de cuisson
| Zone de cuisson | Puisance no-minale (niveau de cuisson max.) [W] | Power-Boost [W] | PowerBoost durée maximale [min] | Diamètre du ré-cipient [mm] |
| Avant gauche 2300 3200 10 125 - 210 | ||||
| Arrière gauche 2300 3200 10 125 - 210 | ||||
| Avant droite 2300 3200 10 125 - 210 | ||||
| Arrière droite 2300 3200 10 125 - 210 | ||||
La puissance des zones de cuisson peut légèrement différer des données du tableau. Elle dépend de la matière et des dimensions du récipient.
Pour des résultats de cuisson optimaux, utilisez des récipients qui ne dépassent pas les diamètres indiqués dans le tableau.
10.1 Informations sur le produit selon la norme EU 66/2014
| Identification du modele | IEB64030XB | |
| Type de table de cuisson | Table de cuisson | intégrée |
| Nombre de zones de cuisson | 4 | |
| Technologie de chauffage | Induction | |
| Diamètre des zones de cuisson circulaires (Ø) | Avant gauche | 21,0 cm |
| Arrière gauche | 21,0 cm | |
| Avant droite | 21,0 cm | |
| Arrière droite | 21,0 cm | |
| Consommation d'énergie selon la zone de cuisson (EC electric cooking) | Avant gauche | 179,3 Wh / kg |
| Arrière gauche | 178,4 Wh / kg | |
| Avant droite | 189,4 Wh / kg | |
| Arrière droite | 178,4 Wh / kg |
Consommation d'énergie 181,4 Wh/kg de la table de cuisson (EC electric hob)
EN 60350-2 - Appareils de cuisson domestiques électriques - Partie 2: Tables de cuisson - Méthodes de mesure des performances
10.2 Économie d'énergie
Vous pouvez économiser de l'énergie au quotidien en suivant les conseils suivants.
- Si vous faites chauffer de l'eau, ne faites chauffer que la quantité dont vous avez réellement besoin.
- Si possible, couvrez toujours les récipients de cuisson avec un couvercle pendant la cuisson.
- Activez toujours la zone de cuisson après avoir posé le récipient dessus.
- Placez les plus petits récipients sur les plus petites zones de cuisson.
- Placez directement le récipient au centre de la zone de cuisson.
- Vous pouvez utiliser la chaleur résiduelle pour conserver les aliments au chaud ou pour faire fondre.
11. En matière de protection de l'environnement
Recyclez les matériaux portant le symbole. Déposez les emballages dans les conteneurs prévus à cet effet. Contribuez à la protection de l'environnement et à votre sécurité, recyclez vos produits électriques et
électroniques. Ne jetez pas les appareils portant le symbole avec les ordures ménagères. Emmenez un tel produit dans votre centre local de recyclage ou contactez vos services municipaux.
Notice Facile