HB3333MM11 - Andere Küchengeräte AEG - Kostenlose Bedienungsanleitung
Finden Sie kostenlos die Bedienungsanleitung des Geräts HB3333MM11 AEG als PDF.
Häufig gestellte Fragen - HB3333MM11 AEG
Questions des utilisateurs sur HB3333MM11 AEG
0 question sur cet appareil. Repondez a celles que vous connaissez ou posez la votre.
Poser une nouvelle question sur cet appareil
Laden Sie die Anleitung für Ihr Andere Küchengeräte kostenlos im PDF-Format! Finden Sie Ihr Handbuch HB3333MM11 - AEG und nehmen Sie Ihr elektronisches Gerät wieder in die Hand. Auf dieser Seite sind alle Dokumente veröffentlicht, die für die Verwendung Ihres Geräts notwendig sind. HB3333MM11 von der Marke AEG.
BEDIENUNGSANLEITUNG HB3333MM11 AEG
DE Benutzerinformation 42
Kochfeld
USER
MANUAL

CONTENTS
1.SAFETY INFORMATION 2
2.SAFETYINSTRUCTIONS 4
3.PRODUCT DESCRIPTION. 7
4.DAILYUSE. 8
5.HINTS AND TIPS. 12
6.CARE AND CLEANING. 15
7.TROUBLESHOOTING. 15
8. INSTALLATION 17
9. TECHNICAL DATA 18
10. ENERGY EFFICIENCY 19
FOR PERFECT RESULTS
1.SICHERHEITSHINWEISE 42
2.SICHERHEITSANWEISUNGEN. 45
3.GERATEBESCHREIBUNG 48
4. TÄGLICHER GEBRAUCH 50
5. TIPPS UND HINWEISE 54
6. REINIGUNG UND PFLEGE 57
7. FEHLERSUCHE 57
8.MONTAGE. 59
9. TECHNISCHE DATEN 61
10. ENERGIEEFFIZIENZ 61
FÜR PERFEKTE ERGEBNISSE
Danke, dass Sie sich für diese AEG Produkt entschieden haben. Wir haben es geschaffen, damit Sie weitere Jahre von seiner ausgezeichneten Leistung und den innovativen Technologien, die Ihnen das Leben erleichtern, profitieren können. Es ist mit Funktionen ausgestattet, die in gewöhnlichen Geräten nicht vorhanden sind. Nehmen Sie sich ein paar Minuten Zeit zum Lesen, um seine Vorzüge kennen zu lernen.
Besuchen Sie uns auf unserer Website, um:

Sich Anwendungshinweise, Prospekte, Fehlerbehebungs- und ServiceInformationen zu holen:
Ihr Produkt für einen besseren Service zu registrierten:
www.registeraeg.com


Zubehör, Verbrauchsmaterial und Original-Ersatzteile für Ihr Gerät zu kaufen: www.aeg.com/shop
REPARATUR- UND KUNDENDIENST
Bitte verwenden Sie ausschließlich Original-Ersatzteile für ihre Produkte. Halten Sie folgende Angaben bereit, wenn Sie sich an den Kundendienst wenden: Modell, Produktnummer (PNC), Seriennnummer. Diese Informationen finden Sie auf dem Typenschild.
Warnungs-/Sicherheitshinweise
① Allgemeine Informationen und Empfehlungen
Informationen zum Umweltschutz
Änderungen vorbehalten.
1. SICHERHEITSHINWEISE
Lesen Sie vor der Montage und dem Gebrauch des Geräts zuerst die Gebrauchsanleitung. Bei Verletzungen oder Schäden infolge nicht ordnungsgemäßer Montage
oder Verwendung des Geräts übernimmt der Hersteller keine Haftung. Bewahren Sie die Anleitung immer an einem sicheren und zugänglichen Ort zum späteren Nachschlagen auf.
1.1 Sicherheit von Kindern und schutzbedürftigen Personen
- Das Gerät kann von Kindern ab 8 Jahren und Personen mit eingeschränkten physischen, sensorischen oder geistigen Fähigkeiten oder mit mangelnder Erfahrung und/oder mangelndem Wissen nur dann verwendet werden, wenn sie durch eine für ihre Sicherheit zuständige Person beaufsichtigt werden oder in die sichere Verwendung des Geräts eingewiesen wurden und die mit dem Gerät verbundenen Gefahren verstanden haben.
- Kinder zwischen 3 und 8 Jahren und Personen mit schweren Behinderungen oder Mehrfachbehinderung müssen vom Gerät ferngehalten werden, wenn sie nicht ständig beaufsichtigt werden.
- Halten Sie Kinder unter 3 Jahren vom Gerät fern, wenn sie nicht ständig beaufsichtigt werden.
- Kinder dürfen nicht mit dem Gerät speiten.
- Halten Sie samentliches Verpackungsmaterial von Kindern fern und entsorgen Sie es auf angemessene Weise.
- Halten Sie Kinder und Haustiere während des Betriebs oder der Abkuhlphase vom Gerät fern. Berührbare Teile sindHEY.
- Falls Ihr Gerät mit einer Kindersicherung ausgestattet ist, empfehlen wir, diese einzuschalten.
- Kinder dürfen keine Reinigung und Wartung ohne Beaufsichtigung durchführren.
1.2 Allgemeine Sicherheit
- WARNUNG: Das Gerät und die zugänglichen Geräteile werden während des Betriebs geß. Seien
Sie vorsichtig und berühren Sie niemals die Heizelemente.
- Schalten Sie das Gerät nicht über eine externe Zeitschaltuhr oder eine separate Fernsteuerung ein.
- WARNUNG: Kochen mit Fett oder Öl auf einem unbeaufsichtigten Kochfeld ist gefährlich und kann zu einem Brand führen.
- Versuchen Sie NICHT einen Brand mit Wasser zulöschen, sondern schalten Sie das Gerät aus und bedecken Sie die Flamme mit einem Deckel oder einer Feuerlöschdecke.
VORSICHT: Der Kochvorgang muss überwacht werden. Ein kurzer Kochvorgang muss kontinuierlich überwacht werden. - WARNUNG: Brandgefahr: Legen Sie keine Gegenstände auf dem Kochfeld ab.
- Legen Sie keine Metallgegenstände wie Messer, Gabeln, Löffel oder Topfdeckel auf die Oberflächen des Kochfelds, da diese heißt werden können.
- Reinigen Sie das Gerät nicht mit einem Dampfstrahlreiniger.
- Schalten Sie die Kochzone nach dem Gebrauch ab und verlassen Sie sich nicht auf die Topferkennung.
- Hat die Glaskeramik-/Glasoberfläche einen Sprung, schalten Sie das Gerät aus und behmen Sie es vom Stromnetz. Falls das Gerät direkt mit dem Stromnetz verbunden ist und nicht getrennt werden kann, behmen Sie die Sicherung für den Anschluss Heraus, um die Stromversorgung zu unterbrechen. Verständigen Sie in jedem Fall den autorisierten Kundendienst.
- Wenn das Netzkabel beschädigt ist, muss es vom Hersteller, einem autorisierten Kundendienst oder einer gleichermaßen qualifizierten Person ausgetauscht werden, um Gefahrenquellen zu vermeiden.
- WARNING: Verwenden Sie nur Schutzabdeckungen des Herstellers des Kochgerats, von ihm in der
Bedienungsanleitung als geeignete und empfohlene Schutzabdeckungen oder die im Gerät enthaltene Schutzabdeckung. Es besteht Unfallgefahr durch die Verwendung ungeeigneter Schutzabdeckungen.
2. SICHERHEITSANWEISUNGEN
2.1 Montage

WARNING!
Die Montage des Geräts darf nur von einer qualifizierten Fachkraft durchgeführt werden.

WARNING!
Verletzungsgefahr sowie Risiko von Schaden am Gerät.
- Entfernen Sie das gesamte Verpackungsmaterial.
- Montieren Sie ein beschädigtes Gerät nicht und benutzen Sie es nicht.
- Halten Sie sich an die mitgelieferte Montageanleitung.
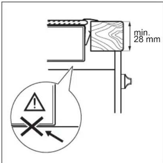
Die Mindestabstände zu anderen Geräten sind einzuhalten. - Seien Sie beim Umsetzen des Gerätes vorsichtig, da es sehr schwer ist. Tragen Sie stets Sicherheitshandschuhe und festes Schuhwerk.
- Dichten Sie die Ausschnittskanten mit einem Dichtungsmittel ab, um ein Aufquellen durch Feuchtigkeit zu verhindern.
- Schützen Sie die Geräteunterseite vor Dampf und Feuchtigkeit.
Installieren Sie das Gerät nicht direkt...,
nben einer Tur oder unter einem Fenster. So kann heiBes Kochgeschirn nicht herunterfallen, wenn die Tur oder das Fenster geöffnet wird. - Jedes Gerät besitzt Kuhlgeblase auf seiner Unterseite.
- Ist das Gerät über einer Schublade installiert:
- Lagern Sie keine kleinen Papierstücke oder -blätter, die eingezogen werden können, in der Schublade, da sie die Kühlgeläse beschädigen oder
das Kuhlsystem beeinträchtigen konnen.
- Halten Sie einen Abstand von mindestens 2 cm zwischen dem Geräteboden und den Teilen, die in der Schublade gelagert sind, ein.
2.2 Elektrischer Anschluss

WARNING!
Brand- und Stromschlaggefahr.
- Alle elektrischen Anschlüsse sind von einem geprüften Elektriker vorzunehmen.
- Das Gerät muss geerdet sein.
- Stellen Sie vor dem Anschluss des Kochfelds an den Backofen und den anderen Anschüssen sicher, dass die Anschlussklemmen der beiden Geräte nicht an die Spanningsversorgung angeschlossen sind.
- Stellen Sie sicher, dass die Daten auf dem Typenschild mit den elektrischen Nennwerten der Netzspannung übereinstimmen.
- Vergewissern Sie sich, dass das Gerät ordnungsgemäß installiert ist. Lockere und unsachgemäß Kabel oder Stecker (falls vorhanden) können die Klemme überhitzen.
- Stellen Sie sicher, dass Sie das richtige Kabel für den elektrischen Netzanschluss verwenden.
- Achten Sie darauf, dass das Netzkabel nicht lose hangt oder sich verheddert.
- Sorgen Sie davon, dass ein Berührungsschutz installiert wird.
- Verwenden Sie die Zugentlastung für das Kabel.
- Stellen Sie beim elektrischen Anschluss des Gerätes sicher, dass das Netzkabel oder ggf. der Netzstecker nicht mit dem bereits
Gerat oder heiBem Kochgeschirr in Berührung kommt.
- Verwenden Sie keine Mehrfachsteckdosen oder Verlängerungskabel.
- Achten Sie darauf, Netzstecker (falls vorhanden) und Netzkabel nicht zu beschädigen. Wenden Sie sich zum Austausch eines beschädigten Netzkabels an unseren autorisierten Kundendienst oder eine Elektrofachkraft.
- Alle Teile, die gegen direktes Berühren schützen, sowie die isolierten Teile müssen so befestigt werden, dass sie nicht ohne Werkzeug entfernt werden können.
- Stecken Sie den Netzstecker erst nach Abschluss der Montage in die Steckdose. Stellen Sie sicher, dass der Netzstecker nach der Montage noch zugänglich ist.
- Falls die Steckdose lose ist, schlieben Sie den Netzstecker nicht an.
- Ziehen Sie nicht am Netzkabel, wenn Sie das Gerät von der Stromversorgung trennen möchten. Ziehen Sie stets am Netzstecker.
- Verwenden Sie nur geeignete Trenneinrichtungen: Überlastschalter, Sicherungen (Schraubsicherungen müssen aus dem Halter entfernt werden können), Fehlerstromschutzschalter und Schütze.
Die elektrische Installation muss eine Trenneinrichtung aufweisen, mit der Sie das Gerät allpolig von der Stromversorgung trennen können. Die Trenneinrichtung muss mit einer Kontaktöffnungsbreite von mindestens 3 mm ausgeführst sein.
2.3 Verwendung

WARNING!
Verletzungs-, Verbrennungs- und Stromschlaggefahr.
- Entfernen Sie vor dem ersten Gebrauch das gesamte Verpackungsmaterial, die Aufkleber und Schutzfolie (falls vorhanden).
-
Das Gerät ist für die Verwendung im Haushalt vorgesehen.
-
Nehmen Sie keine technischen Änderungen am Gerät vor.
Die Luftungsöffnungen dürfen nicht abgedeckt werden. - Lassen Sie das Gerät bei Betrieb nicht unbeaufsichtigt.
- Schalten Sie die Kochzonen nach einem Gebrauch aus.
- Verlassen Sie sich nicht auf die Topferkennung.
- Legen Sie kein Besteck und keine Topfdeckel auf die Kochzonen. Anderenfalls werden sie sehr heiß.
Bedienen Sie das Gerät nicht mit feuchten oder nassen Händen oder wenn es mit Wasser in Kontakt gekommen ist. - Benutzen Sie das Gerät nicht als Arbeits- oder Abstellfläche.
- Hat die Geräteoberfläche einen Sprung, trennen Sie das Gerät umgehend von der Spannungsversorgung. Dies dient zur Vermeidung eines Stromschlags.
- Benutzer mit einem Herzschrittmacher müssen einen Mindestabstand von 30 cm zu den Induktionskochzonen einhalten, wenn das Gerät in Betrieb ist.
- Wenn Sie Nahrungsmittel in heiBes Öl geben, kann diese spritzen.

WARNING!
Brand- und Explosionsgesfahr
- Erhitzte Öl und Fette konnen brennbare Dämpfe freiisetzen. Halten Sie Flammen und erhitze Gegenstände beim Kochen mit Fetten und Öl von diesen fern.
Die von sehr heiBem Öl freigesetzten Dämpfe konnen eine Selfbstzündung verursachen. - Bereits verwendetes Öl kann Lebensmittelrechte enthalten und schon bei niedrigeren Temperaturen mehr einen Brand verursachen als frisches Öl.
- Laden Sie keine entflammbaren Produkte oder Gegenstände, die mit entflammbaren Produkten benetzt sind, in das Gerät und stellen Sie solche nicht in die Nähe oder auf das Gerät.

WARNING!
Risiko von Schaden am Gerat.
- Stellen Sie keinheits Kochgeschirr auf das Bedienfeld.
- Stellen Sie keine bereits Pfaffen auf die Glasoberfläche des Kochfeldes.
- Lassen Sie das Kochgeschirr nicht leerkochen.
- Lassen Sie keine Gegenstände oder Kochgeschirr auf das Gerät fallen. Die Oberfläche konnte beschädigt werden.
- Schalten Sie die Kochzonen niemals ein, wenn sich kein Kochgeschirr darauf auf befindet, oder wenn das Kochgeschirr leer ist.
- Legen Sie keine Alufolie auf das Gerät.
Kochgeschirr aus Gusseisen, Aluminium oder mit beschädigten Böden kann die Glas- bzw. Glaskeramikoberfläche verkratzen. Heben Sie das Kochgeschirr stets an, wenn Sie es auf der Kochfläche umsetzen möchten. - Dieses Gerät ist nur zum Kochen bestimmt. Jeder andere Gebrauch ist als bestimmungsfremd anzusehen, zum Beispiel das Beheizen eines Raums.
2.4 Reinigung und Pflege
- Reinigen Sie das Gerät regelmäßig, um eine Verschlechterung des Oberflächenmaterials zu verhindern.
-
Schalten Sie das Gerät vor dem Reinigen aus und setzen Sie es abkühlen.
-
Trennen Sie das Gerät vor Wartungsarbeiten von der Spannungsvorsorgung.
- Reinigen Sie das Gerät nicht mit Wasserspray oder Dampf.
- Reinigen Sie das Gerät mit einem weichen, feuchten Tuch. Verwenden Sie ausschließlich Neutralreiniger. Benutzen Sie keine Scheuermittel, scheuernde Reinigungsschwämchen, Lösungsmittel oder Metallgegenstände.
2.5 Service
Wenden Sie sich zur Reparatur des Geräts an einen autorisierten Kundendienst.
- Verwenden Sie ausschließlich Originalersatzteile.
2.6 Entsorgung

WARNING!
Verletzungs- und Erstickungsgefahr.
- Für Informationen zur ordnungsgemäßen Entsorgung des Gerats wenden Sie sich an die zuständigeCOMMUNALE Behörde vor Ort.
- Trennen Sie das Gerät von der Stromversorgung.
- Schneiden Sie das Netzkabel in der Nähe des Geräts ab, und entsorgen Sie es.
3. GERÄTEBESCHREIBUNG
3.1 Kochfeldanordnung

1 Induktionskochzone
2 Bedienfeld
3.2 Bedienfeldanordnung

Bedieren Sie das Gerät über die Sensorfelder. Die Anzeigen, Kontrollampen und akustischen Signale informieren Sie über die aktiven Funktionen.
| Sensorysorfeld | Funktion Kommentar | |
| 1 | - Kochstufenanzeige Zeigt die Kochstufe an. | |
| 2 | - Kochzonen-Anzeigen des Timers | Zeigt an, für welche Kochzone die Zeit ein-gestellt wurde. |
| 3 | - Timer-Anzeige Zeigt die Zeit in Minuten an. | |
| 4 | 0 | - Auswahlen der Kochzone. |
| 5 | + / - | - Erhöhen oder Verringern der Zeit. |
| Sens- sorfeld | Funktion Kommentar | |
| 6 | 3 | Hob2Hood Ein- und Ausschalten des manuellen Modus der Funktion. |
| 7 | 4 | Verriegeln / Kindersiche- rerung Verriegeln/Entriegeln des Bedienfelds. |
| 8 | II | Pause Ein- und Ausschalten der Funktion. |
| 9 | 5 | PowerBoost Einschalten der Funktion. |
3.3 Anzeigen der Kochstufen
| Display Beschreibung | |
| 0 | Die Kochzone ist ausgescheltet. |
| 1-9 | Die Kochzone ist eingescheltet. |
| u | Pause ist aktiviert. |
| R | Ankochautomatik ist aktiviert. |
| P | PowerBoost ist aktiviert. |
| E+Zahl | Eine Störung ist aufgetreten. |
| 3/4 | OptiHeat Control (Restwärmeanzeige, 3-stufig): Weitergaren/Warm-halten/Restwärme. |
| L | Verriegeln/Kindersicherung ist aktiviert. |
| F | Das Kochgeschirr ist ungeeignet oder zu Klein bzw. es befindet sich kein Kochgeschirr auf der Kochzone. |
| - | Abschaltautomatik ist aktiviert. |
3.4 OptiHeat Control (Restwärmeanzeige, 3-stufig)

WARNING!
Ebesteht
Verbrennungsgefahr durch
Restwärme. Die Anzeige
zeigt die Restwärnestufe an.
Die Induktionskochzonen erzeugen die erforderliche Hitze zum Kochen direkt im Boden des Kochgeschirrs. Die Glaskeramik wird nur durch die Wärme des Kochgeschirrs erhitzt.
4. TÄGLICHER GEBRAUCH

WARNING!
Siehe Kapitel
Sicherheitshinweise.
4.1 Korrekter Gebrauch des Kochfeldes
Das Kochfeld wird mit den Knöpfen des Backofens und dem Bedienfeld des Kochfelds bedient. Im Kapitel „Täglicher Gebrauch" für den Backofen konnen Sie nachlesen, wie das Kochfeld bedient wird.
4.2 Abschaltautomatik
Mit dieser Funktion wird das Kochfeld in folgenden Fällen automatisch ausgeschaltet:
- Alle Kochzonen sind ausgeschaltet.
- Nach dem Einsatz des Kochfelds wird keine Kochstufe gewählt.
- Das Bedienfeld ist mehr als 10 Sekunden mit verschütteten Lebensmitteln oder einem Gegenstand bedeckt (Topf, Tuch usw.). Ein akustisches Signal eront und das Kochfeld schaltet ab. Entfernen Sie den Gegenstand oder reinigen Sie das Bedienfeld.
- Das Kochfeld wird zu heiß (wenn beispelssweise ein Topf leerkocht). Lassen Sie die Kochzone abkühlen, bevor Sie das Kochfeld wieder verwenden.
- Sie verwenden ungeeignetes Kochgeschirr. Das Symbol F leuchtet auf und die Kochzone wird automatisch nach 2 Minuten ausgeschaltet.
- Eine Kochzone wurde nicht ausgeschaltet bzw. die Kochstufe wurde nicht geändert. Nach einer Weile leuchtet auf und das Kochfeld schaltet sich aus.
Verhältnis zwischen der Kochstufe und der Zeit, nach der das Kochfeld ausgeschaltet wird:
| Kochstufe Das Kochfeld wird ausgeschaltet nach | |
| u,1-2 | 6 Stunden |
| 3-4 5 Stunden | |
| 5 4 Stunden | |
| 6-9 1,5 Stunden | |
4.3 Verwendung der Kochzonen
Stellen Sie das Kochgeschirr mittig auf die ausgewählte Kochzone. Induktionskochzonen passen sich bis zu einem gewissen Grad automatisch an die GroBe des Kochgeschirrbodens an.
Mit einem groBen Kochgeschirr konnen Sie auf zwei Kochzonen gleichzeitig kochen. Das Kochgeschirr muss die Mitten beider Zonen bedecken.
4.4 Ankochautomatik
Wenn Sie diese Funktion einschalten,
lässt sich die erforderliche
Kochstufeneinstellung in kürzerer Zeit
erzielen. Bei Verwendung dieser
Funktion wird eine gewisse Zeit lang die
höchste Kochstufe eingestellt und
anschließlich auf die erforderliche Stufe
zurückgeschaltet.
Zum Einsatz der Funktion muss die Kochzone abgekühlt sein.
Einschalten der Funktion für eine
Kochzone:Drehen Sie den Knopf im Uhrzeigersinn, bis A leuchtet. Stellen Sie dann gleich danach die gewünschte Kochstufe ein. Nach 3 Sekunden leuchtet a auf.
Ausschalten der Funktion: Drehen Sie den Knopf entgegen dem Uhrzeigersinn.
4.5 PowerBoost
These Funktion stelltden Induktionskochzonen zusammenliche
Leistung zur Verfügung. Für die Induktionskochzone kann diese Funktion nur für einen begrenzten Zeitraum eingeschaltet werden. Danach schaltet die Induktionskochzone automatisch wieder auf die höchste Kochstufe um.
i Siehe Kapitel, "Technische Daten".
Einschalten der Funktion für eine
Kochzone: Berühren Sie auf.
Ausschalten der Funktion: Andern Sie die Kochstufe.
4.6 Timer
Kurzzeitmesser
Mit dieser Funktion stellen Sie ein, wie lange eine Kochzone für einen einzelnen Kochvorgang eingeschaltet bleiben soll.
Stellen Sie zuerst die Kochstufe für die Kochzone und erst danach die Funktion ein.
Auswahlen der Kochzone: Berühren Sie so oft, bis die Anzeige der gewünschten Kochzone aufleucht.
Einschalten der Funktion: Berühren Sie des Timers, um die Zeit einzustellen (00 - 99 Minuten). Wenn die Anzeige der Kochzone langsam blinkt, wird die Zeit heruntergebnigt.
So wird die Restzeit angezeigt: Wahlen Sie die Kochzone mit aus. Die Anzeige der Kochzone blinkt schneller. Das Display zeigt die Restzeit an.
Andern der Zeit: Wahlen Sie die Kochzone mit aus. Berühren Sie oder
Ausschalten der Funktion: Wahlen Sie die Kochzone mit und berühren Sie. Die Restzeit wird auf 00 herunter gezahlt. Die Anzeige der Kochzone erlischt. Zum Ausschalten der Funktion konnen Sie auch + und - gleichzeitig berühren.
i Wenn die eingestellte Zeit abgelaufen ist, ertont ein Signalton und 00 blinkt. Die Kochzone wird ausgeschaltet.
Ausschalten des Signaltons: Berühren Sie
CountUp Timer (Garzeitmesser)
Mit dieser Funktion konnen Sie feststellen, wie lange eine Kochzone bereits in Betrieb ist.
Auswahlen der Kochzone: Berühren Sie so oft, bis die Anzeige der gewünschten Kochzone aufleucht.
Einschalten der Funktion: Berühren Sie des Timers. Ueuchtet auf. Wenn die Anzeige der Kochzone langsamer blinkt, wird die Zeit hochgezahlt. Das Display schaltet um zwischen und der abgelaufenen Zeit (Minuten).
So können Sie feststellen, wie lange die Kochzone bereits in Betrieb ist:
Wahlen Sie die Kochzone mit aus. Die Anzeige der Kochzone blinkt Schneller. Im Display wird die Einschaltdauer der Zone angezeigt.
Ausschalten der Funktion: Wahlen Sie die Kochzone mit und berühren Sie oder Die Anzeige der Kochzonen erlischt.
Kurzzeitwecker
Sie können diese Funktion als Kurzzeit-Wecker benutzen, wenn das Geräteingeschaltet ist und die Kochzonen nicht in Betrieb sind. Das Display zeigt an.
Einschalten der Funktion: Berühren Sie ①. Berühren Sie ② oder des Timers, um die Zeit einzustellen. Die Anzeige der Kochzone erlischt automatisch nach 10 Sekunden. Wenn die eingestellte Zeit abgelaufen ist, ertönt ein Signalton und 00 blinkt.
Ausschalten des Signaltons: Berühren Sie
Ausschalten der Funktion: Schalten Sie die vordere linke Kochzone kurz ein und wieder aus.

These Funktion hat keine Auswirkung auf den Kochzonenbetrieb.
4.7 Pause
Mit dieser Funktion werden alle eingeschalteten Kochzonen auf die niedrigste Kochstufe geschalte.
Die Funktion unterbricht nicht die Timer-Funktionen.
Berühren Sie zum Einsatzen der Funktion II.
Uerscheint.Die Kochstufe wird auf 1 herunterschaltet.
Berühren Sie zum Ausschalten der Funktion II. Es wird wieder die vorherige Kochstufe eingeschaltet.

Wenn Sie die Kochstufeändern, wird die Funktionausgeschaltet und dasDisplay zeigt die neueingestellte Kochstufe an.
4.8 Verriegeln
Sie können die Sensorfelder des Kochfelds spreren, wenn Kochzoneneingeschaltet sind.
Stellen Sie zuerst die Kochstufe ein.
Einschalten der Funktion: Berühren Sie.
Leuchtet 4 Sekunden auf. Der
Timer bleibt eingeschaltet.
Ausschalten der Funktion: Berühren Sie
Die vorherige Kochstufe wird angezeigt.

These Funktion wird auch ausgeschaltet, sobald das Kochfeld ausgeschaltet wird.
4.9 Kindersicherung
These Funktion verhindert ein versehentliches Einsatz des Kochfelds.
Einschalten der Funktion: Das Kochfeld muss ausgeschaltet sein. Berühren Sie 4 Sekunden lang, bis linkt. Berühren Sie II. Leuchtet 4 Sekunden.
Ausschalten der Funktion: Das Kochfeld muss ausgeschaltet sein. Berühren Sie 4 Sekunden lang, bis 4 linkt. Berühren Sie leuchtet 4 Sekunden.
Vorübergehendes Ausschalten der Funktion für einen einzelnen Kochvorgang: Schalten Sie eine Kochzone ein. Leuchtet. Berühren Sie 4 Sekunden lang, bis für alle Zonen leuchtet. Stellen Sie die Kochstufe innerhalb von 4 Sekunden ein. Das Kochfeld kann jetzt bedient werden. Diese Funktion wird erneut eingeschaltet, sobald das Gerä ausgeschaltet wird.
4.10 OffSound Control (Einund Ausschalten desSignaltons)
Schalten Sie das Kochfeld aus. Berühren Sie Sekunden lang. Berühren Sie 3 Sekunden lang. Es wird der angezeigt. Berühren Sie des Timers zum Auswahlen von:
- Der Signalon ist ausgeschaltet
- der Signalon ist eingeschaltet.
Ohre Einstellungen werden übernommen, sobald das Kochfeld automatisch ausgeschaltet wird.
Haben Sie die Funktion auf b!
eingestellt, ertont der Signatlon nur in folgenden Fällen:
- Nach Ablauf der für Kurzzeitwecker eingestellten Zeit
- Nach Ablauf der für Kurzzeitmessere eingestellten Zeit
- Wenn das Bedienfeld bedeckt ist.
4.11 Power-Management
- Alle Kochzonen sind an eine Phase angeschlossen. Siehe Abbildung.
Die Phase darf bis maximal 3700 W belastet werden.
Die Funktion verteilt die Leistung zwischen den Kochzonen.
Die Funktion wird eingeschaltet, wenn die Belastung der Kochzonen 3700 W überschreitet.
- Mit dieser Funktion wird die Leistung aller anderen Kochzonen reduziert.
Die Anzeige der Kochzonen mit reduzierter Leistung wechselt zwischen zwei Kochstufen.

4.12 Hob²Hood
These innovative automatische Funktion verbindet das Kochfeld mit einer speziellen Dunstabzugshaube. Das Kochfeld und die DunstabzugshaubeCOMMUNIZIEREN MIT HILFE von Infrarotsignalen. Die Drehzahl des Lufters wird automatisch eingestellt. Sie richtet sich nach dem eingestellten Modus und der Temperatur des heiBosten Kochgeschirrs auf dem Kochfeld. Sie konnen den Lufter auch manuell auf dem Bedienfeld des Kochfels einstellen.

Bei den meisten Dunstabzugshauben ist das Fernsteuerungssystemwerkseitig ausgeschaltet. Schalten Sie es ein, bevorsie die Funktion nutzen. Weitere Informationenfinden Sie in der Anleitungder Dunstabzugshaube.
Automatikbetrieb der Funktion
Stellen Sie für den automatischen Betrieb den Modus auf H1-H6. Das Kochfeld ist standardmäßig auf H5 gestellt.Die Dunstabzugshaube schaltet sich ein, wenn Sie das Kochfeld bedieren. Das Kochfeld misst die
Temperatur des Kochgeschirrs automatisch und passt die Geschwindigkeit des Lüfters an.
Automatikmodi
| Automata-tische Einschal-tung der Beleuch-tung | Ko-chen1) | Braten2) | |
| Modus H0 | Aus Aus Aus | ||
| Modus H1 | Ein Aus Aus | ||
| Modus H2 3) | Ein Lüfterge-schwin-digkeit 1 | Lüfterge-schwin-digkeit 1 | |
| Modus H3 | Ein Aus Lüfterge-schwin-digkeit 1 | ||
| Modus H4 | Ein Lüfterge-schwin-digkeit 1 | Lüfterge-schwin-digkeit 1 | |
| Modus H5 | Ein Lüfterge-schwin-digkeit 1 | Lüfterge-schwin-digkeit 2 | |
| Modus H6 | Ein Lüfterge-schwin-digkeit 2 | Lüfterge-schwin-digkeit 3 | |
1) Das Kochfeld erkennt, dass gekocht wird und regelt die Lüftergeschwindigkeit je nach eingestelltem Automatikbetrieb.
2) Das Kochfeld erkennt, dass gebraten wird und regelt die Lüftergeschwindigkeit je nach eingestelltem Automatikbetrieb.
3) In thisem Modus werden der Lüfter und die Beleuchtung unabhängig von der Temperatur eingeschaltet.
Ändern des Automatikbetriebs
- Schalten Sie das Gerät aus.
- Berühren Sie 3 Sekunden lang, bis ein Signalton ertont.
-
Berühren Sie 36 sekunden lang, bis oder angezeigt wird.
-
Berühren Sie, bis H und eine Zahl (0 - 6) angezeigt werden. H5 ist die Standardeinstellung.
- Berühren Sie des Timers, um den gewünschten Modus (H0 - H6) auszuwahlen. Der gewählte Modus wird automatisch nach 10 Sekunden eingeschaltet.
Schalten Sie den Automatikbetrieb aus, um die Dunstabzugshaube direkt über ihr Bedienfeld einzustellen.
i Wenn Sie nach Beendigung des Kochvorgangs das Kochfeld ausschalten, kann die Dunstabzugshaube noch eine gewisse Zeit in Betrieb sein. Nach dieser Zeit schaltet das System den Lüfter automatisch aus. Wahrend der folgenden 30 Sekunden kann der Lüfter nicht wieder eingeschaltet werden.
Manuelles Einstellen der Lüftergeschwindigkeit
Sie konnen den Lüfter auch manuell einstellen. Berühren Sie hierzu, wenn
5. TIPPS UND HINWEISE
WARNING!
Siehe Kapitel
Sicherheitshinweise.
5.1 Kochgeschirr
i Das Kochgeschirr wird bei Induktionskochzonen durch ein starkes Magnetfeld sehr schnell erhitzt.
i Benutzen Sie fur die Induktions-Kochzonen nur geeignetes Kochgeschirr.
Kochgeschirrmaterial
Geeignet: Gusseisen, Stahl, Stahlemail, Edelstahl, Boden aus mehreren Schichten verschiedener
das Kochfeld eingeschaltet ist. Auf diese Weise wird der Automatikbetrieb ausgeschaltet und Sie konnen die Lüftergeschwindigkeit manuell ändern.
Durch Drucken von erhöht sich die Lüftergeschwindigkeit um eine Stufe. Wenn Sie die Intensivstufe gewählt haben und erneut drucken, wird die Geschwindigkeit auf 0 gesetzt und die Dunstabzugshaube ausgeschaltet.
Berühren Sie um die Lüftergeschwindigkeit 1 wieder einzustellen.
Zum erneuten Einsatz des Automatikbetriebs schalten Sie das Kochfeld aus und wieder ein.
Einschalten der Beleuchtung
Sie konnen das Kochfeld so einstellen, dass sich die Beleuchtung automatisch einschaltet, wenn Sie das Kochfeld bedieren. Stellen Sie hierzu den Automatikmodus auf H1 - H6.
Die Beleuchtung der Dunstabzugshaube schaltet sich 2 Minuten nach Ausschalten des Kochfelds aus.
Materialien (vom Hersteller als geeignet gekennzeichnet).
-
Nicht geeignet: Aluminium, Kupfer, Messing, Glas, Keramik, Porzellan.
Kochgeschirr eignet sich für Induktionskochfelder, wenn: -
Wasser sehr Schnell auf einer Kochzone kocht, die auf die höchste Stufe geschalteit ist;
- Ein Magnet von Geschirrboden angezogen wird.
i Der Boden des Kochgeschirrs sollte so dick und flach wie möglich sein. Stellen Sie sicher, dass die Topfboden sauber sind, bevor Sie sie auf das Kochfeld stellen.
Abmessungen des Kochgeschirrs
Induktionskochzonen passen sich bis zu einem gewissen Grad automatisch an die GroBe des Kochgeschirrbodens an.
Die Kochzoneneffizienz hangt vom
Durchmesser des Kochgeschirrs ab. An
Kochgeschirr mit einem kleineren
Durchmesser als der
Mindesturchmesser gelangt nur ein Teil
der von der Kochzone erzeugten Hitze.

Siehe hierzu „Technische Daten".
5.2 Betriebsgeräusche
Es gibt verschiedene Betriebsgeräuche:
- Knacken: Das Kochgeschirr besteht aus entsprechenden Materialien (Sandwichkonstruktion).
- Pfeifen: Sie haben die Kochzone auf eine hohe Stufe geschalte und das Kochgeschirr besteht aus entsprechenden Materialien (Sandwichkonstruktion).
Summen: Sie haben die Kochzone auf eine hohe Stufe geschalte. - Klicken: Bei elektronischen Schaltvorgängen.
Zischen, Surren: Der Ventilator lauft.
Die Gerausche sind normal und weisen nicht auf eine Störung des Kochfeldshin.
5.3 Öko Timer (Öko-Timer)
Um Energie zu sparen, schaltet sich die Kochzonenhezung vor dem Signal des Kurzzeitmessers ab. Die Abschaltzeit hangt von der eingestillten Kochstufe und der Gardauer ab.
5.4 Anwendungsbeispiele für das Garen
Das Verhältnis zwischen der Kochstufe und dem Energieverbrauch der Kochzone ist nicht linear. Bei einer hoheren Kochstufe steigt der Energieverbrauch nicht proportional an. Das bedeutet, dass eine Kochzone, die auf eine mittlere Kochstufe eingestellt ist, weniger als die Häfte ihrer maximalen Leistung verbraucht.

Bei den Angaben in der folgenden Tabelle handelt es sich um Richtwerte.
| Kochstufe Verwendung: Dauer | Hinweise (Min.) | ||
| -1 | Warmhalten von gegarten Speisen. | Nach Bedarf | Legen Sie einen Deckel auf das Kochgeschirr. |
| 1 - 2 Sauce Hollandaise, Schmelzen von: Butter, Schokolade, Gelatine. | 5 - 25 Gelegentlich umruhren. | ||
| 1 - 2 Stocken: Lockere Omelets, gehockene Eier. | 10 - 40 Mit Deckel garen. | ||
| 2 - 3 Köcheln von Reis und Milchgerichten, Erhitzen von Fertigkeiten. | 25 - 50 Mindestens doppelte Menge Flüssigkeit zum Reis geben, Milchgerichte nach der Hälfte der Zeit umruhren. | ||
| 3 - 4 Dünsten von Gemüse, Fisch, Fleisch. | 20 - 45 Einige Esslöfel Flüssigkeit zu-genben. | ||
| 4 - 5 Dampfgaren von Kartoffeln. 20 - 60 Max. ¼ l Wasser für 750 g Kar-toffeln verwenden. | |||
| 4 - 5 Kochen großener Speisemen-gen, Eintopfgerichte und Suppen. | 60 - 150 Bis zu 3 | Flüssigkeit plus Zuta-ten. | ||
| 6 - 7 Bei geringer Hitze anbraten: Schnitzel, Cordon bleu, Kote-lett, Frikadellen, Bratwürste, Leber, Mehlschwitze, Eier, Pfannkuchen, Donuts. | Nach Bedarf | Nach der Hälfte der Zeit wen-den. | |
| 7 - 8 Braten bei starker Hitze: Rösti, Lendenstücke, Steaks. | 5 - 15 Nach der Hälfte der Zeit wen-den. | ||
| 9 Aufkochen von Wasser, Nudeln kochen, Anbraten von Fleisch (Gulasch, Schmorbraten), Frittieren von Pommes frites. | |||
| Auflkochen große Mengen Wasser. PowerBoost ist eingeschaltet. | |||
5.5 Tipps und Hinweise für Hob²Hood
Wenn Sie das Kochfeld mit dieser Funktion betreiben:
Schützen Sie das Bedienfeld der Dunstabzugshaube vor direkter Sonneneinstrahlung.
- Richten Sie keine Halogenstrahler auf das Bedienfeld der Dunstabzugshaube.
- Decken Sie das Bedienfeld des Kochfelds nicht ab.
- Unterbrechen Sie den Signafluss zwischen dem Kochfeld und der Dunstabzugshaube nicht mit der Hand oder einem Kochgeschirrgriff. Siehe Abbildung.
Die abgebildete Dunstabzugshaube ist nur beiselhaft.


Andere ferngesteuerte Geräte können das Signal blockieren. Benutzen Sie keine anderen ferngesteuerten Geräte, wenn Sie diese Funktion des Kochfelds verwenden.
Dunstabzugshauben mit der Funktion Hob²Hood
Die komplette Palette von Dunstabzugshauben, die mit dieser Funktion ausgestattet sind, finden Sie auf unserer Verbraucher-Website. Die AEG Dunstabzugshauben, die mit dieser Funktion ausgestattet sind, sind mit dem Symbol gekennzeichnet.
6. REINIGUNG UND PFLEGE

WARNING!
Siehe Kapitel
Sicherheitshinweise.
6.1 Allgemeine Informationen
- Reinigen Sie das Kochfeld nach jeder Gebrauch.
- Verwenden Sie stets Kochgeschirr mit sauberen Böden.
- Kratzer oder dunkle Flecken auf der Oberfläche beeinträchtigen die Funktionsfähigkeit des Kochfelds nicht.
- Verwenden Sie einen Spezialreiniger zur Reinigung der Kochfeldoberfläche.
- Verwenden Sie einen speziellen Reinigungsschaber für Glas.
6.2 Reinigen des Kochfelds
- Folgendes muss(sofort entfernt werden: Geschmolzener Kunststoff,
Plastikfolie, Zucker und zuckerhaltige Lebensmittel. Anderenfalls konnen die Verschmutzungen das Kochfeld beschädigten. Achten Sie darauf, dass sich niemand Verbrennungen zuzieht. Den speziellen Reinigungsschaber schrag zur Glasfläche ansetzen und über die Oberfläche bewegen.
- Folgendes kann nach ausreichender Abkuhlung des Kochfelds entfernt werden: Kalk- und Wasserränder, Fettspritzer und metallisch schimmernde Verfürbungen. Reinigen Sie das Kochfeld mit einem feuchten Tuch und nicht scheuernden Reinigungsmittel. Wischen Sie das Kochfeld nach der Reinigung mit einem weichen Tuch trocken.
- Entfernen Sie metallisch schimmernde Verfarbungen: Benutzen Sie für die Reinigung der Glasoberfläche ein mit einer Lösung aus Essig und Wasser angefeuchtetes Tuch.
7. FEHLERSUCHE

WARNING!
Siehe Kapitel
Sicherheitshinweise.
7.1 Was tun, wenn...
| Störung Mögliche Ursache Abhilfe | ||
| Das Kochfeld kann nicht ein-geschaltet oder bedient wer-den. | Die Sicherung ist durchge-brannt. | Vergewissem Sie sich, dass die Sicherung der Grund für die Störung ist. Brennt die Sicherung wiederholt durch, wenden Sie sich an eine zu-gelassene Elektrofachkraft. |
| Zwei oder mehr Sensorfelder wurden gleichzeitig berührt. | Berühren Sie nur ein Sensor-feld. | |
| Pause ist eingeschaltet. Siehe hierzu „Täglicher Ge-brauch". | ||
| Auf dem Bedienfeld befin-den sich Wasser- oder Fett-spritzer. | Wischen Sie das Bedienfeld ab. | |
| Ein akustisches Signal ertont und das Kochfeld schaltet ab. Wenn das Kochfeld ausgeschaltet wird, ertont ein akustisches Signal. | Mindestens ein Sensorfeld wurde bedeckt. | Entfernen Sie den Gegenstand von den Sensorfeldern. |
| Die Restwärmeanzeige Funktioniert nicht. | Die Kochzone ist nicht weiß, da sie nur kurze Zeit in Be-trieb war oder der Sensor ist beschädigt. | War die Kochzone large ge-nug eingeschaltet, um weiß zu sein, wenden Sie sich an den autorisierten Kunden-dienst. |
| Hob2Hood Funktioniert nicht. | Sie haben das Bedienfeld bedeckt. | Entfernen Sie den Gegenstand vom Bedienfeld. |
| Ankochautomatik faktio-niert nicht. | Die Kochzone ist weiß. Lassen | Sie die Kochzone lan-ge genug abkühlen. |
| Die hochste Kochstufe ist | eingestellt. | Die hochste Kochstufe hat die gleiche Leistung wie die Funktion. |
| Die Kochstufe schaltet zwi-schen zwei Kochstufen hin und her. | Power-Management ist ein-geschaltet. | Siehe hierzu „Täglicher Ge-brauch". |
| Die Sensorfelder werden—heiß. | Das Kochgeschirr ist zu groß, oder Sie haben es zu nahe an die Bedienelemente gestellt. | Stellen Sie große Schoges-chirr nach Möglichkeit auf die hinteren Kochzonen. |
| Es ertont kein Signalton, wenn Sie die Sensorfelder des Bedienfels berühren. | Der Signalton ist ausgeschal-tet. | Schalten Sie den Ton ein. Siehe hierzu „Täglicher Ge-brauch". |
| -leuchtet auf. | Abschaltautomatik ist einge-schaltet. | Schalten Sie das Kochfeld aus und wieder ein. |
| leuchtet auf. | Kindersicherung oder Verrie-geln ist eingeschaltet. | Siehe hierzu „Täglicher Ge-brauch". |
| F leuchtet auf. | Es wurde kein Kochgeschirr auf die Kochzone gestellt. | Stellen Sie Kochgeschirr auf die Kochzone. |
| Sie verwenden ungeeigne-tes Kochgeschirr. | Kochgeschirr. | Verwendten Sie geeignetes Kochgeschirr. Siehe „Tipps und Hinweise". |
| Der Durchmesser des Koch- geschirrbodens ist zu Klein für die Kochzone. | Kochgeschirr. | Verwendten Sie Kochgeschirr mit den richtigen Abmessun-gen. Siehe hierzu „Techni-sche Daten". |
| E und eine Zahl werden an-gezeigt. | Es ist ein Fehler im Kochfeld aufgetreten. | Schalten Sie das Kochfeld aus und nach 30 Sekunden wieder ein. Erscheint neut, trennen Sie das Kochfeld von der Spannungsversorgung. Schreiben Sie nach 30 Sekunden das Kochfeld wieder an. Tritt das Problem weiterhin auf, wenden Sie sich an einen autorisierten Kundendienst. |
| Es ist ein konstanter Piepton zu horen. | Unsachgemäßer elektrischer Anschluss. | Trennen Sie das Kochfeld von der Spannungsversorgung. Wenden Sie sich an eine Elektrofachkraft zur Überprüfung der Installation. |
7.2 Wenn Sie das Problem nicht losen können...
Wenn Sie das Problem nicht selbst losen konnen, wenden Sie sich an ihren Handler oder einen autorisierten Kundendienst. Geben Sie die Daten, die Sie auf dem Typenschild finden, an. Geben Sie damit den dreistelligen Buchstaben-Code für die Glaskeramik (befindet sich in der Ecke der Glasfläche)
und die angezeigte Fehlermeldung an. Vergewissern Sie sich, dass Sie das Kochfeld korrekt bedient haben. Wenn Sie das Gerät falsch bedient haben, fällt auch während der Garantiezeit für die Reparatur durch einen Techniker oder Handler eine Gebühr an. Die Informationen zum Kundendienst und die Garantiebedingungen finden Sie im Garantieheft.
8. MONTAGE

WARNING!
Siehe Kapitel
Sicherheitshinweise.
8.1 Anschlussart des Kochfelds und Backofens
Dieses Gerät hat einen gelben 1x14- poligen Anschluss und kann an einen Backofen mit einem gelben 1x14-poligen Anschluss angeschlossen werden.
Seriennummer
8.3 Einbau-Kochfelder
Installieren Sie zuerst den Backofen und setzen Sie dann das Kochfeld in die Aussparung.
Einbau-Kochfelder dürfen nur nach dem Einbau in bzw. unter normgerechte, passende Einbauschränke und Arbeitsplatten betrieben werden.
8.2 Vor der Montage
Notieren Sie vor der Montage des Kochfelds folgende Daten, die Sie auf dem Typenschild finden. Das
Typenschild ist auf dem Boden des Kochfelds angebracht.
8.4 Montage




Wird das Gerät über einer Schublade montiert, kann die Luftung des Kochfelds die Gegenstände, die in der Schublade gelagert sind, während des Garvorgangs erwärmen.

9. TECHNISCHE DATEN
9.1 Typenschild
Modell IEB64030XB Produkt-Nummer (PNC) 949 597 289 00
Typ 61 B4B 01 AA 220 - 240 V, 50 - 60 Hz
Induktion 7.35 kW Made in Germany
Ser. Nr. 7.35 kW
AEG

9.2 Technische Daten der Kochzonen
| Kochzone Nennleistung (höchste Kochstufe) [W] | PowerBoost [W] | PowerBoost maximale Ein-schaltdauer [Min.] | Durchmesser des Kochge-schirrs [mm] |
| Vorne links 2300 3200 10 125 - 210 | |||
| Hinten links 2300 3200 10 125 - 210 | |||
| Vorne rechts 2300 3200 10 125 - 210 | |||
| Hinten rechts 2300 3200 10 125 - 210 | |||
Die Leistung der Kochzonen kann geringfugig von den Daten in der Tabelle abweichen. Sieändert sich je nach Material und Abmessungen des Kochgeschirrs.
Verwenden Sie für optimale Kochergebnisse kein Kochgeschirr, dessen Durchmesser größer als der in der Tabelle angegebene Wert ist.
10. ENERGIEEFFIZIENZ
10.1 Produktinformationen gemäß EU 66/2014
| Modellidentifikation IEB64030XB | ||
| Kochfeldtyp Einbau-Kochfeld | ||
| Anzahl der Kochzonen 4 | ||
| Heiztechnologie | Induktion | |
| Durchmesser der kreisfür-migen Kochzonen (Ø) | Vorne links | 21,0 cm |
| Hinten links | 21,0 cm | |
| Vorne rechts | 21,0 cm | |
| Hinten rechts | 21,0 cm | |
| Energieverbrauch proKochzone (EC electric coo-king) | Vorne links | 179,3 Wh/kg |
| Hinten links | 178,4 Wh/kg | |
| Vorne rechts | 189,4 Wh/kg | |
| Hinten rechts | 178,4 Wh/kg | |
Energieverbrauch des
181,4 Wh/kg
EN 60350-2 - Elektrische Kochgeräte für den Hausgebrauch - Teil 2: Kochfelder - Verfahren zur Messung der Gebrauchseigenschaften
10.2 Energie sparen
Beachten Sie folgende Tipps, um beim tätiglichen Kochen Energie zu sparen.
-
Wenn Sie Wasser erwärmen, verwenden Sie nur die benötigte Menge.
-
Decken Sie Kochgeschirr, wenn möglich, mit einem Deckel ab.
- Stellen Sie Kochgeschirr auf die Kochzone, bevor Sie sie einschalten.
- Stellen Sie kleineres Kochgeschirr auf die kleineren Kochzonen.
- Stellen Sie das Kochgeschirr mittig auf die Kochzone.
- Nutzen Sie die Restwärme, um die Speisen warm zu halten oder zuschmelzen.
11. UMWELTTIPPS
Recyclein Sie Materialien mit dem Symbol
Entsorgen Sie die Verpackung in den entsprechenden Recyclingbehältern.
Recycleln Sie zum Umwelt- und Gesundheitsschutz elektrische und elektronische Geräte. Entsorgen Sie
Geräte mit diesen Symbol nicht mit dem Hausmüll. Bringen Sie das Gerät zu ihrerörtlichen Sammelstelle oder wenden Sie sich an Ihr Gemeindeamt.
C
EinfachAnleitung