WPaCNXJRCA - Télécommande murale Ecler - Notice d'utilisation et mode d'emploi gratuit
Retrouvez gratuitement la notice de l'appareil WPaCNXJRCA Ecler au format PDF.
| Type de produit | Amplificateur audio |
| Puissance de sortie | Non spécifiée |
| Connectivité | Entrées et sorties audio analogiques |
| Utilisation recommandée | Installations audio professionnelles |
| Dimensions | Non spécifiées |
| Peso | Non spécifié |
| Alimentation | Non spécifiée |
| Maintenance | Vérifier régulièrement les connexions et nettoyer les contacts |
| Sécurité | Utiliser dans un environnement sec et bien ventilé |
| Garantie | Non spécifiée |
| Accessoires inclus | Non spécifiés |
FOIRE AUX QUESTIONS - WPaCNXJRCA Ecler
Questions des utilisateurs sur WPaCNXJRCA Ecler
0 question sur cet appareil. Repondez a celles que vous connaissez ou posez la votre.
Poser une nouvelle question sur cet appareil
Téléchargez la notice de votre Télécommande murale au format PDF gratuitement ! Retrouvez votre notice WPaCNXJRCA - Ecler et reprennez votre appareil électronique en main. Sur cette page sont publiés tous les documents nécessaires à l'utilisation de votre appareil WPaCNXJRCA de la marque Ecler.
MODE D'EMPLOI WPaCNXJRCA Ecler
Télécommandes analogiques murales













MODE D'EMPLOI
(*) Compend des panneaux aux formats U.S.A, UBWPaVOL, UBWPaCNXJRC, WPaMIX-TUS, WPaVOLUS et WPaVOL-SRUS
SOMMARIE
- REMARQUE IMPORTANTE 3
- CONSIGNES DE SECURITE IMPORTANTES 4
- NOTE IMPORTANTE 5
-
INTRODUCTION 5
-
COMMANDES DE VOLUME / SELECTION DE SOURCE 6
5.1 WPaVOL / UBWPaVOL / WPaVOLUS (Modèle US) 6
5.2 WPaVOL-J 6
5.3 WPaVOL-SR / WPaVOL-SRUS (Modèle US) 7
5.4 WPaVOL-SR-J 7
5.5 Tableaux et schémas de raccordement 8
- TELECOMMANDES D'ATTENUATION 11
6.1 WPaH-AT6 11
6.2 WPaH-AT40 11
6.3 WPaH-AT100 12
6.4 WPaH-SL4 13
- WPaMIX-T / WPaMIX-TUS (modèle US) 14
7.1. Schéma fonctionnel 14
7.2. Schéma de configuration 15
7.3.Brochage du bornier de raccordement 16
- CONNECTEURS DEPORTÉS 17
8.1.WPaCNX-CBO 17
8.2.WPaCNX-JRCA/UWPaCNX-JRC 18
- CARACTERISTIQUES TECHNIQUES 19
- DESSINS DE MONTAGE 20
10.1. WPaVOL, WPaVOLUS, WPaVOL-J, WPaVOL-SR, WPaVOL-SR-J, WPaMIX-TUS, WPaCNX-CBO et WPaCNX-JRCA. 20
10.2.WPaVOL-SRUS 22
10.3 WPaMIX-T 23
10.4. UBWPaVOL, UBWPaCNXJRC 24
10.5.WPaH-AT6,WPa-SL4 25
10.6.WPaH-AT40 26
10.7.WPaH-AT100 27
1. REMARQUE IMPORTANTE

WARNING: SHOCK HAZARD - DO NOT OPEN
AVIS: RISQUE DE CHOC ÉLECTRIQUE - NE PAS OUVRIR

Le symbole d'éclair avec une flèche, à l'intérieur d'un triangle équilatéral, avertit l'utilisateur de la présence d'une « tension dangereuse », non isolée, à l'intérieur de l'enceinte du produit, assez importante pour constituer un risque d'électrocution des personnes.

Le point d'exclamation dans un triangle équilatéral avertit l'utilisateur de l'existence d'importantes instructions d'opération et de maintenance (entretien courant) dans les documents qui accompagnent l'appareil.
AVERTISSEMENT (le cas échéant): Les bornes marquées du symbole " 3 " peuvent avoir une ampleur suffisante pour constituer un risque de chic électrique. Le câblage externe connecté aux bornes nécessite l'installation par une personne instructue ou l'utilisation de cables ou de cables prêts à l'emploi.
AVERTISSEMENT : afin d'eviter tout incendie ou électrocution, n'exposez pas cet apparéil à la pluie ou l'humidité
AVERTISSEMENT : Les apparèils de construction de type I doivent être raccordés à l'aide d'une prise avec protection de terre.
2. CONSIGNES DE SECURITÉ IMPORTANTES
- Lisez ces instructions.
- Conservez ces instructions.
- Prenez en compte tous les averissements.
- Suívez toutes les instructions.
- N'utilisez pas cet appeareil prés de l'eau.
- Nettoyez-le uniquement à l'aide d'un chiffon sec.
- Ne bloquez pas les ouvertures d'aération. Installez-le en respectant les instructions du fabricant.
- Ne l'installez pas pres de sources de chaleur telles que des radiateurs, des bouches d'air chaud, des cusinieres ou d'autres appareils (amplificateurs inclus) qui produit de la chaleur.
- Ne neutralisez pas la fonction de sécurité de la fiche polarisée ou de terre du cordon d'alimentation. Une fiche polarisée a deux lames, l'une plus large que l'autre. Une fiche de terre a deux broches identiques et une troisième pour la mise à la terre. Cette troisième broche est destinée à votre sécurité. Si le cable fourni ne rentre pas dans la prise, demandez à un électricien de replacer cette prise absolète.
- Protégez le cordon d'alimentation afin qu'il ne soit ni écrasé ni pince, en particulier au niveau des fiches, des prises de courant et à l'endetroit où ils sortent de l'appareil.
- N'utilisez que des accessoires recommendés par le fabricant.
- Debranchez l'appareil en cas d'orage ou s'il n'est pas utilisé pendant une longue période.
- Pour toute réparation, veuillez contacter un service technique qualifié. Une réparation est nécessaire si l'appareil ne fonctionne pas normalement ou a été endommaged d'une quelconque façon, par exemple si le cordon ou la fiche d'alimentation est endommaged, si du liquide a été renversé sur l'appareil ou si des objets sont tombés dedans, si l'appareil a été exposé à la pluie ou est tombé.
- Déconnexion du secteur: appuyer sur l'interrupteur POWER (13) désactive les fonctions et les voyants de l'amplificateur, mais la déconnexion totale de l'appareil s'effectue en débranchant le cordon d'alimentation du secteur (11). C'est la raison pour laquelle vous doivent toujours y avoir facilement accès.
- Cet appeareil doit etre impereativement relié à la terre via son cable d'alimentation.
- Une partie de l'étiquetage du produit se trouve à la base du produit.
- Cet apparéil ne doit pas être exposé à des gouttes ou des éclaboussures, et:aucun élément rempli d'eau, comme des vases, ne doit être place sur le dessus de l' apparéil.

AVERTISSEMENT: Ce produit ne doit enaucun cas etre mis au rebut en tant que dechet urbain non selectionné. Allez au centre de traitement des déchets électriques et électroniques le plus proche.
NEEC AUDIO BARCELONA, S.L décline toute responsabilité pour les dommages qui pouraient être causés à des personnes, des animaux ou des objets par le non-respect des avertissements ci-dessus.
3. NOTE IMPORTANTE
Merci d'avoir besoin notre Telecommandes analogiques mural WPa.
Il est TRÉS IMPORTANT de dire attentivement ce mode d'emploi et d'en comprendre parfaitement le contenu avant d'effectuer toute connexion afin de maximiser votre'utilisation et de tirer les valeurs performances de cet équipement.
Pour garantir le bon fonctionnement de cet apparéil, nous recommendons que sa maintenance soit assuree par nos services techniques agréés.
Tous les produits ECLER bénéficient de garantie, veuillez-vous reférer sur www.ecler.com ou la carte de garantie incluse avec cet apparéil pour la période de validité et ses conditions.
4. INTRODUCTION
La série WPa est une gamme de panneaux muraux pour la télécommande d'équipements et l'interconnexion de signaux audio. Elle marque une évolution par rapport à son aîné, la série WPM, avec une esthétique au goût du jour, éligante et discrète, conçue en collaboration avec Italdesign Giugiaro. Un boîtier d'installation en saillie est fourni avec tous les modèles de la série WPa.













5. COMMANDES DE VOLUME / SELECTION DE SOURCE
5.1 WPaVOL / UBWPaVOL / WPaVOLUS (Modèle US)
La WPaVOL / UBWPaVOL WPaVOLUS (Modèle US) est une télécommande murale de gestion du volume. Elle est compatible avec tous les apparciels à ports CC 0-10 V. Pour plus d'informations sur sa connexion, reportez-vous au chapitre Tableaux et schémas de raccordement.

WPaVOL/WPaVOLUS et UBWPaVOL
5.2 WPaVOL-J
La WPaVOL-J a les mêmes caractéristiques que le WPaVOL, plus un mini-jack stéreo de 3,5 mm en face avant. Pour plus d'informations sur sa connexion, reportez-vous au chapitre Tableaux et schémas de raccordement.

WPaVOL-J
5.3 WPaVOL-SR / WPaVOL-SRUS (Modèle US)
La WPaVOL-SR / WPaVOL-SRUS (Modèle US) est une télécommande murale de gestion du volume et de selection de source/préglage. Elle est compatible avec tous les apparciels à ports CC 0-10 V. Pour plus d'informations sur sa connexion, reportez-vous au chapitre Tableaux et schémas de raccordement.

WPaVOL-SR / WPaVOL-SRUS
5.4 WPaVOL-SR-J
La WPaVOL-SR-J a les mêmes caractéristiques que le WPaVOL-SR, plus un mini-jack stéreo de 3,5 mm en face avant. Pour plus d'informations sur sa connexion, reportez-vous au chapitre Tableaux et schémas de raccordement.

WPaVOL-SR-J
5.5 Tableaux et schémas de raccordement
Brochage de raccordement du RJ-45 (GÉNÉRAL)
| RJ-45 Diagram | |||
| Pin 1 | White Orange | GND | 1 8 |
| Pin 2 | Orange | REMOTE VOL (10V÷0V → MIN÷MAX) | |
| Pin 3 | White Green | GND | |
| Pin 4 | Blue | N.C. | |
| Pin 5 | White Blue | N.C. | |
| Pin 6 | Green | VCC (+12V/+10V) | |
| Pin 7 | White Brown | GND | |
| Pin 8 * Brown | REMOTE ZONE (0, 3, 5, 7, 10V → OFF, Z1, Z2, Z3, Z4) | ||
*Uniquement WPaVOL-SR / WPaVOL-SRUS et WPaVOL-SR-J
Brochage de raccordement du RJ-45 (Serie HADA)
| RJ-45 Diagram for HADA Series | |||
| Pin 1 | White Orange | VCC (+3,3V) | 1 8 |
| Pin 2 | Orange | REMOTE VOL (0V÷ +3,3V → MIN÷MAX) | |
| Pin 3 | White Green | VCC (+3,3V) | |
| Pin 4 | Blue | N.C. | |
| Pin 5 | White Blue | N.C. | |
| Pin 6 | Green | GND | |
| Pin 7 | White Brown | VCC (+3,3V) | |
| Pin 8 | Brown | Not available | |
- Brochage de raccordement du mini-jack
| Brochage du bornier (mini-jack) | ||
| Broche 1 | MANCHON | 1 2 3 |
| Broche 2 | BAGUE | |
| Broche 3 POINTE | ||





FACTORY DEFAULT: ALOG +10V
connexion d'une WPaVOL / WPaVOLUS / WPaVOL-SR / WPaVOL-SRUS aux ports de telecommande

Jumper position: ALOG / LIN LIN position
+12/+10 → +12 position
Connexion WPaVOL / WPaVOLUS aux ports GPI série MIMO

Jumper position: ALOG / LIN LIN position
+12/+10 → +12 position
Connexion WPaVOL-SR/ WPaVOL-SRUS aux ports GPI série MIMO

Connexion WPaVOL / WPaVOL-J aux ports série HADA
6. TELÉCOMMANDES D'ATTENUATION
6.1 WPaH-AT6
La WPaH-AT6 est un attenuateur de ligne 70/100 V avec relatis de priorité CC 24 V intégré. Puisance maximale de sortie : 6 W


WPaH-AT6 et son schéma de raccordement
6.2 WPaH-AT40
WPaH-AT40 est un attenuateur de ligne 70 / 100V avec un relais de priorité intégré 24VDC. Puissance maximale: 40W.
Remarque: ce panneau, contrairement au reste, a une profondeur de 50mm


WPaH-AT40 et son schema de raccordement
6.3 WPaH-AT100
La WPaH-AT100 est un attenuateur de ligne 70/100 V avec relais de priorité CC 24 V intégré. Puissance maximale de sortie : 100 W

WPaH-AT100

6.4 WPaH-SL4
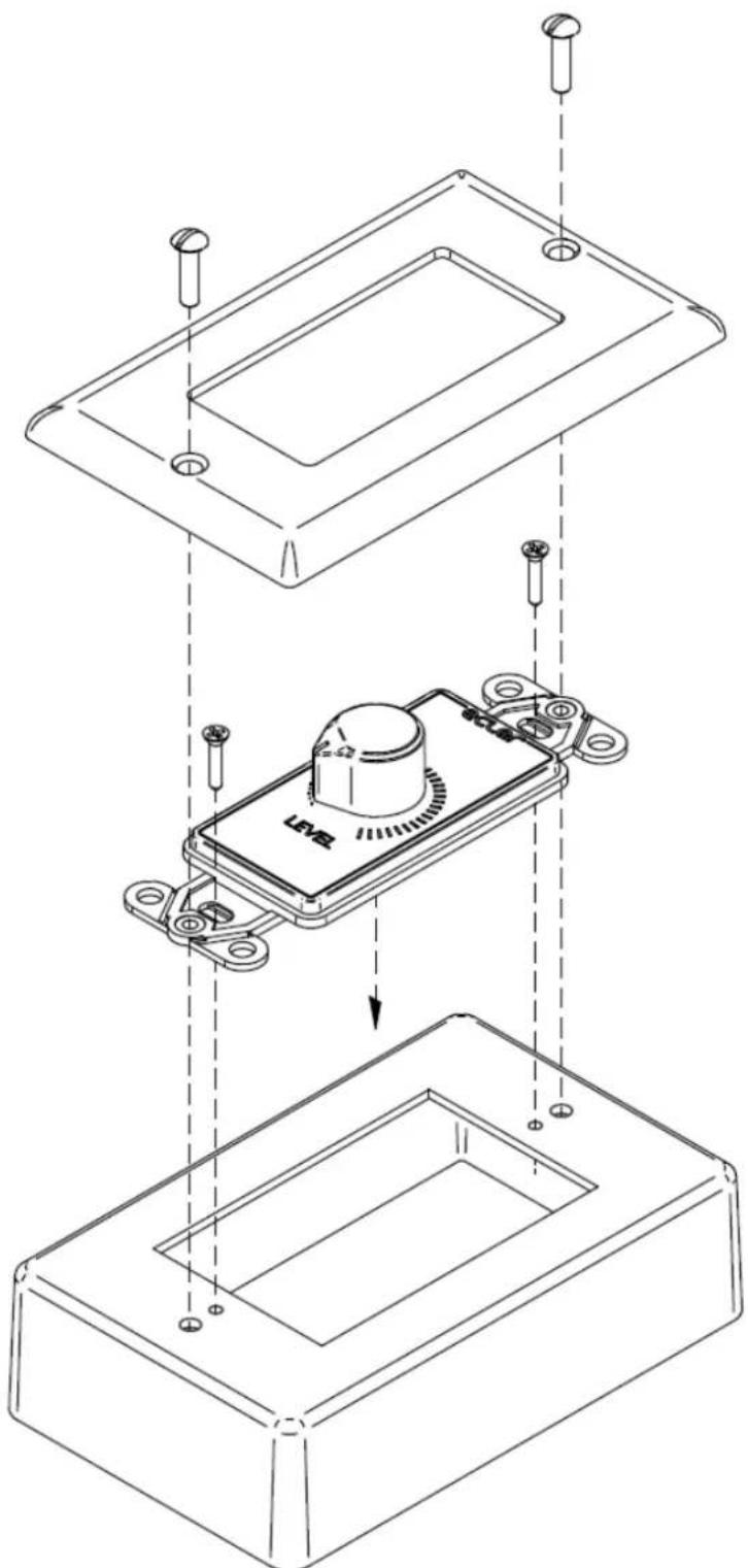
Le WPaH-SL4 est un sélecteur de ligne 70/100 V (il seLECTIONne l'un des quatre programmes musicaux).

WPaH-SL4

schema de raccordement pour WPaH-SL4
7. WPaMIX-T / WPaMIX-TUS (modèle US)
Le WPaMIX-T / WPaMIX-TUS (modèle US) est un micro-mélangeur à deux canaux au format standard des panneaux muraux de la série WPa. Il permet de mixer un signal stéreo asymétrique (RCA) avec un signal de micro (XLR) pour produit un signal de sortie mono symétrique.
L'entrée microphone dispose d'un égaliseur à deux bandes (graves/aigus) et peut avoir priorité sur le signal ligne lorsque le niveau du microphone dépasse le seuil de détction prédéfini.

WPaMIX-T / WPaMIX-TUS
7.1. Schéma fonctionnel
- Commande de volume de l'entrée microphone
- Commandes de réglage des graves (Bass, 100 Hz) et des aigus (Treble, 10 kHz) de l'entrée microphone (±10 dB)
- Commande de volume de l'entrée ligne
-
Connecteur XLR d'entrée microphone (signal symétrique)
-
Sensibilité: -20 à -40 dBV
-
Connecteurs RCA d'entrée ligne (signal asymétrique)
-
Sensibilité: -10 dBV

Scheme des fonctions du WPaMIX-T /
WPaMIX-TUS
Les signaux ligne et microphone sont mixés avec des niveaux dépendant de leurs commandes de volume VOL respectives. Ce mixage est disponible aux bornes de sortie du connecteur Euroblock de l'unité (signal asymétrique de niveau ligne 0 dBV). De plus, le signal du microphone peut, lorsqu'il atteint le seuil de détention pour Talkover, atténuer automatiquement le signal ligne (voir 7.2 pour plus de détails sur l'activation du Talkover).
7.2. Schéma de configuration
- Sélection de la sensibilité -20 dBV (cavalier enlevé) ou -40 dBV (cavalier en place - position par défaut) pour le micro
- Fonction Talkover (*): ON (cavalier en place - position par défaut) / OFF (cavalier enlevé)
- Alimentation fantôme pour l'entrée MICRO : ON (cavalier en place) / OFF (cavalier enlevé - position par défaut).


configuration du WPaMIX-T / WPaMIX-TUS
Pour acceder aux cavaliers de configuration, la carte de circuit doit etre retiree par l'arriere de I'unite en la tirant simplement pour la débrancher de ses connecteurs, puis reinsere apres avoir effectue les modifications nécessaires. Cette operation doit etre effectuée avec I'unité hors tension.
(*) Atténuation de l'entrée ligne par le Talkover: 30 dB
Temps de maintien de Talkover : trois secondes
7.3. Brochage du bornier de raccordement
- Borne + de sortie audio symétrique
- Borne de masse de sortie audio symétrique
- Borne - de sortie audio symétrique
- Borne - d'entree d'alimentation: 0VDC terminal - (^**)
- Borne + d'entree d'alimentation: +24VDC terminal + (^**)
- Borne + d'entree d'alimentation: +15VDC terminal + (^**)

(*) Le WPaMIX-T / WPaMIX-TUS nécessite une alimentation externe, 24VDC (connectée aux bornes 4 et 5, min 30mA) ou 15VDC (connectée aux bornes 4 et 6, min 30mA). Nous sugérons d'utiliser la WP-PSU Ecler, qui peut alimenter jusqu'à vingt unités WPaMIX-T / WPaMIX-TUS (nombre variable en fonction des pertes de tension causées par la longueur et la section des câbles).
Recommandation: comme le WPaMIX-T / WPaMIX-TUS n'a aucun blindage electromagnetique, nous recommendons fortement de l'installer loin des sources d'énergie et des cables à haute tension.
Pour l'installation d'une unité eMCONTROL1 avec un panneau mural WPaMIX-T ou d'une unité eMCONTROL1US avec un WPaMIX-TUS, en montage en surface ou encastré, veuillez- vous reférer au manuel d'utilisation de l'eMCONTROL1.
8. CONNECTEURS DÉPORTÉS
8.1.WPaCNX-CBO
Le WPaCNX-CBO est un panneau mural, avec un connecteur mixte XLR femelle 3 broches + jack stéreo. Ce connecteur peut être visse à l'arrière (il ne nécessite aucune soudure).

WPaCNX-CBO
Tableau 1: brochage de raccordement du connecteur mixte
| Brochage de raccordement du bornier (connecteur mixte) | ||
| Broche 1 | MANCHON/MASSE | 1 2 3 |
| Broche 2 | BAGUE/POINT FROID | |
| Broche 3 | POINTE/POINT CHAUD | |
8.2.WPaCNX-JRCA/UWPaCNX-JRC
Le WPaCNX-JRCA est un panneau mural, avec une prise mini-jack 3,5 mm stéreo + deux connecteurs RCA. Ces connecteurs peuvent être visés à l'arrière (ils ne nécessitant aucune soudure).

WPaCNX-JRCA et UBWPaCNXJRC
brochage de raccordement du mini-jack
| Brochage du bornier (mini-jack/ AUX1) | ||
| Broche 1 | MANCHON | 1 2 3 |
| Broche 2 | BAGUE | |
| Broche 3 POINTE | ||
connexion RCA
| Brochure du bornier (RCA / AUX2) | ||
| Broche 1 | MASSE (GND) | 1 2 3 |
| Broche 2 | CANAL DROIT | |
| Broche 3 CANAL GAUCHE | ||
9. CARACTERISTIQUES TECHNIQUES
WPa
Selon le numéro de série suivant (veuillage vérifier le numéro de série sur la boîte de l'unité).
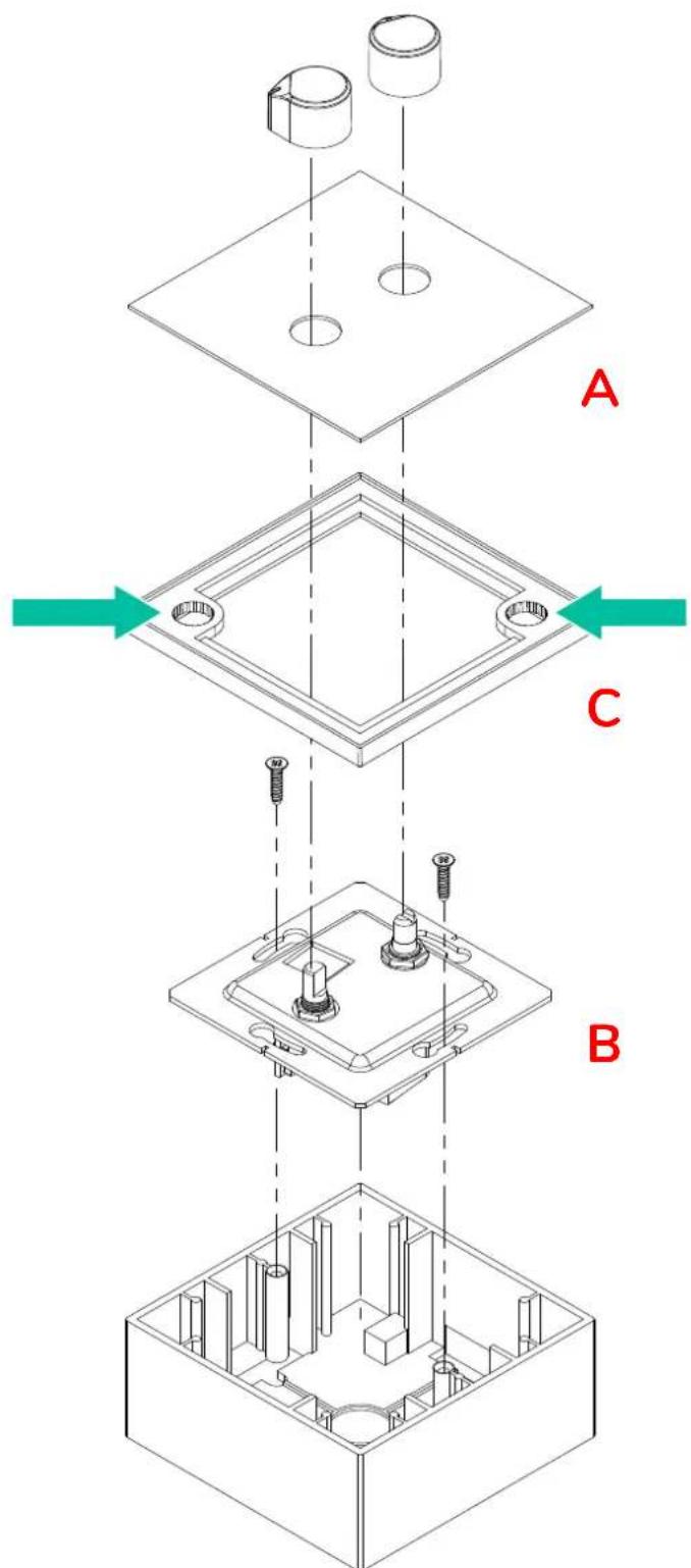
1 WPaVOL (jusqu'au numero de série 30770xxxx), WPaVOL-J, (jusqu'au numero de série 30772xxxx), WPaVOL-SR (jusqu'au numero de série 30774xxxx), WPaVOL-SR-J (jusqu'au numero de série 30776xxxx), WPaCNX-CBO (jusqu'au numero de série 30777xxxx) et WPaCNX-JRCA (jusqu'au numero de série 30779xxxx).

ATTENTION
Les aimants du cadre C exercent une force considérable.
L'assemblage des pieces A et B doit être effectué avec précaution afin d'éviter d'endommager la doublure du cadre C.

2 WPaVOL (à partir du numéro de série 30771xxxx), WPaVOL-J, (à partir du numéro de série 30773xxxx), WPaVOL-SR (à partir du numéro de série 30775xxxx), WPaVOL-SR-J (à partir du numéro de série 30777xxxx), WPaCNX-CBO (à partir du numéro de série 30778xxxx) et WPaCNX-JRCA (à partir du numéro de série 30780xxxx).

ATTENTION
Les aimants du cadre C exercent une force considérable.
L'assemblage des pieces A et B doit être effectué avec précaution afin d'éviter d'endommager la doublure du cadre C.

10.2.WPaVOL-SRUS

ATTENTION
Les aimants du cadre C exercent une force considérable.
L'assemblage des pieces A et B doit être effectué avec précaution afin d'éviter d'endommager la doublure du cadre C.


ATTENTION
Les aimants du cadre C exercent une force considérable.
L'assemblage des pieces A et B doit être effectué avec précaution afin d'éviter d'endommager la doublure du cadre C.

10.4. UBWPaVOL, UBWPaCNXJRC


ATTENTION
Les aimants du cadre C exercent une force considérable.
L'assemblage des pieces A et B doit être effectué avec précaution afin d'éviter d'endommager la doublure du cadre C.

10.6.WPaH-AT40

ATTENTION
Les aimants du cadre C exercent une force considérable.
L'assemblage des pieces A et B doit être effectué avec précaution afin d'éviter d'endommager la doublure du cadre C.

10.7.WPaH-AT100

ATTENTION
Les aimants du cadre C exercent une force considérable.
L'assemblage des pieces A et B doit être effectué avec précaution afin d'éviter d'endommager la doublure du cadre C.

Toutes les caractéristiques du produit sont susceptibles de varier en raison des tolérances de fabrication. NEEC AUDIO BARCELONA S.L. se réserve le droit d'apporter à la conception ou à la fabrication des modifications ou améliorations qui peuvent affecter les caractéristiques de ce produit.
Pour des questions techniques, contactez votre fournisseur, distributeur ou remplissez le formulaire de contact sur notre site Internet, dans Support / Technical requests.
Motors, 166-168 08038 Barcelona - Espagne - (+34) 932238403 | information@ecler.com www.ecler.com
Notice Facile