AirgoClean 145 E - Purificateur d'air TROTEC - Notice d'utilisation et mode d'emploi gratuit
Retrouvez gratuitement la notice de l'appareil AirgoClean 145 E TROTEC au format PDF.
| Caractéristique | Détails |
|---|---|
| Type de produit | Purificateur d'air |
| Surface recommandée | Jusqu'à 40 m² |
| Filtration | Filtre HEPA H13, filtre à charbon actif |
| Débit d'air | Jusqu'à 150 m³/h |
| Niveau sonore | 30 - 60 dB |
| Consommation énergétique | Max 50 W |
| Dimensions | 350 x 200 x 600 mm |
| Poids | 5,5 kg |
| Fonctionnalités supplémentaires | Indicateur de changement de filtre, mode nuit |
| Entretien | Remplacement du filtre tous les 6 mois, nettoyage régulier de la grille d'entrée d'air |
| Certifications | CE, RoHS |
| Garantie | 2 ans |
FOIRE AUX QUESTIONS - AirgoClean 145 E TROTEC
Questions des utilisateurs sur AirgoClean 145 E TROTEC
0 question sur cet appareil. Repondez a celles que vous connaissez ou posez la votre.
Poser une nouvelle question sur cet appareil
Téléchargez la notice de votre Purificateur d'air au format PDF gratuitement ! Retrouvez votre notice AirgoClean 145 E - TROTEC et reprennez votre appareil électronique en main. Sur cette page sont publiés tous les documents nécessaires à l'utilisation de votre appareil AirgoClean 145 E de la marque TROTEC.
MODE D'EMPLOI AirgoClean 145 E TROTEC
Indications sur le manuel d'utilisation.... 2
Sécurité.... 2
Informations sur l'appareil .... 4
Transport et stockage 5
Montage et mise en service 6
Utilisation....8
Accessoires disponibles.... 11
Défauts et pannes.... 11
Entretien.... 12
Annexe technique.... 16
Élimination.... 16
Indications sur le manuel d'utilisation
Symboles

Avertissement relatif à la tension électrique
Ce symbole indique que la tension électrique cause des risques pour la vie et la santé des personnes.

Avertissement
Cette mention d'avertissement indique un risque moyen qui peut entraîner des blessures graves ou mortelles s'il n'est pas évité.

Attention
Cette mention d'avertissement indique un risque faible qui peut entraîner des blessures bénignes ou moyennes s'il n'est pas évité.
Remarque
Cette mention d'avertissement indique des informations importantes (par ex. dommages matériels), mais aucun danger.

Info
Les indications présentant ce symbole vous aident à exécuter vos tâches rapidement et en toute sécurité.

Observer le mode d'emploi
Les indications présentant ce symbole vous indiquent qu'il est nécessaire de respecter le manuel d'utilisation.
Vous pouvez télécharger la dernière version du manuel d'utilisation et la déclaration de conformité UE sur le lien suivant :

AirgoClean® 140 E
AirgoClean® 145 E

Veuillez lire attentivement le présent manuel avant la mise en service ou l'utilisation de l'appareil et conservez-le à proximité immédiate du site d'installation ou de l'appareil même.

Avertissement
Lisez toutes les consignes de sécurité et toutes les instructions.
Le non-respect des consignes de sécurité risque de causer une électrocution, de provoquer un incendie ou de causer des blessures graves.
Conservez toutes les consignes de sécurité et toutes les instructions pour pouvoir vous y reporter ultérieurement.
Les enfants de moins de 8 ans et toute personne ayant des capacités physiques, sensorielles ou mentales réduites ou ne possédant pas l'expérience et les connaissances nécessaires peuvent utiliser l'appareil pour autant qu'ils bénéficient d'une supervision et d'une instruction adéquate relative à une utilisation sure de l'appareil et qu'ils comprennent les dangers émanant de l'utilisation.
Les enfants ne sont pas autorisés à jouer avec l'appareil. Il est interdit aux enfants d'effectuer le nettoyage et l'entretien de l'appareil sans surveillance.
- N'utilisez pas et ne placez pas l'appareil dans les pièces ou les zones présentant un risque d'explosion.
- N'utilisez pas l'appareil dans les atmosphères agressives.
- N'utilisez pas l'appareil à proximité de feux ouverts ou d'appareils à gaz.
- Installez l'appareil debout et de façon stable sur une surface solide.
- Faites sécher l'appareil après un nettoyage humide. Ne le faites pas fonctionner s'il est mouillé.
- Ne touchez ou n'utilisez pas l'appareil les mains humides ou mouillées.
- N'exposez pas l'appareil à un jet d'eau direct.
- N'exposez l'appareil à aucun liquide, car il n'est pas protégé contre les éclaboussures d'eau.
- N'introduisez pas de corps étrangers ni de membres du corps à l'intérieur de l'appareil.
- Ne couvrez pas l'appareil pendant le fonctionnement.
- Ne vous asseyez pas sur l'appareil.
- L'appareil n'est pas un jouet. Tenez-le hors de portée des enfants et des animaux. Utilisez l'appareil uniquement sous surveillance.
- Avant chaque utilisation, vérifiez le bon état de l'appareil, des accessoires et des pièces de raccordement. N'utilisez pas l'appareil si celui-ci ou une des pièces qui le composent présente un défaut.
- Protégez tous les câbles électriques en dehors de l'appareil contre les endommagements (par ex. par des animaux). N'utilisez jamais l'appareil lorsque le cordon électrique ou la fiche sont détériorés !
- Le raccordement secteur doit correspondre aux indications données au chapitre « Annexe technique ».
- Raccordez la fiche de l'appareil à une prise de courant protégée selon les règles de l'art.
- Choisissez la rallonge de câble électrique conformément aux indications contenues dans les données techniques. Déroulez complètement la rallonge électrique. Évitez toute surcharge électrique.
- Avant l'entretien, la maintenance ou les réparations, débranchez le câble électrique de l'appareil en le saisissant par la fiche.
- Éteignez l'appareil et retirez le câble électrique de la prise lorsque l'appareil n'est pas en service.
- N'utilisez jamais l'appareil si vous remarquez des défauts au niveau de la prise ou du câble électrique. Si le cordon secteur de cet appareil est endommagé, il doit être remplacé par le fabricant, son service après-vente ou par une personne qualifiée afin d'éviter tout risque. Les câbles électriques défectueux représentent un sérieux danger pour la santé.
- Lors de l'installation, respectez les distances minimales requises par rapport aux murs et aux objets ainsi que les conditions d'entreposage et de fonctionnement conformément aux indications figurant dans l'Annexe technique.
- Veillez à ce que l'entrée et la sortie d'air soient libres.
- Assurez-vous qu'aucun objet ne se trouve à proximité immédiate de l'entrée et de la sortie d'air, et que celles-ci soient libres de toute saleté.
- Ne retirez aucun signe de sécurité, autocollant ou étiquette de l'appareil. Tous les signes de sécurité, les autocollants et les étiquettes doivent être conservés de manière à rester lisibles.
- N'exposez jamais l'appareil à une grande chaleur ou directement aux rayons du soleil.
- Assurez-vous que le côté aspiration soit toujours exempt de saleté et de corps étrangers.
- Éliminez correctement les filtres usagés, en particulier après la filtration de substances nocives pour la santé.
- N'utilisez pas l'appareil comme étagère ou marche.
- Ne placez pas de batteries rechargeables dans la télécommande.
- Ne sélectionnez jamais le mode automatique lorsque l'appareil est mis en œuvre pour filtrer les virus.
Utilisation conforme
Utilisez l'appareil pour la purification d'air et l'élimination des odeurs (ionisation) à l'intérieur, tout en respectant les données techniques et les consignes de sécurité.
Utilisations non conformes prévisibles
- N'installez pas l'appareil sur une surface mouillée ou inondée.
- Veuillez ne déposer aucun objet, comme p.ex. des vêtements, sur l'appareil.
- Veuillez ne pas utiliser l'appareil à l'extérieur.
- Veuillez ne pas utiliser l'appareil dans les salles de bains et les locaux présentant une humidité relative élevée.
- N'utilisez pas l'appareil dans des locaux avec une forte génération de poussière, par ex. les halles de production, les ateliers ou les chantiers.
- En outre, le système de filtration intégré ne convient pas à la purification de l'air de poussières avec un potentiel nocif pour la santé (par ex. polluants).
- Toute utilisation autre que celle prévue est considérée comme une utilisation non conforme raisonnablement prévisible.
- Toute modification structurelle, toute transformation ou tout ajout arbitraire au niveau de l'appareil est strictement interdit.
Qualification du personnel
Toute personne utilisant le présent appareil doit :
- être consciente des risques pouvant être liés à l'exploitation des purificateurs d'air électriques.
- avoir lu et compris le manuel d'utilisation, et notamment le chapitre Normes de sécurité.
Risques résiduels

Avertissement relatif à la tension électrique
Toute intervention au niveau des composants électriques est à réaliser exclusivement par une entreprise spécialisée !

Avertissement relatif à la tension électrique
Retirez la fiche d'alimentation de la prise secteur avant tout type d'intervention sur l'appareil.
Ne touchez jamais la fiche secteur avec des mains humides ou mouillées.
Débranchez le cordon secteur de la prise électrique en tirant sur la fiche secteur.

Avertissement
L'utilisation de l'appareil peut comporter un risque s'il est utilisé par des personnes non compétentes ou en cas d'utilisation non conforme ou non conventionnelle ! Observez les qualifications requises pour le personnel.

Avertissement
L'appareil n'étant pas un jouet, il n'est pas adapté aux enfants.

Avertissement
Danger de suffocation !
Veuillez ne pas laisser traîner les emballages vides. Ils pourraient être dangereux pour les enfants.
Remarque
N'utilisez jamais l'appareil sans filtre à air monté sur l'entrée d'air.
Sans filtre à air, l'intérieur de l'appareil se salit énormément, ce qui peut réduire les performances et détériorer l'appareil.
Remarque
N'utilisez pas de nettoyants agressifs, abrasifs ou décapants pour nettoyer l'appareil.
Comportement en cas d'urgence
- Arrêtez l'appareil.
- En cas d'urgence, coupez immédiatement l'alimentation électrique de l'appareil. Débranchez le cordon secteur de la prise électrique en tirant sur la fiche secteur.
- Ne rebranchez jamais un appareil endommagé.
Informations sur l'appareil
Description de l'appareil
L'appareil sert au filtrage de l'air ambiant, il vise l'amélioration de la qualité de l'air en réduisant la pollution et les odeurs légères à moyennes. Il est équipé d'un puissant ventilateur qui aspire l'air. Le flux d'air passe à travers le filtre qui le purifie. Ensuite, le ventilateur restitue l'air purifié à la pièce.
Le filtre est un filtre 3-en-1 réunissant pré-filtre, filtre carbone et filtre HEPA.
L'appareil élimine les bactéries, les virus, les pollens, les détritus d'acariens, les moisissures et autres produits allergènes de l'air au moyen d'un filtre HEPA. Le pré-filtre intégré (en fibres synthétiques) filtre les grosses particules de poussières avant que l'air ne pénètre dans le filtre HEPA. Le filtre carbone intégré, au charbon actif, élimine également les mauvaises odeurs de l'air.
Le filtre carbone HEPA retient efficacement la poussière domestique, les allergènes des animaux domestiques, la fumée de cigarette, le smog et les particules porteuses de mauvaises odeurs et de virus.
L'appareil dispose d'un capteur de la qualité de l'air qui permet de visualiser cette dernière et de piloter automatiquement la purification de l'air.
L'appareil est doté d'un mode de fonctionnement automatique, d'un mode nuit et d'un mode turbo.
L'appareil est également équipé d'une fonction d'ionisation. Les ions libérés permettent d'éliminer les pollens, la poussière, les virus et les bactéries en suspension dans l'air ambiant. Cette méthode de purification de l'air permet d'améliorer encore la qualité de l'air de la pièce.
L'appareil est doté d'une fonction UV. Combinée à la surface photocatalytique du filtre, la LED UV permet de réduire la formation des germes, des virus et des odeurs.
Le ventilateur à trois niveaux et le changement de filtre simple et rapide permettent une utilisation aisée.
Grâce à ses dimensions compactes, l'appareil peut être transporté facilement et son fonctionnement silencieux permet une mise en œuvre à l'intérieur.
L'appareil se commande par l'intermédiaire de son panneau de commande ou de la télécommande infrarouge.
Les deux appareil sont identiques au plan technique. Ils ne se distinguent que par leur couleur : L'AirgoClean 140 E est blanc, alors que l'AirgoClean 145 E est noir.
Représentation de l'appareil Vue avant

| N° Désignation |
| 1 Entrée d'air avec filtre HEPA Carbon, pré-filtre inclus |
| 2 Affichage 7-segments |
| 3 Sortie d'air |
| 4 Socle |
| 5 Télécommande |
| 6 Capteur de la qualité de l'air |
| 7 Poignée |
Transport et stockage
Remarque
L'appareil peut s'endommager si vous le transportez ou l'entreposer de manière inappropriée.
Observez les informations relatives au transport et à l'entreposage de l'appareil.
Transport
Pour faciliter le transport, l'appareil est pourvu d'une poignée. Veuillez observer les consignes suivantes avant chaque transport :
- Éteignez l'appareil.
- Débranchez le cordon secteur de la prise murale en tirant sur la fiche secteur.
- Veuillez ne pas utiliser le cordon électrique pour tirer l'appareil.
Veuillez observer les consignes suivantes après chaque transport :
- Installez l'appareil à la verticale après l'avoir transporté.
Stockage
Observez les conditions de stockage suivantes lorsque vous n'utilisez pas l'appareil :
- au sec et protégé du gel et de la chaleur
- debout, dans un endroit protégé de la poussière et de l'exposition directe au soleil
- le cas échéant, protégé de la poussière par une housse
• retirer les piles de la télécommande
Montage et mise en service
Contenu de la livraison
• 1 appareil
- 1 filtre HEPA Carbon, pré-filtre en fibres synthétiques inclus
• 1 socle
• 2 renforts de socle
- 6 vis pour le montage du socle
• 6 vis pour le montage mural
- 1 support mural
- 6 chevilles pour le montage mural
• 1 télécommande
- 1 mode d'emploi
Déballage de l'appareil
- Ouvrez le carton et sortez l'appareil.
- Retirez entièrement l'emballage de l'appareil.
- Déroulez complètement le câble électrique. Assurez-vous que le câble électrique n'est pas endommagé et ne le détériorez pas en le déroulant.
Montage
Montage du socle
- Vissez les deux renforts sur le socle avec les vis.

- Vissez le socle à l'emplacement prévu au dos de l'appareil.

- Vérifiez la stabilité de l'appareil.
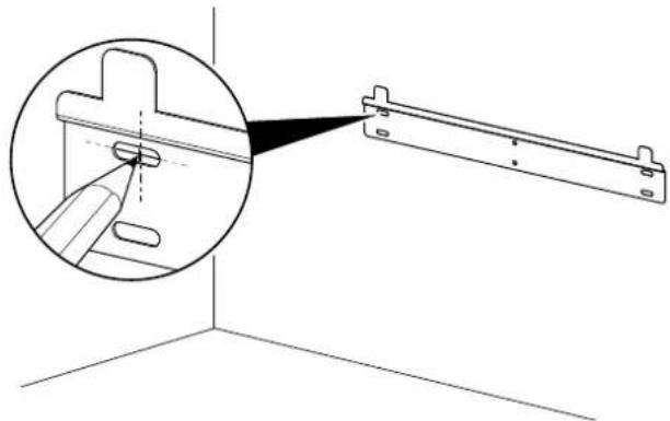
Montage mural
- Marquez les positions de perçage sur le mur. Observez les distances minimum indiquées dans les « Caractéristiques techniques ».

- Percez les trous dans le mur.

- Placez les chevilles adaptées au type du mur dans les trous. Positionnez le support sur le mur comme il est indiqué sur l'illustration et vissez-le fermement avec 6 vis.

- Suspendez l'appareil au support par le haut.

- Vérifiez que l'appareil est bien fixé.
Mise en service
Le filtre HEPA Carbon est pré-installé.
Remarque
Retirez l'enveloppe plastique du filtre HEPA Carbon. Remplacez les filtres HEPA Carbon comme il est décrit au point « Remplacement du filtre HEPA Carbon ».
Lors de l'installation de l'appareil, respectez les distances minimum requises par rapport aux murs et aux objets conformément aux indications du chapitre « Annexe technique ».

text_image
A C C D- Avant la remise en marche de l'appareil, vérifiez l'état du cordon secteur. Si vous n'êtes pas sûr de son parfait état, contactez le SAV.
- Installez l'appareil debout et de façon stable sur une surface solide.
- En particulier lorsque l'appareil est placé au centre de la pièce, veillez à ce que le cordon secteur et tout autre câble électrique soit posé de sorte à éviter tout risque de trébuchement. Utilisez des couvre-câbles.
- Assurez-vous que les rallonges électriques soient entièrement déroulées.
- Placez l'appareil à proximité de la source de pollution de l'air.
• Tenez l'appareil loin de toute source de chaleur. - Veillez à ce qu'aucun rideau ni aucun autre objet ne bloque le flux d'air.
- Veillez à ce que l'entrée et la sortie d'air soient libres.
Branchement du câble secteur
- Raccordez la fiche secteur à une prise de courant dûment protégée.
Utilisation
Remarque
Évitez de laisser portes ou fenêtres ouvertes.
Panneau de commande

text_image
pm2.5 888 ug/m³ 8 9 21 88 °C 88 % RH 10 Speed 11 20 19 18 17 12 13 14 15 16 TROTECTélécommande

text_image
12 18 16 15 Auto UV θ 20 14 25 22 23 24 TROTEC| N° Désignation Signification | ||
| 8 Indicateur tricolore PM2.5 | Les barres s'allument en changeant de couleur = mode automatiqueS'allume dans la couleur correspondant à la qualité de l'air mesurée :vert = bonnejaune = moyennerouge = mauvaise | |
| 9 Affichage PM2.5/ Minuterie | Affichage de la charge en poussières fines en g/m^3 ou du nombre d'heures programmées pour la minuterie (1 h – 24 h) | |
| 10 Affichage %RH Affichage de l'humidité relative | ||
| 11 LEDs Speed S'allument en fonction du niveau de ventilation sélectionné :1 barre = faible2 barres = moyen3 barres = fort (turbo) | ||
| 12 Touche On/Off Mise en marche et arrêt de l'appareil | ||
| 13 Touche Minuterie Activation de la minuterie : 1 h – 24 h | ||
| 14 Touche Verrouillage Activation/désactivation du verrouillage | ||
| 15 Touche Auto Activation/désactivation du mode automatique | ||
| 16 Touche Ionisation Activation ou désactivation du mode ionisation | ||
| 17 Touche Filtre Appuyez sur cette touche pour effectuer une réinitialisation du filtre. | ||
| 18 Touche UV Activer et désactiver la fonction UV | ||
| 19 Touche Speed Réglage du niveau de ventilation | ||
| 20 Touche Nuit Activation/désactivation du mode nuit | ||
| 21 Affichage Température | Affiche la température actuelle en °C | |
| 22 | Touche Minuterie ^ | Augmente le nombre d'heures de la minuterie |
| 23 | Touche Minuterie √ | Diminue le nombre d'heures de la minuterie |
| 24 | Touche Speed √ | Pour diminuer le niveau de ventilation |
| 25 | Touche Speed ^ | Pour augmenter le niveau de ventilation |
Mise en marche de l'appareil
Après avoir installé l'appareil en suivant la description du chapitre Montage et mise en service, vous pouvez le mettre en marche.
- Appuyez sur la touche Marche/arrêt (12) pour mettre l'appareil en marche.
⇒ Un signal sonore se fait entendre.
L'appareil mesure en l'espace de 3 minutes la qualité de l'air. L'indicateur PM2.5 (8) signale par sa couleur la qualité actuelle de l'air.
→ La touche Auto (15) s'allume.
⇒ Les LEDs Speed (11) s'allument en fonction de la qualité de l'air mesurée et du niveau de ventilation.
Sélection du mode de fonctionnement
L'appareil dispose des modes de fonctionnement suivants :
- Mode nuit
- Ventilation
- Mode automatique
Mode automatique
En mode automatique, l'appareil détecte automatiquement la qualité de l'air.
Pour activer le mode automatique, procédez de la manière suivante :
√ L'appareil est en marche.
- Appuyez sur la touche Auto (15).
→ La touche Auto (15) s'allume.
L'appareil fonctionne en mode automatique.
L'appareil mesure en l'espace de 3 minutes la qualité de l'air. L'indicateur PM2.5 (8) signale par sa couleur la qualité actuelle de l'air.
Lorsque l'appareil fonctionne en mode automatique et que l'obscurité survient, la fonction de détection de lumière fait passer l'appareil en mode nuit.
Lorsque la luminosité ambiante augmente de nouveau, l'appareil repasse en mode automatique.
L'affichage PM2.5/Minuterie (9) indique la valeur PM2.5 mesurée (charge en poussières fines).
Les LED Speed (11) s'allument en fonction du niveau de ventilation automatiquement défini.
En fonction de la charge en poussières fines mesurée, la qualité de l'air est affichée sur l'indicateur tricolore PM2.5 (8) et l'affichage PM2.5/Minuterie (9) de la façon suivante :
| Indicateur tricolore Affichage | de la valeur PM2.5 (poussières fines) |
| Allumé en vert (air de très bonne qualité) | 0-50 |
| Allumé en jaune (air de qualité moyenne) | 51-100 |
| Allumé en rouge (air de mauvaise qualité) | > 100 |
Pour désactiver le mode automatique, procédez de la manière suivante :
- Appuyez sur la touche Auto (15).
→ La touche Auto (15) s'éteint.
⇒ L'appareil passe en mode Ventilation.

Info
Mode automatique et filtrage des virus
N'utilisez pas le mode automatique lorsque l'appareil est mis en œuvre pour filtrer les virus.
Les capteurs intégrés ne réagissent qu'aux pollutions de l'air dues aux poussières fines, aux pollens et, le cas échéant, aux COV (combinaisons organiques/chimiques). La charge en virus de l'air de la pièce ne peut pas être déterminée par l'appareil. Il est possible que le mode automatique affiche une bonne qualité de l'air alors que la charge en virus est très élevée.
C'est pourquoi nous recommandons, en cas de mise en œuvre de l'appareil liée aux virus, de sélectionner un niveau de puissance adapté au volume de local ou au taux de renouvellement requis.
Mode nuit
En mode nuit, le panneau de commande n'est que faiblement éclairé et l'appareil génère un flux d'air doux, adapté aux besoins de votre sommeil.
Pour activer le mode nuit, procédez de la manière suivante :
√ L'appareil est en marche.
-
Appuyez sur la touche Nuit (20).
→ La touche Nuit (20) s'allume. -
Pour désactiver le mode nuit, appuyez de nouveau sur la touche Nuit (20).
→ La touche Nuit (20) s'éteint. L'appareil fonctionne au niveau de ventilation 1 et le mode automatique est désactivé.
Ventilation
En mode Ventilation, vous pouvez sélectionner à la main tous les niveaux de ventilation.
Pour régler le niveau de ventilation, procédez de la manière suivante :
√ L'appareil est en marche.
- Sélectionnez le niveau de ventilation en appuyant sur la touche Speed (19) jusqu'à ce que le niveau de ventilation souhaité soit atteint.
La touche Speed (19) s'allume. Les LEDs Speed (11) s'allument en fonction du niveau de ventilation défini.
Activation/désactivation du verrouillage
La fonction verrouillage vous permet d'empêcher toute utilisation indue du panneau de commande.
Pour verrouiller le panneau de commande, procédez de la manière suivante :
√ L'appareil est en marche.
- Appuyez sur la touche Verrouillage (14) pendant 3 secondes.
→ La touche Verrouillage (14) s'allume.
→ Le verrouillage est activé.
⇒ Aucune touche du panneau de commande ne peut plus être actionnée.
- Appuyez de nouveau sur la touche Verrouillage (14) pendant 3 secondes afin de désactiver la fonction.
Ionisation
La fonction ionisation permet de filtrer les pollens, la poussière, les virus et les bactéries de l'air ambiant grâce au filtre HEPA Carbon à pré-filtre ionisation.
Lorsque la fonction ionisation est activée, le mode automatique est automatiquement ajouté.
Pour activer la fonction ionisation, procédez de la manière suivante :
√ L'appareil est en marche.
- Appuyez sur la touche Ionisation (16) afin d'activer la fonction ionisation.
→ La touche lonisation (16) s'allume.
L'appareil se met en marche automatiquement en mode automatique. La touche Auto (15) s'allume.
→ L'appareil filtre l'air ambiant.
- Sélectionnez le niveau de ventilation souhaité en appuyant sur la touche Speed (19).
⇒ Le mode automatique est désactivé et la LED Auto (15) s'éteint.
→ La touche Speed (19) s'allume. Les LEDs Speed (11) s'allument en fonction du niveau de ventilation défini.
- Appuyez de nouveau sur la touche Ionisation (16) pour désactiver la fonction ionisation.
→ La touche Ionisation (16) s'éteint.
Fonction UV
Combinée à la surface photocatalytique du filtre, la LED UV permet de réduire la formation des germes, des virus et des odeurs.
Pour activer la fonction UV, procédez de la manière suivante :
√ L'appareil est en marche.
-
Appuyez sur la touche UV(18) pour activer la fonction UV. ⇒ La touche UV(18) s'allume.
-
Appuyez de nouveau sur la touche UV (18) pour désactiver la fonction UV.
→ La touche UV(18) s'éteint.
Réglage de la minuterie
La fonction peut être activée dans chacun des modes de fonctionnement.
Le nombre d'heures peut être défini entre 1 et 24 heures.
Arrêt automatique
√ L'appareil est en marche.
- Appuyez sur la touche Minuterie (13) jusqu'à ce que le nombre d'heures désiré soit défini.
→ La touche Minuterie (13) s'allume.
L'affichage PM2.5/Minuterie (9) indique le nombre d'heures défini pour la minuterie. En mode nuit, le nombre d'heures défini n'est pas affiché, mais la touche du mode nuit (20) apparaît faiblement sur le panneau d'affichage.
→ La minuterie est programmée et active.
L'appareil s'éteint automatiquement après écoulement du nombre d'heures programmé.
Remarques concernant l'arrêt automatique :
- Une pression sur la touche Marche/arrêt (12) désactive l'arrêt automatique.
Mise hors service

Avertissement relatif à la tension électrique
Ne touchez pas la fiche d'alimentation avec les mains humides ou mouillées.
- Appuyez sur la touche Marche/arrêt (12).
- Débranchez le cordon secteur de la prise murale en tirant sur la fiche secteur.
- Nettoyez l'appareil conformément aux indications figurant au chapitre « Maintenance ».
- Stockez l'appareil conformément aux indications figurant dans le chapitre Transport et stockage.
Accessoires disponibles

Avertissement
Utilisez uniquement les accessoires et les appareils auxiliaires mentionnés dans le manuel d'utilisation. L'utilisation d'autres outils et d'autres accessoires que ceux recommandés dans le manuel d'utilisation peut encourir un risque de blessure.
| Désignation Numéro d'article | |
| Filtre HEPA 7.160.000.526 | |
| Filtre HEPA Carbon 7.160.000.527 | |
| Filtre HEPA (99,97%) 7.160.000.528 | |
| Filtre HEPA Carbon (99,97%) 7.160.000.529 |
Défauts et pannes
Dans le cadre de sa production, le bon fonctionnement de l'appareil a été contrôlé à plusieurs reprises. Malgré tout, si l'appareil devait présenter des dysfonctionnements, contrôlez-le en vous conformant à la liste suivante :
L'appareil ne se met pas en marche :
• Vérifiez le raccordement au secteur.
- Vérifiez le bon état du cordon et de la fiche secteur.
- Vérifiez le fusible ou le disjoncteur secteur.
- Attendez 10 minutes avant de redémarrer l'appareil. Si l'appareil ne démarre pas, faites-le réviser par une entreprise spécialisée ou par la société Trotec.
L'appareil est bruyant ou il vibre :
- Vérifiez si l'appareil est stable et bien installé en position verticale.
L'appareil devient très chaud, il est bruyant ou il perd de la puissance :
- Vérifiez si les entrées d'air et le filtre à air sont encrassés. Nettoyez la saleté extérieure.
L'appareil fonctionne à performances réduites :
- Vérifiez l'encrassement du filtre HEPA Carbon (27). Au besoin, remplacez le filtre HEPA Carbon.
- Le filtre HEPA Carbon (27) est encrassé et doit être nettoyé. Nettoyez le filtre HEPA Carbon (voir chapitres « Utilisation » et « Maintenance »).
- La sortie d'air n'est pas libre. Faites en sorte que la sortie d'air ne soit pas bloquée. Le cas échéant, retirez les objets de la sortie d'air.
- L'enveloppe plastique du filtre HEPA Carbon n'a pas été retirée avant la mise en place du filtre. Sortez le filtre HEPA Carbon de son enveloppe plastique.
- Le capteur de qualité de l'air est bouché ou encrassé. Les fenêtres et les portes doivent rester fermées, sinon de la poussière et d'autres salissures pénètrent sans arrêt dans la pièce. Nettoyez le capteur de qualité de l'air conformément au chapitre « Maintenance ».
L'appareil fonctionne sans puissance ou la qualité de l'air ne s'améliore pas :
- Vérifiez que la (les) fenêtre(s) et la (les) porte(s) de la pièce sont bien fermées. Le cas échéant, fermez-les.
- Le filtre HEPA Carbon n'est pas en place. Mettez le filtre HEPA Carbon en place.
- Vérifiez les distances minima par rapport aux murs et aux objets. Le cas échéant, placez l'appareil plus loin dans la pièce.
L'appareil diffuse une odeur désagréable :
- Vérifiez l'encrassement du filtre HEPA Carbon (27). Au besoin, remplacez le filtre HEPA Carbon.
- De la fumée, par exemple une forte fumée de tabac, ou des odeurs, voire des impuretés peuvent être présentes dans l'air. Aérez la pièce.
L'appareil ne fonctionne pas parfaitement après les contrôles :
Contactez le service après-vente. Le cas échéant, faites réparer l'appareil par une entreprise d'électricité autorisée ou par la société Trotec.
Entretien
Intervalles de maintenance
| Intervalles de maintenance et d'entretien | avant chaque mise en service | au besoin | au moins toutes les 2 semaines | au moins toutes les 4 semaines | au moins tous les 6 mois | au moins une fois par an |
| Contrôle des bouches d'aspiration et de sortie d'air pour détecter les encrassements ou les corps étrangers, nettoyage le cas échéant | X | X | ||||
| Nettoyage extérieur | X | X | ||||
| Contrôle visuel de l'intérieur de l'appareil pour détecter d'éventuels encrassements | X | X | ||||
| Contrôle du filtre pour détecter d'éventuels encrassements ou corps étrangers, nettoyage ou remplacement le cas échéant | X | X | ||||
| Remplacement du filtre HEPA Carbon | X | X | ||||
| Recherche de détériorations éventuelles | X | |||||
| Contrôle des vis de fixation | X | X | ||||
| Test fonctionnel | X |
Protocole de maintenance et d'entretien
Type d'appareil : ....
Numéro de série : ....
| Intervalles de maintenance et d'entretien | 1 2 3 4 5 6 | 7 8 9 10 | 11 12 | 13 14 | 15 16 | |||||||||
| Contrôle des bouches d'aspiration et de sortie d'air pour détecter les encrassements ou les corps étrangers, nettoyage le cas échéant | ||||||||||||||
| Nettoyage extérieur | ||||||||||||||
| Contrôle visuel de l'intérieur de l'appareil pour détecter d'éventuels encrassements | ||||||||||||||
| Contrôle du filtre pour détecter d'éventuels encrassements ou corps étrangers, nettoyage ou remplacement le cas échéant | ||||||||||||||
| Remplacement du filtre HEPA Carbon | ||||||||||||||
| Recherche de détériorations éventuelles | ||||||||||||||
| Contrôle des vis de fixation | ||||||||||||||
| Test fonctionnel |
| 1. Date : ......Signature : ...... | 2. Date : ......Signature : ...... | 3. Date : ......Signature : ...... | 4. Date : ......Signature : ...... |
| 5. Date : ......Signature : ...... | 6. Date : ......Signature : ...... | 7. Date : ......Signature : ...... | 8. Date : ......Signature : ...... |
| 9. Date : ......Signature : ...... | 10. Date : ......Signature : ...... | 11. Date : ......Signature : ...... | 12. Date : ......Signature : ...... |
| 13. Date : ......Signature : ...... | 14. Date : ......Signature : ...... | 15. Date : ......Signature : ...... | 16. Date : ......Signature : ...... |
Avant toute opération de maintenance

Avertissement relatif à la tension électrique
Ne touchez pas la fiche d'alimentation avec les mains humides ou mouillées.
- Arrêtez l'appareil.
- Débranchez le cordon secteur de la prise murale en tirant sur la fiche secteur.

Avertissement relatif à la tension électrique Tout travail nécessitant l'ouverture de l'appareil est à réaliser par une entreprise spécialisée homologuée ou par la société Trotec.
Nettoyer le boîtier
Nettoyez le boîtier avec un chiffon humide, doux et sans peluche. Veillez à ce qu'aucune humidité ne pénètre dans le boîtier. Veillez à ce qu'aucune humidité ne puisse entrer en contact avec les composants électriques. N'utilisez pas de détergents agressifs, comme les aérosols de nettoyage, les solvants, les nettoyants à base d'alcool ou les produits abrasifs pour humidifier le chiffon.
Remarque
Au besoin, nettoyez la sortie d'air.
Nettoyez la sortie d'air de l'extérieur avec un chiffon humide, doux et non pelucheux.
Remarque
Au besoin, nettoyez le capteur de qualité de l'air. Nettoyez-le de l'extérieur avec un chiffon humide, doux et non pelucheux.
Contrôle visuel de l'intérieur de l'appareil pour détecter des encrassements
- Retirez les filtres à air.
- Munissez-vous d'une lampe de poche pour éclairer l'intérieur de l'appareil à travers les ouvertures.
- Examinez l'intérieur de l'appareil pour détecter d'éventuels encrassements.
- Si vous détectez une épaisse couche de poussière, nettoyez l'intérieur de l'appareil avec de l'air comprimé ou de l'eau.
- Remettez les filtres à air en place.

Nettoyage et remplacement du filtre HEPA Carbon
Remarque
N'utilisez jamais l'appareil sans filtre HEPA Carbon !
Remarque
Le filtre HEPA Carbon ne peut pas être nettoyé et doit être remplacé au besoin.
Remarque
La durée de vie du filtre HEPA Carbon dépend des conditions ambiantes ainsi que de la durée de mise en œuvre de l'appareil.
- Le filtre HEPA Carbon doit être nettoyé ou, lorsqu'il est fortement encrassé, remplacé. Cela se traduit, par exemple, par une diminution des performances (voir chapitre « Défauts et pannes »).
- Avant la mise en marche, assurez-vous que le filtre HEPA Carbon est bien en place.
- Sans son filtre HEPA Carbon, l'appareil ne peut pas remplir sa fonction de purificateur d'air et l'intérieur de l'appareil s'encrasse.
Le filtre HEPA Carbon doit être remplacé dès qu'il est encrassé. Le filtre HEPA Carbon doit être remplacé lorsqu'il est fortement encrassé. Lorsque la touche Filtre (17) est allumée, le filtre HEPA Carbon doit être remplacé.
Avant chaque mise en service, effectuez un contrôle visuel de l'encrassement du filtre carbone HEPA.
Procédez de la manière suivante :
√ L'appareil est éteint.
- Faites basculer le cache de l'appareil (26) vers l'avant.

- Extrayez le filtre HEPA Carbon (27) de l'appareil en le tirant par les languettes (28).

text_image
28 28 27-
Nettoyez le filtre HEPA Carbon (27), s'il n'est que légèrement encrassé, avec un chiffon humide non pelucheux. Éliminez le filtre HEPA Carbon (27) fortement encrassé conformément à la législation nationale en vigueur et sortez le nouveau filtre HEPA Carbon de son enveloppe plastique.
-
Insérez le filtre nettoyé ou le nouveau filtre ou HEPA Carbon (27) dans l'appareil. Veillez à ce que les languettes (28) se trouvent dans la position illustrée.

text_image
28 27- Refermez le cache de l'appareil (26).

- Appuyez 3 secondes sur la touche Filtre (17), pour effectuer une réinitialisation du filtre.
→ La LED Filtre (17) s'éteint.
Nettoyage du capteur de la qualité de l'air
Le capteur de la qualité de l'air (6) doit être nettoyé tous les 3 mois ou lorsqu'il est encrassé (voir aussi chapitres
« Utilisation » et « Défauts et pannes »).
- Nettoyez le couvercle du capteur avec un chiffon doux non pelucheux.
- Ouvrez le couvercle du capteur en le poussant vers le côté.
- Nettoyez prudemment la lentille du capteur (29) avec un coton-tige légèrement humide. N'utilisez pas trop d'eau pour nettoyer le capteur, vous pourriez l'endommager.

text_image
29 II.- Séchez la lentille avec précaution au moyen d'un coton-tige sec.
- Refermez le couvercle du capteur.
Annexe technique
Caractéristiques techniques
| Paramètre Valeur | |
| Modèle AirgoClean | ^ 140 E (blanc)AirgoClean ^ 145 E (noir) |
| Débit d'air avec filtre HEPA CarbonNiveau de ventilation INiveau de ventilation IINiveau de ventilation III (turbo) | 130 m^3/h 240 m^3/h 330 m^3/h |
| Température ambiante 0 °C à 35 °C | |
| Plage de fonctionnement 0 % à 90 | % HR |
| Raccordement secteur 220-240 V | / 50-60 Hz |
| Puissance absorbée 85 W | |
| Courant nominal 0,37 A | |
| Niveau de pression sonore (à une distance de 1 m)Niveau 1 (mode nuit)Niveau 2Niveau 3 (turbo) | 34,5 dB(A)43 dB(A)50 dB(A) |
| Dimensions avec socle(longueur x largeur x hauteur) | 193 x 600 x 441 mm |
| Distances minimum par rapportaux murs et aux objetsA : hautC : vers les côtésD : vers l'avant | 30 cm30 cm30 cm |
| Poids 7,5 kg | |
| Pile pour la télécommande 3V CR2 | 032 |
Élimination

Le pictogramme représentant une poubelle barrée, apposé sur un appareil électrique ou électronique, signifie que celui-ci ne doit pas être éliminé avec les ordures ménagères. Des points de collecte gratuits pour les appareils électriques ou électroniques usagés sont à votre disposition à proximité de chez vous. Les autorités de votre ville ou de votre commune peuvent vous en fournir les adresses. Pour de nombreux pays de l'UE, vous trouverez sur la page Internet https://hub.trotec.com/?id=45090 des informations sur d'autres possibilités de prise en charge. Sinon, adressez-vous à une entreprise homologuée dans votre pays pour le recyclage et l'élimination des appareils électriques usagés.
La collecte séparée des appareils électriques et électroniques usagés permet leur réutilisation éventuelle, le recyclage des matériaux constitutifs et les autres formes de recyclage tout en évitant les conséquences négatives pour l'environnement et la santé des produits dangereux qu'ils sont susceptibles de contenir.

Les piles usagées et les batteries ne doivent pas être jetées avec les ordures ménagères, mais être éliminées conformément à la directive européenne 2006/66/CE DU PARLEMENT ET DU CONSEIL EUROPEEN du 6 septembre 2006 relative aux piles, aux piles rechargeables, aux accumulateurs et aux batteries. Veuillez éliminer les piles et les batteries conformément aux dispositions légales en vigueur.
Trotec GmbH
Grebener Str. 7
D-52525 Heinsberg
)+49 2452 962-400
+49 2452 962-200
info@trotec.com
www.trotec.com
Notice Facile