Malaga - Cheminée FABER - Notice d'utilisation et mode d'emploi gratuit
Retrouvez gratuitement la notice de l'appareil Malaga FABER au format PDF.
| Caractéristiques | Détails |
|---|---|
| Type de cheminée | Cheminée à bois |
| Dimensions | À préciser selon le modèle |
| Puissance nominale | À préciser selon le modèle |
| Rendement énergétique | À préciser selon le modèle |
| Matériaux de construction | Acier, fonte, verre |
| Utilisation | Chauffage d'appoint, ambiance chaleureuse |
| Entretien | Nettoyage régulier du foyer et du conduit |
| Installation | Installation par un professionnel recommandée |
| Sécurité | Conforme aux normes de sécurité en vigueur |
| Garantie | À préciser selon le modèle |
| Informations supplémentaires | Vérifier les réglementations locales concernant l'installation |
FOIRE AUX QUESTIONS - Malaga FABER
Questions des utilisateurs sur Malaga FABER
0 question sur cet appareil. Repondez a celles que vous connaissez ou posez la votre.
Poser une nouvelle question sur cet appareil
Téléchargez la notice de votre Cheminée au format PDF gratuitement ! Retrouvez votre notice Malaga - FABER et reprennez votre appareil électronique en main. Sur cette page sont publiés tous les documents nécessaires à l'utilisation de votre appareil Malaga de la marque FABER.
MODE D'EMPLOI Malaga FABER
manuel d'installation et d'utilisation

faber
Saturnus 8 NL-8448 CC Heerenveen
Postbus 219 NL-8440 AE Heerenveen

40 01 53

faber
TOESTELBESCHRIJVING INHOUDSOPGAVE



fig.1afmetingen
5.1 Demontage en montage van de branderunit 8 + 9
6.INGEBRUIKNAME10
| Carina | Dalarà | Malaga | Varia | Vera | ||
| H | Hauteur | (mm) 797 | 715 | 755 | 820 | 902 |
| B | Largeur | (mm) 820 | 886 | 1000 | 820 | 902 |
| D | Profondeur | (mm) 379 | 338 | 415 | 379 | 429 |
| A | Distance du sol au centre du tuyau d'évacuation | (mm) 430 | 430 | 430 | 430 | 430 |
| d | Diamètre du tuyau d'évacuation | (mm) 100 | 100 | 100 | 100 | 100 |
FR
SOMMAIRE
- AVANT-PROPOS 2
- INTRODUCTION 3
- DIRECTIVES DE SECURITE 4
- PREPARATION ET INSTALLATION DU POÉLE 6
4.1 Raccord à la canalisation du gaz 6
4.2 Installation du poèle 6
4.3 Placement du thermodetecteur 7
- SERVICE 8
5.1 Demontage et montage du bruleur 8 + 9
- MISE EN SERVICE 10
6.2Commande de
6.3 Allumage/eteindre de la veilleuse
6.4 Allumage/eteindre du bruleur principal
6.5 Allumage/eteindre du bruleur d'ambiance
- ENTRETIEN ET NETTOYAGE
13
7.1 Nettoyage du bruleur
13
7.2 Nettoyage du verre
13
7.3 Entretien du manteau
13
- PANNE
14
Ce poèle est fourni avec un manuel d'installation et d'utilisation. Le manuel d'utilisation s'affecte au consommateur. En plus de renseignements sur l'utilisation de l'appareil, vous y trouvez également des conseils de sécurité et d'entretien.
Le manuel d'installation et d'utilisation partent du principe que le poèle a été installé par un installerateur technicien du gaz agréé, connaissant la réglementation nationale et communue en vigueur.
Ce manuel décrit d'abord la partie encastrable du poële pour trieter ensuite son fonctionnement. Nous vous conseillons lors lors de dire ce livre entérieur avant d'installer l'appareil.
Prenez soit d'agérer ce livre, afin qu'un autre utiliser puisse en profiter.
FR
2. INTRODUCTION
Dans le present manuel, vous trouvezez non seulement une information sur l'installation, le fonctionnement et l'entretien du poèle à gaz, mais aussi des conseils de sécurité pendant l'utilisation. La lecture de ce manuel vous permettra de vous familiariserrapidement avec le fonctionnement et l'utilisation du poèle à gaz.
L'appareil comprend également un Dispositif Thermique de Sécurité (DTS). Ce dispositif déconnecte le poële en cas de gaz de fume dans la pièce. Ceci peut se désigner en cas d'un manque d'aération et/ou d'un mauvais fonctionnement du poële.
FR2
FR 3
3. DIRECTIVES DE SECURITÉ
Seul un installateur agré est autorisé à faire l'installation de l'appareil en respectant les consignes (de sécurité contre les incendes) en vigueur sur les plans local et national.
L'etanchéité au gaz et le circuit des produits de combustion de l'appareil sont des points qui doivent être contrôliés. Contrôlez l'arrive du gaz et l'évacuation de la fumee (fuites). Contrôlez si le dispositif de réglage, le contrôle de flamme, le circuit thermocouple et l'allumage du brûroleur fonctionnement correctement.
Faites nettoyer la cheminée avant l'arrivee de la saison froide. Avant utilise, controlez si la cheminée fonctionne correctement.
Il est seulement possible d'utiliser l'appareil dans un espace bien aéré.
La seule fonction de l'appareil est de chauffer la pièce.
Comme il s'agit d'un apparéel de chauffage, toutes les surfaces y compris le verre peuvent atteindre des températures très élevées (>100^) . Les boutons de commande qui se trouvent sur le côte, forment ici une exception.
Nous vous conseillons de laisser le poèle allumé en position maxi-male pendant plusieurs heures après l'installation et d'assurer une bonne ventilation, afin de permettre une évaporation de la graisse de protection qui se trouve sur le chassin interieur du poèle.
Comme le poèle est une source de chaleur qui assure la circulation de l'air dans les chambres, nous vous consellons de ne pas allumer le poèle directement suite à des travaux de renovation. En raison de la circulation d'air naturelle, l'humidité, la peinture et la laque qui ne sont pas encore séches seront aspières et déposées sur des surfaces froides.
En cas de vitre brise, remplacez-la avant d'enclencher l'appareil.
Il est interdit de modifier la construction du poèle à gaz.
En cas de réparations, il est recommendé d'utiliser seulement les pieces d'origine de cet apparéil.
L'appareil est mis au point et cachete à l'usine, sur la charge nominale appropriée, conformément à la catégorie 12.1, indiquée sur l'immatriculation. Le brûleur de la veilleuse est régèle pour une utilisation appropriée. Voir caractéristiques techniques pour le contrôle. Vérifie que les données de l'immatriculation correspondant au gaz local et à la pression du gaz locale. La plaque signalétique se trouve à l'intérieur de la porte.
Aucun matériel inflammable (rideaux, vêtements, linge, meubles par exemple, ou tout autre matériel inflammable) ne peut être installé ou posé à proximité de l'appareil. Distance minimale de sécurité : 110 cm au-dessus de l'appareil et 50 cm à côte de l'appareil.
4. PREPARATION ET INSTALLATION DU
POELE
4.1 RACCORD A LA CANALISATION DU GAZ
S'assurer que le racord au gaz est de type G3/8" et que le tuyau d'alimentation est équipé d'un robinet de fermeture (certifié CE) G1/2 dans la cheminée.
Prenze garde de ne pas alterer le dispositif de réglage pendant le raccord. Evitez les tensions exercées sur le dispositif de réglage et sur les canalisations.
Après le raccord, contrôle que tous les raccords détachés aparavant soient étanches au gaz.
4.2 INSTALLATION DU POÉLE
Placez le pied de l'appareil au moins à 50 cm de la paroi de la cheminée. Respectez une distance de 20 cm à gauche et à droite entre le mur et l'appareil.
Branchez l'appareil sur la conduite de gaz. L'appareil est equipoipe d'un régulateur de pression de gaz.
Contrôlez si les bagues de connexion du gaz sont étanches. A cet effet, utilisez une eau savonnexe et/ou un détecteur de fuite de gaz.
Connectez l'appareil sur le conduit de chiminee en utilisant un tuyau ayant un diametre de 100 mm. Utilisez un matériel résistant à la corrosion pour connecter la manchette au conduit de chiminee. Ce tube de connexion ne doit jamais être place plus bas que la manchette de l'appareil. En cas d'un tube de connexion prolongé de la manchette vers le conduit de chiminee, celui-ci doit suivre une inclinaison de 2% en direction de la manchette.
Pour éviter toute formation de condensation dans le conduit de fumée en pierre et pour améliorer, si nécessaire, le tirage, il est recommendé d'équipier le conduit de fumée d'un tube en aluminium ou en acier inoxydable ayant un diamètre minimal de 100 mm.
4.3 PLACEMENT DU THERMODÉTECTEUR
Installez la bride de thermostat (livre) dans un endroit froid à proximé du poële. Enfoncez-y le thermodétector qui se trouve dans le brûleur.
FR
5. SERVICE
5.1 DEMONTAGE ET MONTAGE DU BRULEUR

5.1.1 Demontage
-Fermezle robinet du gaz;
- Ouvrez la porte de service et débranchez la conduite d'arrivée du gaz A;
-deconnectezle cableBetle cableDTBH
-deconnectez les tiges de service C et D
- dévissez les vis de serrage E et F;
- retirez de l'aménagement interieur le bruleur dans sa totalité ;
- enlevez le thermodetecteur de la bride, soyez prudent ici.
5.1.2 Montage
Exécutez les étapes décrites ci-dessus en sens inverse. Àprou le montage il faut contrôler l'étanchéité de tous les raccords de gaz qui ont été déboîts.
FR8
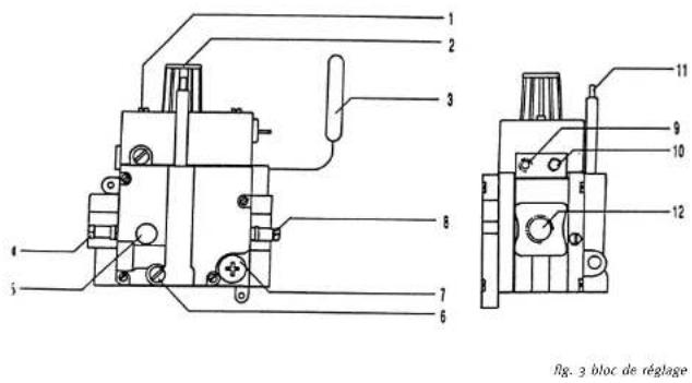
FR

- Vis de réglage de la veilleuse
2.Robinet du thermostat - Thermodetecteur
- Point de mesurede la pression de
service - Tirage petite flamme
-
Tirage petite flamme bruleur de tube
-
Regulateur de pression
- Douille d'indication de pression initiale
- Raccord thermocouple
no. Conduite à gaz de la veilleuse - Robinet de gaz bruleur de tube
- Raccordement de gaz
FR9
FR
6. MISE EN SERVICE
6.1 COMBUSTIBLE
Le combustible utilise pour le brûleur se trouve indiqué sur la plaque du modele. Cette plaque se trouve au dos de la porte.
6.2 COMMANDDE L'APPAREL
Les boutons de commande se trouvent sur le dessus à droite ou sur le côte du convecteur à gaz.
Il existe 3 boutons pour se servir du poèle. A l'aide du bouton de commande C, vous allumrez la veilleuse. A l'aide du bouton Thermostat A, vous pouvez régler la position du brûleur principal. A l'aide du bouton de commande B, vous pouvez régler le brûleur atmosphérique.

Important : Allumez toujours un brûleur à la fois pourmettre le convecteur àtempérature (ca. 2 min.).
6.3 ALLUMAGE/ETEINDRE DE LA VEILLEUSE
6.3.1 Allumage :
Tournez le bouton du thermostat A dans la position S et tournez le bouton de réglage pour le brûleur d'ambiance B dans la position O. Pressez maintainant sur le bouton A et pressez en même temps et plusieurs fois de suite avec votre autre main sur le bouton d'allumage C. La veilleuse s'allume par une étincelle, vous entendez un petit loc.
FR10
FR
Quand la veilleuse est allumée, vous pressez sur le bouton A pendant 30 sec. et ensuite vous le lâchez. Maintenant, la veilleuse doit continuer à brûler. Dans le cas inverse, il faut répéter le scenarioit préférent.
6.3.2 Eteindre:
Vou esteignez la veilseuse en tournant le bouton A vers la position o et en le pressant ensuite.
6.3.3 Arret de fonctionnement de la veilleuse :
Avertissement : Si, parquelle circunstance que ce soit, la veilleuse s'eteint, il faut attendre absolument pendant 5 MINUTES avant de la rallumer.
L'extinction de la veilque pourrait être causée par : - Une erreur de commande :
- La mise en marche de la D.T.S. à cause du mauvais fonctionnement de la cheminée ou du fait que l'arrivée d'air est trop petite;
- Un défaut du système de la veilleuse.
Si le poète s'éteint régulierement nous vous conseillons de prendre contact avec votre installerateur.
6.4 ALLUMAGE/ETEINDRE DU BRULEUR PRINCIPAL
6.4.1 Allumage:
Tournez le bouton A a gauche partant de la position S. Le brûleur principal s'allume maintainant. Contrôlez si l'allumage du brûleur se passse sans encobre. Maintenant, vous pouvez régler la température dans la chambre au moyen du bouton A. Le chiffre 1 signifie une températureasse et tout chiffre suivant une température plus élevé. Le chiffre 7 indique la température maximale.
FR
Grac au thermostat modulant, la temperature dans la chambre reste tousjons constante, à la temperature que vous avez demandée. Il y aura toutes une temperature minimale dans la chambre. A cette fin, il faut tourner le bouton de temperature à la position la plus bajo. Cette position se trouve entre la position 1 et S. Cela signifie que, lorsque vous mettez le bouton du thermostat dans la position la plus bajo, donc entre S et 1, le convecteur peut continuer à brûler également la nuit. Ainsi vous évitez de nevoir rechauffer longtemps le matin. Pour une consommation de gaz économique, vous pouvezmettre le convecteur en position économique. Pour y arrivere, vous tourmez le thermostat en position O. Si le brûleur principal est allumé, il faut attendre quelques minutes avant d'allumer le brûleur d'ambiance.
6.4.2 Eteindre:
Vous déclenchez le brûleur principal en tournant le thermostat A en position S.
6.5 ALLUMAGE/ETEINDRE DU BRULEUR D'AMBIANCE
Vous pouvemetre le bruleur d'ambiance dans n'importe queelle positiona l'aide du bouton B.Le feu d'ambiance continuea bruler.Si vousdésirez une autre position, il fautregler le bouton B a nouveau.
6.5.1 Allumage :
Tirez au bouton B et tournez le vers la gauche, de la position vers la position basse. Maintenant le brûleur d'ambiance brûle doucement. S'il ne donne pas assez de chaleur, vous pouvez continuer à tourner au bouton B jusqu'à la position maximale
6.5.2 Eteindre:
Tournez le bouton B maximalement vers la droite, en position bisse et tirez-le ensuite un peu vers le haut et continuez à le tourner en position 0.
FR12
FR
7. ENTRETIEN ET NETTOYAGE
L'appareil doit être nettoyé et contrôle chaque année par un instituteur agréé.
Contrôle : - étanchéité du circuit d'alimentation au gaz et à base de produits de combustion ;
du fonctionnement du robinet de réglage, du circuit
thermocouple et de l'allumage du brûleur.
Nettoyage (au besoin) :
- du système veilleuse ;
-dubruleur; - de l'espace de combustion;
du conduit d'évacuation pour les gaz de fume.
7.1 NETTOYAGE DU BRULEUR
Lorsque le poèle est suffisamment refroidi, il est possible de nettoyer le brûleur.
7.2 NETTOYAGE DU VERRE
En fonction de la fréquence d'utilisation, un dépôt peut se former sur le verre. Vous pouvez éliminer ce dépôt à l'aide d'un nettoyant spécial pour verre ou d'un détergent pour plaque chauffante en ceramique. Consultez les instructions indiquées sur l'emballage. Si votre cheminée ne fonctionne pas correctement, la vitre de votre apparéil risque de se noirir très rapidement.
Pour démonter la vitre, opérez comme suit
- faites glisser vers l'avant le manteau qui se trouve en dessous et retirez-le vers le haut ;
- dévissez les vis de fixation de la vitre et enlevez la vitre ;
- après nettoyage, effectuez le remontage dans le sens inverse.
7.3 ENTRETIEN DU MANTEAU
Nous conseillons de nettoyer l'appareil a l'aide d'un chiffon sec. En cas de taches sur le poèle, éteignez directement le poèle. Dés refroidissement du manteau, essayez d'éliminer avec précaution les taches en utilisant un produit d'entretien. FR
FR
8. PANNE
PROBLEM
Le poète ne se met pas en route ou ne veut pas s'arrêté.
ORIGINE
- Préstance d'air dans la conduite d'amnéée (après arrêt de l'appréil).
SOLUTION
Purger.
-
Pression de gaz insuffisante.
-
Verifier: le conduit de gaz est-il sale? Le robinet est-il fermé?
Nettoyer delicatement le bruleur a laide de l'aspirateur.
-Souillure dans la veilleuse.
Vérifier le circuit du thermocouple.
Mauvais contact de la connection du thermocouple.
Le DTS s'enclenche lorsque les gaz de combustion affluaient dans la piece du fait quils ne peuvent pas etre evacues par la cheminee. Veillez a ce que la cheminee fonctionne correctement et a ce qu'il y ait une belle aeration.En cas d'un enclenchement regulier du DTS,veillez averir Your installingur.
-
Enclenchement du dispositif thermique de sécurité (DTS).
-
Contrôlez la plaque du modele pour savoir quel estle type de gaz appropriepour le poèle.Consultezensuite votre installerateur.
-
Le poèle est régèle sur un autre type de gaz que celui qui est admis.
9. ÉLIMINATION DE L'EMBALLAGE ET DE L'APPAREIL
L'emballage de l'appareil est recyclable. Il contient :
- du carton ;
- du polystyrene exempt de CFC (mousse douce) ;
du bois;
- du papier.
Eliminer ces matériaux de façon ajuste et conformement à la réglementation en vigueur dans votre commune.
L'administration communale vous informera des moyens aeaquats de vous debarrasser de vos ancients apparels menagers.
BIJLAGE 1 / APPENDICE 1
ONDERDELENLJST/SUPPLEMENT
01 Regelblok / bloc de réglage
o2 Thermostatatovoeler/thermosat
03 Waakvlam / veilleuse
04 Waakvlaminsp. a-gas / injecteur veilleuse au gaz naturel
05 Bougie / bougie
o6 Thermokoppel / thermocouple
07 Piezo / piezo
08 Magnetecklep / robinet électromagnétique
09 TTB/DTS
10 TTB onderbreker / désamorceur DTB
11 Bougiekabel /cable de bougie
12 Glas voor / vitre avant
13 Glasstrip / couvre-joint pour la vitre
14 Waakvlaminsp./injecteur veilleuse
37003061
37007009
37001011
36002210 nr 45
0600900
37002016
06001300
37007014
3700605674gr
37006027
06002700
20712600 (set)
04502900(210x40)
Nr 50 of / ou nr 51
Notice Facile