Malaga - Open haard FABER - Gratis gebruiksaanwijzing en handleiding
Vind de handleiding van het apparaat gratis Malaga FABER in PDF-formaat.
Veelgestelde vragen - Malaga FABER
Gebruikersvragen over Malaga FABER
0 vraag over dit apparaat. Beantwoord die u kent of stel uw eigen vraag.
Stel een nieuwe vraag over dit apparaat
Download de handleiding voor uw Open haard in PDF-formaat gratis! Vind uw handleiding Malaga - FABER en neem uw elektronisch apparaat weer in handen. Op deze pagina staan alle documenten die nodig zijn voor het gebruik van uw apparaat. Malaga van het merk FABER.
GEBRUIKSAANWIJZING Malaga FABER
| Carina | Dilara | Malaga | Varia | Vera | ||
| H | Hoogte | (mm) 797 | 715 | 755 | 820 | 902 |
| B | Breedte | (mm) 820 | 886 | 1000 | 820 | 902 |
| D | Diepte | (mm) 379 | 338 | 415 | 379 | 429 |
| A | Afstand vloer tot hart uitlaat | (mm) 430 | 430 | 430 | 430 | 430 |
| d | Diameter uitlaat | (mm) 100 | 100 | 100 | 100 | 100 |
1.
VOORWOORD
- INLEIDING 3
3.VEILIGHEIDSAANWJZINGEN4
- VOORBEREIDING EN PLAATSING VAN DE HAARD 6
4.1 Gasaansluiting 6
4.2 Plaatsing van de haard 6
4.3 Plaatsing van de thermostaatvoeler 7
- SERVICE 8
6.1 Gassoort 10
6.2 Bediening van het toestel
6.3 Aansteken/uitschakelen van de waakvlam
6.4 Aansteken/uitschakelen van de hoofdbrander
6.5 Aansteken/uitschakelen van de sfeerbrander
- REINIGING EN ONDERHOUD
13
7.1 Reiniging van de brander
13
7.2 Reiniging van het glas
13
7.3 Onderhoud van de mantel
13
- STORINGEN
14
Bij deze haard ontvangt u een bedienings- en installmentehandleiding. Hierin vindt u naast informatie over het gebruik ook adviezen omtrent veilgheid en onderhoud.
Bij het samenstellen van de bedienings- en installmentehandelidig is er van uitgegaan dat de haard worden geplaatst door een erkend gastechnisch installerateur, die op die hoogte is van de nationaal en lokaal geldende voorschieren.
In dit boeijke wordert erst de inbouw van de haard beschreven, daarna komt de bediening aan bod. Wij adviseren u het boeijke erst in zijn geheel door te nemen, voordat u het toestel staatl.
Bewaar dit boekje, zatat een volgende gebruiker er zich voordeel mee kan doeen.
NL
2. INLEIDING
In deze bedienings- en installmentehandleiding vindt u, naast informatie over de opstelling en installation, bediening en het onderhoud van de gashaard, ook adviezen over de verilgheidijdens het gebruik. Als u deze handleiding doorleest, bent u snel op de hoogte van de werkking en het gebruik van de gashaard.
De haard is voorzien van een thermische terugslag beveiliging (TTB). Deze beveiliging schakelt de haard uit indien rookgassen zich in het vertrek versuspreden. Dit kan gebeuren indien ventilatie onvoldoende is en/of de schoorsteen Niet goed werkct.
NL2
NL3
3. VEILIGHEIDSAANWIJZINGEN
Laat de gashaard alleen door een erkende installmente plaatsen, overeenkomstig de nationaal en lokaal geldende (brandveiligheids-) voorschriften.
Controleer het toestel op dichtheid van gas en het verbrandingsproductencircuit. Controleer de gastoveor en de rookafvoer op lekken. Controleer de juiste werkig van de regelapparatuur, vlambewakingscircuit, thermokoppelicircuit, en het ontsteken van de brander.
Laat de schoorsteen voor elk stockseizoen vegen. Controleer de schoorsteen voor gebruik op een goede werkinq.
Het toestel mag alleen gebruikt worden in een goed geventileerde rimte.
Het toestel is alleen geschikt voor het verwammen van de ruimte.
Het toestel is ontworpen voor verwarmingsdoeleinden. Dit houdt in dat alle oppervlaktes, inclusief het glas en de handgreep, zeer heet hunnen worden (too °C). Een uitzondering hierop vormen de bedieningsknappen.
Wij adviseren u na installmentie van de haard deze enige uren op de hoogste stand te stoken enaar bij tevens goed te ventilieren, zodat het zich op het binnenwerk van de haard bevindende beschemmingsvet gelegenheid krijt tot verdampen.
Omdat een haard een warmtebron is die zorgt voor de circulatie van de luucht in de kamer, ist het van belong dat u de haard Niet kort na een verbouwing stoekt. Door de naturulijke luchtcirculatie wordt vocht en nog Niet uitgeharde verf en lak aangezogen en za zich op koude vlakken afzetten.
Een gebroken ruit dient verrangen te worden alvorens het toestel in bedrijf te stellen.
De constructie van de gashaard mag Niet worden gewijzigd.
De gashaard mag alleen gerepareerd worden met originele onderdelen.
Het toestel is afgesteld en verzegeld in de fabrik, overeenkomstig de op de kenplaat aangegeven cat. 12+ en 13+ en op de juiste nominale belasting. De waakv lambrander is afgesteld op het juiste verwbruike. Controller de gevegees op de kenplaat overeenkomen met de lokale gassoort en de druk. Controller de gevegees op de typeplaat overeenkomen met de aard van uw installmentie (zie technische gevegees voor controle). De typeplaat vindt u aan de binnenkant van de deur.
Plaats geen gordijnen, kleren, wasgoed, meubels of andere brandbare materiaielen in de nabijheid van het toestel. De minimale veilige afstand bedraagt 110 cm boven het toestel en 50 cm naast het toestel.
4. VOORBEREIDING EN PLAATSING
VAN DE HAARD
4.1 GASAANSLUITING
Zorg voor een gasaansluiting G3/8" met in de toevoerleiding een (CE goedgekeurde) aflsuitkraan G1/2".
Let erop dat tijdens het aansluiten de regelapparatuur Niet worden verdraid. Vermijd spanningen op de regelapparatuur en de leidingen.
Controleer na het aansluiten alle gemaakte aansluitingen op gasdichtheid.
4.2 PLAATSING VAN DE HAARD
Plaats de voet van het toestel minstens 10 cm van de schoorsteenwand. De afstand tot een wand links en rechts van het toestel bedraagt 20 cm.
Sluit het toestel aan op de gasleiding. Het toestel is voorzien van een drukregelaar.
Controleer alle gasaansluitingen op gasdichtheid. Gebruik hiervoor zoepwater en/of een gaslekdetector.
Sluit het toestel met een pijp van 0 100 mm aan op het schoorsteenkanaal. Voor de verbindingussen de pijpmond en het schoorsteenkanaal dien corrosievast materiaal te worden gebruikt. Deze verbinderingspijp mag nooit lager worden geplaatst dan de pijpmond van het toestel. Bij een verlangde verbinderingspijp van de pijpmond maar het schoorsteenkanaal要去 deze onder een aftchet van 2% in de richting van de pijpmond worden geleedg.
Om condensvorming in een stenen rookkanaal gegen te gaan en om de trek, indien nodig, te verbeteren worden geadviseerd het rookkanaal te voorzien van een aluminium of RVS pijp met een doorsnede van minimaal 100 mm.
4.3 PLAATSING VAN DE THERMOSTAATVOELER
Monteer de bijgeleverde thermostaatklem op een koele plaats in de nabijheid van de haard. Druk hierinervoigens de thermostaatvoeler, welke zich in de branderenuit bevindt.
NL
5. SERVICE
5.1 DEMONTAGE EN MONTAGE VAN DE BRANDERUNIT

5.1.1 Demonteren
-Sluit de gaskraan.
- Open de bedieningsdeur en koppel de gastroevoerleiding A af.
Koppel kabel B en de TTB-kabel H los.
Koppel de bedieningsstangen C en D los.
Draai de bevestigingschroeven E en F los.
- Neem de gehele branderunituit het binnenwerk.
- Neem dethermostaatvoeleruitde klem,wees hier voorzichtig mee.
5.1.2 Monteren
Voer de bovenstaande handelingen in omgekeerde volgorde uit.
Controleer de gasaansluitingen op gasdichttheid.
NL8
NL

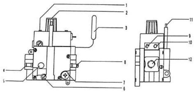
Fig.3 regelblok
- Waakvlamregelschoef
- Thermostaatkraan
- Thermostaatvoeler
- Drukmeetpunt werkdruk
- Kleinstandstuw
- Kleinstandstuw buisbrander
7.Drukregelaar
8. Drukmeehnippel voordruk
9. Aansluitpunt thermokoppel
10. Gasleiding waakvlam
11. Gaskraan buisbrander
12. Gasaansluiting
NL9
NL
6.INGEBRUIKNAME
6.1 GASSOORT
Op de typeplaatkestu zien voor welke gassoort de haard geschikt is.De typeplaat vindt u aan de achterkant van de deur.
6.2 BEDIENING VAN HET TOESTEL
De bedieningsknoppen bevinden zich rechts boven of aan de zijkant van de gasconvector.
De haard is te bedieren met 3 knappen. Met bedieningsknop C kutu de waakvlam ontsteken. Met thermostaatknop A kutu de stand van de hoofbrander instellen. Met bedieningsknop B kutu de steerbrander regelen.

Belangrijk: Altijd eerst een brander ontsteken om de haard op temperatuur te brengen (ca. 2 minutes).
6.3 AANSTEKEN/UITSCHAKELEN VAN DE WAAKVLMAM
6.3.1 Aansteken:
Draai de thermostaatknop A op stand S en regelknop B op stand O.
Druk nu knop A in en druk met de andere hand knop C een aantal keren achefter eklaar in.
De waakvlam worden nu ontstoken door een vonk, hetgeen het geluid van een tik geeft. Brandt de waakvlam, dan knop A ca. 30 sec.
ingedrukt houden. Nu要去 de waakvlam blijven branden. Zo Niet, dan bovenstaande handelingen herhalen.
NL10
NL
6.3.2 Uitschakelen:
De waakvlam schakelt uuit door knop Aaar stand O te draaien, en daarna in te drukken.
6.3.3 Uitgaan van de waakvlam:
WAARSCHUWING:
Indien door welke oorzaak ook de waakvlam dooft, beslist 5 minuten
wachten alvorens de waakvlam opniewe te ontsteken.
Mogelijkke oorzaken van het uitgaan van de waakvlamংn:
-bedieningsfout;
- ingrijpen T.T.B.; dit worden veroorzaakt door slechte schoorsteenwerking of te geringe luchttoevoer;
- defect in waakvlamsystem;
- verruiling van de waakvlam.
Indien de haard geregold uitschakelt, neem dan contact op met uw installateur.
6.4 AANSTEKEN/UITSCHAKELEN VAN DE HOOFDBRANDER
6.4.1 Aansteken:
Draai knop A linksom vanuit stand S. De hoofdbrander za nu onsteken. Controleer of het ontsteken van de brander vlot verloopt. U kunt daarna d.m.v. knop A de temperatuur in de kamer regelen. Cijfer 1 beteketen een lage temperatuur, ieder opvolgend cijfer een hogere temperatuur waar bij op stand 7 de hoogste temperatuur bereikt worden.
De modulerethermostaathandhaaftautomatischde door u ingestelde temperatuur. De ervaring zal lerwn welke stand van de thermostatooruwkamerhtmeestgewenstis.De thermostaatz al de kamer altijd op een minimum temperatuur houden.Draai hiertoe de thermostaatknop op de laagste stand.Deze stand bevindt zich tussen stand 1 en stand S.Dit betekent dat als u de thermostaatknop op dieze lage stand zet, de haard b.v.'s nachtsaag kan doorbranden Het voordeel hiervan is dat's morgens Lange opwarntijden worden voorkomen.Voor extra zuinig gasverbruik kunt u de haard op de Spaarstand zetteru.U bereikt dit door thermostaatknop A op stand O te draaien.
NL
6.4.2 Uitschakelen:
De hoofdbrander schakeit uuit door de thermostaatknop A op stand S te zetten.
6.5 AANSTEKEN/UITSCHAKELEN SFEERBRANDER
De stebrander is met knop B in te stellen op een stand maar keuze. Het steervuur blijt omveranderd branden. Indien een andere stand gewenst ist, dan knop B opniew instellen.
6.5.1 Aansteken:
Trek knop B uit en draai gelez dei linkoms van stand O waar kleinstand De seefbrander brandt nu laag. Geeft de sfeerbrander te weing warmte, dan kunt u knop B doordraaien tot volstand
6.5.2 Uitschakelen:
Knop B maximaal rechtsom draaien maar kleinstand en verwolgens iets omhoog trekken en doordraaien maar O.
NL12
NL
7. REINIGING EN ONDERHOUD
De haard dient jaarljiks te worden gereinigd en gecontroleerd door een erkend installeur. Dit geldt ook voor het rookkanaal.
Controle op:
-dichtheid van het gas- en verbrandingsproductencircuit;
- de juiste werkung van de regelkraan, het thermokoppelicircuit en het ontsteken van de brander.
Reiniging van:
- het waakvlamsystem;
- de brander;
- de verbrandingsruimte;
- de rookgasafvoer.
7.1 REINIGING VAN DE BRANDER
Wanneer de haard is afgekoeld, kan de brander gereinigd worden.
7.2 REINIGING VAN HET GLAS
Afnankelijk van de gebruksintensiteit kan zich in de loop derijd een aanlag vormen op het glas. Deze aanslag kutu verwijdenen met een speciale glasreiniger of ceramiche kookplaatreiniger. Raadpleeg de instructies op de verpakking. Een slecht functionerende schoorsteen zorgt voor een grotere verwuiling van het glas. Het glas demonteert u als volgt:
- schuif de mantel aan de onderzijde maar voren en neem deze maar boven weg;
draai de bevestigingschroeven van het glas los en verwijder het glas; - na reiniging in omgekeerde volgorde weeR monteren.
7.3 ONDERHOUD VAN DE MANTEL
Het toestel kan het beste met een droge doeik worden schoongehonden. Indien op de mantel is gemorst, zet dan de kachel directuit. Als de mantel is afgekoeld kunt u met behulp van een schoonmaakmiddel voorzichtig proberen de vlekken te verwijdenen.
8. STORINGEN
| STORING | OORZAAK | REMDIE |
| Niet aangaan of uitgaan van de haard. | - Lucht in de toevoerleiding (na stilstand van het toestel). | - Ontluchten. |
| - Onvoldoende gasdruk. | - Controller of de gastroevoer-leiding is verwild of dat de aansluitkraan Niet open staat. | |
| - Waakvlam is verwuid. | - Maak de brander voorzichtig schoon met een stofzuiger. | |
| - De aansluiting van het thermokoppel maakt geen goed contact. | - Controller het thermo-elektrisch circuit. | |
| - De Thermische Terugslag Beveiliging (TTB) is ingeschakeld. | - De TTB schakelt in als er verbrandingsgassen de ruimte in stromen doordat de verbrandingsgassen Niet door de schoorsteen maar buiten kuren. Zorg voor een goede schoorsteenwerking en een goede ventilatie. Indien de TTB regelmatin wering treedt, waarschuw dan de installateur. | |
| - De haard is op een andere gassoort ingesteld dan dat er toegevoerd worden. | - Controller op het typeplaatje voor welke gassoort de haard geschikt is en raadpleeg uw installmenter. |
9. AFVOEREN VERPAKKING EN TOESTEL
De verpakking van het toestel is recyclebaar. Gebruikt konnen zijn:
-karton;
- CFK-vrij schuim (zacht);
-hout;
- kunststof
papier.
Deze materialen moeten op verantwoorde wijze en conform de overheidsbepalingen worden afgevoerd.
De overheid kan u ook informatie verschaffen over het op verantwoorde wijze afvoeren van afgedankte apparaten.
FR

DESCRIPTION DE L'APPAREL


fig.1 dimensions
SimpelGids