3520 - Cheminée Hwam - Notice d'utilisation et mode d'emploi gratuit
Retrouvez gratuitement la notice de l'appareil 3520 Hwam au format PDF.
| Caractéristiques techniques | Poids : 150 kg, Dimensions : 1000 x 500 x 900 mm, Puissance nominale : 5 kW, Rendement : 80% |
|---|---|
| Type de combustible | Bois |
| Capacité de chauffage | Pour des espaces jusqu'à 100 m² |
| Utilisation | Chauffage d'appoint, ambiance chaleureuse |
| Maintenance | Nettoyage régulier du foyer et du conduit, vérification annuelle par un professionnel |
| Sécurité | Équipé d'un système de sécurité pour éviter les surchauffes, conforme aux normes de sécurité en vigueur |
| Informations générales | Design moderne, disponible en plusieurs finitions, garantie de 5 ans |
FOIRE AUX QUESTIONS - 3520 Hwam
Questions des utilisateurs sur 3520 Hwam
0 question sur cet appareil. Repondez a celles que vous connaissez ou posez la votre.
Poser une nouvelle question sur cet appareil
Téléchargez la notice de votre Cheminée au format PDF gratuitement ! Retrouvez votre notice 3520 - Hwam et reprennez votre appareil électronique en main. Sur cette page sont publiés tous les documents nécessaires à l'utilisation de votre appareil 3520 de la marque Hwam.
MODE D'EMPLOI 3520 Hwam
Manuel d'utilisation
NL
FR

Hwam
3510


Hwam
35203530

Hwam

04.03.2011/97-9645
Inhoud, Netherlands
Guide de montage et d'installation 18
Guide de chauffage - bois 21
Généralités 24
Entretien. 25
Défaut de fonctionnement 27
Déclaration de conformité 28
Plaque signaléique 31

A.


B.

C.

D.
E.


F.

G.

H.


1.
Prescriptions légales
Veilz a respecter les prescriptions legales et techniques lorsque vous installez votre poèle HWAM.
Demandez conseil à votre vendeur HWAM pour le montage de votre poèle.
Encombrement
La pièce, dans laquelle le poèle doit être installé, doit être pourvue d'une arrivée d'air frais de combus-tion. Une fenêtre basculante ou une ventouse d'aération régable sont suffisantes, l'idéal serait cependant le raccordement à un système à air de combustion HWAM. Placer le clapet d'air/registre d'aération de telle sorte qu'il ne puisse pas être bloqué.
Attention! Tous les éléments vitrés ne sont pas résistants à la chaleur. Une paroi vitrée doit donc, dans certains cas, être considérée comme matériel inflammable. Veuillez contacter votre ramoneur ou le fabricant de la paroi vitrée en ce qui concerne l'écart de sécurité aux éléments vitrés.
Portance du support
Avant de placer le poèle, il convient de s'assurer que le support est capable de supporter le poids du poèle et de la cheminée. Le poids de la cheminée se calcule à partir de sa dimension et de sa longueur.
Le poids du poète
HWAM 3510: 93kg HWAM 3510, cotes arrondis: 102 kg
HWAM 3510, plaque supérieure en pierre ollaire: 115kg HWAM 3510, pierre ollaire: 150kg
HWAM 3520:108kg HWAM 3520,cotés arrondis :114 kg
HWAM 3520, plaque supérieure en pierre ollaire: 127kg HWAM 3520, pierre ollaire: 164kg
HWAM 3530: 114 kg HWAM 3530, côtes arrondis: 124 kg
HWAM 3530, plaque supérieure en pierre ollaire: 136kg HWAM 3530, pierre ollaire: 184kg
Distance par rapport aux materiaux inflammables
Posez votre poèle HWAM sur un support non inflammable. Si le poèle est posé sur un sol en parquet ou une autre matière inflammable, une plaque de sol doit recouvrir la surface devant le poèle.
| HWAM 3510, HWAM 3520, HWAM 3530 (Illustration A) | |
| I. Paroi maçonnée | 10 cm |
| I. Paroi arrêté, inflammable | 10 cm |
| 2. Paroi latérale, inflammable | 20 cm |
| 1. Distance à une cloison inflammable, (installation en coin) | 10 cm* |
| 3. Distance par rapport au mobilier vers l'avant | 80 cm |
*Les mesures pour l'installation en coin sont données à titre indicat. Contactez un ramoneur pour une clarification finale.
Tenez compte de la reglementation eventuelle sur l'ecart entre le mur et le conduit.
L'écart au mur est déterminé pour permettre la maintenance de l'automatism. Avec le dispositif de fixation, le poèle peut se fixer sur un mur. Mais il faut alors le décrocher du mur pour effectuer la maintenance de l'automatism.
Exigences imposées à la cheminée
La cheminée doit posseder une hauteur garantissant des caractéristiques de tirage suffisantes et ne doit pas provoquer de nuisance par la fumée qui s'en échappe. Tirage nominal requis: 12 Pa.
La section minimale de la cheminée est de 150 mm. L'exigence minimale est cependant que la section doit toujours correspondre à la section de la sortie du poële. La cheminée devrait en outre être poursue d'une porte de nettoyage facilement accessible.
Remplacement d'un échévement par le dessus par un échévement par l'arrière (illustration B)
I. Demontage des côtes. Levez un des côtes d'env. 10 mm et le retireur du poële, de manière à ce que le côté soit dégagé des ergots de guidage de la plaque de fond du poële. Répétez l'opération avec l'autre côté.
2. Demontage de la plaque supérieure du poèle (I). Retirez les 4 vis (Torx Bit No 30 ou écrou M6) sous la plaque supérieure, 2 vis de chaque côte et levez la plaque supérieure.
3. Demontage de la plaque arriere (2). Levez la plaque arriere pour la retirer du poèle, de manière à ce qu'elle soit dégagée des ergots de guidage de la plaque de fond du poèle. La plaque arrière a une découvert pour le conduit de fumée. Brisez la plaque à l'intérieur de cette découvert afin d'obtenir un orifice dans la plaque arrière correspondant au conduit de fumée.
4. Demontage de la plaque de protection (3). Demontez la plaque de protection à l'arrière du poèle en retardant les 3 vis (Torx Bit No 30). La plaque de protection peut maintenant être enlevée.
5. Démontage de la couronne (4). Démontez la couronne sur le haut du poèle en-retirant les 3 vis. La couronne peut maintenant être levée.
6. Montage de la plaque de protection (3). Montez la plaque de protection sur le haut de la chambre de combustion avec les 3 vis (Torx Bit no 30).
7. Montage de la couronne (4). Placez la couronne dans l'orifice de l'échéppement de fumée à l'arrière du poèle. Serrez à l'aide des 3 vis.
8. Montage de la plaque arrière (2). Placez la plaque arriere sur les ergots de guidage à l'arrière de la plaque de fond du poèle. Appuyez ensuite sur la plaque arrière contre le poèle. Levez la plaque arrière et appuyez légèrement vers l'intérieur pour qu'elle s'emboîte dans l'encoche.
9. Montage de la plaque supérieure du poèle (I). Placez la plaque supérieure sur les fixations. Revissez à l'aide des 4 vis, 2 de chaque côté.
10. Montage des côts. Placez les côts sur les ergots de guidage de la plaque de fond du poële et appuyez vers le poële. Levez les côts et les appuyez légarement vers l'intérieur pour qu'ils s'emboitent dans l'encoche.
Pose de la pierre ollaire dans le compartment thermique (illustration I)
I. Levez un cote du poèle (1) d'env. 10 mm et le retireur du poèle, de manière à ce que le cote soit dégagé des ergots de guidage de la plaque de fond du poèle. Répétez l'opération avec l'autre côte.
2. Retirez les 4 vis (2) sous la plaque supérieure du poèle (Torx Bit No 30), vis de chaque côte et dégagez la plaque supérieure (3).
3. Demontez la couronne de la conduite des fumées (4) en haut du poèle en dévissant les 3 vis (5) (Torx Bit no. 30).
4. Enlevez les deux clavettes (6), une de chaque côté, qui tiennent la plaque supérieure du compartment thermique. Soulevez légèrement la plaque supérieure du compartment thermique (7) sur le devant et librez-la des ergots de guidage (8) sur l'arrière.
5. Retirez la conduite des fumées (9) du compartment thermique.
6. Desserrez les deux vis (10) situées de chaque côté du compartment thermique et maintainant la plaque avant (11) de celui-ci, puis retirez la plaque avant.
7. Posez la pierre ollaire (12) dans le compartment thermique de maniere à ce que l'orifice de chaque pierre soit place au-dessus de la couronne.
8. Revissez la plaque avant (11) du compartment thermique.
9. Introduisez la conduite des fumées (4) à travers l'orifice dans les stéatites jusqu'à la couronne de la conduite des fumées au fond du compartment thermique.
10. Introduisez la plaque supérieure du compartment thermique (7) dans les ergots de guidage (8) à l'arrête, mettez-la en place et fixez-la avec les deux clavettes (6).
I I. Remontez la couronne de la conduite des fumées (9) sur la plaque supérieure du compartment thermique à l'aide des 3 vis (5).
12. Placez la plaque supérieure du poèle (3) sur les fixations (13). Revissez à l'aide des 4 vis (2), 2 de chaque côté.
13. Placez l'un des cots du poèle (I) sur les ergots de guidage de la plaque de fond du poèle et poussez vers le poèle. Levez le cote et appuyez légerement vers l'intérieur pour qu'il s'emboite dans l'encoche. Répétez l'opération avec l'autre cote.
Raccordement à la cheminée
Les poëles comportent une sortie de fumées à l'arrière et sur le dessus. Il peut ainsi être raccordé soit par le dessus à un conduit de raccordement conforme en acier, soit par l'arrière directement à une cheminée.
Coupe verticale du conduit de fumées (Illustration B et C):
B: Sortie de fumée arrrière, par le haut.
C: Sortie de fumée arrière.
- Conduit de raccordement (9) en acier.
- Coude HWAM (10) s'ajustant dans le manchon de sortie des fumées du poèle.
- Cheminée maçonnée (11).
- Manchon (12) encastré dans la maconnerie. S'adapte au conduit de raccordement.
- Rosace (13). Dissimule le scellement effectué autour du manchon dans la maconnerie.
- Jointure (14). A boucher à l'aide d'un cordon d'étanchéité.
Conduits de fumée (15) du poèle HWAM. - Clé de tirage (16) (placeé dans le conduit de raccordement).
- Trappe de ramonage (17).
Montage des pieces détachées
Avant l'installation du poèle, vérifie que toutes les pieces détachées ont été correctement installées.
Coupe verticale des poêles (Illustration B):
- Clayette (5). Doit reposer sur le support d'acier et sur les supports lateraux.
- Plaque de conduit (6) en 2 parties. Chaque moitié est fixée à un crochet sous la plaque supérieure. Pousser les deux moitiés Ensemble dans le support derrière le conduit d'áération. Une fois le poèle installé, retirer des deux crochets, la protection de transport en la tordant à l'aide d'une pince ou d'un tournevis.
- Plaque de recouvrement (7). A placer au-dessus de la grille.
- Plaque d'habillage (2) amovible couvrant le régulateur automatique. Doit toujours être montée sur les poées installés contre une cloison inflammable.
- Bouclier (8) place sous le cendrier. Peut servir de couvercle au cendrier lorsque l'on retire celui-ci pour le vider.
Plaque de recouvrement (Illustration D)
Votre poèle HWAM est livre avec une plaque de recouvrement amovible en tôle de 3 mm. Placez-la au-dessus de la grille afin d'eviter que les braises ne tombent dans le dendrier. La plaque étant dégagée de 8 mm environ de la grille, l'air primaire commandé auto-matiquement se répartit de façon régulière dans le fond de la chambre de combustion.
La cheminée
La cheminée est le moteur du poële et donc essentielle au fonctionnement de ce dernier. Le tirage de la cheminée cree une depression dans le poële. Cette depression evacue la fumee provenant du poële, aspire de l'air, à travers le registre, vers ce que l'on appelle le balayage du verre, qui empêche le dépôt de suie, et aspire de l'air, à travers les registres primaire et secondaire, pour alimenter la combustion.
Le tirage se forme en raison de la différence de température entre l'intérieur et l'extérieur de la cheminée. Plus la température à l'intérieur de la cheminée est élevée, plus le tirage sera fort. Il est donc essentiel que la cheminée soit bien chaude avant de fermer les registres et de réduire le niveau de combustion dans le poële (une cheminée maçonnée met plus de temps àCHAuffer qu'une cheminée en acier). Si le tirage est mauvais dans la cheminée du fait des conditions météo, il est très important de réchauffer la cheminée le plus vite possible. Il s'agit d'obtenir rapidement des flammes. Utiliser du bois fendu très mince ou un bloc d'allumage supplémentaire,
Après une longue période de non utilisation, il est important de vérifier qu'il n'y a pas de blocage dans le conduit de la cheminée.
Plusieurs dispositions de raccord sont possibles pour la même cheminée. Vérifier cependant les règlements en vigueur.
Mal utilisée, une bonne cheminée peut mal fonctionner. Inversement, une mauvaise cheminée peut fonctionner de façon satisfaisante si elle est bien utilisée.
Ramonage de la cheminée
Faire ramoner la cheminée une fois par an pour prévenir le risque de feu de cheminée. Nettoyer en même temps le conduit et la chambre à combustion au-dessus de la chicane de fumée. Si la cheminée est trop haute pour permettre un nettoyage par le haut, monter une trappe de nettoyage
En cas de feu de cheminée, fermer tous les registres et contacter les services d'incendie. Avant d'utiliser à nouveau la cheminée, la faire vérifier par le ramoneur.
| Résultats de tests nominaux selon EN 13240 | |
| Rendement calorifique 4,5 kW | |
| Température de fumée 254°C | |
| Débit massique du gaz de combustion 5,1 g/s | |
guide de Chauffage - bOis
Lors de la première utilisation de votre poèle, chauffez modérément pour permettre à tous les matériaux de s'accoutumer à la chaleur. La laque se durcit lors de la première utilisation. Ouvrez donc très prudemment la porte et le tiroir à cendres. Sinon les joints risquent de rester bloqués dans la laque. La laque peut aussi dégager des odeurs désagréables. Veillezdonc a ce que la pièce soit bien aerée.
Informations concernant le combustible
Types de combustibles autorisés
Le poèle est conforme aux normes européennes EN uniquement pour la combustion de bois. Il est conseilé d'utiliser du bois fendu sec avec une teneur en eau maximale de 20% . La combustion de bois humide est moins bonne pour l'environnement et pour la rentabilité.
Types de bois conseillés
Tous les types de bois tels que le boureau, le hêtre, le chène, l'orme, le frêne, les conifères et les arbres fruitiers peuvent être utilisés dans votre poèle. Ce qui fait la différence, ce n'est pas la combustibilité du bois mais son poids au m³. Le hêtre pèse plus au m³ que le sapin, par exemple. Il faudra donc davantage de sapin que de hêtre pour produit la même quantité de chaleur.
Types de combustibles à proscrire
Il est interdit de brûler les matériaux suivants : imprimés • agglomeré • matières plastiques • caoutchouc • combustibles liquides • déchets tels que cartons de lait • bois vernis, peint ou impregné. Ces matériaux sont probibés puisque leur combustion dégage des matières nuisibles à la santé et à l'environnement. Ces produits peuvent aussi endommager votre poèle et votre cheminée et leur utilisation entraîne une perte de garantie.
Stockage du bois
Une teneur en eau maximale de 20% est atteinte en stockant le bois au moins un an (au比较好ux) en extérieur sous abri mi-couvert. Le bois stocké en interieur a tendance à doivent trop sec et à brûler trop vite. Il est cependant conseillé de stocker le bois à l'intérieur, quelques jours avant l'utilisation.
Dimensions conseillées
Il est important de respecter les dimensions des bûches pour obtenir une bonne combustion. Ces dimensions sont les suivantes.
| Type de bois Longueur en cm Diamètre en cm | |
| Bois d'allumage (fendu mince) 25 à 30 2 à 5 | |
| Büches fendues 25 à 30 7 à 9 |
Commande de la porte
Pour contrecarrer une traction oblique sur le mécanisme de levage de la porte, toujours ouvrir et fermer la porte en tenant la poignée au milieu.
Notez qu'il est important de ne pas lâcher la poignée pendant l'ouverture et la fermeture de la porte. Si la porte s'abaisse d'elle-même, la vitre risque d'être endommagée.
Pierre allaire
La pierre ollaire est un produit naturel qui doit s'habituer aux variations de température. Il faut donc être très prudent lors des premières utilisations. Il est conseilé de suivre la procédure suivante.
I. Première utilisation
Formez quelques rouleaux de papier de journal et placez-les dans le poèle. Placez ensuite quelques petites buches très sèches d'un diamètre d'environ 3 à 5 cm à la verticale du papier et allumez le feu. ÀpRES l'allumage et une fois que le feu a bien pris, ajoutez des buches supplémentaires. Une fois le feu complètement éteint, ouvre la porte et laissez-la ouverte. La température du poèle descend alors à la température ambiente.
2. Deuxieme utilisation
Remplissez juste la moitié de la chambre de combustion avec du bois sec d'un diamètre d'environ 6 à 10 cm. Allumez comme pour la première utilisation - laissez brûler puis laissez le poèle refroidir jusqu'à la température ambiente avant l'allumage suivant.
3. Troisième utilisation
Procédez comme pour la deuxième utilisation mais avec davantage de bois. Laissez le bois brûler puis, une fois le feu éteint, laissez à nouveau le poèle refroidir.
Allumage (Illustration E)
Déplacer la tige de réglage (I) tout en haut (air primaire max.). Placer dans le poèle, des buchettes fendues correspondant à environ deux à trois bûches (env. 2 kg). Placer deux blocs d'allumage entre les buchettes de la couche supérieure. Allumer sur le dessus et laisser le feu se propager doucement.
Pendant la combustion, il se peut que de la condensation apparaisse sur l'intérieur de la vitre. Pour y remedier, soulever la porte d'environ 5 cm et la maintainir dans cette position jusqu'à ce que la vitre soit transparente (env. 30 secondes).
Quand lesbuchettes brulent bien, régler la tige de régulation (1) en position mediane. Si le feu sétouffe pendant le réglage, remettre la tige de régulation en position maximum jusqu'à ce que le feu reparte比较好. Remettre à nouveau la tige de régulation en position mediane.
Laisser brûler complètement les bùchettes jusqu'à ce qu'aucune flamme ne soit visible. Un nouveau replissage peut alors être effectué.
Important! Ne pas ouvrir le cendrier pendant la phase d'allumage. Le cendrier doit toujours être fermé lorsque le poèle est en fonctionnement. N'ouvrir la porte que lors de l'allumage, du remplissage et du nettoyage.
Remplissage (Illustration E2)
Quand il n'y a plus de flammes jaunes et que la quantité de braises est suffisante, procédér à un nouveau replissage. La quantité de braises est suffisante quand les morceaux de bois tombent en morceaux et que les braises rougissant sur la grille de secousse.
Placer dans le poèle, deux ou trois nouvelles buches d'un maximum de 1 kg chacune. Le poèle n'a pas besoin de réglage supplémentaire. L'automatism s'en charge. Il est cependant possible de régler la température à la hausse ou à la baisse grâce à la tige de régulation (I). Pour réduire la combustion et augmenter la durée de combustion, la déplacer sur minimum (tout en bas). Pour augmenter la combustion et réduire la durée de combustion, la déplacer sur maximum (tout en haut).
Avant chaque nouveau remplissage, attendre que la couche de braises soit suffisamment mince.
Pendant la combustion, la surface extérieure du poèle se réchauffe. Une certaine prudence est donc de rigueur.
Combustion au charbon, briquettes et coke
Le poèle n'est pas conçu pour la combustion au charbon ou au coke. On peut néanmoins y brûler des briquettes, en les plaçant sur les braises de bois. Déplacer la tige de régulation tout en haut jusqu'à ce que les briquettes soient incandescentes.
Ne pas oublier de déplacer ensuite la tige de régulation vers le bas.
L'utilisation d'autres types de combustibles que le bois provoque des dépots de suie sur le verre.
Commande du registre dans le compartment thermique
Un registre, placé devant le poèle, entre la plaque supérieure du poèle et le compartment thermique, permet d'ouvrir et fermer pour l'air de convection dans le compartment thermique. Pour ouvrir l'air de convection, déplacer le registre à droite et pour le fermer le déplacer à gauche.
Pour accumulator le plus rapidement possible la chaleur dans la pierre ollaire du compartment thermique, il est recommendé que le registre de convection soit fermé pendant la combustion.
Avec le registre de convection fermé, le compartment thermique maintient le plus longtemps possible la chaleur accumulée dans la pierre allaire du compartment thermique. En ouvrant le registre, la chaleur de la pierre allaire du compartment thermique va par contre se diffuser très rapidement dans la piece.
Chaleur rapide ou forte
Pour obtenir une chaleur rapide ou forte, brûlez un grand nombre de bûches de petite taille.
Combustion maximale
Remplissage maximal par heures :
Bois: 2,0 kg Briquettes: 1,6 kg
Intervalle de replissage normal en rendement nominal
Bois: 65 min Briquettes: 65 min
Si ces limites sont dépassees, le poèle n'est alors plus couvert par la garantie de fabrication, et risque d'être endommagé par la trop forts chaleur. Le poèle est approvéd pour utilisation intermittente.
Combustion longue
Pour obtenir la combustion la plus lente, déplacez la tige de régulation tout en bas. Si la tige de régulation est déplacee tout en bas, l'air primaire n'entre pas dans le poèle (air qui passe au travers de la grille). Pour allumer le poèle après un nouveau chargement, il est nécessaire de déplacer la tige de régulation vers le haut pour que le poèle soit alimenté en air primaire.
Lors d'un nouveau chargement, si la tige de régulation est levée d'env. 14 au-dessus du minimum (env. 25 % de rendement), il est possible de redémarrer le poèle sans réglage supplémentaire.
Combustion trop faible
Si les matériel aux ignifugés sont "noirs" après une utilisation, cela signifie que le poèle pollue et que le dispositif automatique ne fonctionne pas de façon optimale. Il est donc nécessaire d'ouvrir encore plus l'arrivee d'air en déplaçant la tige de regulation vers le haut. Il peut en outre etre nécessaire de bruler davantage de bois.
Pour une combustion optimale
Utilisez du bois sec et propre.
Le bois humide entraine une mauvaise combustion, beaucoup de fumée et de la suite. De plus, la chaleur est utilisée pour le séchage du bois, au lieu de rechauffer la piece.
- Remplissez par petites quantités.
Vou obtiendrez une meilleure combustion si vous replissez le poèle souvent et par petites quantités. Si vous mettez trop de bois à la fois, la température permettant une bonne combustion s'éleve trop lentement.
Veillez à ce que la quantité d'air convienne.
Réglez bien l'arrivée d'air, surtout au début. Le poèle atteindre ainsi plus rapidement une température elevée. Les gaz et particules qui se dégagent lors de la combustion seront ainsi consumés. Sinon, ils resteront dans la cheminée sous forme de suie (risque de feu de cheminée) ou bien ils s'échapperont non consumés, dans l'environnement. Si l'air arrive en quantité insuffisante, cela entraîne une mauvaise combustion et un mauvais rendement.
- Ne faites pas brûler au ralenti pendant la nuit.
Nous vous déconseillons demettre des buches sur le feu, en fin de soitée et de baisser l'arrivée d'air pour essayer d'avoir des braises le lendemain. Le poèle risquerait en effet de dégager, dans ce cas, d'importantes quantités de fumées nocives. Notre cheminée se replirait alors inutillement de suie, ce qui pourrait entraîner un feu de cheminée.
Nettoyage du verre
Il est recommandé d'essuyer le verre une fois le poèle eteint, de préfence avec du papier essuie-tout.
Types de combustibles
Le poèle peut subir des dommages à haute Températures, par exemple un blanchiment de la vitre. Pour éviter cela, fermez toujours le tiroir à cendres pendant la combustion. Soyez aussi très prudent si vous utilisez un combustible dégageant une chaleur importante, comme par exemple des briquettes.
Il est recommendé d'utiliser du bois de bouleau ou de hêtre qui a été débité et entreprisespendant au moins un an à l'extérieur, sous abri. Le bois entreposé à l'intérieur a tendance à devenir trop sec et à brûler trop vite.
Les briquettes émettent beaucoup de chaleur. Certains types se dilatent fortement, ce qui résultat en une combustion incontrollable.
Le charbon brûle à haute température et produit beaucoup de suie. Le charbon doit être placé dans la corbeille à charbon.
Impropré à la combustion pour ces poèles.
Le coke brûle à haute température et produit beaucoup de suie. Le coke doit être placé dans la corbeille à charbon. Ce combustible use fortement le poèle et la chambre de combustion, et en réduit donc considérablement la durée de vie.
Impropré à la combustion pour ces poêles.
Les modèles sontapprovés selon la norme EN 13240,uniquement pour la combustion de bois. Il est interdit d'y brûler des panneaux de particules, du bois laqué, peint ou imprégné, du plastique ou du caoutchouc.
Entretien
Nettoyage de l'extérieure du poèle
Ne proceder à l'entretien du poèle que lorsque celui-ci est froid. L'entretien quotidien se limite au strict minimum. Pour le nettoyage extérieur du poèle, nous vous conseillons de vous servir de votre aspirateur, équipé d'une Brosse à épousseter à poils doux. Vous pouvez également essuyer le poèle avec un chiffon doux ou avec un plumeau. Mais n'oubliez pas: Seulement lorsque le poèle est froid. N'utilisez pas d'eau, d'alcool ou autre produit de nettoyage, cela pourrait endommager la laque.
Il est recommandé de nettoyer le poèle à fond une fois par an. Eliminer la cendre et la suite de la chambre de combustion.
Contrôle
Au moins tous les deux ans, faites effectuer un contrôle préventif approfondi de votre poète. Ce contrôle comprend entre autres:
Nettoyage à fond du poèle.
- Contrôle de l'élevateur de la porte. Graissage évientuel à laGRAISSÉ au cuivre.
- Contrôle du ressort de l'automatism et remplacement évientuel.
- Vérification des joints d'étanchéité. Changez les joints s'ils ne sont plus intacts ou s'ils ont durci.
- Contrôle du ressort de la transmission par châne. Contrôler que la tension des chânes est identique des 2 côtes et que la porte se ferme hermétiquement sur tout le pourtour.
- Contrôle des matériaux isolants. changement évientuel.
- Contrôle du fond/de la grille de secousse.
Le contrôle doit être effectué par un installerateur qualifié. N'utiliser que des pieces de rechange d'origine.
Nettoyage du poèle interieur
Avant le ramonage, la tige de régulation doit être complètement abaisée pour empêcher les cendres et la suite de pénétrer dans l'automatism.
Sortir la plaque de déviation et le déflecteur de fumée, avant le nettoyage (Illustration F).
- Retirez d'abord la clayette (1) du support d'acier (2) le plus au fond dans la chambre de combustion, en le soulevant. La faire descendre sous les supports (3) et la retirer en la faisant basculer.
- Retirer du support (5) derrière le conduit d'aération, chaque moitié de la plaque de conduit (4) en les boulevant puis les retirer du crochet (6) sous la plaque supérieure.
Cendres
Le cendrier se vide très facilement en l'enfilant dans un sac en matière plastique et en le returnant, puis en retrant le sac avec précaution. Les cendres seront enlevées par le service de ramassage des ordures menagères.
Attention, il peut y avoir des braises dans la cende jusqu'à 24 heures après l'extinction du feu!
Isolation
L'isoation de la chamre de combustion, efficace mais poreuse peut s user avec le temps et etre endomagée. Le fait que l'isoation se fendille ne reduit en rien l'efficacite du poele. Il est cependant recommandede la replacer lorsque I'usure a reduit l'isoation a moins de la moitié de son epaisseur d'origine.
Retirez la plaque arrêté en la soulevant. Lorsque le poèle est froid, contrôle la position initiale de la sonde. Avec un poèle froid, elle se trouve à un angle d'environ 30^ par rapport à l'horizon-tale. Que le poèle soit froid ou chaud, on doit pouvoir la pousser facilement et de manièreouple. Elle ne doit pas se déplacer par a-coups lorsque la température augmente ou diminuè. Les plaques du registre doivent être sèches et propres et glisser sans frottement l'une dans l'autre. Lubrifier eventuellement les tiges de réglage et le registre à guillotine avec du WD40 (ja mais de l'huile).
Porte/verre
Si le verre est couvert de suie, il peut facilement etre nettoyé avec du papier essue-tout. Contrcler régulierement I'etat des joints de la porte et du cendrier. Sils ne sont pas souples et intacts, les replacer. Utiliser exclusivement des joints originaux.
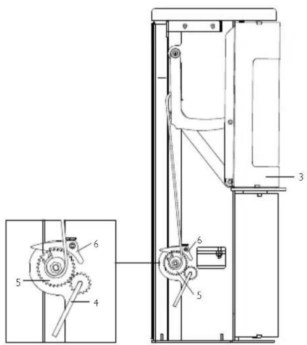
Élevateur de la porte (Illustration H)
Le mecanisme de l'élevateur comprend une transmission à chaîne placée de chaque côté du poêle et un ressort. Si la porte résiste à l'ouverture, graisser les manchons des roues dentées (I) et les charnières de la porte (2) avec de laGRAISSÉ au cuivre (nous conseillons une tolérance de température de I 100^) Le faire une fois par an. Si la porte se déplace toujours trop lentement, détendre légèrement le ressort de l'élevateur. Si la porte s'ouvre trop facilement, le ressort est trop lâche.
Pour tendre ou detendre le ressort, proceder comme suit.
Retirer la plaque latérale dégagée sur le côté gauche du poèle (vu du devant), en la boulevant et la tirant sur le côté. Vérifier que la porte de la chambre de combustion (3) est fermée. Mettre l'outil spécial (4) livré avec le poèle, sur la roue dentée (5). Pour tendre le ressort de manière à ce que la porte se ferme plus lentement (ou pour qu'elle puisse se maintainir d'elle-même en position grande ouverte), tourner légèrement la roue dentée (5) dans le sens horsaire. Pour cela, tourner l'outil spécial (4) dans le sens anti-horaire. Pour détendre le ressort de manière à ce que la porte se ferme plus rapidement (ou pour qu'elle ne puisse plus se maintainir d'elle-même en position grande ouverte), soulever le roiet de verrouillage (6) et tourner légèrement la roue dentée (5) dans le sens anti-horaire. Pour cela, tourner l'outil spécial (4) dans le sens horsaire. IMPORTANT - Quand vousSoulevez le roiet de verrouillage, tenez bien la poignée de l'outil spécial (4). En effet, une force et un poids importants sont transmis lorsque le roiet de verrouillage est soulevé.
Pour la fermetre de la porte, vérifier après chaque réglage que le résultat souhaïte est atteint. Sinon, repeter la procédure. En cas de détente du ressort, il est conseilé de bien tener la poignée lors du premier test pour s'assurer que la porte n'est pas trop lâche et qu'elle ne tombe pas trop brusquement, ce qui risquerait d'endommager la vitre.
N.B. Le réglage, le graissage et les réparations de ces pieces doivent toujours être effectués par un spécialiste.
Surface
Normalement,aucun retraitement de la surface n'est nécessaire.D'eventuels defaults de la laque peuvent cependant etre réparés à l'aide d'un spray Senotherm.
Garantie
La garantie ne s'applique pas en cas de manque d'entretien!
défauts de fOnCtiOnnement
Verre couvert de suie
- Le bois est trop humide. Utilisez uniquement du bois qui a eté stocké au moins durant 12 mois sous un auvent et dont le taux d'humidité est de 20% environ.
- Il se peut que les joints de la porte ne soient plus étanches. Changer le joint.
Formation de fumée au moment d'ouvrir la porte
- Il se peut que le registre de la cheminée soit fermé. Ouvrir le registre.
- Le tirage de la cheminée est insuffisant. Voir paragraphe sur la cheminée ou contacter le ramoneur.
- La trappe de ramonage n'est plus étanche ou manquante. Changer ou installer une trappe de ramonage.
- Ne jamais ouvrir la porte tant que le bois est enflammé.
Combustion incontrôlée
- Le joint de la porte ou du cendrier n'est plus étanche. Changer le joint.
- Si le tirage de la cheminée est trop fort, il peut s'avérer nécessaire de fermer complètement la tige de réglage de droite (seconde). Lorsque le poèle n'est pas en marche, fermer tous les registres.
- Si les plaques d'accier de la chambre de combustion s'écaillent ou se déforment, la combustion est trop fort. Interrompree l'utilisation du poèle et contacter le revendeur.
En cas de défaut de fonctionnement auquel vous ne pouvez pas remédier, contacter le revendeur.
Fabricant:
HWAM A/S
Nydamsvej 53
DK-8362 Hørning
déclare par la présente que
Produit: Type:
Poèle à bois HWAM 3510
HWAM 3520
HWAM 3530
est fabriqué conformément aux dispositions des directives suivantes :
Référence Titre:
89/106/EEC
Produits de Construction - DPC
ainsi qu'auxnormesharmonisées suivantes:
N°: Titre Édition
EN13240
Poêles à combustible solide 2001
EN13240/A2
Poêles à combustible solide 2004
et autres normes et/ou specifications techniques
N^ :Titre
NS 3058
Foyers fermés - Échépendement de fumée
NS 3059
Foyers fermés - Échépendement de fumée
Hørning, le 3. février 2010
Notice Facile