7150 - Cheminée Hwam - Notice d'utilisation et mode d'emploi gratuit
Retrouvez gratuitement la notice de l'appareil 7150 Hwam au format PDF.
| Caractéristiques techniques | Poêle à bois Hwam 7150 avec système de combustion avancé, rendement élevé, et faible émission de CO2. |
|---|---|
| Dimensions | Dimensions compactes adaptées pour divers espaces de vie. |
| Poids | Poids optimisé pour une installation facile. |
| Utilisation | Conçu pour un chauffage efficace et agréable, avec une facilité d'utilisation grâce à un système de contrôle intuitif. |
| Maintenance | Entretien régulier recommandé pour assurer un fonctionnement optimal, nettoyage du foyer et des conduits. |
| Sécurité | Équipé de dispositifs de sécurité pour prévenir les risques d'incendie et assurer une utilisation en toute sécurité. |
| Informations générales | Esthétique moderne et design scandinave, disponible en plusieurs finitions pour s'adapter à votre intérieur. |
FOIRE AUX QUESTIONS - 7150 Hwam
Questions des utilisateurs sur 7150 Hwam
0 question sur cet appareil. Repondez a celles que vous connaissez ou posez la votre.
Poser une nouvelle question sur cet appareil
Téléchargez la notice de votre Cheminée au format PDF gratuitement ! Retrouvez votre notice 7150 - Hwam et reprennez votre appareil électronique en main. Sur cette page sont publiés tous les documents nécessaires à l'utilisation de votre appareil 7150 de la marque Hwam.
MODE D'EMPLOI 7150 Hwam
Table de matières, Français
Guide de montage et d'installation....38
Télécommande....41
Guide de chauffage - bois 44
Généralités....47
Entretien....48
Défauts de fonctionnement....49
Déclaration de rendement....50
Plaque signalétique 51-52
A.

text_image
1 2 3 4
text_image
45° 1 1 4 3
text_image
5
text_image
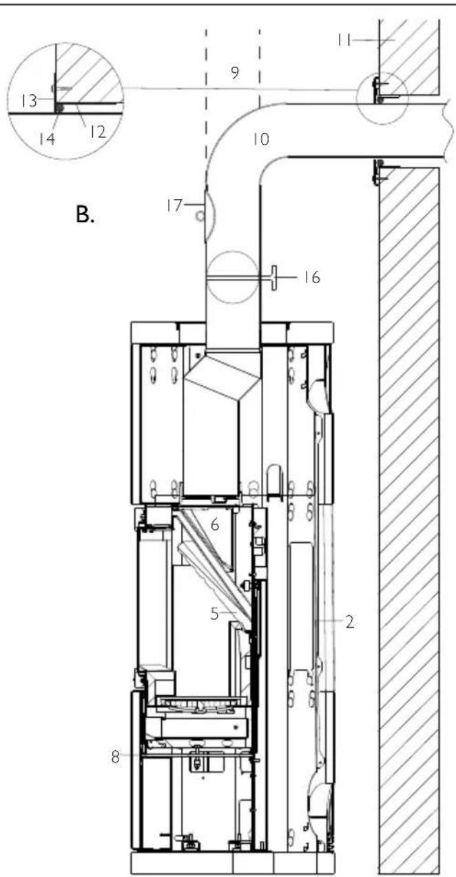
B. 13 14 12 9 10 11 17 16 6 5 2 8
text_image
C.
text_image
D. 3 1 2 4 5E.

Félicitations de l'acquisition de votre nouveau poêle à pilote automatique HWAM Autopilot IHS™.
Le système IHS, sigles anglaises signifiant ‘Système de chauffage intelligent’, assure le pilotage numérique de la combustion dans votre nouveau poêle. L’objectif du pilote automatique HWAM Autopilot IHS ^™ est d’assurer la combustion la plus verte pour l’environnement, la plus efficace pour votre économie et la plus confortable pour vous.
HWAM Autopilot IHS™ est le produit d'une toute nouvelle technologie électronique brevetée qui ajuste le volume d'air alimenté dans la chambre de combustion. Votre nouveau poêle, qui mesure régulièrement la température et le contenu d'oxygène dans la chambre de combustion, est programmé de manière à alimenter en temps dû le volume correct d'oxygène à travers trois importants conduits d'air. Une simple télécommande permet de régler le thermostat à la température voulue et vous recevrez en retour les données de température ambiante et de combustion optimale d'un point de vue environnemental et économique.
Votre nouveau poêle à pilote automatique HWAM Autopilot IHS ^TM assure ainsi la combustion la plus propre et la plus économique en bois, quels que soient le type de bois utilisé, la cheminée, votre expérience et autres.
Composants du pilote automatique HWAM Autopilot IHS™ :
- Airbox : l'Airbox contient une carte imprimée/un logiciel et 3 moteurs qui gèrent l'air de combustion primaire, secondaire et tertiaire. Le système d'air frais peut être monté sur l'Airbox, à l'arrière ou au fond.
- 2 capteurs : un capteur de température et un analyseur d'oxygène transmettent leurs données à l'Airbox.
- Télécommande avec support mural : placez la télécommande (n'oubliez pas de mettre les piles) à 2 mètres au moins du poêle. La télécommande mesure la température ambiante et transmet directement ses donnés à l'Airbox.
- Alimentation électrique : de l'Airbox à la prise électrique la plus proche.

text_image
Air primaire Air secondaire Air tertiaire IHS AirboxPoêle à pilote automatique HWAM Autopilot IHS™
Analyseur d'oxygène
Capteur de température
IHS Télécommande
2.4 GHz RF link

Prise d'air de l'Airbox
Branchement du système d'air frais
Alimentation électrique
Branchement USB (service technique seulement)
Prescriptions légales
Veillez à respecter les préscriptions légales et techniques lorsque vous installez votre poêle HWAM.
Demandez conseil à votre vendeur HWAM pour le montage de votre poêle.
Encombrement
La pièce, dans laquelle le poêle doit être installé, doit être pourvue d'une arrivée d'air frais de combustion. Le poêle a besoin d'environ 11 à 14 m ^3 d'air par heure. À titre de comparaison, une hotte de cuisine moderne aspire jusqu'à 1 000 m ^3 d'air par heure. Et une fenêtre basculante ou une ventouse d'aération réglable sont suffisantes, l'idéal serait cependant le raccordement à un système d'air frais HWAM. Placer le clapet d'air/registre d'aération de telle sorte qu'il ne puisse pas être bloqué.
Portance du support
Avant de placer le poêle, il convient de s'assurer que le support est capable de supporter le poids du poêle et de la cheminée. Le poids de la cheminée se calcule à partir de sa dimension et de sa longueur.
Le poids du poêle
HWAM 7150c/7150m avec pierre d'accumulation thermique 512/509 kg
HWAM 7180c/7180m 524/521 kg
HWAM 7180c/7180m avec pierre d'accumulation thermique 614/611 kg
Distance par rapport aux materiaux inflammables
Posez votre poêle HWAM sur un support non inflammable. Si le poêle est posé sur un sol en parquet ou une autre matière inflammable, une plaque de sol doit recouvrir la surface devant le poêle.
| HWAM 7150, HWAM 7180 (Illustration A) | |
| 1. Paroi maçonnée | 5 cm |
| 1. Paroi arrière, inflammable | 5 cm |
| 2. Paroi latérale, inflammable | 31 cm |
| 1. Distance à une cloison inflammable, (installation en coin)* | 5 cm |
| 3. Distance par rapport au mobilier vers l'avant | 80 cm |
| 5. Distance par rapport au plafond combustible | 38 cm |
*Les mesures pour l'installation en coin sont données à titre indicatif. Contactez un ramoneur pour une clarification finale.
Tenez compte de la réglementation éventuelle sur l'écart entre le mur et le conduit.
Attention! Tous les éléments vitrés ne sont pas résistants à la chaleur. Une paroi vitrée doit donc, dans certains cas, être considérée comme matériau inflammable. Veuillez contacter votre ramoneur ou le fabricant de la paroi vitrée en ce qui concerne l'écart de sécurité aux éléments vitrés.
Exigences imposées à la cheminée
La cheminée doit posséder une hauteur garantissant des caractéristiques de tirage suffisantes et ne doit pas provoquer de nuisance par la fumée qui s'en échappe. Tirage nominal requis: 12 Pa.
La section minimale de la cheminée est de 150 mm. L'exigence minimale est cependant que la section doit toujours correspondre à la section de la sortie du poêle. La cheminée devrait en outre être pourvue d'une porte de nettoyage facilement accessible.
Raccordement à la cheminée
Les poêles comportent une sortie de fumées à l'arrière et sur le dessus. Il peut ainsi être raccordé soit par le dessus à un conduit de raccordement conforme en acier, soit par l'arrière directement à une cheminée.
Coupe verticale du conduit de fumées (Illustration B et C):
B: Sortie de fumée arrière, par le haut.
C: Sortie de fumée arrière.
- Conduit de raccordement (9) en acier.
• Coude (10) s'ajustant.
• Cheminée maçonnée (II). - Manchon (12) encastré dans la maçonnerie. S'adapte au conduit de raccordement.
- Rosace (13). Dissimule le scellement effectué autour du manchon dans la maçonnerie.
• Jointure (14). A boucher à l'aide d'un cordon d'étanchéité.
• Conduits de fumée (15) du poêle HWAM. - Clé de tirage (16) (placée dans le conduit de raccordement).
- Trappe de ramonage (17).
Montage des pièces détachées
Avant l'installation du poêle, vérifiez que toutes les pièces détachées ont été correctement installées.
Coupe verticale des poêles (Illustration B):
- Clayette (5). Doit reposer sur le support d'acier et sur les supports latéraux.
- Plaque de conduit (6) en 2 parties. Chaque moitié est fixée à un crochet sous la plaque supérieure. Pousser les deux moitiés ensemble dans le support derrière le conduit d'aération. Une fois le poêle installé, retirer des deux crochets, la protection de transport en la tordant à l'aide d'une pince ou d'un tournevis.
- Plaque d'habillage (2). Doit toujours être montée sur les poêles installés contre une cloison inflammable.
- Bouclier (8) placé sous le cendrier. Peut servir de couvercle au cendrier lorsque l'on retire celui-ci pour le vider.
Connexion et préparation de HWAM Autopilot IHS™
I. Branchez
a) à une prise normale de 230V et
b) à l'airbox dans le compartiment à bois sous la chambre à combustion (faites passer le fil à travers l'ouverture d'air en bas, entre la plaque latérale et la plaque arrière, à gauche du poêle vu de l'avant). Une marque sur l'airbox indique où connecter la prise. Voir notre photo du branchement de l'airbox.

Airbox sans connexion électrique Airbox avec connexion électrique
- Mettez 3 piles AA dans la télécommande. Lorsque le logo IHS disparaît du cadran, la télécommande est prête à l'emploi.
- La télécommande et le poêle doivent être connectés (connexion assurée dans nos ateliers)
Si la ligne d'état au bas du cadran est vierge ( ) et divisée en trois, le poêle et la télécommande sont connectés.
Si la ligne d'état est en pointillés, le poêle et la télécommande ne sont pas connectés
( ). Assurez la connexion (quand le cadran n'est pas allumé) en appuyant sur
le bouton jusqu'à apparition du menu avancé. Par petits appuis sur le bouton, trouvez le texte "Link to stove", marquez-le et attendez qu'il s'inscrive au menu. Par petit appuis sur le bouton, trouvez aussi le texte "Connect", marquez-le et patientez à nouveau. Quand s'affiche le texte "Please cycle stove power", débranchez la prise, puis rebranchez-la. Appuyez à nouveau sur le bouton. Si le message "Connected to stove" apparaît sur le cadran, le poêle et la télécommande sont connectés. Un simple appui sur le bouton vous permet de revenir au menu principal. Si vous ne touchez plus le bouton, la télécommande quitte automatiquement le menu et revient à l'affichage de départ.
- Exécutez l'autotest HWAM Autopilot IHS™:
L'autotest du pilotage électronique a lieu avant d'allumer le premier feu dans le poêle (assurée dans nos ateliers). L'autotest n'est pas exécuté tant que le poêle est froid et en attente (____) (ligne d'état non marquée). Veillez à ce que l'affichage ne soit pas actif, c.-à-d. qu'il ne soit pas éclairé (____). Si le cadran s'éclaire avant un long appui sur le bouton, le poêle se prépare au lieu a être allumé (boîte d'allumettes sur le cadran) et l'autotest est impossible. Appuyez env. 5 secondes sur le bouton de la télécommande pour entrer dans le menu. Appuyez sur le bouton jusqu'à afficher "Selftest" (Autotest). Patientez quelques secondes jusqu'à ce que la télécommande affiche le menu "Selftest" (Autotest). Appuyez sur le bouton jusqu'à afficher "Engage" (Connector). L'Autotest démarre en l'espace de quelques secondes.
L'exécution de l'Autotest assure le fonctionnement correct de toutes les fonctions de base.
L'Autotest consiste en quatre types de test :
- Test logiciel
- Test du capteur de température et du calibrage
- Test de l'analyseur d'oxygène et du calibrage
- Test des trois clapets moteurs et du calibrage
La télécommande vous répond "Pass" quand tout va bien, et "Failed" quand il y a un souci. Le message "Failed" peut aussi s'afficher si vous avez préparé le poêle pour l'allumer (boîte d'allumettes sur le cadran) avant l'autotest. Si vous coupez le courant puis remettez sous tension, le programme passe en mode d'attente (standby) et l'autotest est effectué. Le message "Not completed" sur le cadran indique que l'autotest n'a pas pu se faire parce que le poêle n'est pas tout à fait refroidi ni en attente.
- La télécommande doit se trouver dans la même pièce que le poêle, sans être directement exposée à la chaleur du poêle ou aux rayons du soleil. En effet, la télécommande fait fonction de thermomètre. La température ambiante, directement transmise au pilote électronique du poêle, contribue à la régulation intelligente de la combustion. Vous pouvez accrocher au mur le support fourni pour la télécommande.
La cheminée
La cheminée est le moteur du poêle et donc essentielle au fonctionnement de ce dernier. Le tirage de la cheminée crée une dépression dans le poêle. Cette pression négative expulse la fumée du poêle, aspire par le clapet l'air destiné au nettoie-vitre qui élimine toute suie et alimente l'air nécessaire à la combustion au moyen du pilote automatique HWAM Autopilot IHS™.
Le tirage se forme en raison de la différence de température entre l'intérieur et l'extérieur de la cheminée. Plus la température à l'intérieur de la cheminée est élevée, plus le tirage sera fort. Une cheminée maçonnée met plus de temps à chauffer qu'une cheminée en acier. Si le tirage est mauvais dans la cheminée du fait des conditions météo, il est très important de réchauffer la cheminée le plus vite possible. Il s'agit d'obtenir rapidement des flammes. Utiliser du bois fendu très mince ou un bloc d'allumage supplémentaire.
Après une longue période de non utilisation, il est important de vérifier qu'il n'y a pas de blocage dans le conduit de la cheminée.
Plusieurs dispositions de raccord sont possibles pour la même cheminée. Vérifier cependant les règlements en vigueur.
Mal utilisée, une bonne cheminée peut mal fonctionner. Inversement, une mauvaise cheminée peut fonctionner de façon satisfaisante si elle est bien utilisée.
Ramonage de la cheminée
Faire ramoner la cheminée une fois par an pour prévenir le risque de feu de cheminée. Nettoyer en même temps le conduit et la chambre à combustion au-dessus de la chicane de fumée. Si la cheminée est trop haute pour permettre un nettoyage par le haut, monter une trappe de nettoyage
En cas de feu de cheminée ou de surchauffe, HWAM Autopilot IHS ^M veille à mettre le système en mode de sécurité et à régler automatiquement tous les clapets pour que le feu s'éteigne vite. N'ouvrez pas la porte pour ne pas ranimer le feu. Contactez les pompiers. Avant de refaire du feu, demandez au ramoneur de contrôler la cheminée.
| Résultats de tests nominaux selon EN 13240 | |
| Rendement calorifique | 4,5 kW |
| Température de fumée | 24 l°C |
| Débit massique du gaz de combustion | 4,27 g/s |
| Rendement | 80,5 % |
| Résultat des essais d'après NS 3058 | |
| Émission de particules | 2,45 g/kg |
TELECOMMANDE
La télécommande est l'interface utilisateur de HWAM Autopilot IHS ^TM .
La télécommande mesure en tout temps la température ambiante. Placez-la en un lieu sans forte chaleur telle que la chaleur directe du poêle ou du soleil.
Réglez sur la télécommande le niveau de chaleur voulu, tel que vous le faites sur le thermostat d'un radiateur. La télécommande émet les données de température ambiante et de niveau de chaleur souhaité par ondes radio vers l'airbox du poêle (système de pilotage).
Les fonctions de la télécommande sont décrites ci-dessous. L'affichage normal de la télécommande visualise 4 choses à la base :

text_image
20°CI) Température ambiante
2) Niveau des piles de la télécommande
3) Réglage thermostat (niveau de chauffage voulu)
4) Ligne d'état (indique les stades de combustion)
Bouton :
Brève activation - en phase de mise en route ou de combustion = réglage du thermostat (souhaité niveau de chauffage)
Brève activation - en attente ou en phase de combustion = mise en route du poêle, c.-à-d. préparation du poêle pour l'allumer.
Activation prolongée - seulement quand le cadran n'est pas éclairé = menu avancé
| Description des symboles | |
![]() | Logo IHSApparaît dès que vous allumez la télécommande, p. ex. après avoir changé les piles. |
![]() | Température ambianteLa température ambiante est affichée au centre du cadran. La température ambiante est mesurée là où se trouve la télécommande. La mesure de la température ambiante sert à piloter la combustion et à gérer l'alarme de ravitaillement du feu. Ne placez pas la télécommande à proximité du poêle ni directement exposée aux rayons du soleil afin de ne pas fausser la lecture de la température ambiante. |
![]() | Niveau des pilesNiveau des piles de la télécommande. Quand les piles sont au minimum, il faut les changer. Les piles ont normalement une durée de vie d'entre six mois et un an. |
![]() | Réglage du thermostatHWAM Autopilot IHSTMse charge de maintenir la température de la pièce niveau voulu. Le thermostat fonctionne tout comme un radiateur. Choisissez sur la télécommande le niveau souhaité en fonction des dimensions de la pièce et autres. Vous pouvez régler le thermostat sur six niveaux :(Niveau 0 - 5, où le niveau 3 est une moyenne de 22-24 °C).Niveau 0 : Régulation de la combustion à son niveau le plus bas (3-4 kW) pas de gestion de la température ambianteNiveau 1-2 : Régulation de la température ambiante, niveau bas (env. 18-22 °C)Niveau 3 : Régulation de la température ambiante, niveau moyen (env. 22-24 °C)Niveau 4 : Régulation de la température ambiante, niveau haut (env. 24-26 °C)Niveau 5 : Régulation de la température ambiante maximale rumtemperatur (env. 27-29 °C). Le niveau 5 cherche à atteindre la température ambiante la plus élevée possible le plus vite possible, à préconiser si vous souhaitez chauffer au plus vite une pièce froide. Une fois que la température ambiante se rapproche du niveau voulu, choisissez sur la télécommande le niveau de chaleur souhaité. |
![]() ![]() | Ligne d'étatLa ligne d'état se trouve en bas sur le cadran. Elle indique l'état de combustion du système.Pas de contact avec l'airbox.En contact - mais en attente.Phase initiale de la combustion.Phase de marche de la combustionPhase finale de la combustion.Allumage du feu:Le poêle est prêt pour allumer un feu et les registres s'ouvrent. Ce symbole apparaît en appuyant 2 fois sur la télécommande en état d'attente ou en phase finale de la combustion. Ce symbole apparaît aussi si, en phase de combustion, vous appuyez deux fois sur la télécommande. Dans le cas présent, cela ne veut pas dire que vous voulez rallumer, sinon que vous avez demandé l'ouverture des clapets du poêle pour assurer que le bois ravitaillé a l'air nécessaire pour bien prendre feu. |
![]() ![]() ![]() | Alarme de ravitaillement du feuDès que la combustion produit des braises, l'alarme avertit de la nécessité de ravitail- ler le feu. L'alarme se déclenche trois fois à 10 secondes d'intervalle, accompagnée d'un signal sonore.Quantité de bois à ravitailler, trois niveaux possibles :Petite quantité (700 – 1 200 g)Moyenne quantité (1 000 - 2 000 g)Grosse quantité (1 800 - 3 000 g)Il faut toujours ravitailler 2 bûches à la fois, même quand vous ne ravitaillez qu'une petite quantité de bois. La température fait carburer le bois. 2 bûches mieux la chaleur et leur température monte plus vite. |
![]() ![]() ![]() ![]() | Rappel de l'alarme de ravitaillement du feuSi l'alarme de ravitaillement du feu s'est déclenchée et que le feu n'a pas été ravitallé, ce symbole apparaît au coin haut gauche.Si le symbole est affiché depuis longtemps, la température des fumées est peut-être si basse qu'il s'avère nécessaire de rallumer le feu pour alimenter plus d'air dans le poêle (pour cela appuyez 2 fois sur la télécommande pour faire apparaître le symbole d'allumage sur le cadran).Après avoir ravitaillé le feu, surveillez toujours que la ligne d'état passe de la phase de combustion en phase de marche. Vous vous assurez ainsi que le poêle a enreg- istré l'alimentation de nouvelles bûches et que la combustion a la quantité d'air correcte. Le poêle enregistre le ravitaillement de bois quand le niveau d'oxygène augmente en raison de l'ouverture de la porte. À la fin du stade de combustion, le taux d'oxygène dans la chambre à combustion et celui de la pièce peuvent être si proches l'un de l'autre que l'ouverture de la porte ne se traduit pas par une hausse du taux d'oxygène. Si la ligne d'état ne passe pas de phase de combustion à phase de marche peu après le ravitaillement, appuyez 2 fois sur la télécommande pour faire apparaître le symbole d'allumage (boîte d'allumettes). |
![]() | ActualisationChaque actualisation de l'Airbox (par un technicien) est signalée sous cette forme.Menu avancéLa télécommande offre un menu dans lequel modifier les réglages avancés. Appuyez sur le bouton de la télécommande pendant 5 secondes pour afficher le menu avancé :Menus principaux :Son (activé ou muet)Autotest (pour lancer l’Autotest/"selvtest", p. ex. après une actualisation du service technique)Info système (version du logiciel de l’Airbox et de la télécommande)Connexion avec le poêle/"Link to stove" (utile pour faire correspondre la télécommande et l’Airbox, fonction effectuée dans nos ateliers) |
![]() | Alarmes d'entretienEn présence d'une alarme d'entretien, vous pouvez continuer à allumer le poêle mais il convient de contacter votre distributeur au plus vite. N'oubliez pas d'indiquer le code d'erreur affiché sur le cadran. Il se peut que le poêle brûle mal. |
![]() | Alarmes de sécuritéEn présence d'une alarme de sécurité, n'allumez pas le poêle. Contactez votre distributeur au plus vite. N'oubliez pas d'indiquer le code d'erreur affiché sur le cadran. |
Mise au rebut et récupération
Quand vous vous débarrassez des piles de la télécommande, ne les jetez pas à la poubelle et respectez les réglementations nationales.

Conformité réglementaire
Conforme aux Directives européennes 72/23/CEE et 2004/108/CEE.
GUIDE DE CHAUFFAGE - BOIS
Lors de la première utilisation de votre poêle, chauffez modérément pour permettre à tous les matériaux de s'accoutumer à la chaleur. La laque se durcit lors de la première utilisation. Ouvrez donc très prudemment la porte et le tiroir à cendres. Sinon les joints risquent de rester bloqués dans la laque. La laque peut aussi dégager des odeurs désagréables. Veillez donc à ce que la pièce soit bien aérée.
Informations concernant le combustible
Types de combustibles autorisés
Le poêle est conforme aux normes européennes EN uniquement pour la combustion de bois. Il est conseillé d'utiliser du bois fendu sec avec une teneur en eau maximale de 20%. La combustion de bois humide est moins bonne pour l'environnement et pour la rentabilité.
Types de bois conseillés
Tous les types de bois tels que le bouleau, le hêtre, le chêne, l'orme, le frêne, les conifères et les arbres fruitiers peuvent être utilisés dans votre poêle. Ce qui fait la différence, ce n'est pas la combustibilité du bois mais son poids au m³. Le hêtre pèse plus au m³ que le sapin, par exemple. Il faudra donc davantage de sapin que de hêtre pour produire la même quantité de chaleur.
Types de combustibles à proscrire
Il est interdit de brûler les matériaux suivants : imprimés • aggloméré • matières plastiques • caoutchouc • combustibles liquides • déchets tels que cartons de lait • bois vernis, peint ou imprégné. Ces matériaux sont prohibés puisque leur combustion dégage des matières nuisibles à la santé et à l'environnement.
Ces produits peuvent aussi endommager votre poêle et votre cheminée et leur utilisation entraîne une perte de garantie.
Stockage du bois
Pour obtenir une teneur d'eau de max. 20 %, stockez le bois à l'abri pendant au moins I an, de préférence au soleil et à l'air.
Le bois doit être sec (teneur d'eau max. de 20 %) avant de le rentrer à l'intérieur. Il est conseillé de garder le bois à brûler pendant quelques jours à l'intérieur.
Dimensions conseillées
Il est important de respecter les dimensions des bûches pour obtenir une bonne combustion. Ces dimensions sont les suivantes.
| Type de bois Longueur en cm Diamètre en cm | ||
| Bois d'allumage (fendu mince) 25 à 30 2 | à 5 | |
| Bûches fendues 25 à 30 7 à 9 |
Instructions spéciales pour poêles revêtus de stéatite
La stéatite est un produit naturel qui doit s'adapter aux changements de température, d'où la nécessité de faire preuve de prudence les premières fois que vous allumez un feu. Nous vous recommandons de procéder comme suit :
I. Premier feu (stéatite)
Garnissez le poêle avec du petit bois d'environ 2 à 5 cm de diamètre. Prévoyez une quantité correspondant à 2 bûches (max. 2 kg). Déposez 2 cubes allume-feu dans la couche supérieure de petit bois. Appuyez deux fois sur la télécommande pour faire apparaître le symbole du feu. Allumez les cubes et refermez la porte. Sur la télécommande, réglez la température au niveau I. Laissez le feu se consommer et ne ravitaillez pas même si l'alarme de ravitaillement du feu se déclenche. Une fois le feu complètement éteint, ouvrez la porte et laissez-la ouverte pendant que le poêle se refroidit à la température ambiante.
2. Deuxième feu (stéatite)
Garnissez le poêle avec du petit bois d'environ 2 à 5 cm de diamètre. Prévoyez une quantité correspondant à 2 bûches (max. 2 kg). Déposez 2 cubes allume-feu dans la couche supérieure de petit bois. Appuyez deux fois sur la télécommande pour faire apparaître le symbole du feu. Allumez les cubes et fermez la porte. Sur la télécommande, réglez la température au niveau 2. Dès que l'alarme de ravitaillement du feu se déclenche, remettez du bois. Remplissez à moitié la chambre de combustion avec du bois sec d'environ 7 à 9 cm de diamètre. Laissez le feu se consommer et le poêle refroidir à température ambiante avant de le rallumer.
3. Troisième feu (stéatite)
Reprenez comme pour le deuxième feu, mais utilisez plus de bois cette fois, puis réglez la température au niveau 3 sur la télécommande. Laissez le feu se consommer et, une fois le feu éteint, laissez à nouveau le poêle se refroidir.
Pour allumer le feu
Bien allumer le feu est très important pour une bonne combustion. Un poêle froid et une cheminée froide sont deux défis pour la combustion. Il faut que les fumées atteignent le plus vite possible une température élevée. Ce n'est que quand les fumées tournent autour de 350° C que la combustion est favorable à l'environnement.

Placez 2 bûches (de 5-8 cm de diamètre) à l'horizontale au fond de la chambre de combustion. Au-dessus, placez 5-8 morceaux de petit bois en les croisant. Déposez 2 cubes allume-feu dans la couche supérieure de petit bois. Appuyez deux fois sur la télécommande pour faire apparaître le symbole du feu. Allumez les cubes et refermez la porte. Sur la télécommande, réglez la température au niveau souhaité.
Si la température des fumées n'atteint pas les 350° C souhaités dans l'espace de 15 minutes, la télécommande lance une alarme même si les bûches sont enflammées. Cette alarme peut paraître déplacée, mais elle est causée par une élévation trop lente de la température. Faire brûler du petit bois élève souvent la température.
HWAM Autopilot IHS™ ferme les 3 clapets une fois que le poêle ne brûle plus (qu'il est en attente). L'air chaud ambiant ne pénètre donc plus dans la cheminée (perte d'énergie). Ceci peut par contre signifier que la cheminée est très froide lorsque vous allumez le feu. Il est en certains cas nécessaire de contribuer à un meilleur tirage en brûlant quelques pages de journaux sur les bûches. Merci de consulter www.hwam.com pour plus de détails sur le fonctionnement de la cheminée.
Important ! N'ouvrez pas le tiroir à cendres pendant que vous allumez le feu ; pour que le pilote intelligent puisse fonctionner, le tiroir à cendres doit rester fermé pendant que le poêle est allumé. N'ouvrez la porte que pour allumer le feu, pour le ravitailler ou pour nettoyer.
Fonctionnement du thermostat
Comme point de départ, HWAM Autopilot IHS ^M assure une combustion favorable à l'environnement et s'adapte à la température ambiante souhaitée. La fonction de thermostat est comme celle d'un radiateur. Réglez le niveau de chaleur voulu pour la pièce dans laquelle se trouve le poêle. Une fois que le thermostat est réglé au niveau souhaité, le pilotage s'adapte autant que possible à la température ciblée.
- Quand la température ambiante est inférieure au niveau de chauffage souhaité, le pilotage élève la température des fumées afin d'augmenter l'émission de chaleur du poêle.
- Quand la température ambiante dépasse le niveau de chauffage souhaité, le pilotage baisse la température des fumées pour prolonger la vie des braises le plus possible avant de ravitailler le feu. Ceci en vue de réduire l'émission de chaleur du poêle, mais aussi de permettre de ravitailler le feu sans avoir à rallumer. Si la température ambiante chute au-dessous du seuil voulu, la phase de braises est écourtée et le système lance une alarme de ravitaillement. Le système lance un signal de ravitaillement dès que la température des fumées tourne autour de 180° C ; à 100° C, le système se met en position d'attente et tous les clapets se referment.
- Si la température ambiante est largement inférieure au niveau souhaité, le pilotage élève la température des fumées. Si cette hausse de température n'est pas satisfaisante, le pilotage émet une alarme de ravitaillement dans l'attente d'une nouvelle charge de bois pour atteindre le niveau de chaleur voulu dans la pièce.
- Si la température ambiante après le ravitaillement n'a toujours pas atteint le niveau souhaité, c'est peut-être en raison de l'humidité du bois ou d'un manque de tirage dans la cheminée. La température des fumées doit toujours tendre à être de min. 350° C par égard à l'environnement.
Pour ravitailler le feu
Lorsque l'alarme de ravitaillement du feu se déclenche, le poêle est prêt à recevoir du bois. La télécommande vous recommande quelle quantité de bois ravitailler.

Faible quantité de bois
1 200 g) (1000 - 2 000 g)

Moyenne quantité de bois
- 3 000 g)

Grosse quantité de bois
Par égard à la combustion, mettez au moins deux bûches à la fois, même si vous ne devez alimenter
qu'une petite quantité de bois. Vous pouvez aussi choisir de ne pas ravitailler le feu. Le feu s'éteindra automatiquement après un certain temps.
Il arrive dans de rares cas que le système n'enregistre pas les nouvelles bûches. P.ex. quand le taux d'oxygène dans la chambre de combustion est si élevé, en raison de la basse température des fumées, qu'il n'enregistre pas de hausse du taux d'oxygène malgré les portes ouvertes. Après chaque ravitaillement de bois, contrôlez la ligne d'état sur la télécommande. Peu après le ravitaillement, la ligne s'allume au centre (☐), dans la case qui indique la phase de marche de la combustion. Si la combustion est en attente, appuyez 2 fois sur la télécommande pour faire apparaître la boîte d'allumettes.
Pendant la combustion, la surface extérieure du poêle se réchauffe. Une certaine prudence est donc de rigueur. Attention : la poignée du tiroir devient aussi très chaude. Pour ne pas vous brûler quand le poêle est allumé, enfilez toujours des gants.
Le poêle n'est pas conçu pour la combustion au charbon ou au coke. On peut néanmoins y brûler des briquettes, en les plaçant sur les braises de bois.
L'utilisation d'autres types de combustibles que le bois provoque des dépots de suie sur le verre.
GÉNÉRALITÉS
Chaleur rapide ou forte
Pour obtenir une chaleur rapide ou forte, brûlez un grand nombre de bûches de petite taille.
Combustion maximale
Remplissage maximal par heure :
Bois: 2,4 kg
Si ces limites sont dépassées, le poêle n'est alors plus couvert par la garantie de fabrication, et risque d'être endommagé par la trop forte chaleur. Le poêle est approuvé pour utilisation intermittente.
Intervalle de remplissage normal
Intervalle de remplissage normal en rendement nominal:
Bois: 65 min
Combustion longue
Pour ralentir au plus la combustion, réglez la température ambiante au niveau 0. La température des fumées émises est alors aussi basse possible et les glaises durent un maximum.
Pour obtenir la meilleure combustion possible
HWAM Autopilot IHS ^™ est conçu de sorte à assurer la combustion la plus propre et la plus économique possible. Pour une bonne combustion, il faut que le feu reçoive en temps dû un volume correct d'oxygène à l'endroit voulu dans la chambre de combustion. HWAM Autopilot IHS ^™ tient compte des facteurs externes variables, mais il est important de brûler du bois propre et sec (taux d'humidité de 16 à 20 %). Pour plus de détails, consultez www.hwam.com.
Nettoyage du verre
Il est recommandé d'essuyer le verre une fois le poêle éteint, de préférence avec du papier essuie-tout.
Types de combustibles
Le poêle peut subir des dommages à hautes températures, par exemple un blanchiment de la vitre. Pour éviter cela, fermez toujours le tiroir à cendres pendant la combustion. Soyez aussi très prudent si vous utilisez un combustible dégageant une chaleur importante, comme par exemple des briquettes. Si la température des fumées dépasse 580 °C, HWAM Autopilot IHS ^M se met en position de sécurité et referme automatiquement le clapet d'air pour éviter toute surchauffe. Dès que la température chute à 450 °C, la combustion normale reprend.
Il est recommandé d'utiliser du bois de bouleau ou de hêtre qui a été débité et entreposé pendant au moins un an à l'extérieur, sous abri. Le bois doit être sec (teneur d'eau max. de 20 %) avant de le rentrer à l'intérieur. Il est conseillé de garder le bois à brûler pendant quelques jours à l'intérieur.
Les briquettes émettent beaucoup de chaleur. Certains types se dilatent fortement, ce qui résulte en une combustion incontrôlable.
Le charbon brûle à haute température et produit beaucoup de suie. Le charbon doit être placé dans la corbeille à charbon. Impropre à la combustion pour ces poêles.
Le coke brûle à haute température et produit beaucoup de suie. Le coke doit être placé dans la corbeille à charbon. Ce combustible use fortement le poêle et la chambre de combustion, et en réduit donc considérablement la durée de vie. Impropre à la combustion pour ces poêles
Les modèles sont approuvés selon la norme EN 13240, uniquement pour la combustion de bois. Il est interdit d'y brûler des panneaux de particules, du bois laqué, peint ou imprégné, du plastique ou du caoutchouc.
ENTRETIEN
Nettoyage de l'extérieur du poêle
Ne procéder à l'entretien du poêle que lorsque celui-ci est froid. L'entretien quotidien se limite au strict minimum. Pour le nettoyage extérieur du poêle, nous vous conseillons de vous servir de votre aspirateur, équipé d'une brosse à épousseter à poils doux. Vous pouvez également essuyer le poêle avec un chiffon doux ou avec un plumeau. Mais n'oubliez pas: Seulement lorsque le poêle est froid. N'utilisez pas d'eau, d'alcool ou autre produit de nettoyage, cela pourrait endommager la laque.
Pour l'entretien des revêtements en pierre, voir les instructions qui accompagnent les pierres fournies.
Il est recommandé de nettoyer le poêle à fond une fois par an. Eliminer la cendre et la suie de la chambre de combustion. Graissez les charnières et le crochet de fermeture en atomisant une graisse au cuivre liquide (qui supporte 1.100 °C), voir notre schéma H. Soulevez la porte d'½ cm et atomisez la graisse au cuivre dans le tourillon de la charnière.
Contrôle
Au moins tous les deux ans, faites effectuer un contrôle préventif approfondi de votre poêle. Ce contrôle comprend entre autres:
• Nettoyage à fond du poêle.
• Vérification des joints d'étanchéité. Changez les joints s'ils ne sont plus intacts ou s'ils ont durci.
- Contrôle des matériaux isolants. changement éventuel.
- Contrôle du fond/de la grille de secousse.
- Graissez les charnières et le crochet de fermeture avec une graisse au cuivre (voir illustration H).
Le contrôle doit être effectué par un installateur qualifié. N'utiliser que des pièces de rechange d'origine.
Nettoyage du poêle intérieur
Sortir la plaque de déviation et le déflecteur de fumée, avant le nettoyage (Illustration F).
- Retirez d'abord la clayette (1) du support d'acier (2) le plus au fond dans la chambre de combustion, en le soulevant. La faire descendre sous les supports (3) et la retirer en la faisant basculer.
- Retirer du support (5) derrière le conduit d'aération, chaque moitié de la plaque de conduit (4) en les soulevant puis les retirer du crochet (6) sous la plaque supérieure.
Cendres
Le cendrier se vide très facilement en l'enfilant dans un sac en matière plastique et en le retournant, puis en retirant le sac avec précaution. Les cendres seront enlevées par le service de ramassage des ordures ménagères.
Attention, il peut y avoir des braises dans la cendre jusqu'à 24 heures après l'extinction du feu!
Isolation
L'isolation de la chambre de combustion, efficace mais poreuse peut s'user avec le temps et être endommagée. Le fait que l'isolation se fendille ne réduit en rien l'efficacité du poêle. Il est cependant recommandé de la remplacer lorsque l'usure a réduit l'isolation à moins de la moitié de son épais-seur d'origine.
Porte/verre
Si la porte en verre est souillée, vous la nettoierez facilement avec du papier cuisine imbibé d'eau que vous aurez aussi trempé dans les cendres. Nettoyez la vitre en frottant de haut en bas. Essuyez avec du papier cuisine sec. Contrôler régulièrement l'état des joints de la porte et du cendrier. S'ils ne sont pas souples et intacts, les remplacer. Utiliser exclusivement des joints originaux.
Surface
Normalement, aucun retraitement de la surface n'est nécessaire. D'éventuels défauts de la laque peuvent cependant être réparés à l'aide d'un spray Senotherm.
Garantie
La garantie ne s'applique pas en cas de manque d'entretien!
Alarmes d'entretien
Vous pouvez continuer à utiliser le poêle mais il convient de contacter votre distributeur au plus vite. Il se peut que le poêle brûle mal.
DÉFAUTS DE FONCTIONNEMENT
Verre couvert de suie
- Le bois est trop humide. Utilisez uniquement du bois qui a été stocké au moins durant 12 mois sous un auvent et dont le taux d'humidité est de 20 % environ.
- Il se peut que les joints de la porte ne soient plus étanches. Changer le joint.
Formation de fumée au moment d'ouvrir la porte
- Il se peut que le registre de la cheminée soit fermé. Ouvrir le registre.
-
Le tirage de la cheminée est insuffisant. Voir paragraphe sur la cheminée ou contacter le ramoneur.
-
La trappe de ramonage n'est plus étanche ou manquante. Changer ou installer une trappe de ramonage.
- Ne jamais ouvrir la porte tant que le bois est enflammé.
Combustion incontrôlée
- Le joint de la porte ou du cendrier n'est plus étanche. Changer le joint.
Alarmes de sécurité
N'utilisez pas le poêle. Contactez votre distributeur au plus vite.
En cas de défaut de fonctionnement auquel vous ne pouvez pas remédier, contacter le revendeur.
DÉCLARATION DE RENDEMENT
Procurez-vous la déclaration de rendement sur notre site par le biais des liens suivants :
HWAM 7150 avec Autopilot IHS™: www.hwam.com/dop/7150ihs-7180ihs
HWAM 7180 avec Autopilot IHS™: www.hwam.com/dop/7150ihs-7180ihs
HWAM 7150 IHS
CE _12
Notice Facile 














