H35 - Chauffage NESTOR MARTIN - Notice d'utilisation et mode d'emploi gratuit
Retrouvez gratuitement la notice de l'appareil H35 NESTOR MARTIN au format PDF.
| Caractéristiques | Détails |
|---|---|
| Type de chauffage | Poêle à bois |
| Puissance nominale | 8 kW |
| Rendement | 80% |
| Dimensions (L x P x H) | 600 x 450 x 1100 mm |
| Poids | 150 kg |
| Capacité de chargement | 60 cm de bûches |
| Émissions de CO | 0,1% |
| Normes de sécurité | EN 13240 |
| Installation | À installer par un professionnel |
| Entretien | Nettoyage régulier du foyer et du conduit |
| Garantie | 2 ans |
FOIRE AUX QUESTIONS - H35 NESTOR MARTIN
Questions des utilisateurs sur H35 NESTOR MARTIN
0 question sur cet appareil. Repondez a celles que vous connaissez ou posez la votre.
Poser une nouvelle question sur cet appareil
Téléchargez la notice de votre Chauffage au format PDF gratuitement ! Retrouvez votre notice H35 - NESTOR MARTIN et reprennez votre appareil électronique en main. Sur cette page sont publiés tous les documents nécessaires à l'utilisation de votre appareil H35 de la marque NESTOR MARTIN.
MODE D'EMPLOI H35 NESTOR MARTIN
- Votre appareil de chauffage a été construit avec soin pour vous procurer satisfaction et le meilleur service.
- Le choix que vous avez fait ne pouvait être plus judicieux.
- L'efficacité de votre appareil dépendra de la bonne observance des recommandations suivantes.
Avant l'installation, vérifier que les conditions de distribution locale (l'identification de la catégorie de gaz et de la pression) et les réglages de l'appareil sont compatibles.
EQUIPEMENT
Cet appareil est équipé de la vanne MERTIK-MAXITROL N° GV60 et de la veilleuse MERTIK MAXITROL N° G30-ZP1
COMMENT ACCEDER A L'INTERIEUR DU FOYER
- Ouvrir la porte à l'aide de la poignée située à gauche du foyer.
- Refermer la porte pour le fonctionnement.
Remarques:
- L'appareil ne peut fonctionner si les imitations bûches sont brisées et reposent sur le brûleur.
- L'appareil ne peut pas fonctionner porte ouverte.
COMMENT ACCEDER A LA VANNE
La vanne se trouve derrière la porte inférieure de foyer. Pour ouvrir celle-ci tirez-la vers soi du côté gauche.
REEMPLACEMENT DE LA VITRE
N.B.: il est interdit de faire fonctionner l'appareil avec la vitre brisée. Ouvrir la porte comme indiqué ci-dessus. Dévisser et enlever les supports vitre.
Remettre le nouveau verre. Remplacer éventuellement les joints. Remettre les supports. Serrer sans excès.
BRULEUR CERAMIQUE

- Déposer une braise factice à peu près tous les 2 à 3 cm sur la ligne des trous du brûleur.
- Positionner la bûche arrière derrière les 2 emplacements prévus à l'arrière.
- Déposer la bûche de coté sur la bûche arrière.
- Positionner la bûche avant dans les 2 emplacements prévus à l'avant.
SPECIFICATIONS
| Gaz Press. du réseau Pascal mm | ∅ inject. brûleur mm | Allure nominale Allure réduite n° inject. | veilleuse | ||||
| débit horaire | pression brûleur Pascal | débit horaire | pression brûleur Pascal | ||||
| G20H 2000 | 4 x 1.18 0,9 | 11 m | 3 | 1810 0,6 | 50 m | 3 | 890 27.2 |
| G25L 2500 | 4 x 1.18 0,9 | 92 m | 3 | 2300 0,7 | 16m | 3 | 1178 |
| G31 | 3700 | 4 x 0.78 | 0,650 kg | 3610 | 0,495 kg | 2120 | 22.1 |
G20 = gaz naturel METHANE - G25 = gaz naturel - G31 = gaz propane N.B.: 1mbar = 10mm CE
N.B.: 1mbar = 10mm CE = 100 Pa. Les appareils sont scellés en usine pour l'utilisation du gaz naturel (G20 et G25).
UTILISATEURS
INSTALLATION
L'appareil doit être raccordé à une cheminée d'évacuation et donc placé à proximité de celle-ci. Placer et raccorder votre radiateur, c'est l'affaire d'un homme de métier. Votre installateur veillera à ce que tout se passe conformément aux règles de la technique et de la sécurité. Il prendra soin de vérifier le bon fonctionnement de l'appareil selon la nature du gaz. Pour raccorder le convecteur à la canalisation, il évitera d'utiliser un tuyau flexible en caoutchouc, formellement interdit pour des raisons de sécurité. Le radiateur sera placé à 15 cm au moins du mur arrière et 20 cm des murs latéraux. Si ceux-ci sont constitués de matériaux inflammables, nous conseillons le placement d'une plaque en tôle aluminée (min.0,7mm d'épaisseur) de 600 mm de largeur et de 800mm de hauteur, décollée du mur de 5mm. Elle sera placée en face des parties rayonnantes de l'appareil. Dans tous les cas, l'appareil doit être placé à au moins 40cm de tous matériaux combustibles (rideaux, tentures, bois...).
MISE EN SERVICE
Afin de conserver à l'appareil son aspect impeccable, il conviendra de prendre les précautions suivantes lors de la mise en service : avant l'allumage, nettoyer à l'eau légèrement savonneuse toutes les pièces et parties extérieures et essuyer avec un chiffon doux; pendant que l'appareil s'échauffe, essuyer régulièrement avec un chiffon doux et sec les exsudations et condensations qui apparaissent sur les surfaces. Le fonctionnement du radiateur obéit à une vanne thermostatique.
SECURITE
La veilleuse des convecteurs gaz est équipée d'une sécurité thermoélectrique. Si la veilleuse s'éteint pour une raison ou l'autre, l'alimentation en gaz du brûleur et de la veilleuse sera automatiquement coupée. Il n'y a donc aucun risque d'échappement de gaz non brûlé.
L'appareil devra être remis en service pour fonctionner à nouveau. Il est bon d'attendre quelques minutes avant de procéder au rallumage de la veilleuse. En aucun cas, le rallumage ne peut être effectué endéans les trois minutes. Nos appareils sont munis d'un hublot garni d'une vitre en verre réfractaire. Lorsque la vitre est cassée ou fissurée, l'appareil ne peut être utilisé que lorsque la réparation a été effectuée.
ENTRETIEN
Quelques conseils: pour nettoyer la vitre souillée extérieurement, arrêter l'appareil et attendre son refroidissement complet. Utiliser un chiffon humide ou imbibé d'alcool et laisser sécher (dans le cas d'alcool, attendre dix minutes avant de rallumer). Les pièces émaillées et les pièces chromées doivent être nettoyées froides. Pour l'émail, utiliser une éponge humide, légèrement savonneuse. Rincer et sécher soigneusement. Ne pas laisser des taches de liquides acides (vinaigre, citron). Enlever les taches de graisse à l'eau très chaude, additionnée de cristaux de soude ou de tout autre produit commercial recommandé pour l'entretien de l'émail. N'utilisez jamais sur les pièces chromées ou dorées de produits mordants, abrasifs, chiffons métalliques, sous peine de les rayer. Aucun encrassement intérieur de votre convecteur n'est à craindre.
Remarque :
La première mise à feu entraîne toujours une odeur de brûlé qui disparaît définitivement après quelques heures de fonctionnement. Après cette première mise à feu, il convient donc parfois de nettoyer la vitre avec un chiffon doux et un produit de nettoyage standard pour vitre.
RECOMMANDATIONS
Raccorder l'appareil à l'aide de tubes métalliques uniquement. L'emploi d'un tuyau flexible en caoutchouc est strictement interdit. Lorsque l'appareil est mis hors service, fermer le robinet d'arrêt sur la canalisation de gaz. Faut-il rappeler que toute fuite de gaz se signale par une odeur caractéristique. Il faut procéder comme suit: fermer le robinet d'arrêt général: ouvrir portes et fenêtres; vérifier si aucun robinet n'est resté ouvert. Si ces opérations s'avèrent insuffisantes, fermer le compteur et prévenir l'installateur ou le service du gaz. Il est formellement interdit de rechercher les fuites au moyen d'une flamme. L'étanchéité des canalisations sera vérifiée à l'aide d'eau savonneuse ou d'un produit spécial du commerce.
Important: En pénétrant dans un local ou l'on perçoit une odeur de gaz, il est essentiel de ne pas fumer, de ne pas produire de flamme, de ne pas manœuvrer un interrupteur ou un appareil électrique quelconque. La puissance de l'appareil ne doit pas être surévaluée par rapport au volume à chauffer.
VERSION EMAILLEE
Les fendillements qui se produisent sur une pièce émaillée et qu'en terme de métier nous appelons « trésaillures » ne peuvent en aucun cas constituer un défaut de fabrication. Ces fendillements sont le résultat d'une différence de coefficient de dilatation entre la fonte et l'émail; ils ne nuisent du reste en rien à la parfaite adhérence de l'émail.
ATTENTION: POUR VOTRE SECURITE
Faites installer votre appareil par un professionnel compétent. En cas de problèmes, adressez-vous directement à lui. Demandez-lui de vous procurer des pièces originales NESTOR MARTIN, attention aux contrefaçons. Dans le cas d'une utilisation dans une crèche ou tout autre local où la présence d'enfants, de personnes âgées et/ou d'infirmes est possible, il est recommandé de prévoir une protection afin d'éviter les contacts avec les surfaces actives.
FONCTIONNEMENT DE L'APPAREIL
Allumage manuel de la veilleuse
Vérifiez que le câble d'allumage est raccordé à la cosse piezo

text_image
NO(NOTE: pour l'utilisation avec télécommande, ce câble doit être raccordé au récepteur et non pas à la cosse piezo).
Basculer l'interrupteur sur la vanne en position d'allumage (1).

text_image
Position d allimage ( 1 ) . MAN NO30
Tourner le sélecteur en position "MAN". Une douille métallique est visible.

text_image
MAN NOEnfoncer la douille à l'aide d'un stylo ou autre outil pour amener le gaz à la veilleuse. Tout en tenant la douille enfoncée, appuyer l'allumeur piezo une ou plusieurs fois pour allumer la veilleuse. (au cas où le piezo n'est pas raccordé, il est également possible d'allumer la veilleuse avec une allumette).

text_image
MAN ON NOallumeur piezo
Maintenir la douille enfoncée encore 10 secondes. Répéter éventuellement si la veilleuse ne reste pas allumée. Si l'étincelle ne se produit pas avec le piezo, vérifier le conducteur, les raccords et la bougie.
Lorsque la veilleuse est allumée, laisser remonter le douille et le tourner le sélecteur jusqu'à la position "ON"

text_image
MAX NOAllumage manuel du brûleur
Tourner le bouton de commande pour allumer le brûleur et ajuster l'allure voulue.

text_image
T-450 NO MAN NO
Extinction manuelle du brûleur
Tourner le bouton de commande dans le sens horlogique jusqu'à la position "OFF" pour éteindre le brûleur et remettre l'appareil en mode veilleuse. La veilleuse d'allumage peut toujours rester allumée, elle vous permet alors une utilisation rapide de votre appareil.

Extinction de la veilleuse
Si vous prévoyez de ne pas utiliser l'appareil pour une longue durée, appuyer sur l'interrupteur (position O) pour éteindre la veilleuse.

ATTENTION: lisez attentivement ces instructions avant utilisation. La G6R-H4T1 doit être installée et utilisée selon les normes en vigueur dans votre région.
Composants du kit G6R-H4T1:
Commande à distance
(avec thermostat et programmateur horaire intégrés)

text_image
13 5:49~Récepteur Câble

Utiliser des vis 2,9 type DIN7981, longueur max. 5mm
Attention: Lors de l'installation du récepteur, vérifiez que l'ouverture du capteur est positionnée de façon à pouvoir recevoir les ondes de son.

text_image
Fiche pour la vanne Fiche pour le récepteurDonnées techniques
Transmission par ultrason Portée 1-10m (3'-33')
Fréquence ON 40,5 KHz; OFF 40 kHz
Température ambiante
Télécommande et récepteur: max. 60°C (140°F)
Piles
Câbles max. 180°C (356°F)
Télécommande
1×9V
Récepteur
4 × 1,5 V
Connexions

text_image
sélecteur pour allumage manuel bosse de connexion piezo allumeur piezo bouton B connexion gaz (veilleuse) bouton de commande microswitch connexion récepteur Vanne GV60 équipée de connexions pour le Kit Télécommande G6R-H4T1Télécommande: mode d'emploi
La télécommande peut être utilisée dans trois modes de fonctionnement différents: Manuel, Thermostatique et Timer
Manuel: dans ce mode de fonctionnement, tout les réglages d'allure du feu se font manuellement avec les touches ▲ et ▼
Thermostatique: dans ce mode de fonctionnement, tout les réglages d'allure du feu se font automatiquement pour maintenir la température programmée. Il est possible de programmer une température de jour et une de nuit.
Timer: dans ce mode de fonctionnement, tous les réglages d'allure du feu se font automatiquement et par périodes. Vous avez la possibilité de programmer deux températures désirées ainsi que les horaires des cycles de fonctionnement de votre appareil. Ce système convient bien, si, par exemple, vous souhaitez qu'il fasse 20°C entre 7h00 et 15h00 et qu'il fasse 22°C entre 18h00 et 6h00.
Même si vous utilisez votre kit télécommande en mode TIMER, vous avez toujours la possibilité de commande manuelle avec les touches ▲ et ▼

text_image
88.8°F°C BATT 88:00 am pm P1 P2 MAN TEMP TIMER SET OFF STAND BYConfiguration de l'affichage
- Appuyer les touches OFF et ▼ en même temps pour quelque secondes pour basculer entre l'affichage anglo-saxon (degrés Fahrenheit et horloge à 12 heures) ou l'affichage international (degrés Celsius et horloge à 24 heures)
Réglage de l'heure
• Appuyer les touches ▲ et ▼ en même temps, et l'affichage commence à clignoter.
• Utiliser la touche ▲ pour changer l'heure et la touche ▼ pour changer les minutes.
• Appuyer sur OFF pour valider votre choix ou attendre le retour automatique après environ 15 secondes.
Allumage automatique de l'appareil
- Appuyer les touches & et ▲ simultanément. Un signale sonore confirme le début du séquence d'allumage.
- Si la veilleuse était déjà allumée, il suffit d'appuyer la touche ▲ et le brûleur s'allume directement.
Extinction du brûleur
- Appuyer la touche ▼ et tenir quelque secondes pour éteindre le brûleur principal et passer en mode veilleuse. La mode veilleuse vous permet un rallumage rapide à la prochaine utilisation.
Extinction complet de l'appareil (brûleur et veilleuse)
- Si vous prévoyez de ne pas utiliser l'appareil pour une longue durée, appuyer la touche OFF pour éteindre le brûleur principal ainsi que la veilleuse.
Sélection du mode d'opération
- Appuyer la touche SET plusieurs fois pour changer le mode d'opération. Vous pouvez choisir entre Manuel (MAN), Température de jour (TEMP), Température de nuit (TEMP), ou Timer (TIMER)
Réglage manuel de la hauteur des flammes
- Appuyer ▲ pour augmenter l'allure du feu. Le symbole MAN s'affiche à l'écran, qui signifie que vous êtes en mode manuel.
- Appuyer ▼ pour diminuer l'allure du feu.
- Le symbole (transmission) apparaît à l'écran quand l'un de ces deux boutons est appuyé.
- Des petites impulsions rapides permettent un changement progressive de la hauteur de flamme.
Programmation de la température désirée
- Appuyer SET pour sélectionner le mode d'opération: température de jour (✗TEMP) ou de nuit (✗TEMP)
- Appuyer SET et tenir enfoncé quelque secondes jusqu'à ce que l'affichage commence à clignoter.
- Utiliser les touches ▲ et ▼ pour régler la température désirée.
- Appuyer sur OFF pour valider votre choix ou attendre le retour automatique après environ 10 secondes.
- Si vous souhaitez que l'appareil s'éteigne la nuit, appuyer ▼ jusqu'à ce que -- s'affiche sur l'écran.
- Un capteur à l'intérieur de la télécommande mesure la température ambiante. Le contrôleur compare la température ambiante avec la température désirée et envoi un signal au récepteur de régler l'allure du feu.
Réglage du programmateur horaire
- Appuyer SET pour sélectionner le mode d'opération TIMER
- Appuyer SET de nouveau pendant environ quatre secondes jusqu'à ce que le symbole P1 ✉ clignote (ceci signifie période 1 de jour)
- Régler l'heure du début de la première période de chauffage, en utilisant ▲ pour changer l'heure et ▼ pour changer le minutes.
- Appuyer TIMER de nouveau; le symbole P1 D apparaît. (ceci signifie période 1 de nuit)
- Régler l'heure du début de la première période de nuit.
- Maintenant appuyer TIMER pour programmer le début de la deuxième période de jour P2 ^☆ et le début de la deuxième période de nuit P2 ^D .
- Enregistrer les deux périodes que vous venez de programmer en appuyant TIMER encore une fois.
- Si vous ne désirez qu'une seule période de chauffage, programmer la même heure pour P2 ^☆ et P2 ^☆ .
Contrôle de Température en mode d'opération TIMER.
- Si vous êtes en mode d'opération Thermostatique (TEMP), vous pouvez contrôler à tout moment la température programmée
- Appuyer une fois sur la touche SET. La température programmée s'affichera à l'écran.
- Après environ trois secondes, la température ambiante reviendra à l'écran.
Entretien du kit Télécommande
- Pour prolonger la durée de vie des piles, passer en Manuel en appuyant ▼ avant d'éteindre complètement votre appareil de chauffage. Si vous laissez la télécommande en mode thermostatique ou TIMER, les piles continueront à s'user pendant que l'appareil est éteint.
- Si le symbole BATT apparaît sur l'écran ou si l'affichage devient moins visible, changer les piles de la télécommande ou du récepteur.
Notes
L'emplacement de la télécommande est important pour assurer un réglage précis de la température. Généralement, une température plus constante sera assurée si la télécommande n'est pas trop loin de l'appareil de chauffage. Néanmoins, il est déconseillé d'utiliser la télécommande à moins d'un mètre du récepteur car dans de rares cas, ceci pourrait produire une erreur de commutation électronique. Cette erreur pourrait bloquer le moteur quand le bouton arrive aux l'extrémités de sa course. Pour le débloquer, tourner le bouton manuellement.
Pour que les fonctions TEMP et TIMER puissent être efficaces, il faut que la télécommande soit dans sa portée (de 1m à 10 m)
La température est contrôlée par l'activation du moteur pendant une durée spécifique pour atteindre la hauteur de flammes nécessaire. Cette durée est déterminée par la télécommande et dépend des dimensions de la pièce, de la capacité de votre appareil de chauffage, du combustible, etc. Quelques cycles sont nécessaires avant que la durée optimale soit atteinte. Si une petite flamme est suffisante pour chauffer votre pièce à la température désirée, alors l'appareil basculera entre une petite flamme et l'extinction. Ceci permet des périodes prolongées de fonctionnement où la flamme est visible, et permet aussi une température plus constante.
INSTALLATEURS
OBJET
Cette partie est destinée à donner les instructions générales de placement de nos radiateurs. Elle s'adresse aux installateurs qualifiés qui seuls pourront réaliser l'installation suivant les règles de l'art.
TYPES D'INSTALLATIONS
Votre appareil est certifié pour plusieurs types d'installation:
A.) Sortie de buse verticale et à travers un mur extérieur.
B.) Sortie de buse horizontale et à travers un mur extérieur.
C.) Sortie de buse verticale et à travers le toit.
Dans toutes les installations, il faut respecter une distance minimum de 20cm entre l'arrière de l'appareil et le mur

C.
Reduction : 55mm pour G20 et 60mm pour G31
MONTAGE DES BUSES
- Tracer sur le mur le centre et le bas du trou à percer (pour installations de type A ou C, voir page 35). Il faut que le sol intérieur soit à niveau définitif, si non en tenir compte lors des mesures.
- Percer le trou d'évacuation de diam. 150 mm perpendiculairement au mur ou de préférence avec une pente de 1 à 3% vers l'extérieur.
Remarque : les dimensions de ces buses correspondent à une épaisseur de mur de +/- 583 mm.
Si la dimension de votre mur est inférieure à 583 mm il conviendra de recouper les buses E et D; pour ce :
- mesurer exactement l'épaisseur de votre mur M (enduits et crépis inclus)
- couper la buse E du côté opposé au trou Y à une longueur égale à l'épaisseur M du mur + 17 mm.
- couper la buse D du côté opposé au trou Z à une longueur égale à l'épaisseur M du mur + 47 mm.
Si la largeur de votre mur est supérieure à 583 mm et/ou si la hauteur du trou a percer dans le mur est supérieure à 1026 mm vous pouvez commander des rallonges d'un mètre.

text_image
630 714 Ø142 Ø114 45 30 600 330 446 70 Ø89 Ø145
- Emboîter la buse A (∅ 89 L 330mm) sur le buselot int. de l'appareil (le trou V toujours vers le haut).
- Emboîter la buse B (∅ 145 L 330 mm) sur le buselot ext. de l'appareil (le trou W vers le haut).
- Emboîter l'ensemble coude C sur ces deux buses (le trou X vers le haut).
- Placer la tête de ventouse G sur la petite buse D (∅ 89 L 630 mm), pousser la à butée, repérer et percer les 3 trous de fixation K de la tête de ventouse sur cette buse (forage ∅ 2 mm).
- Emboîter cette buse sur le coude C (le trou Z vers la ventouse) ainsi que la buse E (∅145 L 600 mm) (le trou Y vers la ventouse), replacer et fixer la ventouse G.
- Tracer et forer sur la buse E, 2 trous opposés ∅ 2 mm correspondant à 2 trous du treillis de la ventouse, y visser les 2 vis inox.
- Emboîter les buses dans le trou ∅ 150 mm du mur, réaliser un joint entre la buse et le mur.
- Faites le raccordement gaz.
Remarque : Vérifier si les cotes de montage sont bien respectées ainsi que le bon placement de la ventouse. Le mur ou sera placé l'appareil devra supporter une température de 75°C. Si pas, prévoir une protection thermique.

text_image
12 42Dans le cas d'une installation à travers un mur (type A), respectez une distance de 12mm entre le mur et le conduit intérieur, et une distance de 42mm entre le mur et le bord de la grille.
RACCORDEMENT GAZ
Il est indispensable de prévoir un robinet de barrage facilement accessible sur la canalisation de gaz avant le radiateur. Le raccordement se fera en tuyaux métalliques rigides et sera d'un diamètre suffisant pour assurer, à l'entrée de l'appareil, la pression prévue au tableau des caractéristiques de fonctionnement du radiateur.
PLACEMENT
Avant leur sortie de l'usine tous nos radiateurs sont minutieusement contrôlés et scellés pour le gaz dont le type est indiquée par une étiquette placée au dos de l'appareil. Si les conditions de distribution correspondent aux normes admises pour ce gaz, nos appareils peuvent être directement installés et mis en service. Voici les dispositions particulières à prendre pour cette installation qui, par ailleurs, se fera en conformité avec les règlements existants pour tout raccordement d'appareil gaz.
Belgique: norme N.B.N. D 51003. Placer un robinet d'arrêt agréé A.R.G.B.
France : Arrêté du 2 août 1977 relatif aux Règles de sécurité applicables aux installations de gaz combustible
- Norme DTUP45-204 - Règlement Sanitaire Départemental
VEILLEUSE
Les flammes de la veilleuse doivent avoir une longueur suffisante pour dépasser la sonde de ± 10mm. Si la sonde du thermocouple est insuffisamment chauffée, soit par une baisse anormale de pression soit par suite d'une coupure de gaz ou par déviation de la flamme de veilleuse, l'appareil se met en sécurité. On peut régler la veilleuse par action sur la vis 5 de la vanne. Visser = diminuer et inversement.

Les appareils gaz naturels sont réglés et scellés en usine, et ne nécessitent aucun réglage. La pression du brûleur doit être conforme aux indications des caractéristiques de fonctionnement du radiateur. Utiliser un manomètre de pression permettant une lecture de pression allant jusqu'à 5000 Pascal au moins. Le brûleur étant à l'arrêt, dévisser la vis intérieure de l'embout de la prise de pression se trouvant sur le bloc porte-injecteur ou à la sortie de la vanne.
Y brancher le flexible du manomètre.
- Allure nominale: la température du bulbe doit être inférieure à 25°C. Mettre le bouton de la vanne sur la position d'ouverture maximale. Contrôler la pression indiquée par le manomètre. Pour changer cette pression, suivre les instructions données au paragraphe qui décrit la vanne et la veilleuse.
- Allure réduite: la température du bulbe doit être supérieure à 18°C. Mettre la manette de la vanne sur la position qui précède l'extinction du brûleur. Le brûleur doit à ce moment fonctionner au débit réduit. Contrôler la pression sur le manomètre. Si elle n'est pas conforme à celle du tableau des caractéristiques de fonctionnement du radiateur, suivre les instructions données par celui-ci.
DESCRIPTION DE LA VANNE
Vanne MERTIK MAXITROL GV60

text_image
OL GV60 1 2 3 4 5 6 7 8- bouton de commande
- sélecteur d'allumage manuel
- vis de réglage ralenti
- vis de réglage débit maxi
- vis de réglage du débit de veilleuse (avec tournevis)
- prise de pression alimentation
- prise de pression brûleur
- cosse de raccordement pour allumeur piezo (tab 2,8 x 0,8mm)
- Réglage de l'allure nominale
Si la pression au brûleur est inférieure à celle qui est indiquée dans le tableau des caractéristiques du radiateur, tourner la vis 4 dans le sens anti-horlogique. Si la pression est trop élevée, tourner dans le sens contraire. N.B.: la vanne est munie d'un réglage de débit pour le gaz naturel scellé en usine à la pression conforme.
- Réglage de l'allure réduite
Cette position est fixée par la vis de réglage n° 3. Visser = diminuer et inversement.
- Réglage de la veilleuse
La vis 5 permet l'ajustement du débit veilleuse (dévisser = augmenter le débit - visser = diminuer le débit). Tourner le sélecteur en position "ON" pour accéder à la vis 5. N.B.: les préréglages sont effectués en usine. Un débit trop faible peut entraîner de légères explosions tandis qu'un débit trop élevé engendre une grande consommation. Le réglage doit s'effectuer à l'aide d'un tournevis.
Remarque: lorsque l'appareil est arrêté durant la période d'inertie du thermocouple (30 à 50 secondes), une sécurité empêche le rallumage immédiat de l'appareil.
- Conversion
Les appareils sont fournis d'usine en catégorie gaz naturel.
N.B.: Avant l'expédition, les appareils sont vérifiés et scellés par une touche de couleur. Nous ne pouvons plus garantir le bon fonctionnement de l'appareil si l'un ou l'autre des sceaux a été détruit. Les appareils sont vérifiés et scellés pour tous les gaz G20 et G25 (pour ces gaz, aucun réglage n'est nécessaire, seul un contrôle des pressions et de l'étanchéité doivent être effectués après installation).
VEILLEUSE MERTIK MAXITROL G30-ZP1

Les appareils sont agréés en catégorie II _2E+3P . Si l'appareil doit fonctionner avec un gaz différent de celui pour lequel il a été scellé en usine (G20), il faut faire les modifications suivantes :
- remplacer l'injecteur par l'injecteur conforme (voir tableau des caractéristiques de fonctionnement). Le perçage des injecteurs est renseigné en centièmes de mm. Ne pas oublier les joints d'étanchéité, bloquer convenablement l'injecteur.
- remplacer l'injecteur de veilleuse
- vérifier et faire les réglages MAX et MIN suivant les pressions du tableau des caractéristiques.
- régler la bague d'air.
- Coller l'étiquette « REGLÉ PROPANE ».
N.B. : Avant l'expédition, les appareils sont vérifiés et scellés par une touche de couleur. Nous ne pouvons plus garantir le bon fonctionnement de l'appareil si l'un ou l'autre des sceaux a été détruit. Les appareils sont vérifiés et scellés en gaz naturel (voir plaquette signalétique). En cas de transformation, ne pas oublier de coller l'étiquette « REGLÉ PROPANE ».
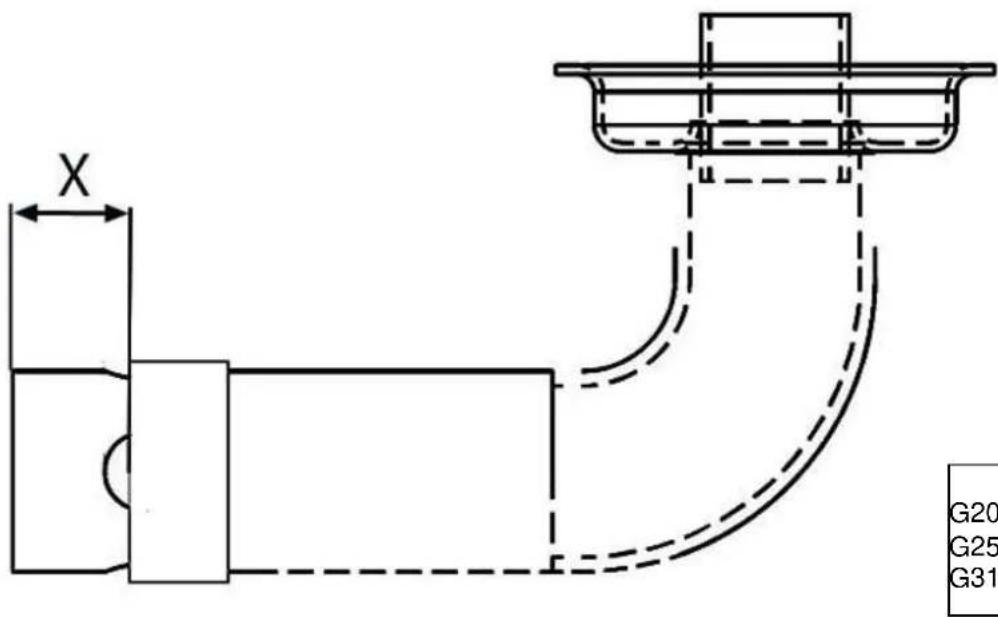
- Réglage de la bague d'air

text_image
X G20 G25 G31$$ \begin{array}{c} \hline X = \ G 2 0 = 2 0 \mathrm{mm} \ G 2 5 = 2 0 \mathrm{mm} \ G 3 1 = \text { maximum } \end{array} $$
REGLAGE DU LOQUET DE LA PORTE
Votre appareil est équipé d'un loquet de porte réglable. Pour un fonctionnement correct, la fermeture de la porte doit être étanche lorsqu'elle est fermée. Pour régler le loquet, dévisser l'écrou de serrage puis avancer ou reculer l'écrou de réglage selon le besoin. Ensuite resserrez l'écrou de serrage. Régler de façon à ce que la porte soit étanche lorsque la poignée est complètement fermée.

text_image
axe écrou de réglage loquet écrou de serrageGARANTIE
NESTOR MARTIN garantit aux propriétaires de cet appareil pendant la période de garantie stipulée plus bas que l'appareil est dépourvu de défaut de matière et de fabrication. Cette garantie est assortie des conditions spécifiées ci-dessous.
La carte de garantie ci-dessous doit nous parvenir dans les 15 jours qui suivent l'installation de l'appareil. Cette garantie est limitée au remplacement des pièces et ne couvre pas la main d'œuvre. Tous les frais de main d'œuvre pour le remplacement des pièces sont à votre charge.
| 1 AN 5 ANS | |
| VANNEBRULEURVEILLEUSEPIECES EMAILLEES OU LAQUEES | CHAMBRE COMBUSTION |
Exclusions :
- La rouille due à la condensation n'est pas couverte.
- Les bruits de dilatation ou rétraction lors de l'allumage et de l'extinction ne sont pas couverts
- Les éclats ou les dommages des surfaces émaillées ou laquées déclarés plus de 7 jours après l'installation ne sont couverts par aucune garantie. Inspectez votre poêle avant de l'accepter pour déceler tout défaut de l'émail.
- La garantie ne couvre pas le thermocouple, les injecteurs, la vitre, les imitations bûches.
Toutes les opérations de maintenance et/ou de remplacement de pièces doivent être effectuées pour vous par une société d'entretien ou un spécialiste, reconnu par les distributeurs NESTOR MARTIN. Pour obtenir une intervention de la garantie pour une pièce défectueuse, faites remplacer la pièce et renvoyez la pièce défectueuse au distributeur NESTOR MARTIN pour inspection. Si le défaut est couvert par la garantie, la pièce de rechange ne vous sera pas facturée. Les frais de transport de la pièce de rechange et le retour de la pièce défectueuse sont à votre charge. Ce remplacement ou cette réparation en garantie sera soumis aux termes et conditions de cette garantie pour le restant de la période couverte d'origine.
Cette garantie ne couvre aucun défaut ni problèmes de fonctionnement dus à un accident, un usage abusif, inapproprié, des modifications, une mauvaise installation ou un mauvais entretien ou maintenance.
Le nettoyage du brûleur ou de la veilleuse et les frais de déplacement d'un agent NESTOR MARTIN auprès d'un utilisateur ne sont pas couverts par la garantie. Un appareil acheté emporté dans un magasin n'est pas garanti par l'usine.
Toute intervention sous garantie ne peut s'effectuer que via un installateur reconnu par NESTOR MARTIN. Dans le cas contraire, les frais d'intervention sont dus de plein droit.
∀
CARTE DE GARANTIE A DETACHER ET A RENVOYER A THERMIC DISTRIBUTION. GARANTIEKAART TERUG TE STUREN NAAR THERMIC DISTRIBUTION.
NOM/NAAM......
ADRESSE/ADRES......
MODELE/MODEL......
DATE D'ACHAT/ AANKOOPDATUM....SERIE/ REEKS.....
VEUILLEZ GARDER UNE COPIE POUR VOTRE USAGE PERSONNEL GELIEVE EEN KOPIJ TE BEWAREN VOOR UW PERSOONLIJK GEGRUIK
Cachet de l'installateur/Stempel van installateur
Notice Facile