PF 3.6 - Tapis de course Pro-form - Notice d'utilisation et mode d'emploi gratuit
Retrouvez gratuitement la notice de l'appareil PF 3.6 Pro-form au format PDF.
| Caractéristiques techniques | Tapis de course Pro-form PF 3.6 avec moteur de 2,5 CV, inclinaison jusqu'à 10%, surface de course de 51 x 140 cm, vitesse maximale de 16 km/h. |
|---|---|
| Utilisation | Idéal pour un usage domestique, convient pour la marche et la course, programmes d'entraînement intégrés. |
| Maintenance et réparation | Lubrification régulière de la ceinture, vérification des connexions électriques, nettoyage de la surface de course. |
| Sécurité | Système d'arrêt d'urgence, poignées avec capteurs de fréquence cardiaque, cadre robuste pour une stabilité accrue. |
| Informations générales | Poids maximal de l'utilisateur : 115 kg, dimensions repliées : 80 x 70 x 140 cm, garantie de 2 ans sur le cadre. |
FOIRE AUX QUESTIONS - PF 3.6 Pro-form
Questions des utilisateurs sur PF 3.6 Pro-form
0 question sur cet appareil. Repondez a celles que vous connaissez ou posez la votre.
Poser une nouvelle question sur cet appareil
Téléchargez la notice de votre Tapis de course au format PDF gratuitement ! Retrouvez votre notice PF 3.6 - Pro-form et reprennez votre appareil électronique en main. Sur cette page sont publiés tous les documents nécessaires à l'utilisation de votre appareil PF 3.6 de la marque Pro-form.
MODE D'EMPLOI PF 3.6 Pro-form
N°. du Modèle. PETL40507.0
N° de Série
Écrivez le numéro de série sur la ligne ci-dessus pour références ulté-rieures.

QUESTIONS?
En tant que fabricant nous nous engageons à satisfaire notre clientèle entièrement. Si vous avez des questions ou si des pieces sont manquantes, veuilles nous contacter au :
(33) 0810 121 140
du lundi au jeu de 9h00 à 13h00 et de 14h00 à 18h00, le vendredi de 14h00 à 17h00 (à l'exception des jours fériés).
email:csfr@iconeurope.com www.iconsupport.en
ATTENTION
Lisez toutes les précautions et les instructions contenues dans ce manuel avant d'utiliser cet appar. pareil. Gardez ce manuel pour vous y reférer ulterieurement.
MANUEL DE L'UTILISATEUR


Notre site Internet
www.iconeurope.com
TABLE DES MATIÈRES
EMPLACEMENT DES AUTOCOLLANTS D'AVERTISSEMENT 2
PRECAUTIONS IMPORTANTES 3
AVANT DE COMMENCER 5
ASSEMBLAGE 6
FONCTIONNEMENT ET RÉGLAGES 13
COMMENT PLIER ET DEPLACER LE TAPIS DE COURSE 20
LOCALISATION D'UN PROBLEME 22
CONSEILS POUR L'EXERCICE 25
LISTE DES PIECES 26
SCHEMA DETAILLLE 28
POUR COMMANDER DES PIECES DE RECHANGE . Derniere Page
INFORMATION RELATIVE AU RECYCLAGE Derniere Page
EMPLACEMENT DES AUTOCOLLANTS D'AVERTISSEMENT
Les autocollants d'ajretissement illustrés sur cette page sont collés aux endroits indiqués.
Si un autocollant est manquant ou illisible,appelez le numero de téléphone sur la page de couverture de ce manuel, et commandez un nouvel autocollant gratuite.
Placez le nouvel autocollant à l'endetroit indiqué. Remarque : les autocollants ne sont peut-etre pas illustrés à l'échelle.
ATTENTION
Gardez vos pieds et vos mains éloignés de cet endroit quand le tapis roulant est en marche.

ATTENTION
Protégéz-vous et toute autres personnes des risques de blessures. L'histoire, Lize le manuel et:

Tenez-vous仅仅 sur les photos-giels lorsqu'elles commencerce ou arrêtes la tapis roulant.
- Change the village progressivement.
- Ten-every tousages in a village of 15 e-détte tomber and portes tousés à l'atache (2004)
-
Uses the tapis roulant.
-
Arémité tout exercice
- Le casque est faissée, à l'homme, au once ne saut le vertige ou la soutte coupe.
-
Leois qu'il doit être faissée, il deviennent de désplaner ou qu'il est tâge roulant.
-
Inclination duifre de la vie, le peuple est en ce moment de pape au tips de l'origine.

- N'a laissezée (jaume ne sait pas le tapis ou au cours du tapis)
- une恋人 Changez le nombre d'evues, ne utilise pas le langage de l'homme.

Gandez vos habits,
vois douiga et vois
chien de la couraille.
- Ne régles ou ne repa
zej腱ais la couraille
- Il est en mouvement.

- Portez toutes des chaussure de sport lorsqu'you utilise les tepis roulement.
PRECAUTIONS IMPORTANTES
ATTENTION: pour réduire les risques de blessures graves, lisez toutes les précou-tions importantes et les instructions contenues dans ce manuel, ainsi que les averissements se trou-vant sur le tapis de course, avant d'utiliser votre tapis de course. ICON ne peut être tenu responsable de toute blessure ou tout dégât matériel resultant directement ou indirectement de l'utilisation de cet apparéil.
- Consultez votre médecin avant d'entrepreneure un programme d'exercice. Tout particulièrement les personnes âgées de plus de 35 ans ou les personnes qui ont déjà eu des problèmes de santé.
- Le propriété est responsable d'informer tous les utilisateurs de ce tapis de course des avertissements et des conseils importants qui se rattachent à l'utilisation de ce produit.
- Utilisez le tapis de course selon les usages décrits.
- Installez le tapis de course sur une surface plate avec au moins 2,4 m d'espace derrière le tapis de course et 0,6 m de chaque cote. Ne l'installez pas sur une surface qui empêche rait la circulation d'air de l'appareil. Pour protégger votre sol, placez un revêtement sous le tapis de course.
- Gardez le tapis de course à l'intérieur, loin de l'humidité et de la poussière. Ne mettez pas le tapis de course dans un garage ou sur une terrasse couverte, ou pres d'une source d'eau.
- Ne faites pas fonctionner le tapis de course dans une piece ou des produits aerosols sont utilisés et ou de l'oxygène est administré.
- les enfants de moins de 12 ans et les animaux domestiques éloignés du tapis de course à tout moment.
- Le tapis de course ne doit pas supporter plus de 113 kg.
- Jamais plus d'une personne à la fois sur le tapis de course.
- Portez des vêtements de sport appropriés quand vous utilisez le tapis de course. Ne portez pas de vêtements trop amples qui pouraient se coincer dans le tapis de course. Les vêtements de support sont recommends pour les hommes et les femmes. Portez tou
jours des chaussures de sport. N'utilise jamais le tapis de course les pieds nus, en chaussettes, ou en sandales.
- Veuillez brancher le cordon d'alimentation (voir page 13) directement sur une prise capable de soutenir au moins 8 ampères. Aucun autre appeareil ne devrait etre branché sur le même circuit.
- Si vous avez besoin d'une rallonge, utilisez seulement un cordon de 1,5 m maximum.
- Evitez de placer le cordon d'alimentation pres d'une source de chaleur.
- Ne déplacez jamais la courroie quand l'appareil est à l'arrêt. Ne faites pas fonctionner le tapis de course si le cordon d'alimentation ou la prise est endommagé(e) ou si le tapis de course ne fonctionne pas correctement. (Voir LOCALISATION D'UN PROBLÈME à la page 22 si le tapis de course ne fonctionne pas correctement.)
- Veuillez tire attentivement et comprendre les procédures d'arrêt d'urgence et les tester avant d'utiliser le tapis de course (voir COMMENT ALLUMER LE TAPIS DE COURSE à la page 15).
- N'allumez jamais le tapis de course quand vous vous tenez sur la courroie mobile. Tenez toujours les rampes quand vous utilisez le tapis de course.
- Le tapis de course peut se déplacer à des vicesses élevées. Ajustez la vitesse progressivement de manière à éviter des changements de vitesse soudains.
-
Le capteur cardiaque n'est pas un apparéil Médical. De nombreux facteurs, tels les mouvements de l'utilisateur pendant l'exercice, peuvent rendre la lecture du rythme cardiaque moins précise. Le capteur ne sert qu'à donner une idée approximative des fluctuations du rythme cardiaque lors de l'exercice.
-
Ne laissez pas le tapis de course en marche sans surveillance. Enlevez toujours la clé, débranchez le cordon d'alimentation et placez l'interrupteur Remise à Zéro/Éteint sur la position Éteint lorsque vous n'utilise pas le tapis de course. (Voir le schéma page 5 pour localiser le coupe-circuit.)
- N'essayez pas de soulever, de rabaisser ou de déplacer le tapis roulant avant que ce dernier ne soit assemblé. (Référez-vous à L'assemblage à la page 6, et COMMENT PLIER ET DEPLACER LE TAPIS ROULANT à la page 20.) Pour pouvoir soulever, abaiser, ou déplacer le tapis roulant, vous doivent capable de soulever 20kg sans difficulté.
-
Quand vous rangez le tapis de course, assurez-vous que le loquet de rangement soit fermé complètement dans le verrou.
-
N'insérez pas d'objet dans les ouvertures du tapis de course.
-
Vérifiez et serrez correctement toutes les pieces du tapis de course régulièrement.
-
DANGER: débranchez toujours le cordon d'alimentation immédiatement après usage, avant de nettoyer le tapis de course et avant d'effectuer les procédures d'entretien et de réglage décrites dans ce manuel. N'enlevez jamais le capot du moteur à moins d'en être avis par un représentant de service autorisé. Les ajustements autres que ceux décrits dans ce manuel ne doivent être effectués que par un représentant de service autorisé.
- Ce tapis de course est conçu pour un usage à titre personnel. Le tapis de course ne doit pas être utilisé dans une institution commerciale ou pour la location.
GARDEZ CES INSTRUCTIONS
AVANT DE COMMENCER
Merci d'avoir besoin le tapis de course PROFORM® PF 3.6. Le tapis de course PF 3.6 offre une palette de fonctionnalités conçues pour rendre vos exercices à la maison plus agreables et plus efficaces. De plus tard que vous ne vous exercez pas, l'exceptionnel PF 3.6 peut être pié prénant ainsi moins d'espace (la moitié) que les autres tapis de course.
Veuillez lore attentivement ce manuel avant d'utiliser le tapis de course. Si vous avez des questions
concernant cet apparéil, voir la page de couverture de ce manuel. Pour mieux nous assister, notez le numéro du modèle et le numéro de série de l' apparéil avant de nous appeler (voir la page de couverture de ce manuel pour son emplacement).
Familiarisez-vous avec les pieces sur le schéma cédssous avant de continuer la lecture de ce manuel.

ASSEMBLAGE
L'assemblage requiert deux personnes. Placez le tapis de course sur une aire dégagée et enlevez les emballages. Ne jetez pas les emballages avant d'avoir terminé l'assemblage du tapis de course. Remarque: le dessous de la courroie du tapis de course est enduite d'un lubrifiant très efficace. Il se peut que durant l'expédition une petite quantité de lubrifiant se soit transférée sur le dessus de la courroie ou sur le carton d'emballage. Ceci n'affecte pas la performance du tapis de course. S'il y a du lubrifiant sur la courroie mobile, nettoyez avec un chiffon doux et un détergent non-abrasif.
L'assemblage requiert les clés hexagonales incluses, toute tournevis cruciforme ,能力和 molette , et ciseaux .
Identifie les petites pieces utilisées lors de l'assemblage. Le nombre entre parentes sous chaque schéma se refère au numéro clé de la piece dans la LISTE DES PIEÇES, à la fin de ce manuel. Le nombre après la parente est la quantité requise pour l'assemblage. Remarque: si vous ne pouvez pas couver une piece dans le sac des pieces, vérifie si les pieces sont déjà attachées. Pour éviter d'endommager les pieces en plastique, n'utilise pas d'outils ELECTriques pour l'assemblage.

Vis de M4,2 x 19mm (1)-4

Vis de M4,2 x 25mm (2)-4

Vis de M4 x 20mm (3)-2

Écrou de Blocage de 3/8" (31)-3

Bague d'Espacement du Coussin de la Base (104)-2

Rondelle Etoilee de M4,2 (70)-2

Rondelle Etoilee de M8 (10)-6


Rondelle Etoilee de M10 (8)-4
Bague d'Espacement du Boulon (79)-4

Boulon de M8 x 25mm (6)-6

Boulon de M10 x 96mm (5)-4
Boulon de 3 / 8''× 2'' (27)-3
1. Assurez-vous que le cordon d'alimentation est branche.
Rétirez l'Écrou de M10 (33), le Boulon de M10 x 50mm (4), et le support d'emballage (A) de la Base (85). Repetez cette étape sur l'autre côté du tapis de course. Jetez les supports d'emballage.

- Assisted'une autre personne, faites basculer delicatement le tapis de course sur le cote gauche. Pliez partiellement le Cadre (48) de façon a ce que le tapis de course soit plus stable. Ne pliez pas complètement le tapis de course avant d'avoir terminé son assemblage.
Coupez l'attaché de fil qui maintient le Fil du Montant (77) sur la Base (85). Localisez l'attaché sur le trou indiqué sur la Base et utilisez l'attaché pour tirer le Fil du Montant hors du trou.
Attachez un Coussin de la Base (81) sur la Base (85), à l'endetroit indiqué, à l'aide d'une Bague d'Espacement du Coussin de la Base (104) et d'une Vis de M4,2 x 25mm (2). Ensuite, attachez de Coussins de la Base aux endroit indiqué, à l'aide uniquement de Vis de M4,2 x 25mm (2).

- Attachez une Roue (86) à l'aide du Boulon de M10 x 50mm (4) et de l'Écrou de M10 (33) que vous avez retire lors de l'étape 1. Ne serrez pas excessivelyment l'Écrou; la Roue doit tournier librement.

- Identifiez le Montant Droit (78) et la Bague d'Espacement du Montant Droit (80) sur lesquels se trouvent des autocollants. Insérez le Fil du Montant (77) dans la Bague d'Espacement du Montant Droit, comme illustré.
Référez-vous au schéma en encadré. Attachez l'attache de fil sur le Montant Droit (78) autour de l'extrémité du Fil du Montant (77). Avec l'aide d'une deuxième personne, placez le Montant Droit pres de la Base (85). Ensuite, tirez l'autre extrémité de l'attache de fil jusqu'à ce que le Fil du Montant passée dans le Montant Droit.

- Placez une Bague d'Espacement du Boulon (79) à l'intérieur de l'extrémité inférieure du Montant Droit (78). Enforcez un Boulon de M10 x 96mm (5) avec une Rondelle Étoilée de M10 (8) dans le Montant Droit et la Bague d'Espacement du Boulon. Répétez cette étape avec une deuxième Bague d'Espacement du Boulon (79), un Boulon de M10 x 96mm (5) et une Rondelle Étoilée de M10 (8).
Tenez la Bague d'Espacement du Montant Droit (80) et le Montant Droit (78) contre la Base (85). Faites attention de ne pas pincer le Fil du Montant (77). À la main, vissez les Boulons de M10 x 96mm (5); ne serrez pas encore complètement les Boulons.
Insérez ensuite un Embout de la Base (82) dans la Base (85).

- Avec l'aide d'une deuxième personne, soulevez doucement le tapis roulant sur son cote droit comme illustré. Pliez en partie le Cadre (58) de manière à ce que le tapis roulant soit plus stable. Ne pliez pas complètement le tapis roulant avant de l'avoir complètement assemblé.
Attachez un Coussin de la Base (81) sur la Base (85), à l'endetroit indiqué, à l'aide d'une Bague d'Espacement de la Base (104) et une Vis de M4,2 x 25mm (2). Ensuite, attachez de Coussins de la Base (81) aux endroit indiqué avec des Vis de M4,2 x 25mm (2) uniquement.
Attachez une Roue (86) à l'aide du Boulon de 3 / 8'' × 2'' (27) et l'Écrou de M10 (33) que vous avez retire lors de l'étape 1. Ne serrez pas excessivement l'Écrou; la Roue doit tournier librement.

- Avec l'aide d'une deuxième personne, tenez une Bague d'Espacement du Boulon (79) à l'intérieur de la partie inférieure du Montant Gauche (73). Insérez un Boulon de M10 x 96mm (5) à l'aide d'une Rondelle Étoilée de M10(8) dans le Montant Gauche et la Bague d'Espacement du Boulon. Repétez cette étape avec une第二种 Bague d'Espacement du Boulon (79), un Boulon de M10 x 96mm (5) et une Rondelle Étoilée de M10 (8).
Orientez le Montant Gauche (73) et la Bague d'Espacement du Montant Gauche (83), comme illustré. Placez la Bague d'Espacement du Montant Gauche et le Montant Gauche contre la Base (85). À la main, vissez les Boulons de M10 x 96mm (5); ne serrez pas encore complètement les Boulons.

Insérez ensuite un Embout de la Base (82) dans la Base (85).
Avec l'aide d'une deuxieme personne, basculez le tapis de course de maniere a ce que la Base (85) soit a plat sur le sol.
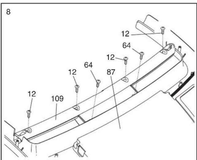
- Placez la Console (87) face au sol sur une surface douce pour éviter de la rayer. Retirez les quatre Vis de M5 x 20mm (12) et les deux Vis de M5 x 15mm (64). Gardez les six Vis pour l'étépe 10.
Soulevez et enlevez le Support Cardiaque (109).

- Identifie la Rampe Droite (90) qui a un trou à l'endroit indiqué. Placez la Rampe Droite pres de la Console (87).
Ensuite, insérez l'attache à la fil de la console dans le grand trou sur la Rampe Droite (90) pour les faireoir par le haut, comme illustré. Inserrez I'attache en plastique inclus, dans les trous sur la Rampe Droite, comme illustré. Assurez-vous que I'attache en plastique soutient la vis de la console au cote, comme illustré.Serrez I'attache en plastique.
Attachez la Rampe Droite avec deux Vis de M4,2 x 19mm (1). Assurez-vous qu'aucun fil n'est pince. Vissez les deux Vis de quelques tours avant de les serrer; ne serrez pas excessivement les Vis. Retirez l'attache en plastique.
Fixez la Rampe Gauche (non illustrée) sur la Console (87) de la même manière. Remarque : Il n'y a pas de fils sur le cote gauche de la Console.
- Placez le Support Cardiaque (109) pres de la Base (88). Branchez le fil de terre de la Base de la Console dans le Fil de Terre de la Console (115) sur le Support Cardiaque. Placez le Support Cardiaque sur la Base de la Console et insérez les fils de terre dans la Base de la Console. Assurez-vous qu'aucun fil n'est pince.
Vissez deux Vis de M4 x 20mm (3) avec deux Rondelles Etoilées de M4,2 (70) dans le Support Cardiaque (109).
Serrez les quatre Vis de 4,2 x 16mm (12) et deux Vis de M5 x 15mm (64) de l'etape 8 dans le Support Cardiaque (109) et dans la Base de la Console (88). Vissez les six Vis de quelques tours chacune avant de les serrer complètement.


- Demandez ensuite à une deuxième personne de tener l'assemblage de la console prés du Montant Droit (78). Retirez l'attache plus long du Fil du Montant (77) et l'attache du fil de la console.
Branchez le Fil du Montant (77) sur le fil de la console. Rêférez-vous au schéma en encadré. Les connecteurs devraient glisser facilement l'un dans l'autre et s'enclencher en place. Si ce n'est pas le cas; tournez un connecteur et recommencez. SI LES CONNECTÉURS NE SONT PAS BRANCHÉS CORRECTEMENT, LA CONSOLE POT ETRE ENDOMMAGEE QUAND ELLE EST ALLUMÉE. Ensuite, insérez les connecteurs dans le Montant Droit (78).
Placez l'assemblage de la console sur le Montant Droit (78) et le Montant Gauche (non-illustré). Assurez-vous qu'aucun fil n'est pince.

11
12.À la main, vissez trois Boulons de M8 x 25mm (6) avec trois Rondelles Etoilées de M8 (10) dans le Montant Gauche (73) et la Rampe Gauche (89).
Ensuite, vissez trois Boulons de M8 x 25mm (6), à la main, avec trois Rondelles Étoilées de M8 (10) dans le Montant Droit (78) et la Rampe Droite (90). Ensuite, serrez les six Boulons.
Référez-vous aux étapes 5 et 7. Serrez les quatre Boulons de M10 x 96mm (5).
Enoncez le Plateau d'Accessoires Gauche (110) et le Plateau d'Accessoires Droit (111) dans la Base de la Console (88).

- Soulevez le Cadre (non-illustré) jusqu'à la position illustrée. Demandez à une deuxième personne de tener le Cadre jusqu'à ce que l'étépe 15 soit terminée.
Identifie l'Assemblage du Loquet (72). Assurez-vous que le manchon recouvre le trou indiqued et que le Bouton du Loquet (74) est enforcé dans le trou. Tirez le manchon pour vous assurer qu'il est verrouillé en place.

- Attachez le Support du Loquet (71) sur la Base (85) à l'aide de deux Boulons de 3/8'' × 2'' (27) et deux Écrous de Blocage de 3/8'' (31).
Attachez la partie supérieure de l'Assemblage du Loquet (72) sur le support sur le Cadre (48) à l'aide d'un Boulon de 3/8'' × 2'' (27) et d'un Écrou de Blocage de 3/8'' (31). Remarque : il sera peut-être nécessaire de déplacer le Cadre vers l'avant ou vers l'arrête pour aligner l'Assemblage du Loquet avec le support.
Baissez le Cadre (48) (voir COMMENT BAIS-SER LE TAPIS DE COURSE POUR L'UTILISER à la page 21).

- Assurez-vous que toutes les pieces sont serrées avant d'utiliser le tapis de course. Si les autocollants du tapis de course sont recouverts de films en plastique transparent, retirez-les. Placez un tapis sous l'apparil pour protégger vous sol ou votre moquette. Gardez la clé hexagonale incluse dans un endroit sur. La clé hexagonale est utilisée pour régler la courroie mobile (voir pages 23 et 24).
FONCTIONNEMENT ET RÉGLAGES
LA COURROIE MOBILE PRE-LUBRIFIÉE
Votre tapis de course est equiped'une couroie mobile enduite d'un lubrifiant haute performance. IORPANT ne vaporisez jamais de silicone ou quelqu'autre substance sur la couroie mobile ou sur la plateforme de support. Ces substances pourraient deteterier la couroie et causer de l'usure extrme.
INSTRUCTIONS DE MISE À LA TERRE
Cet apparéil doit être branché sur une prise de terre. S'il arrivait que cet apparéil ne fonctionne pas bien ou tombe en panne, le fait d'être branché sur une prise de courant de terre permet une résistance moindre au courant électrique, ce qui réduit les risques de chocs électriques. Ce produit est équipé d'un cordon avec un conducteur de mise à la terre et d'une prise mise à la terre.
Important: si le cordon d'alimentation est endommagé, il doit être remplace avec un cordon d'alimentation recommende par le fabricant.
Référez-vous au dessin numéro 1. Branchez l'extrémité indiquée du cordon d'alimentation dans la prise qui se trouve sur le tapis de course.
Référez-vous au dessin numéro 2. Branchez le cordon d'alimentation dans la prise de courant qui est correctement installée et qui est mis à la terre conformément aux codes et aux ordonnances locales. Important : le tapis de course n'est pas compatible avec les prises écipés d'un IMCT.


A DANGER : un mauvais branchement de l'équipement peut creer des risques de chocs électriques. Demandez l'aide d'unElectricien qualifié si vous avez des doutes quant à l'installation du tapis de course. Ne modifie pas la prise fournie avec le tapis de course. Si elle ne correspond pas à votre prise de courant, faites installer une prise de courant ajusté par un electricien qualifié.

PLACEMENT DE L'AUTOCOLLANT
S'il y a lieu, enlevez la fine feuille de plastique à l'avant de la console. Enlevez le revêtement sur la console. Les autocollants sur la console sont en angeais. Décollez l'autocollant en français de la feuille d'autocollants incluse et placez-le sur l'autocollant en angeais.
CHARACTERISTIQUES DE LA CONSOLE
La console du tapis de course est dotée d'un nombre impressionnant de fonctionnalités pour vous aider à tirer le maximum de vos entrainements.
Quand vous utilisez le mode manuel, vous pouvez changer la vitesse et l'inclinaison du tapis de course d'une pression de touche. Alors que vous vous entraînez, la console affiche des données en temps réel. Vous pouvez même mesurer votre rythme cardiaque à l'aide du capteur cardiaque manuel.
De plus, la console est équipée de cinq entrainements classiques et quatre entrainements de perte de poids. Chaque entrainment contrôle automatiquement la vi
tesse et l'inclinaison du tapis de course tout en vous guidant lors d'un entrainement efficace.
Pour utiliser le mode manuel de la console, suivez les étapes à partir de la page 15. Pour utiliser un entrainment classique, allez à la page 17. Pour utiliser un entrainment de perte de poids, allez à la page 18.
IMPORTANT: si la console est recouverte d'un film en plastique transparent, retirez-le. Pour éviter d'endommager la plate-forme de marche, portez des chaussures de sport propres quand vous utilisez le tapis de course. La première fois que vous utilisez le tapis de course, observez l'alignement de la courroie mobile et centrez-la ni nécessaire (voir page 24).
Remarque: la console peut afficher la vitesse et la distance en miles ou en kilométres. Pour才知道 l'unité de mesure sélectionnée ou pour changer l'unité de mesure, reférez-vous à la section LE MODE INFORMATION à la page 19. Remarque: pour plus de simplicité, toutes les instructions dans cette section se référent aux kilométres.
COMMENT ALLUMER L'APPAREIL
IMPORTANT: si le tapis de course a été entreprises à basse température, permettez-lui de revenir à la température ambiente avant de l'allumer. Si vous ne suivez pas cette consigne, les affichages de la console et d'autres composantes électriques peuvent être endommages.
Branchez le cordon d'alimentation (voir la page 13).
Localisez le coupe-circuit remise à zéro/éteint [RESET/OFF] sur le tapis de course, à côté du cordon d'alimentation. Assurez-vous

que le coupe-circuit est dans la position remise a zéro.
IMPORTANT : la console est équipée d'un mode « démo », Concu pour être utilisé quand un tapis de course est exposé dans un magasin. Vous pouvez savoir que le mode « démo » est allumé si les affichages s'allument quand vous branchez le cordon d'alimentation et que vous placez l'interrupteur sur la position Remise à zéro. Pour éteindre le mode « démo », appuyez sur la touche Arret [STOP] de la console pendant quelques secondes. Si les affichages restent allumés, reférez-vous à la section LE MODE INFORMATION à la page 19 pour éteindre le mode « démo »
Ensuite, montez sur les repose-pieds du tapis de course. Trouvez la pince attachée sur la clé (voir le schéma page 14) et glissez la pince sur la ceinture de vos vêtements. Ensuite, enforcez la clé dans la console. ÀpRES quelsques instants, les affichages s'allument. IMPORTANT : dans une situation d'urgence, la clé peut être tirée hors de la console, ce qui entraîne l'arrêt de la courroie mobile. Testez la pince en faisant quelques pas en arrêté ; si la clé ne sort pas de la console, réglez la position de la pince.
COMMENT UTILISER LE MODE MANUEL
- Insérez la clé complètement dans la console.
Voir COMMENT ALLUMER LE TAPIS DE COURSE à la gauche.
- Sélectionnez le mode manuel.
Quand la clé est enforcée dans la console, le mode manuel est sélectionné. Si un entrainment pré-enregistré à été sélectionné, retirez la clé de la console puis, réinsérez-la.
- Mettez la couroie mobile en marche.
Pourmettre la courroie mobile en marche,appuyez sur la touche Marche [START],la touche d'augmentation de la Vitesse [SPEED] ou une des [QUICK SPEED] touches numerotées de 2 à 16.
Si vous appuyez sur la touche Marche ou sur la touche d'augmentation de la Vitesse, la courroie mobile commencerà à tourné à 2 km/h. Alors que vous给您 entrainez, changez la vitesse de la courroie mobile comme vous le désirez en appuyant sur les touches d'augmentation ou de diminution de la Vitesse. À chaque pression de touche, la vitesse changera de 0,1 km/h; si vous appuyez de manière continue sur une touche, la vitesse changera par étape de 0,5 km/h. Remarque: le tapis de course peut prendre quelques secondes pour atteindre la vitesse sélectionnée.
Si vous appuyez sur une des touches numéroétées Vitesse Rapide, la courroie mobile accélère progrèssivement jusqu'à atteindre la vitesse sélectionné.
Pour arreter la couroie, appuyez sur la touche Arrêt [STOP]. Le temps se met à clignoter sur l'écran. Pour remettre la couroie mobile en marche, appuyez sur la touche Marche ou la touche d'augmentation de Vitesse.
- Modifier l'inclinaison du tapis de course comme désiré.
Pour changer l'inclinaison du tapis de course, appuyez sur les touches d'augmentation et de diminution de l'inclinaison [INCLINE]. Chaque fois que vous appuyez sur les touches d'augmentation et de diminution de l'inclinaison, l'inclinaison change de 0.5% . Remarque: après avoir appuyé sur une touche, le tapis de course peut prendre quelques instantes pour atteindre l'inclinaison selectionnée.
5. Suivez votre progression sur l'écran.
La piste—Lorsque le mode manuel est sélectionné, une piste représentant 400 metres (1/4 de mile) apparait sur l'écran. Alors que vous

marchez ou courez sur le tapis de course, les indicateurs autour de la piste s'allument les uns après les autres jusqu'à ce que toute la piste soit allumée. La piste disparaît alors et les indicateurs recommencent à s'allumer les uns après les autres.
La section inférieure
gauche—Alors que vous
vous entrainez, la section
inférieure gauche peut
afficher le temps [TIME]
écoulé et la distance

[DIST.] que vous avez parcourue en marchant ou en courrant. La section inférieure gauche affiche aussi l'inclinaison du tapis de course à chaque changement de niveau. Remarque : quand un entrainment est seLECTIONné, la section inférieure gauche affiche le temps restant avant la fin de l'entrainment只想 que le temps écoulé.
La section inférieure d'acroite-La section inférieure droite de I'écran ne peut afficher le nombre approximatif de calorie [CALS.] brûlées et la v

tesse [SPEED] de la couroie mobile. Cette section peut aussi afficher votre rythme cardiaque quand vous utilisez le capteur cardiaque (voir l'etape 6).
La section supérieure-La
section supérieure de I'ecran peut afficher le temps ecoulé, la

distance parcours en marchant ou en courant, la vitesse de la couroie mobile ou le nombre approximatif de calories brûlées. Appuyez sur la touche Affichage [DISPLAY] jusqu'à ce que la section supérieure de l'écran affiche l'information qui vous intéresse le plus. Remarque : pendant que l'information est affichée sur la section supérieure, la même information ne s'affiche pas sur la section inférieure droite ou gauche.
Pour remettre les affichages à zéro, appuyez sur la touche Arrêt [STOP], retirez la clé de la console puis réinsérez-la dans la console.
6. Mesurez vous rhythmé cardiaque, si vous le désirez.
Avant d'utiliser le capteur cardiaque de la poignee, retirez le film en plastique transparent des plaques métalliques du capteur cardiaque. De plus,

assurez-vous que vos mains sont propres
Pour mesurer votre rythme cardiaque, montez sur les repose-pieds et tenez la barre cardiaque, la paume de vos mains sur les plaques métalliques. Evitez de bouger les mains. Quand votre rythme cardiaque est détecté, un symbole en forme de cœur clignote sur la section inférieure droite de l'écran chaque fois qu'un battement de cœur est enregistré; ensuite, un ou deux tirets apparaisent puis, votre rythme cardiaque s'affiche. Pour une lecture plus précise du rythme cardiaque, continuez à tener les plaques métalliques pendant à peu près 15 secondes.
7. Quand vous avez fini de vous exercer, enlevez la clé de la console.
Montez sur les repose-pieds, appuyez sur la touche Arrêt et placez le tapis de course sur l'inclinaison la plus BASSE. L'inclinaison doit se couver sur le niveau le plus bas ou le tapis de course pourrait etre endommagé quand il est plie dans sa position de rangement. Ensuite, retirez la clé de la console et rangez-la dans un lieu sur.
Quand vous avez terminé votre entrainement sur le tapis de course, placez l'interrupteur Remise à zéro/Éteint sur la position Éteint [OFF] puis, débranchez le cordon d'alimentation. IMPORTANT : si vous ne faites pas cela, les composantes électriques du tapis de course peuvent s 用户 prématurémentpis de course peuvent s 用户 prématurément.
COMMENT UTILISER UN ENTRAINEMENT CLASSIQUE
- Insérez la clé dans la console.
Voir COMMENT ALLUMER LE TAPIS DE COURSE à la page 15.
- Sélectionnez un entrainment classique.
Pour selectionner un entrainement classique, appuyez sur la touche Entrainements Classiques [CLASSIC WORKOUTS].

Remarque: le numero et le profile de chaque entrainement sont listedes sur la console.
Quand vous scélectionnez un entrainment classique, le niveau maximum d'inclinaison clignote sur la section inférieure gauche de l'écran, la vitesse maximale programmesse clignote sur la section inférieure droite de l'écran puis, la durée de l'entrainment apparait sur la section supérieure de l'écran.
- Personnelisez votre entrainement, si désiré.
Appuyez sur les touches d'augmentation du temps [TIME] pour changer la durée de l'entrainment. Les nouveaux réglages de l'entrainment aparaisseront sur les écrons.
- Appuyez sur la touche Marche ou sur la touche d'augmentation de la Vitesse pour lancer l'entrainment.
Un moment après que la touche est appuyée, le tapis de course se reglera automatiquement aux premières vitesse et inclinaison d'entrainment. Tenez les rampes et commencez à marcher.
Chaque entrainement est divisé en 30 segments d'une minute, à moins d'avoir modifié la durée de l'entrainement (voir l'étape 3). Une vitesse et une inclinaison sont programmées pour chaque segment. Remarque: la même vitesse et/ou inclinaison peut être programmée pour deux segments consécutifs ou plus.
Durant l'entraînement, le profil indique votre progression. Le segment qui clignote sur le profil représenté le segment en cours de l'entraînement.

La hauteur du segment qui clignote indique la vitesse programmesse pour le segment en cours.À la fin de chaque segment, une série de son retentit et le segment suivant du profile se met à clignoter sur l'écran pour vous prévenir. Si une vitesse ou inclinaison différent sont programme pour le segment suivant, la vitesse ou inclinaison se met à clignoter sur l'écran pour vous prévenir.
L'entraînement continue ainsi jusqu'à ce que le dernier segment du profil clignote sur l'écran et que le dernier segment s'achève. La courroie mobile ra-lentit alors jusqu'à l'arrêt complet.
Si la vitesse ou l'inclinaison programmée est trop élevée ou trop BASSE à tout moment durant l'entrainment, vous pouvez la modifier manuellement en appuyant sur les touches de vitesse ou d'inclinaison. Remarque: quand le segment suivant de l'entrainment commence, le tapis de course se règle automatiquement sur la vitesse et l'inclinaison programmées pour le segment suivant.
Pour arrêter l'entrainment à tout moment, appuyez sur la touche Arrêt. Pour relancer l'entrainment, appuyez sur la touche Marche ou sur la touche d'augmentation de la vitesse. La couroie mobile commence à tourner à 2 km/h. Quand le segment suivant de l'entrainment commence, le tapis de course se règle automatiquement sur la vitesse et l'inclinaison programmées pour le segment suivant.
- Suívez votre progression sur l'écran.
Voir l'etape 5 à la page 16.
- Mesurez votre rythme cardiaque, si vous le désirez.
Voir l'etape 6 à la page 16.
- Quand vous avez fini de vous exercer, enlevez la clé de la console.
Voir l'etape 7 à la page 16.
COMMENT UTILISER UN ENTRAINEMENT DE PERTE DE POIDS
- Insérez la clé dans la console.
Voir COMMENT ALLUMER LE TAPIS DE COURSE à la page 15.
- Sélectionnez un entrainment de perte de poids.
Pour selectionner un entrainement de perte de poids, appuyez sur la touche Entrainements de Perte de Poids.
Remarque: le nombre et le profile de chaque entrainment sont listed sur la console.

Quand you selectionnez un entrainement de perte de poids, le niveau d'inclinaison de l'entrainement se met a clignoter dans la section inférieure gauche de I'ecran, la vitesse programmée clignote dans la section inférieure droite de I'ecran et la durée de I'entrainement apparait dans la section supérieure de I'ecran.
- Enregistrez votre poids, si désire.
Pour obtenir un décompte calorique plus précis, enregistrez votre poids dans la console en appuyant sur la touche d'augmentation et de diminution du Poids [Weight]. Remarque: une fois votre poids enregistré, il sera sauvégardi dans la mémoire.
- Appuyez sur la touche Marche ou la touche d'augmentation de la Vitesse pour commencer l'entrainment.
Quelques instants après avoir appuyé sur la touche, le tapis de course se règle automatiquement sur les premières vitesse et inclinaison programmées pour l'entrainment. Tenez les rampses et commencez à marcher.
Chaque entrainement est divisé en 30 segments d'une minute. Une vitesse et une inclinaison sont programmeses pour chaque segment. Remarque : la même vitesse et/ou inclinaison peut être programmée pour deux segments consécutifs ou plus.
Durant l'entrainment, le profile affiche votre progression. Le segment qui clignote représenté le segment de l'entrainment en cours. La hau

teur du segment qui clignote représenté la vitesse programmée pour le segment en cours. À la fin de chaque segment, une série desons retentit et le segment suivant du profile se met à clignoter. Si une vitesse ou une inclinaison différente est programmée pour le segment suivant, la vitesse ou l'inclinaison se met à clignoter sur l'écran pour vous avertir.
L'entraînement continue ainsi jusqu'à ce que le dernier segment du profil clignote sur l'écran et que le dernier segment s'achève. La couroie mobile ra-lentit alors jusqu'à l'arrêt complet.
Si la vitesse ou l'inclinaison est trop élevé ou trop basse à tout moment durant l'entrainment, vous pouvez la modifier manuellement en appuyant sur les touches de vitesse ou d'inclinaison. Remarque : quand le segment suivant de l'entrainment commence, le tapis de course se regle automatiquement sur la vitesse et l'inclinaison programmée pour le segment en cours.
Pour relancer l'entrainment, appuyez sur la touche Marche ou sur la touche d'augmentation de la vitesse. La courroie mobile commence à tourner à 2 km/h. Quand le segment suivant de l'entrainment commence, le tapis de course se règle automatiquement sur la vitesse et l'inclinaison programmes pour le segment suivant.
Important: le nombre de calories imprimé sur les profiles à droite sur la console sont des estimations du nombre de calories qui peuvent être brûlées durant l'entrainment. Le nombre réel de calories brûlées dépend de votre poids. De plus, si vous modifie manuellement la vitesse ou l'inclinaison du tapis de course durant l'entrainment, le nombre de calories brûlées sera affecté.
- Suivez votre progression sur l'écran.
Voir l'etape 5 à la page 16.
- MesurezVote rhythm cardiacque,si you le desirez.
Voir I'etape 6 à la page 16.
- Quand vous avez fini de vous exercer, enlevez la clé de la console.
Voir l'etape 7 à la page 16.
LE MODE INFORMATION
La console est équipée d'un mode information qui en-registre la distance totale parcourue par la courroie mobile et le nombre total d'heures d'utilisation du tapis de course. Le mode information permet aussi de seLECTIONner l'unité de mesure (miles ou kilomètres) et d'allumer ou d'éteindre le mode démo.
Pour selectionner le mode information, appuyez sur la touche Arret tout en insererant la clé dans la console, puis lâchez la touche Arret. Les informations suivantes apparaissent sur l'écran lorsque le mode information est selectionné :
Un « E » pour les miles an-glais ou un « M » pour les kilométres métriques apparait dans la section inférieure droite de l'écran. Appuyez sur la touche d'augmentation de la Vitesse pour changer l'unité

La section inférieure gauche affiche le nombre total de kilométres (ou miles) parcoursu par la courroie mobile.

La section supérieure de l'écran affiche le nombre total d'heures d'utilisation du tapis de course.
Remarque: la console est equipée d'un mode « démo », concu pour être utilisé quand un tapis de course est exposé dans un magasin.
Quand le mode « démo » est


allumé, la console fonctionne normalement quand vous branchez la prise d'alimentation, que vous placez l'interrupteur sur la position Remise à zéro et que vous enfontez la clé dans la console. Cependant, quand vous retirez la clé de la console, les affichages restent allumés, et les touches ne fonctionnent pas. Si le mode « démo » est allumé, un « d » apparait dans la partie inférieure droite de l'écran quand le mode information est selectionné. Pour allumer ou êtreindre le mode « démo », appuyez sur la touche de diminution de la Vitesse.
Pour sortir du mode information, retirez la clé de la console.
COMMENT PLIER ET DÉPLACER LE TAPIS DE COURSE
COMMENT PLIER LE TAPIS DE COURSE POUR LE RANGER
Avant de plier le tapis de course, ajustez l'inclinaison au niveau le plus bas. Si I'inclinaison n'est pas reglee au niveau le plus bas, le tapis de course peut-etre endomagé de maniere permanente. Debranchez ensuite le cordon d'alimentation. ATTENTION : vous devez etre capable de soulever 20kg pour pouvoir soulever, abaiser ou déplacer le tapis de course.
- Tenez fermement le cadre à l'endetroit indiqué par la flèche à droite. ATTENTION : pour éviter les blessures, ne soulevez pas le cadre à l'aide des reposepied plastique. Pliez les jambes et gardez le dos droit ; utilisez vos jambes et non votre dos pour soulever le tapis de course. Soulevez le tapis de course à mi-chemin de la position verticale.
- Soulevez le cadre jusqu'à ce que le bouton du loquet se verrouille en position de stockage. Assurez-vous que le bouton du loquet est bien verrouillé en position de stockage.
Placez un tapis sous le tapis de course pour proteger.
votre sol.N'exposez pas le tapis aux rayons directs
du soleil. Ne gardez pas le tapis de course dans la
position de rangement a des temperatures superieures a 30^ C (85^)


COMMENT DEPLACER LE TAPIS DE COURSE
Pour déplacer le tapis de course, pliez-le en position de rangement comme décrit ci-dessus. Assurez-vous que le bouton du loquet est bien verrouillé en position de stockage.
- Tenez une rampe et le cadre puis, placez un pied contre une des roues.
- Faites basculer le tapis de course vers l'arrière jusqu'à ce qu'il puisse rouler sur les roues. Déplacez le tapis de course jusqu'à l'endroit désiré avec précaution. Ne déplacez jamais le tapis de course sans l'avoir fait basculer vers l'arrière. Pour diminuer les risques de blessures, faites extrément attention quand vous déplacez votre tapis de course. N'essayez pas de déplacer le tapis de course sur une surface inégale.
- Placez un pied sur la roue et baissez doucement le tapis de course jusqu'à ce qu'il soit dans sa position de rangement.

COMMENT DEPLIER LE TAPIS DE COURSE
- Tenez l'extremité supérieure du tapis de course avec votre main droite. Tirez le bouton de loquet vers la gauche et tenez-le ainsi. Il se peut qu'il soit nécessaire de pousser le cadre vers l'avant pendant que vous poussez le bouton du loquet vers la gauche. Faites pivoter le cadre vers le bas et libreze le bouton du loquet.

- Tenez le tapis de course fermement des deux mains puis, baissez-le jusqu'au sol. ATTENTION: ne tenez pas uniquement les repose-pieds et ne l'chez pas le cadre jusqu'au sol. Pliez les jambes et gardez votre dos bien droit.

La plupart des problèmes du tapis de course peuvent être résolus en suivant les étapes ci-dessous. Trouvez les symptômes s'appliquant et suivez les étapes répertoriées. Si vous avez toujours des questions veuillez contacter le service à la clientèle.
PROBLEM: le tapis de course ne s'allume pas
SOLUTION : a. Assurez-vous que le cordon d'alimentation est branché dans une prise mise à la terre. (Voir page 13.) Si vous avez besoin d'une rallonge, utilisez seulement un cordon de 1,5 m maximum. Le tapis de course n'est pas compatible avec les prises équipées d'un IMCT.
b. Quand le cordon d'alimentation est branché, assurez-vous que la clé est complètement insérée dans la console.
c. Vérifiez le coup circuit remise à zéro/éteint sur le tapis de course pres du cordon d'alimentation. Si le coupe circuit dépasse de son socle comme illustré, le coupe circuit s'est déclenché. Pour le remettre en marche, attendez cinq minutes puis appuyez sur l'interrupteur.

PROBLEM: le tapis de course s'estint pendant l'emploi
SOLUTION :a. Verifiez l'interrupteur remise a zéro/éteint (voir le dessin ci-dessus). Si l'interrupteur s'est déclenché, attendez cinq minutes et appuyez sur le coup circuit.
b. Assurez-vous que le cordon d'alimentation est branché. Si le cordon d'alimentation est branché, débranche-à, attende z cinq minutes et branchez le cordon d'alimentation.
c. Enlevez la clé de la console. Réinsérez la clé dans la console.
d. Si le tapis de course ne fonctionne toujours pas, referez-vous à la page de couverture de ce manuel.
PROBLÈME : I'inclinaison du tapis de course ne change pas correctement
SOLUTION : a. Avec la clé dans la console, appuyez sur un des boutons d'Inclinaison. Alors que l'inclinaison change, enlevez la clé. Àpres quelques secondes, réinsérez la clé. Le tapis de course s'élevera automatiquement au niveau d'inclinaison maximum et ensuite returnera au niveau minimum. Ceci re-calibrera le système d'inclinaison.
PROBLEM : les écrans de la console ne fonctionnent pas correctement
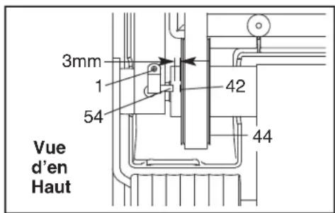
SOLUTION :a. Retirez la clé de la console et DEBRANCHÉZ LE CORDON D'ALIMENTATION. Retirez les trois Vis du Capot de M4,2 x 19mm (13) puis, retirez douce-ment le Capot (53) en le faisant pivoter.

Localisez le Capteur Magnétique (54) et l'Aimant (42) du côte gauche de la Poulie (44). Tournez la Poulie jusqu'à ce que l'Aimant soit aligné avec le Capteur Magnétique. Assurez-vous que l'espace entre l'Aimant et le Capteur Magnétique soit d'environ 3 mm. Si nécessaire, desserrez la Vis de M4.2 x 19mm (1), et déplacez légarement le Capteur Magnétique. Revissez la Vis. Rattachez le capot et faites marcher le tapis de coursependant quelques minutes pour vérifier que la lecture de vitesse est correcte.

PROBLÉME : Les affichages de la console restent allumés quand vous retirez la clé de la console
SOLUTION: a. La console est équipée d'un mode « démo », conscience pour être utilisé quand le tapis de course est exposé dans un magasin. Si les affichages restent allumés quand vous retirez la clé, le mode « démo » est allumé. Pour éteindre le mode « démo », appuyez sur la touche Arrêtpendant quelques secondes. Si les affichages restent allumés, reférez-vous à la section LE MODE INFORMATION à la page 19 pour éteindre le mode « démo »
PROBLÈME : La couroie mobile ralentit durant l'usage
SOLUTION : a. Si vous avez besoin d'une rallorge, utilisez seulement un cordon de 1,5 m maximum.
b. Si la couroie mobile est trop tendue, la performance du tapis de cours peut etre diminuée et la couroie mobile peut etre endommagee de maniere permanente. Retirez tout d'abord la clé de la console et DEBRANCHES LE CORDON D'ALI-MENTATION. A I'aide de la clé hexagonale, tournez les deux boulons d'ajustement du rouleau arriere dans le sens contraire des aiguilles d'une montre, 1/4 de tour. Une fois la couroie mobile serraee correctement, vous devriez pouvoir soulever chaque cote de la couroie mobile de 5 à 7 cm de la plate-forme de marche. Assurez-vous que la

courroie mobile est centree. Branchez le cordon d'alimentation, inserez la cle et mettez le tapis de course en marche pendant quelques minutes. Repetez l'opération jusqu'à ce que la courroie soit tendue correctement.
c. Si la couroie mobile ralentit toujours reférez-vous à la page de couverture de ce manuel.
SOLUTION :a. Si la couroie mobile n'est pas centree, retirez tout d'abord la clé de la console et DÉBRANCHEZ LE CORDON D'ALIMENTATION. Si la couroie mobile s'est décalée vers la gauche, utilisez la clé hexagonale pour tourner le boulon du rouleau arrrière gauche dans le sens des aiguilles d'une montre d'un demi-tour; si la couroie mobile s'est décalée vers la droite, tournez le boulon dans le sens contraire des aiguilles d'une montre d'un demi-tour. Faites attention de ne pas trop serrer la couroie mobile. Branchez le cordon d'ali

mentation, insérez la clé dans la console et faites fonctionner le tapis de course pendant quelques minutes. Répétez cette étape jusqu'à ce que la courroie mobile soit centrée.
b. Si la couroie glisse quand vous marchez dessus, retirez tout d'abord la clé de la console et DÉBRANCHÉZ LE CORDON D'ALIMENTATION.
À l'aide de la clé hexagonale, tournez les deux boulons d'ajustement du rouleau arrêté dans le sens des aiguilles d'une montre, 1/4 de tour.
Quand la courroie est serrée correctement, vous devriez pouvoir soulever chaque côte de la courroie mobile de 5 à 7 cm de la plate-forme de marche. Assurez-vous que la courroie est centré.
Branchez le cordon d'alimentation, insérez la clé et

faites fonctionner le tapis de course pendant quelques minutes. Répétez l'opération jusqu'à ce que la courroie soit tendue correctement.
CONSEILS POUR L'EXERCICE
ATTENTION: consultez notre medecin avant de commencerce programme, ou tout autre programme d'exercice. Ceci est tout particulièrement important pour les personnes de plus de 35 ans ou les personnes ayant des problèmes de santé.
Le détector cardiaque n'est pas un apparéil Médical. Divers facteurs peuvent réindre la lecture du rythme cardiaque moins précise. Le détector cardiaque est un outil pour l'exercice concu pour vous fournir une idée générale des fluctuations de votre rythme cardiaque.
Les conseils suivants vous aideront à planifier votre programme d'exercice. Pour plus de détails sur l'exercice, procurez-vous un livre réputé sur le sujet, ou consultez votre médecin. Une alimentation équilibrée et un repos ajustat sont aussi essentiels pour la réussite de votre programme.
INTENSITE DES EXERCICES
Que vous objectif soit de brûler de la graisse ou de renforcer vos système cardio-vasculaire, la clé de la réussite est de s'entrainer à la bonne intensité. Vous pouvez utiliser vos rythme cardiaque comme repère pour trouver le niveau d'intensité approprié. Le tableau ci-dessous indique les rythmes cardiaques recommends pour brûler de la graisse, pour brûler un maximum de graisse et pour des exercices aérobics.
| 165 | 155 | 145 | 140 | 130 | 125 | 115 | |
| 145 | 138 | 130 | 125 | 118 | 110 | 103 | |
| 125 | 120 | 115 | 110 | 105 | 95 | 90 | |
| 20 | 30 | 40 | 50 | 60 | 70 | 80 |
Pour déterminer le niveau d'intensité approprié, trouvez vosage en bas du tableau (les âges sont arrondis à la dizaine supérieure). Les trois nombres au-dessus de vosage définissant vous « zone d'entrainment ». Le nombre du bas est le rythme cardiaque approprié pour brûler de laGRAisse. Le nombre du milieu est le rythme cardiaque approprié pour brûler un maximum de graisse, et le nombre du haut est le rythme cardiaque pour des exercices aérobics.
Brûler de la Graisse—Pour brûlér efficacement de la graissse, vous doivent «rentrainer» à une intense modérépendant une période de temps soutenue. Durant les premières minutes d'effort, votre corps utilise des calories de glucide pour générer de l'énergie. Il faut plusieurs minutes d'effort pour que votre corps commence àpuiser dans ses calories de graissse pour générer de l'énergie. Si votre objectif est de brûlér de la graissse, réglez l'intensité de vos exercices pour que votre rythme cardiaque soit proche du nombre du bas dans votre zone d'entraine ment. Pour brûlér un maximum de graissse, entrainez-vous de manière à ce que votre rythme cardiaque soit proche du nombre du milieu dans votre zone d'entraine ment.
Des Exercices Aerobics—Si vous objectif est de renforcer votre système cardio-vasculaire, vousdezvezeffectuer des exercices aeroabics, une activite qui requiert de grandes quantités d'oxygène pendant une période de temps soutenue. Pour des exercices aeroabics, reglez l'intensité de vos exercices jusqu'à ce que vous rhythmé cardiaque soit proche du nombre du haut dans votre zone d'entrainment.
ENTRAINEMENT CONSEILLÉ
Un échauffement—Commencez votre entrainement par 5 à 10 minutes d'étirements et d'exercices légers.
L'échauffement fait monter la température de votre corps, accélère votre rythme cardiaque et votre circulation pour vous préparer à l'effort.
Des exercices dans votre zone d'entrainment
Entrainez-vous pendant 20 à 30 minutes en maintainant votre rythme cardiaque dans votre zone d'entrainment. (Durant les premières semaines de votre programme d'exercice, ne maintainez pas votre rythme cardiaque dans votre zone d'entrainment pendant plus de 20 minutes.) Respiriez profondement et de manière régulière pendant vos exercices—ne retenez jamais votre souffle.
Le retard à la normale—Finissez votre entrainment avec 5 à 10 minutes d'étirements. Les étirements augmentent la flexibilité de vos muscles et aident à prévenir les maux qui survientment après l'exercice.
FREQUENCY DES EXERCICES
Pour maintenir ou améliorer votre forme physique, effec-tuez trois entrainements par semaine, avec au moins un jour de repos entre chaque entrainement. Àpres quelques mois d'exercice régulier, vous pourrez effectuer jusqu'à cinq entrainements par semaine, si vous le dési-rez. Souvenez-vous que la clé du succès est de faire de vos exercices un élément régulier et/agréable de votre vie de tous les jours
LISTE DES PIECES—N° du Modèle PETL40507.0
R0907A
Pour identier les pieces ci-dessous, refrez-vous au SCHEMA DETAILLE à la fin de ce manuel.
N°. Qte. Description N°. Qte. Description
1 11 Vis de M4,2 x 19mm
24 Vis de M4,2 x 25mm
32 Vis de M4 x 20mm
42BoulondeM10x50mm
54BoulondeM10x96mm
6 6 Boulon de M8 x 25mm
71 Rondelle Etoilede 3/8"
84 Rondelle Etoilée de M10
94 Ecrou de M8
106 Rondelle Etoilée de M8
11 5 Vis du Panneau Ventral de M4,2 x 13mm
12 21 Vis de M4.2 x 16mm
13 3 Vis du Capot de M4,2 x 19mm
142 Vis de M8x 30mm
15 2 Vis de M8 x 90mm
162BoulondeM10x30mm
172BoulondeM6x76mm
18 1 Boulon de 3 / 8'' x 1 3/4"
19 1 Boulon de 3 / 8'' x 1 1/2"
20 2 Boulon de 3 / 8'' x 1"
21 1 Boulon de M6 x 45mm
223 Vis de Terre de M4.2 x 16mm
23 8 Vis de M5 x 25mm
24 2 Boulon de 1 / 4'' x 3 / 8''
25 2 Boulon de 3 / 8'' x 3 / 4''
26 1 Boulon de 3 / 8'' × 4''
27 4 Boulon de 3 / 8'' × 2''
28 7 Vis de M4,2 x 13mm
29 2 Rondelle de Verrouillage M6
30 2 Rondelle de M6
31 5 Ecrou de Blocage de 3 / 8^
32 2 Écrou du Moteur de 3/8"
332 Écrou de M10
34 1 Clé Hexagonale de 6mm
35 4 Amortisseur de la Plate-forme
364 Ecrou de Verrouillage de 3/8"
37 3Pince du Capot
382 Ecrou a Cage
402 Coussin Central de la Plate-forme
41 2 Guide de la Courroie
421 Aimant
43 1 Courroie du Moteur
461 Plate-forme de Marche
471 Repose-pied Droit
481 Cadre
49 1 Autocollant d'Avertissement
502 Plaque du Support du Rouleau Arriere
51 1 Pied Gauche
52 1 Pied Droit
531 Capot
541 Capteur Magnétique
55 1 Attache du Capteur Magnétique
56 2 Bague d'Espacement du Cadre
57 1 Cadre d'Elevation/Fil de Terre du Rouleau
581 Moteur d'Inclinaison
592 Support du Rouleau Arriere
60 1 Moteur
61 1 Support du Moteur
623 Attache de Fil du Cadre d'Elevation
63 1 Cadre d'Elevation
64 2 Vis de M4,2 x 19mm
65 1 Cordon d'Alimentation
66 1 Contrôleur
671 Réceptacle
68 1 Interrupteur Remise à Zéro/Éteint
69 1 Panneau Ventral
70 3 Rondelle Etoilée de M4,2
71 1 Support du Loquet
721 Assemblage du Loquet
73 1 Montant Gauche
741 Bouton du Loquet
756Vis de M4,2 x 19mm
76 2 Isolateur du Moteur
77 1 Fil du Montant
78 1 Montant Droit
794 Bague d'Espacement du Boulon
801 Bague d'Espacement du Montant Droit
81 4 Coussin de la Base
82 2 Embout de la Base
831 Bague d'Espacement du Montant Gauche
84 2 Autocollant de Précaution
851Base
86 2 Roue
871 Console
88 1 Base de la Console
891 Rampe Gauche
90 1 Rampe Droite
91 2 Embout de la Rampe, Inférieur
92 2 Attache de Fil
93 1 Clé/Pince
94 2 Attache Flexible
95 7 Attache de Fil de 8"
96 1 Adaptateur du Cordon d'Alimentatic
971 Support du Systeme Électronique
98 3 Attache de Fil de 15 1/2"
99 1 Bague d'Espacement du Moteur d'Elevation
100 1 Rouleau Arriere
101 1 Clé Hexagonale
102 1 Cadre d'Elevation/Fil de Terre de la Base
103 2 Embout du Cadre
104 2 Bague d'Espacement du Coussin de la Base
105 1 Clé Hexagonale de 4mm
106 1 Clé Hexagonale de 5mm
107 1 Filtre
108 1 Transformateur
109 1 Support Cardiaque
110 1 Plateau d'Accessoires Gauche
111 1 Plateau d'Accessoires Droit
112 2 Embout Supérieur de la Rampe
113 1 Plaque du Moteur
114 1 Fil du Moteur d'Inclinaison
115 1 Fil de Terre de la Console
116 1 Embout du Loquet
117 1 Vis de M4 x 10mm
118 1 Ecrou de Terre de M4
119 4 Vis de M2,5 x 5.5mm
120 2 Vis de la Clé de M3 x 13mm
1214 Prince
122 1 Plaque Cardiaque Supérieure Gauche
123 1 Plaque Cardiaque Inférieure Gauche
124 1 Plaque Cardiaque Supérieure Droite
125 1 Plaque Cardiaque Inférieure Droite
126 2 Vis de M4,2 x 19mm
127 1 Vis de Terre de M5
- Fil Bleu de 8", 2F
- Fil Bleu de 16", M/F
- Fil Noir de 12", M/F
- Fil Noir de 4", 2F
- Fil Vert de 10", F/R
- Fil Vert/Jaune de 8", F/R
- Fil Blanc de 8", 2F
- Fil Rouge de 6", M/F
* - Manuel de l'Utilisateur
- Ces pieces ne sont pas illustrées.
Les specifications sont sujettes à des changements sans préavis.




POUR COMMANDER DES PIECES DE RECHANGE
Pour commander des pieces de rechange, refrez-vous à la page de couverture de ce manuel. Pour faciliter voitappe, merci de preparer les informations suivantes avant de nous appeler :
- le numero du modele et le numero de série de l'appareil (voir la page de couverture de ce manuel)
- le nom de l'appareil (voir la page de couverture de ce manuel)
- le numero de la pièce et la description de la/des pièce(s) (voir la LISTE DES PIEÇES et le SCHEME DÉTÀILLÉ vers la fin de ce manuel)
Ce produit électronique ne doit pas être éliminé avec les déchets Municipaux. Afin de préserver l'environnement, ce produit doit être recyclé au terme de sa durée de vie utile comme l'exige la loi.
Veuillez utiliser des installations de recyclage autorisées à collecter ce type de déchets dans votre région. En agissant ainsi, vous aiderez à préserver les ressources naturelles et à améliorer les normes européennes en matière de protection de l'environnement. Si vous avez besoin de plus d'informations concernant les méthodes correctes et sûres d'élimination des déchets电子iques, contactez les services municipaux de votre localité ou l'établissement où vous avez achété ce produit.

Notice Facile