MD 10685 - Machine à coudre QUIGG - Notice d'utilisation et mode d'emploi gratuit
Retrouvez gratuitement la notice de l'appareil MD 10685 QUIGG au format PDF.
| Type de machine | Machine à coudre électrique |
| Nombre de points de couture | 15 points différents |
| Largeur de point réglable | Jusqu'à 5 mm |
| Longueur de point réglable | Jusqu'à 4 mm |
| Enfile-aiguille automatique | Oui |
| Type de canette | Canette horizontale |
| Accessoires inclus | Pied de biche, canettes, aiguilles, tournevis |
| Poids | Environ 5 kg |
| Dimensions | 30 x 15 x 25 cm |
| Alimentation | 230 V, 50 Hz |
| Consommation énergétique | 60 W |
| Garantie | 2 ans |
| Instructions de sécurité | Ne pas utiliser près de l'eau, débrancher après utilisation |
| Maintenance | Nettoyage régulier, lubrification des pièces mobiles |
| Utilisation recommandée | Couture de tissus légers à moyens |
FOIRE AUX QUESTIONS - MD 10685 QUIGG
Questions des utilisateurs sur MD 10685 QUIGG
0 question sur cet appareil. Repondez a celles que vous connaissez ou posez la votre.
Poser une nouvelle question sur cet appareil
Téléchargez la notice de votre Machine à coudre au format PDF gratuitement ! Retrouvez votre notice MD 10685 - QUIGG et reprennez votre appareil électronique en main. Sur cette page sont publiés tous les documents nécessaires à l'utilisation de votre appareil MD 10685 de la marque QUIGG.
MODE D'EMPLOI MD 10685 QUIGG
Composants principaux

Composants principaux
1 Antenne télécopique avec guide-fils
2 Broche à bobine
3 Porte-bobine
4 Sellecteur de tension du fil pour le boucleur inférieur
5 Guide-fil
6 Volant manuel
7 Plaque de base
8 Prise pour la pedale
9 Fiche d'alimentation
10 Capot avant
11 Repose-bras
12 Bras libre
13 Plaque à aiguille
14 Pied-de-biche
15 Reglages de longeur de coupe et d'entrainement du tissu
16 Selecteur de tension du fil pour le boucleur supérieur
17 Levier du pied-de-biche
18 Sellecteur de tension du fil pour l'aiguille gauche
19 Selecteur de tension du fil pour l'aiguilee droite
20 Plaque guide-fil
Mécanique de couture
1 Boucleur supérieur
2 Boucleur inférieur
3 Levier de déverrouillage du bras libre
4 Bras libre
5 Couteau inférieur
6 Bouton de réglage pour de dispositif de coupe
7 Pied-de-biche
8 Couteau supérieur
Mécanique de couture

Sommaire
Consignes de sécurité 3
Ne pas laisser d'appareils électriques entre les mains des enfants . . . . . .3
Cordon d'alimentation et raccordement au réseau 3
Ne jamais réparer soit même l'appareil 4
Remarks fondamentales 4
Manipulation sure de I'appareil 4
Avant d'utiliser la machine 6
Accessoires 6
Réglage de l'antenne téléscopique avec guide-fils 6
Portobobine 6
Couvercles de bobines 7
Raccorder la pedale 7
Contrôle de la vitesse de couture 7
Interrupteur de sécurité 8
Mise en place du bac à déchets 8
Utilisation 9
Volant manuel 9
Capot avant 9
Bras libre 9
Enfilage du fil dans les boucleurs 10
Enfilage du fil dans les aiguilles 12
Testedefonctionnement 14
Réglage de la tension du fil 15
Réglage de la tension du fil pour les fils d'aiguille 16
Réglage de la tension du fil pour les fils de boucleur 16
Vue d'ensemble des réglages de la machine 17
Changement de fil 18
Poignée de transport 18
Réglage de la longueur de point 19
Réglage de la longueur de point 19
Réglage de la largeur de coupe 20
La largeur de coupe appropriée 20
Régler une largeur de coupe plus réduite 20
Régler une largeur de coupe plus grande 21
Remplacement des aiguilles 22
Remplacement de I'ampoule 23
Remplacement des couteaux 24
Créer une chaînette d'arrêt à maille serrée ou large avec trois fils 25
Sommaire
Couture surbras libre 26
Ourlets à jours et galonnage 27
Régler le pied-de-biche pour la couture d'ourlets à jours 27
Couture d'ourlets à jours 28
Couture de bordures fines 28
Transport différentiel 30
Mode de fonctionnement 30
Réglage du transport différentiel 30
Bordures de tricots inégales et lissage 32
Éviter les fronces en étirant 32
Dépannage 33
Nettoyage et lubricification 35
Recyclage 36
Caracteristiques techniques 37
Consignes de sécurité

A propos de ce mode d'emploi
Avant d'utiliser l'appareil pour la première fois, lisez attentivement le present mode d'emploi et voirlez sur tout à vous conformer aux consignes de sécurité! Toute action subie par et effectuee avec cet appeareil doit se dérouler tel que décrit dans ce mode d'emploi. Le present mode d'emploi fait partie intégrante du produit. Conservez toujours ce mode d'emploi à proximé de l'appareil. Si vous vendez ou donnez l'appareil, pensez également à remettre ce mode d'emploi.
Ne pas laisser d'appareils electriques entre les mains des enfants
Les enfants ne se rendent pas compte des dangers liés à l'utilisation d'appareils ELECTriques.
Cet apparéil n'est pas destiné à être utilisé par des personnes (y compris les enfants) dont les capacities physiques, sensorielles ou mentalles sont limitées ou qui manquent d'expérience et/ou de connaissances, sauf si elles sont surveillées par une personne responsable de leur sécurité ou qu'elles ont reçu de cette personne les instructions pour utiliser l' apparéil.
Surveillance les enfants afin de garantir qu'ils ne jouent pas avec l'appareil. Conservez donc toujours l'appareil hors de la portée des enfants.
Conservez également les films d'emballage hors de la portée des enfants. Risque d'asphyxie!
Cordon d'alimentation et raccordement au réseau
Branchez l'appareil uniquement dans une prise de courant aisément accessible (230 V ~ 50 Hz) située à proximé du lieu d'installation. La prise doit rester accessible s'il devait s'avérer nécessaire de débrancher rapidement l'appareil.
Pour débrancher la fiche, tirez toujours sur la fiche elle-même et jamais sur le cordon.
Déroulez entièrement le cordon avant d'utiliser la machine.
Le cordon ne doit pas entraer en contact avec des surfaces chaudes.
Pour les actions suivantes, éteignez la machine et débranchez la fiche de la prise : enfilage, changement d'aiguille, réglage du pied-de-biche, remplacement de l'ampoule, opérations de nettoyage et d'entretien ainsi
Consignes de sécurité
qu'à la fin des travaux de couture et lors de toute interruption de l'ouvrage.
Ne jamais réparer soit même l'appareil

En cas de dommage de l'appareil ou du cordon d'alimentation, débranchez immédiatement la fiche de la prise de courant. Si le cordon d'alimentation est endommagé, faites-le replacer par le fabricant, son service après-vente ou une personne aux qualifications similaires afin d'éviter tout danger.
N'essayez enaucun cas d'ouvrir et/ou de réparer vous même l'appareil. Vous risqueriez de vous electrocuter! En cas de problème, adressez-vous à notre Centre de service ou à un autre atelier spécialisé.
Remarques fondamentales
La machine ne doit pas etre mouilllee: risque d'electrocution!
Ne laissez jamais la machine sans surveillance lorsqu'elle est allumée.
N'utilisez pas la machine en plein air.
Mettez l'appareil en service uniquement avec la pédale fournie de type
KD 2902.
Manipulation sûre de l'appareil
La machine est équipée de pieds ventouées pour une stabilité parfaite. Veiliez cependant à installer la machine sur une surface de travail plane et stable et à ce que les quatre pieds reposent bien sur la surface de travail.
En cours d'utilisation, les fentes d'aération ne doivent pas etre obstruées : veillez a ce qu'aucun objet (p. ex. poussière, restes de fil, etc.) ne penetrent dans les fentes.
Utilisez uniquement les accessoires fournis. Les aiguilles et l'ampoule sont disponibles dans le commerce spécialisé.
Pour la lubrification, utilisez uniquement des huiles spéciales pour machine à coudre. N'utilisez aucun autre liquide.
Manipuez avec prudence les pieces mobiles de la machine, en particulier les aiguilles et couteaux. Il y a risque de blessure même lorsque la machine est débranchée!
Pendant la couture, veillez à ne jamaisMETRE les doigts sous la vis du porte-aiguilles.
N'utilisez pas d'aiguilles déformées ou émoussées.
Ne retenez pas le tissu et ne tirez pas sur le tissu pendant
la couture. Les aiguilles pourraient se casser.
Une fois vous ouvrage terminé, placez toujours les aiguilles à leur position la plus haute.
Avant d'utiliser la machine
Avant d'utiliser la machine
Accessoires
Au cours du déballage, vérifie que les éléments suivants ont bien été livrés :

Réglage de l'antenne téléscopique avec guide-fils

-
Avant l'enfilage, sortie entièrement l'antenne guide-fils.
-
Tournez l'antenne guide-fils de telle manière que les guide-fils se trouvent très exactement au-dessus des broches à bobine.
Porte-bobine

Cette machine peut être dotée aussi bien de bobines industrielles que de bobines menagères.
En cas de bobines industrielles à grand diamètre, insérez le porte-bobine avec l'extrémité large vers le haut ② et avec les bobines à petit diamètre, insérez le portebobine avec l'extrémité étroite vers le haut ①.
Couvercles de bobines
En cas d'utilisation de bobines de fil non industrielles, retirez les porte-bobine et mettez les couvercles de bobines fournis en place sur les bobines de fil.

Raccorder la pédale
Branchez la fiche de connexion de la pédale fournie dans la prise située sur la machine puis la fiche d'alimentation dans la prise de courant.
L'interrupteur principal allume aussi bien la machine que la lampe de la machine.
Utilisez uniquement la pédale fournie.
Lorsque vous arrêtez de coudre ou avant toute opération d'entretien, éteignez la machine et débranchez la fiche de la prise.

Contrôle de la vitesse de couture
La vitesse de couture est contrôle avec la pedale et peut être modifiée en exerçant une pression plus ou moins forte sur la pedale.

Avant d'utiliser la machine
Interrupteur de sécurité

Cette machine est équipée d'un micro-interrupteur de sécurité. La machine est automatiquement coupée du courant si le capot avant est ouvert.
Avant de commencer à coudre, fermez aussi bien le capot avant que le bras libre.
Mise en place du bac à déchets

Le bac à déchets collecte les chutes lors de la couture afin que votre poste de travail reste propre. Installez le bac à déchets entre la machine et la table. Le bac à déchets est équipé de deux attaches qui s'encliquettent facilement dans le fond de la machine et évitant que le bac à déchets ne glisse.
Utilisation
Volant manuel
Tournez toujours le volant manuel uniquement vers vous.

Capot avant
Pour ouvrir le capot avant, faites glisser l'évidement le plus possible vers la droite puis tirez le capot vers vous. Il est impossible de refermer le capot avant tant que le bras libre est ouvert.

Bras libre
Vousdevez ouvrir lebras libre pour enfilder des fils.
- Ouvrez tout d'abord le capot avant.
- Puis appuyez sur le levier de déverrouillage, le bras libre bascule alors vers le bas.

Enfilage du fil dans les boucleurs
L'enfilage se déroule en respectant l'ordre suivant :
- PREMIÈRE ÉTAPE Boucleur supérieur (jaune)
- DEUXIÈME ÉTAPE Boucleur inférieur (vert)
- TROISIÈME ÉTAPE Aiguille droite (bleu)
- QUATRIÈME ÉTAPE Aiguille gauche (rouge)
Il est important d'enfiler correctement le fil afin d'eviter que les points soient irréguliers et que le fil se casse.
Des instructions pratiques pour un enfilage correct se trouvent sur l'intérieur du capot avant.
Les guide-fils sont en plus reprises par différentes couleurs.
La boîte d'accessoires contient des pinces brucelles pour vous faciliter l'enfilage.
Si deux fils sont visibles dans les illustrations suivantes, le fil de boucleur supérieur comporte un chiffre sans cercle, p. ex. « 1 », et le fil de boucleur inférieur, un chiffre dans un cercle, p. ex. « ① »
Ouvrez le capot avant et rabattez le bras libre.
- Tournez le volant manuel vers vous jusqu'à ce que le boucleur se trouve dans la position optimale pour l'enfilage.
- Introduisez le fil dans les oeillets de l'antenne guide-fils.

- Glissez maintainant le fil tout d'abord à travers le trou dans le guide-fil puis à travers l'évidement, comme illustré.

- Insérez alors le fil dans le guide-fil respectif.

- Placez le fil entre les deux disques du dispositif de tension du fil. Important: le fil doit être correctement positionné entre les deux disques du dispositif de tension du fil.

- Mettez le fil dans le guide-fil inférieur. Les deux fils se séparent, suivez à partir de la le schéma de guidage des fils dans la machine.

- Tirez l'extrémité du fil d'environ 10 cm en dehors des oeillets de boucleur.
Levez le pied-de-biche en activant le levier du pied-de-biche et glissez les fils en dessous; abaissez ensuite à nouveau le pied-de-biche.
Enfilage du fil dans les aiguilles
Enfilage du fil dans les aiguilles
Si deux fils sont visibles dans les illustrations suivantes, le fil d'aiguille supérieur comporte un chiffre sans cercle, p. ex. « 1», et le fil d'aiguille inférieur, un chiffre dans un cercle, p. ex. « ① »
- Tournez le volant manuel vers vous jusqu'à ce que les aiguilles se trouvent tout en haut.
- Introduisez le fil dans les oeillets de l'antenne guide-fils.

- Glissez maintainant le fil tout d'abord à travers le trou dans le guide-fil puis à travers l'évidement, comme illustré.

- Placez le fil entre les deux disques du dispositif de tension du fil.
Important: le fil doit être correctement positionné entre les deux disques du dispositif de tension du fil.

- Faites passer les fils à travers les guide-fils respectifs reprises par des couleurs.

- Introduisez le fil, comme illustré, de l'avant vers l'arrière à travers les chas d'aiguille.

- Tirez l'extrémité du fil d'environ 10 cm en dehors des chas d'aiguille.
Levez le pied-de-biche et glissez les fils en dessous; abaissez ensuite à nouveau le pied-de-biche. - Une fois l'enfilage terminé, refermez le bras libre et le capot avant.
Vue d'ensemble schématique de quidage des fils :

Testedefonctionnement
Testedefonctionnement
Si vous enfilez du fil pour la première fois ou que vous nevez proceder à un nouvel enfilage suite à une cassure du fil pendant la couture, procedede comme suit :

- Tenez les extrémités du fil entre les bouts des doigts de votre main gauche, tournez le volant manuel lentement deux ou trois fois vers vous et vérifie si le fil peut être tiré.

- Placez le tissu pour une marche d'essay sous le pied-de-biche, abaissez le pied-de-biche et commencez à coudre lentement.
Le tissu avance automatiquement.

- Une fois votre travail terminé, continuez à coudre jusqu'à ce qu'une chanINETte longue d'environ 5 cm se soit formée à la fin du tissu. Coupez les fils avec des ciseaux.
Réglage de la tension du fil
La tension nécessaire du fil varie selon la nature et l'épaissur du fil et du tissu.
Vérifiez les coutures et réglez la tension du fil en conséquence sur la machine.
Tension du fil :
Mettez le dispositif de tension sur un chiffre inférieur : la tension se réduit.
Mettez le dispositif de tension sur un chiffre supérieur : la tension du fil augmente.

Tension de fil appropriée

Réglage de la tension du fil
Réglage de la tension du fil pour les fils d'aiguille
Pour les coutures illustrées ici, la tension du fil doit être réglée.
Le fil sur l'aiguille gauche est trop détendu.

Tendez un peu plus le fil gauche.
Le fil sur l'aiguille droite est trop détendu.

Tendez un peu plus le fil croit.
Réglage de la tension du fil pour les fils de boucleur
Le fil de boucleur inférieur est trop tendu et/ou le fil de boucleur supérieur est trop detendu.
Le fil de boucleur supérieur est trop tendu et/ou le fil de boucleur inférieur est trop detendu.

Relâchez la tension du fil de boucleur inférieur et/ou tendez le fil de boucleur supérieur.

Relâchéz la tension du fil de boucleur supérieur et/ou tendez le fil de boucleur inférieur.
Vue d'ensemble des réglages de la machine
Le réglage optimal de la tension du fil pour un tissu n'est pasforcément le même d'un tissu à l'autre.
La tension du fil requise dépend de la rigidité et de l'épaissur du tissu ainsi que de la nature et de l'épaissur du fil.
Le tableau suivant peut vous aider à déterminer la tension de fil appropriée :
| Tissus Fil Aiguilles | Longueur de point | Tension du fil | ||
| Crêpe Georgette Mousseline Batiste Tissu pour robe Crêpe de Chine Soie | Coton Polyester filé Polyester sans fin N° 80 - 100 | Type: 130/705 H N° 80 | 2,0 -3,5 mm Standard: 2,5 mm | A: 2 - 4 B: 2 - 4 C: 2 - 4 D: 2 - 4 |
| Coton Popeline Coton imperméable Velours côteélé | Coton Polyester filé Polyester sans fin N° 60 - 100 | Type: 130/705 H N° 80 - 90 | 2,0 - 3,5 mm Standard: 2,5 mm | A: 3 - 5 B: 3 - 5 C: 3 - 5 D: 3 - 5 |
| Tissu de jeans Tweed Velours | Coton Polyester filé Polyester sans fin N° 60 - 100 | Type: 130/705 H N° 90 | 2,5 - 4,0 mm Standard: 3,0 mm | A: 5 - 7 B: 5 - 7 C: 3 - 5 D: 3 - 5 |
Changement de fil
Changement de fil

En respectant la méthode suivante, le changement de fil est très simple et vous épargne un nouvel enfilage complet:
- Coupe le fil au-dessus de la bobine et nouve les extrémités de l'ancien et du nouveau fil.

Levez le pied-de-biche.
- Tirez l'extrémité du fil derrière l'aiguille jusqu'à ce que les nœuds soient dans le chas de l'aiguille, coupez le fil à gauche et à droite du noèud. Enfilez à nouveau.
Poignée de transport

La machine est équipée d'une poignée vous permettant de la transporter facilement.
Réglage de la longueur de point
La longueur de point peut être régée en neuf étapes de 1,0 à 4,5 mm. Presque tous les travaux réalisés avec la surjeteuse le sont avec une longueur de point de 2,5 à 3,5 mm.
Bouton de réglage de la langueur de point (Bouton rotatif interieur)

Réglage de la longueur de point
| Points Longueur de point | |
| Coutures normales | 2,0 - 4,5 mm Réglage standard 3,0 mm |
| Galons étroits 1,0 - 2,0 mm | |
| Ourlets à jours 1,0 - 2,0 mm | |
| Broderie 3,0 - 4,0 mm | |
Réglage de la largeur de coupe
Réglage de la largeur de coupe

La largeur de coupe appropriée

Régler une largeur de coupe plus réduite
Selectionnez une largeur de coupe inférieure si les cordures du tissu froncent pendant la couture.
- Tournez pour cela le bouton de réglage de la largeur de coupe vers la droite.

Régler une largeur de coupe plus grande
Selectionnez une largeur de coupe plus grande si le fil est cousu au-delà de la cordure du tissu.
- Tournez pour cela le bouton de réglage de la largeur de coupe vers la gauche.

Remplacement des aiguilles
Remplacement des aiguilles
Cette machine est équipée d'aiguilles de type 130/705H (pour machines domestiques).
ATTENTION
Eteignez la machine avant de remplacer les aiguilles. N'utilisez pas d'aiguilles deformées ou émoussées.

- Tournez le volant manuel vers vous jusqu'à ce que les aiguilles se trouvent à leur position la plus haute.
- Ouvrez le capot avant et abaissez le pied-de-biche.
- Desserrez les vis de blocage des aiguilles à l'aide de la clé Allen contenue dans la boîte d'accessoires et retirez les aiguilles : vis gauche pour l'aiguille gauche et vis droite pour l'aiguille droite.
- Insérez les nouvelles aiguilles dans le porte-aiguilles, avec le côte plat vers l'arrière. Veillez à ce qu'elles soient enforcées le plus possible.
- Resserrez solidement la vis de blocage des aiguilles.
Si les aiguilles ont ete correctement inserees, I'aiguille gauche est un peu plus haute que I'aiguille droite. Dans le cas contraire, des points seront occasionnellement sautes pendant la couture.
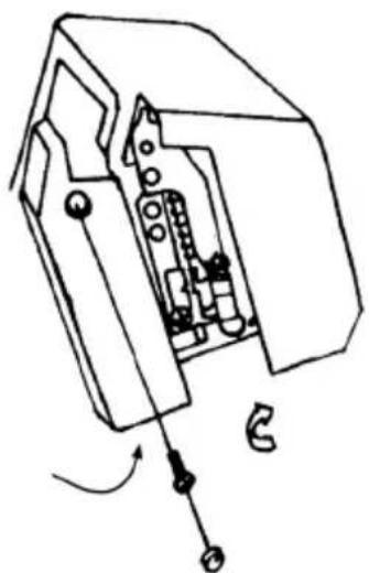
Remplacement de l'ampoule
ATTENTION
Éteignez la machine avant de remplacer l'ampoule. Si nécessaire, laissez l'ampoule refroidir avant de la remplacer.
- Enlevez le capuchon de vis avec une aiguille.
- Dévissez entièrement la vis.
- Retirez le cache-ampoule.
- Devisser l'ampoule.
- Remplacez l'ampoule.

IMPORTANT :
Utilisez uniquement des ampoules de 15 watts.
Remplacement des couteaux
Eteignez la machine avant de remplacer les couteaux.
Le couteau inférieur se compose d'un matériel special et n'a pas besoin d'être remplaced.
Pour remplacer le couteau supérieur s'il est emousse:
- Ouvrez le capot avant et tournez le volant manuel vers vous jusqu'à ce que les aiguilles se trouvent à leur position la plus)basse.
- À l'aide du tournevis contenu dans la boîte d'accessoires, desserrez la vis sur le support de couteau supérieur et retirez le couteau supérieur.
- Insérez un nouveau couteau supérieur et serrez légèrement la vis du support.
- Reglez le couteau supérieur de telle maniere que son tranchant depasse de celui du couteau inférieur de 0,5 - 1,0 mm (voir illustration).
- Serrez à présent solidement la vis du support du couteau supérieur et refermez le capot avant.

Créer une chainette d'arrêt à maille serrée ou large avec trois fils
Créer une chaînette d'arrêt à maille serrée ou large avec trois fils
Lors de la création d'une chaninette, cette machine peut passer de quatre à trois fils.
- Retirez soit l'aiguille droite soit la gauche et le fil correspondant (voir aussi « Remplacement des aiguilles »).

La machine est maintainant préte pour creer une chaininette à trois fils.
En cas d'utilisation exclusive de l'aiguille droite, la longueur de point s'eleve a 4 mm.

En cas d'utilisation exclusive de l'aiguille gauche, la longueur de point s'éleve à 6 mm.

Couture sur bras libre
Couture sur bras libre
Retirez le repose-bras pour passer du mode plateau au mode bras libre.
Pour cela, saisissez le repose-bras par l'évidement liéquè dessous et tirez le repose-bras d'un coup sec vers la gauche.

Le mode bras libre est idéal pour la couture de jambes de pantalon, manches, poignets, etc.

Ourlets à jours et galonnage
Régler le pied-de-biche pour la couture d'ourlets à jours
Le pied-de-biche spécial est reglé en position N au niveau de la vis fendue à l'avant du pied-de-biche pour le mode chainette normal. Si vous poulez coudre un ourlet à jours, desserrez légerement la grande vis et tirez la petite poignée du curseur vers l'avant jusqu'à la butée. La dette R se trouve maintainant au niveau de la vis.

Poignée du curseur
- Tournez le volant manuel vers vous jusqu'à ce que les aiguilles se trouvent tout en haut.
- Ouvrez le capot avant et retirez l'aiguille gauche (page 22).
- Reglez la longueur de point sur 1,0 - 2,0 mm (page 19). Veillez à ce que le transport différentiel soit régle sur N. (voir "Transport différentiel" à la page 30.)
- Reglez la largeur de coupe (page 20).
- Enfilez à présent un fil, si ce n'est pas déjà fait (page 10).
- Placez le tissu sous le pied-de-biche et commencez à coudre.
Vérifiez les réglages de la longueur de point et de la tension du fil dans un premier temps sur un morceau de tissu test avant de commencer à coudre le vêtement. ÀpRES avoir sousu des ourlets à jours, pensez toujours à remettre le pied-de-biche spécial en mode de couture normale (mode chainette).
Ourlets à jours et galonnage
Couture d'ourlets à jours
Lors de la réalisation d'ourlets à jours, les boucles du boucleur de fil supérieur doivent être tirées vers le dessous du tissu. Vous y parvenez en réglant la tension du fil comme déscrit à la page 15.

Couture de bordures fines
Si vous voulez coudre un tissu très mince ou léger, sélectionnez une tension de fil appropriée comme décrit à la page 15.

IMPORTANT :
Si nécessaire, reglez la longueur de point et la largeur de coupe.
| Tissus | Fil | ||
| Ourlet à jours Galonnage | |||
| Crêpe Georgette | Guidage d'aiguilles | Polyester filéN° 50 - 80 | Polyester filéN° 50 - 80 |
| Batiste | Polyester sans finN° 50 - 80 | Polyester sans finN° 50 - 80 | |
| Crêpe de Chine | Fil de boucleur supérieur | Polyester filéSoie artificielleRayonne | Soie artificiellePolyester filéN° 50 - 80Polyester sans finN° 50 - 80 |
| Soie | |||
| Futaine | |||
| Viscose | |||
| Fin tessu pour robe | Fil de boucleur inférieur | Polyester filéN° 50 - 80Polyester sans finN° 50 - 80 | Polyester filéN° 50 - 80Polyester sans finN° 50 - 80 |
| etc. | |||

OURLETS A JOURS
GALONNAGE

Illustr. Reglage du selecteur de tension de fil pour aiguille et boucleur
Transport différentiel
Transport différentiel
Le transport différentiel permet d'eviter les coutures ondulées sur les tissus tricotés ainsi que le glissement des couches de tissu. Par ailleurs, les coutures dans les tissus légers ne font pas de pris.
Mode de fonctionnement
La machine dispose de deux jours de crémaillères d'avancée, un à l'avant et un à l'arrière. Ces deux jours se déplacent independamment l'un de l'autre. Gréce au transport différentiel, les deux jours de crémaillères peuvent se déplacer à des vitesses différentes. Plage de réglage pour le transport différentiel : 0,7 à 2,0.

Réglage du transport différentiel
Le transport différentiel se règle tout simplement en tournant le bouton de réglage du transport différentiel (bague extérieure) dans la direction souhaïée. Le transport différentiel peut également être régèlependant la couture.
IMPORTANT :
Pour la couture sans transport différentiel, le bouton de réglage doit être place en position N.

Bague de réglage pour entrainnement du tissu (extérieur)
Transport différentiel
Bordures de tricots inégales et lissage
Pour obtenir des cordures plates précises lors de la couture de tricots extensibles, le jeu de crémaillères avant doit avancer plus rapidement que celui de derrière afin que le tricot ne soit pas tendu. Également pour le lissage, le jeu de crémaillères avant doit travailler plus rapidement que celui de derrière. Grâce à des longueurs de point plus importantes (réglages, voir page 19), le tricot reste légèrement plat. Mettez le transport différentiel en position « G »

Éviter les fronces en étirant
Pour éviter que les coutures fassent des pris sur les tissus très légers ou en nylon fin, les crémaillères arrirée doivent fonctionner plusrapidementque celles à l'avant. Les crémaillères avant maintiennent ainsi le tissut tendu afin qu'il ne fronce pas.Mettez le transport différentiel en position « S »

Dépannage
Veuillez consultier le tableau suivant avant d'appeler le service après-vente.
| Problème | Cause | Solution | Page |
| Cassures d'aiguilles | Les aiguilles sont déformées, émoussées ou endommagées au niveau de la pointe. | Insérez de nouvelles aiguilles. | 22 |
| Les aiguilles ne sont pas correctement insérées. | Insérez les aiguilles correctement dans le support. | 22 | |
| You've avrez tiré tropfortement sur le tissu. | Guidez le tissu des deux mains avec précaution. | ||
| Le fil casse | Le fil n'est pas correctement enfilé. | Enfilez correctement le fil. | 10 |
| Le fil est trop tendu | Rectifiez la tension du fil. | 15 | |
| Les aiguilles ne sont pas correctement insérées. | Insérez les aiguilles correctement dans le support. | 22 | |
| Des points sautent | Les aiguilles sont déformées, émoussées ou endommagées au niveau de la pointe. | Insérez de nouvelles aiguilles. | 22 |
| Les aiguilles ne sont pas correctement insérées. | Insérez les aiguilles correctement dans le support. | 22 | |
| Des points sautent | Le fil n'est pas correctement enfilé. | Enfilez à nouveau le fil. | 10 |
| Les mauvaises aiguilles ont été insérées | Utilisez les aiguilles appropriées (type 130/705H). | 22 | |
| Les points sont irréguliers | La tension du fil n'est pas correcte. | Rectifiez la tension du fil. | 15 |
| Le fil reste bloqué | Vérifiez le cheminement des différents fils. | 10 | |
| Les coutures font des plis | Le fil est trop tendu. | Rectifiez la tension du fil. | 15 |
| Le fil n'est pas correctement enfilé. | Enfilez correctement le fil. | 10 | |
| Le fil est bloqué | Vérifiez le cheminement des différents fils. | 10 | |
| You n'avez pas régle le transport différentiel. | Mettez le transport différentiel sur 0,7. | 30 | |
| Le tissu n'est pas coupé proprement | Le couteau supérieur est émoussé ou mal inséré. | Remplacez le couteau ou insérez-le correctement. | 24 |
| Les cordures du tissu froncent | Trop de tissu sur un point. | Modifiez la largeur de coupe. | 20 |
Nettoyage et lubricification
Pour garantir le bon fonctionnement de votre machine, vous doivent nettoyer de temps en temps la mécanique à l'aide du pinceau contenu dans la boîte d'accessoires.
Pour nettoyer le boîtier extérieur, utilisez uniquement un chiffon doux et sec. N'employez ni solvants ni déterments chimiques qui pourraient endommager la surface et/ou les inscriptions figurant sur la machine.
Les composants principaux sont fabriqués dans un matériel special, cette machine ne nécessite que très peu d'huile.
Ne lubrifiez qu'occasionnellement la machine aux points indiqués.

Recyclage
Recyclage
Emballage

Votre surjeteuse se trouve dans un emballage afin d'eviter tout dommage lie au transport. Les emballages sont des matieres premières et peuvent etre recyclés ou réintegres dans le circuit des matieres premières.
Appareil

Une fois arrivé en fin de vie, l'appareil ne doit enaucun cas être jeté dans une poubelle classique. Informez-vous des possibilités de recyclage ecologique.
Caracteristiques techniques
Tension : AC 230 V ~ 50 Hz
Puisance consommée : Puisance totale : 105 W (126 W max.)
Moteur: 90 W
Ampoule : 15 W
Pédale : Type : KD 2902
Tension nominale : 220- 240 V ~ 50 Hz
Classe de protection II
Nombre de fils : 4 ou 3
Nombre d'aiguilles : 2 ou 1
Vitesse de couture : 1100 trs/min max.
Largeur de coupe : 6 mm pour 4 fils
6 mm ou 4 mm pour 3 fils
Longueur de point : 1,0 - 4,5 mm
Hauteur du pied-de-biche :4,5 mm
Aiguilles:130/705H n^ 75-90
Dimensions (approx.): 270 × 290 × 290 mm (lxHxL)
Poids:env.6,5 kg




Sous réserve de modifications techniques
MEDION
Medion France
CS 90180
72207 La Fleche Cedex
France
Service Hotline: 08 25 81 10 00 (0.15 EUR/min)
Service PREMIUM hors garantie: 08 92 35 05 40
(0.34 EUR/min)
E-Mail: Pour nous contacter, merci de vous rendre sur
notre site internet à la rubrique « Service et Support »
www.medion.fr
Notice Facile