4015625500291761 - Machine à coudre QUIGG - Notice d'utilisation et mode d'emploi gratuit
Retrouvez gratuitement la notice de l'appareil 4015625500291761 QUIGG au format PDF.
| Type de produit | Appareil électroménager |
| Caractéristiques techniques principales | Fonctionnalités variées adaptées à un usage domestique |
| Alimentation électrique | 220-240 V, 50 Hz |
| Dimensions approximatives | Dimensions compactes pour un rangement facile |
| Poids | Poids léger pour une manipulation aisée |
| Compatibilités | Compatible avec divers accessoires et pièces de rechange |
| Type de batterie | Non applicable |
| Tension | Non applicable |
| Puissance | Puissance adaptée à l'utilisation domestique |
| Fonctions principales | Utilisation polyvalente pour diverses tâches ménagères |
| Entretien et nettoyage | Facilité d'entretien avec des surfaces lisses |
| Pièces détachées et réparabilité | Disponibilité de pièces de rechange pour la réparation |
| Sécurité | Normes de sécurité respectées pour un usage en toute sécurité |
| Informations générales utiles | Vérifier les spécifications avant l'achat pour s'assurer de la compatibilité |
FOIRE AUX QUESTIONS - 4015625500291761 QUIGG
Téléchargez la notice de votre Machine à coudre au format PDF gratuitement ! Retrouvez votre notice 4015625500291761 - QUIGG et reprennez votre appareil électronique en main. Sur cette page sont publiés tous les documents nécessaires à l'utilisation de votre appareil 4015625500291761 de la marque QUIGG.
MODE D'EMPLOI 4015625500291761 QUIGG
MACHINE À COUDRE AVEC DOUBLE AIGUILLE

MD 11836
MODE D'EMPLOI
Principaux composants

1 Levier releveur de fil
14 Boitier de la fiche de la pedale
2 Roulette de réglage de la tension de fil supérieur
15 Levier du pied de biche (sur l'envers)
3 Guide du fil supérieur
16 Bras libre
4 Regulateur de la largeur de point
17 Pied régable
5 Poignée amovible
18 Couvercle de la boite a canette
6 Bouton de selection du programme
19 Plaque à aiguille
7 Porte-bobines amovibles
20 Guide-fil
8 Fuseau de la canette
21 Couvercle frontal
9 Butée de la canette
10 Volant a main
11 Règle-point
12 Navette marche arriere
13 Interrupteur principal (Moteur et lumière)
Mécanique de couture

22 Porte-aiguille
23 Vis du porte-aiguille
24 Guide-fil du porte-aiguille
25 Aiguille
26 Pied-de-biche
27 Griffe d'entrainment
28 Vis du support de pied-de-biche
29 Support de pied-de-biche
30 Levier de déclenchement du pied-de-biche
TABLE DES MATIÈRES
Consignes de sécurité 2
Apprenez a connaître votre apparéil 4
Contenu de la livraison 4
Contenu de la boite d'accessoires 5
Branchements electriques 6
Stabilité de la machine à coudre 6
Commande de la vitesse de couture 6
Mettre en place et retirer la table-rallonge 6
Boite d'accessoires 6
Opérations préliminaires 7
Embobiner la canette de fil inférieur 7
Retirer la boite a canette 9
Charger le fil dans la boite à canette 9
Insérer la boite à canette 10
Charger le fil supérieur 10
Remonter le fil inférieur 12
Réglages 13
Réglage de la tension du fil 13
Vérifier les tensions du fil 14
Coudre 15
Généralités 15
Choisir laonne aiguille 15
Soulever et abaiser le pied-de-biche 15
Protège-doigts 16
Couture en marche arriere 16
Retirer le tissu de la machine a coudre 16
Changement de direction de la couture 16
Couper le fil 16
Bouton de selection du programme 17
Réglage de la longueur du point 17
Réglage de la largeur du point 17
Types de point (programmes) 17
Boutonnières 21
Coudre des boutons et des yeillets 22
Insérer des fermétures à glissière 23
Ourler 23
Repriser 24
Broder 25
Coudre avec une double aiguille 26
Coudre avec le bras libre 27
Le guide à coudre 27
Le guide ouatinage 27
Maintenance, entretien et nettoyage 28
Remplacement de la lampe de la machine a coudre 28
Remplacer laiguille 28
Retirer et metre en place le pied-de-biche 29
Retirer et metre en place le support du pied-de-biche 30
Entretien de la machine a coudre 30
Lubrification de la machine 32
Problèmes 36
Tableau des combinaisons tissu, fil et aiguille 38
Recyclage 39
Données techniques 39
Index des mots-clés 40

À propos de ce mode d'emploi
Avant la première utilisation, lisez attentivement ce mode d'emploi et voirlez surtout à vous conformer aux consignes de sécurité !
Toute action subie par et effectue avec cet apparéil doit se dérouler tel que décrit dans le mode d'emploi.
Si vous donnez l'appareil, il est imperatif que vous remettiez également ce mode d'emploi !
Ne pas laisser d'appareils ELECTriques entre les mains des enfants
Les enfants ne se rendent pas compte des risques liés à l'utilisation d'appareils ELECTriques.
Ne jamais laisser un enfant utiliser la machine à coudre sans surveillance. Attention : il est aussi possible de se blesser avec les aiguilles même lorsque la machine n'est pas branchée sur secteur.
Conserver également le matériel d'emballage hors de portée des enfants. Ils pourrait s'étouffer.
Cet apparéil n'est pas destiné à être utilisé par des personnes (y compris les enfants) dont les capacities physiques, sensorielles ou mentales sont limitées ou qui manquent d'expérience et/ou de connaissance, sauf si elles sont surveillées par une personne responsable de leur sécurité ou qu'elles recoivent de cette personne les instructions pour utiliser l' apparéil.
Cable d'alimentation secteur et raccordement au secteur
Relier l'appareil à une prise de courant aisément accessible (230 V ~ 50 Hz) située à proximate de l'appareil. La prise de courant doit rester accessible s'il devait s'avérer nécessaire de débrancherrapidement l'appareil.
En cas de débranchement de la fiche, toujours saisir la fiche elle-même et ne pas tirer sur le cable.
En cours de fonctionnement, dérouler entièrement le cable.
Disposer le cable d'alimentation secteur et la rallonge de maniere a ce que personne ne puisse trèbucher dessus.
Le cable ne doit pas entrairen contact avec des surfaces chaudes.
Pour les actions suivantes, eteindre la machine a coure et debrancher la prise de courant: Charger le fil, changer l'aiguille, regler le pied-de-biche, changer l'ampoule, operations de nettoyage et d'entretien ainsi qu'a la fin des travaux de couture et lors de toute interruption de I'ouvrage.
Ne jamais réparer soi-même l'appareil.

En cas d'endommagement de l'appareil ou du cordon d'alimentation, débrancher immédiatement la fiche secteur de la prise de courant.
En cas d'endommagement visible de la machine à coudre ou du cable d'alimentation secteur, l'appareil ne doit pas être utilisé afin d'éviter tout danger.
N'essayer enaucun cas d'ouvr et/ou de réparer soi-même l'appareil. Il y a risque d'électrocution! En cas de problème, s'adresser à notre Centre de service ou à un autre atelier spécialisé.
Si le cable d'alimentation de cet apparéil est endommagé, le faire replacer par le fabricant, son service après-vente ou une personne qualifiée afin d'éviter tout danger.
Remarques fondamentales
La machine à coudre ne doit pas être mouillée - il y a risque de décharge électrique!
Ne jamais laisser la machine à coudre sans surveillance lorsqu'elle est allumée.
Ne pas utiliser la machine à l'extérieur.
L'appareil doit être mis en marche uniquement avec la pédale de type KD 2902 fournie.
Manipulation sure de l'appareil
Installer la machine à coudre sur une surface de travail plane et stable.
En cours d'utilisation, les orifices d'aération ne doivent pas etre obstrués: veiller a ce qu'aucun objet (par ex. poussiere, bribes de fil, etc.) ne penetre dans les ouvertures.
Utiliser uniquement les accessoires fournis.
Pour la lubrification, utiliser uniquement des huiles spéciales pour machine à coudre. N'utiliser aucun autre liquide.
Manipuler avec prudence les pieces mobiles de la machine, en particulier l'aiguille. Des risques de blessures subsistant même lorsque la machine est débranchée!
Pendant la couture, veiller à ce les doigs ne se trouvent jamais sous la vis du porte-aiguille.
Ne pas utiliser d'aiguilles déformées ou épointées.
Au cours de la couture, ne pas retenir le tissu ni le tirer. Les aiguilles pourraient se casser.
Une fois l'ouvrage de couture terminé, toujours placer l'aiguille sur la position la plus haute.
Nettoyage et stockage
Avant le nettoyage, veiller à débrancher la fiche secteur de la prise de courant. Pour nettoyer l'appareil, utiliser un tissu sec et doux. Éviter les solvants et produits d'entretien chimiques qui risqueraient d'endommager la surface et/ou les inscriptions de l'appareil.
Pour le stockage, toujours recouvrir la machine à coudre du couvercle fourni afin de protéger la machine de la poussière.
APPRENEZ À CONNAître VOTRE APPAREIL
Contenu de la livraison
Au cours du déballage, s'assurer que les éléments suivants ont bien été livrés :

1)Machine à coudre
2)Table-rallonge avec boite d'accessoires
3)Pedale
4)Porte-canette pour fils Overlock
Pieces suivantes sans illustration
Couvercle
Mode d'emploi et documents relatifs à la garantie
Contenu de la boîte d'accessoires

1) Pied standard (point droit/zigzag) (monté)
2) Pied ourleur
3) Pied-de-biche pour boutonnieres
4) Pied-de-biche pour fermétures à glissière
5) Pied-de-biche pour pose de boutons
6) Guide à coudre
7) Guide ouatinage
8) Plaque à repriser
9) Canettes de rechange (3 pieces)
10) Protège-doigts (monté)
11) Feutre pour porte-bobine (2 pieces)
12) Assortiment d'iguilles
13)Burette
14) Tournevis (grand)
15) Tournevis (petit)
16) Couteau à découdre
Branchements électriques

L'interrupteur de courant allume aussi bien la machine que la lampe de la machine à coudre.
- Insérer le connecteur de la pédale fournie dans le boîtier de la fiche de la machine puis la fiche secteur dans la prise de courant.
Utiliser uniquement la pédale de type KD 2902 fournie.
Après l'ouvrage ou avant toute opération de maintenance, toujours arrêté la machine et débrancher la fiche secteur de la prise de courant.
Stabilité de la machine à coudre

Le pied régable (17) permet d'ajuster la stabilité de la machine à coudre.
- Faire tournier le pied régiable vers la droite pour le pivoter vers le bas, ou vers la gauche pour le pivoter vers le haut.
- Ajuster le pied de telle maniere que la machine a coudre soit bien droite sur le plan de travail et non bancale.
Commande de la vitesse de couture

La vitesse de couture est commandée à l'aide de la pedale. La vitesse de couture peut être modifiée en exerçant une pression plus ou moins importante sur la pedale.
Metre en place etPTRer la table-rallonge

Lors de sa livraison, la machine est dotée d'une table de travail.
- Pour-retirer la table-rallonge,la faire coulisser avec précaution vers la gauche.
- Pourmettre en place la table-rallonge,placer la table-rallonge avec precaution contre la machine et la faire coulisser vers la droite jusqu'a ce que vous I'entendiez s'enclenger.
Boîte d'accessoires

La boîte d'accessoires est intégrée à la table-rallonge.
- Pour l'ouvrir, il suffit de rabattre vers soi le couvercle de la tablerallonge, les accessoires sont alors bien accessibles.
OPÉRATIONS PRELIMINAIRES
Embobiner la canette de fil inférieur
Les canettes de fil inférieur se laissent embobiner rapidement et facilement avec la machine à coudre.
Pour cela, passer le fil de la bobine à travers le guide-fil jusqu'à la canette.
Pour la procédure à suivre exacte pour l'embobinage, se reporter aux points suivants:
- Pour que l'aiguille reste en place lors de l'embobinage, positionnez le commutateur du volant à main (10) sur le symbole de l'embobinage.
- Retirer intégralement l'un des porte-bobines (7) et y glisser une bobine.


- Passer maintenant le fil de la bobine à travers le guide-fil, comme indiqué sur l'illustration.

- Passer l'extremité du fil par l'orifice de la canette, comme indiqué sur l'illustration, et enrouler manuellement de quelques tours le fil sur la canette.

- Placer la canette sur le fuseau de la canette (8) de manière à ce que l'extremité du fil se situe en haut de la canette. Faire tourner le fuseau de la canette (8) vers la droite contre la butée de la canette (9) jusqu'à ce que vous l'entendiez s'enclenger.



- Tenir l'extremité du fil et actionner la pedale. Dés que l'embobiage a été amoré au niveau de la canette, relâcher l'extremité du fil. Embobiner jusqu'à ce que le fuseau de la canette (8) s'arrête automatiquement.
- Faire tournier le fuseau de la canette (8) vers la gauche et-retirer la canette.
Couper le fil. - Repositionnez le commutateur du volant à main sur le symbole de l'aiguille. L'aiguille se déplace à nouveau lorsque la pedale est actionné.
Si la répartition du fil s'effectue irrégulierement lors de l'embobinaige, il est possible de régler la hauteur du guide-fil.
Ouvrir le couvercle frontal (21)
Retirer la vis (B) pour regler la hauteur du guide-fil (A).



Retirer la boîte à canette
- Retirer la table-rallonge.
- Placer l'aiguille, en faisant tourner le volant à main (10), ainsi que le pied-de-biche sur la position la plus haute et ouvrir le couvercle de la boîte à canette (18), comme indiqué dans l'illustration.

- Ouvrir le levier basculant de la boite à canette et l'extraire de la machine.

- Quand on relâche le levier basculant, la canette sort d'elle-même de la boîte à canette.

Charger le fil dans la boîte à canette
- Tenir la canette entre le pouce et l'index de la main droite et laisser partager env. 15 cm de fil.
- Tenir la boîte à canette de la main gauche et insérer la canette dans la boîte à canette.

- Passer l'extremité du fil dans la fente située au bord de la boîte à canette.

- Faire passer le fil sous le ressort tenseur et par l'orifice destiné au fil. S'assurer qu'environ. 15 cm de fil sortent de la canette.

Insérer la boîte à canette
- Tenir la boîte à canette de manière à ce que le doigt de la boîte pointe vers le haut. Ouvrir le levier basculant de la boîte à canette.

- Placer la boîte à canette sur la cheville centrale et pousser avec précaution le boîtier à l'intérieur jusqu'à ce que le doigt de la boîte à canette pénétre dans l'annexe du la coursière.

- Relâcher le couvercle et l'appuyer sur la boîte à canette.
- Fermer le couvercle de la boite à canette (18).
Charger le fil supérieur
Prenez le temps de dire attentivement les instructions suivantes, car un non-respect de l'ordre ou de l'enfilage peut entraîner unerupture du fil, l'allongement des points et le plissement du tissu.
La représentation schématique du guide-fil est aussi reproduite sur le couvercle frontal (21), s'inspirer aussi de ce schéma.
- Avant de charger le fil, placer l'aiguille sur la position la plus haute en tournant le volant a main (10) et lever au maximum le levier du pied-de-biche.
-
Placer une bobine sur un porte-bobine (7) de manière à ce que le fil sorte à l'arrête de la bobine.
-
Tenir la bobine dans la main droite.

- Faire maintainant passer le fil à travers le guide-fil supérieur (3), comme indiqué.
- Faire ensuite passer le fil entre les disques de tension de la roulette de réglage de la tension du fil supérieur (2), comme indiqué.


CONSEIL
Une tension du fil supérieur de 3 est ideale pour la plupart des utilisations.
- Faire passer le fil vers le haut à travers le guide-fil avant, le reassert de guidage interne est alors automatiquement pousse vers le haut.

Enfilier ensuite le fil de croite à gauche à travers le crochet du levier releveur de fil (1).
REMARQUE:

Faire eventuellement tourner le volant à main (10) pour relever le levier releveur du fil jusqu'en haut.
- Faire maintainant de nouveau passer le fil vers le bas en direction de l'aiguille, il est alors place par le guide-fil interne et le guidefil du porte-aiguille.
- Enfiler maintenant le fil d'avant en arrêt dans le trou et laisser soit du chas environ 10cm de fil.

Remonter le fil inférieur
- Placer le pied-de-biche (26) en position haute.
Faire tournier le volant à main (10) vers soi de la main droite, jusqu'à ce que l'aiguille se déplace vers le bas, puis à nouveau vers le haut.
Arreter le volant a main (10) des que l'aiguille a atteint la position la plus haute.
Tenir l'extrémité du fil supérieur dans la main gauche.
Tirer le fil supérieur légèrement vers le haut, de manière à ce que le fil inférieur forme une boucle.

- Tirer env. 10 cm des deux fils vers l'arrière sous le pied-de-biche (26).

RéGLAGES
Réglage de la tension du fil
Si le fil casse au cours de la couture,ILA signifie que la tension du fil est trop forte.
Si de petites boucles se forment pendant la couture, la tension du fil est trop faible.
Dans les deux cas de figure, la tension du fil doit être réglée.
Pour ce faire, la tension du fil supérieur et celle du fil inférieur doit être proportionnées l'une par rapport à l'autre.
Régler la tension du fil supérieur
La tension est généraee par les disques par lesquels passé le fil. La pression sur ces disques est reglee par la roulette de reglage de la tension du fil supérieur (2).
Plus le nombre est élevé, plus la tension est forte.

REMARQUE:
Une tension du fil supérieur de 3 convient pour la plupart des travaux de couture.
La tension du fil supérieur est activée uniquement si le pied-de-biche a été abaisse.

Il existe plusieurs causes obligeant à régler la tension. Selon la nature du tissu, par ex., la tension doit être plus ou moins forte.
La tension nécessaire dépend de la résistance et de l'épaissur du tissu, du nombre d'épaisseurs à coudre et du type de point choisi.
Veiller à ce que la tension du fil supérieur soit égale à celle du fil inférieur, le tissu pourrait sinon se plisser.
Avant tout ouvrage de couture, nous conseillons de faire un essai sur une chute de tissu.
Régler la tension du fil inférieur
La tension du fil inférieur doit rarement etre ajustee puisqu'elle est déjà reglee par le fabricant pour les travaux de couture courants.
Si vous parvenez à faire sortir légarement le fil de la canette avec une petite résistance, cela signifie que la tension du fil inférieur de la canette est correctement régèle.
Le fil inférieur doit toutfois etre regle pour les tissus particulierement fins ou tres epais.
Pour modifier le réglage de la tension du fil inférieur, utiliser la vis de réglage de la boîte à canette. Pour effectuer le réglage, utiliser le petit tournevis fourni.
Retirer la boite a canette :
Tension inférieure :
Tourner la vis dans le sens contraire des aiguilles d'une montre.
Tension supérieure :
Tourner la vis dans le sens des aiguilles d'une montre.



Vérifier la tension du fil inférieur
La façon la plus simple de vérifier la tension du fil inférieur consiste à coudre un point zigzag moyen sur le tissu à coudre.
Pour ce faire, utiliser l'aiguille et les fils prévus.
L'utilisation de fils de couleurs différentes pour les fils supérieur et inférieur donne un résultat d'autant plus net.
Coudre lieutenant quels points zigzag.
La tension du fil est correcte lorsque le fil inférieur n'est pas visible sur l'endetroit du tissu.
Veiller à toujours coudre des points réguliers (voir illustration à gauche.).
Vérifier les tensions du fil

Couture correcte
La tension du fil supérieur et inférieur est correctement régée lorsque les circonvolutions des fils se situent au milieu du tissu.
Le tissu reste lisse et ne forme aucun pli.




Coutures incorrectes
Le fil supérieur est trop tendu et tire le fil inférieur vers le haut. Le fil supérieur apparait sur le pli supérieur du tissu.
Solution :
Réduire la tension du fil supérieur en tournant la roulette de réglage de la tension du fil supérieur (2) sur un chiffre inférieur.
Le fil supérieur est trop lâche. Le fil inférieur tire le fil supérieur vers le bas. Le fil supérieur apparait sur l'envers du pli du tissu.
Solution :
Augmenter la tension du fil supérieur en tournant la roulette de reglage de la tension du fil supérieur (2) sur un chiffre supérieur.
Dans les deux cas de coutures incorrectes, ajuster eventuellement aussi la tension du fil inférieur.
COUDRE
Généralités
Allumer l'interrupteur principal (13).
Lors de tout changement du type de point, toujours placer l'aiguille sur la position la plus haute. Glisser le tissu suffisamment loin sous le pied-de-biche (26). Laisser les fils supérieur et inférieur dépasser d'environ 10 cm vers l'arrière.
Abaisser le levier du pied-de-biche (15). Tout en retenant le fil de la main gauche, tourner le volant à main (10) vers soi et placer l'aiguille à l'endroit du tissu où l'on peut commencer à coudre.
Appuyer sur la pédale - plus la pédale est enforcée, plus la machine fonctionne vite. Pendant la couture, diriger le tissu doucement de la main. Coudre quelques points en marche arrêté en utilisant la navette marche arrière (12) afin de fixer les premiers points de couture.
CONSEIL
Si vous n'etes pas sur que, par ex., la tension du fil ou le type de point soit correct, testez les réglages sur un échantillon de tissu.
Le tissu avance automatiquement sous le pied-de-biche (26): ne pas le retenir ou le tirer avec les mains, mais seulement le guider légèrement afin que la couture suive la direction souhaïée.
Choisir la bonne aiguille
Le chiffre indiquant la grosseur de l'iguille figure sur la tige.
Plus le chiffre est élevé, plus l'aiguille est grosse.
REMARQUE:
N'utiliser enaucun cas une aiguille deformée ou epointee.


Soulever et abaisser le pied-de-biche
En levant ou en abaissant le levier du pied-de-biche (15), le pied-de-biche (26) monte ou descend en fonction du mouvement.
Pour coudre un tissu épais, le pied-de-biche (26) peut être légèrement soulevé d'un espace supplémentaire.

Protège-doigts

Cet accessoire sert de protection si la main devait glisser accidentellement sous l'aiguille.
Couture en marche arrière

Utiliser la couture en marche arrêté pour renforcer le début et la fin d'une couture.
- Pousser la navette marche arrière (12) vers le bas et la maintainir appuyée.
- Appuyer sur la pédale - plus la pédale est enforcée, plus la machine fonctionne vite.
- Si vous souhaitez repasser à la marche avant, relâchéz la navette marche arrière (12).

Retirer le tissu de la machine à coudre
Une fois l'ouvrage de couture terminé, l'aiguille doit toujours se trouver sur la position la plus haute. Pour-retirer le tissu, lever le pied-de-biche (26) et tirer le tissu vers l'arrière.
Changement de direction de la couture

Si vous souhaitez modifier la direction de la couture aux coins du tissu à coudre, procédez comme suit :
- Arréter la machine et tourner le volant à main (10) vers soi aussi loin que possible, jusqu'à ce que l'aiguille se trouve dans le tissu.
- Lever le pied-de-biche (26).
- Faire pivoter le tissu autour de l'aiguille afin de le positionner dans la direction souhaitation.
- Abaisser le pied-de-biche (26) et poursuivre la couture.
Couper le fil

Couper le fil avec le coupe-fil situé à l'arrière du pied-de-biche (26) ou bien avec des ciseaux. Laisser sortir du chas env. 15 cm de fil.
Bouton de selection du programme
Cette machine à coudre vous propose différents points traditionnels et décoratifs. Le bouton de selection de programme (6) permet de régler facilement le motif de point souhaité.
- Avant tout changement de point, toujours s'assurer que l'aiguille se trouve sur la position la plus haute.
Les lettres du bouton de selection du programme correspondant aux lettres se trouvant au-dessus des illustrations des motifs de point.
- Tourner le bouton de selection du programme de façon à ce que le type de point souhaite se situe au niveau du repère.
CONSEIL
Si la machine ne coud pas conformément au programme de couture sélection, faire faire un tour complet au bouton de selection du programme (6); returner ensuite sur le type de point souhaite.
Réglage de la longueur du point
Le règle-point (11) permet deCHOISIR la longueur du motif de point utilise.
- Faire tournier le règle-point de manière à ce que le chiffre de la longueur de point souhaitation se situe au niveau du repère.
- Les chiffres représentent la longueur approximative des points exprimée en millimétres.
Plus le chiffre est bas, plus le point est court.



Réglage de la largeur de point
Vous pouvez regler la largeur d'un point zigzag ou d'un modele de point à l'aide du régulateur de largeur de point (4) zigzag.
- Réglage 0: Point droit.
- Réglage 1-5: Largeurs différentes de points modèles.



AVERTISSEMENT
Lorsque vous utilisez la double aiguille, utilisez une largeur de point maximale de 3. Un reglage supérieur pourrait briser les aiguilles.
Types de point (programmes)
Les types de point sont régés avec le bouton de selection du programme (6). Avant tout changement du type de point, toujours veiller à ce que l'iguille se trouve sur la position la plus haute.
Proceder à une couture d'essay sur un échantillon de tissu avant d'utiliser un programme de point.
REMARQUE:
Pourmettre en place etretirer le pied-de-biche,lire page 29.
Point droit
Convient pour les travaux de couture courants et le surpiqueage.
Pied-de-biche: pied standard
Programme: A
Longueur du point: 1 à 4
Largeur de point: 0

#
Point zigzag
Le point zigzag est l'un des types de point les plus utilisés. Il permet de nombreuses utilisations, par ex. ourler, coudre des applications et monogrammes.
Avant d'utiliser le point zigzag, coudre quelques points droits afin de renforcer la couture.
Pied-de-biche: pied standard
Programme: A
Longueur du point: 0,5 a 4
Largeur de point: 1 à 5

CONSEILS POUR LE POINT ZIGZAG
Pour obtenir de plusieurs points zigzag, la tension du fil supérieur doit être plus l'âche que pour la couture de points droits.
Le fil supérieur doit être légèrement visible sur l'envers du tissu.
Point satin
On appelle point satin un point zigzag très serré, spécialement adapté aux applications, monogrammes et différents points décoratifs.
Selection du programme comme avec point zigzag normal.
3 3
Pied-de-biche: pied standard
Programme: A
Longueur du point: 0,5 a 2
Largeur de point: 1 à 2
CONSEIL
Lorsque vous utilisez ce point, vous doivent constamment veiller à ce que la tension du fil supérieur soit légerement relachée. Plus le point est large, plus la tension du fil supérieur doit être lâche. Pour la couture de tissus très fins ou couples, placer un papier fin sous le tissu et le coudre avec le tissu. Cela évite un allongement des points et un fronçage du tissu.
Zigzag à trois points
#
Ce type de point permet de surfiler les bords effilochés.
Pied-de-biche: pied standard
Programme: B
Longueur du point: 1 à 3
Largeur de point: 3-5
Ourlet aveugle inversé
>
Pied-de-biche: pied standard
Programme: C
Longueur du point: 1 à 3
Largeur de point: 3-5
Point invisible
Pour ce que I'on appelle les ourlets invisibles.
Pied-de-biche : . pied standard
Programme: D
Longueur du point: 1 a 3
Largeur de point: 5
Utiliser une couleur de fil à coudre s'accordant parfaitement à l'étoffe.
Avec des tissus très fins ou transparents, utiliser un fil de nylon transparent.
- Plier le tissu comme indiqué sur l'illustration.
- Coudre sur le pli comme indiqué. Les points droits doivent se situer sur l'ourlet, et les pointes des points zigzag doivent à chaque fois piquer exclusivement dans le pli supérieur du tissu.
- Retirer maintenant le tissu de la machine et l'étaler bien à plat.
Le tissu déplie dévoile à présent un point d'ourlet invisible.
Point elastique:
Triple point stretch droit et triple point zig zag
Utilisez les types de points pour coudre des tissus elastiques ou du tricot, pour coudre des bandes elastiques, etc.
Le triple point stretch croit produit une couture à point droit particulièrement solide, par ex. pour les entreprises de pantalon, l'insertion de manches, le couil à matelas, etc. Elle est trois fois plus résistante qu'une couture classique et aussi beaucoup plus extensible. On peut donc étendre cette couture avec le tissu sans que le fil ne casse.
Pied-de-biche: pied standard
Programme: E
Longueur du point: 1 à 3
Largeur de point: 0 a 5
Coudre tous les types de tissu élastique
Utiliser un fil synthétique. La couture sera ainsi quasiment invisible.
Assembler par couture deux pieces de tissu (déchirures)
Le point élastique permet d'assembler proprement deux pieces de tissu.
- Placer le bord de chacun des deux tissus sous le pied-de-biche. Veiller à ce que les deux bords ne s'éloignent pas l'un de l'autre et que l'aiguille pique régulierement à gauche et à droite dans le tissu.

VWV






Coudre des élastiques
- Placer l'élastique à l'endetroit souhaité.
- Coudre l'élastique à l'aide du point elastique, tout en maintainant des mains la bande tendue devant et derrière le pied-de-biche. Plus la tension est forte, plus le fronçage sera serré.
Point losange

Le point losange est utilisé dans de nombreux cas de figure et est décoratif, par ex. pour coudre de la dentelle ou des élastiques ou encore pour faire de la couture sur du stretch et d'autres matières élastiques.
Pied-de-biche: pied standard
Programme F
Longueur du point 4
Largeur de point: 5
Pour effectuer une couture en losange, tener compte de ce qui suit: Froncer régulièrement le tissu à coudre.
Placer une mince bande de tissu sous la fronce et la coude avec le point losange.
Terminer l'ouvrage de couture en losange avant d'intégrer la partie ainsi décorée à l'ensemble du vêtement.
Vous pouvez obtenir le même résultat avec des tissus très fins en enroulant un fil elastique sur la canette.

Point Overlock élastique


Ce point est particulièrement adapté à la couture du jersey et des vêtements de jogging ainsi que pour raccommoder. Ce point est aussi décoratif qu'utilitaire. Il se compose de lignes laterales et transversales et est totalement elastique
Pied-de-biche: pied standard
Programme: G
Longueur du point 4
Largeur de point: 5

Placer le bord du tissu sous le pied-de-biche de façon à ce que l'aiguille subissant une déviation à droite couse un point droit, tout en restant en contact avec le bord du tissu de manière à coudre un point zigzag avec la déviation à gauche.




Point fantaisie
Les programmes H à R offrent une multitude de points ornementsaux.
Pied-de-biche: pied standard
Longueur du point programmes H à K: 4
Longueur du point programmes L à R: 0,25 bis 1
Largeur de point: 5
Le point feston (programme N), par exemple, est idéal pour coude des motifs décoratifs de nappes, serviettes, cols, manchettes, etc.
Boutonnières
CONSEIL
Pour déterminer la longueur de fil ajusté, il est conseilé de coudre un motif de boutonnière sur un reste de tissu.
Pied-de-biche : . Pied-de-biche pour boutonnières
Programme: S à U
Longueur du point: 0,25 a 1
Largeur de point: 5
- Placer le pied-de-biche et l'aiguille sur la position la plus haute. Remplacer le pied-de-biche par le pied-de-biche pour boutonnières.
- Sur le tissu, marquer l'endroit où la boutonniere doit être cousue ainsi que la longueur de boutonniere souhaitation; utiliser un crayon ou une craie de tailleur.
Procedurea suivre
- Avec le bouton de selection du programme (6), désiré le programme S pour coudre l'arrêt de couture.
- Faire passer le fil supérieur par l'orifice du pied-de-biche pour boutonnieres et tirer les deux fils, supérieur et inférieur, sur l'envers. Descendre le pied-de-biche et coudre lentement sur la longueur souhaitation jusqu'à l'arrêt de couture latéral.
-
Relever l'aiguille sur la position la plus haute et passer au programme T pour l'arrêt de couture inférieur.
Coudre ensuite quelques points d'arrêt inférieur. -
Relever de nouveau l'aiguille sur la position la plus haute et passer au programme U pour l'arrêt de couture droit.
-
Coudreckiant l'arrêt de couture droit exactement sur la même longueur que pour le côte gauche.
-
Placer l'aiguille sur la position la plus haute et désir de nouveaux le programme U pour l'arrêt de couture supérieur.
-
Coudre alors, comme pour l'arrêt de couture inférieur, également l'arrêt de couture supérieur avec quelques points.
-
Pour terminer, il est conseilé de placer la longueur du point sur "0" et de coudre encore quelques points afin que les fils soient nouveaux et que la boutonnière ne s'effiloche pas.
- Ouvrir enfin le tissu entre les coutures à l'aide du couteau à découdre fourni. Executer cette opération avec précaution afin de ne pas endommager les points d'arrêt.
CONSEIL
Afin de ne pas couper l'arrêt de couture supérieur, il est conseilé de piquer une épingle devant l'arrêt de couture.







Coudre des boutons et des øeillets


Le pied-de-biche bleu-transparent permet de coudre facilement des boutons, des crochets et des oeillets.
Avec le bouton de selection du programme (6), désirir une largeur de point zigzag qui corresponde à l'écart entre les trous.
- Pour ces étapes de travail, monter la plaque à reprimer afin d'évier tout glissement de la piece de tissu. Montage de la plaque à reprimer, voir page 24
- Descendre le pied-de-biche et placer le bouton entre le tissu et le pied-de-biche de manière à ce que le point zigzag atteigne les trouss du bouton, comme indiqué sur l'illustration.
- Verifier le bon positionnement du bouton en tournant manuellement le volant à main (10). L'aiguille doit piquer exactement dans les trous du bouton afin d'éviter tout endommagement de l'aiguille. Si nécessaire, modifier la largeur du point zigzag.
Coudre 6 ou 7 points par trou a vitesse réduite.
Pour les boutons comportant quatre trous, le tissu est déplace avec le bouton: 6 à 7 points sont ensuite à nouveau cousus dans les autres trous. Une fois le tissu retire, couper le fil supérieur en laissant une certaine longueur, l'amener sur l'envers du tissu et le nouer au fil inférieur.
Coudre des boutons à tige
Avec les tissus épais, un bouton à tige est souvent nécessaire.
- Placer une aiguille - ou une allumette s'il s'agit d'une tige plus robuste - sur le bouton et commencer à coudre exactement comme avec n'importe quel bouton classique.
- Au bout d'une dizaine de points, retarder le tissu de la machine.
Retirer I'aiguille ou l'allumette du tissu a coudre. - Laisser le fil supérieur un peu plus long, l'enfiler dans le bouton et l'enrouler plusieurs fois aujourd'hui de la tige, puis le faire passer sur l'envers du tissu et le nouer au fil supérieur.
Insérer des fermétures à glissière
Utilisez le pied de biche de fermeture à glissière.
Selon le cote de la bande de la fermeture qui est cousu, le pied-de-biche doit toujours reposer sur le tissu.
C'est pourquoi le pied-de-biche est fixé soit sur le côte droit soit sur le côte gauche et non pas au centre comme avec les autres pieds-de-biche.
- Placer le pied-de-biche et l'aiguille sur la position la plus haute afin de remplacer le pied-de-biche.
- Faufiler la fermetre à glissière sur le tissu et positionner l'ensemble sous le pied-de-biche.
- Pour coude l'endroit de la fermeture à glissière, fixer le pied-de-biche pour fermetures à glissière de manière à ce que l'aiguille couse l'envers (1).
- Coudre l'endetroit de la fermeture à glissière de façon à ce que la couture passé le plus pres possible des dents. (1)
- Coudre la fermeture à glissière à environ 0,5 centimètre en dessous des dents avec une barrette.
- Pour coudre l'envers de la fermeture à glissière, changer la position du pied au niveau du support du pied-de-biche.
- Proceder de la même façon que pour la couture de l'endroit de la fermeture à glissière (2).
- Avant que le pied n'atteigne la fermeture zip de la bande de la fermetre à glissière, soulever le pied et ouvrir la fermeture à glissière tandis que l'aiguille reste dans la matière. (3)
Coudre des cordelettes
Le pied-de-biche pour fermétures à glissière permet aussi de coudre facilement des cordelettes, comme indiqué dans l'illustration.
- Rabattre une fois le tissu de manière à former un tunnel de cordelette, puis coudre le long de la cordelette, à l'occasion de quoi le pied-de-biche pour fermétures à glissière doit se couver derrière la cordelette.
Ourler
L'ourlet bord roulé/le pied ourleur permettent d'ourler sans problème des matières fines ou peu épaisses, par ex. des chemisiers, fou-lards en soie et volants. L'ourlage avec l'ourleur bord roulé assure les bords contre l'effilochage et produit un bord net et résistant.
- Placer le pied-de-biche et l'aiguille sur la position la plus haute et replacer alors le pied monté par le pied ourleur.
- Rabatte le début de l'ourlet en un repli d'environ 2 mm vers l'arrière.
- Introduire l'ourlet ainsi rabattu dans l'hélice du pied ourleur bord roulé.
- Coudre quelques points avec précaution et lentement ; nous conseillons de le faire en tournant le volant a main (10)
- Une fois que le début de l'ourlet a eté tiré dans le pied, commencer à coudre prudèment l'ourlet.
- Toujours retenir légèrement le bord du tissu de manière à ce qu'il dépasse un peu à gauche du pied-de-biche pour éviter tout glissement du tissu hors de l'hélice.




- Veiller à ce que le tissu ne glisse pas sous le côté croit du pied-de-biche.
CONSEIL
Tenir l'extrémité du tissu légarement en biais, cela facilitite l'introduction de l'ourlet dans le pied ourleur.
Avant la couture, fixer l'ourlet avec des épinges ou repasser légèrement le début de l'ourlet.
Pour obtenir un résultat optimal, ce travail presuppose des matières appropriées de même qu'une certaine expérience.
Repriser




Monter la plaque à reprimer
Pour certains travaux de couture, par ex. coudre des boutons, crochets, oeillets ainsi que pour reprimer ou broder, il est nécessaire que le transport automatique du tissu à coudre soit désactiver et que, au contraire, vous puissiez vous-même contrôler le transport du tissu. Dans ces cas, vous doivent monter la plaque à reprimer fournie avec les accessoires.
- Relever tout d'abord le levier du pied-de-biche (15) et placer l'aiguille sur la position la plus haute en tournant le volant à main (10).
- Pousser à présent les deux chevilles de la plaque à reprimer dans les ouvertures correspondantes de la plaque à aiguille (19) jusqu'à ce qu'elles s'enclenchent, comme indiqué sur les illustr. 1 et 2.
- Pour-retirer à nouveau la plaque à reprimer, il suffit de soulever les coins.
Repriser
- Retirer le support du pied-de-biche et désir la tension du fil inférieur normale.
La tension du fil supérieur doit être un peu plus lâche que la normalité.
Si nécessaire, il est possible de placer aussi un morceau de tissu sous l'endetroit abîme.
- Positionner l'ouvrage sous l'aiguille et abaiser le levier du pied-de-biche (15) afin que la tension du fil devienne efficace.
- Commencer à coudre lentement en faisant avancer et reculer lentement le tissu de la main.
- Répéter la méthode jusqu'à ce que l'endroit abîme soit totalement recouvert de points paralleles.
- Si nécessaire, il est possible - comme avec le raccommodage manuel - de reprimer encore une fois par-dessus en travers.
CONSEIL
Au cours du reprise, le tissu doit être bien tendu. Si l'endroit abi-mé est étendu, il est conseilé de placer le tissu sur un cadre à broder (disponible dans le commerce spécialise).
Broder
Généralités
Retirer le support du pied-de-biche, monter la plaque à reprimer etCHOISIR LA TENSION DU FIL INFÉUR normale.
La tension du fil supérieur doit être réglée si lâche que le fil inférieur ne puisse être tiré sur l'endroit du tissu.
- Placer le tissu sur un cadre à broder (disponible dans le commerce spécialisé).
- Abaisser le pied-de-biche pour que la tension de fil devienne efficace.
- Retenir le cadre à broder d'une main pendant la couture du motif choisi. Ne pas déplacer le tissu, mais toujours le cadre à broder.
REMARQUE
Ne pasapprocherlesdoigts troppresdel'aiguille.
CONSEIL
Nous vous conseillons de dessiner le motif de broderie souhaite sur l'endroit du tissu à l'aide d'un crayon ou d'une craie de tailleur (disponible dans le commerce spécialisé).

Coudre avec une double aiguille



La double aiguille est disponible dans les magasins spécialisés bien achalandés. Lors de l'achat, bien vérifier que l'écart entre les deux aiguilles ne dépasse pas 2,5 mm.
La double aiguille permet de réaliser de superbes motifs bicolores en utilisant pour coudre des fils de différentes couleurs.
REMARQUE:
Utilisez seulement le point droit ou le point zigzag avec la double aiguille.
Utilisez une largeur de point maximal de 3.
Avec d'autres programmes ou une largeur de point supérieure, les aiguilles peuvent se fausser ou se briser.
- Mettre en place la double aiguille comme s'il s'agissait d'une aiguille simple (voir page 28).
- Placer sur les porte-bobines amovibles (7) deux bobines comptant chacune la meme longueur de fil.
-
Bien s'assurer d'avoir place sur les deux porte-bobines (7) les deux disques en feutre fournis avec les accessoires.
-
Enfilier les deux fils dans le porte-fil, comme pour une aiguille simple.
-
Au niveau des disques de réglage de la tension du fil supérieur, faire passer les deux fils par les disques, veiller à ce qu'un fil passé à droite du disque central et l'autre, à gauche du disque.
-
Faire passer les deux fils par le guide-fil.
- Enfiler un fil dans le trou croit et un fil dans le trou gauche de la double aiguille.
REMARQUE:
Pour coudre un coin avec la double aiguille, faire sortir l'aiguille du tissu pour ne pas risquer de casser ou de déformer la double aiguille.
Coudre avec le bras libre
Le bras libre (16) permet de coudre plus facilement des articles tubulaires, cette fonction est très utile par ex. pour la couture de manches ou de jambes de pantalon.
Votre machine à coudre peut être très facilement transformée en une machine à bras libre, il suffit pour cela de-retirer de la machine la table-rallonge avec la boîte d'accessoires.
Le bras libre (16) est particulièrement utile pour les travaux de cou-ture suivants:
-- Raccommodage de coudes et genoux des vêtements.
-- Couture de manches, en particulier sur des vêtements plus petits.
-- Applications, broderies ou ourlets des bords, manchettes ou jambes de pantalon.
-- Possibilité de coudre des ceintures aux jupes ou pantalons.
Le guide à coudre
Le guide à coudre est utile pour effectuer une couture droite et parallèle le long du bord du tissu.
- Tournier légèrement la vis moletée du guide dans le trou du filletage situé juste à côte de la plaque à aiguille (19).
- Ajuster la distance du guide puis serrer la vis.
La plaque à aiguille (19) comporte quelques lignes de guidage pour vous aider.


Le guide ouatinage
- Faire glisser le guide ouatinage sous le ressort de serrage dans le renforcement prévu.
- Tracer la première couture avec une craie de tailleur et coudre.
- En s'aidant du guide ouatinage, coudre ensuite la deuxième cou-ture parallèlement à la première.
- L'écart entre les coutures peut être régle en'avant la glissière dans le sens de la flèche.


MAINTENANCE, ENTRETIEN ET NETTOYAGE

Avant toute opération de maintenance, de nettoyage ou de remplacement, toujours arrêté la machine et débrancher la prise de courant.
Remplacement de la lampe de la machine à coudre

L'interrupteur principal (13) permet d'allumer ou d'eteindre la lampe de la machine à coudre.
Ouvrez le couvercle frontal (21).
- Vous pouvez à présent pivoter le couvercle frontal (21) vers la gauche.
- Remplacer maintainant la lampe.
- Fermer le couvercle frontal (21) et le visser.
REMARQUE :
La puissance maximale autorisée de la lampe est de 15W. Les ampôules sont disponibles dans le commerce spécialisé.
Remplacer I'aiguille
- Faire tournier le volant à main (10) vers soi jusqu'à ce que l'aiguille se trouve sur la position la plus haute.
Retirer la vis du porte-aiguille en la faisant tourner vers soi.
Retirer I'aiguille du porte-aiguille. - Placer la nouvelle aiguille, le côte plat vers l'arrière. Pousser l'aiguille vers le haut jusqu'à la butée.
- Resserer la vis du porte-aiguille.

REMARQUE:
Les aiguilles sont disponibles dans le commerce spécialisé.
Pour les informations sur la désignation du modele et la puissance, se reporter au tableau des combinaisons tissu, fil et aiguille à la page 38.
Retirer et metre en place le pied-de-biche
Retirer
- Faire tournier le volant à main (10) vers soi jusqu'à ce que l'ai-guille se trouve sur la position la plus haute.
- Soulever le pied-de-biche en poussant vers le haut le levier du pied-de-biche (15).
- En poussant vers le haut le levier de déclenchement du pied-de-biche, derrière le support du pied-de-biche, le pied-de-biche retombe.


Mettre en place
- Placer le pied-de-biche de manière à ce que la cheville soit positionné sur le pied, directement sous la rainure du support du pied-de-biche. Abaisser le levier du pied-de-biche (15).
- Appuyer maintainant le levier de déclenchement du pied-de-biche vers le haut. Le pied-de-biche s'enclenche alors automatiquement.


Retirer et metre en place le support du pied-de-biche
Le support du pied-de-biche n'a pas besoin d'être retire, sauf pour raccommoder, brider ou facilitier le nettoyage des griffes d'entrainment (27).
Retirer
- Placer l'aiguille sur la position la plus haute en faisant tourner vers soi le volant à main (10) et pousser le levier du pied-de-biche (15) vers le haut.
- Retirer le pied-de-biche du support du pied-de-biche et desserrer la vis du support du pied-de-biche à l'aide du tournevis fourni.


Mettre en place
- Placer l'aiguille sur la position la plus haute en faisant tourner vers soi le volant à main (10) et pousser le levier du pied-de-biche (15) vers le haut.
- Lors de la mise en place du support du pied-de-biche, le pousser aussi loin que possible vers le haut et serrer la vis du support du pied-de-biche à l'aide du tournevis fourni.


Entretien de la machine à coudre
La machine à coudre est un produit mécanique de précision qui nécessite un entretien régulier pour pouvoir fonctionner correctement.
Vous pouvez vous occuper personnellement de cet entretien. L'entretien signifie avant tout: Nettoyage et lubricification.
REMARQUE:
Pour la lubrification, utiliser uniquement des huiles spéciales pour machine à coure de qualité supérieure, les autres huiles ne sont pas adaptées.
Après la lubrification, veiller à ce qu'aucun résidu d'huile ne se trouve dans l'appareil. Pour éliminer ces résidus, coudre quelques points sur un échantillon ou une chute de tissu. Cela permet d'évier de salir le tissu à coudre.
Nettoyage du boitier et de la pédale
Avant le nettoyage, débrancher la fiche secteur de la prise de courant.
Pour nettoyer le boitier et la pedale, utiliser un chiffon sec et doux. Éviter les solvants et produits d'entretien chimiques qui risqueraient d'endommager la surface et/ou les inscriptions de l'appareil.
Nettoyage des griffes d'entrainment
Pour garantir une couture parfaite, il est nécessaire que les griffes d'entrainment du tissu soient toujours propres.
- Retirer l'aiguille et le pied-de-biche (voir page 28 f.).
- Ouvrir la vis de la plaque à aiguille (19) afin de-retirer la plaque de la machine.
- Enlever la poussière et les bribes de fil des griffes d'entrainment à l'aide d'une brosse.
- Remetre en place la plaque à aiguille (19).
Nettoyage et lubrication du boitier de la canette
- Amener l'aiguille sur la position la plus haute, sinon la griffe ne peut pas etre retiree.
-
Retirer la boite à canette.
-
Faire pivoter vers l'extérieur les leviers à ressort, comme indiqué, et enlever l'anneau de la coursière.
-
Retirer la griffe en retenant le tenon au centre de la griffe.
- Enlever toutes les impuretés de l'anneau de la coursière et huiher les pièces avec un chiffon.
- Verser une à deux gouttes d'huile sur la coursière de la canette, comme indiqué.
- Assemblier de nouveau le tout dans l'ordre inverse du démontage.







Lubrification de la machine
REMARQUE:
Votre machine a coudre est huiée à l'usine et prete a été utilisée.
Lubrification de la partie située derrière le couvercle de la machine
Les éléments à huiler sont indiqués par une flèche sur l'illustration. Avant la lubrification, ces éléments doivent être nettoyés. Verser sur ces éléments une ou deux gouttes d'une huile pour machine à coudre de bonne qualité.

Si la machine ne fonctionne plus correctement suite à une longue période d'inutilisation, faire tournerrapidement la machine huilée, couvercle frontal (21) fermé, pendant environ une minute.
Ne pas oublier de coudre d'abord sur une chute de tissu pour épon-ger l'huile pouvant eventuellement s'échapper.
CONSEIL
En cas d'utilisation fréquence, cette partie de la machine doit être huiée plus souvent.
Démontage du couvercle arrêté du boîtier
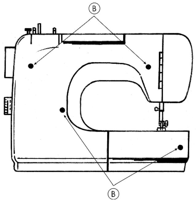
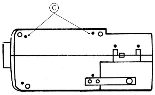
- Pousser le levier du pied-de-biche (15) vers le haut, ouvrir le couvercle (21) et desserrer les vis (A).

REMARQUE:
Comme les vis A, B et C sont différentes, toujours les conserver séparément.
- Retirer la table-rallonge et ouvoir le couvercle de la boite à canette (18).
- Coucher la machine avec l'arrière tourné vers le haut et visser les quatre vis (B) et les deux vis (C) au sol, comme indiqué.


-
Remetre la machineABOUT.
-
Seuls de petits crochets internes en plastique retiennent à présent l'arrière du couvercle, comme illustré.

- Appuyer maintainant avec précaution d'une main vers le bas le bord supérieur du couvercle arrêté (à où se trouvent les crochets).
Retirer le couvercle arriere vers l'extérieur.

Lubrification des parties inférieure et supérieure de la machine
Les éléments à huiler sont indiqués par une flèche sur l'illustration. Avant la lubrification, ces éléments doivent être nettoyés. Verser sur ces éléments une ou deux gouttes d'une huile pour machine à coudre de bonne qualité.

Face supérieure

Dessous
CONSEIL
Les éléments marqués d'une flèche ne doivent être huiliés que rarement, tous les deux à trois mois environ selon la fréquence d'utilisation.
Montage du couvercle arrêté du boîtier
- Remetre le couvercle arrêt en place et veiller à ce qu'il s'enclenché.
- Remetre maintenant la machine sur l'avant et desserrer les vis A, B et C.
- Fermer le couvercle de la boite à canette (18) et le couvercle frontal (21).
- Remetre enfin en place le couvercle du boitier pour la pedale et l'appuyer solidement jusqu'à ce qu'il s'enclenche.
REMARQUE:
Pour facilitier le montage, toujours veiller à ce que le levier du pied-de-biche (15) se trouve en haut et à ce que le couvercle de la boîte à canette (18) reste ouvert.
Le couvercle du boitier de la pédale est seulement enclenché.

Couvercle du boîtier électrique
En cas de problèmes, veuillez relèse les instructions d'utilisation et vérifier si vous avons respecté toutes les consignes.
Veuillez-vous adresser à notre service après-vente uniquement si les solutions mentionnées n'ont pas résolu le problème.
| Problème | Origine | Côté |
| La machine se bloque | La machine doit être huilée | page 32 |
| Des poussières et des fils sont coincés dans la courrière | page 32 | |
| Des résidus se trouvent dans les dents des griffes d'entrainment du tissu | page 32 | |
| Une mauvaise huile a été utilisée et a engorgé la machine | page 32 | |
| Le fil supérieur casse | Les fils ne sont pas correctement enfilés dans la machine | page 10 |
| La tension du fil est trop forté | page 13 | |
| L'aiguille est déformée ou épointée | page 15 | |
| L'aiguille n'est pas adaptée à l'épaisseur du fil | page 15 | |
| L'aiguille n'est pas correctement mise en place | page 28 | |
| Le tissu n'est pas passé en arrêté à la fin de la couture | page 16 | |
| La plaque à aiguille, la canette ou le pied-de-biche sont endommagés | ||
| Le fil inférieur se casse | Le fil inférieur s'emmèle à cause d'un mauvais embobinage de la canette | page 7 |
| Le fil inférieur ne se trouve pas dans la boîte à canette, sous le ressort tenseur | page 7 | |
| L'aiguille se casse | L'aiguille a été mal mise en place | page 28 |
| L'aiguille est déformée | page 15 | |
| L'aiguille est trop fine | page 15 | |
| Le tissu a été tiré au cours de la couture | page 16 | |
| Le fil comporte un nœud | page 10 | |
| L'aiguille a été mal enfilée | page 13 | |
| Avec les doubles aiguilles : la largeur de point doit être supérieure à 3 ou programme spécifique utilisé | page 26 | |
| La machine allonge des points | L'aiguille a été mal mise en place | page 28 |
| L'aiguille a été mal enfilée | page 13 | |
| L'aiguille et/ou le fil n'est pas adapté au tissu | page 38 | |
| Le tissu est trop épais ou trop dur | page 38 | |
| Le tissu a été tiré au cours de la couture. | page 16 | |
| Contraction ou fronçage de la couture | La tension du fil supérieur est trop forte | page 13 |
| Le fil a été mal chargé dans la machine | page 10 | |
| L'aiguille est trop grosse pour le tissu | page 38 | |
| Le fil fait des boucles | La tension du fil n'est pas réglée | page 13 |
| Le fil supérieur n'est pas correctement enfilé et/ou le fil inférieur n'est pas correctement embobiné | page 7 | |
| La solidité du fil ne convient pas au tissu | page 38 | |
| Le tissu progressive de façon irrégulière | La longueur du point est réglée sur “ 0 ” | page 17 |
| Des bribes de fil se trouvent dans la coursière | page 31 | |
| La machine ne fonctionne pas | La machine à coudre n'est pas correctement branchée ou la prise de courant n'est pas sous tension | page 6 |
| Des bribes de fil se trouvent dans la coursière | page 31 | |
| Le commutateur sur le volant à main est positionné sur le symbole d'emboinage | page 7 |
TABLEAU DES COMBINAISONS TISSU, FIL ET AIGUILLE
En règle générale, les fils et aiguilles fins sont utilisés pour la couture de tissus légers, les fils et aiguilles plus écais, pour les tissus lourds. Toutjours tester la solidité du fil et de l'aiguille sur une chute du tissu à coudre. Utiliser le même fil pour l'aiguille et la canette. Si vous poulez coudre sur un tissu fin ou sur des coutures stretch synthétiques, utilisez les aiguilles dotées d'une tige bleue (disponibles dans le commerce spécialisé). Elles permettent d'eviter l'allongement des points.
| Epaisseur du tissu | Nature du tissu | Fil | Aiguille | Longueur du point | Tension du fil supérieur | |
| Point droit | Zigzag | |||||
| 43210 | ||||||
| Tissus fins | ||||||
| Nylon Batiste Voile | 80 Coton | 65 | 1 - 3 | 1 - 4 | ||
| Jersey | 60 Synthétique | |||||
| Soie | 50 Soie | |||||
| Laine Soie | 50 Soie synthétique | 75 | ||||
| Tissus peu écais | ||||||
| Percale Piqué Lin | 60 - 80 Coton | 75 - 90 | 0,5 - 3 | 0,5 - 4 | ||
| Jersey | 60 Synthétique | 75 | ||||
| Gabardine | 50 Soie | |||||
| Tissus écais | ||||||
| Blue-jeans Tissu cover | 50 Coton | 75 - 90 | 0,5 - 3 | 0,5 - 4 | ||
| Jersey | 50 Synthétique | |||||
| Laine Tweed | 50 Soie | |||||
RECYCLAGE

Emballage
Votre machine à coudre se trouve dans un emballage la protégeant des risques de dommages liés au transport. Les emballages sont des matières premières et peuvent être recyclés ou réintegrés dans le circuit des matières premières.

Appareil
Lorsque votre machine à coudre arrive en fin de vie, ne la jetez enaucun cas dans une poubelle classique.Informez-vous apres de votre municipalite des possibilites d'elimination ecologique et adaptee.
DONNÉES TECHNIQUES
Machine à coudre
Tension nominale: 230V 50Hz
Puissance absorbée : totale 75 W
Moteur: 60 W
Lampe: 15 W
Taille du filetage E14
Pédale:
Type:KD2902
Tension nominale: 220V - 240V 50Hz
Classe de protection II


Sous réserve de modifications techniques!
A
Aiquille 15, 28
Anneau de la courrière 31
Assembl par couture des pieces de tissu 19
B
Boite à canette 31
Boite d'accessoires 5, 6
Boitier de la canette 31
Bouton de selection du programme 17
Boutonnières 21
Bras libre 27
Broder 25
C
Canette de fil inférieur 7
Changement de direction de la couture 16
Charger le fil dans la boite à canette 9
Charger le fil supérieur 10
Commande de la vitesse de couture 6
Contenu de la livraison 4
Coudre des boutons à tige 22
Coudre des boutons et des oeillets 22
Coudre des cordelettes 23
Coudre des élastiques 20
Coudre des tissus elastiques 19
Couper le fil 16
Coursiere 31
Couture en marche arriere 16
D
Double aiguille 26
E
Embobiner la canette de fil inférieur 7
F
Fermetures à glissière 23
G
Griffe 31
Griffes d'entrainment 31
Guide à coude 5, 27
Guide ouatinage 5, 27
1
Insérer la boite à canette 10
L
Lampe de la machine à coudre 28
Levier releveur de fil 11
Pied-de-biche pour boutonnieres 5, 21
Pied-de-biche pour fermétures à glissière 5, 23
Pied-de-biche pour pose de boutons 5
Réglage de la largeur de point 17
Réglage de la longueur du point 17
Remonter le fil inférieur 12
Repriser 24
Retirer la boite a canette 9
Retirer le pied-de-biche 29, 30
Roulette de réglage de la tension du fil supérieur 11
s
Support du pied-de-biche 30
T
Tableau des combinaisons aiguille 38
Tableau des motifs de points 39
Table-rallonge 6,9,27,33
Tension du fil 13, 14
Tension du fil inférieur 13, 14
Tension du fil supérieur 13
S41/08
MSN 5002 9176
Medion France
CS90180
72207 LA FLECHE CEDEX
NoIndigo 0 825 81 1000
pc-support-fr@medion.com
www.medion.fr
Carte de Garantie
Nos produits sont soumis à des contrôleles de qualité rigoureux. Si malgré ces contrôleles, vous appeareil ne fonctionne pas correctement, nous vous demandons de contacter le service après-vente indiqué sur la carte de garantie.
Conditions de garantie (sans pour autant réduire les droits légaux) :
- La garantie a une durée maximum de 3 ans à compter de la date d'achat du produit. La garantie consiste soit en la réparation des defaults de matériaux et de fabrication ou en l'échange du produit. Ce service est gratuite.
- Les defaults doivent être signalés rapidement. Toutre réclamation au-delà de la durée de la garantie ne peut être prise en compte, sauf si elle intervient dans un délal de 2 semaines, à l'expiration de celle-ci.
- Le produit défectueux devra être returné (frais de port pris en charge par Medion) et après accord préalable avec le service après-vente, accompagné de la carte de garantie et du ticket de caisse. Si le défaut est couvert par la garantie, vous recevrez l'appareil réparé ou un nouvel apparéil.
Veuillez notes que notre garantie n'est plus valable en cas de défaut d'utilisation, de non-suivi des mesures de sécurité, si le produit a subi des chocs ou a fait l'objet d'une réparation par un S.A.V. non mentionné sur la carte de garantie. Dans le cas d'un défaut non garanti, les frais de réparation seront à votre charge. Il est néanmoins possible de s'adresser au S.A.V mentionné.
Service Hotline: No/Indigo 0825 81 1000
Téléphone: 0 892 35 05 40 (0,34 cts €/min)
E-mail: pc-support-fr@medion.com · www.medion.fr
IMPORTANT! La garantie n'est valable qu'avec le ticket de garantie accompagné
Expéditeur (en caractères d'imprimerie S.V.P) Remplir et expédier S.V.P
Nom
Prénom
Rue
( x - 1) ( y - 2) = 0
Code postal/ville
Code postal/ville
Telephone
( x - 2x) t - xy^2 = ( x - 2x) f^ t
1 + u1 - 1 = ( 1 + u) u1 < 1 = u
MSN 5002 Signature
4015625500291761
MEDION
MEDION France
CS 90180
72207 La Fleche Cedex

Notice Facile