50029176 - Machine à coudre QUIGG - Notice d'utilisation et mode d'emploi gratuit
Retrouvez gratuitement la notice de l'appareil 50029176 QUIGG au format PDF.
| Type de machine | Machine à coudre mécanique |
| Aiguilles | Double aiguille |
| Fonction point | Point droit, point zigzag |
| Vitesse de couture | Variable, jusqu'à 800 points/min |
| Alimentation | Électrique |
| Type de canette | Canette horizontale |
| Enfile-aiguille | Manuel |
| Éclairage | Lampe intégrée |
| Table d'extension | Non précisé |
| Accessoires inclus | Accessoires de couture standards |
| Poids | Environ 5 à 7 kg |
| Dimensions | Non précisé |
| Matériau du corps | Plastique et métal |
| Garantie | Non précisé |
| Utilisation recommandée | Usage domestique |
FOIRE AUX QUESTIONS - 50029176 QUIGG
Téléchargez la notice de votre Machine à coudre au format PDF gratuitement ! Retrouvez votre notice 50029176 - QUIGG et reprennez votre appareil électronique en main. Sur cette page sont publiés tous les documents nécessaires à l'utilisation de votre appareil 50029176 de la marque QUIGG.
MODE D'EMPLOI 50029176 QUIGG
Machine à COUDRE avec DOUBLE aiguille

MD 11836
MODE D'EMPLOI
Principaux composants

1 Levier relevé de fil 14 Boîtier de la fiche de la pédale 2 Roue de réglage de la tension de fil supérieur 15 Levier du pied de biche (sur l'envers) 3 Guide du fil supérieur 16 Bras libre 4 Régulateur de la largeur de point 17 Pied réglable 5 Poignée amovible 18 Couvercle de la boîte à canette 6 Bouton de sélection du programme 19 Plaque à aiguille 7 Porte-bobines amovibles 20 Guide-fil 8 Fuseau de la canette 21 Couvercle frontal 9 Butée de la canette 10 Volant à main 11 Réglage-point 12 Navette marche arrière 13 Interrupteur principal (Moteur et lumière)
Mécanique de couture

22 Porte-aiguille 23 Vis du porte-aiguille 24 Guide-fil du porte-aiguille 25 Aiguille 26 Pied-de-biche
27 Griffe d'entraînement 28 Vis du support de pied-de-biche 29 Support de pied-de-biche 30 Levier de déclenchement du pied-de-biche
TABLE des matières
Consignes de sécurité 2
Apprenez à connaître votre appareil 4
Contenu de la livraison 4
Contenu de la boîte d'accessoires 5
Branchements électriques 6
Stabilité de la machine à coudre 6
Commande de la vitesse de couture 6
Mettre en place et retirer la table-rallonge 6
Boîte d'accessoires 6
Opérations préliminaires 7
Embobiner la cassette de fil inférieur 7
Retirer la boîte à canettes 9
Charger le fil dans la boîte à canette 9
Insérer la boîte à canette 10
Charger le fil supérieur 10
Remonter le fil inférieur 12
Réglages 13
Réglage de la tension du fil 13
Vérifier les tensions du fil 14
Coudre 15
Généralités 15
Choisir l'aiguille 15
Soulver et abaisser le pied-de-biche 15
Protège-doigts 16
Couture en marche arrière 16
Retirer le tissu de la machine à coudre 16
Changement de direction de la couture 16
Couper le fil 16
Bouton de sélection du programme 17
Réglage de la longueur du point 17
Réglage de la largeur du point 17
Types de point (programmes) 17
Boutonnières 21
Coudre des boutons et des yeux-de-bœuf 22
Insérer des fermetures à glissière 23
Ourler 23
Repriser 24
Broder 25
Coudre avec une double aiguille 26
Coudre avec le bras libre 27
Le guide à coudre 27
Le guide ouatination 27
Maintenance, entretien et nettoyage 28
Remplacement de la lampe de la machine à coudre 28
Remplacer la aiguille 28
Retirer et mettre en place le pied-de-biche 29
Retirer et mettre en place le support du pied-de-biche 30
Entretien de la machine à coudre 30
Lubrification de la machine 32
Problèmes 36
Tableau des combinaisons tissu, fil et aiguille 38
Recyclage 39
Données techniques 39
Index des mots-clés 40

Avant la première utilisation, lisez attentivement ce mode d'emploi et veillez surtout à vous conformer aux consignes de sécurité !
Toute action subie par et effectuée avec cet appareil doit se dérouler tel que décrit dans le mode d'emploi.
Si vous donnez l'appareil, il est indispensable que vous remettiez également ce mode d'emploi !
Ne pas laisser d'appareils électriques entre les mains des enfants
Les enfants ne se rendent pas compte des risques liés à l'utilisation d'appareils ÉLECTRIQUES.
Ne jamais laisser un enfant utiliser la machine à coudre sans surveillance. ATTENTION : il est aussi possible de se blesser avec les aiguilles même lorsque la machine n'est pas branchée sur secteur.
Conserver également le matériel d'emballage hors de portée des enfants. Ils pourraient s'étouffer.
Cet appareil n'est pas destiné à être utilisé par des personnes (y compris les enfants) dont les capacités physiques, sensorielles ou mentales sont limitées ou qui manquent d'expérience et/ou de connaissance, sauf si elles sont surveillées par une personne responsable de leur sécurité ou qu'elles reçoivent de cette personne les instructions pour utiliser l'appareil.
Cable d'alimentation secteur et raccordement au secteur
Relier l'appareil à une prise de courant aisément accessible (230 V ~ 50 Hz) située à proximité de l'appareil. La prise de courant doit rester accessible s'il devait s'avérer nécessaire de débrancher rapidement l'appareil.
En cas de débranchement de la fiche, toujours saisir la fiche elle-même et ne pas tirer sur le câble.
En cours de fonctionnement, dérouler entièrement le câble.
Disposer le câble d'alimentation secteur et la rallonge de manière à ce que personne ne puisse trébucher dessus.
Le câble ne doit pas entrer en contact avec des surfaces chaudes.
Pour les actions suivantes, éteindre la machine à coudre et débrancher la prise de courant : charger le fil, changer l’aiguille, régler le pied-de-biche, changer l’ampoule, opérations de nettoyage et d’entretien ainsi qu’à la fin des travaux de couture et lors de toute interruption de l’ouvrage.

En cas d'endommagement de l'appareil ou du cordon d'alimentation, débrancher immédiatement la fiche secteur de la prise de courant.
En cas d'endommagement visible de la machine à coudre ou du câble d'alimentation secteur, l'appareil ne doit pas être utilisé afin d'éviter tout danger.
N'essayer en aucun cas d'ouvrir et/ou de réparer soi-même l'appareil. Il y a risque d'électrocution! En cas de problème, s'adresser à notre Centre de service ou à un autre atelier spécialisé.
Si le câble d'alimentation de cet appareil est endommagé, le faire remplacer par le fabricant, son service après-vente ou une personne qualifiée afin d'éviter tout danger.
Remarques fondamentales
La machine à coudre ne doit pas être mouillée - il y a risque de décharge électrique!
Ne jamais laisser la machine à coudre sans surveillance lorsqu'elle est allumée.
Ne pas utiliser la machine à l'extérieur.
L'appareil doit être mis en marche uniquement avec la pédale de type KD 2902 fournie.
Manipulation sûre de l'appareil
Installer la machine à coudre sur une surface de travail plane et stable.
En cours d'utilisation, les orifices d'aération ne doivent pas être obstrués : veiller à ce qu'aucun objet (par ex. poussière, bribes de fil, etc.) ne pénètre dans les ouvertures.
Utiliser uniquement les accessoires fournis.
Pour la lubrification, utiliser uniquement des huiles spéciales pour machine à coudre. N'utiliser aucun autre liquide.
Manipuler avec prudence les pièces mobiles de la machine, en particulier l'aiguille. Des risques de blessures subsistent même lorsque la machine est débranchée!
Pendant la couture, veiller à ce que les doigts ne se trouvent jamais sous la vis du porte-aiguille.
Ne pas utiliser d'aiguilles déformées ou épointées.
Au cours de la couture, ne pas retenir le tissu ni le tirer. Les aiguilles pourraient se casser.
Une fois l'ouvrage de couture terminé, toujours placer l'aiguille sur la position la plus haute.
Nettoyage et stockage
Avant le nettoyage, veiller à débrancher la fiche secteur de la prise de courant. Pour nettoyer l'appareil, utiliser un tissu sec et doux. Éviter les solvants et produits d'entretien chimiques qui risqueraient d'endommager la surface et/ou les inscriptions de l'appareil.
Pour le stockage, toujours recouvrir la machine à coudre du couvercle fourni afin de protéger la machine de la poussière.
Contenu de la livraison
Au cours du déballage, s'assurer que les éléments suivants ont bien été livrés :

1) Machine à coudre 2) Table-rallonge avec boîte d'accessoires 3) Pédales 4) Porte-canettes pour fils Overlock
Pièces suivantes sans illustration
Couvercle Mode d'emploi et documents relatifs à la garantie
Contenu de la boîte d'accessoires

1) Pied standard (point droit/zigzag) (monté) 2) Pied ourleur 3) Pied-de-biche pour boutonnières 4) Pied-de-biche pour fermétures à glissière 5) Pied-de-biche pour pose de boutons 6) Guide à coudre 7) Guide ouatinage 8) Plaque à repriser 9) Canettes de rechange (3 pieces) 10) Protège-doigts (monté) 11) Feutre pour porte-bobine (2 pieces) 12) Assortiment d'aiguilles 13) Burette 14) Tournevis (grand) 15) Tournevis (petit) 16) Couteau à découdre
Branchements électriques

L'interrupteur de courant allume aussi bien la machine que la lampe de la machine à coudre.
- Insérer le connecteur de la pédale fournie dans le boîtier de la fiche de la machine puis la fiche secteur dans la prise de courant.
Utiliser uniquement la pédale de type KD 2902 fournie.
Après l'ouvrage ou avant toute opération de maintenance, toujours arrêtez la machine et débranchez la fiche secteur de la prise de courant.
Stabilité de la machine à coudre

Le pied régable (17) permet d'ajuster la stabilité de la machine à coudre.
- Faire tournier le pied régable vers la droite pour le pivoter vers le bas, ou vers la gauche pour le pivoter vers le haut.
- Ajuster le pied de telle manière que la machine à coudre soit bien droite sur le plan de travail et non bancale.
Commande de la vitesse de couture

La vitesse de couture est commandée à l'aide de la pédale. La vitesse de couture peut être modifiée en exercant une pression plus ou moins importante sur la pédale.
Mettre en place et ptrer la table-rallonge

Lors de sa livraison, la machine est dotée d'une table de travail.
- Pour retirer la table-rallonge, la faire coulisser avec précaution vers la gauche.
- Pour mettre en place la table-rallonge, placer la table-rallonge avec précaution contre la machine et la faire coulisser vers la droite jusqu'à ce que vous l'entendiez s'enclencher.
Boîte d'accessoires

La boîte d'accessoires est intégrée à la table-rallonge.
- Pour l'ouvrir, il suffit de rabattre vers soi le couvercle de la table-rallonge, les accessoires sont alors bien accessibles.
Embobiner la canette de fil inférieur
Les canettes de fil inférieur se laissent embobiner rapidement et facilement avec la machine à coudre.
Pour cela, passer le fil de la bobine à travers le guide-fil jusqu'à la canette.
Pour la procédure à suivre exacte pour l'embobinage, se reporter aux points suivants :
- Pour que l'aiguille reste en place lors de l'embobinage, positionnez le commutateur du volant à main (10) sur le symbole de l'embobinage.
- Retirer intégralement l'un des porte-bobines (7) et y glisser une bobine.


- Passer maintenant le fil de la bobine à travers le guide-fil, comme indiqué sur l'illustration.

- Passer l'extrémité du fil par l'orifice de la canette, comme indiqué sur l'illustration, et enrouler manuellement de quelques tours le fil sur la canette.

- Placer la canette sur le fuseau de la canette (8) de manière à ce que l'extrémité du fil se situe en haut de la canette. Faire tourner le fuseau de la canette (8) vers la droite contre la butée de la canette (9) jusqu'à ce que vous l'entendiez s'enclencher.



- Tenir l'extrémité du fil et actionner la pédale. Dès que l'emballage a été amorcé au niveau de la canette, relâcher l'extrémité du fil. Embobiner jusqu'à ce que le fuseau de la canette (8) s'arrête automatiquement.
- Faire tourner le fuseau de la canette (8) vers la gauche et retirer la canette. Couper le fil.
- Repositionnez le commutateur du volant à main sur le symbole de l'aiguille. L'aiguille se déplace à nouveau lorsque la pédale est actionnée.
Si la répartition du fil s'effectue irrégulièrement lors de l'embobinage, il est possible de régler la hauteur du guide-fil.
Ouvrir le couvercle frontal (21) - Retirer la vis (B) pour régler la hauteur du guide-fil (A).



Retirer la boîte à canette
- Retirer la table-rallonge.
- Placer l'aiguille, en faisant tourner le volant à main (10), ainsi que le pied-de-biche sur la position la plus haute et ouvrir le couvercle de la boîte à canette (18), comme indiqué dans l'illustration.

- Ouvrir le levier basculant de la boîte à canette et l'extraire de la machine.

- Quand on relâche le levier basculant, la canette sort d'elle-même de la boîte à canette.

Charger le fil dans la boîte à canette
- Tenir la canette entre le pouce et l'index de la main droite et laisser partager env. 15 cm de fil.
- Tenir la boîte à canette de la main gauche et insérer la canette dans la boîte à canette.

- Passer l'extrémité du fil dans la fente située au bord de la boîte à canette.

- Faire passer le fil sous le ressort tenseur et par l'orifice destiné au fil. S'assurer qu'environ 15 cm de fil sortent de la canette.

Insérer la boîte à canette
- Tenir la boîte à canette de manière à ce que le doigt de la boîte pointe vers le haut. Ouvrir le levier basculant de la boîte à canette.

- Placer la boîte à canette sur la cheville centrale et pousser avec précaution le boîtier à l'intérieur jusqu'à ce que le doigt de la boîte à canette pénètre dans l'anneau de la coursière.

- Relâcher le couvercle et l'appuyer sur la boîte à canette.
- Fermer le couvercle de la boîte à canette (18).
Charger le fil supérieur
Prenez le temps de lire attentivement les instructions suivantes, car un non-respect de l'ordre ou de l'enfilage peut entraîner une rupture du fil, l'allongement des points et le plissement du tissu.
La représentation schématique du guide-fil est aussi reproduite sur le couvercle frontal (21), s'inspirer aussi de ce schéma.
- Avant de charger le fil, placer l'aiguille sur la position la plus haute en tournant le volant à main (10) et lever au maximum le levier du pied-de-biche.
- Placer une bobine sur un porte-bobine (7) de manière à ce que le fil sorte à l’arête de la bobine.
- Tenir la bobine dans la main droite.

- Faire maintenant passer le fil à travers le guide-fil supérieur (3), comme indiqué.
- Faire ensuite passer le fil entre les disques de tension de la roulette de réglage de la tension du fil supérieur (2), comme indiqué.


Conseil
Une tension du fil supérieur de 3 est idéale pour la plupart des utilisations.
- Faire passer le fil vers le haut à travers le guide-fil avant, le ressort de guidage interne est alors automatiquement poussé vers le haut.

Enfiler ensuite le fil de droite à gauche à travers le crochet du levier relevé de fil (1).
Remarque:

Faire éventuellement tourner le volant à main (10) pour relever le levier relevé du fil jusqu'en haut.
- Faire maintenant de nouveau passer le fil vers le bas en direction de l'aiguille, il est alors placé par le guide-fil interne et le guide-fil du porte-aiguille.
- Enfiler maintenant le fil d'avant en arrêt dans le trou et laisser environ 10cm de fil.

Remonter le fil inférieur
- Placer le pied-de-biche (26) en position haute.
Faire tourner le volant à main (10) vers soi de la main droite, jusqu'à ce que l'aiguille se déplace vers le bas, puis à nouveau vers le haut.
Arrêter le volant à main (10) dès que l'aiguille a atteint la position la plus haute.
Tenir l'extrémité du fil supérieur dans la main gauche.
Tirer le fil supérieur légèrement vers le haut, de manière à ce que le fil inférieur forme une boucle.

- Tirer env. 10 cm des deux fils vers l'arrière sous le pied-de-biche (26).

Réglage de la tension du fil
Si le fil casse au cours de la couture, ILA signifie que la tension du fil est trop forte.
Si de petites boucles se forment pendant la couture, la tension du fil est trop faible.
Dans les deux cas de figure, la tension du fil doit être réglée.
Pour ce faire, la tension du fil supérieur et celle du fil inférieur doivent être proportionnées l'une par rapport à l'autre.
Régler la tension du fil supérieur
La tension est générée par les disques par lesquels passe le fil. La pression sur ces disques est réglée par la roulette de réglage de la tension du fil supérieur (2).
Plus le nombre est élevé, plus la tension est forte.

Remarque:
Une tension du fil supérieur de 3 convient pour la plupart des travaux de couture.
La tension du fil supérieur est activée uniquement si le pied-de-biche a été abaissé.

Il existe plusieurs causes obligeant à régler la tension. Selon la nature du tissu, par exemple, la tension doit être plus ou moins forte.
La tension nécessaire dépend de la résistance et de l'épaisseur du tissu, du nombre d'épaisseurs à coudre et du type de point choisi.
Veiller à ce que la tension du fil supérieur soit égale à celle du fil inférieur, le tissu pourrait sinon se plisser.
Avant tout ouvrage de couture, nous conseillons de faire un essai sur une chute de tissu.
Régler la tension du fil inférieur
La tension du fil inférieur doit rarement être ajustée puisqu’elle est déjà réglée par le fabricant pour les travaux de couture courants.
Si vous parvenez à faire sortir légèrement le fil de la canette avec une petite résistance, cela signifie que la tension du fil inférieur de la canette est correctement réglée.
Le fil inférieur doit toutefois être réglé pour les tissus particulièrement fins ou très épais.
Pour modifier le réglage de la tension du fil inférieur, utiliser la vis de réglage de la boîte à canette. Pour effectuer le réglage, utiliser le petit tournevis fourni.
Retirer la boîte à canette :
Tension inférieure :
Tourner la vis dans le sens contraire des aiguilles d'une montre.
Tension supérieure :
Tourner la vis dans le sens des aiguilles d'une montre.



Vérifier la tension du fil inférieur
La façon la plus simple de vérifier la tension du fil inférieur consiste à coudre un point zigzag moyen sur le tissu à coudre.
Pour ce faire, utiliser l'aiguille et les fils prévus.
L'utilisation de fils de couleurs différentes pour les fils supérieur et inférieur donne un résultat d'autant plus net.
Coudre lieutenants quels points zigzag.
La tension du fil est correcte lorsque le fil inférieur n'est pas visible sur l'endroit du tissu.
Veillez à toujours coudre des points réguliers (voir illustration à gauche).

Couture correcte
La tension du fil supérieur et inférieur est correctement régée lorsque les circonvolutions des fils se situent au milieu du tissu.
Le tissu reste lisse et ne forme aucun pli.




Coutures incorrectes
Le fil supérieur est trop tendu et tire le fil inférieur vers le haut. Le fil supérieur apparaît sur le pli supérieur du tissu.
Solution :
Réduire la tension du fil supérieur en tournant la roulette de réglage de la tension du fil supérieur (2) sur un chiffre inférieur.
Le fil supérieur est trop lâche. Le fil inférieur tire le fil supérieur vers le bas. Le fil supérieur apparaît sur l'envers du pli du tissu.
Solution :
Augmenter la tension du fil supérieur en tournant la roulette de réglage de la tension du fil supérieur (2) sur un chiffre supérieur.
Dans les deux cas de coutures incorrectes, ajuster éventuellement aussi la tension du fil inférieur.
Généralités
Allumer l'interrupteur principal (13).
Lors de tout changement du type de point, toujours placer l'aiguille sur la position la plus haute. Glisser le tissu suffisamment loin sous le pied-de-biche (26). Laisser les fils supérieur et inférieur dépasser d'environ 10 cm vers l'arrière.
Abaisser le levier du pied-de-biche (15). Tout en retenant le fil de la main gauche, tourner le volant à main (10) vers soi et placer l'aiguille à l'endroit du tissu où l'on peut commencer à coudre.
Appuyer sur la pédale - plus la pédale est enfoncée, plus la machine fonctionne vite. Pendant la couture, diriger le tissu doucement de la main. Coudre quelques points en marche arrêté en utilisant la navette marche arrière (12) afin de fixer les premiers points de couture.
Conseil
Si vous n'êtes pas sûr que, par ex., la tension du fil ou le type de point soit correct, testez les réglages sur un échantillon de tissu.
Le tissu avance automatiquement sous le pied-de-biche (26) : ne pas le retenir ou le tirer avec les mains, mais seulement le guider légèrement afin que la couture suive la direction souhaitée.
Choisir la bonne aiguille
Le chiffre indiquant la grosseur de l'aiguille figure sur la tige.
Plus le chiffre est élevé, plus l'aiguille est grosse.
Remarque:
N'utiliser en aucun cas une aiguille déformée ou pointée.


Soulver et abaisser le pied-de-biche
En levant ou en abaissant le levier du pied-de-biche (15), le pied-de-biche (26) monte ou descend en fonction du mouvement.
Pour coudre un tissu épais, le pied-de-biche (26) peut être légèrement soulevé d'un espace supplémentaire.

Protège-doigts

Cet accessoire sert de protection si la main devait glisser accidentellement sous l'aiguille.
Couture en marche arrière

Utiliser la couture en marche arrière pour renforcer le début et la fin d'une couture.
- Pousser la navette marche arrière (12) vers le bas et la maintenir appuyée.
- Appuyer sur la pédale - plus la pédale est enfoncée, plus la machine fonctionne vite.
- Si vous souhaitez repasser à la marche avant, relâchez la navette marche arrière (12).

Retirer le tissu de la machine à coudre
Une fois l'ouvrage de couture terminé, l'aiguille doit toujours se trouver sur la position la plus haute. Pour retirer le tissu, lever le pied-de-biche (26) et tirer le tissu vers l'arrière.
Changement de direction de la couture

Si vous souhaitez modifier la direction de la couture aux coins du tissu à coudre, procédez comme suit :
- Arrêter la machine et tourner le volant à main (10) vers soi aussi loin que possible, jusqu'à ce que l'aiguille se trouve dans le tissu.
- Lever le pied-de-biche (26).
- Faire pivoter le tissu autour de l'aiguille afin de le positionner dans la direction souhaitée.
- Abaisser le pied-de-biche (26) et poursuivre la couture.
Couper le fil

Couper le fil avec le coupe-fil situé à l'arrière du pied-de-biche (26) ou bien avec des ciseaux. Laisser sortir du chas env. 15 cm de fil.
Bouton de sélection du programme
Cette machine à coudre vous propose différents points traditionnels et décoratifs. Le bouton de sélection de programme (6) permet de régler facilement le motif de point souhaité.
- Avant tout changement de point, toujours s'assurer que l'aiguille se trouve sur la position la plus haute.
Les lettres du bouton de sélection du programme correspondant aux lettres se trouvant au-dessus des illustrations des motifs de point.
- Tourner le bouton de sélection du programme de façon à ce que le type de point souhaité se situe au niveau du repère.
Conseil
Si la machine ne coud pas conformément au programme de couture sélectionné, faire faire un tour complet au bouton de sélection du programme (6); retourner ensuite sur le type de point souhaité.
Réglage de la longueur du point
Le règle-point (11) permet de choisir la longueur du motif de point utilisée.
- Faire tourner le règle-point de manière à ce que le chiffre de la longueur de point souhaitée se situe au niveau du repère.
- Les chiffres représentent la longueur approximative des points exprimée en millimètres.
Plus le chiffre est bas, plus le point est court.



Réglage de la largeur de point
Vous pouvez régler la largeur d'un point zigzag ou d'un modèle de point à l'aide du régulateur de largeur de point (4) zigzag.
- Réglage 0: Point droit.
- Réglage 1-5: Largeurs différentes de points modèles.



Avertissement
Lorsque vous utilisez la double aiguille, utilisez une largeur de point maximale de 3. Un réglage supérieur pourrait briser les aiguilles.
Types de point (programmes)
Les types de point sont régés avec le bouton de sélection du programme (6). Avant tout changement du type de point, toujours veiller à ce que l'aiguille se trouve sur la position la plus haute.
Procéder à une couture d'essai sur un échantillon de tissu avant d'utiliser un programme de point.
Remarque :
Pour permettre l'enplacement et le retrait du pied-de-biche, lire page 29.
Point droit
Convient pour les travaux de couture courants et le surpiquage.
Pied-de-biche: pied standard
Programme: A
Longueur du point : 1 à 4
Largeur de point : 0

Point zigzag
Le point zigzag est l'un des types de point les plus utilisés. Il permet de nombreuses utilisations, par ex. ourler, coudre des applications et monogrammes.
Avant d'utiliser le point zigzag, coudre quelques points droits afin de renforcer la couture.
Pied-de-biche: pied standard Programme: A Longueur du point: 0,5 à 4 Largeur de point: 1 à 5

Conseils pour le point ZIGZAG
Pour obtenir plusieurs points zigzag, la tension du fil supérieur doit être plus lâche que pour la couture de points droits.
Le fil supérieur doit être légèrement visible sur l'envers du tissu.
Point satin
On appelle point satin un point zigzag très serré, spécialement adapté aux applications, monogrammes et différents points décoratifs.
Sélection du programme comme avec point zigzag normal.
Pied-de-biche: pied standard
Programme: A
Longueur du point : 0,5 à 2
Largeur de point : 1 à 2
Conseil
Lorsque vous utilisez ce point, vous devez constamment veiller à ce que la tension du fil supérieur soit légèrement relâchée. Plus le point est large, plus la tension du fil supérieur doit être lâche. Pour la couture de tissus très fins ououples, placer un papier fin sous le tissu et le coudre avec le tissu. Cela évite un allongement des points et un fronçage du tissu.
Zigzag à trois points
Ce type de point permet de surfiler les bords effilochés.
Pied-de-biche: pied standard
Programme: B
Longueur du point : 1 à 3
Largeur de point : 3-5
Ourlet aveugle inversé
Pied-de-biche: pied standard
Longueur du point : 1 à 3
Largeur de point : 3-5
Point invisible
Pour ce que on appelle les ourlets invisibles.
Pied-de-biche : pied standard
Longueur du point : 1 à 3
Largeur de point : 5
Utiliser une couleur de fil à coudre s'accordant parfaitement à l'étoffe.
Avec des tissus très fins ou transparents, utiliser un fil de nylon transparent.
- Plier le tissu comme indiqué sur l'illustration.
- Coudre sur le pli comme indiqué. Les points droits doivent se situer sur l'ourlet, et les pointes des points zigzag doivent à chaque fois piquer exclusivement dans le pli supérieur du tissu.
- Retirer maintenant le tissu de la machine et l'étaler bien à plat.
Le tissu déplié dévoile à présent un point d'ourlet invisible.
Triple point stretch droit et triple point zigzag
Utilisez les types de points pour coudre des tissus élastiques ou du tricot, pour coudre des bandes élastiques, etc.
Le triple point stretch croît produit une couture à point droit particulièrement solide, par ex. pour les entrejambe de pantalon, l'insertion de manches, le coussin à matelas, etc. Elle est trois fois plus résistante qu'une couture classique et aussi beaucoup plus extensible. On peut donc étendre cette couture avec le tissu sans que le fil ne casse.
Pied-de-biche: pied standard
Programme: E
Longueur du point : 1 à 3
Largeur de point : 0 à 5
Coudre tous les types de tissu élastique
Utiliser un fil synthétique. La couture sera ainsi quasiment invisible.
Assembler par couture deux pièces de tissu (déchirures)
Le point élastique permet d'assembler proprement deux pièces de tissu.
- Placer le bord de chacun des deux tissus sous le pied-de-biche. Veiller à ce que les deux bords ne s'éloignent pas l'un de l'autre et que l'aiguille pique régulièrement à gauche et à droite dans le tissu.
VWV






Coudre des élastiques
- Placer l'élastique à l'endroit souhaité.
- Coudre l'élastique à l'aide du point élastique, tout en maintenant des mains la bande tendue devant et derrière le pied-de-biche. Plus la tension est forte, plus le fronçage sera serré.
Point losange

Le point losange est utilisé dans de nombreux cas de figure et est décoratif, par ex. pour coudre de la dentelle ou des élastiques ou encore pour faire de la couture sur du stretch et d'autres matières élastiques.
Pied-de-biche: pied standard Programme F Longueur du point: 4 Largeur de point: 5
Pour effectuer une couture en losange, tenir compte de ce qui suit: Froncer régulièrement le tissu à coudre.
Placer une mince bande de tissu sous la fronce et la coudre avec le point losange.
Terminer l'ouvrage de couture en losange avant d'intégrer la partie ainsi décorée à l'ensemble du vêtement.
Vous pouvez obtenir le même résultat avec des tissus très fins en enroulant un fil élastique sur la canette.

Point overlock élastique


Ce point est particulièrement adapté à la couture du jersey et des vêtements de jogging ainsi que pour raccommoder. Ce point est aussi décoratif qu'utilitaire. Il se compose de lignes latérales et transversales et est totalement élastique.
Pied-de-biche: pied standard Programme: G Longueur du point: 4 Largeur de point: 5

Placer le bord du tissu sous le pied-de-biche de façon à ce que l'aiguille, subissant une déviation à droite, couse un point droit, tout en restant en contact avec le bord du tissu de manière à coudre un point zigzag avec la déviation à gauche.




Point fantaisie
Les programmes H à R offrent une multitude de points ornements aux.
Pied-de-biche: pied standard
Longueur du point programmes H à K : 4
Longueur du point programmes L à R: 0,25 bis 1
Largeur de point : 5
Le point feston (programme N), par exemple, est idéal pour coudre des motifs décoratifs de nappes, serviettes, cols, manchettes, etc.
Conseil
Pour déterminer la longueur de fil ajusté, il est conseillé de coudre un motif de boutonnière sur un reste de tissu.
Pied-de-biche : Pied-de-biche pour boutonnières
Programme: S à U
Longueur du point : 0,25 à 1
Largeur de point : 5
- Placer le pied-de-biche et l'aiguille sur la position la plus haute. Remplacer le pied-de-biche par le pied-de-biche pour boutonnières.
- Sur le tissu, marquer l'endroit où la boutonnière doit être cousue ainsi que la longueur de boutonnière souhaitée ; utiliser un crayon ou une craie de tailleur.
Procédure à suivre
- Avec le bouton de sélection du programme (6), désirez le programme S pour coudre l'arrêt de couture.
- Faire passer le fil supérieur par l'orifice du pied-de-biche pour boutonnières et tirer les deux fils, supérieur et inférieur, sur l'envers. Descendre le pied-de-biche et coudre lentement sur la longueur souhaitée jusqu'à l'arrêt de couture latéral.
- Relever l'aiguille sur la position la plus haute et passer au programme T pour l'arrêt de couture inférieur. Coudre ensuite quelques points d'arrêt inférieur.
- Relever de nouveau l'aiguille sur la position la plus haute et passer au programme U pour l'arrêt de couture droit.
- Coudre maintenant l'arrêt de couture droit exactement sur la même longueur que pour le côte gauche.
- Placer l'aiguille sur la position la plus haute et désirez de nouveaux le programme U pour l'arrêt de couture supérieur.
- Coudre alors, comme pour l'arrêt de couture inférieur, également l'arrêt de couture supérieur avec quelques points.
- Pour terminer, il est conseilé de placer la longueur du point sur "0" et de coudre encore quelques points afin que les fils soient nouveaux et que la boutonnière ne s'effiloche pas.
- Ouvrir enfin le tissu entre les coutures à l'aide du couteau à découdre fourni. Exécuter cette opération avec précaution afin de ne pas endommager les points d'arrêt.
Conseil
Afin de ne pas couper l'arrêt de couture supérieur, il est conseillé de piquer une épingle devant l'arrêt de couture.







Coudre des boutons et des œillets


Le pied-de-biche bleu-transparent permet de coudre facilement des boutons, des crochets et des œillets.
Avec le bouton de sélection du programme (6), désirez une largeur de point zigzag qui corresponde à l'écart entre les trous.
- Pour ces étapes de travail, monter la plaque à reprimer afin d'éviter tout glissement de la pièce de tissu. Montage de la plaque à reprimer, voir page 24
- Descendre le pied-de-biche et placer le bouton entre le tissu et le pied-de-biche de manière à ce que le point zigzag atteigne les trous du bouton, comme indiqué sur l'illustration.
- Vérifier le bon positionnement du bouton en tournant manuellement le volant à main (10). L'aiguille doit piquer exactement dans les trous du bouton afin d'éviter tout endommagement de l'aiguille. Si nécessaire, modifier la largeur du point zigzag. Coudre 6 ou 7 points par trou à vitesse réduite.
Pour les boutons comportant quatre trous, le tissu est déplacé avec le bouton : 6 à 7 points sont ensuite à nouveau cousus dans les autres trous. Une fois le tissu retiré, couper le fil supérieur en laissant une certaine longueur, l'amener sur l'envers du tissu et le nouer au fil inférieur.
Coudre des boutons à tige
Avec les tissus épais, un bouton à tige est souvent nécessaire.
- Placer une aiguille - ou une allumette s'il s'agit d'une tige plus robuste - sur le bouton et commencer à coudre exactement comme avec n'importe quel bouton classique.
- Au bout d'une dizaine de points, retirer le tissu de la machine. Retirer l'aiguille ou l'allumette du tissu à coudre.
- Laisser le fil supérieur un peu plus long, l'enfiler dans le bouton et l'enrouler plusieurs fois autour de la tige, puis le faire passer sur l'envers du tissu et le nouer au fil supérieur.
Insérer des fermetures à glissière
Utilisez le pied-de-biche de fermeture à glissière.
Selon le côté de la bande de la fermeture qui est cousue, le pied-de-biche doit toujours reposer sur le tissu.
C'est pourquoi le pied-de-biche est fixé soit sur le côté droit soit sur le côté gauche et non pas au centre comme avec les autres pieds-de-biche.
- Placer le pied-de-biche et l'aiguille sur la position la plus haute afin de remplacer le pied-de-biche.
- Faufiler la fermeture à glissière sur le tissu et positionner l'ensemble sous le pied-de-biche.
- Pour coudre l'endroit de la fermeture à glissière, fixer le pied-de-biche pour fermetures à glissière de manière à ce que l'aiguille couse l'envers (1).
- Coudre l'envers de la fermeture à glissière de façon à ce que la couture passe le plus près possible des dents. (1)
- Coudre la fermeture à glissière à environ 0,5 centimètre en dessous des dents avec une barrette.
- Pour coudre l'envers de la fermeture à glissière, changer la position du pied au niveau du support du pied-de-biche.
- Procéder de la même façon que pour la couture de l'endroit de la fermeture à glissière (2).
- Avant que le pied n'atteigne la fermeture zip de la bande de la fermeture à glissière, soulever le pied et ouvrir la fermeture à glissière tandis que l'aiguille reste dans la matière. (3)
Coudre des cordelettes
Le pied-de-biche pour fermétures à glissière permet aussi de coudre facilement des cordelettes, comme indiqué dans l'illustration.
- Rabattre une fois le tissu de manière à former un tunnel de cordelette, puis coudre le long de la cordelette, à l'occasion de quoi le pied-de-biche pour fermétures à glissière doit se couvrir derrière la cordelette.
Ourler
L'ourlet bord roulé/le pied ourleur permettent d'ourler sans problème des matières fines ou peu épaisses, par ex. des chemisiers, foulards en soie et volants. L'ourlage avec l'ourleur bord roulé assure les bords contre l'effilochage et produit un bord net et résistant.
- Placer le pied-de-biche et l'aiguille sur la position la plus haute et replacer alors le pied monté par le pied ourleur.
- Rabattez le début de l'ourlet en un repli d'environ 2 mm vers l'arrière.
- Introduire l'ourlet ainsi rabattu dans l'hélice du pied ourlet bord roulé.
- Coudre quelques points avec précaution et lentement; nous conseillons de le faire en tournant le volant à main (10)
- Une fois que le début de l'ourlet a été tiré dans le pied, commencer à coudre prudemment l'ourlet.
- Toujours retenir légèrement le bord du tissu de manière à ce qu'il dépasse un peu à gauche du pied-de-biche pour éviter tout glissement du tissu hors de l'hélice.




- Veiller à ce que le tissu ne glisse pas sous le côté droit du pied-de-biche.
Conseil
Tenir l'extrémité du tissu légèrement en biais, cela facilite l'introduction de l'ourlet dans le pied ourleur.
Avant la couture, fixer l'ourlet avec des épinges ou repasser légèrement le début de l'ourlet.
Pour obtenir un résultat optimal, ce travail suppose des matières appropriées de même qu'une certaine expérience.




Monter la plaque à reprimer
Pour certains travaux de couture, par ex. coudre des boutons, crochets, oeillets ainsi que pour reprimer ou broder, il est nécessaire que le transport automatique du tissu à coudre soit désactivé et que, au contraire, vous puissiez vous-même contrôler le transport du tissu.
Dans ces cas, vous devez monter la plaque à reprimer fournie avec les accessoires.
- Relever tout d'abord le levier du pied-de-biche (15) et placer l'aiguille sur la position la plus haute en tournant le volant à main (10).
- Pousser à présent les deux chevilles de la plaque à reprimer dans les ouvertures correspondantes de la plaque à aiguille (19) jusqu'à ce qu'elles s'enclenchent, comme indiqué sur les illustrations 1 et 2.
- Pour retirer à nouveau la plaque à reprimer, il suffit de soulever les coins.
Repriser
- Retirer le support du pied-de-biche et dévisser la tension du fil inférieur normale.
La tension du fil supérieur doit être un peu plus lâche que la normalité.
Si nécessaire, il est possible de placer aussi un morceau de tissu sous l'endroit abîmé.
- Positionner l'ouvrage sous l'aiguille et abaisser le levier du pied-de-biche (15) afin que la tension du fil devienne efficace.
- Commencer à coudre lentement en faisant avancer et reculer lentement le tissu de la main.
- Répéter la procédure jusqu'à ce que l'endroit abîmé soit totalement recouvert de points parallèles.
- Si nécessaire, il est possible - comme avec le raccommodage manuel - de repriser encore une fois par-dessus en travers.
Conseil
Au cours de la reprise, le tissu doit être bien tendu. Si l'endroit abîmé est étendu, il est conseillé de placer le tissu sur un cadre à broder (disponible dans le commerce spécialisé).
Généralités
Retirer le support du pied-de-biche, monter la plaque à reprimer et choisir la tension du fil inférieur normale.
La tension du fil supérieur doit être réglée si l’œuvre que le fil inférieur ne puisse être tiré sur l’endroit du tissu.
- Placer le tissu sur un cadre à broder (disponible dans le commerce spécialisé).
- Abaisser le pied-de-biche pour que la tension de fil devienne efficace.
- Retenir le cadre à broder d'une main pendant la couture du motif choisi. Ne pas déplacer le tissu, mais toujours le cadre à broder.
Remarque
Ne pas approcher les doigts trop près de l'aiguille.
Conseil
Nous vous conseillons de dessiner le motif de broderie souhaité sur l'endroit du tissu à l'aide d'un crayon ou d'une craie de tailleur (disponible dans le commerce spécialisé).

Coudre avec une double aiguille

La double aiguille est disponible dans les magasins spécialisés bien achalandés. Lors de l'achat, bien vérifier que l'écart entre les deux aiguilles ne dépasse pas 2,5 mm.
La double aiguille permet de réaliser de superbes motifs bicolores en utilisant pour coudre des fils de différentes couleurs.
Remarque:
Utilisez seulement le point droit ou le point zigzag avec la double aiguille.
Utilisez une largeur de point maximale de 3.
Avec d'autres programmes ou une largeur de point supérieure, les aiguilles peuvent se fausser ou se briser.
- Mettre en place la double aiguille comme s'il s'agissait d'une aiguille simple (voir page 28).
- Placer sur les porte-bobines amovibles (7) deux bobines comptant chacune la même longueur de fil.
- Bien s'assurer d'avoir placé sur les deux porte-bobines (7) les deux disques en feutre fournis avec les accessoires.


- Enfiler les deux fils dans le porte-fil, comme pour une aiguille simple.
- e à droite du disque central et l'autre, à gauche du disque.
- Faire passer les deux fils par le guide-fil.
- Enfiler un fil dans le trou droit et un fil dans le trou gauche de la double aiguille.
Remarque:
Pour coudre un coin avec la double aiguille, faire sortir l'aiguille du tissu pour ne pas risquer de casser ou de déformer la double aiguille.
Coudre avec le bras libre
Le bras libre (16) permet de coudre plus facilement des articles tubulaires, cette fonction est très utile par ex. pour la couture de manches ou de jambes de pantalon.
Votre machine à coudre peut être très facilement transformée en une machine à bras libre, il suffit pour cela de retirer de la machine la table rallonge avec la boîte d'accessoires.
Le bras libre (16) est particulièrement utile pour les travaux de couture suivants:
-- Raccommodage de coudes et genoux des vêtements. -- Couture de manches, en particulier sur des vêtements plus petits. -- Applications, broderies ou ourlets des bords, manchettes ou jambes de pantalon. -- Possibilité de coudre des ceintures aux jupes ou pantalons.
Le guide à coudre
Le guide à coudre est utile pour effectuer une couture droite et parallèle le long du bord du tissu.
- Tournez légèrement la vis moletée du guide dans le trou du filetage situé juste à côté de la plaque à aiguille (19).
- Ajuster la distance du guide puis serrer la vis.
La plaque à aiguille (19) comporte quelques lignes de guidage pour vous aider.


Le guide d'ouatinage
- Faire glisser le guide ouatinage sous le ressort de serrage dans le renforcement prévu.
- Tracer la première couture avec une craie de tailleur et coudre.
- En s'aidant du guide ouatinage, coudre ensuite la deuxième couture parallèlement à la première.
- L'écart entre les coutures peut être réglé avant la glissière dans le sens de la flèche.


Maintenance, entretien et nettoyage

Avant toute opération de maintenance, de nettoyage ou de remplacement, toujours arrêtez la machine et débranchez la prise de courant.
Remplacement de la lampe de la machine à coudre

L'interrupteur principal (13) permet d'allumer ou d'éteindre la lampe de la machine à coudre.
Ouvrez le couvercle frontal (21). - Vous pouvez à présent pivoter le couvercle frontal (21) vers la gauche. - Remplacer maintenant la lampe. - Fermer le couvercle frontal (21) et le visser.
Remarque :
La puissance maximale autorisée de la lampe est de 15W. Les ampoules sont disponibles dans le commerce spécialisé.
Remplacer l'aiguille
- Faire tourner le volant à main (10) vers soi jusqu'à ce que l'aiguille se trouve sur la position la plus haute. Retirer la vis du porte-aiguille en la faisant tourner vers soi. Retirer l'aiguille du porte-aiguille.
- Placer la nouvelle aiguille, le côté plat vers l'arrière. Pousser l'aiguille vers le haut jusqu'à la butée.
- Resserer la vis du porte-aiguille.

Remarque :
Les aiguilles sont disponibles dans le commerce spécialisé.
Pour les informations sur la désignation du modèle et la puissance, se reporter au tableau des combinaisons tissu, fil et aiguille à la page 38.
Retirer
- Faire tourner le volant à main (10) vers soi jusqu'à ce que l'aiguille se trouve sur la position la plus haute.
- Soulever le pied-de-biche en poussant vers le haut le levier du pied-de-biche (15).
- En poussant vers le haut le levier de déclenchement du pied-de-biche, derrière le support du pied-de-biche, le pied-de-biche retombe.


Mettre en place
- Placer le pied-de-biche de manière à ce que la cheville soit positionnée sur le pied, directement sous la rainure du support du pied-de-biche. Abaisser le levier du pied-de-biche (15).
- Appuyer maintenant le levier de déclenchement du pied-de-biche vers le haut. Le pied-de-biche s'enclenche alors automatiquement.


Retirer et mettre en place le support du pied-de-biche
Le support du pied-de-biche n'a pas besoin d'être retiré, sauf pour raccommoder, brider ou faciliter le nettoyage des griffes d'entraînement (27).
Retirer
- Placer l'aiguille sur la position la plus haute en faisant tourner vers soi le volant à main (10) et pousser le levier du pied-de-biche (15) vers le haut.
- Retirer le pied-de-biche du support du pied-de-biche et desserrer la vis du support du pied-de-biche à l'aide du tournevis fourni.


Mettre en place
- Placer l'aiguille sur la position la plus haute en faisant tourner vers soi le volant à main (10) et pousser le levier du pied-de-biche (15) vers le haut.
- Lors de la mise en place du support du pied-de-biche, le pousser aussi loin que possible vers le haut et serrer la vis du support du pied-de-biche à l'aide du tournevis fourni.


Entretien de la machine à coudre
La machine à coudre est un produit mécanique de précision qui nécessite un entretien régulier pour pouvoir fonctionner correctement.
Vous pouvez vous occuper personnellement de cet entretien.
L'entretien signifie avant tout : Nettoyage et lubrification.
Remarque:
Pour la lubrification, utiliser uniquement des huiles spéciales pour machine à coudre de qualité supérieure, les autres huiles ne sont pas adaptées.
Après la lubrification, veiller à ce qu'aucun résidu d'huile ne se trouve dans l'appareil. Pour éliminer ces résidus, coudre quelques points sur un échantillon ou une chute de tissu. Cela permet d'éviter de salir le tissu à coudre.
Nettoyage du boîtier et de la pédale
Avant le nettoyage, débrancher la fiche secteur de la prise de courant.
Pour nettoyer le boîtier et la pédale, utiliser un chiffon sec et doux. Éviter les solvants et produits d'entretien chimiques qui risqueraient d'endommager la surface et/ou les inscriptions de l'appareil.
Nettoyage des griffes d'entraînement
Pour garantir une couture parfaite, il est nécessaire que les griffes d'entraînement du tissu soient toujours propres.
- Retirer l'aiguille et le pied-de-biche (voir page 28).
- Ouvrir la vis de la plaque à aiguille (19) afin de retirer la plaque de la machine.
- Enlever la poussière et les bribes de fil des griffes d'entraînement à l'aide d'une brosse.
- Remettre en place la plaque à aiguille (19).
Nettoyage et lubrification du boîtier de la canette
- Amener l'aiguille sur la position la plus haute, sinon la griffe ne peut pas être retirée.
- Retirer la boite à canette.
- Faire pivoter vers l'extérieur les leviers à ressort, comme indiqué, et enlever l'anneau de la coursière.
- Retirer la griffe en retenant le tenon au centre de la griffe.
- Enlever toutes les impuretés de l'anneau de la coursière et huiler les pièces avec un chiffon.
- Verser une à deux gouttes d'huile sur la coursière de la canette, comme indiqué.
- Assembler de nouveau le tout dans l'ordre inverse du démontage.







Remarque:
Votre machine à coudre est huilée à l'usine et prête à être utilisée.
Lubrification de la partie située derrière le couvercle de la machine
Les éléments à huiler sont indiqués par une flèche sur l'illustration. Avant la lubrification, ces éléments doivent être nettoyés. Verser sur ces éléments une ou deux gouttes d'une huile pour machine à coudre de bonne qualité.

Si la machine ne fonctionne plus correctement suite à une longue période d'inutilisation, faire tourner rapidement la machine huilée, couvercle frontal (21) fermé, pendant environ une minute.
Ne pas oublier de coudre d'abord sur une chute de tissu pour éponger l'huile pouvant eventuellement s'échapper.
Conseil
En cas d'utilisation fréquente, cette partie de la machine doit être huilée plus souvent.
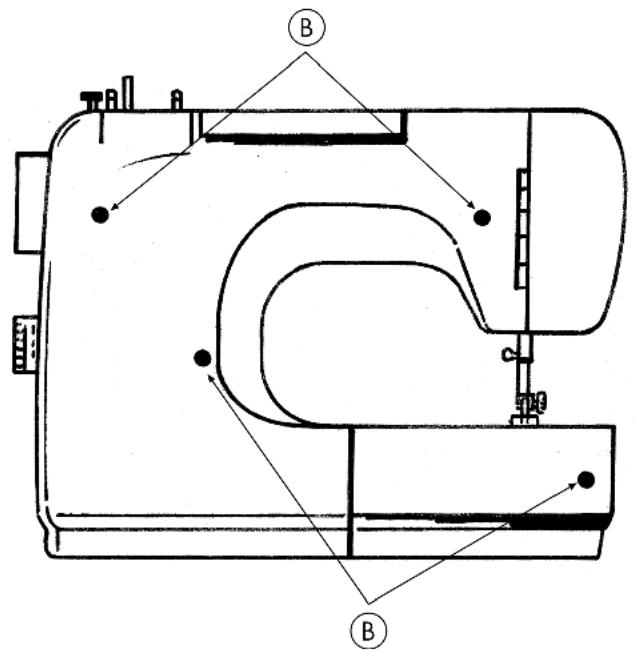
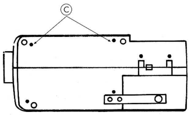
Démontage du couvercle arrêté du boîtier
- Pousser le levier du pied-de-biche (15) vers le haut, ouvrir le couvercle (21) et desserrer les vis (A).

Remarque:
Comme les vis A, B et C sont différentes, toujours les conserver séparément.
- Retirer la table-rallonge et ouvrir le couvercle de la boîte à canette (18).
- Coucher la machine avec l'arrière tourné vers le haut et visser les quatre vis (B) et les deux vis (C) au sol, comme indiqué.


- Remettre la machine.
- Seuls de petits crochets internes en plastique retiennent à présent l'arête du couvercle, comme illustré.

- Appuyer maintenant avec précaution d'une main vers le bas le bord supérieur du couvercle arrêté (où se trouvent les crochets).
Retirer le couvercle arrière vers l'extérieur.

Lubrification des parties inférieure et supérieure de la machine
Les éléments à huiler sont indiqués par une flèche sur l'illustration. Avant la lubrification, ces éléments doivent être nettoyés. Verser sur ces éléments une ou deux gouttes d'une huile pour machine à coudre de bonne qualité.
Face supérieure
Dessous
Conseil
Les éléments marqués d'une flèche ne doivent être huiliés que rarement, tous les deux à trois mois environ selon la fréquence d'utilisation.
Montage du couvercle arrêté du boîtier
- Remettre le couvercle arrêt en place et veiller à ce qu'il s'enclenche.
- Remettre maintenant la machine sur l'avant et desserrer les vis A, B et C.
- Fermer le couvercle de la boîte à canette (18) et le couvercle frontal (21).
- Remettre enfin en place le couvercle du boîtier pour la pédale et l'appuyer solidement jusqu'à ce qu'il s'enclenche.
Remarque:
Pour faciliter le montage, toujours veiller à ce que le levier du pied-de-biche (15) se trouve en haut et à ce que le couvercle de la boîte à canette (18) reste ouvert.
Le couvercle du boîtier de la pédale est seulement enclenché.
Couvercle du boîtier électrique
En cas de problèmes, veuillez relire les instructions d'utilisation et vérifier si vous avez respecté toutes les consignes.
Veuillez-vous adresser à notre service après-vente uniquement si les solutions mentionnées n'ont pas résolu le problème.
| Problème | Origine | Côté |
| La machine se bloque | La machine doit être huilée | page 32 |
| Des poussières et des fils sont coincés dans la courrière | page 32 | |
| Des résidus se trouvent dans les dents des griffes d'entrainment du tissu | page 32 | |
| Une mauvaise huile a été utilisée et a engorgé la machine | page 32 | |
| Le fil supérieur casse | Les fils ne sont pas correctement enfilés dans la machine | page 10 |
| La tension du fil est trop forté | page 13 | |
| L'aiguille est déformée ou épointée | page 15 | |
| L'aiguille n'est pas adaptée à l'épaisseur du fil | page 15 | |
| L'aiguille n'est pas correctement mise en place | page 28 | |
| Le tissu n'est pas passé en arrêté à la fin de la couture | page 16 | |
| La plaque à aiguille, la canette ou le pied-de-biche sont endommagés | ||
| Le fil inférieur se casse | Le fil inférieur s'emmèle à cause d'un mauvais embobinage de la canette | page 7 |
| Le fil inférieur ne se trouve pas dans la boîte à canette, sous le ressort tenseur | page 7 | |
| L'aiguille se casse | L'aiguille a été mal mise en place | page 28 |
| L'aiguille est déformée | page 15 | |
| L'aiguille est trop fine | page 15 | |
| Le tissu a été tiré au cours de la couture | page 16 | |
| Le fil comporte un nœud | page 10 | |
| L'aiguille a été mal enfilée | page 13 | |
| Avec les doubles aiguilles : la largeur de point doit être supérieure à 3 ou programme spécifique utilisé | page 26 | |
| La machine allonge des points | L'aiguille a été mal mise en place | page 28 |
| L'aiguille a été mal enfilée | page 13 | |
| L'aiguille et/ou le fil n'est pas adapté au tissu | page 38 | |
| Le tissu est trop épais ou trop dur | page 38 | |
| Le tissu a été tiré au cours de la couture. | page 16 | |
| Contraction ou fronçage de la couture | La tension du fil supérieur est trop forte | page 13 |
| Le fil a été mal chargé dans la machine | page 10 | |
| L'aiguille est trop grosse pour le tissu | page 38 | |
| Le fil fait des boucles | La tension du fil n'est pas réglée | page 13 |
| Le fil supérieur n'est pas correctement enfilé et/ou le fil inférieur n'est pas correctement embobiné | page 7 | |
| La solidité du fil ne convient pas au tissu | page 38 | |
| Le tissu progressive de façon irrégulière | La longueur du point est réglée sur “ 0 ” | page 17 |
| Des bribes de fil se trouvent dans la coursière | page 31 | |
| La machine ne fonctionne pas | La machine à coudre n'est pas correctement branchée ou la prise de courant n'est pas sous tension | page 6 |
| Des bribes de fil se trouvent dans la coursière | page 31 | |
| Le commutateur sur le volant à main est positionné sur le symbole d'emboinage | page 7 |
Tableau des combinaisons TISSU, FIL et aiguille
En règle générale, les fils et aiguilles fins sont utilisés pour la couture de tissus légers, les fils et aiguilles plus épais, pour les tissus lourds. Toujours tester la solidité du fil et de l'aiguille sur une chute du tissu à coudre. Utiliser le même fil pour l'aiguille et la canette. Si vous pouvez coudre sur un tissu fin ou sur des coutures stretch synthétiques, utilisez les aiguilles dotées d'une tige bleue (disponibles dans le commerce spécialisé). Elles permettent d'éviter l'allongement des points.
| Epaisseur du tissu | Nature du tissu | Fil | Aiguille | Longueur du point | Tension du fil supérieur | |
| Point droit | Zigzag | |||||
| 43210 | ||||||
| Tissus fins | ||||||
| Nylon Batiste Voile | 80 Coton | 65 | 1 - 3 | 1 - 4 | ||
| Jersey | 60 Synthétique | |||||
| Soie | 50 Soie | |||||
| Laine Soie | 50 Soie synthétique | 75 | ||||
| Tissus peu écais | ||||||
| Percale Piqué Lin | 60 - 80 Coton | 75 - 90 | 0,5 - 3 | 0,5 - 4 | ||
| Jersey | 60 Synthétique | 75 | ||||
| Gabardine | 50 Soie | |||||
| Tissus écais | ||||||
| Blue-jeans Tissu cover | 50 Coton | 75 - 90 | 0,5 - 3 | 0,5 - 4 | ||
| Jersey | 50 Synthétique | |||||
| Laine Tweed | 50 Soie | |||||

Emballage
Votre machine à coudre se trouve dans un emballage la protégeant des risques de dommages liés au transport. Les emballages sont des matières premières et peuvent être recyclés ou réintégrés dans le circuit des matières premières.

Appareil
Lorsque votre machine à coudre arrive en fin de vie, ne la jetez en aucun cas dans une poubelle classique. Informez-vous après chez votre municipalité des possibilités d'élimination écologique et adaptée.
Machine à coudre
Tension nominale: 230V ~ 50Hz
Puissance absorbée : totale 75 W
Moteur: 60 W
Lampe: 15 W
Taille du filetage E14
Type: KD2902
Tension nominale: 220V - 240V ~ 50Hz
Classe de protection II


Sous réserve de modifications techniques!
Aiguille 15, 28
Anneau de la courroie 31
Assemblage par couture des pièces de tissu 19
Boîte à canettes 31
Boîte d'accessoires 5, 6
Boîtier de la canette 31
Bouton de sélection du programme 17
Boutonnières 21
Bras libre 27
Broder 25
Canette de fil inférieur 7
Changement de direction de la couture 16
Charger le fil dans la boîte à canette 9
Charger le fil supérieur 10
Commande de la vitesse de couture 6
Contenu de la livraison 4
Coudre des boutons à tige 22
Coudre des boutons et des œillets 22
Coudre des cordelettes 23
Coudre des élastiques 20
Coudre des tissus élastiques 19
Couper le fil 16
Coursiere 31
Couture en marche arrière 16
Double aiguille 26
Embobiner la cassette de fil inférieur 7
Fermetures à glissière 23
Griffe 31
Griffes d'entraînement 31
Guide à coude 5, 27
Guide ouatinage 5, 27
Insérer la boîte à canette 10
Lampe de la machine à coudre 28
Lever relevé de fil 11
Pied-de-biche pour boutonnières 5, 21
Pied-de-biche pour fermetures à glissière 5, 23
Pied-de-biche pour pose de boutons 5
Réglage de la largeur de point 17
Réglage de la longueur du point 17
Remonter le fil inférieur 12
Repriser 24
Retirer la boîte à canettes 9
Retirer le pied-de-biche 29, 30
Roulette de réglage de la tension du fil supérieur 11
Support du pied-de-biche 30
Tableau des combinaisons aiguille 38
Tableau des motifs de points 39
Table-rallonge 6,9,27,33
Tension du fil 13, 14
Tension du fil inférieur 13, 14
Tension du fil supérieur 13
S41/08 MSN 5002 9176
Medion France
CS 90180
72207 LA FLECHE CEDEX
No Indigo 0 825 81 1000
pc-support-fr@medion.com
www.medion.fr
Carte de garantie
Nos produits sont soumis à des contrôles de qualité rigoureux. Si malgré ces contrôles, votre appareil ne fonctionne pas correctement, nous vous demandons de contacter le service après-vente indiqué sur la carte de garantie.
Conditions de garantie (sans pour autant réduire les droits légaux) :
- La garantie a une durée maximum de 3 ans à compter de la date d'achat du produit. La garantie consiste soit en la réparation des defaults de matériaux et de fabrication, soit en l'échange du produit. Ce service est gratuit.
- Les défauts doivent être signalés rapidement. Toute réclamation au-delà de la durée de la garantie ne peut être prise en compte, sauf si elle intervient dans un délai de 2 semaines, à l'expiration de celle-ci.
- Le produit défectueux devra être retourné (frais de port pris en charge par Medion) et après accord préalable avec le service après-vente, accompagné de la carte de garantie et du ticket de caisse. Si le défaut est couvert par la garantie, vous recevrez l'appareil réparé ou un nouvel appareil. Veuillez noter que notre garantie n'est plus valable en cas de défaut d'utilisation, de non-suivi des mesures de sécurité, si le produit a subi des chocs ou a fait l'objet d'une réparation par un S. A. V. non mentionné sur la carte de garantie. Dans le cas d'un défaut non garanti, les frais de réparation seront à votre charge. Il est néanmoins possible de s'adresser au S. A. V. mentionné.
Service Hotline: NoIndigo 0825 81 1000 Téléphone: 0 892 35 05 40 (0,34 cts €/min)
E-mail: pc-support-fr@medion.com • www.medion.fr
IMPORTANT ! La garantie n'est valable qu'avec le ticket de garantie accompagné
Expéditeur (en caractères d'imprimerie S. V. P.) Remplir et expédier S. V. P.
Nom
Prénom Rue
Code postal/ville
Telephone
MSN 5002 9176 273438003 Signature 4015625500291761
MEDION
MEDION France CS 90180

Garantie
Notice Facile