KR55 Pro - Enregistreur audio KORG - Notice d'utilisation et mode d'emploi gratuit
Retrouvez gratuitement la notice de l'appareil KR55 Pro KORG au format PDF.
| Caractéristiques techniques | Enregistreur audio numérique 4 pistes, échantillonnage 24 bits/96 kHz, interface USB, effets intégrés. |
|---|---|
| Utilisation | Idéal pour les musiciens, les compositeurs et les professionnels de l'audio souhaitant enregistrer des sessions en studio ou en déplacement. |
| Maintenance et réparation | Nettoyer régulièrement les connecteurs, mettre à jour le firmware via le site de KORG, consulter le manuel pour les procédures de dépannage. |
| Sécurité | Utiliser uniquement avec l'alimentation fournie, éviter l'exposition à l'humidité et aux températures extrêmes. |
| Informations générales | Compatibilité avec les systèmes d'exploitation Windows et Mac, dimensions compactes pour un transport facile. |
FOIRE AUX QUESTIONS - KR55 Pro KORG
Questions des utilisateurs sur KR55 Pro KORG
0 question sur cet appareil. Repondez a celles que vous connaissez ou posez la votre.
Poser une nouvelle question sur cet appareil
Téléchargez la notice de votre Enregistreur audio au format PDF gratuitement ! Retrouvez votre notice KR55 Pro - KORG et reprennez votre appareil électronique en main. Sur cette page sont publiés tous les documents nécessaires à l'utilisation de votre appareil KR55 Pro de la marque KORG.
MODE D'EMPLOI KR55 Pro KORG
Manuel d'utilisation
Table des matière
Introduction....2
Caractéristiques principales ....2
Au sujet du manuel d'utilisation....2
Éléments et leurs fonctions .... 3
Panneau supérieur....3
Panneau arrière....6
Préparatifs....7
Connexions....7
A propos des cartes SD....7
Mise sous/hors tension....8
Prise en main....9
Écoute des morceaux de démonstration....9
Connector et jouer sur des instruments....10
Jeu et enregistrement de styles rythmiques (mode Rhythm) 11
Travail avec la fonction d'enregistreur (mode d'enregistreur)...13
Lecture de fichiers audio et enregistrement de votre jeu (mode de lecteur)....16
En mode rythmique....18
Mémoriser une variation rythmique et son tempo avec les boutons [M1]–[M8]....18
Fonction de chaîne ('Chain') 18
Fonction de métronome....19
Fonction de décompte ('Count Start').... 19
Impact du réglage du tempo/de la vitesse de lecture sur le timbre....19
Mode d'enregistreur....20
Fonction de métronome....20
Fonction de décompte ('Count Start'). 20
Fonction de repère ('Mark')......20
Fonction d'enregistrement/ de lecture en boucle ('Loop')......21
Exporter des données de morceau....21
Importer un fichier audio 21
Mode de lecteur....22
Fonction de liste de lecture 22
Fonction de lecture en boucle/d'enchainement automatique ....22
Régler le tempo/la vitesse de lecture....22
Mode système....23
Régler les paramètres système....23
Réglages disponibles 23
Formatage de la carte SD [M8] "Init"....23
Fonction de test de carte SD ("tESt")....23
Appendice....24
Liste des sonorités....24
Structure des données du KR-55 Pro....24
Utiliser un pédalier....25
Dépannage 25
Messages d'erreur....26
Rétablir les réglages d'usine....26
Fiche technique....27
KR-55 Pro Flux du Signal....28
Introduction
Nous vous remercions d'avoir choisi le KORG RHYTHM KR-55 Pro. Afin de pouvoir exploiter au mieux toutes les possibilités offertes par votre nouvel instrument, veuillez lire attentivement ce manuel.
Caractéristiques principales
Fonction de boîte à rythme
- Jammez sur des motifs de batterie et de 'percu' réalistes produits sur base d'enregistrements de batteurs et percussionnistes.
- L'instrument propose 24 styles rythmiques différents. Les boutons en face avant offrent l'accès direct à ces styles rythmiques.
- Chaque style rythmique comporte deux variations, et chacune de ces variations contient trois motifs rythmiques: principal, fill 1 et fill 2. Changez de variations ou de motifs rythmiques en temps réel et comme bon vous semble durant le jeu.
- La fonction de chaîne vous permet de définir la structure rythmique d'un morceau entier pour automatiser le rythme.
- La technologie Acoustage produit un champ sonore riche et extrêmement large.
* Acoustage (désignant la technologie révolutionnaire de surround virtuel signée KORG) permet de produire un environnement acoustique à la fois personnel et unique. Cette technologie offre une expérience acoustique tridimensionnelle inédite et unique en connectant simplement des enceintes stéréo aux prises de sortie OUTPUT L/MONO et R. Le système de lecture même subit une analyse acoustique en vue d'optimaliser la lecture et de garantir une exploitation du plein potentiel de l'instrument.
Fonctions complètes de mélangeur
- Mélangez divers signaux via l'entrée micro, les deux entrées guitare et l'entrée AUX.
- Appliquez un effet de réverbération aux signaux reçus via les prises MIC IN, INPUT 1 et INPUT 2.
- Concoctez la saveur sonore avec l'égaliseur.
Fonction d'accordeur
- Accordez votre instrument via un large écran garantissant une lecture facile.
- Cette fonction vous permet aussi d'accorder votre instrument sur base d'un son de référence.
Fonction d'enregistrement\*1
- Produisez des morceaux complets en enregistrant des enchaînements de styles rythmiques en même temps que votre jeu.
- You can record along with the playback of an audio file from an SD card.
- Exportez votre morceau fini sous forme de fichier audio standard afin de l'écouter sur tout lecteur audio disponible dans le commerce ou de le charger dans une station DAW.
Fonction de lecteur ^4
- Les fichiers audio de formats standard (WAV) sur carte SD peuvent être lus.
- Lisez les fichiers audio dans tout ordre voulu grâce à la fonction de liste de lecture. Une liste de lecture 'perso' est par exemple utile pour produire de la musique d'ambiance ou pour les applications sur scène.
- Vous pouvez changer la vitesse de lecture des fichiers audio.
Contrôle au pied
- Branchez un pédalier VOX VFS5 pour piloter les fonctions de l'instrument sans lâcher votre manche. Ce contrôle mains libres permet de piloter le jeu de rythmes et de lancer l'enregistrement/la lecture tout en jouant sur votre instrument.
*1: Cette fonction n'est disponible que si vous insérez une carte SD dans le KR-55 Pro.
Au sujet du manuel d'utilisation
La documentation du KR-55 Pro comprend les manuels suivants:
- Guide de prise en main du KR-55 Pro (document imprimé)
- Manuel d'utilisation du KR-55 Pro (PDF: ce document)
Téléchargez les documents PDF sur le site suivant: http://www.korg.com
Astuce: Nous vous conseillons de lire ce manuel tout en visionnant le manuel vidéo du STAGEMAN 80. Ce manuel est visionnable sur le site internet de Korg.
http://www.korg.com
Gestion des données
Une procédure incorrecte ou un mauvais fonctionnement peut entraîner la perte du contenu de la mémoire, aussi nous vous recommandons de sauvegarder sur autre support vos données importantes. Korg décline toute responsabilité pour tout dommage résultant de la perte de données.
AVERTISSEMENT DE COPYRIGHT
Cet appareil professionnel est destiné à l'enregistrement de morceaux dont vous êtes l'ayant droit ou pour lesquels vous avez obtenu la permission de l'ayant droit. Sachez qu'une telle permission est requise pour tout morceau que vous comptez utiliser en public, à la radio, à des fins commerciales ou toute autre activité à but lucratif. L'utilisation de morceaux dont vous ne détenez pas les droits d'auteur et pour lesquels vous n'avez reçu aucune permission de l'ayant droit vous expose à des poursuites judiciaires. Si vous n'êtes pas sûr de vos droits sur une oeuvre, veuillez consulter un avocat spécialisé. KORG DECLINE TOUTE RESPONSABILITE POUR QUELQUE INFRACTION QUE CE SOIT, MEME SI ELLE A ETE COMMISE AVEC UN PRODUIT KORG.
* Tous les noms de produits et de sociétés sont des marques commerciales ou déposées de leur détenteur respectif.
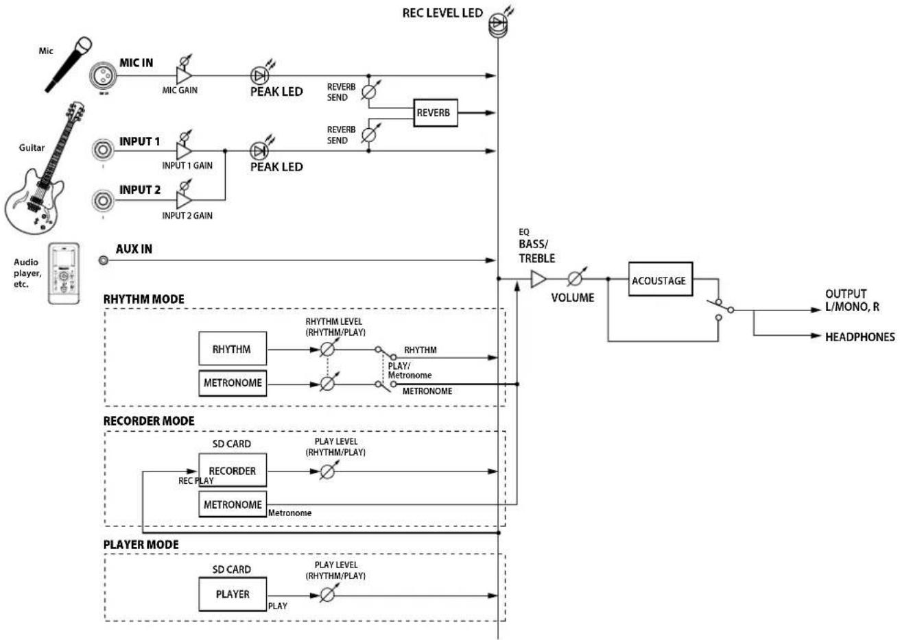
Éléments et leurs fonctions
Panneau supérieur

text_image
1. Section mélangeur 2. Section des sélecteurs 3. Section de contrôle 3-b: Boutons de fonction 3-c: Boutons de commande, 3-a: Boutons de mode MOLETTE VALUE, écran1. Section mélangeur
Branchez un microphone dynamique (de scène) à cette prise.

Les micros à condensateur (de studio) ne sont pas compatibles avec le KR-55 Pro.
Prises INPUT 1 et INPUT 2
Branchez une guitare, une basse ou d'autres instruments à ces prises.
Bouton TUNER
Appuyez sur ce bouton pour activer la fonction d'accordeur.
Bouton ACOUSTAGE
Active/coupe la fonction Acoustage (d'expansion sonore).
La fonction Acoustage n'est pas disponible pendant l'enregistrement.
Désactivez la fonction Acoustage (d'expansion sonore) quand vous utilisez un casque d'écoute. La fonction Acoustage produit des résultats optimaux quand vous branchez une paire d'enceintes aux prises OUTPUT L/MONO et R.
Interrupteur d'alimentation
Cet interrupteur sert à mettre le KR-55 Pro sous/hors tension.
Voyez "Mise sous/hors tension" à la page 8.
Remarque: Quand vous alimentez le KR-55 Pro sur piles et que celles-ci sont presque plates, l'interrupteur d'alimentation se met à clignoter rapidement.
Le KR-55 Pro est doté d'une fonction de coupure automatique de l'alimentation. La fonction de coupure automatique de l'alimentation met le KR-55 Pro hors tension quand il reste un certain temps (que vous définissez) sans aucun manipulation de l'utilisateur. Si l'instrument a été mis hors tension par cette fonction automatique, remettez-le simplement sous tension.
Astuce: Vous pouvez définir le délai de coupure automatique de l'alimentation (voyez "[M3] Mise hors tension automatique ("APOF")" à la page 23).
Commande MIC, témoin de saturation (CLIP)
Cette commande règle le niveau d'entrée du micro branché à la prise MIC IN. Réglez cette commande de sorte que le signal d'entrée ne soit pas saturé (trop élevé), en veillant à ce que le témoin de saturation ne s'allume jamais quand le niveau du signal d'entrée est maximum.
Commande (INPUT) 1, commande (INPUT) 2, témoin de saturation (CLIP)
Ces commandes règlent le niveau d'entrée des instruments branchés aux prises INPUTS 1&2. Réglez chaque commande de sorte que le signal d'entrée ne soit pas saturé (trop élevé), en veillant à ce que le témoin de saturation ne s'allume jamais quand le niveau du signal d'entrée est maximum.
Ce témoin de saturation est utilisé en commun par les entrées INPUT 1 et INPUT 2. Si vous utilisez les deux entrées, réglez le niveau des signaux avec les commandes INPUT 1 & INPUT 2.

RHYTHM / PLAY
Commande RHYTHM/PLAY
- En mode rythmique: Cette commande règle le volume du motif rythmique ou du métronome.
- Mode d'enregistreur, mode de lecteur: Cette commande règle le volume de l'enregistreur ou du lecteur.
Remarque: Tournez la commande à fond à droite pour obtenir le gain unitaire ("unity gain").

Commande REVERB
Cette commande règle le niveau d'envoi à l'effet de réverbération - donc la quantité de réverb.
Ajoutez de la réverbération aux signaux reçus via les prises MIC IN, INPUT 1 et INPUT 2.
Par défaut, la réverbération traite le signal des entrées suivantes: MIC IN, INPUT 1 et INPUT 2. Si vous le voulez, vous pouvez appliquer la réverbération uniquement au signal de la prise MIC IN, ou uniquement au signal des prises INPUT 1 et INPUT 2 (voyez "[M2] Utilisation de l'effet ("EFF")" à la page 23).

Commande BASS
Cette commande règle le timbre des fréquences graves.

Commande TREBLE
Cette commande règle le timbre des fréquences aiguës.

Commande VOLUME
Cette commande règle le volume général.
2. Section des sélecteurs
Les fonctions de ces boutons changent selon le mode actif.
Boutons


- En mode rythmique: sélectionnent le style rythmique ou le son du métronome. Quand la fonction de chaîne est active, ces boutons indiquent le style rythmique joué.
- En mode d'enregistreur: sélectionnent le son produit par le métronome quand il est actif.
- En mode lecteur: sélectionnent le fichier audio à lire.
- Fonction d'accordeur: indiquent la hauteur (voyez "Utiliser la fonction d'accordeur" à la page 10).
Boutons


- En mode rythmique: Ces boutons clignotent pour indiquer la position de jeu au sein du style rythmique actuellement sélectionné. Quand la fonction de chaîne est active, ces boutons permettent de vérifier l'emplacement du style rythmique mémorisé. Vous pouvez en outre utiliser ces boutons pour mémoriser une variation rythmique et son tempo, et les rappeler instantanément (fonction de mémorisation).
- En mode d'enregistreur: Mémorisent la position des données de morceau (voyez "Fonction de repère ('Mark')" à la page 20).
- En mode de lecteur: Utilisez ces boutons pour sélectionner un dossier sur la carte SD insérée (voyez "Structure des dossiers et fichiers" à la page 24).
- En mode système: Permettent de sélectionner les paramètres système.
- Fonction d'accordeur: Produit un son de référence pour l'accord (voyez "Utiliser la fonction d'accordeur" à la page 10).
3. Section de contrôle
3-a: Boutons de mode

text_image
RYYTHM REORDER PLAYER SYSTEMBouton
RHYTHM
Active le mode rythmique. Le mode rythmique permet de jouer 24 rythmes de styles différents. Vous pouvez en outre enregistrer votre propre jeu en même temps que les styles rythmiques enchaînés.
Voyez "Jeu et enregistrement de styles rythmiques (mode Rhythm)" à la page 11.
Voyez "En mode rythmique" à la page 18.
Bouton
RECORDER
Active le mode d'enregistreur. Le mode d'enregistreur permet bien sûr d'enregistrer, mais aussi d'ajouter des données à un enregistrement existant (Overdub) et d'exploiter la fonction d'enregistrement en boucle.
Voyez "Mode d'enregistreur" à la page 20.
Bouton
PLAYER
Active le mode de lecteur. En mode de lecteur, vous pouvez lire les fichiers audio sur carte la SD. Vous pouvez en outre enregistrer votre propre jeu en même temps que le fichier audio lu.
Voyez "Lecture de fichiers audio et enregistrement de votre jeu (mode de lecteur)" à la page 16
Voyez "Mode de lecteur" à la page 22.
Bouton
SYSTEM
Active le mode système. Le mode système permet de vérifier le statut du système et d'effectuer des réglages pour l'ensemble du système.
Voyez "Mode système" à la page 23.
Astuce: Vous pouvez activer le mode de démonstration en appuyant simultanément sur le bouton [SYSTEM] et le bouton [Count Start] (voyez "Écoute des morceaux de démonstration" à la page 9).
3-b: Boutons de fonction

text_image
BAT30 Cham Playlist SD Card Undo Delete Write Set OK Clear Cancel M2V4V5A Motewable - - - - - - - - - - - - - - - - - - - - - - - - - - - - - - - - - - - - - - - - - - - - - - - - - - - - - - - - - - - - - - - - - - - - - - - - - - - - - - - - - - - - - - - - - - - - - - -8:88:88 Loop/Rate Count Start F1 F2 VAR TAP FINDBouton
Chain Playlist
- En mode rythmique: Active/coupe la fonction de chaîne ('Chain'; voyez "Fonction de chaîne ('Chain'')" à la page 18).
- En mode de lecteur: Active/coupe la fonction de liste de lecture ('Playlist'; voyez "Fonction de liste de lecture" à la page 22).
Bouton
Metronome
- Mode d'enregistreur, mode de lecteur: Lance/arrête la fonction de métronome.
Pour changer le type de mesure du métronome, maintenez enfoncé le bouton [Metronome] et tournez la molette VALUE.
Voyez "Fonction de métronome" à la page 19.
Bouton Loop/Auto
- En mode d'enregistreur: Active/coupe la fonction de boucle ('Loop'). Quand la fonction de boucle est active, la portion délimitée par des repères via la fonction Mark peut être lue en boucle ou enregistrée. (voyez "Fonction de repère ('Mark')" à la page 20, "Fonction d'enregistrement/de lecture en boucle ('Loop')" à la page 21).
- En mode de lecteur: Active/coupe la fonction de lecture en boucle/d'enchaînement automatique. Quand la fonction de lecture en boucle/d'enchaînement automatique est active, vous pouvez lire un fichier ou tous les fichiers en boucle ou l'un à la suite de l'autre. (voyez "Fonction de lecture en boucle/d'enchaînement automatique" à la page 22).
Astuce: L'activation de la fonction de lecture en boucle/d'enchaînement automatique met plusieurs autres fonctions à votre disposition.
Bouton Count Start
- Mode rythmique, mode d'enregistreur: Active/coupe la fonction de décompte ('Count Start'). Quand cette fonction est active, la lecture ou l'enregistrement démarre après un décompte de deux mesures. Réglez le tempo du décompte avec la molette VALUE (voyez "Fonction de décompte ('Count Start')" à la page 19).
Remarque: Si vous effectuez un ajout ('Overdub'), veillez à aligner le tempo sur celui de votre morceau.
Astuce: En mode rythmique, la commande RHYTHM/PLAY permet de régler le volume du décompte. En mode d'enregistreur, le volume est fixe et ne peut pas être modifié avec la commande RHYTHM/PLAY.
Astuce: Si nécessaire, vous pouvez choisir une mesure autre que 4/4 pour le décompte (voyez "Fonction de décompte ('Count Start')" a la page 19).
Bouton SD Card
Quand vous insérez une carte SD, le bouton s'allume. Quand vous appuyez sur le bouton, l'écran affiche la durée d'enregistrement disponible. En mode système, ce bouton permet d'accéder à la fonction de test de carte SD (voyez "Fonction de test de carte SD ("tESt")" à la page 23).
Bouton Undo
- En mode d'enregistreur: Ce bouton annule le dernier enregistrement effectué en mode d'enregistrement et rétablit les données 'pré-enregistrement' (le bouton s'allume quand vous annulez le dernier enregistrement). Une nouvelle pression sur ce bouton rétablit les données fraîchement enregistrées (le bouton s'éteint alors).
Bouton Delete
- En mode rythmique: Quand la fonction de chaîne ('Chain') est active, ce bouton efface tous les styles rythmiques de la chaîne courante.
- En mode d'enregistreur: Efface le morceau courant.
- En mode de lecteur: Efface le fichier audio courant.
Appuyez sur le bouton [Delete] jusqu'à ce qu'il s'allume, puis appuyez sur le bouton [Set/OK] pour exécuter l'effacement.
Bouton Write
- En mode d'enregistreur: Exporte les données du morceau courant sous forme de fichier audio lisible en mode de lecteur.
- En mode de lecteur: Importe (charge) le fichier audio sélectionné en mode d'enregistreur.
Bouton, bouton

- En mode rythmique: Utilisez ces boutons pour éditer la chaîne ou pour mémoriser/libérer de la mémoire.
- En mode d'enregistreur: Ces boutons permettent de confirmer/d'annuler des opérations telles que la définition d'un repère, l'effacement de données de morceau ou l'exportation de données.
- En mode de lecteur: Ces boutons permettent de confirmer/d'annuler des opérations telles que l'édition d'une liste de lecture ou l'importation d'un fichier audio.
Remarque: Quand un message d'erreur s'affiche, le bouton [Set/OK] clignote. Appuyez sur le bouton [Set/OK] pour supprimer l'erreur et retourner à la page d'écran précédente.
3-c: Boutons de commande, molette VALUE, écran

text_image
MAYAM MAYAM MAYAM MAYAM MAYAM MAYAM MAYAM MAYAM MAYAM MAYAM MAYAM MAYAM MAYAM MAYAM MAYAM MAYAM MAYAM MAYAM MAYAM MAYAM MAYAM MAYAM MAYAM MAYAM MAYAM MAYAMBouton
Active le mode 'paré à enregistrer'. Quand le mode 'paré à enregistrer' est actif, appuyez sur le bouton [▶/■] pour lancer l'enregistrement. Vous pouvez enregistrer le signal audio externe reçu d'un micro ou d'une guitare en même temps que le style rythmique joué en mode rythmique.
- En mode rythmique: Votre jeu est enregistré avec le jeu du style rythmique.
- En mode d'enregistreur: Votre jeu est enregistré. Ce que vous jouez est aussi ajouté ("Overdub") aux données de morceau existantes.
- En mode de lecteur: Votre jeu est enregistré avec la lecture du fichier audio.
En mode 'paré à enregistrer' et pendant l'enregistrement, les trois témoins du côté gauche de l'écran font office d'indicateurs de niveau d'enregistrement.
Boutons,
- En mode rythmique: Quand la fonction Chain est active, ces boutons permettent de sélectionner la position pour l'édition du style rythmique.
- En mode d'enregistreur: Ces boutons déplacent le curseur pour la lecture/l'enregistrement dans le morceau.
- En mode de lecteur: Ces boutons déplacent le curseur pour la lecture dans le fichier audio.
Bouton
Lance/interrompt momentanément ("pause") la lecture ou l'enregistrement.
- En mode rythmique: Lance/arrête le jeu du style rythmique.
- En mode d'enregistreur: Lance/interrompt momentanément (pause) la lecture des données de morceau.
- En mode de lecteur: Lance/interrompt momentanément (pause) la lecture du fichier audio.
Remarque: Le témoin au-dessus du bouton [▶/■] note pendant que les données sont en cours de préparation. Veuillez donc patienter.
Boutons , F( ) F2 |
- En mode rythmique: Définissent un fill pour le style rythmique courant.
En mode 'paré à enregistrer', ces boutons permettent de choisir le numéro du morceau de destination pour l'enregistrement.
- En mode d'enregistreur: Sélectionnent un morceau.
- En mode de lecteur: Sélectionnent un fichier audio. Quand la fonction de liste de lecture est active, vous pouvez maintenir enfoncé le bouton [VAR] et utiliser ces boutons pour alterner entre les banques de listes de lecture.
En mode 'paré à enregistrer', ces boutons permettent de choisir le numéro du morceau de destination pour l'enregistrement.
Bouton

- En mode rythmique: Change de variation pour le style rythmique courant. Quand la fonction d'enchaînement est active, ce bouton permet de retourner au début de la chaîne.
- En mode d'enregistreur: Arrête l'enregistrement ou la lecture de morceau et retourne au début du morceau.
- En mode de lecteur: Arrête la lecture de fichier audio et retourne au début du morceau.
Bouton

Ce bouton lance le motif de fin du style rythmique ou règle le tempo. Pour régler le tempo, appuyez plusieurs fois sur ce bouton. Une pression sur ce bouton permet aussi de vérifier le son assigné au métronome.
- En mode rythmique: Pendant le jeu d'un rythme, ce bouton lance le motif de fin du style rythmique. Quand la fonction rythmique est à l'arrêt ou que le métronome est activé, ce bouton règle le tempo.
- En mode d'enregistreur: Règle le tempo du métronome quand il est activé.
- En mode de lecteur: Active la vitesse de lecture d'origine.
- En mode système: Affiche le nom des paramètres système.
- Fonction d'accordeur: Change le son de référence pour l'accord.
Molette VALUE
- En mode rythmique: Règle le tempo du style rythmique ou du métronome. (48–240 bpm).
- En mode d'enregistreur: Règle le tempo du métronome quand il est activé (48–240 bpm).
- En mode de lecteur: Change la vitesse de lecture du fichier audio (-25%–+25%).
La molette VALUE est aussi utilisée pour toute une série d'autres réglages.
Écran
L'écran affiche toute une série d'informations, comme par exemple le tempo du style rythmique ou du métronome, la vitesse de lecture du fichier audio, le numéro de morceau ou de fichier audio, la position du curseur de lecture, les valeurs des divers paramètres, les noms des notes pour la fonction d'accordeur ainsi que les messages d'erreur.

text_image
Song Pos. :8:8:8.8: Edit TempoTémoin Song
S'allume quand l'écran affiche un numéro de morceau ou de fichier audio.
Témoin Pos.
S'allume quand l'écran affiche la position actuelle dans une chaîne du mode rythmique ou la position de lecture dans un morceau ou fichier audio.
Témoin Edit
S'allume durant l'édition et l'affichage de divers paramètres.
Témoin Tempo
S'allume quand l'écran affiche le tempo d'un motif rythmique ou du métronome.
Témoins de niveau d'enregistrement
En mode 'paré à enregistrer' ou durant l'enregistrement (quand le bouton [ ● ] clignote ou est allumé), les trois témoins à gauche de l'écran (comprenant les témoins Song et Pos.) font office d'affichage du niveau d'enregistrement. Le témoin supérieur ("Song") indique les pics et s'allume quand le signal d'entrée est trop élevé.
Réglez le niveau d'enregistrement de sorte que le témoin supérieur ne s'illumine que par intermittence.
Remarque: Pour tout autre type de données affichées à l'écran, ces témoins restent éteints.
Panneau arrière

text_image
2145 7 61. Prise DC 9V
Branchez-y l'adaptateur secteur (CC 9V) fourni avec l'instrument.
2. Prise (minijack stéréo)
Branchez un casque d'écoute à cette prise.
Branchez uniquement une fiche stéréo à cette prise. Si vous branchez un câble à fiche mono à cette prise, vous n'obtiendrez aucun son.
3. Prise FOOT SW
Branchez un pédalier VOX VFS5 (disponible dans le commerce) à cette prise.
Ce pédalier permet de lancer les styles rythmiques et d'effectuer d'autres opérations sans lâcher votre manche (voyez "Utiliser un pédalier" à la page 25).
4. Prise AUX IN (minijack stéréo)
Branchez-y un instrument de musique ou toute autre source audio. Vous pouvez donc jouer accompagné des styles rythmiques du KR-55 Pro ou de la source audio connectée à cette prise. Réglez le volume de la source connectée avec les commandes du dispositif en question.
5. Prises OUTPUT L/MONO, R (mono)
Branchez ces prises à un dispositif externe comme des moniteurs actifs.
6. Fente pour carte SD
Logez une carte SD dans cette fente (voyez "A propos des cartes SD" à la page 7).
7. Couvercle du compartiment à piles
Placez six piles de type AA dans ce compartiment. Vous pouvez utiliser des piles alcalines ou au nickel-hydrure métallique.
Préparatifs
Connexions
L'illustration ci-dessous détaille les connexions d'une configuration typique du KR-55 Pro. Branchez les dispositifs nécessaires à votre configuration.
Avant d'effectuer la moindre connexion, mettez tous les dispositifs hors tension et réglez leur volume au minimum. Soyez prudent, car toute erreur de connexion ou de manipulation risque d'endommager les haut-parleurs ou causer des dysfonctionnements.
Si vous branchez un micro ou une guitare acoustique, il se pourrait selon le réglage de volume du KR-55 Pro et la distance entre le micro/la guitare et les haut-parleurs que vous obteniez un effet Larsen. Si vous rencontrez ce problème, prenez les mesures suivantes.
- Éloignez le micro ou la guitare acoustique de l'enceinte externe.
- Changez l'orientation du micro ou de la guitare acoustique (de sorte qu'ils ne soient pas tournés directement vers le KR-55 Pro).
• Baissez le volume sur le KR-55 Pro.
A propos des cartes SD
Types de cartes SD compatibles avec le KR-55 Pro
Le KR-55 Pro prend en charge les types suivants de cartes SD: SDHC (UHS-I) recommandation 4 Go–32 Go.
Insérer ou extraire une carte SD
- Vérifiez que l'alimentation est coupée.
- Insérez la carte SD dans la fente située sur le panneau arrière du KR-55 Pro jusqu'à ce que vous entendiez un déclic.
- Pour extraire la carte SD, poussez-la vers le fond de la fente jusqu'à ce que vous entendiez un déclic, puis saisissez-la des doigts et retirez-la de la fente.
- La carte SD ressort légèrement de sorte que vous puissiez la saisir facilement.
Remarque: Pour en savoir plus sur la manipulation des cartes SD, voyez les instructions fournies avec votre carte SD.
Vérifiez l'orientation de la carte SD avant de l'insérer, puis insérez-la à fond dans la fente. N'insérez jamais une carte SD de force dans la fente.
N'insérez et n'extrayez jamais de carte SD quand le KR-55 Pro est sous tension. Cela risquerait de causer la perte ou l'endommagement des données de la carte SD ou des données internes de l'instrument, voire d'endommager irrémédiablement la carte SD.
Formater (initialiser) une carte SD
Une carte SD que vous avez utilisée sur un ordinateur, téléphone portable ou appareil photo numérique ne peut pas être utilisée telle quelle sur le KR-55 Pro. Avant de pouvoir utiliser une carte SD sur le KR-55 Pro, vous devez la formater sur l'appareil.
Formatez également la carte dans les cas suivants.
- Si l'écran affiche le message d'erreur ("Err-Crd-**") au démarrage.
- Si l'écran affiche un message d'erreur pendant la lecture ou l'enregistrement d'un morceau.
Formatage de la carte SD
Avant toute chose, vérifiez que l'enregistrement ou la lecture est bien à l'arrêt.
Remarque: Vérifiez que la carte SD est insérée.
- Appuyez sur le bouton [SYSTEM] pour activer le mode système (le bouton s'allume).
- Appuyez sur le bouton [M8] (il clignote). L'écran affiche "Init" (initialisation) et le bouton [Set/OK] clignote.
- Pour formater la carte, maintenez le bouton [Set/OK] enfoncé pendant environ une seconde.
Pendant le formatage, le message "Init" sur l'écran clignote. Quand le formatage a été effectué sans erreur, le message "End" s'affiche à l'écran.
En cas d'erreur, le message "Err." s'affiche à l'écran. Pour essayer à nouveau de formater la carte, recommencez la procédure depuis l'étape 2.
Prudence, car le formatage d'une carte SD entraîne la perte de toutes les données qu'elle contient. Si la carte contient des données auxquelles vous tenez, archivez-les sur ordinateur avant de formater la carte.
Test pour vérifier si l'enregistrement est possible sur une carte SD
Certaines cartes SD ne permettent pas d'enregistrer avec le KR-55 Pro. Vous pouvez tester la carte pour déterminer si elle peut être utilisée pour enregistrer avec l'instrument. Pour plus de détails, voyez "Fonction de test de carte SD ("tESt")" à la page 23.
Durée d'enregistrement
1 Giga-octet de mémoire correspond à environ 100 minutes d'enregistrement. Chaque minute d'enregistrement occupe donc environ 10 Mo d'espace sur la carte.
Remarque: Ces durées d'enregistrement sont approximatives. Au fil que le nombre de morceaux augmente sur la carte, la durée d'enregistrement disponible diminue légèrement.
Remarque: Les durées d'enregistrement mentionnées ci-dessus s'appliquent au premier enregistrement sur une carte. Dans le cas d'un ajout (Overdub), l'espace occupé sur la carte correspond à la durée totale des enregistrements.
Vérification de la durée d'enregistrement disponible
Astuce: Procédez comme suit pour vérifier la durée d'enregistrement résiduelle sur la carte SD.
- Appuyez sur le bouton [SD Card]. Vérifiez l'espace disponible sur la carte SD.
L'écran affiche "SD: Fr**" (indiquant l'espace disponible). Si la capacité résiduelle dépasse une heure, l'écran affiche 1h, 2h, etc. Si la capacité résiduelle fait moins d'une heure, l'écran affiche 59...00.
Remarque: En mode système, l'écran affiche "tESt" et la fonction de test de carte SD est active.
Réglage de protection anti-écriture d'une carte SD
Les cartes SD sont dotées d'un commutateur de protection contre l'écriture pour éviter que des données ne soient effacées accidentellement. Quand une carte est protégée, il est impossible d'y sauvegarder ou d'en supprimer des données.
Vous ne pouvez donc pas l'utiliser avec l'enregistreur audio ni formater la carte. Si vous voulez effectuer ces opérations, désactivez la protection de la carte.
Mise sous/hors tension
Le KR-55 Pro peut être alimenté sur piles ou sur secteur avec l'adaptateur fourni.
Alimentation avec l'adaptateur secteur
Utilisez exclusivement l'adaptateur secteur fourni. L'utilisation de tout autre adaptateur secteur risque de causer des dysfonctionnements ou dommages.
-
Vérifiez que l'alimentation du KR-55 Pro est coupée. Vérifiez que l'écran est vide et que tous les boutons sont éteints.
-
Branchez la fiche CC de l'adaptateur secteur à la prise DC9V sur le panneau arrière du KR-55 Pro.
Veillez à orienter correctement la fiche quand vous effectuez cette connexion.
- Branchez la fiche secteur de l'adaptateur à une prise de courant de tension appropriée.
Veillez à ce que la prise de courant fournisse bien un courant de tension compatible avec l'adaptateur secteur.
Alimentation sur piles
Les piles ne sont pas fournies. Procurez-vous des piles du type approprié.
-
Retirez le couvercle du compartiment à piles sur le panneau arrière.
-
Installez six piles de type AA, alcalines ou au nickel-hydrure métallique, en veillant à orienter correctement chaque pile (conformément au schéma de polarité illustré).

- En mode système, spécifiez le type des piles insérées dans le KR-55 Pro.
Voyez "[M1] Type de batterie ("batt")" à la page 23.
Si vous installez plus tard des piles d'un autre type, n'oubliez pas de changer ce réglage en mode système.

text_image
Guitare, basse, etc. Instrument de musique électronique, etc. Fiche CC vers une prise de courant Adaptateur secteur Casque Moniteur actif MIC MIC ININPUT 1/INPUT 2 Carte SD VOX VFS5Remplacer les piles
Changez les piles dès que l'interrupteur d'alimentation se met à clignoter.
Quand les piles sont presque plates, le son du KR-55 Pro pourrait comporter du bruit ou des coupures.
Retirez immédiatement les piles une fois qu'elles sont plates. Ne laissez jamais des piles plates dans le KR-55 Pro car elles risqueraient de fuir et d'endommager l'instrument. De même, veillez toujours à retirer les piles du KR-55 Pro si vous n'avez pas l'intention de l'utiliser pendant une période prolongée.
Remplacez toujours les six piles à la fois. Ne mélangez jamais des piles neuves avec des piles usagées.
Mise sous tension
Remarque: Si vous avez branché un dispositif à la prise AUX IN, mettez ce dernier sous tension avant toute chose.
Remarque: Si vous comptez utiliser une carte SD, insérez-la dans la fente pour carte SD avant de mettre le KR-55 Pro sous tension (voyez "Préparatifs" à la page 7).
- Réglez la commande VOLUME du panneau supérieur au minimum (à fond à gauche).
- Maintenez l'interrupteur d'alimentation enfoncé sur le panneau supérieur pendant une seconde ou plus, jusqu'à ce qu'il s'allume. Une fois le démarrage effectué, le KR-55 Pro est paré pour le travail sonore.
- Mettez sous tension l'équipement externe connecté aux prises OUTPUT L/MONO et R du KR-55 Pro, comme par exemple des moniteurs actifs.
- Réglez le volume sur le dispositif externe et sur le KR-55 Pro.
Mise hors tension
Ne mettez jamais l'instrument hors tension et ne débranchez jamais son adaptateur secteur quand un enregistrement, une conversion de données ou une sauvegarde de données système est en cours.
Cela risquerait d'endommager le KR-55 Pro ou les données sur la carte SD. Si les données de la carte sont corrompues, formatez la carte SD.
- Si la lecture ou un enregistrement est en cours, appuyez sur le bouton [▶/■] pour l'arrêter.
- Maintenez l'interrupteur d'alimentation enfoncé pendant une seconde ou plus jusqu'à ce qu'il clignote. Au bout d'un moment, l'interrupteur d'alimentation et l'écran s'éteignent et le KR-55 Pro est mis hors tension.
Prudence lors de la mise hors tension!
Pour mettre hors tension le KR-55 Pro, vous devez d'abord maintenir enfoncé son interrupteur d'alimentation situé sur le panneau avant. (Lors de la mise hors tension, le KR-55 Pro sauvegarde ses données.)
Ne débranchez jamais l'adaptateur secteur et ne retirez jamais les piles quand l'instrument est sous tension.
Prise en main
Ce guide de prise en main détaille les fonctions de base du KR-55 Pro. Lisez d'abord ce chapitre dans son entièrement pour comprendre l'utilisation de ces fonctions de base. Lisez ensuite les chapitres suivants pour tout saisir du fonctionnement.
Écoute des morceaux de démonstration
Le KR-55 Pro contient des morceaux de démonstration. Familiarisez-vous d'abord avec les sons du KR-55 Pro.

text_image
KORG KR-55 Pro 1 2 3 4 5 6 7 8 9 10 11 12 13 14 15 16 17 18 19 20 21 22 23 24 25 26 27 28 29 30 31 32 33 34 35 36 37 38 39 40 41 42 43 44 45 46 47 48 49 50 51 52 53 54 55 56 57 58 59 60 61 62 63 64 65 66 67 68 69 70 71 72 73 74 75 76 77 78 79 80 81 82 83 84 85 86 87 88 89 90 91 92 93 94 95 96 97 98 99 100- Activez le mode de démonstration en appuyant simultanément sur le bouton [SYSTEM] et le bouton [Count Start]. Le bouton [SYSTEM] et le bouton [Count Start] clignotent, et la lecture du morceau de démonstration démarre. Les boutons du panneau supérieur s'allument sur le tempo du morceau de démonstration.
- Utilisez la commande VOLUME pour régler le volume du morceau de démonstration.
- Les boutons [ ] laissent respectivement la lecture du morceau de démonstration précédent/suivant.
- Appuyez sur le bouton de mode [RHYTHM], [RECORDER], [PLAYER] ou [SYSTEM] pour quitter le mode de démonstration.
Connector et jouer sur des instruments
Le KR-55 Pro possède une entrée micro, deux entrées pour guitare ou basse et une entrée AUX, ce qui vous permet de mélanger plusieurs sources. L'instrument prend en charge les signaux d'entrée de diverses sources telles que guitare, basse et microphone.
Jouer de la guitare
Voici comment connecter une guitare.

text_image
KORG KR-55 Pro 1 1,2 5 4 1,3 120. LR Range: 120.0 V F1 F2 VAR TAP END END- Réglez la commande (INPUT) 1 et la commande VOLUME sur le minimum, puis branchez votre guitare à la prise INPUT 1.
- Réglez le niveau d'entrée avec la commande (INPUT) 1. Pour éviter la distorsion (signal trop musclé), réglez cette commande de sorte que le témoin de saturation ne s'allume jamais quand le niveau du signal d'entrée est maximum.
- Réglez le niveau du signal transmis aux prises OUTPUT L/MONO et R avec la commande VOLUME.
- Réglez le timbre avec les commandes TREBLE et BASS.
- Si nécessaire, réglez la quantité de réverbération avec la commande REVERB.
Appliquez un effet de réverbération aux signaux reçus via les prises MIC IN, INPUT 1 et INPUT 2.
Astuce: Si vous possédez un pédalier VOX VFS5, vous pouvez l'utiliser pour activer/couper du pied la réverbération.
- Vous pouvez activer la fonction Acoustage en appuyant sur le bouton [ACOUSTAGE] afin d'élargir l'image stéréo du KR-55 Pro.
Quand la fonction Acoustage est active, cet effet d'élargissement de l'image stéréo s'applique à tous les signaux produits par le KR-55 Pro.
Désactivez cette fonction quand vous utilisez un casque d'écoute. La fonction Acoustage produit des résultats optimum quand des enceintes stéréo aux prises de sortie OUTPUT L/MONO et R.
Utiliser la fonction d'accordeur
Le KR-55 Pro comporte une fonction d'accordeur automatique.
Voici comment accorder votre guitare avec cette fonction.

text_image
KORG KR-55 Pro 1.5 2- Appuyez sur le bouton [TUNER] pour activer l'accordeur (le bouton s'allume).
- Vous pouvez changer le calibrage de l'accordeur avec la molette VALUE.
Réglez le calibrage sur toute valeur comprise entre 435–445 Hz. Par défaut, l'accordeur est calibré sur la hauteur de référence 440 Hz.
- Pincez toute corde à vide.
La note produite par la corde pincée apparaît à l'écran. Réglez la hauteur approximative de la corde de sorte que le nom de la note voulue s'affiche à l'écran.
1re corde/6ème corde: "E" (mi); 2ème corde: "b" (si); 3ème corde: "G" (sol); 4ème corde: "d" (ré); 5ème corde: "A" (la)
- Affinez l'accord de la corde en vous référant aux boutons [(1) 8 BEAT1] - [(24) SAMBA].
Ces boutons font office de guide d'accordage. Accordez la corde de sorte que seules les deux colonnes de boutons centrales soient allumées.

flowchart
graph TD
A["1: 8 BEATS"] --> B["2: 9 BEATS"]
B --> C["3: 10 BEATS"]
C --> D["4: 11 BEATS SHUFFLE"]
D --> E["5: 12 BEATS"]
E --> F["6: UNPLUGO CANON"]
F --> G["7: UNPLUGO CORNA"]
G --> H["8: UNPLUGO DIEMBE"]
H --> I["9: OLDERS"]
I --> J["10: COUNTRY TRAIN BY"]
J --> K["11: COUNTRY 3/4"]
K --> L["12: ROCK1"]
L --> M["13: ROCK2"]
M --> N["14: BLUES1"]
N --> O["15: BLUES2"]
O --> P["16: LATT"]
P --> Q["17: LATT SHUFFLE"]
Q --> R["18: LATT SHUFFLE"]
R --> S["19: LATT SHUFFLE"]
S --> T["20: LATT SHUFFLE"]
T --> U["21: LATT SHUFFLE"]
U --> V["22: LATIN 18/22"]
V --> W["23: ROSSA"]
W --> X["24: TAMBA"]
- Quand votre guitare est accordée, appuyez à nouveau sur le bouton [TUNER] pour couper la fonction d'accordeur.
Astuce: Quand la fonction d'accordeur est active, les boutons [M1]–[M8] de la section des sélecteurs permettent de produire un son de référence pour l'accord. Choisissez un des trois types disponibles pour le son de référence: guitare, basse ou piano. Chaque pression sur le bouton [TAP/END] change de type d'instrument.
| Écran Bouton Son de référence | ||
| Guit (guitare) | M1-M6 | Cordes 1-6 (1E, 2B, 3G, 4D, 5A, 6E) |
| bass (basse) M1-M4 | Cordes 1-4 (1G, 2D, 3A, 4E) | |
| Pian (piano) | M1-M8, [(17) 16 BEAT], [(18) 16 BEAT SHUFFLE], [(20)]JAZZ]-[(22)BOSSA] | Do, Ré, Mi, Fa, Sol, La, Si, Do, Do#, Ré#, Fa#, Sol#, La# |
Utiliser un micro
Voyons comment utiliser un micro branché à la prise MIC IN. Utilisez uniquement des micros dynamiques avec le KR-55 Pro.
Les micros à condensateur (de studio) ne sont pas compatibles avec le KR-55 Pro.

text_image
KORG KR-55 Pro AUDIO ONLY TIME 1 6 1,2 5 4 1,3 120.0 120.0 120.0 120.0 120.0 120.0 120.0 120.0 120.0 120.0 120.0 120.0 120.0 120.0 120.0 120.0 120.0 12 12 12 12 12 12 12 12 12 12 12 12 12 12 12 12 12 12 12 12 12 12 12 12 12 12 12 12 12 12 12 12 12 12- Réglez la commande MIC et la commande VOLUME sur le minimum, puis branchez votre micro à la prise MIC IN.
- Tout en parlant/chantant dans le micro, réglez son niveau d'entrée avec la commande MIC. Réglez cette commande de sorte que le signal d'entrée ne soit pas saturé (trop élevé), en veillant à ce que le témoin de saturation ne s'allume jamais quand le niveau du signal d'entrée est maximum.
- Réglez le niveau du signal transmis aux prises OUTPUT L/MONO et R avec la commande VOLUME.
- Réglez le timbre avec les commandes TREBLE et BASS.
- Si nécessaire, réglez la quantité de réverbération avec la commande REVERB.
Astuce: Si vous possédez un pédalier VOX VFS5, vous pouvez l'utiliser pour activer/couper du pied la réverbération.
- Vous pouvez activer la fonction Acoustage en appuyant sur le bouton [ACOUSTAGE] afin d'élargir l'image stéréo du KR-55 Pro.
Jeu et enregistrement de styles rythmiques (mode Rhythm)
Le KR-55 Pro propose une palette de 24 styles rythmiques. Vous pouvez par exemple lancer un rythme et jammer à cœur joie sur votre guitare ou encore chanter sur le rythme. Vous pouvez en outre capturer votre performance sur le KR-55 Pro en même temps que le style rythmique joué.
Écoutons des motifs rythmiques de styles divers.
Sélectionner et jouer un style rythmique

text_image
KORG KR-55 Pro R23.00 - OUTPUT - 8 R24.00 FOOT ON SC 19 0-0- TENDER MOUNTAGE R25.00 R26.00 R27.00 R28.00 R29.00 R30.00 R31.00 R32.00 R33.00 R34.00 R35.00 R36.00 R37.00 R38.00 R39.00 R40.00 R41.00 R42.00 R43.00 R44.00 R45.00 R46.00 R47.00 R48.00 R49.00 R50.00 R51.00 R52.00 R53.00 R54.00 R55.00 R56.00 R57.00 R58.00 R59.00 R60.00 R61.00 R62.00 R63.00 R64.00 R65.00 R66.00 R67.00 R68.00 R69.00 R70.00 R71.00 R72.00 R73.00 R74.00 R75.00 R76.00 R77.00 R78.00 R79.00 R80.00 R81.00 R82.00 R83.00 R84.00 R85.00 R86.00 R87.00 R88.00 R89.00 R90.00 R91.00 R92.00 R93.00 R94.00 R95.00 R96.00 R97.00 R98.00 R99.00 R100.00- Appuyez sur le bouton [RHYTHM] pour activer le mode rythmique (le bouton s'allume).
- Réglez la commande VOLUME sur un niveau assez bas et placez la commande RHYTHM/PLAY plus ou moins sur la position "à 3 heures".
- Sélectionnez un style rythmique avec les boutons [(1) 8 BEAT1]–[(24) SAMBA]. Le bouton du style rythmique sélectionné s'allume.
- Appuyez sur le bouton [▶pô■ lancer le style rythmique choisi.
Pendant le jeu du rythme, le témoin est allumé au-dessus du bouton [▶/■]. Les boutons [M1]-[M8] clignotent pour indiquer la mesure actuelle du style rythmique en cours de lecture. - Réglez le niveau avec la commande VOLUME.
- Réglez le tempo avec la molette VALUE. Réglez le tempo sur toute valeur comprise entre .=48-240. L'écran affiche le réglage de tempo. Astuce: Quand la boîte à rythme est à l'arrêt, vous pouvez régler le tempo en 'tapant' plusieurs fois le bouton [TAP/END] au tempo voulu.
- Si vous appuyez sur le bouton d'un autre style rythmique quand un style est en cours, le KR-55 Pro lance le nouveau style au début de la mesure suivante.
Remarque: Appuyez sur le bouton légèrement à l'avance de sorte que le style rythmique soit prêt pour le changement. - Appuyez sur le bouton [▶pô■ arrêter le jeu du style. Astuce: La fonction d'enchaînement vous permet de définir l'agencement rythmique d'un morceau entier et de jouer les divers rythmes en les enchaînant (voyez "Fonction de chaîne ('Chain')" à la page 18).
Changer de variation, insérer un fill ou lancer la finale
Chaque style rythmique propose deux variations. Chaque variation comporte 3 motifs rythmiques: principal, fill 1 et fill 2.

text_image
KORG KR-55 Pro 1 2 3 4 5 6 7 8 9 10 11 12 13 14 15 16 17 18 19 20 21 22 23 24 25 26 27 28 29 30 31 32 33 34 35 36 37 38 39 40 41 42 43 44 45 46 47 48 49 50 51 52 53 54 55 56 57 58 59 60 61 62 63 64 65 66 67 68 69 70 71 72 73 74 75 76 77 78 79 80 81 82 83 84 85 86 87 88 89 90 91 92 93 94 95 96 97 98 99 100- Choisissez un style rythmique et lancez-le.
Voyez "Sélectionner et jouer un style rythmique" à la page 11.
- Appuyez sur le bouton [VAR] pour changer de variation au sein du style rythmique actuel.
Le KR-55 Pro lance la variation B au début de la mesure suivante. Le témoin au-dessus du bouton [VAR] s'allume pour indiquer que la variation B est sélectionnée.
Appuyez à nouveau sur ce bouton pour repasser à la variation A (le témoin s'éteint).
- Pendant le jeu, appuyez sur le bouton [F1] ou [F2].
A la fin de la mesure en cours, le KR-55 Pro joue un fill (le témoin s'allume) et retourne au jeu du motif principal.
Astuce: Quand la boîte à rythme est à l'arrêt, vous pouvez lancer la lecture avec un fill en appuyant sur le bouton [F1] ou [F2].
- Pendant le jeu, appuyez sur le bouton [TAP/END].
Au début de la mesure suivante, le KR-55 Pro joue une finale avant de couper le rythme.
Astuce: Avec le pédalier VOX VFS5, vous pouvez piloter le jeu des styles rythmiques sans quitter votre instrument des doigts.
Enregistrer une performance sur instrument en même temps que le style rythmique
En mode rythmique, vous pouvez enregistrer votre jeu en même temps que le motif de la boîte à rythme.
Vous pouvez créer à l'avance une chaîne de styles rythmiques pour le morceau visé (voyez "Créer une chaîne" à la page 18).
Notre exemple explique comment enregistrer en utilisant une chaîne déjà définie.

text_image
KORG KR-55 Pro KORG RDTTM 1 2 3 4 5 6 7 8 9 10 11 12 13 14 15 16 17 18 19 20 21 22 23 24 25 26 27 28 29 30 31 32 33 34 35 36 37 38 39 40 41 42 43 44 45 46 47 48 49 50 51 52 53 54 55 56 57 58 59 60 61 62 63 64 65 66 67 68 69 70 71 72 73 74 75 76 77 78 79 80 81 82 83 84 85 86 87 88 89 90 91 92 93 94 95 96 97 98 99 100Préparatifs pour l'enregistrement
Les données enregistrées sont sauvegardées sur la carte SD insérée dans la fente pour carte SD. Pour pouvoir enregistrer, vous devez insérer une carte SD dans la fente pour carte SD avant de mettre le KR-55 Pro sous tension (voyez "Insérer ou extraire une carte SD" à la page 7).
- Branchez votre micro ou instrument.
Voyez "Connector et jouer sur des instruments" à la page 10.
Remarque: La fonction Acoustage n'est pas disponible pendant l'enregistrement.
- Sélectionnez une chaîne.
Appuyez sur le bouton [Chain/Playlist] pour activer la fonction de chaîne (ce bouton s'allume). Sélectionnez la chaîne à lire avec le bouton [F1] ou [F2].
Pour cet exemple, appuyez sur le bouton [F1] pour sélectionner la chaîne C01. Si nécessaire, réglez le tempo comme bon vous semble.
- Activez le mode 'paré à enregistrer' du KR-55 Pro, puis sélectionnez le numéro du morceau de destination pour l'enregistrement.
Appuyez sur le bouton [ ● ] pour activer le mode 'paré à enregistrer' (le bouton clignote).
L'écran affiche le numéro du morceau (d01, d02...). Si aucun morceau n'est enregistré dans une mémoire, son numéro clignote. Si la mémoire contient un morceau enregistré, son numéro est allumé.
Sélectionnez le numéro du morceau à enregistrer avec le bouton [F1] ou [F2].
Astuce: En présence de morceaux vides (mémoires disponibles), le plus petit numéro de morceau disponible est automatiquement choisi.
Si vous choisissez une mémoire contenant des données de morceau (le numéro du morceau est dans ce cas allumé à l'écran) et que vous lancez l'enregistrement, les données existantes sont supprimées et remplacées par les données fraîchement enregistrées.
- Réglez le volume d'enregistrement du style rythmique et de votre micro/instrument.
Réglez le volume du style rythmique en tournant la commande RHYTHM/PLAY sur la position "à 3 heures". Réglez le volume de votre micro ou instrument avec la commande MIC et les commandes (INPUT) 1 et 2.
Remarque: En mode 'paré à enregistrer' ou durant l'enregistrement (quand le bouton [ ● ] clignote ou est allumé), les trois témoins à gauche de l'écran font office d'affichage du niveau d'enregistrement. Réglez les commandes en question de sorte que le témoin supérieur ne s'illumine que par intermittence.
Pour vérifier le niveau d'enregistrement du style rythmique, appuyez sur le bouton [▶/■] et effectuez les réglages pendant l'enregistrement.
Quand vous avez fini les réglages, appuyez sur le bouton [▶/■] pour arrêter le style rythmique.
Remarque: La commande VOLUME n'a pas d'effet sur le niveau d'enregistrement. En présence de Larsen, diminuez le volume général avec cette commande.
Lancer l'enregistrement
- Effectuez les étapes décrites sous voyez "Préparatifs pour l'enregistrement" à la page 12.
- Appuyez sur le bouton [Count Start] pour lancer un décompte de deux mesures (ce bouton clignote).
Astuce: Quand vous appuyez sur le bouton [●], la fonction Count Start insère un décompte de deux mesures avant de démarrer l'enregistrement.
- Appuyez sur le bouton [ ● ] pour activer le mode 'paré à enregistrer'.
Les témoins clignotent au-dessus des boutons [ ● ] et [ ▶./■
- Sélectionnez le numéro du morceau à enregistrer avec le bouton [F1] ou [F2].
Remarque: Choisissez ici le numéro de morceau sélectionné à l'étape 3 de la procédure voyez "Préparatifs pour l'enregistrement" à la page 12.
- Appuyez sur le bouton [▶/■]
Le KR-55 Pro joue un décompte de deux mesures puis démarre l'enregistrement.
Quand l'enregistrement démarre, les témoins s'allument au-dessus des boutons [●] et [▶]/[■bouton [Count Start] s'éteint).
- Jouez de votre instrument sur le style rythmique choisi.
Astuce: Astuce: Si vous préférez, vous pouvez d'abord enregistrer simplement le style rythmique pour lequel vous avez défini une chaîne, puis enregistrer votre jeu par la suite sous forme d'ajout (Overdub). (Voyez "Effectuer un ajout (Overdub) dans un morceau existant" à la page 14).
- Quand vous avez fini de jouer, appuyez sur le bouton [▶/■ pour arrêter l'enregistrement.
Vous pouvez écouter le morceau enregistré en mode d'enregistreur (voyez "Lecture des données de jeu enregistrées" à la page 13).
Astuce: Si un point d'arrêt est défini dans la chaîne, la lecture s'arrête automatiquement.
Travail avec la fonction d'enregistreur (mode d'enregistreur)
La fonction d'enregistreur du KR-55 Pro permet d'enregistrer plusieurs sources d'entrée. Vous pouvez utiliser cet enregistreur pour travailler et peaufiner votre jeu, ou encore pour capturer et conserver vos idées musicales.
Voyons comment enregistrer en mode d'enregistrement. Selon le mode actif, voici ce que vous pouvez enregistrer.
- En mode rythmique: Votre jeu est enregistré avec le jeu du style rythmique.
- En mode d'enregistreur: Votre jeu est enregistré. Ce que vous jouez peut aussi être ajouté ("Overdub") aux données de morceau existantes.
- En mode de lecteur: Votre jeu est enregistré avec la lecture du fichier audio.
Remarque: L'action des paramètres d'égalisation BASS, TREBLE et de l'effet ACOUSTAGE ne peut pas être enregistrée. L'effet REVERB appliqué au signal de l'entrée MIC IN, INPUT 1 et 2 peut être enregistré.
Les données enregistrées sont sauvegardées sur la carte SD insérée dans la fente pour carte SD. Pour pouvoir enregistrer, vous devez insérer une carte SD dans la fente pour carte SD avant de mettre le KR-55 Pro sous tension (Voyez "Insérer ou extraire une carte SD" à la page 7).
Lecture des données de jeu enregistrées
Le mode d'enregistreur permet de lire les données de jeu enregistrées sur le KR-55 Pro.
- Appuyez sur le bouton [RECORDER] pour activer le mode d'enregistreur (le bouton s'allume).
- Sélectionnez le numéro du morceau à lire avec le bouton [F1] ou [F2].
- Utilisez la commande RHYTHM/PLAY pour régler le volume de lecture des données de jeu enregistrées.
Pour lire les données enregistrées au même volume que pendant l'enregistrement, tournez la commande RHYTHM/PLAY à fond à droite.
- Appuyez sur le bouton [▶p/6■ lancer la lecture.
- Appuyez sur le bouton [▶pô■ arrêter la lecture. Pour retourner au début du morceau, appuyez sur le bouton [VAR].
Enregistrer votre jeu

text_image
KORG KR-55 Pro MOS M 1 2 NOK 1 2 RONTAIN/FLUV MINTIN MALL THERM VOLUME 14 BEAT1 14 BEAT2 BEAT3 14 BEAT4 BEAT5 14 BEATS BEATS1 BEATS2 BEATS3 BEATS4 BEATS5 BEATS6 BEATS7 BEATS8 BEATS9 BEATS10 BEATS11 BEATS12 BEATS13 BEATS14 BEATS15 BEATS16 BEATS17 BEATS18 BEATS19 BEATS20 BEATS21 BEATS22 BEATS23 BEATS24 BEATS25 BEATS26 BEATS27 BEATS28 BEATS29 BEATS30 BEATS31 BEATS32 BEATS33 BEATS34 BEATS35 BEATS36 BEATS37 BEATS38 BEATS39 BEATS40 BEATS41 BEATS42 BEATS43 BEATS44 BEATS45 BEATS46 BEATS47 BEATS48 BEATS49 BEATS50 BEATS51 BEATS52 BEATS53 BEATS54 BEATS55 BEATS56 BEATS57 BEATS58 BEATS59 BEATS60 BEATS61 BEATS62 BEATS63 BEATS64 BEATS65 BEATS66 BEATS67 BEATS68 BEATS69 BEATS70 BEATS71 BEATS72 BEATS73 BEATS74 BEATS75 BEATS76 BEATS77 BEATS78 BEATS79 BEATS80 BOS1A SAMBRA M1 M2 M3 M4 M5 M6 M7 M8 RHYTHM Chain Playlist SD Card Undo Delete Write: Set OR: Clear Cancel: RECORDER: Metrophone: # - - - - - - - - - - - - - - - - - - - - - - - - - - - - - - - - - - - - - - - - - - - - - - - - - - - - - - - - - - - - - - - - - - - - - - - - - - - - - - - - - - - - - - - - - - - - - - - - - - - - - 1 4 6 3 5 6,8 7 8 9 10 11 12 13 14 15 16 17 18 19 20 21 22 23 24 25 26 27 28 29 30 31 32 33 34 35 36 37 38 39 40 41 42 43 44 45 46 47 48 49 50 51 52 53 54 55 56 57 58 59 60 61 62 63 64 65 66 67 68 69 70 71 72 73 74 75 76 77 78 79 80 81 82 83 84 85 86 87 88 89 90 91 92 93 94 95 96 97 98 99 100- Appuyez sur le bouton [RECORDER] pour activer le mode d'enregistreur (le bouton s'allume).
- Branchez un micro ou un instrument sur lequel vous comptez jouer et réglez le volume.
Voyez "Connector et jouer sur des instruments" à la page 10.
- Sélectionnez un nouveau morceau. Appuyez sur le bouton [F2] jusqu'à ce qu'un numéro de morceau clignote à l'écran. Les numéros clignotants indiquent des nouveaux morceaux. Les numéros qui ne clignotent pas correspondent à des morceaux déjà enregistrés.
Astuce: Dans le jargon du KR-55 Pro, les données d'enregistrement sont appelées "données de morceau" et sont gérées par blocs appelés "morceaux".
- Si vous voulez travailler au métronome pendant l'enregistrement, appuyez sur le bouton [Metronome] pour activer cette fonction.
Sélectionnez le son voulu pour le métronome avec les boutons [(1) 8 BEAT1]–[(16) BLUES2] (voyez "Liste des sonorités" à la page 24).
Par défaut, la mesure du métronome est réglée sur 4/4. Pour changer le type de mesure du métronome, maintenez le bouton [Metronome] enfoncé et tournez la molette VALUE.
Vous pouvez choisir parmi 9 types de mesure: 3/4, 4/4, 5/4, 7/4, 5/8, 6/8, 7/8, 9/8, et 12/8. L'écran affiche le type de mesure choisi en chiffres.
Exemple d'affichage du type de mesure: pour une mesure en 4/4: "04:04"
-
Appuyez sur le bouton [Count Start] pour activer la fonction de décompte (ce bouton clignote).
-
Pour lancer l'enregistrement, appuyez sur le bouton [ ● ] puis sur le bouton [ ▶]/■
Le KR-55 Pro joue deux mesures de décompte puis lance l'enregistrement (le bouton [Count Start] s'éteint quand l'enregistrement démarre).
L'affichage de position dans le morceau se transforme en compteur temporel.
- Jouez sur votre instrument.
- Quand vous avez fini de jouer, appuyez sur le bouton [▶/■ pour arrêter l'enregistrement.
Effectuer un ajout (Overdub) dans un morceau existant
Faire un 'Overdub' signifie enregistrer des données supplémentaires dans un morceau existant.

text_image
KORG KR-55 Pro MCK IN TENDER MOBILE 2 2 2 2 2 2 2 2 2 2 2 2 2 2 2 2 2 2 2 2 2 2 2 2 2 2 2 2 2 2 2 2 2 2 2 2 2 2 2 2 2 2 2 2 2 2 2 2 2 2 M1 M2 M3 M4 M5 M6 M7 M8 RHTON Couch Poutlet SD Card Urate Delete Write Set OK Clear Cancel RECORDED Mathematics - - - - - - - - - - - - - - - - - - - - - - - - - - - - - - - - - - - - - - - - - - - - - - - - - - - - - - - - - - - - - - - - - - - - - - - - - - - - - - - - - - - - - - - - - - - - - - - - - - - - - 100% - 100% - 100% - 100% - 100% - 100% - 100% - 100% - 100% - 100% - 100% - 100% - 100% - 100% - 100% - 100% - 100% - 1.00% - 1.00% - 1.00% - 1.00% - 1.00% - 1.00% - 1.00% - 1.00% - 1.00% - 1.00% - 1.00% - 1.00% - 1.00% - 1.00% - 1.01% - 1.01% - 1.01% - 1.01% - 1.01% - 1.01% - 1.01% - 1.01% - 1.01% - 1.01% - 1.01% - 1.01% - 1.01% - 1.01% - 1.01% - 1.01% - 1.01% - 1.01% - 1.01% - 1.01% - 1.01% - 1.01% - 1.01% - 1.01% - 1.01% - 1.01% - 1.01% - 1.01% - 1.01% - 2.3,5,6,7,8,9,10,11,12,13,14,15,16,17,18,19,20,21,22,23,24,25,26,27,28,29,30,31,32,33,34,35,36,37,38,39,40,41,42,43,44,45,46,47,48,49,50,51,52,53,54,55,56,57,58,59,60,61,62,63,64,65,66,67,68,69,70,71,72,73,74,75,76,77,78,79,80,81,82,83,84,85,86,87,88,89,90,91,92,93,94,95,96,97,98,99,99, + - - - F1 F2 VAR TAP END- Sélectionnez le morceau auquel vous voulez ajouter des données avec le bouton [F1] ou [F2].
- Réglez le niveau de lecture et le niveau d'enregistrement du micro ou de l'instrument.
Réglez le volume de lecture en tournant la commande RHYTHM/PLAY sur la position "à 3 heures". Réglez le volume de votre micro ou instrument avec la commande MIC et les commandes (INPUT) 1 et 2.
Pour lire les données enregistrées au même volume que pendant l'enregistrement, tournez la commande RHYTHM/PLAY à fond à droite.
Remarque: En mode 'paré à enregistrer' ou durant
l'enregistrement (quand le bouton [ ● ] clignote ou est allumé), les trois témoins à gauche de l'écran font office d'affichage du niveau d'enregistrement. Réglez les commandes en question de sorte que le témoin supérieur ne s'illumine que par intermittence.
Remarque: Pour vérifier le niveau d'enregistrement des données audio lues, appuyez sur le bouton [▶/■] et effectuez les réglages pendant l'enregistrement.
Quand vous avez fini les réglages, appuyez sur le bouton [VAR] pour retourner au début du morceau.
Quand vous avez fini votre enregistrement et que le niveau est réglé, appuyez sur le bouton [Undo] pour retourner à l'état avant l'enregistrement.
Remarque: La commande VOLUME n'a pas d'effet sur le niveau d'enregistrement. En présence de Larsen, diminuez le volume général avec cette commande.
- Pour démarrer l'Overdub, appuyez sur le bouton [ ● ] puis sur le bouton [ ▶/■ ].
Astuce: Vous pouvez aussi appuyer sur le bouton [Count Start] si vous voulez un décompte de deux mesures. Dans ce cas, l'Overdub démarre à la fin de la deuxième mesure de décompte. - Jouez sur votre instrument.
- Quand vous avez fini de jouer, appuyez sur le bouton [▶/■ pour arrêter l'enregistrement.
Insérer des données dans un morceau existant via 'Punch-in'
Cette fonction permet d'insérer des données juste à l'endroit voulu d'un morceau en appuyant sur le bouton [ ● ].

text_image
KORG KR-55 Pro MULIN 1 INPUT 2 LUMIN - OUTPUT - 8 AUX IN FAUT IN DC IV =++ TUNION ACROSS RASS TREND VOLUME N/A 1 2 RATTERN / PLAY BEIJING BAS TREND CABB CABB2 CABB3 CABB4 CABB5 CABB6 CABB7 CABB8 CABB9 CABB10 CABB11 CABB12 CABB13 CABB14 CABB15 CABB16 CABB17 CABB18 CABB19 CABB20 CABB21 CABB22 CABB23 CABB24 CABB25 CABB26 CABB27 CABB28 CABB29 CABB30 CABB31 CABB32 CABB33 CABB34 CABB35 CABB36 CABB37 CABB38 CABB39 CABB40 CABB41 CABB42 CABB43 CABB44 CABB45 CABB46 CABB47 CABB48 CABB49 CABB50 CABB51 CABB52 CABB53 CABB54 CABB55 CABB56 CABB57 CABB58 CABB59 CABB60 CABB61 CABB62 CABB63 CABB64 CABB65 CABB66 CABB67 CABB68 CABB69 CABB70 CABB71 CABB72 CABB73 CABB74 CABB75 CABB76 CABB77 CABB78 CABB79 CABB80 CABB81 CABB82 CABB83 CABB84 CABB85 CABB86 CABB87 CABB88 CABB89 CABB90 CABB91 CABB92 CABB93 CABB94 CABB95 CABB96 CABB97 CABB98 CABB99 CABB100 CABB101 CABB102 CABB103 CABB104 CABB105 CABB106 CABB107 CABB108 CABB109 CABB110 CABB111 CABB112 CABB113 CABB114 CABB115 CABB116 CABB117 CABB118 CABB119 CABB120 CABB121 CABB122 CABB123 CABB124 CABB125 CABB126 CABB127 CABB128 CABB129 CABB130 CABB131 CABB132 CABB133 CABB134 CABB135 CABB136 CABB137 CABB138 CABB139 CABB140 CABB141 CABB142 CABB143 CABB144 CABB145 CABB146 CABB147 CABB148 CABB149 CABB150 CABB151 CABB152 CABB153 CABB154 CABB155 CABB156 CABB157 CABB158 CABB159 CABB160 D: 0.2 0.0 Temp. F: F: F: F: F: F: F: F: F: F: F: F: F: F: F: F: F: F: F: F: F: F: F: F: F: F: F: F: F: F: F: F: F: F: F: F: F: F: F: F: F: F: F: F: F: F: F: F: F: F: F: R/NM 3 4 5 6 7 8 9 10 11 12 13 14 15 16 17 18 19 20 21 22 23 24 25 26 27 28 29 30 31 32 33 34 35 36 37 38 39 40 41 42 43 44 45 46 47 48 49 50 51 52 53 54 55 56 57 58 59 60 61 62 63 64 65 66 67 68 69 70 71 72 73 74 75 76 77 78 79 80 81 82 83 84 85 86 87 88 89 90 91 92 93 94 95 96 97 98 99 100 | R/BISHI CHAIN PLANT SD Card Undo Delete Write Set Clear Cancel RECORDER Matronoma PLANT PLANT PLANT PLANT PLANT PLANT PLANT PLANT PLANT PLANT PLANT PLANT PLANT PLANT PLANT PLANT PLANT PLANT PLANT PLANT PLANT PLANT PLANT PLANT PLANT PLANT PLANT PLANT PLANT PLANT PLANT PLANT PLANT PLANT PLANT PLANT PLANT PLANT PLANT PLANT PLANT PLANT PLANT PLANT PLANT PLANT PLANT PLANT PLANT PLANT PLAN TANG FLU ON O R A N MULS SYSTEM Coup Start P/ F/ F/ F/ VAR TAP END- Sélectionnez le morceau où vous voulez insérer des données avec le bouton [F1] ou [F2].
- Déplacez le 'curseur' jusqu'à un point situé un peu avant avec le point d'insertion voulu avec les boutons [◀] et [▶] L'écran affiche la position dans le morceau.
- Appuyez sur le bouton [▶pôlancer la lecture du morceau.
- Appuyez sur le bouton [ ● ] (il s'allume) juste au point où vous voulez effectuer l'insertion.
- Jouez sur votre instrument.
- Quand vous avez fini de jouer, appuyez sur le bouton [ ● ] pour arrêter l'enregistrement d'ajout. L'enregistrement s'arrête et le KR-55 Pro poursuit la lecture du morceau (le bouton s'éteint).
Astuce: Si vous possédez un pédalier VOX VFS5, vous pouvez l'utiliser pour contrôler du pied l'enregistrement d'insertion.
Astuce: La fonction Mark permet de définir des repères ('marker') pour enregistrer une portion délimitée (voyez "Fonction de repère ('Mark')" à la page 20).
Annuler un enregistrement (Undo)
Si vous n'êtes pas content de votre dernier enregistrement, vous pouvez l'annuler en appuyant sur le bouton [Undo].
Remarque: La fonction Undo est uniquement disponible pour l'enregistrement en mode d'enregistreur.
- Une fois un enregistrement terminé, vous pouvez retrouver l'état du morceau avant cet enregistrement (pour encore faire mieux, par exemple) en appuyant sur le bouton [Undo] (le bouton s'allume).
- Une nouvelle pression sur ce bouton rétablit l'enregistrement (le bouton s'éteint alors).
Suppression d'un morceau enregistré
Vous pouvez enregistrer jusqu'à 50 morceaux sur une carte SD. Toutefois, selon la longueur des morceaux enregistrés et la capacité de la carte SD utilisée, il se pourrait que dans certains cas, le nombre maximum de morceaux soit inférieur à 50.
Si l'espace libre de la carte SD est insuffisant, procurez-vous une nouvelle carte SD ou libérez de l'espace en effaçant des données sur la carte.

- Sélectionnez le morceau à effacer avec le bouton [F1] ou [F2].
- Maintenez enfoncé le bouton [Delete] jusqu'à ce qu'il s'allume. Les boutons [Set/OK] et [Clear/Cancel] se mettent à clignoter.
- Appuyez sur le bouton [Set/OK].
Pour annuler la suppression du morceau, appuyez sur le bouton [Clear/Cancel]. La suppression est terminée quand le bouton [Delete] s'éteint.
Lecture de fichiers audio et enregistrement de votre jeu (mode de lecteur)
En mode de lecteur, vous pouvez lire les fichiers audio au format WAV (44,1 kHz/16 bits, stéréo) sur carte la SD.
Vous pouvez aussi enregistrer votre jeu en même temps que le fichier audio en cours de lecture.
Lecture de fichiers audio sur carte SD
Voici comment copier des fichiers audio de votre ordinateur sur une carte SD afin de les lire sur le KR-55 Pro.

text_image
KORG KR-55 Pro 2.5 6 3 1 02:15 5 7 4,8,9 F1 F2 VAR TAP SYSTEM 1 StartPréparatifs des fichiers audio
- Formatez une carte SD sur le KR-55 Pro.
Voyez "Formater (initialiser) une carte SD" à la page 7.
-
Mettez le KR-55 Pro hors tension et retirez la carte SD.
-
Insérez cette carte SD dans votre ordinateur et copiez un fichier audio de votre ordinateur dans une des mémoires [M1]–[M8] du dossier PLAYER de la carte SD.
Voyez "Structure des dossiers et fichiers" à la page 24.
-
Quand vous avez fini de copier les fichiers audio, retirez la carte SD de l'ordinateur et insérez-la dans le KR-55 Pro.
-
Mettez le KR-55 Pro sous tension.
Lecture
-
Effectuez les étapes décrites sous voyez "Préparatifs des fichiers audio" à la page 16.
-
Appuyez sur le bouton [PLAYER] pour passer en mode de lecteur.
Le bouton [SD Card] s'allume.
L'écran affiche le nombre de fichiers audio sauvegardés sur la carte SD. Le premier fichier sur la carte SD est sélectionné. L'écran du KR-55 Pro affiche par ordre alphabétique les noms des fichiers audio contenus dans le dossier PLAYER de la carte SD.
- Sélectionnez avec les boutons [M1]–[M8] le dossier de la carte SD contenant les données de morceau à lire.
Le bouton correspondant au dossier choisi se met à clignoter.
Voyez "Structure des dossiers et fichiers" à la page 24.
- Appuyez sur le bouton [▶pô■ lire le fichier.
A la fin du fichier, le KR-55 Pro lance la lecture du fichier suivant. La lecture s'arrête une fois que tous les fichiers de la carte SD ont été lus.
Astuce: Ceci est dû au fait que par défaut, la fonction de lecture en boucle/automatique est active et que le mode LP:C1 est actif. Vous pouvez changer ce mode (voyez "Fonction de lecture en boucle/d'enchainement automatique" à la page 22).
-
Vous pouvez choisir le fichier audio à écouter avec le bouton [F1] ou [F2].
-
Réglez le volume de lecture du fichier audio avec la commande RHYTHM/PLAY, et réglez le volume général avec la commande VOLUME.
-
Vous pouvez changer la vitesse de lecture du fichier audio courant avec la molette VALUE.
Vous disposez d'une plage de réglage de ±25% de la vitesse de lecture.
La valeur est affichée pendant environ une seconde, puis le numéro du fichier audio apparaît.
- Vous pouvez interrompre momentanément la lecture en cours avec le bouton [▶/■].
Une pression sur le bouton [VAR] arrête la lecture et retourne au début du fichier.
- Appuyez à nouveau sur le bouton [▶pô■ poursuivre la lecture depuis l'endroit où vous vous êtes arrêté.
Astuce: En mode de lecteur, vous pouvez utiliser la fonction de liste de lecture pour lire uniquement les fichiers voulus dans l'ordre souhaité (voyez "Fonction de liste de lecture" à la page 22).
Enregistrer une performance sur instrument en même temps que le fichier audio lu
Vous pouvez enregistrer votre jeu en même temps que le style rythmique joué, mais aussi simultanément votre jeu et le fichier audio lu.

text_image
KORG KR-55 Pro 1 2 3 4 5 6 7 8 9 10 11 12 13 14 15 16 17 18 19 20 21 22 23 24 25 26 27 28 29 30 31 32 33 34 35 36 37 38 39 40 41 42 43 44 45 46 47 48 49 50 51 52 53 54 55 56 57 58 59 60 61 62 63 64 65 66 67 68 69 70 71 72 73 74 75 76 77 78 79 80 81 82 83 84 85 86 87 88 89 90 91 92 93 94 95 96 97 98 99 100Les données enregistrées sont sauvegardées sur la carte SD insérée dans la fente pour carte SD. Pour pouvoir enregistrer, vous devez insérer une carte SD dans la fente pour carte SD avant de mettre le KR-55 Pro sous tension (voyez "Insérer ou extraire une carte SD" à la page 7).
- Branchez un micro ou un instrument sur lequel vous comptez jouer et réglez le volume.
Voyez "Connector et jouer sur des instruments" à la page 10.
-
Choisissez le fichier audio avec les boutons [(1) 8 BEAT1]–[(24) SAMBA] des sélecteurs ou les boutons [F1] et [F2].
-
Activez le mode 'paré à enregistrer' du KR-55 Pro, puis sélectionnez le numéro du morceau à enregistrer.
Appuyez sur le bouton [ ● ] pour activer le mode 'paré à enregistrer' du KR-55 Pro, puis appuyez sur le bouton [F1] ou [F2] pour sélectionner le numéro du morceau à enregistrer.
L'écran affiche le numéro du morceau (d01, d02...). Si aucun morceau n'est enregistré dans une mémoire, son numéro clignote. Si la mémoire contient un morceau enregistré, son numéro est allumé.
Astuce: En présence de mémoires disponibles, le plus petit numéro de morceau libre est automatiquement choisi.
Si vous choisissez une mémoire contenant des données de morceau (le numéro du morceau est dans ce cas allumé à l'écran) et que vous lancez l'enregistrement, les données existantes sont supprimées et remplacées par les données fraîchement enregistrées.
- Réglez le niveau de lecture du fichier audio et le niveau d'enregistrement du micro ou de l'instrument.
Réglez le volume du fichier audio en tournant la commande RHYTHM/PLAY sur la position "à 3 heures". Réglez le volume de votre micro ou instrument avec la commande MIC et les commandes (INPUT) 1 et 2.
Remarque: Réglez le niveau de sorte que le témoin supérieur des trois témoins à gauche de l'écran ne s'illumine que par intermittence.
Remarque: Pour vérifier le niveau d'enregistrement du fichier audio, appuyez sur le bouton [▶/■] afin d'activer le mode d'enregistrement du KR-55 Pro. Quand vous avez terminé le réglage de niveau, appuyez sur le bouton [▶/■] pour arrêter l'instrument, puis sélectionnez à nouveau le morceau en mode 'paré à enregistrer'.
Remarque: La commande VOLUME n'a pas d'effet sur le niveau d'enregistrement. En présence de Larsen, diminuez le volume général avec cette commande.
- Appuyez sur le bouton [ ▶lancer l'enregistrement.
Les témoins au-dessus du bouton [ ● ] et du bouton [ ▶]/■ s'allument.
-
Jouez sur votre instrument pendant la lecture du fichier audio.
-
Quand vous avez fini de jouer, appuyez sur le bouton [▶/■ pour arrêter l'enregistrement.
Vous pouvez écouter le morceau enregistré en mode d'enregistreur (voyez "Lecture des données de jeu enregistrées" à la page 13).
Astuce: Vous pouvez importer des données utilisables en en mode d'enregistreur, puis effectuer un ajout (overdub) sur ces données (voyez "Effectuer un ajout (Overdub) dans un morceau existant" à la page 14).
Remarque: Quand vous enregistrez en mode de lecteur, vous ne pouvez pas démarrer l'enregistrement à partir d'un point spécifique de lecture et vous ne pouvez pas enregistrer un extrait défini. Votre seule option est de démarrer l'enregistrement au début du fichier audio. Pour enregistrer depuis un point de lecture intermédiaire, ou pour enregistrer un extrait défini, vous devez utiliser la fonction d'import.
En mode rythmique
Le mode rythmique vous permet de lire des styles rythmiques, d'enregistrer votre jeu et d'utiliser les fonctions suivantes.
- Une "fonction de mémoire" qui vous permet de mémoriser vos variations rythmiques et tempos de jeu préférés.
- Une "fonction de chaîne" qui permet de construire la structure rythmique d'un morceau entier en définissant le style rythmique de chaque mesure.
- Une "fonction de métronome" qui vous permet d'utiliser le métronome avec le tempo et le type de mesure que vous avez spécifiés.
- Une "fonction de décompte" qui vous permet d'insérer un décompte de deux mesures avant le jeu d'un style rythmique.
Ces fonctions sont décrites en détail plus loin dans la section "Mode rythmique". Pour en savoir plus sur les principes d'utilisation de base de ces fonctions, voyez "Jeu et enregistrement de styles rythmiques (mode Rhythm)" à la page 11.
Mémoriser une variation rythmique et son tempo avec les boutons [M1]–[M8]
Chacun des boutons [M1]–[M8] permet de mémoriser une variation rythmique avec son tempo de lecture.
Mémoriser une variation rythmique et son tempo
- Choisissez la variation rythmique à mémoriser et définissez son tempo.
Remarque: Vous ne pouvez mémoriser ni fill ni finale.
-
Appuyez sur le bouton [▶r arrêter le style rythmique.
-
Maintenez le bouton [Set] enfoncé et appuyez sur un des boutons [M1]-[M8].
L'instrument mémorise la variation du style rythmique et son tempo.
Supprimer une variation rythmique et son tempo d'une mémoire
- Quand le style de rythme est à l'arrêt, maintenez enfoncé le bouton [Clear/Cancel] et appuyez sur le bouton de la mémoire contenant les réglages à supprimer.
Les réglages mémorisés sont supprimés.
Rappel de réglages mémorisés avec les boutons de mémoire
Astuce: A la sortie d'usine, un style rythmique et une valeur de tempo ont été assignés à chaque bouton [M1]–[M8].
- Quand le style rythmique est à l'arrêt, appuyez sur un des boutons [M1]-[M8] pour activer le rythme affecté au bouton en question.
Le style rythmique change et passe à la variation et au tempo mémorisés sous le bouton en question.
Les boutons [M1]–[M8] sous lesquels des réglages de variation et de tempo sont mémorisés s'allument quand le style rythmique est arrêté. Quand vous appuyez sur un bouton pour choisir un rythme, le bouton en question se met à clignoter.
- Appuyez sur le bouton [▶/■]
La variation de style rythmique mémorisée sous ce bouton démarre.
Fonction de chaîne ('Chain')
La fonction de chaîne permet de créer la piste rythmique d'un morceau entier en définissant le style rythmique de chaque mesure.
Créer une chaîne
-
Appuyez sur le bouton [Chain/Playlist] pour activer la fonction de chaîne (le bouton s'allume).
-
Utilisez le bouton [F1] et le bouton [F2] pour sélectionner la banque de chaînes.
Vous pouvez créer jusqu'à 30 banques de chaînes. Au démarrage du KR-55 Pro, la première chaîne (C01) est sélectionnée.
- Maintenez enfoncé le bouton [Chain/Playlist] jusqu'à ce qu'il clignote.
Les trois boutons [Chain/Playlist], [Set/OK] et [Clear/Cancel] clignotent, signalant que vous pouvez à présent définir un style rythmique pour chaque mesure.
Le témoin du bouton [▶/■] clignote pendant le jeu du style rythmique.
L'écran affiche le numéro de la mesure. Les boutons [M1]–[M8] clignotent tour à tour, fournissant un guide visuel pour huit mesures.
Si vous avez choisi une chaîne contenant déjà une assignation de style rythmique, vous entendez alors le rythme en question (défini pour la première mesure ou toute autre mesure dans le morceau).
Si aucun style rythmique n'a encore été défini pour la chaîne, vous entendez alors le style rythmique "8 BEAT1" (défini par défaut pour la mesure initiale).
-
Réglez le tempo.
-
Spécifiez le style rythmique, la variation et le fill à assigner avec les boutons [(1) 8 BEAT1]–[(24) SAMBA], [VAR], [F1] et [F2].
-
Appuyez sur le bouton [Set/OK] pour confirmer le style rythmique choisi.
Le style rythmique est défini pour cette mesure, puis vous passez à la mesure suivante. Les boutons [M1]–[M8] des mesures pour lesquelles vous avez fini l'assignation cessent de clignoter et restent allumé.
-
Choisissez la mesure à laquelle vous voulez assigner un style rythmique avec les boutons [◀◀] et [▶▶]
-
Poursuivez le travail de construction en répétant les étapes 5–7. Une chaîne permet de définir des styles rythmiques pour un maximum de 999 mesures.
-
Pour annuler le style rythmique de la mesure spécifiée, appuyez sur le bouton [Clear/Cancel].
Le bouton [M1]–[M8] correspondant à cette mesure s'éteint.
-
Pour insérer une mesure avant la mesure spécifiée, maintenez le bouton [Set/OK] enfoncé pendant environ une seconde. Pour effacer la mesure spécifiée, maintenez le bouton [Clear/Cancel] enfoncé pendant environ une seconde.
-
Pour définir la position de la dernière mesure, appuyez sur le bouton [▶] d'sorte que le témoin s'éteigne, puis appuyez sur le bouton [Set/OK]. Pour terminer le morceau avec un motif de finale, appuyez sur le bouton [TAP/END] de sorte que le témoin s'allume, puis appuyez sur le bouton [Set/OK].
-
Quand vous avez défini tous les styles rythmiques, appuyez sur le bouton [Chain/Playlist] (il s'allume).
Tous les réglages ainsi que le tempo sont alors confirmés.
- Pour écouter votre chaîne toute fraîche depuis le début, appuyez sur le bouton [VAR] pour retourner à la première mesure, puis appuyez sur le bouton [▶/■] pour lancer la chaîne.
Jeu de votre chaîne
- Vérifiez que le bouton [Chain/Playlist] est allumé et appuyez sur le bouton [▶/■].
La lecture des styles rythmiques de votre chaîne commence depuis la première mesure. A la fin de la dernière mesure, la lecture s'arrête.
Vous pouvez interrompre momentanément la lecture en cours avec le bouton [▶/■]. Appuyez à nouveau sur le bouton pour poursuivre la lecture depuis l'endroit où vous vous êtes arrêté.
Une pression sur le bouton [VAR] arrête la lecture et retourne à la première mesure.
Supprimer tous les styles rythmiques assignés dans la chaîne entière
- Sélectionnez avec les boutons [F1] et [F2] la chaîne dont vous voulez supprimer tous les styles rythmiques.
Le numéro de la chaîne (C**) sélectionnée s'affiche à l'écran.
-
Maintenez enfoncé le bouton [Delete] jusqu'à ce qu'il s'allume. Les boutons [Set/OK] et [Clear/Cancel] se mettent à clignoter. Le numéro de la chaîne clignote à l'écran.
-
Appuyez sur le bouton [Set/OK].
La suppression des styles est terminée quand le bouton [Delete] s'éteint.
La chaîne a retrouvé ses réglages par défaut (le style rythmique 8 BEAT1 y est défini).
Fonction de métronome
Cette fonction vous permet d'utiliser le métronome avec le tempo et le type de mesure que vous avez spécifiés.
-
Appuyez sur le bouton [Metronome] pour activer le métronome (le bouton s'allume).
-
Sélectionnez le son voulu pour le métronome avec les boutons [(1) 8 BEAT1]–[(24) SAMBA].
-
Réglez le tempo du métronome avec la molette VALUE.
Astuce: Vous pouvez aussi régler le tempo du métronome en 'tapant' le bouton [TAP/END] au tempo voulu.
- La commande RHYTHM/PLAY permet de régler le volume du métronome.
Remarque: Le son du métronome n'est pas enregistré, même si le métronome est actif et audible pendant l'enregistrement.
Remarque: En mode rythmique, vous pouvez choisir si l'instrument joue son métronome ou un style rythmique. Quand le métronome est actif, vous pouvez le couper en appuyant sur le bouton [▶/■]. L'instrument active alors le jeu de style rythmique.
En mode d'enregistreur, seul le métronome est disponible. En mode de lecteur, aucun des deux n'est disponible.
A propos du type de mesure du métronome
Le métronome utilise normalement le type de mesure 4/4 (quand vous maintenez enfoncé le bouton [Metronome], l'écran affiche "04:04"). Pour changer le type de mesure du métronome, maintenez le bouton [Metronome] enfoncé et tournez la molette VALUE. Vous pouvez choisir parmi les types suivants de mesure: 3/4, 4/4, 5/4, 7/4, 5/8, 6/8, 7/8, 9/8 et 12/8.
Fonction de décompte ('Count Start')
La fonction de décompte insère un décompte de deux mesures avant la lecture du style rythmique.
Le type de mesure du décompte est identique à celui du style rythmique.
Travail avec la fonction de décompte
- Appuyez sur le bouton [Count Start] pour activer la fonction de décompte (ce bouton clignote).
- Appuyez sur le bouton [▶/■] L'instrument joue un décompte de deux mesures puis lance le style rythmique. (le bouton [Count Start] s'éteint).
Impact du réglage du tempo/de la vitesse de lecture sur le timbre
En mode rythmique, le KR-55 Pro joue des données audio conçus spécialement pour les styles rythmiques.
L'instrument possède plusieurs données, de sorte que chaque style produise une performance naturelle et fluide dans sa plage de tempo.
Quand vous réglez le tempo, il se pourrait que, selon l'importance du changement de tempo, le KR-55 Pro change de donnée audio et lise un autre donnée. Selon le tempo envisagé, cela pourrait changer la nature du son.
Mode d'enregistreur
Le KR-55 Pro permet d'enregistrer différentes sources d'entrée, comme par exemple le signal d'un instrument branché à la prise INPUT 1 ou INPUT 2, d'un micro branché à la prise MIC IN ou d'un instrument électronique branché à la prise AUX IN.
Les données enregistrées sont sauvegardées sous forme de fichiers WAV stéréo de 44,1 kHz/16 bits sur la carte SD insérée dans la fente pour carte SD.
Vous pouvez enregistrer jusqu'à 50 morceaux sur la carte SD insérée dans la fente pour carte SD. Toutefois, selon la longueur des morceaux enregistrés et la capacité de la carte SD utilisée, il se pourrait que dans certains cas, le nombre maximum de morceaux soit inférieur à 50.
Pour en savoir plus sur l'utilisation de base de ces fonctions, voyez "Mémoriser une variation rythmique et son tempo avec les boutons [M1]-[M8]" à la page 18.
Si l'écran affiche un message d'erreur tel que "Crd - bSy" (opération en cours sur la carte) ou "Err-Crd-***" (erreur *** de carte) pendant la lecture ou l'enregistrement, formatez la carte en question (voyez "Formater (initialiser) une carte SD" à la page 7).
Le KR-55 Pro possède des fonctions pratiques pour l'enregistrement. Voyons ces fonctions:
- Une "fonction de métronome" qui vous permet d'utiliser le métronome avec le tempo et le type de mesure que vous avez spécifiés.
- Une "fonction de décompte" qui insère un décompte de deux mesures quand vous démarrez un enregistrement.
- Une "fonction de repère" qui vous permet de 'marquer' tout emplacement voulu dans un morceau, et de rappeler instantanément ce point pour effectuer un enregistrement.
- Une "fonction de lecture/enregistrement en boucle" qui vous permet de répéter la lecture ou l'enregistrement d'un extrait défini (délimité par deux repères).
Ces fonctions sont détaillées dans la section "Mode d'enregistreur".
Fonction de métronome
Cette fonction vous permet d'utiliser le métronome pendant l'enregistrement avec le tempo et le type de mesure que vous avez spécifiés.
En mode d'enregistreur, le volume du métronome est fixe et ne peut pas être modifié avec la commande RHYTHM/PLAY.
En outre, en mode d'enregistreur, seul le métronome est disponible. Les autres opérations sont identiques à celles du mode rythmique.
Astuce: Le son du métronome n'est pas enregistré quand le métronome est actif et audible pendant l'enregistrement.
Voyez "Fonction de métronome" à la page 19.
Fonction de décompte ('Count Start')
La fonction de décompte insère un décompte de deux mesures avant le début d'un enregistrement.
- Appuyez sur le bouton [Count Start] pour activer la fonction de décompte (ce bouton s'allume).
- Appuyez sur le bouton [ ● ] puis sur le bouton [ ▶/■ Le KR-55 Pro joue un décompte de deux mesures puis démarre l'enregistrement.
Remarque: Si vous souhaitez un décompte avant d'effectuer un ajout (Overdub), veillez à ce que le tempo soit identique à celui de votre morceau.
À propos du type de mesure de la fonction de décompte
Le type de mesure du décompte est utilisé en commun par le métronome. Pour changer le type de mesure de la fonction de décompte, maintenez le bouton [Metronome] enfoncé et tournez la molette VALUE.
Fonction de repère ('Mark')
Cette fonction permet de définir un repère à tout emplacement voulu d'un morceau. Les repères sont très pratiques car ils permettent de passer instantanément au point voulu, comme pendant l'enregistrement. Vous pouvez définir jusqu'à huit repères dans un morceau, et vous déplacer au point voulu d'une simple pression sur un bouton.
Définir un repère
- Sélectionnez un morceau avec les boutons [F1]/[F2].
- Appuyez sur le bouton [▶ pour lire le morceau.
- Quand la lecture atteint l'emplacement voulu, créez un repère en maintenant enfoncé le bouton [Set/OK] et en appuyant sur un des boutons [M1]-[M8] (le bouton enfoncé s'allume).
- Appuyez sur le bouton [▶pôr arrêter la lecture du morceau.
- Appuyez sur le bouton [M1]–[M8] où vous avez mémorisé un repère.
Le KR-55 Pro passe instantanément à l'emplacement du morceau où le repère a été défini.
Supprimer un repère
- Maintenez enfoncé le bouton [Clear/Cancel] et appuyez sur le bouton ([M1]-[M8]) de la mémoire contenant le repère à effacer. Le repère mémorisé sous le bouton enfoncé est alors supprimé (le bouton s'éteint).
Fonction d'enregistrement/de lecture en boucle ('Loop')
Vous pouvez lire ou enregistrer en boucle l'extrait situé entre les repères définis.
Lire ou enregistrer en boucle un extrait
Supposons par exemple que vous souhaitiez enregistrer en boucle un extrait situé entre deux repères assignés aux boutons [M1] et [M2].
- Appuyez sur le bouton [Loop/Auto] pour activer la fonction de boucle (ce bouton s'allume).
- Appuyez sur le bouton [M1] pour définir le point de départ de la boucle.
Ce bouton clignote et la boucle est définie comme l'extrait situé entre les repères assignés aux boutons [M1] et [M2].
Remarque: La longueur minimum de l'extrait mis en boucle est de deux secondes.
En d'autres termes, la boucle est l'extrait compris entre le point de départ de boucle et le repère défini pour le bouton suivant à droite du bouton enfoncé. Exemple: si vous définissez le point de départ de boucle avec le bouton [M1], la boucle correspond à l'extrait [M1]–[M2]. Si [M2] identifie le point de départ de boucle, la boucle correspond au passage [M2]–[M3]. Si aucun repère n'est défini pour le bouton suivant, les réglages de boucle sont ignorés. Vous ne pouvez pas définir de point de départ de boucle avec le bouton [M8].
- Appuyez sur le bouton [▶./■]
Le KR-55 Pro lit en boucle l'extrait délimité par les repères des boutons [M1] et [M2].
- Appuyez sur le bouton [ ● ].
Une fois que la lecture arrive en fin de boucle, l'enregistrement démarre depuis le point de départ de boucle.
- Jouez la partie que vous voulez enregistrer.
L'enregistrement s'arrête quand vous arrivez en fin de boucle, et le KR-55 Pro poursuit la lecture en boucle. Pour continuer à ajouter des données, appuyez à nouveau sur le bouton [ ● ] et répétez la procédure.
- Appuyez sur le bouton [ ]p■r arrêter l'enregistrement en boucle.
Exporter des données de morceau.
Les données des morceaux que vous enregistrez peuvent être exportées (sauvegardées) sous forme d'un fichier audio sur la carte SD.
Le fichier audio exporté peut être lu en mode de lecteur du KR-55 Pro ou avec un lecteur audio disponible dans le commerce, ou encore chargé dans la station de production musicale de votre ordinateur.
Voici le format du fichier audio exporté.
- Format de fichier: WAV linéaire PCM non compressé
- Résolution: 16 bits
• Fréquence d'échantillonnage: 44,1 kHz - Nom de fichier: SONGnnnn.WAV (les quatre "nnnn" symbolisent un numéro croissant ajouté automatiquement)
Exporter un morceau
- Sélectionnez le morceau à importer avec le bouton [F1] ou [F2].
- Appuyez sur le bouton [Write].
- Appuyez sur le bouton [Set/OK] pour exporter le morceau.
Pour annuler l'opération, appuyez sur le bouton [Clear/Cancel].
Les données exportées sont sauvegardées dans le dossier M1 de la carte SD.
Quand les données sont exportées, le bouton [Write] s'éteint et le numéro à 4 chiffres du fichier exporté s'affiche à l'écran.
Le temps nécessaire pour exporter les données varie selon l'espace disponible sur la carte SD et la durée du morceau visé.
Importer un fichier audio
Vous pouvez importer un fichier audio contenu sur carte SD sous forme de données de morceau utilisables en mode d'enregistreur. Vous pouvez lire les données importées ou faire un ajout en mode d'enregistreur.
Un fichier audio lisible en mode de lecteur ne peut pas être joué directement en mode d'enregistreur. Le fichier doit être importé sous forme de données de morceau lisibles en mode d'enregistreur.
Vous pouvez importer des fichiers audio du format suivant:
- Format de fichier: WAV linéaire PCM non compressé
- Résolution: 16 bits
- Fréquence d'échantillonnage: Fichiers stéréo de 44,1 kHz
La procédure d'importation
- En mode de lecteur, sélectionnez le fichier audio à importer avec les boutons [F1] ou [F2].
- Appuyez sur le bouton [Write].
- Utilisez le bouton [F1] ou [F2] pour sélectionner le numéro du morceau de destination pour les données importées.
L'écran affiche le numéro du morceau (d01, d02...). Si aucun morceau n'est enregistré dans une mémoire, son numéro clignote. Si la mémoire contient un morceau enregistré, son numéro est allumé.
Astuce: En présence de mémoires disponibles, le plus petit numéro de morceau libre est automatiquement choisi.
Si vous choisissez une mémoire contenant des données de morceau (le numéro du morceau est dans ce cas allumé à l'écran) et que vous lancez l'importation, les données existantes sont supprimées et remplacées par les données fraîchement importées..
4. Appuyez sur le bouton [Set/OK] pour importer le morceau.
Pour annuler l'opération, appuyez sur le bouton [Clear/Cancel].
Les données de morceau importées sont placées dans le numéro de morceau spécifié.
Les données importées sont sauvegardées dans le dossier D*** de la carte SD.
Mode de lecteur
En mode de lecteur, vous pouvez lire les fichiers audio sur une carte SD.
Vous pouvez lire les fichiers audio du format suivant:
- WAV (44,1 kHz / 16 bits)
Astuce: Quand un fichier audio est lu en mode de lecteur, vous pouvez jouer sur un instrument connecté au KR-55 Pro ou enregistrer votre jeu (voyez "Enregistrer une performance sur instrument en même temps que le fichier audio lu" à la page 17).
Un morceau enregistré en mode d'enregistreur ne peut pas être directement lu en mode de lecteur. Vous devez d'abord les convertir en fichier audio pour pouvoir les lire en mode de lecteur.
Le mode de lecteur comporte les fonctions suivantes utiles pour la lecture de fichiers audio.
- Une "fonction de liste de lecture" qui vous permet d'organiser vos fichiers audio dans une liste de lecture et de les lire dans l'ordre défini.
- Une "Fonction de lecture en boucle/d'enchainement automatique" qui vous permet de jouer les morceaux voulus en boucle ou de les enchaîner.
Ces fonctions sont décrites plus en détail dans la section "Mode de lecteur". Pour en savoir plus sur l'utilisation de base de ces fonctions, voyez "Lecture de fichiers audio et enregistrement de votre jeu (mode de lecteur)" à la page 16.
Fonction de liste de lecture
Vous disposez de dix banques de listes de lecture. Chaque banque permet de définir jusqu'à 24 fichiers audio et de les jouer dans l'ordre voulu.
Créer une liste de lecture
- Appuyez sur le bouton [Chain/Playlist] pour activer la fonction de liste de lecture (ce bouton s'allume).
- Maintenez enfoncé le bouton [VAR] et utilisez les boutons [F1] et [F2] pour choisir la liste de lecture à créer.
- Maintenez enfoncé le bouton [Chain/Playlist] jusqu'à ce qu'il clignote. Les boutons [Chain/Playlist] et [Set/OK] clignotent; le KR-55 Pro attend que vous choisissiez un fichier audio.
- Sélectionnez une banque de fichiers avec les boutons [M1]–[M8], puis sélectionnez le fichier audio à créer avec les boutons [F1] et [F2]. L'écran affiche le numéro du fichier audio.
Astuce: Les boutons [M1]–[M8] permettent de choisir les dossiers M1–M8 sur la carte SD (voyez "Structure des dossiers et fichiers" à la page 24).
-
Appuyez sur un des boutons [(1) 8 BEAT1]–[(24) SAMBA] pour assigner le fichier audio courant à l'emplacement en question de la liste de lecture.
Les boutons [(1) 8 BEAT1]–[(24) SAMBA] correspondent aux emplacements qui permettent de mémoriser jusqu'à 24 morceaux. Créez une liste de lecture en assignant un fichier audio à chaque bouton. Le fichier assigné au bouton [(1) 8 BEAT1] est le premier morceau, le fichier assigné au bouton [(2) 8BEAT2] le deuxième morceau, etc. Chaque bouton s'allume quand vous lui assignez un fichier audio. -
Répétez les étapes 4 et 5 pour assigner les fichiers audio à la liste de lecture.
Astuce: Pour annuler l'ajout d'un morceau à la liste, appuyez sur le bouton [Clear/Cancel] puis sur le bouton [(1) 8 BEAT1]–[(24) SAMBA] du fichier audio que vous voulez supprimer de la liste. L'assignation du fichier est annulée et le bouton s'éteint.
- Quand vous avez ajouté tous les fichier audio voulus à la liste de lecture, appuyez sur le bouton [Chain/Playlist] (il s'allume). Le bouton [Set/OK] et le bouton [Clear/Cancel] s'éteignent.
Jouer une liste de lecture
- Appuyez sur le bouton [Chain/Playlist] pour activer la fonction de liste de lecture (le bouton s'allume).
- Maintenez enfoncé le bouton [VAR] et utilisez les boutons [F1] et [F2] pour choisir la liste de lecture (P01, P02...) à lire.
- Sélectionnez le fichier audio voulu avec les boutons [(1) 8 BEAT1]-[(24) SAMBA].
- Appuyez sur le bouton [▶ pour lancer la lecture.
- Les fichiers audio sont lus dans l'ordre où vous les avez assignés à la liste de lecture.
Fonction de lecture en boucle/d'enchainement automatique
En mode de lecteur, vous pouvez jouer les fichiers en boucle ou l'un à la suite de l'autre.
-
Appuyez sur le bouton [Loop/Auto] pour activer la fonction de boucle/d'enchainement de lecture (ce bouton s'allume).
-
Appuyez sur le bouton [▶/■]
La lecture démarre.
A la fin du fichier audio, la lecture du fichier audio suivant démarre automatiquement. Les fichiers sont joués l'un à la suite de l'autre jusqu'à la fin du dernier fichier.
Il s'agit du mode de fonctionnement "LP:C1". Si vous le souhaitez, vous pouvez changer de mode de chaîne. Effectuez ce réglage à l'étape 3.
Si cette fonction est désactivée, à la fin de la lecture ou de l'enregistrement d'un fichier, le lecteur retourne au début du fichier en question.
- Pour changer de mode, maintenez enfoncé le bouton [Loop/Auto] et tournez la molette VALUE.
LP:1L: Un fichier est lu en boucle.
LP:AL: Tous les fichiers sont lus en boucle.
LP:C1: Les fichiers sont lus l'un à la suite de l'autre (pas de boucle, c'est le mode normal).
LP:C2: Enchaîne les fichiers (sans boucle et en faisant une pause entre les fichiers). Vous pouvez aussi utiliser le bouton de lecture du panneau avant ou un commutateur au pied relié au KR-55 Pro pour déclencher la lecture du fichier suivant ad lib.
Régler le tempo/la vitesse de lecture
Vous pouvez modifier la vitesse de lecture d'un fichier audio sur une plage de -25%–+25% sans changer la hauteur.
- Réglez la vitesse de lecture du fichier audio avec la molette VALUE.
- Si vous appuyez sur le bouton [TAP], la vitesse de lecture retrouve sa valeur originale.
Remarque: Notez que selon l'importance de ce réglage de vitesse de lecture, il se pourrait que la qualité sonore du fichier audio soit affectée.
Remarque: Vous ne pouvez pas changer la vitesse de lecture des données de morceau en mode d'enregistreur.
Mode système
Le mode système permet de régler les paramètres décrits ci-après. Ces paramètres agissent sur le fonctionnement global du KR-55 Pro.
Régler les paramètres système
- Appuyez sur le bouton [SYSTEM] pour activer le mode système (le bouton s'allume).
- Choisissez un paramètre système avec les boutons [M1]–[M4]. Le bouton enfoncé se met à clignoter. L'écran affiche une abréviation de la fonction choisie pendant environ une seconde, puis affiche la valeur courante du paramètre.
- Réglez la valeur du paramètre avec la molette VALUE.
- Appuyez sur un autre bouton de mode pour quitter le mode système.
Réglages disponibles
La procédure de réglage de ces paramètres est détaillée dans la section "Régler les paramètres système" ci-dessus.
[M1] Type de batterie ("batt")
Ce paramètre identifie le type de piles en place dans l'instrument.
aL: Piles alcalines
nH: Piles au nickel-hydrure métallique
Si vous choisissez un type de piles différent des piles en place dans l'instrument, l'autonomie résiduelle affichée à l'écran ne sera pas correcte.
Remarque: Quand le KR-55 Pro est utilisé sur piles, vous pouvez appuyer sur [M1] pour activer cette fonction. Les boutons [(1) 8 BEAT1]-[(16) BLUES2] servent alors d'indicateurs de charge des piles. Moins il reste d'énergie, moins il y a de boutons allumés.
[M2] Utilisation de l'effet ("EFF")
Ce paramètre définit la ou les prises d'entrée dont le signal est traité par l'effet de réverbération.
AL: Prises MIC IN, INPUT 1 et INPUT 2.
M: Prise MIC IN
[M3] Mise hors tension automatique ("APOF")
Ce paramètre définit le délai avant la mise hors tension automatique
oF: fonction de mise hors tension automatique désactivée
10: 10 minutes
30: 30 minutes
1h: 1 heure
4h: 4 heures
Formatage de la carte SD [M8] "Init"
Formate une carte SD. ("Formatage de la carte SD" à la page 7).
Fonction de test de carte SD ("tESt")
Cette fonction teste une carte de mémoire en lisant et en écrivant automatiquement des données sur la carte pour déterminer si la carte est compatible avec l'enregistreur. Une carte n'est pas compatible si la vitesse d'écriture est trop lente pour l'enregistrement. Le recours à ce test permet de vérifier les conditions d'enregistrement optimales pour la carte. Cela vous permet aussi d'utiliser la carte plus efficacement.
Les résultats de ce test ne garantissent NULLEMENT le fonctionnement d'une carte. Même si l'enregistreur a décrété qu'une carte pouvait être utilisée pour l'enregistrement sur base des résultats du test, la carte peut néanmoins générer des erreurs (comme "Crd - bSy" (Card-Busy)) selon les conditions d'enregistrement ou l'environnement.
Remarque: Vérifiez que la carte SD est insérée.
-
Appuyez sur le bouton [SYSTEM] pour activer le mode système (le bouton s'allume).
-
Appuyez sur le bouton [SD Card] (il s'allume). Le message "tEST" (test carte) clignote à l'écran et les boutons [SD Card] et [Clear/Cancel] se mettent à clignoter.
Remarque: Dans les autres modes, une pression sur le bouton [SD Card] affiche à l'écran la durée d'enregistrement disponible.
- Pour tester la carte, maintenez le bouton [Set/OK] enfoncé pendant environ une seconde. Pendant le test, le message "tESt" clignote à l'écran et le bouton [Clear/Cancel] se mettent à clignoter.
Remarque: Selon le type de carte SD, le test prend plus ou moins de temps.
Pour annuler le test de la carte, appuyez sur le bouton [Clear/Cancel].
Quand le test est fini, l'écran affiche le résultat.
Good(Bien): Vous pouvez enregistrer sur cette carte SD.
bad(Mal): La fonction d'enregistrement est limitée pour cette carte SD.
| MODE Good bad | Limites | |
| RHYTHM | ○ | × Impossible d'enregistrer |
| RECORDER | ○ | △ Enregistrement possible mais ajout (overdub) impossible. |
| PLAYER | ○ | △ Enregistrement impossible - uniquement lecture de fichiers WAV. |
Remarque: Pour tester à nouveau la carte, recommencez la procédure depuis l'étape 2.
Appendice
Liste des sonorités
Métronome
| No. | Nom No. Nom | ||
| 1 | Métronome (bois) 9 Charley fermé 1 | ||
| 2 | Métronome (électronique) 10 Charley fermé 2 | ||
| 3 | Claves analogiques 11 Charley analogique 1 | ||
| 4 | Woodblock analogique 1 12 Charley analogique 2 | ||
| 5 | Woodblock analogique 2 13 Maracas | ||
| 6 | Bongo analogique 14 Tambourin | ||
| 7 | Cloche 15 Grosse caisse | ||
| 8 | Sidestick 16 Claquement de mains |
Morceaux de démonstration
- Morceau de démonstration 1: Présentation des rythmes et fonctions
- Morceau de démonstration 2: Démo (pop); titre: "Open Heart"
- Morceau de démonstration 3: Démo (blues); titre: "Day In and Day Out"
Structure des données du KR-55 Pro
Voici la structure d'une carte SD formatée et enregistrée sur le KR-55 Pro.
Structure des dossiers et fichiers
Mode d'enregistreur

flowchart
graph TD
A["RECORDER"] --> B["D001"]
A --> C["D002"]
A --> D["..."]
A --> E["D050"]
style A fill:#f9f,stroke:#333
note right of A: Maximum 50 morceaux
1. RECORDER (dossier de données)
Ce dossier contient les données système du KR-55 Pro ainsi que les données enregistrées.
50 dossiers de morceau sont créés dans ce dossier.
Remarque: Selon la capacité de la carte de mémoire que vous utilisez, il peut se révéler impossible de créer 50 fichiers de morceau.
[RECORDER]: Dossier des données de morceaux pour le mode d'enregistreur
Pour effectuer une copie de sauvegarde des données du mode d'enregistreur, ou pour utiliser les données du mode d'enregistreur d'une autre carte SD, copiez le contenu du dossier [RECORDER] avec votre ordinateur.
2. D001 (dossier de morceau)
Ce dossier est créé pour chaque nouveau morceau enregistré sur le KR-55 Pro. Les nouveaux morceaux sont créés l'un après l'autre, depuis le morceau D001. Les trois chiffres derrière la lettre "D" constituent le numéro de morceau.
Astuce: Les morceaux exportés en mode d'enregistreur sont sauvegardés dans le dossier [PLAYER].
[D001] -[D050]: Dossiers des données de morceaux
Chaque dossier de données de morceaux contient les fichiers des données enregistrées ainsi que des fichiers de gestion.
Mode de lecteur

flowchart
graph TD
A["PLAYER"] --> B["M1"]
A --> C["M8"]
B --> D["1: ****.WAV"]
B --> E["..."]
B --> F["99: ****.WAV"]
C --> G["1: ****.WAV"]
C --> H["..."]
C --> I["99: ****.WAV"]
3. Dossier PLAYER
Il sert pour la lecture de fichiers audio externes (WAV).
[PLAYER]: Dossiers des données audio pour le mode de lecteur
4. Fichiers WAV externes
Lisez ces fichiers externes sur le KR-55 Pro ou ajoutez-y des données. Vous pouvez lire ou ajouter des données à des fichiers ayant les formats suivants:
Formats de fichier: WAV
Résolution de fichier: 16 bits
Fréquence d'échantillonnage: 44,1kHz
Canal: Stéréo
[M1] -[M8]: Répertoire 1 pour le mode de lecteur
****.WAV: Fichiers audio
Chaque-répertoire peut contenir jusqu'à 99 fichiers. Si vous possédez des fichiers audio et que vous voulez les lire ou y ajouter des données avec le KR-55 Pro, copiez-les de votre ordinateur dans ces dossiers.
Quand vous enregistrez un morceau en mode d'enregistreur et utilisez la fonction d'exportation pour convertir votre enregistrement en fichier audio, le fichier en question est ajouté au dossier M1. "SONG***.WAV" est le nom de fichier assigné par défaut. "****" indique le numéro ajouté automatiquement au nom de fichier.
Utiliser un pédalier
Si vous branchez un pédalier VOX VFS5 (disponible dans le commerce) à la prise FOOT SW en face arrière, vous pouvez l'utiliser pour changer de programme ou travailler avec l'enregistreur.

text_image
BANK CH1 CH2 CH3 CH4 VFS5 VOXLe tableau ci-dessous indique les fonctions assignées par mode à chaque commutateur du pédalier.
| Commutateur | Mode rythmique | Mode d'enregistreur | Mode de lecteur |
| BANK Lectu | re/arrêt | Lecture/pause | Lecture/pause |
| CH1 | Choix du fill 1 (quand la fonction de chaîne est active, sélection de banque-) | Enregistrement | Choix des morceaux - |
| CH2 | Choix du fill 2 (quand la fonction de chaîne est active, sélection de banque-) | Arrêt | Choix des morceaux + |
| CH3 | Change de variation | Change de position dans le morceau - | Change de position dans le fichier audio - |
| Activation/coupure de la réverbération (à l'arrêt, maintenez enfoncé pendant environ 1 seconde) | Activation/coupure de la réverbération (à l'arrêt, maintenez enfoncé pendant environ 1 seconde) | ||
| CH4 | Choix de la finale (quand la fonction rythmique est active) | Change de position dans le morceau + | Change de position dans le fichier audio + |
| Fonction Tap tempo (Quand la fonction rythmique est à l'arrêt ou que le métronome est activé) |
Astuce: Si la réverbération est activée, le réglage de la commande REVERB est affecté.
Astuce: Quand vous réglez le tempo avec la commande CH4 en mode rythmique, chaque pression sur le commutateur joue le son affecté au métronome.
Mettez le KR-55 Pro hors tension avant de brancher et de débrancher le pédalier à (de) la prise FOOT SW. Brancher ou débrancher le pédalier quand l'instrument est sous tension risque de causer des dysfonctionnements ou des dommages.
Enfoncez toujours un seul commutateur à la fois. Enfoncer simultanément plusieurs commutateurs risque de causer des dysfonctionnements.
Remarque: Le témoin du commutateur BANK n'est pas utilisé avec le KR-55 Pro.
Dépannage
1. Impossible de mettre le KR-55 Pro sous tension
- La fiche de l'adaptateur secteur est-elle branchée à la prise DC 9V du panneau arrière?
- La fiche secteur de l'adaptateur secteur est-elle branchée à une prise de courant?
- La prise de courant utilisée fonctionne-t-elle correctement?
- Si vous alimentez le KR-55 Pro sur piles, les piles utilisées sont-elles correctement en place?
2. Les prises OUTPUT L/MONO, R et ne produisent pas de son (ou un son de faible niveau).
• Le volume de la guitare est-il au minimum?
- Le câble de la guitare est-il correctement branché?
- Le câble de la guitare est-il endommagé?
- La commande VOLUME du panneau supérieur n'est-elle pas sur un niveau trop bas?
- Vérifiez les réglages des commandes (INPUT) 1, (INPUT) 2 et MIC TRIM.
3. Le dispositif branché à la prise AUX IN est inaudible
• Le dispositif externe est-il correctement branché?
• Le volume du dispositif externe est-il au minimum?
4. Impossible de jouer les styles rythmiques
- Un mode autre que le mode rythmique est-il sélectionné?
- La commande RHYTHM/PLAY du panneau supérieur n'est-elle pas sur un niveau trop bas?
• Le métronome est-il activé?
Quand le métronome est activé (son témoin est allumé), les styles rythmiques ne jouent pas. Le son du métronome est audible.
5. Impossible de changer de style de rythme ou de mémoire
- La fonction de chaîne n'est-elle pas active (bouton [CHAIN] allumé)?
- Vous ne pouvez pas changer de mémoire pendant la lecture.
6. Impossible d'enregistrer
- Le réglage du niveau d'entrée est-il correct?
- La carte SD insérée est-elle utilisable pour enregistrer sur le KR-55 Pro? (voyez "A propos des cartes SD" à la page 7)
- La carte SD utilisée offre-t-elle assez d'espace libre?
- Avez-vous inséré une carte SD dans le KR-55 Pro? (voyez "Fonction de test de carte SD ("tESt")" à la page 23.)
7. Le son de l'enregistrement est anormal ou interrompu.
• Le réglage du niveau d'entrée est-il correct?
- Pourrait le KR-55 Pro ont été soumis à un impact pendant l'enregistrement?
- Le réglage de l'effet de réverbération est-il correct?
8. Impossible de lire des morceaux ou des fichiers audio; la lecture est inaudible
- Avez-vous inséré une carte SD dans le KR-55 Pro? (voyez "A propos des cartes SD" à la page 7)
• La carte SD contient-elle des données? - La commande RHYTHM/PLAY du panneau supérieur n'est-elle pas sur un niveau trop bas?
- Le KR-55 Pro est peut-être dans un mode autre que le mode de lecteur ou d'enregistreur.
9. Impossible d'activer le mode d'enregistreur et le mode de lecteur
- Avez-vous inséré une carte SD dans le KR-55 Pro?
- Si vous ne pouvez pas activer le mode de lecteur, vérifiez que la carte SD contient un fichier audio compatible (fichier WAV stéréo 44,1 kHz 16 bits)?
Messages d'erreur
L'écran affiche les messages suivants quand une erreur se produit au sein du système ou sur la carte SD.
Crd - bSy (opération en cours sur la carte)
L'accès à la carte SD est trop lent pour les opérations de lecture et d'enregistrement. Utilisez une carte SD d'un autre type.
- Quand vous mémorisez et effacez des morceaux à maintes reprises sur une carte SD, il arrive que les morceaux soient dispersés sur la carte, ce qui ralentit l'accès. Si vous rencontrez ce problème, effectuez une copie de sauvegarde de toutes vos données importantes avec votre ordinateur puis formatez la carte SD.
Err - Crd - \*\*\* (erreur sur la carte)
Une erreur s'est produite pendant l'accès à la carte SD. Reliez la carte SD à votre ordinateur et vérifiez la carte. Si un message d'erreur s'affiche, formatez la carte SD.
Err/Un-/SUP/Frt (format de fichier incompatible)
Les données que vous tentez d'utiliser sont d'un format que le KR-55 Pro ne prend pas en charge.
Crd - FUL (carte remplie)
La capacité résiduelle de la carte SD est insuffisante. Effacez des morceaux que vous ne souhaitez pas garder.
Err - FSY - \*\*\* (erreur de système de fichier)
Une erreur s'est produite pendant le traitement de la carte SD. Si vous rencontrez fréquemment ce problème (même après avoir changé de carte SD), contactez un distributeur Korg dans votre région.
no-Crd (pas de carte)
Vous n'avez pas inséré de carte SD dans le KR-55 Pro.
no-dat (Pas de données)
La carte SD ne contient pas de fichier audio jouable.
Un - Frt (carte non formatée)
La carte SD n'a pas été formatée.
Autres messages
Le KR-55 Pro pourrait afficher d'autres messages en cas de dysfonctionnement ou de problème interne. Contactez un distributeur Korg dans votre région.
Rétablir les réglages d'usine
Mettez l'appareil hors tension, puis, tout en maintenant enfoncé les boutons [SYSTEM] et [Delete], remettez-le sous tension.
Fiche technique
Fonction de boîte à rythme
Styles rythmiques: 24 styles, avec deux variations pour chaque style, chaque variation comportant trois motifs (principal, fill 1 et fill 2).
Tempo: 48–240 bpm
Fonction de chaîne ('Chain'): 30 banques (pouvant contenir chacune jusqu'à 999 mesures)
Fonction d'enregistreur
Format d'enregistrement: Format WAV PCM audio (portant l'extension de fichier ".wav") de 44,1 kHz, 16 bits
Durée d'enregistrement: Dépend de la carte SD utilisée; 1 Go permet d'enregistrer environ 100 minutes.
Durée d'enregistrement continu maximum: 3 heures
Nombre de morceaux: Maximum 50
Nombre d'enregistrements multipiste: Dépend de la capacité résiduelle de la carte SD utilisée.
Annulation/rétablissement ('Undo/Redo'): Un niveau
Fonction de lecteur
Formats de lecture: PCM audio WAV (portant l'extension de fichier ".wav") de 44,1 kHz, 16 bits, stéréo
Taille maximum des données (durée): Dépend de la carte SD utilisée; 1 Go permet d'enregistrer environ 100 minutes (pour un fichier WAV).
Nombre maximum de fichiers de données (nombre de dossiers): Jusqu'à 99 morceaux (par dossier); maximum de 8 dossiers (M1–M8) utilisables dans le dossier PLAYER.
Fonction de liste de lecture: 10 banques (pouvant contenir chacune jusqu'à 24 morceaux)
Section mélangeur d'effet
Effet: Réverbération
Égaliseur: BASS, TREBLE
ACOUSTAGE (effet d'élargissement de l'image stéréo)
Fonction d'accordeur
Gamme: Tempérament égal (12 intervalles chromatiques)
Chromatique
Diapason: 435–445 Hz
Son de référence pour l'accord: Trois types (guitare, basse et piano)
Écran
Diodes avec 4 chiffres et 7 segments
Carte SD
Prises MIC IN: De type XLR-3-32 (symétrique), impédance d'entrée de 4,7 kΩ, niveau nominal de -43 dBV
Prises INPUT 1 et INPUT 2 (guitare, basse): De type jack mono d'1/4"(asymétrique), impédance d'entrée de 1 MΩ, niveau nominal de -26 dBV
Prise AUX INPUT: De type minijack stéréo d'1/8"(asymétrique), impédance d'entrée de 10 kΩ, niveau nominal de -17 dBV
Prise FOOT SW: Prise jack stéréo d'1/4", pédalier pris en charge: VOX VFS5
Prises de sortie
Prises OUTPUT L/MONO et R De type jack mono d'1/4"(asymétrique)
Prise Ω: De type minijack stéréo d'1/8", niveau maximum de 0 dBV, 30 mW, 32 Ω
Alimentation:
CC 9V, six piles de type AA (alcalines ou au nickel-hydrure métallique)
Autonomie de la pile:
Env. 7 heures (avec piles alcalines)
Env. 7 heures (avec piles au nickel-hydrure métallique)
* L'autonomie varie selon les piles utilisées et les conditions d'utilisation.
Consommation:
330 mA
Dimensions (L×P×H)
244 × 220 × 68 mm
Poids
1,4 kg (piles non comprises)
Accessoires fournis
Adaptateur secteur (CC 9V, ◇C+
Option (vendue séparément)
Pédalier: VOX VFS5
* Les caractéristiques et l'aspect du produit sont susceptibles d'être modifiés sans avis préalable en vue d'une amélioration.
KR-55 Pro Flux du Signal

flowchart
graph TD
A["Audio player, etc."] --> B["Guitar"]
B --> C["Mic"]
C --> D["MIC IN"]
D --> E["MIC GAIN"]
E --> F["PEAK LED"]
F --> G["REVERB SEND"]
G --> H["REVERB"]
H --> I["AUX IN"]
I --> J["RHYTHM MODE"]
J --> K["RHYTHM LEVEL (RHYTHM/PLAY)"]
K --> L["RHYTHM PLAY/Metronome"]
L --> M["METRONOME"]
M --> N["RHYTHM LEVEL (RHYTHM/PLAY)"]
N --> O["RHYTHM PLAY/Metronome"]
O --> P["REC ORDER MODE"]
P --> Q["SD CARD REC PLAY"]
Q --> R["REORDER"]
R --> S["REORDER (RHYTHM/PLAY)"]
S --> T["METRONOME"]
T --> U["RECYER"]
U --> V["RECYER LEVEL (RHYTHM/PLAY)"]
V --> W["REC LEVEL LED"]
W --> X["VOLUME"]
X --> Y["ACOUSTAGE"]
Y --> Z["OUTPUT L/MONO, R"]
Y --> AA["HEADPHONES"]
AB["Audio player"] --> AC["Speaker"]
AD["AUX IN"] --> AE["Speaker"]
AF["PLAYER MODE"] --> AG["Player"]
REMARQUE IMPORTANTE POUR LES CLIENTS
Ce produit a été fabriqué suivant des spécifications sévères et des besoins en tension applicables dans le pays où ce produit doit être utilisé. Si vous avez acheté ce produit via l'internet, par vente par correspondance ou/et vente par téléphone, vous devez vérifier que ce produit est bien utilisable dans le pays où vous résidez.
ATTENTION: L'utilisation de ce produit dans un pays autre que celui pour lequel il a été conçu peut être dangereuse et annulera la garantie du fabricant ou du distributeur. Conservez bien votre récépissé qui est la preuve de votre achat, faute de quoi votre produit ne risque de ne plus être couvert par la garantie du fabricant ou du distributeur.
Notice Facile