BS 150 - Chaudière de chauffage central Junkers - Notice d'utilisation et mode d'emploi gratuit
Retrouvez gratuitement la notice de l'appareil BS 150 Junkers au format PDF.
| Caractéristiques techniques | Chaudière à gaz à condensation, puissance nominale 24 kW, rendement supérieur à 90% |
|---|---|
| Type de combustible | Gaz naturel ou propane |
| Dimensions | Largeur : 600 mm, Hauteur : 850 mm, Profondeur : 400 mm |
| Poids | Environ 45 kg |
| Utilisation | Chauffage central pour maisons individuelles, compatible avec systèmes de chauffage par radiateurs ou plancher chauffant |
| Entretien | Vérification annuelle recommandée, nettoyage du brûleur et contrôle des émissions |
| Sécurité | Système de sécurité intégré, protection contre la surchauffe et les fuites de gaz |
| Garantie | 2 ans sur les pièces, conditions spécifiques selon le revendeur |
| Informations générales | Installation par un professionnel recommandé, respect des normes en vigueur |
FOIRE AUX QUESTIONS - BS 150 Junkers
Questions des utilisateurs sur BS 150 Junkers
0 question sur cet appareil. Repondez a celles que vous connaissez ou posez la votre.
Poser une nouvelle question sur cet appareil
Téléchargez la notice de votre Chaudière de chauffage central au format PDF gratuitement ! Retrouvez votre notice BS 150 - Junkers et reprennez votre appareil électronique en main. Sur cette page sont publiés tous les documents nécessaires à l'utilisation de votre appareil BS 150 de la marque Junkers.
MODE D'EMPLOI BS 150 Junkers
Un fonctionnement impeccable ne peut être garantie que lorsque les prescriptions sont strictement observees. Sous reserve de modifications.
Nous vous prions de bien pouvoir dire attentivement ces prescriptions, de les remetre à l'utilisateur et de lui conseiller de les conserver soigneusement.
L'INSTALLATION, LA MISE EN SERVICE, L'ENTRE-TIEN ET LE SERVICE APRES-VENTE DOIVENT ETRE EFFECTUES PAR UN INSTALLATEUR AGREE.
VEILIGHEIDSVOORSCHRIFTEN
BESCHRIJVING VAN DE BOILER
AFMETINGEN
(avec techniciens de votre région)
CONSIGNES DE SECURITE
DESCRIPTION DE LA BALLON
DIMENSIONS
SPECIFICATIONS TECHNIQUES
-données techniques
production d'eau chaude
- architecture du ballon
INSTALLATION
- généralités
- recommendations
- raccordement sanitaire
-
accessoires à raccorder, à installer ou à régler
-
groupe de sécurité
-
pompe de charge ballon
- recyclage sanitaire
-
montage des accessoires livrés avec le ballon (coude + tube + isolation)
-
kit pour raccordement hydraulique (option)
- support mural pour BS 100
schéma hydraulique
RACCORDEMENT ELECTRIQUE
- raccordement au réseau
-schemaelectrique
chaudiere avec pompe de charge ballon et avec réglage électronique via CTN -
aquastat balloon
-
généralités
- montage de l'aquastat
-schemaelectrique - chaudiere avec pompe de charge ballon et sans réglage électronique via CTN
MISE EN SERVICE
- note pour l'installateur
- remplissage en eau de l'installation
- vérification avant la mise en service
- information de l'utilisateur
-
mise en service
-
chaudiere avec pompe de charge ballon et sans réglagelectronique via CTN
chaudiere avec pompe de charge ballon et avec réglage électronique via CTN
ENTRETIEN
- contrôle mensuel
- désinfection thermique
- entretien du gallon
- vidange
- groupe de sécurité
- remplacement du thermostat ou du thermomètre
- bulbes positionnés dans le doigt de gant
- remplacer thermostat ou thermomètre
-thermostat - thermomètre
PROTECTION DE L'ENVIRONNEMENT
NOTICES IMPORTANTES
GARANTIE
SERVICE APRES-VENTE
(avec techniciens de votre région)
1. VEILIGHEIDSVOORSCHRIFTEN
1. CONSIGNES DE SECURITE
Montage
- Ces ballons doivent être placés par un installateur compétent. Il doit se conformer aux normes et prescriptions nationales et locales en la matière.
En cas de doute il doit se renseigner auprès des instances officielles.
Maintenance
La maintenance du gallon ne doit être réalisée que par un installateur autorisé.
Les pièces de rechange doivent toujours être d'origine.
Explications destinées à l'utilisateur
Expliquer à l'utilisateur le fonctionnement du gallon et son maniement.
- Avertir l'utilisateur qu'il ne doit proceder à aucune modification ni effectuer de réparation de sa propre initiative.
Nettoyer le manteau du ballon à l'aide d'un chiffon doux.
Contrôle mensuel
Voir § 10.
Désinfection thermique
Voir 10

Les consignes de sécurité sont écrites sur un fond gris et précédées d'un triangle de pré signalisation, avec un point d'exclamation à l'intérieur.
2. BESCHRIJVING VAN DE BOILER
Ballon sanitaire à chauffage indirect pour raccordement à une chaudière (uniquement cc).
Il dispose sous son habillage en ABS thermoforme:
-
un gallon de 100, 150, 200 ou 300 litres, en inox complenant:
-
un échangeur en inox
- une trappe de visite
-
une isolation polystyrene facilement dissociable
-
un thermostat de réglage de la température sanitaire
-
un thermomètre
-
un coude et un tube pour l'arrivée d'eau froide sanitaire
- un isolant à installer dans le socle, sous le balloon
Dans emballage séparé:
aquastat balloon
Option:
- support mural pour mur porteur permettant de fixer le balloon BS 100 au mur
| Type | BS 100 | BS 150 | BS 200 | BS 300 | Type | |
| Waterinhoud | lit | 100 | 150 | 200 | 300 | Contenance en eau |
| Nuttig volume | lit | 97,7 | 147,5 | 191,5 | 291,1 | Volume utile |
| Inhoud primaire warmtewisselaar | lit | 5,1 | 5,2 | 10,3 | 10,7 | Contenance échangeur primaire |
| Oppervlak van de wisselaar | dm2 | 95,8 | 99,0 | 194,8 | 201,8 | Surface échangeur |
| Nominaal vermogen wisselaar | kW | 35 | 35 | 60 | 62 | Puisance nominale échangeur |
| Primair debiet | l/h | 1507 | 1507 | 2067 | 2136 | Débit primaire |
| Maximum sanitairewarmwatertemperatuur | °C 80 | Température maximale destockage sanitaire | ||||
| Stilstandverlies | kWh/24 h | 1,390 | 1,8522 | 2,331 | 3,266 | Perte à l'arrêt |
| Maximum bedrijfsdruk | bar/MPa | 10 / 1 | Pression de service max. | |||
| Regeling thermostat | °C | 20 → 80 | Réglage thermostat usine | |||
| Differentieel thermostat | 6 | Différentiel thermostat | ||||
| Ø Ingang sanitair koud water | 3/4" | 3/4" | 3/4" | 3/4" | Ø Entrée eau froide sanitaire | |
| Ø Uitgang sanitair warm water | 3/4" | 3/4" | 3/4" | 3/4" | Ø Sortie eau chaude sanitaire | |
| Ø Primaire ingang | 3/4" | 3/4" | 3/4" | 3/4" | Ø Entrée primaire | |
| Ø Primaire uitgang | 3/4" | 3/4" | 3/4" | 3/4" | Ø Sortie primaire | |
| Ø Sanitaire omloopleiding | 3/4" | 3/4" | 3/4" | 3/4" | Ø Recyclage | |
| Binnendoormeter dompelbuis | mm | 10,41 | Diamètre intéérieur doigt de gant | |||
| Ø Reinigungssopening | mm | 100 | Ø Trappe de visite | |||
| Ø Buis wisselaar | mm | 25 x 1 | Ø Tube échangeur | |||
| Beschermingsklasse | IP | 20 | Classe de protection | |||
| Leeggewicht | kg | 23 | 32,5 | 42 | 55 | Poids à vide |
| Gewicht met verpakking | kg | 35 | 45 | 55 | 70 | Poids emballé |
4.2 Warmwaterbereiding
4.2 Production d'eau chaude
Avec une température de l'eau froide de 10^ et une température de départ de la chaudière de 80^ .
| Type | BS 100 | BS 150 | BS 200 | BS 300 | Type | |
| Opnamevermogen bij ΔT 30 K | kW | 35 | 35 | 60 | 62 | Puisance échangée à ΔT 30 K |
| Continu debiet bij 40°C (debiet te regelen aan de veiligheidsgroep) | l/min | 16,7 | 16,7 | 28,7 | 29,6 | Débit continu à 40°C (débit à régler au groupe de sécurité) |
| Specifieke doorstroming | l/min | 22,9 | 26,1 | 40,8 | 48,1 | Débit spécifique |
| Opwarmingtijd tot 60°C (na een aftapping in overeenstemming met de specifieke doorstroming) | l/min 7 | 11 9 13 | Temps de réchauffage à 60°C (après un puisage correspondant au débit spécifique) | |||
| Af te tappen volume aan 40°C bennen 10 minutes (boiler op 65°C) | lit | 229 | 261 | 408 | 481 | Volume soutirable à 40°C en 10 minutes (stockage à 65°C) |
4.3 Architecture du gallon


1 entree primaire
2 sortie eau chaude sanitaire
3 recyclage sanitaire
4 sortie primaire
5 arrivée eau froide sanitaire
6 balloon
7 doigt de gant pour bulbe thermostat de réglage sanitaire
8 trappe de visite
9 thermostat de réglage température sanitaire
0 thermomètre
1 serpentin inox
2 coude et tube eau froide sanitaire
3 isolation
14 isolation socle dessous balloon
** a installer sur le ballon avant la pose de celui-ci
5.1 Algemeen

L'installation, le raccordement électrique et la première mise en service doivent être effectués exclusivement par des installateurs autorisés.
5.2 Aanbevelingen

Un mitigeur thermostatique est a prévoir sur la distribution d'eau chaude sanitaire afin de limiter la température au point deuisage (50^)
Respecter les prescriptions de votre compagne de distribution d'eau locale.
Ces apparèils doivent être raccordés avec un groupe de sécurité 3/4 agréé BELGAQUA.

Le raccordement entre gallon et groupe de sécurité ne peut JAMAIS etre fermé.
Ne jamais placer un robinet d'arrêt ni soupape
quelconque entre le groupe de sécurité et le gallon.
5.4 Accessoires à raccorder, à installer ou à régler
5.4.1 Groupe de sécurité
Le groupe de sécurité doit être installé en point bas (0,25 m du sol) pour permettre la vidange du ballon d'eau chaude sanitaire. Sinon prévoir un robinet de vidange en point bas.
Pour éviter la chute rapide de la pression dans le gallon lors d'unuisage d'eau chaude entrainant ainsi le vieillissement prematuré des joints et du réseau d'eau chaude sanitaire lui-même, voirlez:
- à bien dimensionner le tube d'arrivée d'eau froide à un diamètre supérieur ou au minimum égal à celui de la distribution d'eau chaude,
- à ne pas creer de pertes de pressions importantes sur l'arrivée d'eau froide par l'installation de divers accessoires (vannes, clapet, etc...).
Il est normal que le groupe de sécurité sanitaire laisse échapper un peu d'eau lors du rechauffage du gallon d'eau chaude.
Cependant pour éviter ces écoulements d'eau provenant du groupe de sécurité et si la pression d'eau froide excède 4 bars, il est conseillé:
- de monter un réducteur de pression sur l'arrivée d'eau froide,
-
de monter un vase d'expansion sanitaire qui sera placé sur l'arrivée d'eau froide entre le groupe de sécurité et le gallon (se référer à la notice du vase sanitaire pour son dimensionnement et son pré gonflage suivant le volume du gallon et la pression eau froide sanitaire).
-
Ce groupe de sécurité doit être place sur l'arrivée d'eau froide, avant le gallon (et le plus pres possible de celui-ci). L'écoulement doit être raccordé à une décharge d'un diamètre au moins égal à la tuyauterie d'alimentation par l'intérmediaire d'un entonnoir avec une ouverture visible de minimum 20 mm.
La position du groupe doit toujours permettre une vidange totale du gallon.
Le gallon ne peut JAMAIS etre soumis a une pression supereurea 8 bars, sous peine de risque de deterieioration.Un reducteur de pression doit etre prevu au cas ou la pression d'eau serait supereurea 5 bars. Sinon, la perte d'eau via le groupe de sécurité sera trop elevée. Ce reducteur de pression sera monte en amont du groupe de sécurité.
Placer un robinet d'arrêt en amont du groupe de sécurité.
Le raccordement d'un ballon à une tuyauterie en cuivre doit être effectué par un manchon en fonte ou en acier.
Au cas ou l'installation est equipée de robinets à fermeture rapide, il est nécessaire d'installer un amortisseur de coups de belier.

REMARQUE: un changement du réglage (scellé) au groupe de sécurité supprime la garantie. Il est interdit d'obstruer l'orifice du groupe de sécurité, par lequel s'école l'eau de dilatation. De graves accidents peuvent survenir en cas de non-respect de cette règle.
Afin de contrôle le bon fonctionnement, il faut 1 fois par mois, actionner le robinet ainsi que la soupape de surpression du groupe de sécurité. Un dépôt de calcaire risque d'empêcher le bon fonctionnement.
5.4.2 Boilerlaadpomp
5.4.3 Sanitaire omlooppomp
Régler la pompe de charge ballon sur la vitesse appropriée au débit et à la perte de charge de l'installation (limitation des bruits de circulation, optimisation de la consommation électrique).
5.4.3 Recyclage sanitaire
En cas du raccordement du recyclage sanitaire, il est impératif d'isoler thermiquement les tuyauteries de départ eau chaude sanitaire et recyclage sanitaire.
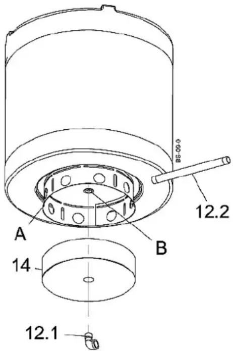
5.4.4 Montage des accessoires livrés avec le ballon (coude + tube + isolation)
Installer l'iso1ation (14) dans le socle (A).
Monter le coude (12.1) sur le piquage arrivée d'eau froide (B) en dessous du ballon (leMETRE dans la position souhaitee pour le raccordement de I'arrivee d'eau froide),
- Visser le tube d'arrivée d'eau froide (12.2) sur le coude (12.1) en le faisant passer par un des orifices prévu à cet effet dans le socle (A).

Fig. 3
5.4.5 Kit pour raccordement hydraulique
(options - n°. de commande 7 716 950 614)
Ce kit de raccordement permet de raccorder hydrauliquement les ballons BS à une chaudière sans vanne à 3 voies, avec lesquelles l'utilisation d'une pompe de charge est nécessaire.

Fig. 4
| Nr | Omschrijving | Aantal |
| 1 | platte dichting (3/4") | 4 |
| 2 | gietijzeren T-stuk | 2 |
| 3 | reductie | 3 |
| 4 | nippel | 1 |
| 5 | messing reductie | 1 |
| 6 | terugslagklep | 1 |
| 7 | laadpomp | 1 |
| 8 | koppeling | 2 |
| 9 | flexibel (L = 1,7 m) | 2 |
| 10 | platte dichting 1"1/2 | 2 |
| 11 | primaire ingang 3/4" | |
| 12 | primaire uitgang 3/4" | |
| 13 | vertrek maar ketel 1" | |
| 14 | retour uit ketel 1" | |
| N° | Description | Nombre |
| 1 | joint plat (3/4") | 4 |
| 2 | té réduit fonte | 2 |
| 3 | mamelon réduit | 3 |
| 4 | mamelon égal | 1 |
| 5 | réduction laiton | 1 |
| 6 | clapet anti-retour | 1 |
| 7 | pompe de charge | 1 |
| 8 | union | 2 |
| 9 | flexible (L = 1,7 m) | 2 |
| 10 | joint plat 1"1/2 | 2 |
| 11 | entée primaire 3/4" | |
| 12 | sortie primaire 3/4" | |
| 13 | départ chaudière 1" | |
| 14 | retour chaudière 1" |
5.4.6 Support mural pour BS 100
(options - n°. de commande 7 716 950 619)
Le support mural permet de fixer le gallon BS 100 au mur porteur.

Le raccordement hydraulique est réalisé par le dessus.
Remarques:
- La force portative du mur doit correspondre au poids du ballon et de sa contenance en eau.
- Utiliser des vis de fixation adaptées à la charge (6 vis Ø 10 minimum).

Fig. 5
5.5 Schéma hydraulique

1 entree primaire (chaudiere vers ballon)
2 depart eau chaude sanitaire
3 recyclage sanitaire
4 sortie primaire (ballon vers chaudiere)
5 arrivée d'eau froide sanitaire
6 balloon BS ...
7 pompe de recyclage sanitaire
8 groupe de sécurité **
9 évacuation groupe de sécurité **
0 évacuation vers l'égout
1 réducteur de pression
2 vase d'expansion sanitaire
3 clapet anti-retour **
4 pompe de charge ballon ** accessoires non fournis

Danger: Parélectrocution.
Avant d'entamer les travaux, couper l'alimentation electrique.
6.1 Netaansluiting
6.1 Raccordement au réseau
- Les prescriptions de la Compagnie d'électricité locale et le règlement sur les installations électriques (R.G.I.E.), sont à observer strictement.
Les ballons sont agreées IP 20.
La tension d'alimentation doit etre 230 V/AC -50 Hz (monophasé).
L'alimentation électrique doit être protégée par un disjoncteur ou fusible de 6 A.
Raccordement à la terre obligatoire.
6.2 Chaudière avec pompe de charge ballon et avec réglage électronique via CTN
Le réglage de la température de l'eau chaude sanitaire s'effectue sur le régulateur de la chaudière.
Extraire le bulbe du thermometre (fig. 7 - n°. 10) du doigt de gant (fig. 7 - n°. 7) - accès par le dessus du ballon (fig. 7).
Faire passer le bulbe de la sonde sanitaire livrée avec la chaudiere par le bouchon (fig. 7 - E).
Enfonceur au maximum le bulbe de la sonde sanitaire à l'intérieur du doigt de gant (fig. 7 - n° 7) pour assurer un contact thermique satisfaisant.
- Repositionner le bulbe du thermomètre au maximum dans le doigt de gant (fig. 7 - D) prévu à cet effet dans l'isolement.

6.3 Boileraquastaat
6.3.1 Algemeen
6.3.2 Montage van de aquastaat
L'aquastat (livre séparation) doit être monté dans les ballons BS... quand lorsque ceux-ci sont raccordés à une chaudière qui nécessite un gallon avec aquastat.
Nr Omschrijving
1 aquastaat (réglage usine 20 / 80^ -differentiel 6^)
6.3.2 Montage de I'aquastat
Pour facilitier le raccordement electrique de l'aquastat (fig. 8 - n° 1), il est préférible de connecter le cable (fig. 8 - n° 4) à l'aquastat (fig. 8 - n.° 1) avant d'insteller ce dernier.
De moer van de wartel (D) aan de achterkant van de kap van de bovenkant van de boiler losdraaien.
- Geleid de 4-aderige kabel (4) door het gat en herbevestig de wartel (D) met de moer. De kabelschoen要去 zich aande binnenzijde van de kap van de bovenkant bevinden.
- Dévisser l'écrou du presse-étoupe (D)présent à l'arrête du capot du dessus du gallon.
Faire passer le cable de raccordement - 4 fils (4) dans le trou et refixer le pressé-étoupe (D) au moyen de son écrou. La partie cosse du cable sera à positionner côte interieur du capot de dessus.




Fig. 12
Réaliser le raccordement des fils vert/jaune, noir, marron et gris du cable 4 fils (4) de l'aquastat:
- fil marron sur la borne 1 (M),
- fil noir sur borne C (N),
- fil gris sur borne 2 (G),
- shunt vert/jaune (V/J) sur la cosse de masse sur le cote de l'aquestat.

Fig. 15
Les cosses doivent être enforcées au maximum.
Fig. 13
De as van de aquastaat (1) door het gat (F) in de kap van de bovenkant steken.
- Lipjes verticalaal geplaatst, aardingsklem aan de kant van de uitloop sanitair warm water (2).
Faire passer l'axe du corps de l'aquastat (1) par l'orifice (F) prévu à cet effet dans le capot du dessus.
Languettes positionnées verticalément, cosse de masse côte sortie eau chaude sanitaire (2).
Fig. 14
Par l'extérieur: positionner l'enjolivre (3) (marquage cote sortie eau chaude sanitaire (2) et horizontally).
Maintainir le tout à laide des 2 vis fournies (1.1).



- Plaats de knop (2) op de as van de aquastaat.
Positionner le bouton (2) sur l'axe de I'aquastat.

Fig. 16
Raccorder le ballon à la masse.
Réaliser le raccordement du fil vert/jaune (V/J) du cable 4 fils (4) sur la masse de la bride de trappe du ballon (I). (Vis et rondelle éventail en attente sur la bride de trappe du ballon).
Retirer le bulbe (J) du thermometre du doigt de gant.
Introduire delicatement le bulbe (K) de laquastat dans le doigt de gant.
L'enforcer au maximum à l'intérieur du doigt de gant de façon à assurer un contact thermique satisfaisant,
Replacer l'isoation (fig. 10-C).
Remonter la plaque de protection (fig. 9-A).

6.3.3 Schéma électrique
6.3.4 Chaudière avec pompe de charge ballon et sans réglagelectronique via CTN (fig. 19)
Le thermostat (9) met en service la pompe de charge ballon qui alimente l'échangeur du gallon en cas de demande sanitaire.
Raccorder la pompe de charge ballon comme indiqué à la fig. 19.
Le circulateur cc doit etre débranché lors de demande de chaleur sanitaire. Ceci peut evtl. se faire en montant en série l'alimentation du circulateur cc avec le contact inverseur de I'aquastat du ballon (fils noir et gris).
7. INBEDRIJNAME
7. MISE EN SERVICE
7.1 Note pour l'installateur
Après la mise en service,mettre l'usager au courant de la manipulation et du fonctionnement du gallon.
Attirer son attention sur le fait qu'enaucun cas le fonctionnement du groupe de sécurité ne peut etre entrave.
7.2 Remplissage en eau de I'installation
Remplissage de I'installation:
se référer à la notice de la chaudière,
Remplissage du ballon:
- lorsque la chaudière est en pression, la pompe de charge ballon est en eau, la purge du serpentin du gallon se fera lors de la mise en route de la pompe de charge ballon,
- effectuer la mise en eau du ballon à l'aide du groupe de sécurité de l'installation en prénant soin d'ouvrir un robinet d'eau chaude,
- après replissage, vérifier le serrage de la trappe de visite du gallon.
Effectuer une purge efficace du gallon et de l'installation après mise en eau.
7.3 Vérification avant la mise en service
Vérifier le serrage et l'étanchéité de la trappe de visite du balloon (fig. 2, n° 8).
Vérifier l'étanchéité des divers joints et raccords que comporte l'installation.
Vérifier la purge du circuit primaire.
Vérifier que le raccordement électrique est correct.
Vérifier, de manière à garantir les performancesANNOCES, que le robinet d'eau froide du groupe de sécurité est regle pour obtenir le débit continu souhaite (voir § 4.2).
7.4 Information de l'utilisateur
Il apparient à l'installateur d'informer l'utilisateur du mode de fonctionnement de l'appareil. L'utilisateur doit en particulier être informé sur le role et le fonctionnement des sécurités et la nécessité de faire procédé à un entretien régulier par un professionnel qualifié.
7.5 Inbedrijfname
Voir aussi la notice technique de la chaudière pour le réglage de la température d'eau chaude sanitaire.
Remarque:
- Une température de stockage de 55^ est généralement suffisante pour couvir les besoin courants en eau chaude. Plus la température de stockage est élevée, plus les pertes thermiques augmentent.
On notera que pendant la montée en température du gallon, un peu d'eau s'échappe du groupe de sécurité. Cette situation est normale.
-
Cette évacuation ne doit enaucun cas etre obturée (expansion de I'eau).
-
Mettre en service la chaudière.
7.5.1 Chaudière avec pompe de charge ballon et sans réglagelectroniqueviaCTN
Regler le thermostat de réglage température sanitaire (fig. 20 - n°. 9) en fonction de la temperature choisis.
Réglage conseillé 55 / 60^ (lecture sur le thermomètre (n^,10) ). Ce réglage permet de limiter les pertes thermiques et l'entartrage tout en se prémunissant contre le risque de prolifération de légionelles en cas de contamination de l'eau froide sanitaire.
- Régler le thermostat chaudière à une température supérieure à celle du gallon.
- Régler toujours à une valeur supérieure d'au moins 10^ à celle de la température de stockage désirée dans le gallon, mais jamais à une valeur supérieure à 85^ pour éviter le déclenchement intempéstif des securités thermiques (réglage idéal chaudière = 75^ , gallon = 60^ ).
9 thermostaat regeling sanitaire temperatuur
10 thermometer
9 thermostat de réglage température sanitaire
10 thermometre
7.5.2 Chaudière avec pompe de charge ballon et avec réglagelectronique via CTN
Lorsque la chaudiere est équipée d'une régulation électronique, le réglage de la température de l'eau chaude sanitaire s'effectue sur le régulateur de la chaudière. Le thermostat de réglage de la température sanitaire (fig. 20 - n°...9) du Boiler BS n'est pas actif.
Voir le manuel de la chaudière.

Danger: Par électrocution.
Avant d'entamer les travaux, couper l'alimentation électrique.
L'entretien peut être effectué uniquement par un installateur, un homme de métier/agréé ou par le service après-venture de l'usine.
Utiliser uniquement des pieces de rechange d'origine.
Commander les pieces de rechange conformément à la liste de pieces de rechange de la chaudière (voir site web www.junkers.be).
- Remplacer les joints et les joints toniques d'étanchéité démontés par des neufs.
8.1 Contrôle mensuel
Régler, une fois par mois, le sélecteur de température de l'eau sanitaire de la chaudière au maximum pendant 1 heures comme désinfection thermique. Ceci évite la formation des bacteriés nuisibles comme la bactérie du légionnaire, dans le balloon. ÀpRES que le ballon a atteint la température maximale, faites couler une quantité d'eau chaude via un robinet deuisage. Contrôr égalément le groupe de sécurité.
8.2 Désinfection thermique
L'entière installation d'eau chaude y compris les points deuisage doit regulierement etre desinfectee thermiquement (voir prescriptions locales et/ou nationales).

Avertissement: risques de brûlure!!
Ne proceder à une désinfection thermique que dehors les heures d'utilisation normales.
Prévenir tous les habitants du risque de brûlle.
Dans les régions à eau de réseau très durable et si le nettoyage du gallon doit être effectué fréquement, la solution ideale est la pose d'un système de traitement anticalcaire sur l'entrée d'eau froide de l'installation.
Régler la température sanitaire sur une valeur inférieure à 60^ . Au-delà de 60^ , la precipitation du calcaire est accentuee.

Fig. 21
Si une visite du ballon a lieu par la trappe de visite (8) prévue à cet effet:
- oter la plaque de protection (16) - retrait des 3 vis (17),
retirer l'isoation (18), - démonter l'ensemble trappe de visite (8), bride de trappe (19) et joint (20),
- remplacer le joint de la trappe 20) à chaque démontage de celle-ci,
- remonter le tout,
-
après la remise en eau:
-
vérifier l'étanchéité,
-effectuer une purgege efficace du ballon.
8.4 Lediging
La vidange du gallon peut être réalisée par siphonnage par le groupe de sécurité à condition que celui-ci soit installé au niveau de la partie inférieure du gallon.
Prévoir une entrée d'air en ouvrant un robinet d'eau chaude.
8.5 Groupe de sécurité
Contrôler le fonctionnement de la soupape du groupe de sécurité et la rincer en la purgeant brievement à plusieurs reprises. Une soupape ne travaillant pas correctement peut provoquer des dommages dus à une pression excessive.
Faire procéder à son remplacement en cas de mauvais fonctionnement ou de fuite (écoulement permanent de la soupape).

Le raccordement entre ballon et groupe de sécurité ne peut JAMAIS être fermée.
8.6 Remplacement du thermostat ou du thermomètre (fig. 22)
8.6.1-Bulbes positionnés dans le doigt de gant (7)
Thermostat de réglage de la température sanitaire (9).
Thermometre (10).
8.6.2 Remplacer thermostat ou thermomètre
Oter la plaque de protection (16) - retrait des 3 vis (17).
Retirer l'isoation (18).
Extraire delicatement les bulbes du doigt de gant (7).
8.6.3 Thermostat
Oter le bouton (21) du thermostat de réglage (9).
Devisser les 2 vis de fixation (C) du thermostat (9).
Demonter le thermostat (9) defectieux et le remplacer.
Positionner le bulbe dans le doigt de gant (7). De façon à assurer un contact thermique satisfaisant, l'enforcer au maximum à l'intérieur du doigt de gant.

Si le gallon est raccordé à une chaudière avec réglage electronique via sonde CTN, le bulbe du thermostat de réglage (9) sera remplaced par celui de la sonde sanitaire.
8.6.4 Thermometre
Demonter le thermometre (10) defectueux et le replacer.
Positionner le bulbe du thermomètre (10) dans le doigt de gant (D). De façon à assurer un contact thermique satisfaisant, l'enforcer au maximum à l'intérieur du doigt de gant.

9. MILIEUBESCHERMING
9. PROTECTION DE L'ENVIRONNEMENT
La protection de l'environnement est l'une des priorités de Bosch et de Junkers. Nous développpons et fabriquons des produits surs, respectieux de l'environnement et économiques. Nos produits contribuient à l'amélioration des conditions de sécurité et de santé ainsi qu'à la réduction des impacts sur l'environnement car ils peuvent être recyclés et supprimés.
Emballage
Tous les matériaux utilisés dans nos emballages sont recyclables. La gestion et l'acheminement de tous les déchets d'emballage sont en effet pris en charge par les organismes nationaux dûment qualifiés.
Fin de vie des chaudières
Toutes les chaudières contiennent des matériaux réutilisables et recyclables. Les différents composants de la chaudière sont facés à séparer. Ce système permet d'effectuer un tri de tous les composants pour uneuture réutilisation ou un futur recyclage.
10. BELANGRIJKE NOTA'S
Vous trouvrez l'indication du type et le numero de série (avec numero FD) sur la plaque signalétique du gallon. Veuillez mentionner ces données sur la carte de garantie et lors de chaque contact avec votre l'installateur ou avec notre service après-vente.
VOORBEELD VAN EEN KENPLAATJE
| JUNKERS Bosch Thermotechnik GmbH Geschäftsbereich Junkers D-73249 Wernau - Deutschland | ||
| 00 | N° de série 5970-203-002198-7716850800 | |
| NOM : BALLON D'EAU CHAUBE SANITAIRE Type : BS 100 Capacité sanitaire: 100 Capacité primaire: 5,1 Pression maxi sanitaire / primaire: 10 bar Température maxi: 80°C Alimentation électrique: 230 V - 50 Hz - IP 20 | ||
| NAME : WARMWASSERSPEICHER Typ : BS 100 Speicherinhalt - WW: 100 Inhalt-Primär: 5,1 Max. Druck-WWW / Druck-Heizung: 10 bar Max. Temperatur: 80°C Elektr. Anschluss: 230 V - 50 Hz - IP 20 | ||
| NAAM : SANITAIRE WARMWATERBOILER Type : BS 100 Sanitaire capacité: 100 Primaire capacité: 5,1 Max. druk sanitär / primair: 10 bar Max. temperatuur: 80°C Spanning: 230 V - 50 Hz - IP 20 | ||
| Bosch Thermotechnology nv/sa: TEL: 03 887 20 60 | ||
EXAMPLE D'UNE PLAQUE SIGNALETIQUE

fabricagedatum (FD = 203 in dit voorbeeld) date de fabrication (FD = 203 dans cet exemple)
INSTALLLATEUR
11.WAARBORG
La garantie accordée n'est valable que si l'installation est rigoureusement conforme aux prementes prescriptions et si l'installation entiere est correctement effectuee.
La garantie est applicable suivant les conditions reprises sur la carte de garantie. Celle-ci doit être complétée du type et du numero de série, indiqué sur la plaque d'immatriculation du gallon et returnée à Bosch Thermotechnology sa dés la mise en service.

TIP: Envoyer la carte de garantie immédiatement après la mise en service. Ceci facilititera les contacts.
SERVICE APRES-VENTE (avec techniciens de votre région)
Bosch Thermotechnology sa tient un service après-vente à la disposition de l'installateur et de l'usager.
En cas de difficulté, adressez-vous à Bosch Thermotechnology sa (service après-venture officiel du fabricant).
| My Service | Bosch Thermotechnology nv/sa Kontischsestenweg 60 2630 Aartselaar | |
| ALGEMEEN NUMMER NUMERO GENERAL | 03 887 20 60 | |
| FAX 03 877 01 29 | ||
| info@junkers.be www.junkers.be | ||
| DIENST NA VERKOOP onderhoud & herstellingen SERVICE APRES-VENTE entretien & réparations | 078 05 02 10 | |
| FAX 078 05 02 11 | ||
| service@junkers.be | ||
| TECHNISCH ADVIES CONSEIL TECHNIQUE | 03 880 71 02 | |
| FAX 03 888 91 56 | ||
| technics@junkers.be | ||
| MARKETING & DOCUMENTATIE MARKETING & DOCUMENTATION | 03 880 71 03 | |
| FAX 03 877 01 29 | ||
| sales@junkers.be | ||
| VERKOOP bestellingen & wisselstukken VENTE commandes & pièces de rechange | 03 880 71 01 | |
| FAX 03 887 01 03 | ||
| sales@junkers.be | ||
| FAX 03 887 01 03 | ||
| sales@junkers.be | ||
BELANGRIJKE OPMERKING
REMARQUE IMPORTANTE

UN ENTRETIEN ANNUEL EST RECOMMANDE. Faites appel à un installateur/agree ou au service après-vente de JUNKERS.
Toute reproduction interdite sans accord préalable de l'éditeur.
Sous réserve de modifications.
PVM

Notice Facile