BS 300 - Chaudière de chauffage central Junkers - Notice d'utilisation et mode d'emploi gratuit
Retrouvez gratuitement la notice de l'appareil BS 300 Junkers au format PDF.
| Caractéristiques techniques | Chaudière à gaz à condensation, puissance nominale de 24 kW, rendement supérieur à 90% |
|---|---|
| Type de combustible | Gaz naturel ou propane |
| Dimensions | Hauteur : 700 mm, Largeur : 400 mm, Profondeur : 300 mm |
| Poids | Environ 30 kg |
| Utilisation | Chauffage central pour maisons individuelles, production d'eau chaude sanitaire |
| Entretien | Vérification annuelle recommandée, nettoyage des filtres et des échangeurs |
| Sécurité | Équipée de dispositifs de sécurité contre la surchauffe et les fuites de gaz |
| Garantie | Garantie de 2 ans sur les pièces |
| Informations supplémentaires | Installation par un professionnel recommandée, conformité aux normes en vigueur |
FOIRE AUX QUESTIONS - BS 300 Junkers
Questions des utilisateurs sur BS 300 Junkers
0 question sur cet appareil. Repondez a celles que vous connaissez ou posez la votre.
Poser une nouvelle question sur cet appareil
Téléchargez la notice de votre Chaudière de chauffage central au format PDF gratuitement ! Retrouvez votre notice BS 300 - Junkers et reprennez votre appareil électronique en main. Sur cette page sont publiés tous les documents nécessaires à l'utilisation de votre appareil BS 300 de la marque Junkers.
MODE D'EMPLOI BS 300 Junkers
Un fonctionnement impeccable ne peut être garanti que lorsque les prescriptions sont strictement observées. Sous réserve de modifications.
Nous vous prions de bien vouloir lire attentivement ces prescriptions, de les remettre à l'utilisateur et de lui conseiller de les conserver soigneusement.
L'INSTALLATION, LA MISE EN SERVICE, L'ENTRE-TIEN ET LE SERVICE APRES-VENTE DOIVENT ETRE EFFECTUES PAR UN INSTALLATEUR AGREE.
VEILIGHEIDSVOORSCHRIFTEN
BESCHRIJVING VAN DE BOILER
AFMETINGEN
TECHNISCHE SPECIFICATIES
(avec techniciens de votre région)
CONSIGNES DE SECURITE
DESCRIPTION DE LA BALLON
DIMENSIONS
SPECIFICATIONS TECHNIQUES
- données techniques
- production d'eau chaude
- architecture du ballon
INSTALLATION
- généralités
- recommendations
- raccordement sanitaire
- accessoires à raccorder, à installer ou à régler
-
groupe de sécurité
-
pompe de charge ballon
- recyclage sanitaire
- montage des accessoires livrés avec le ballon (coude + tube + isolation)
- kit pour raccordement hydraulique (option)
- support mural pour BS 100
- schéma hydraulique
RACCORDEMENT ELECTRIQUE
- raccordement au réseau
- schéma électrique
- chaudière avec pompe de charge ballon et avec réglage électronique via CTN
-
aquastat ballon
-
généralités
- montage de l'aquastat
- schéma électrique
- chaudière avec pompe de charge ballon et sans réglage électronique via CTN
MISE EN SERVICE
- note pour l'installateur
- remplissage en eau de l'installation
- vérification avant la mise en service
- information de l'utilisateur
-
mise en service
-
chaudière avec pompe de charge ballon et sans réglage électronique via CTN
- chaudière avec pompe de charge ballon et avec réglage électronique via CTN
ENTRETIEN
- contrôle mensuel
- désinfection thermique
- entretien du ballon
- vidange
- groupe de sécurité
-
remplacement du thermostat ou du thermomètre
-
bulbes positionnés dans le doigt de gant
- remplacer thermostat ou thermomètre
- thermostat
- thermomètre
PROTECTION DE L'ENVIRONNEMENT
NOTICES IMPORTANTES
GARANTIE
SERVICE APRES-VENTE
(avec techniciens de votre région)
1. VEILIGHEIDSVOORSCHRIFTEN
Montage
Ces ballons doivent être placés par un installateur compétent. Il doit se conformer aux normes et prescriptions nationales et locales en la matière. En cas de doute il doit se renseigner auprès des instances officielles.
Maintenance
▶ La maintenance du ballon ne doit être réalisée que par un installateur autorisé.
Les pièces de rechange doivent toujours être d'origine.
Explications destinées à l'utilisateur
▶ Expliquer à l'utilisateur le fonctionnement du ballon et son maniement.
▶ Avertir l'utilisateur qu'il ne doit procéder à aucune modification ni effectuer de réparation de sa propre initiative.
Nettoyer le manteau du ballon à l'aide d'un chiffon doux.
▶ Contrôle mensuel
Voir § 10.
▶ Désinfection thermique
Voir § 10.

Les consignes de sécurité sont écrites sur un fond gris et précédées d'un triangle de pré signalisation, avec un point d'exclamation à l'intérieur.
2. BESCHRIJVING VAN DE BOILER
Ballon sanitaire à chauffage indirect pour raccordement à une chaudière (uniquement cc).
Il dispose sous son habillage en ABS thermoformé:
- un ballon de 100, 150, 200 ou 300 litres, en inox comprenant:
- un échangeur en inox
- une trappe de visite
- une isolation polystyrène facilement dissociable
- un thermostat de réglage de la température sanitaire
- un thermomètre
- un coude et un tube pour l'arrivée d'eau froide sanitaire
- un isolant à installer dans le socle, sous le ballon
Dans emballage séparé:
- aquastat ballon
Option:
- support mural pour mur porteur permettant de fixer le ballon BS 100 au mur
3. AFMETINGEN
3. DIMENSIONS

text_image
297 Fig. 1 297| Type | BS100 | BS150 | BS200 | BS300 | Type | |
| Waterinhoud | lit | 100 | 150 | 200 | 300 | Contenance en eau |
| Nuttig volume | lit | 97,7 | 147,5 | 191,5 | 291,1 | Volume utile |
| Inhoud primaire warmtewisselaar | lit | 5,1 | 5,2 | 10,3 | 10,7 | Contenance échangeur primaire |
| Oppervlak van de wisselaar | dm^2 | 95,8 | 99,0 | 194,8 | 201,8 | Surface échangeur |
| Nominaal vermogen wisselaar | kW | 35 | 35 | 60 | 62 | Puissance nominale échangeur |
| Primair debiet | l/h | 1507 | 1507 | 2067 | 2136 | Débit primaire |
| Maximum sanitaire warmwatertemperatuur | °C 80 | Température maximale de stockage sanitaire | ||||
| Stilstandverlies | kWh/24 h | 1,390 | 1,8522 | 2,331 | 3,266 | Perte à l'arrêt |
| Maximum bedrijfsdruk | bar/MPa | 10 / 1 | Pression de service max. | |||
| Regeling thermostaat | °C | 20 → 80 | Réglage thermostat usine | |||
| Differentieel thermostaat | °C | 6 | Différentiel thermostat | |||
| ∅ Ingang sanitair koud water | 3/4" | 3/4" | 3/4" | 3/4" | ∅ Entrée eau froide sanitaire | |
| ∅ Uitgang sanitair warm water | 3/4" | 3/4" | 3/4" | 3/4" | ∅ Sortie eau chaude sanitaire | |
| ∅ Primaire ingang | 3/4" | 3/4" | 3/4" | 3/4" | ∅ Entrée primaire | |
| ∅ Primaire uitgang | 3/4" | 3/4" | 3/4" | 3/4" | ∅ Sortie primaire | |
| ∅ Sanitaire omloopleiding | 3/4" | 3/4" | 3/4" | 3/4" | ∅ Recyclage | |
| Binnendoormeter dompelbuis | mm | 10,41 | Diamètre intérieur doigt de gant | |||
| ∅ Reinigingsopening | mm | 100 | ∅ Trappe de visite | |||
| ∅ Buis wisselaar | mm | 25 x 1 | ∅ Tube échangeur | |||
| Beschermingsklasse | IP | 20 | Classe de protection | |||
| Leeggewicht | kg | 23 | 32,5 | 42 | 55 | Poids à vide |
| Gewicht met verpakking | kg | 35 | 45 | 55 | 70 | Poids emballé |
4.2 Warmwaterbereiding
4.2 Production d'eau chaude
Avec une température de l'eau froide de 10°C et une température de départ de la chaudière de 80°C.
| Type | BS 100 | BS 150 | BS 200 | BS 300 | Type | |
| Opnamevermogen bij ΔT 30 K | kW | 35 | 35 | 60 | 62 | Puissance échangée à ΔT 30 K |
| Continu debiet bij 40°C (debiet te regelen aan de veiligheidsgroep) | l/min | 16,7 | 16,7 | 28,7 | 29,6 | Débit continu à 40°C (débit à régler au groupe de sécurité) |
| Specifieke doorstroming | l/min | 22,9 | 26,1 | 40,8 | 48,1 | Débit spécifique |
| Opwarmingtijd tot 60°C (na een aftapping in overeenstemming met de specifieke doorstroming) | l/min 7 | 11 9 13 | Temps de réchauffage à 60°C (après un puisage correspondant au débit spécifique) | |||
| Af te tappen volume aan 40°C binnen 10 minuten (boiler op 65°C) | lit | 229 | 261 | 408 | 481 | Volume soutirable à 40°C en 10 minutes (stockage à 65°C) |
4.3 Architecture du ballon

1 entrée primaire
2 sortie eau chaude sanitaire
3 recyclage sanitaire
4 sortie primaire
5 arrivée eau froide sanitaire
6 ballon
7 doigt de gant pour bulbe thermostat de réglage sanitaire
8 trappe de visite
9 thermostat de réglage température sanitaire
10 thermomètre
11 serpentin inox
12 coude et tube eau froide sanitaire **
13 isolation
14 isolation socle dessous ballon **
** à installer sur le ballon avant la pose de celui-ci
5.1 Algemeen

L'installation, le raccordement électrique et la première mise en service doivent être effectués exclusivement par des installateurs autorisés.
5.2 Aanbevelingen

Un mitigeur thermostatique est à prévoir sur la distribution d'eau chaude sanitaire afin de limiter la température au point de puisage (50°C).
Respecter les prescriptions de votre compagnie de distribution d'eau locale.
Ces appareils doivent être raccordés avec un groupe de sécurité 3/4" agréé BELGAQUA.

Le raccordement entre ballon et groupe de sécurité ne peut JAMAIS être fermé. Ne jamais placer un robinet d'arrêt ni soupape quelconque entre le groupe de sécurité et le ballon.
5.4 Accessoires à raccorder, à installer ou à régler
5.4.1 Groupe de sécurité
Le groupe de sécurité doit être installé en point bas (0,25 m du sol) pour permettre la vidange du ballon d'eau chaude sanitaire. Sinon prévoir un robinet de vidange en point bas.
Pour éviter la chute rapide de la pression dans le ballon lors d'un puisage d'eau chaude entraînant ainsi le vieillissement prématuré des joints et du réseau d'eau chaude sanitaire lui-même, veillez:
- à bien dimensionner le tube d'arrivée d'eau froide à un diamètre supérieur ou au minimum égal à celui de la distribution d'eau chaude,
- à ne pas créer de pertes de pressions importantes sur l'arrivée d'eau froide par l'installation de divers accessoires (vannes, clapet, etc...).
Il est normal que le groupe de sécurité sanitaire laisse échapper un peu d'eau lors du réchauffage du ballon d'eau chaude.
Cependant pour éviter ces écoulements d'eau provenant du groupe de sécurité et si la pression d'eau froide excède 4 bars, il est conseillé:
- de monter un réducteur de pression sur l'arrivée d'eau froide,
- de monter un vase d'expansion sanitaire qui sera placé sur l'arrivée d'eau froide entre le groupe de sécurité et le ballon (se référer à la notice du vase sanitaire pour son dimensionnement et son pré gonflage suivant le volume du ballon et la pression eau froide sanitaire).
Ce groupe de sécurité doit être placé sur l'arrivée d'eau froide, avant le ballon (et le plus près possible de celui-ci). L'écoulement doit être raccordé à une décharge d'un diamètre au moins égal à la tuyauterie d'alimentation par l'intermédiaire d'un entonnoir avec une ouverture visible de minimum 20 mm.
La position du groupe doit toujours permettre une vidange totale du ballon.
Le ballon ne peut JAMAIS être soumis à une pression supérieure à 8 bars, sous peine de risque de détérioration. Un réducteur de pression doit être prévu au cas où la pression d'eau serait supérieure à 5 bars. Sinon, la perte d'eau via le groupe de sécurité sera trop élevée. Ce réducteur de pression sera monté en amont du groupe de sécurité.
- Placer un robinet d'arrêt en amont du groupe de sécurité.
▶ Le raccordement d'un ballon à une tuyauterie en cuivre doit être effectué par un manchon en fonte ou en acier.
Au cas où l'installation est équipée de robinets à fermeture rapide, il est nécessaire d'installer un amortisseur de coups de bélier.

REMARQUE: un changement du réglage (scellé) au groupe de sécurité supprime la garantie. Il est interdit d'obstruer l'orifice du groupe de sécurité, par lequel s'écoule l'eau de dilatation. De graves accidents peuvent survenir en cas de non-respect de cette règle.
▶ Afin de contrôler le bon fonctionnement, il faut 1 fois par mois, actionner le robinet ainsi que la soupape de surpression du groupe de sécurité. Un dépôt de calcaire risque d'empêcher le bon fonctionnement.
5.4.2 Boilerlaadpomp
5.4.3 Sanitaire omlooppomp
5.4.2 Pompe de charge ballon
Régler la pompe de charge ballon sur la vitesse appropriée au débit et à la perte de charge de l'installation (limitation des bruits de circulation, optimisation de la consommation électrique).
5.4.3 Recyclage sanitaire
En cas du raccordement du recyclage sanitaire, il est impératif d'isoler thermiquement les tuyauteries de départ eau chaude sanitaire et recyclage sanitaire.
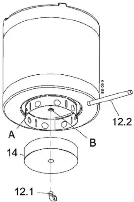
5.4.4 Montage des accessoires livrés avec le ballon (coude + tube + isolation)
▶ Installer l'isolation (14) dans le socle (A).
Monter le coude (12.1) sur le piquage arrivée d'eau froide (B) en dessous du ballon (le mettre dans la position souhaitée pour le raccordement de l'arrivée d'eau froide),
▶ Visser le tube d'arrivée d'eau froide (12.2) sur le coude (12.1) en le faisant passer par un des orifices prévu à cet effet dans le socle (A).
Fig. 3

text_image
A B 12.2 14 12.1 BS-09-05.4.5 Kit pour raccordement hydraulique
(option - n°. de commande 7 716 950 614)
Ce kit de raccordement permet de raccorder hydrauliquement les ballons BS à une chaudière sans vanne à 3 voies, avec lesquelles l'utilisation d'une pompe de charge est nécessaire.

| N° | Description | Nombre |
| 1 | joint plat (3/4") | 4 |
| 2 | té réduit fonte | 2 |
| 3 | mamelon réduit | 3 |
| 4 | mamelon égal | 1 |
| 5 | réduction laiton | 1 |
| 6 | clapet anti-retour | 1 |
| 7 | pompe de charge | 1 |
| 8 | union | 2 |
| 9 | flexible (L = 1,7 m) | 2 |
| 10 | joint plat 1"1/2 | 2 |
| 11 | entrée primaire 3/4" | |
| 12 | sortie primaire 3/4" | |
| 13 | départ chaudière 1" | |
| 14 | retour chaudière 1" |
5.4.6 Support mural pour BS 100
(option - n°. de commande 7 716 950 619)
Le support mural permet de fixer le ballon BS 100 au mur porteur.

Le raccordement hydraulique est réalisé par le dessus.
Remarques:
- La force portative du mur doit correspondre au poids du ballon et de sa contenance en eau.
- Utiliser des vis de fixation adaptées à la charge (6 vis ∅ 10 minimum).
Fig. 5

5.5 Schéma hydraulique

flowchart
graph TD
A["1"] --> B["2"]
C["3"] --> D["4"]
D --> E["5"]
E --> F["6"]
G["7"] --> H["8"]
H --> I["9"]
I --> J["10"]
J --> K["11"]
K --> L["12"]
L --> M["13"]
M --> N["14"]
N --> O["15"]
O --> P["16"]
P --> Q["17"]
Q --> R["18"]
R --> S["19"]
S --> T["20"]
T --> U["21"]
U --> V["22"]
V --> W["23"]
W --> X["24"]
X --> Y["25"]
Y --> Z["26"]
Z --> AA["27"]
AA --> AB["28"]
AB --> AC["29"]
AC --> AD["30"]
AD --> AE["31"]
AE --> AF["32"]
AF --> AG["33"]
AG --> AH["34"]
AH --> AI["35"]
AI --> AJ["36"]
AJ --> AK["37"]
AK --> AL["38"]
AL --> AM["39"]
AM --> AN["40"]
AN --> AO["41"]
AO --> AP["42"]
AP --> AQ["43"]
AQ --> AR["44"]
AR --> AS["45"]
AS --> AT["46"]
AT --> AU["47"]
AU --> AV["48"]
AV --> AW["49"]
AW --> AX["50"]
1 entrée primaire (chaudière vers ballon)
2 départ eau chaude sanitaire
3 recyclage sanitaire **
4 sortie primaire (ballon vers chaudière)
5 arrivée d'eau froide sanitaire
6 ballon BS ...
7 pompe de recyclage sanitaire **
8 groupe de sécurité **
9 évacuation groupe de sécurité **
10 évacuation vers l'égout **
11 réducteur de pression **
12 vase d'expansion sanitaire **
13 clapet anti-retour **
14 pompe de charge ballon **
** accessoires non fournis
Danger: Par électrocution.
- Avant d'entamer les travaux, couper l'alimentation électrique.
6.1 Netaansluiting
6.1 Raccordement au réseau
Les prescriptions de la compagnie d'électricité locale et le règlement sur les installations électriques (R.G.I.E.), sont à observer strictement.
Les ballons sont agréées IP 20.
▶ La tension d'alimentation doit être 230 V/AC – 50 Hz (monophasé).
L'alimentation électrique doit être protégée par un disjoncteur ou fusible de 6 A.
▶ Raccordement à la terre obligatoire.
6.2 Chaudière avec pompe de charge ballon et avec réglage électronique via CTN
Le réglage de la température de l'eau chaude sanitaire s'effectue sur le régulateur de la chaudière.
▶ Extraire le bulbe du thermomètre (fig. 7 – n°. 10) du doigt de gant (fig. 7 – n°. 7) - accès par le dessus du ballon (fig. 7).
▶ Faire passer le bulbe de la sonde sanitaire livrée avec la chaudière par le bouchon (fig. 7 - E).
Enfoncer au maximum le bulbe de la sonde sanitaire à l'intérieur du doigt de gant (fig. 7 - n°. 7) pour assurer un contact thermique satisfaisant.
- Repositionner le bulbe du thermomètre au maximum dans le doigt de gant (fig. 7 – D) prévu à cet effet dans l'isolation.

text_image
D E 9 D 10 Fig. 7
text_image
17 16 18 7 9 21 10 C BS 13-06.3 Boileraquastaat
6.3.1 Algemeen
6.3.2 Montage van de aquastaat
L'aquastat (livré séparément) doit être monté dans les ballons BS... quand lorsque ceux-ci sont raccordés à une chaudière qui nécessite un ballon avec aquastat.
Nr Omschrijving
1 aquastat (réglage usine 20/80°C – différentiel 6°C)
1.1 vis (2 pièces)
2 bouton aquastat
3 enjoliveur aquastat
4 câble de raccordement
Fig. 8
6.3.2 Montage de l'aquastat
Pour faciliter le raccordement électrique de l'aquastat (fig. 8 - n°. 1), il est préférable de connecter le câble (fig. 8 - n°. 4) à l'aquastat (fig. 8 - n.° 1) avant d'installer ce dernier.
▶ De moer van de wartel (D) aan de achterkant van de kap van de bovenkant van de boiler losdraaien.
▶ Geleid de 4-aderige kabel (4) door het gat en herbevestig de wartel (D) met de moer. De kabelschoen moet zich aande binnenzijde van de kap van de bovenkant bevinden.
Dévisser l'écrou du presse-étoupe (D) présent à l'arrière du capot du dessus du ballon.
Faire passer le câble de raccordement - 4 fils (4) dans le trou et refixer le presse-étoupe (D) au moyen de son écrou. La partie cosse du câble sera à positionner côté intérieur du capot de dessus.
Fig. 11

▶ Réaliser le raccordement des fils vert/jaune, noir, marron et gris du câble 4 fils (4) de l'aquastat:
- fil marron sur la borne 1 (M),
- fil noir sur borne C (N),
- fil gris sur borne 2 (G),
- shunt vert/jaune (V/J) sur la cosse de masse sur le côté de l'aguastat.

Les cosses doivent être enfoncées au maximum.
Fig. 13
▶ De as van de aquastaat (1) door het gat (F) in de kap van de bovenkant steken.
▶ Lipjes verticaal geplaatst, aardingsklem aan de kant van de uitloop sanitair warm water (2).
Faire passer l'axe du corps de l'aquastat (1) par l'orifice (F) prévu à cet effet dans le capot du dessus.
▶ Languettes positionnées verticalement, cosse de masse côté sortie eau chaude sanitaire (2).
Fig. 14
Langs de buitenzijde: plaats het afdekplaatje (3) (merkteken aan de kant van de uitloop sanitair warm water (2) en horizontaal).
▶ Alles bevestigen met de 2 schroeven (1.1).
Par l'extérieur: positionner l'enjoliveur (3) (marquage côté sortie eau chaude sanitaire (2) et horizontalement).
▶ Maintenir le tout à l'aide des 2 vis fournies (1.1).
Fig. 15

▶ Plaats de knop (2) op de as van de aquastaat.
▶ Positionner le bouton (2) sur l'axe de l'aquastat.
Fig. 16

Raccorder le ballon à la masse.
▶ Réaliser le raccordement du fil vert/jaune (V/J) du câble 4 fils (4) sur la masse de la bride de trappe du ballon (I). (Vis et rondelle éventail en attente sur la bride de trappe du ballon).
Fig. 17
▶ Retirer le bulbe (J) du thermomètre du doigt de gant.
- Introduire délicatement le bulbe (K) de l'aquastat dans le doigt de gant.

L'enfoncer au maximum à l'intérieur du doigt de gant de façon à assurer un contact thermique satisfaisant,
Fig. 18
6.3.3 Schéma électrique

text_image
230 V 50 Hz L N aansluitdoos boîtier de dérivation boilerlaadpomp pompe de charge ballon grijs / gris zwart / noir bruin / marron groen-geel / vert-jaune BS 9 BS-12.0Fig. 19
6.3.4 Chaudière avec pompe de charge ballon et sans réglage électronique via CTN (fig. 19)
Le thermostat (9) met en service la pompe de charge ballon qui alimente l'échangeur du ballon en cas de demande sanitaire.
▶ Raccorder la pompe de charge ballon comme indiqué à la fig. 19.
▶ Le circulateur cc doit être débranché lors de demande de chaleur sanitaire. Ceci peut evtl. se faire en montant en série l'alimentation du circulateur cc avec le contact inverseur de l'aquastat du ballon (fils noir et gris).
7. INBEDRIJFNAME
7. MISE EN SERVICE
7.1 Note pour l'installateur
Après la mise en service, mettre l'usager au courant de la manipulation et du fonctionnement du ballon.
Attirer son attention sur le fait qu'en aucun cas le fonctionnement du groupe de sécurité ne peut être entravé.
Remettre le présent document.
7.2 Remplissage en eau de l'installation
▶ Remplissage de l'installation:
• se référer à la notice de la chaudière,
▶ Remplissage du ballon:
- lorsque la chaudière est en pression, la pompe de charge ballon est en eau, la purge du serpentin du ballon se fera lors de la mise en route de la pompe de charge ballon,
- effectuer la mise en eau du ballon à l'aide du groupe de sécurité de l'installation en prenant soin d'ouvrir un robinet d'eau chaude,
- après remplissage, vérifier le serrage de la trappe de visite du ballon.
▶ Effectuer une purge efficace du ballon et de l'installation après mise en eau.
7.3 Vérification avant la mise en service
▶ Vérifier le serrage et l'étanchéité de la trappe de visite du ballon (fig. 2, n°. 8).
▶ Vérifier l'étanchéité des divers joints et raccords que comporte l'installation.
▶ Vérifier la purge du circuit primaire.
▶ Vérifier que le raccordement électrique est correct.
Vérifier, de manière à garantir les performances annoncées, que le robinet d'eau froide du groupe de sécurité est réglé pour obtenir le débit continu souhaité (voir § 4.2).
7.4 Information de l'utilisateur
Il appartient à l'installateur d'informer l'utilisateur du mode de fonctionnement de l'appareil. L'utilisateur doit en particulier être informé sur le rôle et le fonctionnement des sécurités et la nécessité de faire procéder à un entretien régulier par un professionnel qualifié.
7.5 Inbedrijfname
Voir aussi la notice technique de la chaudière pour le réglage de la température d'eau chaude sanitaire.
Remarque:
Une température de stockage de 55°C est généralement suffisante pour couvrir les besoins courants en eau chaude. Plus la température de stockage est élevée, plus les pertes thermiques augmentent.

On notera que pendant la montée en température du ballon, un peu d'eau s'échappe du groupe de sécurité. Cette situation est normale.
- Cette évacuation ne doit en aucun cas être obturée (expansion de l'eau).
▶ Mettre en service la chaudière.
7.5.1 Chaudière avec pompe de charge ballon et sans réglage électronique via CTN
- Régler le thermostat de réglage température sanitaire (fig. 20 – n°. 9) en fonction de la température choisie.
Réglage conseillé 55/60°C (lecture sur le thermomètre (n°. 10)). Ce réglage permet de limiter les pertes thermiques et l'entartrage tout en se prémunissant contre le risque de prolifération de légionelles en cas de contamination de l'eau froide sanitaire.
▶ Régler le thermostat chaudière à une température supérieure à celle du ballon. - Régler toujours à une valeur supérieure d'au moins 10°C à celle de la température de stockage désirée dans le ballon, mais jamais à une valeur supérieure à 85°C pour éviter le déclenchement intempestif des sécurités thermiques (réglage idéal chaudière = 75°C, ballon = 60°C).
9 thermostat de réglage température sanitaire
10 thermomètre
Fig. 20
7.5.2 Chaudière avec pompe de charge ballon et avec réglage électronique via CTN
Lorsque la chaudière est équipée d'une régulation électronique, le réglage de la température de l'eau chaude sanitaire s'effectue sur le régulateur de la chaudière.
Le thermostat de réglage de la température sanitaire (fig. 20 - n°.. 9) du boiler BS n'est pas actif.
▶ Voir le manuel de la chaudière.
8. ONDERHOUD
8. ENTRETIEN

Danger: Par électrocution.
- Avant d'entamer les travaux, couper l'alimentation électrique.
L'entretien peut être effectué uniquement par un installateur, un homme de métier agréé ou par le service après-vente de l'usine.
▶ Utiliser uniquement des pièces de rechange d'origine.
Commander les pièces de rechange conformément à la liste de pièces de rechange de la chaudière (voir site web www.junkers.be).
▶ Remplacer les joints et les joints toniques d'étanchéité démontés par des neufs.
8.1 Contrôle mensuel
Régler, une fois par mois, le sélecteur de température de l'eau sanitaire de la chaudière au maximum pendant 1 heure comme désinfection thermique. Ceci évite la formation des bactéries nuisibles comme la bactérie du légionnaire, dans le ballon. Après que le ballon a atteint la température maximale, faites couler une quantité d'eau chaude via un robinet de puisage. Contrôler également le groupe de sécurité.
8.2 Désinfection thermique
L'entière installation d'eau chaude y compris les points de puisage doit régulièrement être désinfectée thermiquement (voir prescriptions locales et/ou nationales).

Avertissement: risques de brûlure!! Ne procéder à une désinfection thermique que dehors les heures d'utilisation normales.
Prévenir tous les habitants du risque de brûlure.
8.3 Entretien du ballon (fig. 21)
Dans les régions à eau de réseau très dure et si le nettoyage du ballon doit être effectué fréquemment, la solution idéale est la pose d'un système de traitement anticalcaire sur l'entrée d'eau froide de l'installation.
Régler la température sanitaire sur une valeur inférieure à 60°C. Au delà de 60°C, la précipitation du calcaire est accentuée.

text_image
17 16 18 19 20 86 720 803 565-01 (2013/06 BL -NL/FR)
▶ Si une visite du ballon a lieu par la trappe de visite (8) prévue à cet effet:
• ôter la plaque de protection (16) - retrait des 3 vis (17),
• retirer l'isolation (18),
• démonter l'ensemble trappe de visite (8), bride de trappe (19) et joint (20),
- remplacer le joint de la trappe 20) à chaque démontage de celle-ci,
- remonter le tout,
- après la remise en eau:
- vérifier l'étanchéité,
- effectuer une purge efficace du ballon.
Fig. 21
8.4 Lediging
La vidange du ballon peut être réalisée par siphonnage par le groupe de sécurité à condition que celui-ci soit installé au niveau de la partie inférieure du ballon.
Prévoir une entrée d'air en ouvrant un robinet d'eau chaude.
8.5 Groupe de sécurité
Contrôler le fonctionnement de la soupape du groupe de sécurité et la rincer en la purgeant brièvement à plusieurs reprises. Une soupape ne travaillant pas correctement peut provoquer des dommages dus à une pression excessive.
Faire procéder à son remplacement en cas de mauvais fonctionnement ou de fuite (écoulement permanent de la soupape).

Le raccordement entre ballon et groupe de sécurité ne peut JAMAIS être fermée.
8.6 Remplacement du thermostat ou du thermomètre (fig. 22)
8.6.1-Bulbes positionnés dans le doigt de gant (7)
▶ Thermostat de réglage de la température sanitaire (9).
▶ Thermomètre (10).
8.6.2 Remplacer thermostat ou thermomètre
▶ Oter la plaque de protection (16) - retrait des 3 vis (17).
▶ Retirer l'isolation (18).
▶ Extraire délicatement les bulbes du doigt de gant (7).
8.6.3 Thermostat
▶ Oter le bouton (21) du thermostat de réglage (9).
Dévisser les 2 vis de fixation (C) du thermostat (9).
▶ Démonter le thermostat (9) défectueux et le remplacer.
▶ Positionner le bulbe dans le doigt de gant (7). De façon à assurer un contact thermique satisfaisant, l'enfoncer au maximum à l'intérieur du doigt de gant.

Si le ballon est raccordé à une chaudière avec réglage électronique via sonde CTN, le bulbe du thermostat de réglage (9) sera remplacé par celui de la sonde sanitaire.
8.6.4 Thermomètre
- Démonter le thermomètre (10) défectueux et le remplacer. - Positionner le bulbe du thermomètre (10) dans le doigt de gant (D). De façon à assurer un contact thermique satisfaisant, l'enfoncer au maximum à l'intérieur du doigt de gant.

text_image
17 16 18 7 9 21 10 C BS 13-09. MILIEUBESCHERMING
La protection de l'environnement est l'une des priorités de Bosch et de Junkers. Nous développons et fabriquons des produits sûrs, respectueux de l'environnement et économiques. Nos produits contribuent à l'amélioration des conditions de sécurité et de santé ainsi qu'à la réduction des impacts sur l'environnement car ils peuvent être recyclés et supprimés.
Emballage
Tous les matériaux utilisés dans nos emballages sont recyclables. La gestion et l'acheminement de tous les déchets d'emballage sont en effet pris en charge par les organismes nationaux dûment qualifiés.
Fin de vie des chaudières
Toutes les chaudières contiennent des matériaux réutilisables et recyclables. Les différents composants de la chaudière sont faciles à séparer. Ce système permet d'effectuer un tri de tous les composants pour une future réutilisation ou un futur recyclage.
10. BELANGRIJKE NOTA'S
Vous trouverez l'indication du type et le numéro de série (avec numéro FD) sur la plaque signalétique du ballon. Veuillez mentionner ces données sur la carte de garantie et lors de chaque contact avec votre l'installateur ou avec notre service après-vente.
VOORBEELD VAN EEN KENPLAATJE
| JUNKERSBosch Thermotechnik GmbHGeschäftsbereich JunkersD-73249 Wernau - Deutschland | ||
| 00 | N° de série 5970-203-002198-7716850800 | |
| NOM : BALLON D'EAU CHAUDE SANITAIREType : BS 100Capacité sanitaire: 100 Capacité primaire: 5,1Pression maxi sanitaire / primaire: 10 barTempérature maxi: 80°CAlimentation électrique: 230 V – 50 Hz – IP 20 | ||
| NAME : WARMWASSERSPEICHERTyp : BS 100Speicherinhalt – WW: 100 Inhalt-Primär: 5,1Max. Druck-WW / Druck-Heizung: 10 barMax. Temperatur: 80°CElektr. Anschluss: 230 V – 50 Hz – IP 20 | ||
| NAAM : SANITAIRE WARMWATERBOILERType : BS 100Sanitaire capaciteit: 100 Primaire capaciteit: 5,1Max. druk sanitair / primair: 10 barMax. temperatuur: 80°CSpanning: 230 V – 50 Hz – IP 20 | ||
| Bosch Thermotechnology nv/sa: TEL: 03 887 20 60 | ||
EXEMPLE D'UNE PLAQUE SIGNALETIQUE

fabricagedatum (FD = 203 in dit voorbeeld) date de fabrication (FD = 203 dans cet exemple)
INSTALLATEUR
11. WAARBORG
La garantie accordée n'est valable que si l'installation est rigoureusement conforme aux présentes prescriptions et si l'installation entière est correctement effectuée.
La garantie est applicable suivant les conditions reprises sur la carte de garantie. Celle-ci doit être complétée du type et du numéro de série, indiqué sur la plaque d'immatriculation du ballon et retournée à Bosch Thermotechnology sa dès la mise en service.

TIP: Envoyer la carte de garantie immédiatement après la mise en service. Ceci facilitera les contacts.
| SERVICEDIENST(met techniekers uit Uw regio) | SERVICE APRES-VENTE(avec techniciens de votre région) |
Bosch Thermotechnology sa tient un service après-vente à la disposition de l'installateur et de l'usager.
En cas de difficulté, adressez-vous à Bosch Thermotechnology sa (service après-vente officiel du fabricant).
![]() ![]() | Bosch Thermotechnology nv/saKontichsesteenweg 602630 Aartselaar | |
| ALGEMEEN NUMMERNUMERO GENERAL | 03 887 20 60 | |
| FAX 03 877 01 29 | ||
| info@junkers.bewww.junkers.be | ||
| DIENST NA VERKOOPonderhoud & herstellingenSERVICE APRES-VENTeentretien & réparations | 078 05 02 10 | |
| FAX 078 05 02 11 | ||
| service@junkers.be | ||
| TECHNISCH ADVIESCONSEIL TECHNIQUE | 03 880 71 02 | |
| FAX 03 888 91 56 | ||
| technics@junkers.be | ||
| MARKETING & DOCUMENTATIEMARKETING & DOCUMENTATION | 03 880 71 03 | |
| FAX 03 877 01 29 | ||
| sales@junkers.be | ||
| VERKOOPbestellingen & wisselstukkenVENTecommandes & pièces de rechange | 03 880 71 01 | |
| FAX 03 887 01 03 | ||
| sales@junkers.be | ||
| FAX 03 887 01 03 | ||
| sales@junkers.be | ||
BELANGRIJKE OPMERKING
REMARQUE IMPORTANTE

EEN JAARLIJKSE ONDERHOUDSBEURT IS AANBEVOLEN.
Faites appel à un installateur agréé ou au service après-vente de JUNKERS.
Toute reproduction interdite sans accord préalable de l'éditeur. Sous réserve de modifications.
PVM

Notice Facile 
