AMC 5015 - Porte-bagages Mont Blanc - Notice d'utilisation et mode d'emploi gratuit
Retrouvez gratuitement la notice de l'appareil AMC 5015 Mont Blanc au format PDF.
| Caractéristiques techniques | Porte-bagages Mont Blanc AMC 5015, capacité de charge maximale de 25 kg, compatible avec la plupart des vélos. |
|---|---|
| Matériaux | Acier robuste avec finition anti-corrosion pour une durabilité accrue. |
| Dimensions | Dimensions adaptées pour un montage sur le cadre arrière des vélos standards. |
| Utilisation | Idéal pour transporter des sacs, des paniers ou des équipements lors de balades à vélo. |
| Installation | Installation facile avec des outils de base, instructions fournies dans le manuel. |
| Maintenance | Vérifier régulièrement les fixations et l'état général, nettoyer avec un chiffon humide. |
| Sécurité | Assurez-vous que le porte-bagages est correctement fixé avant chaque utilisation pour éviter les accidents. |
| Informations générales | Produit conçu pour les cyclistes cherchant à augmenter leur capacité de transport sans compromettre la sécurité. |
FOIRE AUX QUESTIONS - AMC 5015 Mont Blanc
Questions des utilisateurs sur AMC 5015 Mont Blanc
0 question sur cet appareil. Repondez a celles que vous connaissez ou posez la votre.
Poser une nouvelle question sur cet appareil
Téléchargez la notice de votre Porte-bagages au format PDF gratuitement ! Retrouvez votre notice AMC 5015 - Mont Blanc et reprennez votre appareil électronique en main. Sur cette page sont publiés tous les documents nécessaires à l'utilisation de votre appareil AMC 5015 de la marque Mont Blanc.
MODE D'EMPLOI AMC 5015 Mont Blanc
(2) Vehicle without original longitudinal bars. Véhicule sans barres longitudinalités d'origine - Fahrzeug ohne originalischandlung - Veicoli serza barres longitudinali - Véhiculo sin barres longitudinales de l'origine - Samodoché benzoylorigina réelingovia - Voertsgel der origine longitudinale - Véhiculo sem barres longitudinali dans le geridin - Gyllor hystrolatyniu naduk nélkět zégrépármu - Auroaxiomnoides pachyderma (1970)

Pour en savant plus:
q'quefairedemesdechets.fr

05768A16-1
Mont Blanc France 24-30 Rue Claude Bernard - C.S.61768
35417 Saint Malo Cedex - France
Office: +33 (0) 2 99 21 12 70
Office: 133(8)209211271
Fax. +33 (0)2 99 21 12 71
www.montblancgroup.com

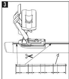
Assembly - Assemblage - Fijaciones - Montage - Assemblaggio - Montagens - Assemblages - Montaž - Összeszerelés - C6opka - Ansamlbu - Montáz - Montáz - Monitoring - Crno6bahe - Birleştime - KcnadnHH - Suvδεσειc - Montage




Fitting on vehicle - Montage sur vehelc - Colocation en vehelcs - Montage auf Fahrzeug - Montaggio su veicoli - Montage op voertuigen - Montagens en vehiculs - Montowanie na pojazdash - Felszereles gepjarmure - Montaxn ha automobunb - Montaj pe vehulc - Upevnenie na vozdila - Montaz na vozidl - Monitoring p alib - Montparane b-pxpya automobuna - Araq uberine montaj - Bctanabennha ha automobini - Totoettno str 0xma - Montage na keretje






EN Tighten alternatively left right
FR Serrer alternativem a gauche et a drole
ES Astuable trirano da derecha e izuicarda
DE Abwechselnd nach links undrecht festrehen
IT Chidrude alternativamente a sinistra e a destra
NL Awissellend links/rechts vastzellen
PT Entocar alternadamente a esquira e a direira
DL Montowac naipiewa lewa stronga a nasteprieia prawea
TR Suizza mea beg a jobie o'dolffivalva
TJ Dostanei mea ab a jobie o'delviva
RQ Strojnej alternative al slaiga y al drepaia
SK Dot'ahutie struedna na favej a na pravei strane
CS Dotahutie stufdne na ve a na pravei strane
SV Dae fast vlasovi vänster och geanae
BG 3arenere nocepoatnoe mianko an trokado.
TR Donugulmi voie saag sikan
UK 3arns nope nicoia rnpovoo.
EL 2yglx vveKoAek&do kao nporopoi
DA Dae fast vlasovi vänster och geanae


8 EN For the guarantee to be validable, the实效e must be audited under the rule of the four bar.
9 EPR Pour la garantie a qu'applique: le faississement et l'invertissement code laufant une das
10 Es Paraient la garantia, es nécessairement et preciencé de reccive peditoige bajo de une de las baras.
11 Deitme der Garantie gillig. mulls die Kiesbete zingwirand unter ein den Dacthirtigen angebrachten festen.
12 lt Garantia s升值 solo ie Fadenei stalipatico otouna delle barre.
13 Nc Opatd at wartong zu giden is het imperativer van die zelteleper op eier dragen te klowen.
14 Pnraa que a garantia posser ser a ciepe de la colecte en zabo de una das baras.
15 PL Aby cacharaw, garantia, nakey iakneik nakekje podz be zebe.
16 Hua a garantia evendeyemagata, lecae y acogic roj adala feke krigassertan.
17 Rau Taperines jeltechtenrana toruco zaccharine naocnog no opoeim ne xepnerien.
18 Pintura cia gai sa poshd t hao 10000000000000000000000000000000000000000000000000000000000000000000000000000000000000000000000000000

Notice Facile