AMC 5023 - Porte-bagages Mont Blanc - Notice d'utilisation et mode d'emploi gratuit
Retrouvez gratuitement la notice de l'appareil AMC 5023 Mont Blanc au format PDF.
| Caractéristiques techniques | Porte-bagages Mont Blanc AMC 5023, capacité de charge maximale de 25 kg, compatible avec la plupart des vélos. |
|---|---|
| Matériaux | Construction en aluminium léger et résistant à la corrosion. |
| Dimensions | Dimensions adaptées pour une installation sur le cadre de vélo standard. |
| Utilisation | Idéal pour transporter des sacs, paniers ou autres accessoires de vélo lors de vos déplacements. |
| Installation | Facile à installer avec des outils de base, instructions d'installation incluses. |
| Maintenance | Vérifier régulièrement les fixations et nettoyer avec un chiffon humide pour éviter la corrosion. |
| Sécurité | Assurez-vous que le porte-bagages est correctement fixé avant chaque utilisation. |
| Informations générales | Produit conçu pour une utilisation sur route, ne pas dépasser la charge maximale recommandée. |
FOIRE AUX QUESTIONS - AMC 5023 Mont Blanc
Questions des utilisateurs sur AMC 5023 Mont Blanc
0 question sur cet appareil. Repondez a celles que vous connaissez ou posez la votre.
Poser une nouvelle question sur cet appareil
Téléchargez la notice de votre Porte-bagages au format PDF gratuitement ! Retrouvez votre notice AMC 5023 - Mont Blanc et reprennez votre appareil électronique en main. Sur cette page sont publiés tous les documents nécessaires à l'utilisation de votre appareil AMC 5023 de la marque Mont Blanc.
MODE D'EMPLOI AMC 5023 Mont Blanc
Office : +33 (0) 29 91 21 72 70Fax : +33 (0) 29 91 21 72 71
www.montblancgroup.com

EN Keep these instructions for future use.
FR Garder cette notice pour les utilisations futures.
ES Guardar este manual para futuras开发利用as.
DE Die Anleitung zur späteren Benutzung aufbewahren.
11 Conservare queste istruzioni per oghi ultriere consulazione. N. Power does not exhibit coercive using togetherness, rediplining
REBewaar deze gebruksaanwijing voor toekomstige raa BTGuardar otoe mannapara utilizaoes futurae
P1. Zachowáś instructurcie w przywnadku uzywtkowyania w przyszȩci
Uzioze meg z ahasnali utasitst kesobbl flesnaslceliabol
RU CoXpaHnTE 3Tu HnCTpyKUHO nla DaIbHeuero nonb3ObaHn.
RO Pastrati instructiunile pentru consultarea lor ulterioroara
SK Tento navod si uchovajte pre d'alsie po
CS Uschovte navod pro pozdějsi použiti.
SV Behäll denna information für framtida b
EG3ana3e Hactoata6beJka 3a 6bdeu cnpabkn
1 Bu bilgileri ileride kullanmak uzere saklayir
36epexitbio hctpykuio IIO naIbwoBnKOpNCTAHNN
ELΦuaTe auto to EYxepiBIO oOnyiw yia eAAovTKeC xnpoeic.
DA Gem denne vegjedning til senere brug.

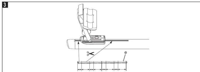
Assembly - Assemblage - Fijaciones - Montage - Assemblaggio - Montagens - Assemblages - Montaţă - Összeszerelès - C6opka - Ansamblu - Montăță - Montăng - Monitoring - Crno6baene - Birleştrime - Ckndañdànnu - Šυνδεσιç - Montage





Fitting on vehicle - Montage sur vehelcle - Colocation en vehelculs - Montage auf Fahrzeug - Montaggio su veicoli - Montage op voertuigen - Montagens em vehelculos - Montowanie na pojazdash - Felszerrigge gepärmüre - Montaxk ha automobunb - Montaj pe vehiclur - Upevnenie na voziidla - Monta na vozidl - Monitoring pali be - Montiparne bpyx automobuna - Araç überine montaj - BCTaohenbna ha automobini - TotoθeTrgσ Ωτοχμα - Montage pa kørtejoser


2





3
Notice Facile