OCEACPM2G2V - Cuisinière OCEANIC - Notice d'utilisation et mode d'emploi gratuit
Retrouvez gratuitement la notice de l'appareil OCEACPM2G2V OCEANIC au format PDF.
| Caractéristiques techniques | Cuisinière OCEANIC OCEACPM2G2V avec 4 foyers, four à convection, et commandes mécaniques. |
|---|---|
| Dimensions | Largeur : 60 cm, Profondeur : 60 cm, Hauteur : 85 cm. |
| Type de cuisson | Gaz avec allumage électronique. |
| Capacité du four | 60 litres. |
| Utilisation | Idéale pour la cuisson de plats variés, avec plusieurs niveaux de chaleur. |
| Entretien | Nettoyage facile grâce à des surfaces lisses et des grilles amovibles. |
| Maintenance | Vérification régulière des brûleurs et nettoyage des résidus alimentaires. |
| Sécurité | Système de sécurité gaz intégré pour éviter les fuites. |
| Informations générales | Produit conforme aux normes de sécurité européennes, garantie de 2 ans. |
FOIRE AUX QUESTIONS - OCEACPM2G2V OCEANIC
Questions des utilisateurs sur OCEACPM2G2V OCEANIC
0 question sur cet appareil. Repondez a celles que vous connaissez ou posez la votre.
Poser une nouvelle question sur cet appareil
Téléchargez la notice de votre Cuisinière au format PDF gratuitement ! Retrouvez votre notice OCEACPM2G2V - OCEANIC et reprennez votre appareil électronique en main. Sur cette page sont publiés tous les documents nécessaires à l'utilisation de votre appareil OCEACPM2G2V de la marque OCEANIC.
MODE D'EMPLOI OCEACPM2G2V OCEANIC
Notre objectif est de vous offrir des produits de qualité supérieur qui sont au-delà de vos attentes. C'est pourquoi nous les fabriquons dans des infrastructures modernes soignement et particulièrement testées pour leur qualité.
Ce manuel contient toutes les informations nécessaires à l'utilisation de cet apparéil concu avec une technologie de pointe, en toute confiance et efficacité.
Avant de commencer à utiliser votre apparéil, nous vous sugérons de dire ce guide qui contient tous les renseignements de base pour une installation correcte et fiable, l'entretien l'utilisation du produit. Veuillez contacter le service/agree le plus proche pour procéder à l'installation de votre apparéil.
Déclaration de conformité CE
Cet apparéil a été créé pour être utilisé uniquement à des fins de cuisson domestique. Toutte autre forme d'utilisation (le chauffage d'unepiece par exemple) est inappropriée et dangereuse.
Cet apparéil a été créé, construit, et commercialisé conformément aux :
- Consignes de sécurité de la directive 2009/142/CE portant sur le « gaz »;
- Consignes de sécurité de la directive 2006/95/CE portant sur la «asse tension »;
- Consignes de sécurité de la directive 2004/108/CE portant sur l'« EMC »;
- Consignes relatives à la directive 93/68/CE.
TABLE DES MATIÈRES
- BRÈVE PRÉSENTATION DU PRODUIT
2.AVERTISSEMENTS - INSTALLATION ET PREPARATION À L'UTILISATION
3.1:Environnement d'installation de l'appareil
3.2: Installation de l'appareil
3.3 Raccordement au gaz
3.4 Conversions des gaz
3.5 Branchement électrique de votre table de cuisson
- UTILISATION DE VOTRE FOUR
4.1: Utilisation des brûleurs
4.2 Commande des brûleurs de la table de cuisson
4.3 Commande des brûleurs des plaques électriques
4.4 Accessoires
- NETTOYAGE ET ENTRETIEN
5.1:Nettoyage
5.2: Entretien
- SERVICE APRES-VENTE ET TRANSPORT
6.1:Dépannage de base à effectuer avant de contacter le service Clients
6.2:Informations relatives au transport
Remarque: Tous les chiffres figurant dans le manuel sont illustratifs.



1 - Chauffage électric (145 mm)
2 Brûleur semi-rapide
3- Brûleur auxiliaire
4 Brûleur rapide
5-boutons de commande
6 - Chauffage électrique (180 mm)
7 Plan de travail
8-Plateau de support
9-Chauffage électrique (Double 180 mm)
2.CONSIGNES DE SECURITE
LISEZ ATTENTIVEMENT ET ENTIEREMENT CETTE NOTICE AVANT D'UTILISER VOTRE APPAREIL DE CUISSON, ET CONSERVEZ-LA AFIN DE POUVOIR LA CONSULTER LORSQUE CE SERA NECESSAIRE.
Cette notice est consue pour plusieurs modles. Notre apparéil de cuisson n'est peut-être pas équiné de toutes les caractéristiques décrites dans cette notice. Veuillez contrôle dans la notice les caractéristiques dans les paragraphs responsant des images.
Consignes de sécurité générales:
- La fabrication de votre apparéil de cuisson respecte toutes les normes et réglementations nationales et internationales en vigueur en la matière.
- Les travaux de maintenance et d'entretien doivent être effectuels exclusivement par des techniciens qualifiés. Les travaux de réparation et d'entretien effectuels par des personnes non-qualifiées vous exposer à des dangers. Il est fortement déconseilé de modifier les spécifications de votre apparéil de cuisson de chaque manière que ce soit. Evitez d'effectuer vous-mêmes les réparations au risque d'être victime d'une électrocution.
- Avant l'installation, assurez-vous que les conditions de distribution locale (nature et pression du gaz, tension et fréquence de l'électricité) sont compatibles avec les caractéristiques indiquées sur la plaque signalétique de votre apparéil de cuisson. En cas de dommage provoqué par un branchement ou une installation inadaptée, la garantie ne sera pas valide.
- La sécurité électrique de votre apparéil de cuisson n'est garantie que s'il est branché à une alimentation électrique avec terre, conforme aux normes de sécurité électrique en vigueur. Si vous n'étés pas sur de votre installation électrique avec terre, consultez unElectricien qualifié.
- ATTENTION: Notre apparéil de cuisson est conçu uniquement pour la cuisson des alimentés et il est prévu uniquement pour un usage domestique. Il ne doit absolument pas être utilisé à d'autres fins, par exemple, dans un environnement commercial ou pour le réchauffage d'une salle. La responsabilité du fabricant ne saurait êtreengage en cas de dommages liés à une utilisation inappropriée, incorrecte, ou néligente
- Cet apparéil de cuisson ne doit pas être utilisé par des enfants de moins de 8 ans, ou par des personnes dont les capacités physiques, sensorielles ou mentales sont limitées, ou manquant d'expérience ou de connaissances requises, les empêchant d'utiliser cet apparéil de cuisson sans risque lorsqu'ils sont sans surveillance ou en l'absence d'instructions d'une personne responsable leur assurant une utilisation de l' apparéil de cuisson sans danger, après une explication des risques auxquels ils s'exposent. Les enfants ne doivent pas jouer avec l' apparéil de cuisson. Les
opérations de nettoyage et d'entretien effectués par des enfants doivent se faire sous la supervision d'une personne responsable.
- Cet apparéil de cuisson n'est pas connecté à un dispositif de d'évacuation des produits de la combustion. Il doit être installé et raccordé conformément aux règles d'installation en vigueur. Une attention particulière doit être accordée aux exigences concernant la ventilation.
- Si au bout de 15 secondes le brûleur gaz ne s'est pas allumé, fermez la manette du brûleur concerné, ouvre la porte de la cuisine et attendez au moins une minute avant d'essayer de le rallumer à nouveau.
- Ces instructions ne sont valides que si le symbole du pays est sur votre apparéil de cuisson. Si le symbole du pays n'est pas sur votre apparéil de cuisson, il importe de se référer aux instructions techniques fournissant les informations nécessaires relatives aux conditions d'utilisation particulières
MISE EN GARDE : L'appareil et ses parties accessibles peuvent devenir très chauds durant l'utilisation. Attention à ne pas toucher les éléments chauffants. Les enfants de moins de 8 ans doivent être maintainus à l'écart sauf s'ils sont constamment supervisés. AVERTISSEMENT: Pendant l'utilisation, tous les éléments accessibles de votre apparéil de cuisson deviennent chauds, et gardent pendant un certain temps leur température élevée, même quand l' apparéil de cuisson est arrêté. Ne touche pas les surfaces chaudes (manettes et poignée du four comprise) et empêchez les enfants de moins de 8 ans d'approcher de l' apparéil de cuisson. Il est recommendé de laisser refroidir les parties directement exposées à la chaleur avant de les toucher.
AVERTISSEMENT: Ne laissez pas votre apparéil de cuisson sans surveillance lorsque vous faites cuire des matières grasses liquides ou solides, des huiles liquides ou solides. Portées à très haute température, ces matières peuvent
prénde feu et engendrer un incendie. N'ESSAYEZ jamais d'éteindre avec de l'eau des flammes provenant d'huile en feu, mais éteignez votre apparéil de cuisson et couvrez la casserole ou la poèle avec un couvercle, afin d'étouffer la flamme. Si vous avez une hotte, ne jamais la metre en route sans surveillance quand vous faites chauffer de l'huile. Ne laissez pas de matière inflammable pres de votre apparéil de cuisson lorsqu'il fonctionne.
MISE EN GARDE: Danger de feu: Ne jamais placer d'objets sur la plaque de cuisson. AVERTISSEMENT: Risque d'incendie: Ne rangez pas d'objets sur les surfaces de cuisson et ne rangez aucun contenant pressurisé tel que les aérosols, les matériaux inflammables (objets en papier, en plastique et en tissu), dans le tiroir placé sous le four ou sous la plaque de cuisson. Les ustensiles de cuisine en plastique en font également partie (ainsi que les manches d'ustensiles).
MISE EN GARDE: Si la surface est fêlée, déconnecter l'appareil de l'alimentation
pour éviter un risque de chocolélectrique. AVERTISSEMENT: Si votre apparéil de cuisson est équipé d'un plan de cuisson en verre (vitre ou induction) et si la surface est fissurée, mettez les manéttes sur "0" pour éviter un eventuel chocolélectrique. De même, si des fissures apparaissent sur les plaques electriques, il est impératif d'arrêter immédiatement l'alimentation electrique afin de prévenir toute electrocution.
Il convient d'enlever du couvercle tout résidu de débordement avant de l'ouvrir. Si votre apparéil de cuisson est équipé d'un couvercle, ce couvercle doit être soulevé avant la mise en fonction des zones de cuisson. Avant deREFER mer le couvercle, il faut s'assurer que l' apparéil de cuisson a bien refroidi. Les couvercles en verre peuvent se casser lorsqu'ils sont chauffés. Éteignez tous les brûleurs avant de fermer le couvercle.
Cet apparéil n'est pas destiné à être mis en fonctionnement au moyen d'une minutes extérieure ou par un système de commande à distance séparé. Notre apparéil de cuisson ne doit jamais être branché sur une rallonge, sur une minutes extérieure, une prise triplite ou un système de commande à distance séparée ou tout autre dispositif qui mettrait l' apparéil sous tension automatiquement.
-
N'utilisez pas des produits de nettoyage abrasifs, des crèmes caustiques, des éponges abrasives ou des grattoirs métalliques pour nettoyer tous les éléments de votre apparéil de cuisson (verre, émail, inox, plastique et peinture), car cela raierait les surfaces, et pourrait entraîner l'éclatement des surfaces en verre ou la destruction des autres éléments de votre apparéil de cuisson. Ne pas utiliser de produits d'entretien abrasifs ou de grattoirs métalliques durs pour nettoyer la porte en verre du four, ce qui pourrait érafler la surface et entraîner l'éclatement du verre.
-
N'utilisez pas de nettoyeurs à vapeur pour nettoyer votre apparéil de cuisson.
-
Toutes les mesures de sécurité possibles ont été prises pour garantir votre sécurité. Pour éviter de casser les éléments en verre, vous doivent faire attention de ne pas les rayer pendant le nettoyage. Evitez aussi de taper ces surfaces en verre ou de laisser tomber des accessoires dessus, et de monter sur le verre (dans le cas d'un travail au-dessus de votre apparéil de cuisson).
- Ne faites aucune pression sur le fil électrique (si équipé) lors de l'installation de votre apparéil de cuisson. Assurez-vous aussi que la cable n'est pas coincideurrière libreaire approuille du cuisson. Si le cable d'alimentation est endommagé, il doit être remplace par un cable représentant les mêmes caractéristiques que celui d'origine, et ceci par un technicien qualifié afin d'éçarter tout danger.
Avertissements d'installation:
- N'utilisez votre apparéil de cuisson que lorsque l'installation est terminée.
- Voiture appeareil de cuisson doit ettre instalé et mis en service par un technicien qualifié. Le fabricant décline sa responsabilité pour tout dommage resultant d'un mauvais emplacement ou de l'installation de votre appeareil de cuisson par un technicien non qualifié.
- ÀpRES avoir déballé votre apparéil de cuisson, vérifiez soigneusement si celui-ci n'a pas été endommagé pendant le transport. En cas de dommage, ne l'utilisez pas et contactez immédiatement votre Revendeur. Etant donné que les matériaux d'emballage (polystyrene, nylon, agrafes, etc...) peuvent être dangereux pour les enfants, veuillez les rassembler et les éliminer immédiatement (mettez-les dans les conteneurs spécifiques pour le recyclage)
- Protégez votre apparéil de cuisson contre les effets atmosphériques. Ne l'expose pas au soleil, à la pluie, la neige, la poudre, etc.
- Les matériaux entourant l'appareil (meubles) doivent être capables de supporter une température minimale de 100^ .
Lors de l'utilisation:
- Ne placez pas de matériaux inflammables ou combustibles à proximé de votre apparéil de cuisson pendant son fonctionnement.
- Ne laissiez pas votre apparéil de cuisson sans surveillance lorsque vous faites cuire des matières grasses liquides ou solides, des huiles liquides ou solides. Portées à très haute température, ces matières peuvent prendre feu et engendrer un incendie. N'ESSAYEZ jamais d'éteindre avec de l'eau des flammes provenant d'huile en feu, mais éteignez votre apparéil de cuisson et couvrez la casserole ou la poèle avec un couvercle, afin d'étouffer la flamme. Si vous avez une hotte, ne jamais la mettre en route sans surveillance quand vous faites chauffer de l'huile. Ne laisssez pas de matière inflammable pres de votre apparéil de cuisson lorsqu'il fonctionne.
- Toujours poser les ustensiles de cuisson au centre de la zone de cuisson et positionner les poignées de telle sorte qu'elles ne puissant pas génér ou être atrapées par un enfant.
- N'utilisez pas les zones de cuisson avec des casseroles vides ou sans casseroles.
- Sur les plaques électriques, utilisez uniquement des ustensiles à fond plat.
- Sur les dessus vitro et inductions, ne coupez pas du pain sur le verre. Le plan de travail en verre ne doit pas ettreutilise comme surface de travail. Faites attention de ne pas poser sur la dessus des recipients qui pouraient abimer le verre. Des reçipients ayant des bords tranchants peuvent rayer la surface du dessus et l'endommager. Un conseil, essuyez systématiquement le dessous des casseroles avec un chiffon avant de les poser sur la surface en verre, ici afin d'enlever des microparticules sous le récipient, qui risqueraient de rayer le verre.
AVERTISSEMENTS EN MATIÈRE DE SECURITÉ
- Sur les dessus vitro, utilisez uniquement des ustensiles à fond plat.
- Sur les dessus induction, utilisez uniquement des ustensiles à fond plat spécifiques pour l'induction (indiqué sous l'ustensile par le Fabricant).
- Il est possible que vous entendiez un petit bruit à la mise en marche d'une zone de cuisson.
- Les utilisateurs qui utilisent un pacemaker implanté, doivent tener la partie supérieure de leur corps à au moins 30 cm des zones de cuisson à induction allumées.
- Si vous n'avez pas l'intention d'utiliser votre apparéil de cuisson pendant une longue période, nous给您 conseillons de le débrancher electriquement. Veillez aussi fermer en même temps le robinet de gaz (pour les apparéils de cuisson à gaz).
- Si vous ne vous servez paspendant un certain temps des vos plaques électriques, il sera nécessaire demettre un peu d'huile dessus afin d'éviter qu'elles ne rouillent (plaque en fonte).
Assurez-vous toujours que les manettes de commande de votre apparéil de cuisson sont toujours à la position « 0 » lorsque vous aureille de cuisson n'est pas utilisé. - ATTENTION: L'utilisation d'un apparéil de cuisson à gaz produit de la chaleur, de l'humidité, des odeurs et des produits de la combustion gaz dans la piece au sein de laquelle est installée votre apparéil de cuisson. Assurez-vous que la cuisine est bien ventilée lorsque l' apparéil de cuisson fonctionne, laissez les ouvertures ouvertes ou bien installez un dispositif de ventilation mécanique (genre hotte aspirante mécanique. Pour les apparéils de cuisson avec énergie électrique, la cuisson conduira aussi de l'humidité et des odeurs. Il sera nécessaire d'inverterer aussi un dispositif de ventilation mécanique
- Une utilisation prolongée de votre apparéil de cuisson peut nécessiter une aération supplémentaire, à titre d'exemple l'ouverture d'une fenêtre ou l'augmentation du niveau de la ventilation mécanique si installée.
Pendant le nettoyage et l'entretien:
- Arrêtez toujours le fonctionnement de votre apparéil de cuisson avant le nettoyage ou l'entretien, en le débranchant, ou en éteignant l'interrupteur principal.
Ne retirez jamais les boutons de commande pour nettoyer le panneau de commande. - N'utilise jamais de nettoyeur vapeur pour nettoyer les éléments de votre apparéil de cuisson.
DANS L'OPTIQUE DE MAINTENIR L'EFFICACITE ET GARANTIR LA SECURITE DE VOTRE APPAREIL, NOUS VOUS RECOMMANDONS DE TOUJOURS UTILISER LES PIECES D'ORIGINE ET D'APPELER NOS REPRESENTANTS EN CAS DE BESOIN.
3. INSTALLATION ET PREPARATION À L'UTILISATION
Cette cusinière moderne, fonctionnelle et pratique, fabriquée avec lesassageis pieces et materiaux, saura répondre à vos besoin sous tous les aspects. Vous devez dire ce manuel afin de ne pas rencontres de problèmes dans le futur, et afin de pouvoir obtenir des résultats satisfaisants. Les renseignements suivants sont les règles requises pour une installation et un service corrects. Ils doivent particulièrement être lus par le technicien qui doit installer l'appareil.

Important : Cet apparéil doit être installé par un technicien qualifié conformément aux consignes d'installation prescrites par le fabricant, la reglementation locale en matière de construction, les codes de l'autorité en charge du gaz, ainsi que les consignes relatives au câblage électrique.
3.1. Environnement d'installation de l'appareil
Votre apparéil doit être installé et utilisé à un endroit où il y aura toujours une ventilation. Pendant son fonctionnement, cet apparéil nécessite 2m3 / h d'air par kw. Il doit y avoir une ventilation naturelle suffisante pour que le gaz puisse être utilisé dans cet environnement. Le flux d'air moyen doit entra par les trouss d'air ouverts sur les parois ouvertes vers l'extérieur.


- Ces trou d'air doit avoir au moins une section transversale de 100 cm2 efficace pour la transition de l'air (un trou d'air ou plus peut être ouvert.) Ce(s) trou(s) doit(ven)t être ouvert(s) pour ne pas être obstrué(s). Ils doivent de préférence être situés tout pres du fond et à l'opposé des fumées qui s'échépent des gaz brûlés qui ont été vidés. S'il s'avéré impossible d'ouvrir ces ventilations à partir de l'emplacement où l'appareil est installé, l'air requis peut également être obtenu à travers la piece voisine, pourvu que cette piece ne soit pas une chambre à coucher ou un endroit dangereux. Dans ce cas la « piece voisine » doit également être aérée comme requis.
Echappement des gaz brûlés de l'environnement
Les cusinières à gaz émettent le gaz brûlé directement vers l'extérieur ou à travers les hottes d'échévement branchées à une cheminée qui donne directement à l'extérieur. S'il n'est pas possible dinstaller une hotte de cusinière, installez un ventilateur électrique sur la fenêtre ou le mur ouvert vers l'extérieur. Le ventilateur électrique doit pouvoir changer l'air de la cuisine 4-5 fois son propre volume d'air par heures.


3.2: Installation de l'appareil
Il existe quelques facteurs auxquels vous devez préter attention lors de l'installation de l'appareil. Soyez très attentif lors de l'installation de l'appareil. Tenez compte des consignes suivantes afin d'éviter tout problème et/ou toute situation dangereuse.
- La cusinière peut être placee pres d'un autre meuble de telle façon que la hauteur du meuble ne depasse pas la hauteur de la table de cuisson de la cusiniere
Veillez a ne pas la placer pres d'un refrigerateur, a ce qu'il n'y ait pas matieres flammables ou inflammables comme les rideaux, les chiffons impermeables...etc. qui pourrait prender feu rapidement - Prévoyez un espace d'environ 2cm tout autour de l'appareil pour la circulation de l'air
- Le meuble proche de l'appareil doit être fabriqué avec un matériel résistant à une température atteignant 100^ .
- Si le meuble de cuisine est plus haut que la table de cuisson, il doit y avoir un espace d'au moins 10cm entre leurs cotsés
Les hauteurs minimales entre le support de plateau et les placards et les hottes de cuisine avec ventilateur sur le produit sont presentées dans la figure 5. Ainsi, la hotte de cuisine doit être à fixée à une hauteur minimale de 65~cm du support de tableau. S'il n'y a pas de hotte, la hauteur ne doit pas être inférieure à 70cm
L'appareil est fourni avec un kit d'installation comprenant un matériel de scellage adhésif, des supports de fixation et des vis
- Coupez les dimensions comme indiqué au schéma 1. Repérez l'aperture sur le plan de travail de sorte qu'après avoir installé la table de cuisson, les éléments ci-après soient garantis

Figure 6
Si vous appeareil a cinq plaques ;
| Murs du voisinage | A[mm] | B[mm] |
| Combustible | 60 | 150 |
| Non-combustible | 40 | 100 |
Si vous appeareil a quatre plaques ;
| Murs du voisinage | A[mm] | B[mm] |
| Combustible | 60 | 150 |
| Non-combustible | 40 | 50 |
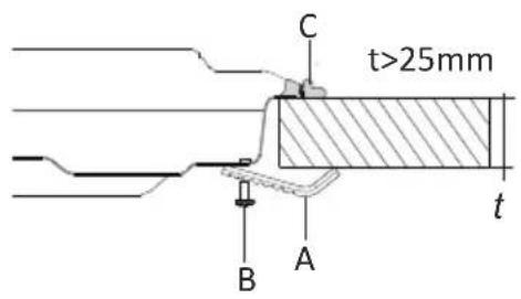
- Appliquez le matériel de scellage adhésif "C" tout autour de l'aperture sur le plan de travail afin d'épouser les contours du périmètre de l'appareil. Veillez à ce que les raccordements se chevauchent aux coins et qu'aucun espace ne soit laissé tout au long du matériel de scellage.
- Vérifiez le type de supports fournis dans le kit de montage presenté dans les figures 7 et 8 et continue en conséquence
Supports de type 1
Insérez l'appareil dans l'aperture et fixez en position à travers les supports (A) et les vis (B). Ajustez la position des supports en fonction de l'épaisseur du plan de travail comme indiqué à la figure 7 et serrez les vis uniformément

Type de support 1


Figure 7 - Installation avec Type de support 1
Supports de type 2
Fixez les supports (A) grâce aux vis (B) sur le couvercle inférieur de l'appareil comme indiqué à la figure 8. Insérez l'appareil dans l'aperture et exercez une certaine pression sur la table de cuisson, assurez-vous que l'appareil est bien positionné

Type de support 2
Réduisez soigneusement l'excess d'endetuit d'étanchéité « C » qui se trouve autour de l'appareil

Important : Si vous comptez faire installer l'appareil au-dessus d'une armoire ou d'un classeur, il est absolument nécessaire de mettre un séparateur entre le socle de l'appareil et l'unité du tiroir
3.3. Raccordement au gaz
Assemblage de l'alimentation en gaz et vérification des fuites
La connexion du gaz doit respecter les standards et la réglementation applicables dans la localité et sur le plan international. Vous trouvez l'information relative aux types de gaz appropriés et les injecteurs de gaz appropriés dans le tableau des caractéristiques techniques. Si la pression des gaz utilisés est différente des valeurs en vigueur dans votre localité, il peut s'avérer nécessaire de monter un régulateur de pression disponible sur l'alimentation en gaz. Nous vous recommendons de contacter le service/agréé afin d'effectuer ces réglages.
Points à vérifier pendant le montage du tuyau flexible
Si la connexion de gaz a eté faite à travers un tuyau flexible relié à l'alimentation en gaz de l'appareil, elle doit également être fixée par un collier. Connectez votre apparéil à la ressource de gaz avec un tuyau court et durable. La longueur maximale autorisée du tuyau est 1,5m. Le tuyau qui achemie le gaz vers l' apparéil doit être changé (1) une fois par an pour assurer la sécurité.
Le tuyau doit être éloigné des endroits susceptibles de chauffer à des températures excédant 900C. Le tuyau ne doit pas être tordu ou plié. Il doit être loin des recoins tordus, des objets mobiles, et ne doivent pas être défaillants. Avant de procéder au montage, vérifie un évientuel défaut de production.
Après avoir allumé le gaz, vérifie tous les tuyaux et points de connexion avec de l'eau ou un fluide savonnieux pour voir s'il y a fuite. Évitez d'utiliser une flamme neue pour vérifier les fuites de gaz. Aucune composante métallique utilisée pendant la connexion du gaz ne doit être rouillée. Vérifiez également les dates d'expiration des composantes à utiliser.
Points à vérifier pendant le montage du tuyau fixe
Pour procéder au montage d'une connexion au gaz fixe (connexion de gaz effectue à l'aide d'un écrou par exemple), il existe différentes méthodes utilisées dans différents pays. Les pieces les plus elles ont déjà été fournies avec votre apparéil. Toutes les autres pieces peuvent être fournies en pieces détachées..
INSTALLATION ET PREPARATION À L'UTILISATION
Pendant les connexions, assurez-vous que l'écrou de la rampe d'alimentation en gaz reste fixe pendant la rotation. Pour une connexion sécurisée, utilisez des clés de taille appropriée. Pour toutes les surfaces existantes entre les différentes composantes, veillez toujours utiliser les joints fournis. Les joints utilisés doivent également avoir été approvés dans une telle opération de connexion de gaz. Évitez d'utiliser les joints de plomberie pour connecter le gaz.
N'oubliez pas que la connexion de cet apparéil au gaz a été prévue dans le pays pour lequel il a été fabriqué. Le principal pays de destination figure sur le couvercle arrêté de l' apparéil. Si vous avez à vous en servir dans un autre pays, n'importe qu'elle connexion présente dans l'illustration ci-dessous peut être requise.

Il est recommandé de contacter le service agréé pour être en mesure d'effectuer les connexions de gaz de façon appropriée et conformément aux standards de sécurité

ATTENTION! Ne pas utiliser de briquet ou d'allumette pour contrôler les fuites de gaz.
3.4 Conversions des gaz
Attention : Les procédures suivantes doivent être réalisées par un technicien qualifié.
Votre appeareil a ete concu pour fonctionner avec du gaz GPL/GN. Les bruleurs peuvent etre adaptés à differentes types de gaz, en remplaant les injecteurs correspondants et en ajustant la longueur de flamme minimale adaptee au gaz utilise. Pour cette raison, les etapes ci-apres doivent etre suivies:
Changement d'injecteurs
- Coupe l'alimentation principale en gaz et débranchez la du réseau électrique
- Retirez le couvercle du brûleur et l'adaptateur (Figure 10).
- Dévissez les injecteurs. Utilisez à cet effet une clé de 7 mm (Figure 11).
- Remplacez l'injecteur en utilisant un autre parmi係数 qui ont ete prevus dans le kit de conversion, avec des diametes correspondants adaptes au type de gaz a utiliser, en fonction du diagramme d'information (egalement fourni)


Réglage de la position de flamme réduite :
La longueur de la flamme à la position minimale peut s'ajuster à l'aide d'une vis plate située sur le robinet. Pour les robinets équipés d'un dispositif d'échec de flammes, la vis se trouve sur le côté de la tige du robinet (Figure 8-9). Pour les robinets sans dispositif d'échec de flammes, la vis se trouve à l'intérieur de la tige du robinet (Figure 10). Pour un réglage plus facile de réduction de la flamme, il est conseilé desteroler le panneau de commande (ainsi que le micro interrupteur, si disponible) pendant le réglage.
Pour déterminer la position minimale, allumez les brûleurs et laissez-les à la position minimale. À l'aide d'un petit tournevis, serrez ou desserrez la vis de dérivation de 90^ environ. Lorsque la flamme a atteint une longueur d'au moins 4mm, le gaz est bien réparti. Assurez-vous que la flamme ne s'était pas en passant de la position maximale à la position minimale. Créez un vent artificiel avec votre main en direction de la flamme pour voir si celle-ci est stable.
Pour une position de flamme, la vis de dérivation doit être dévisée pendant la conversion du GPL au GN. Lors de la conversion de NG à LPG, cette même vis doit être resserrée. Assurez-vous que l'appareil est débranché du courant électrique et que l'alimentation de gaz est ouverte.



Changement du tuyau d'alimentation en gaz:
Pour certains pays, le type d'alimentation en gaz peut être différent des gaz NG/GPL. Dans ce cas, enlevez les composantes de connexion actuelles et les écrous (le cas échéant) et connectez la nouvelle alimentation en gaz en conséquence. Dans toutes les conditions, toutes les composantes utilisées dans les connections de gaz doivent être approvées par les autorités locales et/ou internationales. Dans toutes les connexions de gaz, reportez-vous à la clause intitulée « assemblage de l'alimentation en gaz et vérification des fuites » expliquée précédemment.
3.5 Branchement électrique de votre table de cuisson
- Avant d'effectuer le branchement électrique, vérifie si l'alimentation électrique du système et la prise sont appropriées pour la puissance d'alimentation maximum de la plaque.
- L'installation électrique de la maison et la prise électrique utilisée doit être reliées à la terre selon les normes de sécurité
- S'il n'y a peu circuit dédié à la plaque et peu interrupteur de fusible, ceux-ci doivent être installés par un electricien qualifié avant de brancher la plaque.
. L'interrupteur de fusible doit être facilement accessible quand la plaque est installee.
Adaptateurs, prises multiples et/ou rallonges ne doivent pas etre utilisés.
Cet apparéil est conforme aux Directives CEE suivantes :
- Plaque vitrocéramique CEE/73/23 et 93/68, CEE/89/336 sur l'interférence radio,
-
CEE/89/109 sur le contact avec les alimentés
-
Un disjoncteur doté d'une ouverture de contact d'au moins 3mm doit être installé à l'intérieur du circuit électrique.
-
Pour le bouton de commande de la plaque vitrocéramique équipé de deux éléments chauffants, le cable doit être de type H05VV-F 3x1, 5mm². Pour le bouton de commande de la plaque vitrocéramique équipé d'un élément chauffant, le cable doit être de type H05VV-F 3X1, 0mm². Vous trouvrez le schéma de raccordement indiqué sur le bas de l'appareil

Figure 15
4. UTILISATION DE VOTRE FOUR
4.1: Utilisation des brûleurs
Allumage des brûleurs
Pour savoirquel bouton va avecquel bruleur,verifiez le symbole de la position au-dessus du bouton
Allumage manuel
Si vous appeareil n'est equipé d'aucun accessoire pour l'allumage ou en cas de panne electrique, suivez les procedures ci-dessous: pour allumer l'un des brûleurs, appuyez et tournez le bouton dans le sens inverse d'une aiguille de montre afin qu'il soit en position maximale, approchez l'allumette, la bougie ou tout autre accessoire d'allumage de sa périphérie supérieure. Éloignez la source d'allumage aussiôt que vous VOYEZ une flamme stable.
- Allumage électrique
L'allumage électrique des brûleurs à gaz peut se faire de deux façon, en fonction de la configuration de votre appareil

Allumer à l'aide d'allumeur-étincelle : Appuyez sur le robinet du brûleur que vous poulez utiliser et tournez le bouton dans le sens antihoraire jusqu'à ce que le bouton se retrouve à la position maximale. Ensuite, avec l'autre main, appuyez parallèlement sur le bouton (Figure 16) d'allumage. Appuyez immédiatement sur le bouton d'allumage, parce que si vous attendez, une accumulation de gaz peut amener la flamme à se propager. Continue à appuyer sur le bouton d'allumage jusqu'à ce qu'une flamme stable apparaisse sur le brûleur.
Allumage par le bouton de commande du brûleur: Appuyez sur le bouton de commande du brûleur que vous pouze utiliser et tournez-le dans le sens antihoraire jusqu'à ce que le bouton se retrouve à la position maximale. Pendant ce temps, maintenez le bouton enforcé. Les bougies d'allumage généreront des étincelles tant que vous maintainendez le bouton de contrôle appuyé. Le microrupteur qui se trouve sous le bouton produit automatiquement des étincelles à travers la bougie d'allumage du brûleur. Continue à appuyer sur le bouton jusqu'à ce qu'une flamme stable apparaisse sur le brûleur.
Dispositif de sécurité contre les flammes :
Bruleurs a gaz (Si voitre table de cuisson est dotée d'un dispositif de sécurité contre le gaz)
Les tables de cuisson dotées d'un dispositif d'éché de flammes assurent la sécurité lorsque la flamme s'éteint accidentellement. En pareille situation, le dispositif bloquera les canaux utilisés par les brûleurs à gaz et évitera toute accumulation de gaz non brûlé. Patientez 90 secondes avant de rallumer un brûleur à gaz éteint.
4.2 Commande des brûleurs de la table de cuisson
Commande des brûleurs de la table de cuisson

Position OFF

Position MAX.

Position MIN.

MODULER
Figure 17
La table de cuisson a 3 positions: Off (0), Max (symbole de grosse flamme) et Min (symbole de petite flamme). ÀpRES avoir allumé le brûleur à la position « Max. », vous avec la possibilité d'ajuster la longueur de la flamme entre les positions « Max. » et « Min. ». Évitez d'utiliser les brûleurs lorsque le bouton se trouve entre les positions « Max. » et « Off »

Après l'allumage, procédez à une vérification visuelle des flammes. Si vous VOYZ une pointe jaune, des flammes suspendues ou instables, fermez le robinet à gaz, et vérifie au niveau des bouchons et des couronnées (Figure 18). Bien plus, veillez à ce qu'aucun liquide ne se soit écoulé à l'intérieur des coupelles de brûleur. Si les flammes du brûleur s'échéppent accidentellement, fermez les brûleurs, aéréz la cuisine avec de l'air frais, et n'essayez pas de rallumer avant les 90 prochainsines secondes.
En fermant la table de cuisson, tournez le bouton dans le sens horaire jusqu'à ce que le bouton pointe sur « 0 » ou jusqu'à ce que le marqueur du bouton pointe vers le haut.
Votre table de cuisson a des bruleurs de diamètres différents. Le moyen le plus économique d'utiliser le gaz consiste à désir les brûleurs à gaz aux tailles correspondantes à celles des éléments de cuisson et à ramener la flamme à la position minimale une fois le point d'ébullition atteint. Nous vous recommendons de toutes couvrir votre écipient de cuisson.
Pour une performance maxime des brûleurs principaux, utilisez les réciements ayant les diamètres à fond plat ci-après : Si vous utilisez des réciements aux dimensions inférieures à celles précisées ci-après, des pertes d'énergie s'en suivront.
Brûleur rapide : 22-26cm
Brûleur semi-rapide : 14-22cm
Brûleur auxiliaire : 12-18cm
Veillez à ce que les pointes des flammes ne sortent pas de la circonférence exter du récipient, au risque d'endommager également les accessoires en plastique qui se trouvent tout autour (poignée,
etc.).

Lorsque les brûleurs ne sont pas en cours d'utilisation pendant des périodes prolongées, veuilles toujours mettre le principal bouton de contrôle du gaz à la position d'arrêt.

Avertissement
Utilisez uniquement des casseroles à fond plat et assez écais.
Veiliez a ce que la base de la casserole soit seche avant de la placer sur les brûleurs.
- La température des parties exposées peut être élevée lorsque l'appareil est utilisé. C'est pourquoi il est impératif de tener les enfants et les animaux hors de portée des brûleurs pendant et après la cuisson.
- Àpresutilisation,la table de cuisson reste très chaude pendant une longue durée.Nepas la toucher et ne pas placer d'objects dessus.
- Évitez de mettre couteaux, fourchettes, cuillères, et couvercles sur la table de cuisson car ils deviendront chauds et poursaient entraîner des brûlures graves.
- Ne pas utiliser de recipients de cuisson qui dépasse la surface de la cusinière et qui sont susceptibles de surchauffer les leviers de commande
4.3. Commande des brûleurs des plaques électriques
Cet apparéil fonctionne avec des touches de contrôle et la chaleur stockée est confirmée par la lampe de l'indicateur de température résiduelle sur la surface vitrocéramique.


Le brûleur avec touche de contrôle a été consq pour fonctionner avec 6 niveaux de chaleur :
1 Garder la position chaude
2-3 Chauffer à basse température
4-5-6 Cuisson compartments de rotitisserie et d'ébullition
Les brûleurs doubles ont deux zones de cuisson. Pour activer la zone externe du brûleur double/ovale, placez le bouton sur la position. Les deux zones externes sont branchées.
Pour désactiver la zone externe du brûleur double/ovale, placez le bouton sur la position. Par conséquent, les deux zones externes s'éteignent. Les fonctions de la température résiduelle après tous les processus de cuisson, il reste de la chaleur dans le verre vitrocérément appelée température résiduelle. Le contrôle peut calculer approximativement la température du verre. Si la température calculée est supérieure à 60^ , alors ceci sera indiqué par la lampe de l'indicateur de la température résiduelle. L'écran de la température résiduelle apparaît tant que la température calculée du brûleur est > + 60°C.
Quand l'alimentation electrique revient au contrôle de la plaque après une coupure de courant, l'écran de la température résiduelle clignote, si le brûleur correspondant avait une température résiduelle supérieure à 60^ avant la coupure de courant. L'écran clignotera jusqu'à ce que le temps maximum de la température résiduelle ait expire ou le brûleur soit sélectionné et activé.
Avertissement
Lorsque la plaque est utilisé pour la première fois, ou si elle n'a pas été utilisée pendant une période de temps prolongée, vous devez éliminer toute humidité accumulée autour des composants électriques de la plaque en allumant la plaque au minimum pendant pres de 20 minutes.
Utilisez uniquement des cassetoles à fond plat et assez écais.
- Ne jamais utiliser de casseroles de diamètre plus petit que celui de la plaque
- Veiliez à ce que la base de la casserole soit sèche avant de la placer sur la plaque chauffante. Lorsque la plaque chauffante est allumée, il est important de veiller à ce que la casserole soit correctement centré sur la plaque

Figure 20
- Ne jamais faire fonctionner la table de cuisson sans avoir posé de recipient sur les plaques chauffantes
-
La température des parties exposées peut être élevée lorsque l'appareil est utilisé. C'est pourquoi il est impératif de tener les enfants et les animaux hors de portée de la plaquependant et après l'utilisation
Si yous decouvre une fissure sur la plaque, eteignez-la immediatement et faites-la remplacer -
Pour une durée de vie prolongée, la plaque chauffante doit être bien nettoyée avec les produits de nettoyage appropriés. Pour éviter la rouille et en préserver l'état neuf, il est conseilé de frottier légarement les plaques chauffantes avec un tissu imbibé d'un peu d'huile. Ne pas nettoyer avec des nettoyeurs à vapeur.
- Àpresutilisation,la plaque de cuisson reste très chaude pendant une longue durée.Nepas la toucher et ne pas placer d'objects dessus
4.4 Accessoires
- L'appareil est livre avec des accessoires. Cependant, vous pouvez également utiliser des accessoires achetés sur le marché, qui doivent pour cela être résistants à la chaleur et aux flammes. Vous avez par ailleurs la possibilité d'utiliser des recipients en verre, des moules à gâteaux, des plaques de four spéciales appropriées pour utilisation à l'intérieur du four. Assurez-vous de respecter les consignes prescrites par le fabricant de ces accessoires
| Adaptateur du café (facultatif) | |
| Placez l'adaptateur café sur la grille du brûleur auxiliaire lorsque les petits ustensiles de cuisine sont utilisés pour les empêcher de s'incliner. | |
| Adaptateur wok (Facultatif) | |
| L'adaptateur wok doit être place sur le support de plateau du brûleur wok AVENTISSEMENT: L'utilisation des poêles wok sans adapteur wok peut entraîner le dysfonctionnement du brûleur. Veuillez ne pas utiliser l'adaptateur wok avec des casseroles à fond plat. De même, n'utilisez pas des casseroles à fond convexe sans l'adaptateur wok. CORRECT INCORRECT | |
5.1 Nettoyage
Veillez à ce que tous les boutons de contrôle soient étenteints et que l'appareil soit refroidi avant d'effectuer le nettoyage du four. Débranchez l'appareil. Contrôlez si les produits de nettoyage sont approvés et recommends par le fabricant avant de les utiliser. Afin de ne pas endommager les surfaces, n'utilise pas de crèmes décapantes, des poudres de nettoyage abrasives, des éponges en métal et des outils durs. Si les liquides débordent autour de votre four, les parties émaillées peuvent être endommagées. Nettoyez immédiatement les liquides ayant débordé.
Nettoyage de votre plaque
- Soulevez les supports de casserole, les bouchons et les couronnés
- Essuyez et nettoyez le panneau du dos avec un chiffon savonneux
- Lavez-les et rincez-les. Ne les laissez pas mouillés. Séchez-les immédiatement avec un tissu en papier
- Àprous le nettoyage, assurez-vous d'avoir réassemblé correctement les pièces
- Evitez de nettoyer une partie de la table de cuisson avec une éponge métallique. Elle raye la surface
- Les surfaces supérieures du support de casserole peuvent etre rayées avec le temps à cause de leur utilisation. Dans ce cas, ces parties ne seront pas affectees par la rouille et ce n'est pas une défaillance liée à la production
- Pendant le nettoyage de la plaque de la table de cuisson, veilles à ce que de l'eau ne s'écoule pas à l'intérieur des couvercles de brûleur pour éviter d'obstruer les injecteurs
Bouchons du brûleur
Périodiquement, lavez les supports de casserole émailés, les couvercles émailés, les têtes de brûleur avec de l'eau chaude savonnexe, puis rincez et séchez bien. Àpès les avoir soignement séché, remplacez-les correctement
Parties émailées:
Afin de les garder comme neuves, nettoyez-les régulièrement avec de l'eau tiède et savonneuse, puis séchez-les avec un chiffon doux. Ne pas les laver lorsqu'elles sont encore chaudes, et ne jamais utiliser de poudres ou matériaux nettoyants abrasifs. Ne pas laisser de vinaigre, café, lait, sel, eau, citron, ou jus de tomate en contact prolongé avec les parties émailées.
Acier inoxydable :
Les parties en acier inoxydable doivent être nettoyées fréquèment avec de l'eau chaude savonnée et une éponge douce, puis être séchéées avec un chiffon doux. Ne jamais utiliser de poudres ou matériaux nettoyants abrasifs. Ne pas laisser de vinaigre, café, lait, sel, eau, citron, ou jus de tomate en contact prolongé avec les parties en acier inoxydable.
Nettoyage des plaques chauffantes:
Nettoyez les plaques chauffantes avec une éponge humide et ensuite séchez en tournant pendant quelques secondes. Pourmaintenir leur aspect, appliquez une petite quantite d'huile sur la surface des plaques chauffantes. Les anneaux de garniture des plaques chauffantes peuvent etre nettoyés avec des produits destinés à l'accier inoxydable. Les anneaux peuvent revenir jaunes a cause de la chaleur.C'est normal.Si une plaque de cuisson va etre hors d'utilage pendant une longue période, appliquez la graisse speciale de temps en temps.
5.2 Entretien
Contrôlez le tuyau de connexion de gaz de temps en temps. En cas de simple anormalité, veuilles informer le service technique pour le faire changer. Nous vous recommendons de changer pieces de connexion de gaz une fois par an. En cas d'anomalie lors de l'utilisation des boutons de commande de la cuisineire, veuilles contacter le service agréé.
6. SERVICE APRES-VENTE ET TRANSPORT
6.1 Dépannage de base à effectuer avant de contacter le service Clients
Si l'allumage électrique/la plaque chauffante ne fonctionne pas :
- La plaque peut être débranchée, il peut y avoir une coupure de courant.
La plaque ne chauffe pas;
- Il se peut que la chaleur n'aie pas ete correctement reglee avec le bouton de controle de chauffage.
Les brûleurs de la table de cuisson ne fonctionnent pas correctement :
- Vérifiez pour savoir si les pieces du brûleur ont été bien assemblées (surtout après le nettoyage).
- Il se peut que la pression d'alimentation en gaz soit trop faible/élevée. Pour les apparêils qui fonctionnent avec les bouteilles GPL, cette dernière pourrait être vide
Si les problèmes de l'appareil continuent même après avoir effectué les vérifications antérieures, contactez le Service d'Assistance Autorisé.
6.2 Information relative au transport
Gardez l'emballage original du produit et transporte-les dedans au besoin. Respectez les signaux de transport disponibles sur l'emballage. Scotchez les parties supérieures de l'appareil, couvercles et têtes, ainsi que les supports de recipients, aux panneaux de cuisson.
En l'absence de l'emballage original, approuze un carton qui puisse protégger l'appareil, notamment ses surfaces externes (surfaces en verre et peintes), des forces extérieures.
Tableau
| Puisance totale: 4,8 kW 345 g/h | NG | LPG |
| Catégorie de gaz: II2E+3+ | ||
| Destination: FR Classe:3 | G20/G25 20/25 mbar | G30/G31 28-30/37 mbar |
| BRULEUR RAPIDE | ||
| Repère d'injecteur (1/100 mm) 115 | 85 | |
| Puisance Nominale(Kw) 3 3 | ||
| Débit Nominal 285,7 l/h 218,1 g/h | ||
| BRULEUR INTERMÉDIAIRE | ||
| Repère d'injecteur (1/100 mm) 97 | 65 | |
| Puisance Nominale(Kw) 1,75 1,75 | ||
| Débit Nominal 166,7 l/h 127,2 g/h |

Le symbole figurant sur le produit ou sur son emballage indique qu'il ne doit pas etre traite comme les autres ordures menagères. Par consequent, il doit etre mis au rebut au point de collecte approprié afin d'être recyclé correctement. En veillant à ce que le present produit soit mis au rebut de façon appropriée, vous contribuerez ainsi à éviter d'eventuelles conséquences négatives sur l'environnement et la santé humaine susceptibles d'être affectés par une manipulation inappropriée des déchets issus de ce produit. Pour plus d'informations sur le recyclage de ce produit, contactez les autorités locales, le centre de collecte des ordures menagères ou le magasin où vous avez acheté le produit.
Cdiscount
120-126, Quai de Bacalan CS 11584 33 067 Bordeaux CEDEX
52114926 04/13
Notice Facile