OCEACPM2G2V - Cooker OCEANIC - Free user manual and instructions
Find the device manual for free OCEACPM2G2V OCEANIC in PDF.
Frequently Asked Questions - OCEACPM2G2V OCEANIC
User questions about OCEACPM2G2V OCEANIC
0 question about this device. Answer the ones you know or ask your own.
Ask a new question about this device
Download the instructions for your Cooker in PDF format for free! Find your manual OCEACPM2G2V - OCEANIC and take your electronic device back in hand. On this page are published all the documents necessary for the use of your device. OCEACPM2G2V by OCEANIC.
USER MANUAL OCEACPM2G2V OCEANIC
Our goal is to offer you products with high quality that exceed your expectations. Your appliance is produced in modern facilities carefully and particularly tested for quality.
This manual is prepared in order to help you use your appliance that is manufactured by the most recent technology, with confidence and maximum efficiency.
Before using your appliance, carefully read this guide that includes the basic information for right and safe installation, maintenance and use. Please contact to the nearest Authorized Service for the installation of your product.
CE Declaration of conformity
This appliance has been designed to be used only for home cooking. Any other use (such as heating a room) is improper and dangerous.
This appliance has been designed, constructed, and marketed in compliance with:
Safety requirements of the "Gas" Directive 2009/142/EC;
- Safety requirements of the "Low voltage" Directive 2006/95/EC;
- Safety requirements of the "EMC" Directive 2004/108/EC;
- Requirements of the Directive 93/68/EC.
CONTENTS:
1. BRIEF PRESENTATION OF PRODUCT
2. WARNINGS
3. INSTALLATION AND PREPARATIONS FOR USE
3.1 Environment where your appliance will be installed
3.2 Installation of product
3.3 Gas connection
3.4 Gas conversion
3.5 Electrical Connection Of Your Hob
4. USE OF YOUR PRODUCT
4.1 Use of gas burners
4.2 Control of the hob burners
4.3 Control of the electric hobs
4.4 Accesorries
5. CLEANING AND MAINTENANCE
5.1 Cleaning
5.2 Maintenance
6. SERVICE AND TRANSPORT
6.1 Basic troubleshooting before contacting service
6.2 Information related to the transport
Note: All figures in manual are schematic.



1-Electrical Heater (145 mm)
2-Semi-Rapid Burner
3-Auxillary Burner
4-Rapid Burner
5- Control Knobs
6-Electrical Heater (180 mm)
7-Worktop
8-Pan Support
9-Electrical Heater (Dual 180 mm)
- The appearance of your hob may be different than the model shown above due to its configuration.
SAFETYWARNINGS
READ THESE INSTRUCTIONS CAREFULLY AND COMPLETELY BEFORE USING YOUR APPLIANCE, AND KEEP IT IN A CONVENIENT PLACE FOR REFERENCE WHEN NECESSARY.
THIS MANUAL IS PREPARED FOR MORE THAN ONE MODEL IN COMMON. YOUR APPLIANCE MAY NOT HAVE SOME OF THE FEATURES THAT ARE EXPLAINED IN THIS MANUAL. PAY ATTENTION TO THE EXPRESSIONS THAT HAVE FIGURES, WHILE YOU ARE READING THE OPERATING MANUAL.
General SafetyWarnings:
Your appliance is produced in accordance with all applicable local and international standards and regulations. Maintenance and repair work must be made only by authorized service technicians. Installation and repair work that is carried out by unauthorized technicians may endanger you. It is dangerous to alter or modify the specifications of the appliance in any way.
Prior to installation, ensure that the local distribution conditions (nature of the gas and gas pressure or electricity voltage and frequency) and the adjustments of the appliance are compatible. The adjustment conditions for this appliance are stated on the label.
CAUTION: This appliance is designed only for cooking food and is intended for indoor domestic household use only and should not be used for any other purpose or in any other application, such as for non-domestic use or in a commercial environment or room heating.
This appliance can be used by children aged from 8 years and above and persons with reduced physical, sensory or mental capabilities or lack of experience and knowledge if they have been given supervision or instruction concerning use of the appliance in a safe way and understand the hazards involved. Children shall not play with the appliance. Cleaning and user maintenance shall not be made by children without supervision.
This appliance is not connected to a combustion products evacuation device. It shall be installed and connected in accordance with current installation regulations. Particular attention shall be given to the relevant requirements regarding ventilation.
If after 15 s the burner has not lit, stop operating the device and open the compartment door and/or wait at least 1 min before attempting a further ignition of the burner.
These instructions are only valid if the country symbol appears on the appliance. If the symbol does not appear on the appliance, it is necessary to refer to the technical instructions which will provide the necessary instructions concerning modification of the appliance to the conditions of use of the country.
WARNING: The appliance and its accessible parts become hot during use. Care should be taken to avoid touching heating elements. Children less than 8 years of age shall be kept away unless continuously supervised.
WARNING: Unattended cooking on a hob with fat or oil can be dangerous and may result in fire. NEVER try to extinguish a fire with water, but switch off the appliance and then cover flame e.g. with a lid or a fire blanket.
WARNING: Danger of fire: do not store items on the cooking surfaces.
WARNING: If the surface is cracked, switch off the appliance to avoid the possibility of electric shock.
For hobs incorporating a lid, any spillage should be removed from the lid before opening. And also the hob surface should be allowed to cool before closing the lid.
The appliance is not intended to be operated by means of an external timer or separate remote-control system.
Do not use harsh abrasive cleaners or sharp metal scrapers to clean the oven door glass and other surface since they can scratch the surface, which may result in shattering of the glass or damage to the surface.
Do not use steam cleaners for cleaning the appliance.
All possible security measures have been taken to ensure your safety. Since the glass may break, you should be careful while cleaning to avoid scratching. Avoid hitting or knocking on the glass with accessories.
Ensure that the supply cord is not wedged during the installation. If the supply cord is damaged, it must be replaced by the manufacturer, its service agent or similarly qualified persons in order to prevent a hazard.
InstallationWarnings:
Do not operate the appliance before it is fully installed.
The appliance must be installed by an authorized technician and put into use. The producer is not responsible for any damage that might be caused by defective placement and installation by unauthorized people.
When you unpack the appliance, make sure that it is not damaged during transportation. In case of any defect; do not use the appliance and contact to the authorized maintenance service immediately. As the materials used for packaging (nylon, staplers, styrofoam...etc) may cause harmful effects to children, they should be collected and removed immediately.
Protect your appliance against atmospheric effects. Do not expose it to effects such as sun, rain, snow etc.
The surrounding materials of the appliance (cabinet) must be able to withstand a temperature of min 100^ .
During usage :
Do not put flammable or combustible materials, in or near the appliance when it is operating. Do not leave the cooker while cooking with solid or liquid oils. They may catch fire on condition of extreme heating. Never pour water on to flames that are caused by oil. Cover the saucepan or frypan with its cover in order to choke the flame that has occurred in this case and turn the cooker off.
Always position pans over the centre of the cooking zone, and turn the handles to a safe position so they cannot be knocked or grabbed.
If you will not use the appliance for a long time, plug it off. Keep the main control switch off. Also when you do not use the appliance, keep the gas valve off.
Make sure the appliance control knobs are always in the "0" (stop) position when it is not used.
CAUTION: The use of a gas cooking appliance results in the production of heat, moisture and products of combustion in the room in which it is installed. Ensure that the kitchen is well ventilated especially when the appliance is in use, keep natural ventilation holes open or install a mechanical ventilation device (mechanical extractor hood).
Prolonged intensive use of the appliance may call for additional ventilation, for example opening of a window, or more effective ventilation, for example increasing the level of mechanical ventilation where present.
During cleaning and maintenance:
Always turn the appliance off before operations such as cleaning or maintenance. You can do it after plugging the appliance off or turning the main switches off.
Do not remove the control knobs to clean the control panel.
TO MAINTAIN THE EFFICIENCY AND SAFETY OF YOUR APPLIANCE, WE RECOMMEND YOU ALWAYS TO USE THE ORIGINAL SPARE PARTS AND TO CALL ONLY OUR AUTHORIZED SERVICES IN CASE OF NEED.
3. INSTALLATION AND PREPARATIONS FOR USE
This modern, functional and practical cooker, that was manufactured with the parts and materials of highest quality, will meet your cooking needs in every aspect. You must surely read this manual so that you don't have any problem in future and to be able to have satisfactory results. The following information are the required rules for right installation and service processes. It must be read especially by the technician who will install the appliance.

Important: This appliance must be installed by a qualified people according to the manufacturers installation instructions, local building regulations, gas authority codes and electrical wiring instructions.
3.1. Environment where your appliance will be installed
- Your product must be set up and used in a place where it will always have ventilation
- VWhilhchapie pateirgytlinnuppliance needs 3
- There must be a natural ventilation enough to provide the gas to be used in the environment. The average air flow must directly come in through the air holes that will be opened on the walls that are opened towards outside.


- These air holes must have at least the effective cross section of 100cm^2 for fresh air circulation (One or more air holes can be opened.). This hole (or holes) must be opened so that they shouldn't be blocked. Preferably they must be placed close to the bottom and at opposite side of the smokes of the burned gases that were emptied. If it seems not possible to open these ventilations in the place where the appliance is set up, the needed air can also be obtained through the next room, provided that this place is not a bedroom or a dangerous place. In this case this "next room" must also be ventilated as required.
Emptying of the Burned Gases from Environment
The cooking appliances that operate with gas, throw the burned gas wastes out directly to the outside or through the cooker hoods that are connected to the a chimney that opens directly to the outside. If it seems not possible to install a cooker hood, it is required to set an electric fan on the window or wall that has access to fresh air. This electric fan must have the capacity to change the air of the kitchen environment 4-5 times of its own volume of air per hour.


3.2 Installation of product
There are some factors that must be paid attention to while installing your product. Surely be very careful to while installing your product. Pay attention to our below instructions in order to be able to prevent any problems and/or dangerous situations that may occur later.
- The appliance can be placed close to other furniture on condition that in the area where the oven is set up, the furniture's height does not exceed the height of the cooker panel.
- Pay attention not to place it near the refrigerator, there must be no flammable or inflammable materials such as curtain, waterproof cloth, etc. that will begin to burn quickly.
It is required that there must be least a 2cm blank space around the product for air circulation
Theftiture close to product must be manufactured resistant to temperatures up to - If the kitchen furniture are higher than the cooktop, it must be at least 10cm away from the cooker's side.
The minimum heights from the pan support and wall cupboards to cooker hoods with fan over the product, are shown in figure 5. Thus, the cooker hood must be at minimum 65cm height from the pan support. If there is no cooker hood, this height must not be less than 70cm .
The appliance is supplied with an installation kit including adhesive sealing material and fixing brackets&screws are included with the appliance.
- Cut the aperture dimensions as indicated in Figure - 1. Locate the aperture on the worktop such that after the hob is installed the following requirements are ensured;

Figure 6
If your appliance have five hobs ;
| Neighbourhood walls | A[mm] | B[mm] |
| Combustible | 60 | 150 |
| Non-combustible | 40 | 100 |
If your appliance have four hobs;
| Neighbourhood walls | A[mm] | B[mm] |
| Combustible | 60 | 150 |
| Non-combustible | 40 | 50 |
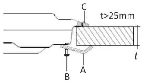
- Apply the adhesive sealing material "C" all the way round the aperture on the worktop to match the outher perimeter edge of the appliance. Ensure that the junctions overlap at the corners and no gap is left along the sealing material.
- Check the type of the brackets supplied in the assembly kit in Figure-7 and Figure-8 and continue accordingly;
Brackets of Type-1
Insert the appliance into the aperture and fix in position via the brackets (A) and screws (B). Adjust the position of the brackets depending on the thickness of the worktop as indicated in Figure-7 and tighten the screws evenly.

Bracket Type 1


Figure 7 - Installation with Bracket Type 1
Brackets of Type-2
Fix the brackets (A) via the screws (B) on the bottom cover of the appliance as shown in Figure-8. Insert the appliance into the aperture and apply pressure on the cooktop, ensure the appliance is positioned tightly.

Bracket Type 2


Hob
Figure 8 - Installation with Bracket Type 2
- Carefully trim away the excess sealing material "C" from around the appliance.

Important: If the appliance is to be installed above a cupboard or drawer it is absolutely essential that you place a sepator between the base of the appliance and the drawer unit.
3.3. Gas connection
Assembly of gas supply and leakage check
The connection of the appliance should be performed in accordance with local and international standards and regulations applicable. You can find the information related to appropriate gas types and appropriate gas injectors on technical data table. If the pressure of used gas is different than these values stated or not stable in your area, it may be required to assemble an available pressure regulator on the gas inlet. It is certainly required to contact to the authorized service to make these adjustments.
The points that must be checked during flexible hose assembly
If the gas connection is made by a flexible hose that is fixed on the gas inlet of appliance, it must be fixed by a pipe collar as well. Connect your appliance with a short and durable hose that is as close as possible to the gas source. The hose's permitted maximum lenght is 1.5m . The hose that brings gas to the appliance must be changed once a year for your safety.
The hose must be kept clear from areas that may heat up to temperatures in excess of 90^ . The hose must not be ruptured, bent or folded. It must be kept clear of sharp corners, moving things, and should not be defective. Before assembly, it must be checked whether there is any production defect.
As gas is turned on, all connection parts and hose must be checked with soapy water or leakage fluids. Do not use naked flame to check gas leakage. All metal components used during gas connection must be clear of rust. Also check the expiry dates of components to be used.
The points that must be checked during fixed gas connection assembly
To assemble a fixed gas connection (gas connection made by threads, e.g. a nut), there are different methods used in different countries. The most common parts are already supplied with your appliance. Any other part can be supplied as spare part.
During connections always keep the nut on the gas manifold fixed, while rotating the counter-part. Use spanners of appropriate size for safe connection. For all surfaces between different components, always use the seals provided in the gas conversion kit. The seals used during connection should also be approved to be used in gas connections. Do not use plumbing seals for gas connections.
Remember that this appliance is ready to be connected to gas supply in the country for which it has been produced. The main country of destination is marked on the rear cover of the appliance. If you need to use it in another country, any of the connections in the figure below can be required. In such a case, contact local authorities to learn the correct gas connection.

It is required to call the authorized service to be able to make the gas connections appropriately and in compliance with safety standards.

ATTENTION! Surely do not use any match or lighter for control of gas leakage.
3.4 Gas conversion
Caution: The following procedures must be undertaken by authorized service people.
Your appliance is adjusted to be operated with LPG/NG gas. The gas burners can be adapted to different types of gas, by replacing the corresponding injectors and adjusting minimum flame length suitable to the gas in use. For this purpose, following steps should be performed:
Changing injectors:
- Cut off the main gas supply and unplug from the electric mains
- Remove the burner cap and the adapter(Figure 10).
- Unscrew the injectors. For this, use a 7mm spanner(Figure 11).
- Replace the injector with the ones from the gas conversion kit, with corresponding diameters suitable to the type of gas that is going to be used, according to the information chart (which is also supplied in the gas conversion kit).


Adjusting the reduced flame position:
The flame length in the minimum position is adjusted with a flat screw located on the valve. For valves with flame failure device, the screw is located on the side of the valve spindle(Figure 8-9). For valves without flame failure device, the screw is located inside the valve spindle(Figure 10). For easier reduced flame adjustment, it is advised to remove the control panel (and microswitch, if present) during adjustment.
To determine the minimum position, ignite the burners and leave them on in minimum position. Remove the with the help of a small screwdriver fasten or loosen the bypass screw around 90 angular degrees. When the flame has a length of at least 4mm , the gas is well distributed. Make sure that the flame does not die out when passing from the maximum position to the minimum position. Create an artificial wind with your hand toward the flame to see if the flames are stable.
The position the bypass screw must be loosened for conversion from LPG to NG. For conversion from NG to LPG, the same screw must be fastened. Make sure that the appliance is unplaged from the electric mains and the gas supply is open.



Changing the gas inlet:
For some countries, the gas inlet type can be different for NG/LPG gases. In such a case, remove the current connection components and nuts (if any) and connect the new gas supply accordingly. In all conditions, all components used in gas connections should be approved by local and/or international authorities. In all gas connections, refer to the "Assembly of gas supply and leakage check" clause explained before.
3.5 Electrical Connection Of Your Hob
- Before proceeding with the electrical connection, verify that the current carrying capacity of the system and the socket is adequate for the maximum power rating of the hob.
- Electrical installation of the residence and the electrical current plug in use must be earthed and conform with safety regulations.
- If there is no dedicated hob circuit and fused switch, they must be installed by a qualified electrician before the hob is connected.
. Fused switch must be easily accessible once the hob has been installed. -
Do not use adaptors, multiple sockets and/or extension leads.
This appliance conforms with the requirements of the following EEC Directives: -
Vitroceramic hob EEC/73/23 and 93/68, EEC/89/336 relating to radio interference,
-
EEC/89/109 relating to contact with foods.
-
A circuit breaker with a contact opening of at least 3mm must be installed inside the supply circuit.
- For the knob controlled vitroceramic hob with two heating elements, the cable must be H05VV-F 3X1,5mm². For the knob controlled vitroceramic hob with one heating elements, the cable must be H05VV-F 3X1,0mm². You will find the connection diagram shown on the bottom of your appliance.

4. USE OF YOUR PRODUCT
4.1 Use of gas burners
Ignition of the burners
To determine which knob controls which burner, check the position symbol above the knob.
- Manual Ignition
If your appliance is not equipped with any ignition aid or in case there is a failure in the electric network, follow the procedures listed below:
To ignite one of the burners, press and turn its knob counterclockwise so that the knob is in maximum position, approach a match, taper or another manual aid to its upper circumference. Move the ignition source away as soon as you see a stable flame.
- Electrical Ignition
Electrical ignition of gas burners can be performed in two ways; depending on the configuration of your appliance.

Ignition by Spark Button: Press the valve of the burner you want to operate and turn the valve in the counter-clockwise direction so that the knob is in maximum position and with your other hand, press the ignition button (Figure 16) at the same time. Press the ignition button immediately, because if you wait, a build up of gas may cause the flame to spread. Continue pressing the ignition button until you see a stable flame on the burner.
Ignition by Hob Control Knob: Press the hob control knob of the burner you want to operate and turn the hob control knob in the counterclockwise direction so that the knob is in maximum position while keeping the knob pressed. The spark plugs will generate sparks as long as you keep the control knob pressed. The micro switch placed under the knob will automatically create sparks through the spark plug of the burner. Continue pressing the knob until you see a stable flame on the burner.
Flame safety device:
Hob Burners (If your hob is equipped with gas safety device)
Hobs equipped with flame failure device provide security in case of accidentally extinguished flame. If such a case occurs, the device will block the burners gas lines and will avoid any accumulation of unburned gas. Wait 90 seconds before re-igniting an extinguished gas burner.
4.2 Control of the hob burners
Control of the hob burners

OFF position

MAX. position

MIN. position

MODULATE
Figure 17
The knob has 3 positions: Off (0), maximum (big flame symbol) and minimum (small flame symbol). After you ignite the burner in maximum position; you can adjust the flame length between maximum and min. positions. Do not operate the burners when the knob position is between maximum and off positions.

Figure 18
After the ignition, check the flames visually. If you see yellow tip, lifted or unstable flames; turn the gas flow off, and check the assembly of burner caps and crowns (Figure 18). Also, make sure that no liquid has flown into the burner cups. If the burner flame goes out accidentally, turn the burner off, ventilate the kitchen with fresh air, and do not attempt resignation for 90 sec.
When turning the hob off, turn the knob in the clockwise direction so that the knob shows "0" position or the marker on the knob points upwards.
Your hob has burners of different diameters. The most economic way of using gas is to choose the correct size gas burners for your cooking pan size and to bring the flame to minimum position once the boiling point is reached. It is recommended to always cover your cooking pan.
In order to obtain maximum performance from the main burners, use pots with the following flat bottom diameters. Using smaller pots than the minimum dimensions stated below will cause energy loss.
Rapid / Wok Burner: 22-26cm
Semi-rapid Burner: 14-22cm
Auxiliary Burner: 12-18cm
Make sure that the tips of the flames do not spread out of the outer circumference of the pan, as this may also harm the plastic accessories around the pan (handles etc.).

When the burners are not in use for prolonged periods, always turn the main gas control valve off.

Warning:
- Use only flat pans and with a sufficiently thick base.
- Ensure that the base of the pan is dry before placing it on the burners.
- The temperature of accessible parts may be high when the appliance is operating. So it is imperative to keep children and animals out of the reach of the burners during and after cooking.
After use, the hob remains very hot for a prolonged period of time, do not touch it and do not place any object on top of the hob. - Never place knives, forks, spoons and lids on the hob as they will get hot and could cause serious burns.
- Do not use cooking containers that protrude from the cookers' table and which are likely to overheat the control levers
4.3. Control of the electric hobs
The appliance is operated by using knob control and the heat stored is confirmed by residual heat indicator lamp on the vitroceramic surface.


Knob controlled cooker is designed for operating at 6 heat levels:
1 Keeping warm position
2-3 Heating position at low heat
4-5-6 Cooking - roasting and boiling position
Dual heaters have two heating zones. To activate the outer zone of a dual heater, turn the knob to position once. In this way both outer zones switches on.
To deactivate the outer zone of a dual heater, turn the knob to position once. In this way, both outer zones switches off.
Residual Heat Functions
After all cooking processes there is some heat stored in the vitroceramic glass called residual heat. The control can calculate roughly how hot the glass is in the worst case. If the calculated temperature is higher than +60^ , then this will be indicated in the related residual heat indicator lamp. The residual heat display is shown as long as the calculated heater temperature is > + 60^.
After reapplying the supply voltage to the hob control after an interruption of the supply voltage occurred, causes that the residual heat display flashes, if the corresponding heater had a residual heat of greater +60^ before the power interruption occurred. The display will flash until the max. residual heat time has expired or the heater will be selected and activated.
Warning:
When the operating for the first time or whenever the hotplate has not been used for a prolonged time it is necessary to eliminate any humidity which may have accumulated around the electrical elements of the plate by operating the hotplate on its lowest setting for about 20 minutes.
- Use only flat pans and with a sufficiently thick base.
- Never use a pan with a smaller diameter than of the hotplate.
- Ensure that the base of the pan is dry before placing it on the hotplate. While the hotplate is in operation, it is important to ensure that the pan is centered correctly above the hotplate.

Figure 20
- Never operate the hob without pans on the hotplate.
-
The temperature of accessible parts maybe high when the appliance is operating. So it is imperative to keep children and animals out of the reach of the hotplate during and after the operation.
If you note a crack on the hotplate it must be immediately switched off and replaced. -
To ensure long life, the hotplate must be thoroughly cleaned with appropriate cleaning products. To avoid rustiness and to keep them new it is recommended to rub the hotplate lightly with tissue with a small amount of oil. Do not use a steam cleaner.
- After use, the hotplate remain very hot for a prolonged of time, do not touch them and to not place any object on top of the hotplate.
4.4 Accesorries
- The product already supplied with accessories. You can also use accessories you purchase from the market, but they must be heat and flame resistant. You can also use glass dishes, cake molds, special oven trays that are appropriate for use in oven. Pay attention to the using instructions by the manufacturer of those accessories.
Coffee Adaptor (Optional)

Place coffee adaptor on the Auxiliary burner grid when small cookware is used to prevent the cookware from tipping over.
Wok Adaptor (Optional)

Wok adaptor should be placed on the pan support of wok burner.

WARNING: Using wok pans without wok adaptor may cause the burner to malfunction.
Please do not use wok adaptor with flat-bottomed saucepans. Likewise, do not use convex-bottomed saucepans without the wok adaptor.


CORRECT


5. CLEANING AND MAINTENANCE
5.1 Cleaning
Be sure that all control switches are off and your appliance cooled before cleaning your oven. Plug off the appliance. Check whether they are appropriate and recommended by the manufacturer before using the cleaning materials on your oven. As they may damage the surfaces, do not use caustic creams, abrasive cleaning powders, thick wire wool or hard tools. In case the liquids that overflow around your oven burn, the enameled parts may be damaged. Immediately clean the overflown liquids.
Cleaning of Your Hob
- Lift up the pan supports, caps and crowns of hob burners.
- Wipe and clean the back panel with a soapy cloth.
- Wash the caps and crowns of hob burners and rinse them. Do not leave them wet, immediately dry them with paper cloth.
After cleaning, make sure that you re-assemble the parts correctly. - Do not clean any part of the hob with metal sponge. It causes the surface be scratched.
- The pan support top surfaces may be scratched in time due to usage. In this case, these parts may get rusted and it is not a production fault.
- During cleaning of the hob plate, make sure that no water flows inside the burner caps, as this may block the injectors.
Burner Caps:
Periodically, enameled pan support, enameled covers, burner heads must be washed with soapy warm water rinsed and dried. After drying them thoroughly, replace them correctly.
Enamelled Parts:
In order to keep them a new, it is necessary to clean them frequently with mild warm soapy water and then dry with cloth. Do not wash them while hot and never use abrasive powders or abrasive cleaning materials. Do not leave vinegar, coffee, milk, salt, water, lemon, or tomato juice to remain in contact with enameled parts for long periods of time.
Stainless Steel:
Stainless steel parts must be cleaned frequently with mildly warm soapy water and a soft sponge and then dry with a soft cloth. Do not use abrasive powders or abrasive cleaning materials. Do not leave vinegar, coffee, milk, salt, water, lemon or tomato juice to remain in contact with stainless steel parts long periods of time.
Cleaning hotplates:
Clean the hotplates with a damp sponge and then dry them by turning them on for a few seconds. To maintain their appearance, apply a small amount of oil on the surface of hotplates.
The hotplate trim rings can be cleaned with products intended for stainless steel. The rings can become yellowed as a result of heating. This is normal.
If a hotplate is to be out of use for a long time, apply the special grease periodically.
5.2 Maintenance
Periodically check the gas connection pipe. Even if any simple abnormality is felt, inform the technical service to have it changed. We recommend the gas connection parts to be changed once a year. If any abnormality is felt while operating the control knobs of cooker, contact to the authorized service.
6. SERVICE AND TRANSPORT
6.1 Basic troubleshooting before contacting service
If the electrical ignition/hotplate does not operate:
The hob may be plugged off, there has been a black out.
If the hotplate does not heat :
The heat may be not adjusted correctly with hob heater control switch.
The hob burners do not operate correctly :
- Check if the burner parts are correctly assembled (especially after cleaning).
- The gas supply pressure may be too low/high. For appliances working with bottled LPG, the LPG cylinder may be depleted.
Except these, if you still have any problem with your product, please call to the Authorized Service.
6.2 Information related to transport
If you need any transport; keep the original case of product and carry it with its original case when needed to be carried. Follow the transport signs on packaging. Tape the hob on upper parts, caps and crowns and pan supports to the cooking panels.
If you do not have the original packaging; prepare a carriage box so that the appliance, especially external surfaces (glass and painted surfaces) of oven is protected against external threats.
Table
| G30 28-30mbar 4,8 kW 345g/h II2H3+ FR Coupe 3 | LPG G30 28-30 mbar | NG G20 20 mbar |
| LARGE BURNER | ||
| DIA. of INJECTOR (1/100mm) 85 115 | ||
| NOMINAL RATING (KW) 3 3 | ||
| CONSUMPTION 218,1 g/h 285,7 l/h | ||
| MEDIUM BURNER | ||
| DIA. of INJECTOR (1/100mm) 65 97 | ||
| NOMINAL RATING (KW) 1,75 1,75 | ||
| CONSUMPTION 127,2 g/h 166,7 l/h |

The symbol on the product or on its packaging indicates that this product may not be treated as household waste. Instead it shall be handed over to the applicable collection point for the recycling of electrical and electronic equipment. By ensuring this product is disposed of correctly, you will help prevent potential negative consequences for the environment and human health, which could otherwise be caused by inappropriate waste handling of this product. For more detailed information about recycling of this product, please contact your local city office, your household waste disposal service or the shop where you purchased the product.
oceanic
OCEACPM2G2V
FR
INSTRUCTIONS DE FONCTIONNEMENT ET D'INSTALLATION DU PLAN DE CUISSON ENCASTRABLE
Chere cliente, cher client,

Figure 8 - Installation with Type de support 2
EasyManual