FHWC3040MS - Hotte FRIGIDAIRE - Notice d'utilisation et mode d'emploi gratuit
Retrouvez gratuitement la notice de l'appareil FHWC3040MS FRIGIDAIRE au format PDF.
| Caractéristiques | Détails |
|---|---|
| Type de hotte | Hotte murale |
| Dimensions (L x P x H) | 76,2 cm x 50,8 cm x 15,2 cm |
| Débit d'air | 400 CFM |
| Niveaux de vitesse | 3 vitesses |
| Éclairage | Éclairage LED |
| Filtre | Filtre à graisse en aluminium, lavable au lave-vaisselle |
| Installation | Installation murale, nécessite un montage professionnel |
| Consommation énergétique | Classe énergétique non spécifiée |
| Garantie | 1 an |
| Sécurité | Protection contre la surchauffe |
| Utilisation | Conçue pour éliminer les odeurs et les fumées de cuisine |
| Maintenance | Nettoyage régulier des filtres recommandé |
FOIRE AUX QUESTIONS - FHWC3040MS FRIGIDAIRE
Questions des utilisateurs sur FHWC3040MS FRIGIDAIRE
0 question sur cet appareil. Repondez a celles que vous connaissez ou posez la votre.
Poser une nouvelle question sur cet appareil
Téléchargez la notice de votre Hotte au format PDF gratuitement ! Retrouvez votre notice FHWC3040MS - FRIGIDAIRE et reprennez votre appareil électronique en main. Sur cette page sont publiés tous les documents nécessaires à l'utilisation de votre appareil FHWC3040MS de la marque FRIGIDAIRE.
MODE D'EMPLOI FHWC3040MS FRIGIDAIRE
Avis de sécurité important. 19
Listedes materiaux. 21
Spécifications électriques 21
Exigences d'emplacement. 22
Dimensions du produit 22
Preparation d'emplacement 24
Installation de la hotte
(pour systeme d'évacuation) 26
Raccordement electrique. 28
Installation de la hotte
(sans décharge à l'extérieur (recyclage)). 29
Utilisation de la hotte 30
Entretien de la hotte. 31
Dépannage 33
Garantie. 34
Visitez notre site web
www.frigidaire.com
pour voir notre ligne d'accessoires
Merci d'avoir besoin Frigidaire.
Ce guide d'utilisation et d'entretien fait partie de notre engagement à la satisfaction du client et la qualité produit tout au long de la vie de votre nouvelle appliance. Notre achat comme le début d'une relation. Pour assurer notre capacité à continuer servant vous, s'il vous plait utiliser cette page pour enregistrer important information sur les produits.
besoin d'aide?
Visitez notre site Web à www.frigidaire.com
Avant d'appeler le service, il ya quelques choses que vous pouvez faire pour nous aider a moins vous servir.
Lisez ce manuel d'utilisation et de soins.
Il contient des instructions pour vous aider à utiliser et à entretenir votre hotte correctement.
Si vous avez reçu une hotte endommagé ...
contactez immédiatement le revendeur (ou constructeur) que vous avez vendu la hotte.
Gagnez du temps et d'argent.
Voir "Dépannage" dans votre manuel. Cette section permet pas vous grâce à certains problèmes courants qui pourrait survenir. Si vous n'avez besoin de service, l'aide est seulement un appel téléphonique. Appelez Services à la clientèle au 1-800-944-9044.
Enregistrement du produit
L'enregistrement de votre produit avec Frigidaire améliore notre capacité à vous servir. Vous pouvez inscrire en ligne à www.frigidaire.com ou déposant votre produit Fiche d'Inscription par la poste.
Emplacement de l'étiquette
de série


Retirez le filtré àGRAISSÉ et le panneau lésral gauche
L'étiquette de série se trouve sur le côte gauche de la hotte
Modèle de dossier et numéro de série
Date d'achat
Le numero de modulo
Le numero de série
Lire toutes les instructions avant d'utiliser l'appareil.
Conserver ces instructions pour une future consultation.
Approuve comme apparéil domestique.
Pour usage résidentiel uniquement.
Ne pas essayer d'installer ou d'utiliser votre appareil si vous n'avez pas lu les instructions de sécurité de ce manuel. Les particularités de sécurité de ce manuel sont marqués d'un AVERTISSEMENT ou ATTENTION selon le type de risque.
Ceci est le symbole d'alerte de sécurité. Il est utilisé pour vous alerter au risques potentiels de blessure. Respectez tous les messages de sécurité qui suivent ce symbole pour éviter d'eventuelles blessures ou la mort.

AVERTISSEMENT
Ce symbole vous avertit de situations pouvant causer de graves lésions corporelles, la mort ou un dommage matériel.

ATTENTION
Ce symbole vous avertit de situations pouvant causeur des blessures corporelles ou des dégats matériels.

IMPORTANT
indique l'installation, l'exploitation, entretien ou des renseignements précieux qui n'est pas de danger connexes.
Avis de sécurité important

ATTENTION
Cet apparéil est créé uniquement pour la ventilation générale. Ne pas l'utiliser pour l'extraction de matières ou vapeurs dangereuses ou explosives.

AVERTISSEMENT
POUR RÉDUIRE LE RISQUE D'INCENDIE, CHOC ÉLECTRIQUE OU DOMMAGES CORPORELS, RESPECTER LES INSTRUCTIONS SUIVANTES :
A. Utiliser cet appeareil uniquement dans les applications envisagées par le fabricant. Pour toute question, contacter le fabricant.
B. Avant d'entrepreneure un travail d'entretien ou de nettoyage, interrompree l'alimentation de la hotte au niveau du tableau de disjoncteurs, et verrouiller le tableau de disjoncteurs pour empêcher tout rétablissement accidentel de l'alimentation du circuit. Lorsqu'il n'est pas possible de verrouiller le tableau de disjoncteurs, placer sur le tableau de disjoncteurs une étiquette d'avertissement proéminente interdisant le rétablissement de l'alimentation.
C. Tout travail d'installation ou câblage électrique doit être réalisé par une personne qualifiée, dans le respect des prescriptions de tous les codes et normes applicables, y compris les codes duBATIMENT et de protection contre les incendies.
D. Ne pas faire fonctionner un ventilateur dont le cordon ou la fiche est endommagé(e). Jeter le ventilateur ou le returner à un centre de service agrée pour examen et/ou réparation.
E. Une source d'air de début suffisant est nécessaire pour le fonctionnement correct de tout apparéil à gaz (combustion et évacuation des gaz à combustion par la cheminée), pour qu'il n'y ait pas de reflux des gaz de combustion. Respecter les directives du fabricant de l'équipement de chauffage et les prescriptions des normes de sécurité - comme celles publiées par la National Fire Protection Association (NFPA) et l'American Society for Heating, Refrigeration and AirConditioning Engineers (ASHRAE), et les prescriptions des autorités réglementaires locales.
F. Lors d'opérations de découvert et de perçage dans un mur ou un plafond, veiller à ne pas endommager les cablages électriques ou canalisations qui peuvent s'y trouver.
G.Les ventilateurs d'évacuation doivent toujours décharger l'air à l'extérieur.
AVIS DE SECURITE IMPORTANT

ATTENTION
Pour minimiser le risque d'incendie et evacuer adequatement les gaz, veiller à acheminer l'air aspiré par un conduit jusqu'à l'extérieur - ne pas décharger l'air aspiré dans un espace vide du bâtiment comme une cavité murale, un plafond, un grenier, un vide sanitaire ou un garage.

AVERTISSEMENT
POUR RÉDUIRE LE RISQUE D'INCENDIE, UTILISER UNIQUÉMENT DES CONDUITS METALLIQUES.

AVERTISSEMENT
Pour réduire le risque d'incendie ou de chic électrique, ne pas utiliser ce ventilateur avec un quelconque dispositif de réglage de la vitesse à semiconductores.

AVERTISSEMENT
POUR MINIMISER LE RISQUE D'UN FEU DE GRAISSE SUR LA CUISINIÈRE :
a)Ne jamais laisser un élément de surface fonctionner à puissance de chauffage Tmaxale sans surveillance. Un renversement/débordement de matièreGRAISESE poutrait provoquer une inflammation et la generation de fumée. Utiliser une puissance de chauffage moyenne ouasse pour le chauffage d'huile.
b) Veiller à toujours faire fonctionner le ventilateur de la hotte lors de la cuisson avec une puissance de chauffage élevé ou lors de la cuisson d'un mets à flamber (à savoir crêpes Suzette, cerise jubilée, steak au poivre flambe).
c) Nettoyer fréquemment les ventilateurs d'extraction. Veiller à ne pas laisser laGRAISSÉS'accumuler sur les surfaces du ventilateur ou des filtres.
d)Utiliser toujours un ustensile de taille appropriée. Utiliser always un ustensile adapte à la taille de l'élement chauffant.

AVENTISSEMENT
POUR RÉDUIRE LE RISQUE DE DOMMAGES CORPORELS APRès LE DÉCLENCHEMENT D'UN FEU DE GRAISSE SUR LA CUISINIÈRE, APPLIQUE RÉSULTATS RECOMMANDATIONS SUIVANTES:
a)Placer sur le recipient un couvercle bien ajusté, une tole à biscuits ou un plateau metallique POUR ETOUFFER LES FLAMMES, puis eteindre le bruleur. VEILLER A EVITER LES BRULURES. Si les flammes ne s'eteignent pas immidiatement, EVACUER LA PIECE ET APPELER LES POMPIERS.
b)NE JAMAIS PRENDRE EN MAIN UN RÉCIPIENT ENFLAMME - vous risquez de vous brûler.
c)NE PAS UTILISER D'EAU, ni un torchon humide - ceci pourrait provoquer une explosion de vapeur brûlante.
d)Utiliser un extincteur SEULEMENT si :
- Il s'agit d'un extincteur de classe ABC, dont on connait le fonctionnement.
- Il s'agit d'un petit feu encore limite à l'endetroit où il s'est déclaré.
- Les pompiers ont ete contactes.
- Il est possible de garder le dos orienté vers une sortiependant l'opération de lutte contre le feu.
OPERATION
Toujours laisser les grilles de sécurité et de filtres dans place. Sans ces composants, des souffleuses exploitation pourrait attraper sur les cheveux, les doigts et les vêtements amples.
Le fabricant décline toute responsabilité en cas de non-respect des instructions données ici pour l'installation, la maintenance et appropriée du produit. Le fabricant décline toute responsabilité pour d'autres blessures dues à la négligence et la garantie de l'unité expire automatiquement à cause d'un mauvais entretien.
Outils et pieces
Pèces fournies
4 vis de montage de 0.45 × 1.3 cm
- 2 vis de .35 x .65 cm per el montage del adaptateur rectangulaire
- 2 vis de .29 x .65 cm per fixation de la plaque rond de 7"
- Adaptateur rectangulaire du conduits de ventilation de 314'' × 10'' (8.3 x 25.4 cm)
- Plaque de montage de conduit rond de 7'' (17.8 cm)
Pièces nécessaires
- 2 connecteurs de fils homologues UL
- Bouche de décharge murale ou à travers le toit (avec clapet) correspondant au système d'évacuation
- Brides de conduit/ruban adhésif (selon le besoin)
- Serre-câble homologué UL ou CSA de 1/2
Outils nécessaires
- Perceuse
- Foret de 1 14'' (3 cm)
- Foret de 18'' (3 mm) pour avant-trous
- Crayon
- Pince à dénuder ou couteau utilisé
- Metre-ruban ou règle
- Pistolé à calfeutrage et compose de calfeutrage résistant aux intempéries
- Tournevis à lame plate
- Tournevis Phillips
- Scie sauteuse ou scie à guichet
Pour placards avec cavité au fond :
- Deux tringles d'appui de largeur 2^ (5.1 cm). Longueur et épaissur selon les dimensions de l'encastrement.
- Quatre vis à bois à tête plate ou vis à metaux avec rondelles et écrous (pour la fixation des tringles d'appui).
SPÉCIFICATIONS ÉLECTRIQUES
Observer les dispositions de tous les codes et règlements en vigueur.
Vérifier que l'installation électrique a été correctement effectuee et qu'elle est conforme aux specifications de la plus recente edition des normes National Electrical Code, ANSI/NFPA 70, ou de la norme CSA C22.1-94, Code canadien de I'electricite, partie 1 et C22.2 N° 0-M91 (derniere edition) et de tous les codes et reglements en vigueur locaux.
Si les codes le permettent et si on utilise un conducteur distinct de liaison à la terre, il est recommendé qu'un électricien qualifié vérifie la qualité de la liaison à la terre. Pour obtenir un exemplaire de la norme des codes ci-dessus, contacter :
L'appareil doit être alimenté par un circuit de 120 V, CA seulement, 60 Hz, 15 A, protégé par fusible.
- Si le domicile est équipé d'un cablage en aluminium, suivre les instructions suivantes :
1. Connector une section de cable en cuivre massif aux conducteurs en queue de cochon.
2. Connector le câblage en aluminium à la section ajoutée de câblage en cuivre en utilisant des connecteurs et/ou des outils spécifique conçus et homologues UL pour fixer le cuivre à l'aluminium.
Appliquer la procédure recommende par le fabricant des connecteurs. La connexion aluminium/cuivre doit être conforme aux codes locaux et aux pratiques de câblage acceptées par l'industrie.
- Le calibre des conducteurs et les connexions doivent être compatibles avec la demande de courant de l'appareil spécifique sur la plaque signalétique. La plaque signalétique de l'appareil est située derrière le filtre, sur la paroi arrière de la hotte.
- Le calibre des conducteurs doit satisfaire aux exigences de la plus recente édition de la norme National Electrical Code, ANSI/NFPA 70, ou de la norme CSA C22.1-94, Code canadien de l'électricité, partie 1 et C22.2 n° 0-M91 (dernière édition) et de tous les codes et règlements en vigueur.
EXIGENCES D'EMPLACEMENT

IMPORTANT
Respectez tous les codes et ordonnances.
- C'est à l'installateur qu'incombe la responsabilité de respecter les distances de séparation exigées, spécifiées sur la plaque signalétique de l'appareil. La plaque signalétique est située à l'intérieur de la hotte, sur la paroi de gauche.
Installer la hotte de cusinière à distance de toute zone exposée à des courants d'air, comme fenêtres, portes et bouches de chauffage à fort débit. - Respecter les dimensions indiquées pour les ouvertures à découvert dans les placards. Ces dimensions tiennent compte des valeurs minimales des dégagements de séparation. Avant d'effectuer des découvertes, consulter les instructions d'installation fournies par le fabricant de la table de cuisson/cuisinière.
- On doit-disposer d'une prise de courant électrique reliée à la terre. Voir la section "Spcifications électriques".
Assurer I'etanchete au niveau de chaque ouverture decoupee dans le plafond ou le mur pour l'installation de la hotte de cuisiniere.
Installation dans une résidence mobile
L'installation de cette hotte doit satisfaire aux exigences de la norme Manufactured Home Construction Safety Standards, Titre 24 CFR, partie 328 (anciennement Federal Standard for Mobile Home Construction and Safety, titre 24, HUD, partie 280); lorsque cette norme n'est pas applicable, l'installation doit satisfaire aux critères de la plus récente édition de la norme Manufactured Home Installation 1982 (Manufactured Home Sites, Communities.

Distances de dégagement à respecter
A. 66" (167 cm) a sugéré min. - En haut de la hotte à l'étage.
B. 30^ (76.2 cm) de largeur de cabinet min. pour les modetes de 30^ (76.2 cm) et
36" (91.4 cm) de largeur min. de placard pour les modèles de 36" (91.4 cm)
C.Profondeur de placard 13^ (33cm)
D. Hauteur de placard du bas 36^ (91.4 cm)
| Modèle Dim | A Dim B | |
| FHWC3040 modèle de 30" | 30" (76.2 cm) 6 | %/16" (16.7 cm) |
| FHWC3640 modèle de 36" | 36" (91.44 cm) 51/2" (24.3 cm) | |
EXIGENCES CONCERNANT L'EVACUATION
- Le système d'évacuation doit décharger l'air à l'extérieur.
- Ne pas terminer le circuit d'évacuation dans un grenier ou dans un autre espace clos.
- Ne pas utiliser une bouche de décharge murale de 4^ (10.2 cm) normalement utilisée pour un équipement de buanderie.
- Utiliser un conduit métallique rond de 7'' (17.8 cm) ou un conduit métallique rectangulaire de 314'' × 10'' (8.3 x 25.4 cm), selon le modele. Un conduit en métal rigide est recommendé. Ne pas utiliser de conduit de plastique ou en aluminium.
- La longueur du système d'évacuation et le nombre de coudes doit être réduit au minimum pour des performances optimes.
Pour un fonctionnement efficace et silencieux :
- Ne pas utiliser plus de trois coudes à 90^ .
- Veiller à ce qu'il y ait une section droite de conduit d'un minimum de 24'' (61 cm) entre les raccords coudés, si on doit en utiliser plus d'un.
- Ne pas installer 2 coudes successifs.
- Au niveau de chaque jointure du circuit d'évacuation, assurer l'étanchéité avec les brides de serrage ou du ruban adhésiF.
- Le circuit d'évacuation doit composer un clapet anti-reflux.
- Utilisez du calfeutrage pour sceller un mur extérieur ou toit ouvrant autour du bouchon.
- Les dernières performances sont atteintes avec la tuyauterie droite, sans les coudes et sans utiliser tube lisse.
- Longueur maximale commande pour Systeme de ventilation: 35 ft (10.7 m).
Installations dans les régions au climat froid
On doit installer un clapet anti-reflux supplémentaire à l'arrière pour minimiser le reflux d'air froid et incorporer un élément d'isolation thermique pour minimiser la conduction de chaleur par l'intérimdiaire du conduit d'évacuation, de l'intérieur de la maison à l'estrier. Le clapet anti-reflux doit être placé du côte air froid de la résistance thermique.
L'élement d'isolation thermique doit être aussi proche que possible de l'endetroit où le circuit d'évacuation s'introduit dans la partie chauffée de la maison.
Air d'appoint
Le code du bâtiment local peut exiger l'emploi d'un système d'appoint d'air lors de l'emploi d'un ventilateur d'extraction dont la capacité d'aspiration est supérieure à un débit (pieds cubes par minute) spécifique.
Le débit spécifique en pieds cubes par minute varie d'une juridiction à l'autre. Consulter un professionnel des installations de chauffage ventilation/climatisation au sujet des exigences spécifiques applicables dans la juridiction locale.
Méthodes d'évacuation
La sortie à l'extérieur du circuit d'évacuation peut se faire à travers le toit ou à travers un mur. Utiliser des conduits rectangulaires de 31/4'' × 10'' (8.3 x 25.4 cm) avec une longueur maximale de 35 pi (10,7 m) ou des conduits rond de 7'' (17.8 cm) de diamètre ou plus avec une longueur maximale de 50 pi (15.2 m) pour le système d'évacuation.
REMARQUE
On déconseille l'emploi d'un conduit flexible. Un conduit flexible peut cause une rétro-pression et des turbulences de l'air, ce qui réduirait considérablement la performance.
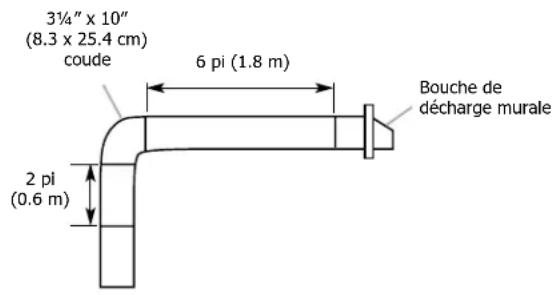
Décharge à travers le toit Évacuation par le mur


A. Conduit rectangular de 314'' × 10'' (8.3 x 25.4 cm) ou plaque de montage de conduit rond de 7'' (17.8 cm) pour décharge à travers le toit (achat séparé)
B. Bouche de décharge sur tout avec clapet (achat séparé)
C. Entre 24^ (61.0 cm) min. et 30^ (76.2 cm) max. audessus de la surface de culsson.
A. Conduit rectangulaire de 314'' x 10'' (8.3× 25.4cm) ou plaque de montage de conduit rond de 7'' (17.8~cm) pour decharge a travers le mur ou le sommet (achat sépare) B. Bouche de décharge murale avec clapet (achat sépare)
C. Entre 24^ (61.0 cm) min. et 30^ (76.2 cm) max. audessus de la surface de cuisson.
EXIGENCES CONCERNANT L'EVACUATION
Calcul de la longueur du circuit d'évacuation
Pour calculer la longueur effective du circuit d'évacuation nécessaire, additionner les longueurs équivalentes (en pieds ou mètres) de tous les composants utilisés dans le système.
Système de décharge rond de 7'' (17,8 cm)
| Composant | |
| coude a 90° 5.0 pi (1.5 m) | |
| Bouche de décharge 0.0 pi murale de (0.0 m) | |

Exemple de circuit d'évacuation
Système de décharge de 314'' × 10'' (8.3 cm x 25.4 cm)
| Composant | |
| 3¼" x 10" (8.3 cm x 25.4 cm) 5.0 pi coude a 90° (1.5 m) | |
| 3¼" x 10" (8.3 cm x 25.4 cm) 12.0 pi coude plat (3.7 m) | |
| Bouche de décharge 0.0 pi murale de (0.0 m) 3¼" x 10" (8.3 cm x 25.4 cm) |

Exemple de circuit d'évacuation
Longueur maximale recommende = 35 pi (10.7m)
1-coude 90^ = 5.0pi (1.5 m)
Section droite de 8 pi (2.4 m) = 8.0 pi (2.4 m)
1-bouche de décharge murale = 0.0pi(0.0m)
Longueur du système de 314'' x 10'' = 13.0 pi (3.9 m)
(8.3cm× 25.4cm)
PREPARATION DE L'EMPLACEMENT

REMARQUE
Avant d'executer les découvertes, vérifier la disponibilité d'un dégagement suffisant dans le plafond ou le mur pour le conduit d'évacuation.
- Déconnecter la source de courant électric.
-
Sélectionner une surface plane pour l'assemblage de la hotte. Placer le matériel de protection sur cette surface.
3.Soulever la hotte et la placer à l'envers sur une surface couverte. -
Si le fond du placard forme une cavite, ajouter des tringles d'appui en bois de chaque cote. Installer les vis pour fixer les tringles d'appui aux emplacements indiqués.

A. 4 vis à bois à tête plate ou vis à metaux avec rondelles et écrous
PREPARATION DE L'EMPLACEMENT
Déterminer l'emplacement du trou de passage du cable
- Determiner et tracer clairament l'axe central vertical sur le mur et le placard dans la zone où le passage du conduit d'évacuation sera réalisé.
A. Axe central

Câblage à travers le sommet du placard :
- Tracer une ligne de distance (A) à partir de la droite de l'axe central, sur la face inférieure du placard. Sur cette ligne, marquer le point situé à 7/8'' (2.2 cm) du mur arrêté. Percer en ce point un trou de 114'' (3.2 cm) de diamètre (B) à travers le placard.
| modèle de la hotte | Dim A |
| 30" & 36" modètes | 83/8"(21.3 cm) |

Passage du cable à travers le mur :
- Tracer une ligne de distance (A) à partir de la droite de l'axe central, sur la face inférieure du mur. Marquer un point sur cette ligne qui se trouve à 7/8 (2.2 cm) de la face inférieure du placard. Percer en ce point un trou de 114 (3.2 cm) de diamètre à travers la paroi arrêté.

| modele de la hotte | Dim A |
| 30" & 36" MODELES | 81/2" (21.3 cm) |
VENTILATION
Choisissez décharge d'évacuation à partir des différents options listées - Style 1 - 4 qui suit:
Style 1 - Hotte à recyclage
Pour cette installation, allez dans "Installation de la Hotte (recyclage version)" à la page 29.
Style 2 - Découpages d'ouverture pour un système d'évacuation rectangulaire de 3^1/4 x 10^ (8.3 cm x 25.4 cm)
Décharge à travers le toit
Découpage d'une ouverture rectangulaire de 4^ × 10^1/2 (10.16 cm x 26.7 cm) sur la face inférieure du sommet et du bas du placard:
- Tracer des lignes à 12'' (1.3 cm) et 434'' (12.1 cm) du mur arrête, sur l'axe central de la face inférieure du placard.
- Tracer des lignes à 5 14 (13,3 cm) de part et d'autre de l'axe central sur la face inférieure du placard.
- Utiliser une scie sauteuse ou une scie à guichet pour découvert l'ouverture rectangulaire pour le passage du conduit d'évacuation.
- Repeter les étapes 1 à 3 pour la face inférieure du sommet du placard.

Evacuation par le mur
Découpage d'une ouverture rectangulaire de 31/2'' × 101/2'' (8.9 cm × 26.7 cm) dans le mur:
1.Mesurer 2 lignes de 3 / 8^ (0.9 cm) et 3 / 8^ (9.8 cm) en descendant à partir de la face inférieure du placard et marquer leur emplacement sur l'axe central du mur arrriere.
2. Tracer des lignes à 514 (13.3 cm) de part et d'autre de l'axe central sur le mur.
PREPARATION DE L'EMPLACEMENT
- Utiliser une scie sauteuse ou une scie à guichet pour découvert l'ouverture rectangulaire du système d'évacuation dans le mur.

Style 3 - Découpages d'ouverture pour un conduit rond de 7'' (17.8 cm) sur un transition rectangulaire de 3^1/4'' × 10'' (8,3 cm x 25,4 cm)
Décharge à travers le toit
Découpage d'une ouverture circulaire sur la face inférieure du sommet du placard:
- Tracer un axe central sur la face inférieure du sommet du placard.
- Tracer une ligne de 5'' (12.7 cm) en partant du mur arrrière sur la face inférieure du sommet du placard.
- Utiliser un compas ou un gabarit circulaire pour tracer un cercle avec un diamètre de 712 (19 cm) supérieur à celui du conduit d'évacuation.

Style 4 - Découpages d'ouverture pour un système d'évacuation rond de 7'' (17.8 cm)
Décharge à travers le toit
Pour le découvert d'ouvertures pour conduit rond sur la face inférieure du fond ou du sommet du placard:
- Tracer un axe central sur la face inférieure du sommet du placard.
-
Tracer une ligne de 5^ (12,7 cm) en partant du mur arrrière sur la face inférieure du sommet ou du fond du placard.
-
Utiliser un compas ou un gabarit circulaire pour tracer un cercle avec un diamètre de 71/2'' (19 cm).
Utiliser une scie sauteuse ou une scie à guichet pour découvert l'ouverture circulaire pour le passage du conduit d'évacuation
- Répétez les étapes 1-3 pour le dessous de la partie supérieure du placard.

Installation du conduit d'évacuation
1.Installer le conduit d'évacuation à travers les ouvertures découées dans le placard mural ou le mur. Achever l'installation du système d'évacuation conformément à la méthode d'évacuation sélectionnée. Voir la section "Exigences concernant l'évacuation".
2.À l'aide d'un produit de calfeurtrage, assurer l'étanchéité autour de la bouche de décharge à l'extérieur (à travers le mur ou le toit).
INSTALLATION DE LA HOTTE (pour système d'évacuation)

REMARQUE
Son modele de hotte contient un clapet anti-reflux rectangulaire de 314'' × 10'' (8.3 x 25.4cm) et la plaque de montage de conduit rond de 7'' (17.8cm).
1.Deballez le 314 "x 10" (8.3 x 25.4 cm) conduit rectangle de l'intérieur de votre hotspot de cuisineire. Pour detacher le connecteur, retirez les 2 vis de montage (.35 X .95 cm) et conserver les dans un endroit sur pour réinstaller plus tard (voir étape 5).
INSTALLATION DE LA HOTTE

A. Conduit rectangular de 3 14 × 10^n (8.3 x 25.4 cm)
B. Plaque de montage de conduit rond de 7^ (17.8cm).
2.Soulever la hotte sous le placard et déterminer sa position d'installation finale en la centrant sous le placard. Sur la face inférieure du placard, marquer l'emplacement des 4 trous de montage sur la hotte (Voir les dimensions à la page 22). Placer la hotte à part sur une surface couverte.


3.À l'aide d'un foret de 1/8 (3 mm), percer 4 avant trouss tel qu'illustré.
REMARQUE: Faire des trous sur la zone mince de la fente.

A. Perçage d'un avant-trou
4.Installer les 4 vis de montage .45 x 1.3 mm dans les avant trous. Laisser un espace d'environ entre les têtes des vis et le placard pour faire glisser la hotte et la mesure en place.

- Pour les installations avec passage par le toit, retirer l'opercule amovible rectangulaire ou rond supérieur du conduit d'évacuation. Pour les installations murales, retirer l'opercule amovible rectangulaire arrêté.

A. Opercule amovible rectangulaire
supérieur du conduit d'évacuation
B. Opercule amovible en
demi-cercle du conduit d'évacuation
C. Opercule amovible rectangulaire amere du
conduit d'évacuation
Installation du raccord de conduit
Installer une plaque de montage de conduit rond de 7'' (17,8 cm) ou un clapet anti-reflux de 314'' × 10'' (8,3 × 25,4 cm) en fonction de la configuration du circuit d'évacuation. La fixer à la hotte à l'aide des vis de installation fournies avec le kit de matériel.

Installer une plaque de montage de conduit rond de 7'' (17,8 cm)
A.Vis de .29 x .65 cm
B. Conduit rond de 7" (17.8 cm)
C. Opercule rond amovible
D. Opercul rectangulare amovible

Installer un clapet anti-reflux de 31 / 4'' x 10" (8,3x25,4cm)
A. Clapet anti-reflux de 314 x 10^n (8,3x25,4cm)
B.Vis de .35 x .65 cm
C. Opercule rectangulare amovible
REMARQUE
On peut installer la plaque de montage du clapet anti-reflux pour conduit rond de 7'' (17,8 cm) et le connecteur de conduit rectangulaire de 314'' × 10'' (8,3 x 25,4 cm) jusqu'à 1'' (2,5 cm) de chaque côte du centre de la hotte pour pouvoir installer les conduits décentrés.
INSTALLATION DE LA HOTTE
- Si un clapet anti-reflux est monté avec une bouche de décharge elle-même équipée d'un clapet anti-reflux, vérifier qu'ils ne se génent pas mutuellesment. En cas d'interférence,steroler l'obturator à registre du connecteur de conduit.
Installation du cordon d'alimentation
- Pour les installations à raccordement direct, acheminer le cable d'alimentation du domicile selon les prescriptions du Code national de l'électricité ou des normes CSA et des codes et règlements locaux. La longueur du câblage depuis le tableau de distribution (avec fusions ou disjoncteurs) doit être suffisante pour réaliser facilement le raccordement dans le boîtier de connexion de la hotte.

REMARQUE
Ne pasmettrelesysteme sous tensionavant d'avoircompletementterminel'installation. Avant de commencer l'installation,retirez le filtreràgraisse,et les panneaux lateraux gauche etdroite. TerminerI'installation pour réinstaller les panneaux lateraux.
- Oter la vis du couvercle du boitier de connexion. Retirer le couvercle du boitier de connexion et leMETRE de cote.

- Oter l'opercule pour le passage de l'alimentation électrique du sommet ou de l'arrière de la hotte de ventilation (selon l'emplacement du point d'entrée du cable d'alimentation du domicile) et installer un serre cable de 12 homologué UL ou CSA.

A. Opercule pour le passage de l'alimentation électrique
4.À l'aide d'au moins deux personnes, soulever la hotte et la placer à son emplacement final. Insérer suffisamment de cable électrique à travers le serre-cable de 1/2 (homologation UL ou CSA) pour établier les connexions avec la boîte de connexion. Serrer les vis du serre -câle.
5. Positionner les trouss allongés de la hotte par-dessus la tete des vis de montage. Puis pousser la hotte vers le mur pour engager la partie etroite des trouss sur les vis de fixation. Serrer les vis de montage en s'assurant que les vis sont dans la partie etroite des trouss de fixation des vis.
6.Raccorder le circuit d'évacuation à la hotte. Assurer l'étanchéité des jointures et la solidité de l'installation avec des brides pour conduits ou du ruban adhésif.
7. Vérifier que les clapets anti-reflux fonctionnement correctement.
RACCORDEMENT ÉLECTRIQUE

AVERTISSEMENT
Risque de chocolélectrique
Déconnecter la source de courant électrique avant l'entretien.
Replacing pieces and panneaux avant de faire la remise en marche.
Le non-respect de ces instructions peut cause un décès ou un chocolélectrique.
- Déconnecter la source de courant électrique.

A. Conducteurs blancs
B. Conducteurs noirs
C. Connecteur de fils
corrected for bias (homologation UL)
D. Fil de terre vert (ou nu)
E. Cordon d'alimentation du domicile
F. Serre-cable homologué UL ou CSA de ½"
G. Vis verte de liaison à la terre
- Connecter ensemble les conducteurs blancs (A) à l'aide de connecteurs de fils (homologation UL).
- Connecter les conducteurs noirs (B) aux connecteurs de fils (homologation UL).

AVERTISSEMENT
Risque d'incendie
Relier le ventilateur à la terre.
Utiliser du fil en cuivre.
Brancher le fil relié à la terre à la vis verte reliée à la terre dans la boîte de la borne.
Le non-respect de ces instructions peut causeur un décès, un incendie ou un choc électrique.
- Connector le conducteur de liaison à la terre vert (ou nu) du cable d'alimentation du domicile à la vis verte de liaison à la terre dans la boîte de connexion et bien serrer.
5.Installer le couvercle du boitier de connexion.
6.Installez le 50W max lampe halogène. Voir "Remplacement de lampe halogène" dans le "Entretien de la hotte" section. - Reconnecter la source de courant électrique.
Achever l'installation
- Remplacer les panneaux inférieurs
- Réinstaller le filtré àGRAISSÉ s'il a été retire. Voir la section "Entretien de la hotte".
- Contrôler le fonctionnement du ventilateur de la hotte et de la lampe. Voir la section "Utilisation de la hotte". Si la hotte ne fonctionne pas, déterminer si un disjoncteur s'est ouvert ou si un fusible du domicile est grillé. Déconnecter la source de courant électrique et inspector les connexions du câblage.

REMARQUE
Pour pouvoir tirer le plus grand parti de la nouvelle hotte de cuisine, dire la section "Utilisation de la hotte".
INSTALLATION DE LA HOTTE (Installation sans décharge à l'extérieur [recyclage])
1.Soulever la hotte sous le placard et déterminer sa position d'installation finale en la centrant sous le placard. Sur la face inférieure du placard, marquer l'emplacement des 4 trous de montage sur la hotte (Voir les dimensions à la page 22). Placer la hotte à part sur une surface couverte.
![FRIGIDAIRE FHWC3040MS - INSTALLATION DE LA HOTTE (Installation sans décharge à l'extérieur [recyclage]) - 1](/content/2026/02/399108/images/1117b47c02f6ad64ac82cecddb994c22172e754221e8d4a47795970fed586132.jpg)
A. Découpe en trou de serrer
![FRIGIDAIRE FHWC3040MS - INSTALLATION DE LA HOTTE (Installation sans décharge à l'extérieur [recyclage]) - 2](/content/2026/02/399108/images/c21d0efaaf2a395cc5aede6615071d572c5d1ed1e4ee96248fbf514b11342b91.jpg)
2.À l'aide d'un foret de 1/8 (3 mm), percer 4 avant trous tel qu'illustré.
REMARQUE: Faire des trous sur la zone mince de la fente.
![FRIGIDAIRE FHWC3040MS - INSTALLATION DE LA HOTTE (Installation sans décharge à l'extérieur [recyclage]) - 3](/content/2026/02/399108/images/3a17ad7ac1f28c0f911b1734e2aa04d29348fcc910bc8aa705c46424e939c48d.jpg)
A. Perçage d'un avant-trou
3.Installer les 4 vis de montage .45 x 1.3 cm dans les trous. Laisser un espace d'environ de 1 / 4'' (6.4 mm) entre les têtes des vis et le placard pour faire glisser la hotte et la mesure en place.
![FRIGIDAIRE FHWC3040MS - INSTALLATION DE LA HOTTE (Installation sans décharge à l'extérieur [recyclage]) - 4](/content/2026/02/399108/images/1cd481fd2ec43d40c08b9da0ba4fb097429a51ea23069d4fd16645178893ec49.jpg)
Installation du cordon d'alimentation
- Pour les installations à raccordement direct, acheminer le cable d'alimentation du domicile selon les prescriptions du Code national de l'électricité ou des normes CSA et des codes et règlements locaux. La longueur du câblage depuis le tableau de distribution (avec fusibles ou disjoncteurs) doit être suffisante pour réaliser facilement le raccordement dans le boîtier de connexion de la hotte.

REMARQUE
Ne pasmettrelesystemesous tensionavant d'avoircompletementterminel'installation.
- Oter la vis du couvercle du boitier de connexion. Retirer le couvercle du boitier de connexion et leMETRE de cote.

A. Couvercle du boitier de connexion B. Vis
INSTALLATION DE LA HOTTE
- Oter l'opercule pour le passage de l'alimentation électrique du sommet ou de l'arrière de la hotte de ventilation (selon l'emplacement du point d'entrée du cable d'alimentation du domicile) et installer un serre cable de 12 homologué UL ou CSA.

A. Opercule pour le passage de l'alimentation électrique
4.À l'aide d'au moins deux personnes, soulever la hotte et la placer à son emplacement final. Insérer suffisamment de cable électrique à travers le serre-cable de 1/2 (homologation UL ou CSA) pour étabir les connexions avec la boîte de connexion. Serrer les vis du serre-cable.
5. Positionner les trouss allongés de la hotte par-dessus la tete des vis de montage. Puis pousser la hotte vers le mur pour engager la partie etroite des trouss sur les vis de fixation. Serrer les vis de montage en s'assurant que les vis sont dans la partie etroite des trouss de fixation des
Recyclage Couverture
Pour les recyclage installations, le couvercle de ventilation doit être retire.
Retirez le couvercle de ventilation enlevant les 2 vis de fixation avec un tournevis phillips.

REMARQUE: Pour les installations qui sont décharge sur le toit ou au mur, le couvercle de ventilation de re-circulation doit rester en place. Ne retirez pas comme unité ne fonctionnera pas bien.
Pour terminer l'installation, allez dans "Raccordement électrique" à la page 28.
UTILISATION DE LA HOTTE
La hotte de cusinière est donc pour extraire fumée,
vapeurs de cuisson de la zone de la table de cuisson.
Pour obtenir les valeurs résultats,mettre le ventilateur
de la hotte en marche avant d'entrepreneure une cuisson,
et laisser le ventilateur fonctionner pendant plusieurs
minutes après l'achèvement d'une cuisson pour pouvoir
évacuer de la cuisine toute trace de vapeur ou fumée.
Un kit de filtré à charbon pour éliminer les odeurs est disponible.
Voir page 32 pour plus d'informations sur ce kit.
Les commandes de la hotte sont situées à l'Fente de la hotte.
A. Lampes halogène
B. Patte de retenue du filtré à charbon
C. Filtre a graisse

Commandes de la hotte de cuisineire

Light On/Off

Fan On/Off

1

2

3
Fonctionnement de la lampe
Le bouton d'éclairage "Light On/Off" contrôle les deux lampes. Appuyer une fois pour On (marche) et une deuxième fois pour Off (arret).
Fonctionnement du ventilateur
Les boutons de vitesse du ventilateur (Fan On/Off, 1,2 et 3) activent le ventilateur et contrôle la vitesse du ventilateur et le niveau sonore pour un fonctionnement silencieux. On peut modifier la vitesse à tout moment pendant le fonctionnement du ventilateur en appuyant sur le bouton de vitesse du ventilateur souhaïte. Le bouton "Fan On/Off" estint le ventilateur.
Nettoyage

AVERTISSEMENT
Pour réduire le risque d'incendie ou de chocolélectrique déconnecter la source de courant électrique avant l'entretien.

IMPORTANT
Nettoyer非常喜欢 le hotte et les filtres àGRAISSE en suivant les instructions suivantes.
Réinstaller le filtré àGRAISSE avant de faire fonctionner la hotte.

IMPORTANT
Surfaces externes
Ne pas utiliser de tampons de récurage savonneux, de nettoyants abrasifs, de crème à polir pour table de cuisson, de laine d'accier, de chiffons de lavage rugueux ou d'essuie-tout.
Pour éviter d'endommager les surfaces en acier inoxydable, ne pas utiliser de nettoyants contenant du chlor.
Méthode de nettoyage:
- Detergent liquide ou nettoyant tout-usage : Rincer à l'eau propre et secher avec un chiffon doux sans charpie.
- Rincer à l'eau propre et sécher avec douceur, non pelucheux.
- Nettoyant à vitre pour éliminer les traces de doigts.
- Pour les modèles en acier inoxydable, frottier dans la direction du grain pour éviter d'égratigner ou d'endommager la surface.
REMARQUE: Le fini en acier inoxydable, propre en direction de Brosse en acier inoxydable pour éviter de rayer ou endommager la surface.
Pour nettoyer ou remplacer le filtré àGRAISSÉ:
- Oter la vis de la patte de retenue du filtrre avec un tournweis phillips.

A. Vis
B. Patte de retenue du filtré àGRAISSE
C. Filtre àGRAISE
- Pour-retirer la patte de retenue, la tirer vers l'avant de la hotte et tirer le rebord avant du filtrre vers le bas.

- Pour nettoyer le filtré àGRAISSÉ, faire tremper les filtres dans l'eau chaude avec un détergent doux. Rincez bien et secouez-le pour secher. Ou dans le panier supérieur du lave-vaisselle à nettoyer.
REMARQUE: Ne pas utiliser d'ammoniaque. L'aluminium sur le filtré àGRAISE se corrode et foncer.
REMARQUE: Vous pouvez utiliser soit lave-vaisselle ou une solution détergente chaude et rincez à l'eau potable.

REMARQUE
Le filtré àGRAISSSE peuvent être nettoyés au lavevaisselle.
Pour éviter d'endommager le filtré àGRAISSÉ pendant le nettoyage, place de filtré sur le plateau supérieur lave-vaisse.
ENTRETIEN DE LA HOTTE
Remplacement de la lampe à halogène
Interrompre l'alimentation de la hotte; attendre le refroidissement de la lampe à halogène. Pour eviter d'endommager ou de réduire la longévité de l'ampoule neuve, ne pas toucher l'ampoule avec les doigs nus. Remplacer l'ampoule en la manipulant avec un mouchoir de papier ou des gants de coton. Si les nouvelles lampes ne fonctionnent pas, vérifier que chaque lampe est correctement insérée dans sa douille avant de demander l'intervention d'un dépanneur.
- Déconnecter la source de courant électrique.
- Pousser la plaque de verre vers le haut et la tourner dans le sens antihoraire.

- Retirer l'ampoule et la remplacer par une ampoule halogène de 120 volts, 50 watts maximum avec culot GU10. La tournier dans le sens horaire pour I'emboiter.
- Répéter les étapes 2 à 3 pour les autres ampôules, si nécessaire.
- Reconnecter la source de courant électrique.
Charbon / Graise Filtre Kit
Pour recirculation hotter, un filtré à charbon en option est disponible. Il purifie l'air et élimine également les odeurs. Vous pouvez commander ce numéro de piece 5304486303.
Le filtré à charbon n'est pas lavable. Celui-ci devrait durer pendant 6 mois dans des conditions d'utilisation normales.
Remplacer les graise filtres régulierement afin de maintenir la meilleure performance de la hotte.
Problème Cause Solution
| Après l'installation, l'appareil ne fonctionne pas. | 1. La ligne électrique et le raccord de cable ne sont pas correctement branchés. | 1. Vérifiez que le branchement de l'appareil a été fait correctement. |
| 2. Les fils électriques du switches de commande sont débranchés. | 2. Assurez-vous que les fils électriques sont branchés convenablement. | |
| Les lumières fonctionnent mais le moteur ne tourne pas. | 1. Le moteur est défectueux, possiblement bloqué. | 1. Changez le moteur. |
| 2. La protection thermique détecte si le système du moteur est trop chaud pour fonctionner et éteindre le moteur | 2. Le moteur fonctionnera correctement après la protection thermique du système refroidir. | |
| 4. Le fil du moteur n'est pas branché. 4. Assurez-vous que le fil du moteur est branché dans le connecteur Molex. | ||
| L'appareil vibre. | 1. Le moteur n'est pas bien fixé à la structure. | 1. Fixez solidement le moteur en place. |
| 2. La roue du ventilateur est endommagée. 2. Changez le ventilateur. | ||
| 3. La hotte n'est pas bien fixée en place. 3. Vérifiez l'installation de la hotte. | ||
| Le moteur fonctionne mais pas les lumières. | 1. L'ampoule est défectueuse. 1. Changez l'ampoule halogène. | |
| 2. L'ampoule est desserrée. 2. Serrez l'ampoule. | ||
| 3. Les fils électriques du switch du luminère ne sont pas assez serrés. | 3. Assurez-vous que les fils sont convenablement branchés. | |
| La hotte ne fonctionne pas bien. | 1. La hotte est possiblement installée trop haute par rapport à la cusinière. | 1. Assurez-vous que la distance entre la surface de la cusinière et la base de la hotte est entre 24" et 32". |
| 2. Du vent provenant d'une fenêtre ou d'une porte ouverte avoirinante nuit à la ventilation | 2. Fermez toutes les portes et fenêtres pour éliminer les courants d'air. | |
| 3. L'ouverture du conduit ou le conduit lui-même est bloqué. | 3. Enlevez tout ce qui bloque l'ouverture ou le conduit d'aération. | |
| 4. La sortie du conduit est orienté vers le vent. | 4. Changez l'orientation de la sortie du conduit. | |
| 5. Mauvaises dimensions de conduit d'aération. | 5. Utilisez un conduit de dimension adequate. | |
| Le filtré en métal vibre. | 1. Le filtré aGRAISE est desserré. 1. Assurez-vous que la poignée à ressort fonctionne toujours. | |
| 2. La poignée rouge difficilement. 2. Remplacez le filtré aGRAISE | ||
Garantie
Votre appareil est couvert par une garantie limitée d'un an. Pendant un an à partir de la date d'achat originale, Electrolux assume les coûts des réparations ou du remplacement des pieces de tout applicel qui présente un défaut de fabrication ou de matériel, si cet applicel est installé, utilisé et entretenu selon les instructions fournies avec celui-ci.
Exclusions Cette garantie ne couvre pas ce qui suit :
- Les produits dont le numero de série original a ete enleve, modifie ou n'est pas facilement determinable.
- Les produits qui ont ete tranfere de leur propriete inal a une autre partie ou qu ne sont plus aux Etats-Unis ou au Canada.
- La rouille à l'intérieur ou à l'extérieur de l'appareil.
- Les produits vendus « tels quels » ne sont pas couverts par cette garantie.
- Les alimentes perdus en raison de pannes du réfrigerateur ou du congélateur.
- Les produits utilisés dans les établissements commerciaux.
- Les appeals de service qui ne concernent pas un malfonctionnement, un défaut de fabrication ou un vice de matériel ou pour les apparciels qui ne font pas l'objet d'un usage domestique ou qui ne sont pas utilisés conformément aux instructions fournies.
- Les appels de service pour vérifier l'installation de votre apparéil ou pour obtenir des instructions sur la façon d'utiliser votre apparéil.
- Les frais qui rendent l'appareil accessible pour une réparation, par exemple enlever des garnitures, les armoires, les étagères, etc. qui ne faisient pas partie de l'appareil lorsqu'il a quitté l'usine.
- Les appels de service au sujet de la reparation ou du remplacement des ampoules, des filtres a air, des filtres a eau, d'autre materiel ou des boutons, poignees ou autres pieces esthetiques.
- Les frais supplémentaires, y compris, sans s'y limiter, les appeals de service après les heures normales de bureau, le week-end ou les jours fériés, les droits et péages, les frais de conveyage ou les frais de déplacement pour les appeals de service dans des endroits isolés, notamment dans l'Etat de l'Alaska.
- Les dommages causes au fin de l'appareil ou a la maison pendent l'installation, y compris, sans 's y limiter, aux planchers, aux armoires, aux murs, etc.
- Les dommages causés par : des réparations faites par des techniciens non autorisés; l'utilisation de pieces autres que les pieces Electrolux d'origine qui n ont pas été obtenues par l'entremise d'un réparateur autorisé; ou les causes étrangères comme l'abus, l'alimentation électrique inadéquate, les accidents, les incendies ou les cas de force majeure. AVIS DE NON RESPONSABILITÉ SUR LES GARANTIES IMPLICITES; LIMITATIONS DES RECOURS L'UNIQUE RECOURS DU CLIENT EN VERTU DE CETTE GARANTIE LIMITÉE EST LA RÉPARATION OU LE REMPLACEMENT DU PRODUIT COMME DÉCRIT PRÉCÉDMENT. LES DEMANDES BASEES SUR DES GARANTS IMPLICITES, Y COMPRIS LES GARANTS IMPLICITES DE QUALITE MARCHANDE ET D'ADAPTATION À UN USAGE PARTICULIER SONT LIMITÉES À AU MOINS UN AN OU À LA PÉRIODE LA PLUS COURTE PERMISE PAR LA LOI. ELECTROLUX NE SERA PAS TENUE RESPONSABLE DES DOMMAGES DIRECTS OU INDIRECTS NI DES DOMMAGES MATériELS ET DES DÉPENSES IMPRÉVUES RÉSULTANT D'une VIOLATION DE CETTE GARANTIE ÉCRITE OU DE TOUTE AUTRE GARANTIE IMPLICITE. CERTAINS ÉTATS ET CERTAINES PROVINCES NE PERMETTENT PAS DE RESTRICTION OU D'EXEMPTION SUR LES DOMMAGES DIRECTS OU INDIRECTS OU DE RESTRICTION SUR LES GARANTS IMPLICITES. DANS CE CAS, CES RESTRICTIONS OU EXEMPITIONS POURRAIENT NET PAS ÉTRE APPLICABLES. CETTE GARANTIE ÉCRITE VOUS PROCURE DES DROITS LÉGAUX SPECIFIQUES. IL SE POT QUE VOUS AYEZ D'AUTRES DROITS QUI VARIENT SELON L'ÊTAT OU LA PROVINCE.
Si vous avez Conservez titre, votre bon de livraison ou une autre preune valide de paiement pour etablier la perte de la garantie dans,. besoin d'unele cas ou vous devriez faire appel aux services d'un technicien autorise. Si une reparation doit etre effectue, vauillez obtenir et reparation conserver tous les recus.
Le service auquel you aves recours en vert de ce garantie doit etre obtenu en commuiqant avec Electrolux a l'adresse ou aux numeros de tellephone indiques ci-dessous. Cete garantie n'est valide qu'aux Etats-Unis et au Canada.Aux Etats-Unis, suaappeil est garanti par Electrolux Major Appliances North America, une division de Electrolux Home Products, Inc. Au Canada, vour appareil est garanti per Electrolux Canada Corp. Personne n'est autorise a modifier ou a ajouter aux obligatons contues dans cette garantie. Les obligatons de cette garantie concernant la reparation et les pieces doivent et remplies par Electrolux ou par une compagnie de reparation autorisee. Les caractéristiques et specifications decrites ou illustrées peuvent etre modifiées sans préavis.
USA
1.282.622.373
Notice Facile