FHWC3625MW - Hotte FRIGIDAIRE - Notice d'utilisation et mode d'emploi gratuit
Retrouvez gratuitement la notice de l'appareil FHWC3625MW FRIGIDAIRE au format PDF.
| Caractéristique | Détails |
|---|---|
| Type de hotte | Hotte murale |
| Dimensions | 36 pouces (91,4 cm) de largeur |
| Capacité d'extraction | Jusqu'à 400 CFM (pieds cubes par minute) |
| Niveaux de vitesse | 3 vitesses |
| Éclairage | Éclairage LED intégré |
| Filtre | Filtres à graisse en aluminium, lavables au lave-vaisselle |
| Installation | Installation murale, nécessite un conduit d'évacuation |
| Consommation énergétique | Classe énergétique non spécifiée |
| Maintenance | Nettoyage régulier des filtres recommandé |
| Sécurité | Protection contre la surchauffe, conforme aux normes de sécurité |
| Garantie | Garantie limitée du fabricant |
| Couleur | Blanc |
FOIRE AUX QUESTIONS - FHWC3625MW FRIGIDAIRE
Questions des utilisateurs sur FHWC3625MW FRIGIDAIRE
0 question sur cet appareil. Repondez a celles que vous connaissez ou posez la votre.
Poser une nouvelle question sur cet appareil
Téléchargez la notice de votre Hotte au format PDF gratuitement ! Retrouvez votre notice FHWC3625MW - FRIGIDAIRE et reprennez votre appareil électronique en main. Sur cette page sont publiés tous les documents nécessaires à l'utilisation de votre appareil FHWC3625MW de la marque FRIGIDAIRE.
MODE D'EMPLOI FHWC3625MW FRIGIDAIRE
Avis de sécurité important.... 18
Liste des materiaux.... 20
Spécifications électriques.... 20
Exigences d'emplacement.... 21
Dimensions du produit.... 21
Exigences cencernant l'evacuation 22
Préparation d'emplacement.... 23
Installation de la hotte
(pour système d'evacuacion).... 26
Raccordement électrique.... 27
Installation de la hotte
(sans décharge à l'extérieur (recyclage))...... 28
Utilisation de la hotte.... 29
Entretien de la hotte.... 30
Dépannage.... 31
Garantie.... 32
Visitez notre site web
www.frigidaire.com
pour voir notre ligne d'accessoires
Merci d'avoir choisi Frigidaire.
Ce guide d'utilisation et d'entretien fait partie de notre engagement à la satisfaction du client et la qualité produit tout au long de la de vie de votre nouvelle appliance. Votre achat comme le début d'une relation. Pour assurer notre capacité à continuer servant vous, s'il vous plaît utiliser cette page pour enregistrer important information sur les produit.
besoin d'aide?
Visitez notre site Web à www.frigidaire.com
Avant d'appeler le service, il ya quelques choses que vous pouvez faire pour nous aider à mieux vous servir.
Lisez ce manuel d'utilisation et de soins.
Il contient des instructions pour vous aider à utiliser et à entretenir votre hotte correctement.
Si vous avez reçu une hotte endommagé ...
contactez immédiatement le revendeur (ou constructeur) que vous avez vendu la hotte.
Gagnez du temps et d'argent.
Voir "Dépannage" dans votre manuel. Cette section permet pas vous grâce à certains problèmes courants qui pourraient survenir. Si vous n'avez besoin de service, l'aide est seulement un appel téléphonique. Appelez Services à la clientèle au 1-800-944-9044.
Enregistrement du produit
L'enregistrement de votre produit avec Frigidaire améliore notre capacité à vous servir. Vous pouvez inscrire en ligne à www.frigidaire.com ou déposant votre produit Fiche d'Inscription par la poste.
Emplacement de l'étiquetta de série

Retirez le filtre et le trouver sur la paroi latérale gauche hotte.
Modèle de dossier et numéro de série
Date d'achat
Le numéro de modèle
Le numéro de serie
AVIS DE SÉCURITÉ IMPORTANT
Lire toutes les instructions avant d'utiliser l'appareil.
Conserver ces instructions pour une future consultation.
Approuvé comme appareil domestique.
Pour usage résidentiel uniquement.
Ne pas essayer d'installer ou d'utiliser votre appareil si vous n'avez pas lu les instructions de sécurité de ce manuel. Les particularités de sécurité de ce manuel sont marqués d'un AVERTISSEMENT ou ATTENTION selon le type de risque.
Ceci est le symbole d'alerte de sécurité. Il est utilisé pour vous alerter au risques potentiels de blessure. Respectez tous les messages de sécurité qui suivent ce symbole pour éviter d'éventuelles blessures ou la mort.

AVERTISSEMENT
Ce symbole vous avertit de situations pouvant causer de graves lésions corporelles, la mort ou un dommage matériel.

ATTENTION
Ce symbole vous avertit de situations pouvant causer des blessures corporelles ou des dégâts matériels.

IMPORTANT
indique l'installation, l'exploitation, entretien ou des renseignements précieux qui n'est pas de danger connexes.
Avis de sécurité important

ATTENTION
Cet appareil est conçu uniquement pour la ventilation générale. Ne pas l'utiliser pour l'extraction de matières ou vapeurs dangereuses ou explosives.

AVERTISSEMENT
POUR RÉDUIRE LE RISQUE D'INCENDIE, CHOC ÉLECTRIQUE OU DOMMAGES CORPORELS, RESPECTER LES INSTRUCTIONS SUIVANTES :
A. Utiliser cet appareil uniquement dans les applications envisagées par le fabricant. Pour toute question, contacter le fabricant.
B. Avant d'entreprendre un travail d'entretien ou de nettoyage, interrompre l'alimentation de la hotte au niveau du tableau de disjoncteurs, et verrouiller le tableau de disjoncteurs pour empêcher tout rétablissement accidentel de l'alimentation du circuit. Lorsqu'il n'est pas possible de verrouiller le tableau de disjoncteurs, placer sur le tableau de disjoncteurs une étiquette d'avertissement proéminente interdisant le rétablissement de l'alimentation.
C. Tout travail d'installation ou câblage électrique doit être réalisé par une personne qualifiée, dans le respect des prescriptions de tous les codes et normes applicables, y compris les codes du bâtiment et de protection contre les incendies.
D. Ne pas faire fonctionner un ventilateur dont le cordon ou la fiche est endommagé(e). Jeter le ventilateur ou le retourner à un centre de service agréé pour examen et/ou réparation.
E. Une source d'air de débit suffisant est nécessaire pour le fonctionnement correct de tout appareil à gaz (combustion et évacuation des gaz à combustion par la cheminée), pour qu'il n'y ait pas de reflux des gaz de combustion. Respecter les directives du fabricant de l'équipement de chauffage et les prescriptions des normes de sécurité - comme celles publiées par la National Fire Protection Association (NFPA) et l'American Society for Heating, Refrigeration and AirConditioning Engineers (ASHRAE), et les prescriptions des autorités réglementaires locales.
F. Lors d'opérations de découpage et de perçage dans un mur ou un plafond, veiller à ne pas endommager les câblages électriques ou canalisations qui peuvent s'y trouver.
G. Les ventilateurs d'évacuation doivent toujours décharger l'air à l'extérieur.
AVIS DE SÉCURITÉ IMPORTANT

ATTENTION
Pour minimiser le risque d'incendie et évacuer adéquatement les gaz, veiller à acheminer l'air aspiré par un conduit jusqu'à l'extérieur - ne pas décharger l'air aspiré dans un espace vide du bâtiment comme une cavité murale, un plafond, un grenier, un vide sanitaire ou un garage.

AVERTISSEMENT
POUR RÉDUIRE LE RISQUE D'INCENDIE, UTILISER UNIQUEMENT DES CONDUITS MÉTALLIQUES.

AVERTISSEMENT
Pour réduire le risque d'incendie ou de choc électrique, ne pas utiliser ce ventilateur avec un quelconque dispositif de réglage de la vitesse à semiconducteurs.

AVERTISSEMENT
POUR MINIMISER LE RISQUE D'UN FEU DE GRAISSE SUR LA CUISINIÈRE :
a) Ne jamais laisser un élément de surface fonctionner à puissance de chauffage maximale sans surveillance. Un renversement/débordement de matière graisseuse pourrait provoquer une inflammation et la génération de fumée. Utiliser une puissance de chauffage moyenne ou basse pour le chauffage d'huile.
b) Veiller à toujours faire fonctionner le ventilateur de la hotte lors de la cuisson avec une puissance de chauffage élevée ou lors de la cuisson d'un mets à flamber (à savoir crêpes Suzette, cerise jubilée, steak au poivre flambé).
c) Nettoyer fréquemment les ventilateurs d'extraction. Veiller à ne pas laisser la graisse s'accumuler sur les surfaces du ventilateur ou des filtres.
d) Utiliser toujours un ustensile de taille appropriée. Utiliser toujours un ustensile adapté à la taille de l'élément chauffant.

AVERTISSEMENT
POUR RÉDUIRE LE RISQUE DE DOMMAGES CORPORELS APRÈS LE DÉCLENCHEMENT D'UN FEU DE GRAISSE SUR LA CUISINIÈRE, APPLIQUER LES RECOMMANDATIONS SUIVANTES
a) Placer sur le récipient un couvercle bien ajusté, une tôle à biscuits ou un plateau métallique POUR ÉTOUFFER LES FLAMMES, puis éteindre le brûleur.
VEILLER À ÉVITER LES BRÛLURES. Si les flammes ne s'éteignent pas immédiatement, ÉVACUER LA PIÈCE ET APPELER LES POMPIERS.
b)NE JAMAIS PRENDRE EN MAIN UN RÉCIPIENT ENFLAMMÉ - vous risquez de vous brûler.
c) NE PAS UTILISER D'EAU, ni un torchon humide - ceci pourrait provoquer une explosion de vapeur brûlante.
d) Utiliser un extincteur SEULEMENT si :
– Il s'agit d'un extincteur de classe ABC, dont on connaît le fonctionnement.
– Il s'agit d'un petit feu encore limité à l'endroit où il s'est déclaré.
– Les pompiers ont été contactés.
- Il est possible de garder le dos orienté vers une sortie pendant l'opération de lutte contre le feu.
OPERATION
Toujours laisser les grilles de sécurité et de filtres dans place. Sans ces composants, des souffleuses exploitation pourrait attraper sur les cheveux, les doigts et les vêtements amples.
Le fabricant décline toute responsabilité en cas de non-respect des instructions données ici pour l'installation, la maintenance et appropriée du produit. Le fabricant décline toute responsabilité pour d'autres blessures dues à la négligence et la garantie de l'unité expire automatiquement à cause d'un mauvais entretien.
LISTE DES MATERIAUX
Outils et pièces
Pièces fournies
• 4 vis de montage de 0.45 x 1.3 cm
- Adaptateur rectangulaire du conduits de ventilation de 3½" x 10" (8.3 x 25.4 cm)
REMARQUE: Une optionel kit de conduit rond de 7" est disponible. Vous pouvez commander ce kit dans le numéro de la pièce: 5304487139.
Pièces nécessaires
• 2 connecteurs de fils homologués UL
- 1 ampoule à incandescence de 75 watts max., 120 V
- Bouche de décharge murale ou à travers le toit (avec clapet) correspondant au système d'évacuation
- Brides de conduit/ruban adhésif (selon le besoin)
- Serre-câble homologué UL ou CSA de 12 "
Outils nécessaires
- Perceuse
- Foret de 1 14 (3 cm)
- Foret de 18'' (3 mm) pour avant-trous
- Crayon
- Pince à dénuder ou couteau utilitaire
- Mètre-ruban ou règle
- Pistolet à calfeutrage et composé de calfeutrage résistant aux intempéries
- Tournevis à lame plate
- Tournevis Phillips
• Scie sauteuse ou scie à guichet
Pour placards avec cavité au fond :
- Deux tringles d'appui de largeur 2" (5,1 cm). Longueur et épaisseur selon les dimensions de l'encastrement.
- Quatre vis à bois à tête plate ou vis à métaux avec rondelles et écrous (pour la fixation des tringles d'appui). Exigences d'emplacement
SPÉCIFICATIONS ÉLECTRIQUES
Observer les dispositions de tous les codes et règlements en vigueur.
Vérifier que l'installation électrique a été correctement effectuée et qu'elle est conforme aux spécifications de la plus récente édition des normes National Electrical Code, ANSI/NFPA 70, ou de la norme CSA C22.1-94, Code canadien de l'électricité, partie 1 et C22.2 N° 0-M91 (dernière édition) et de tous les codes et règlements en vigueur locaux.
Si les codes le permettent et si on utilise un conducteur distinct de liaison à la terre, il est recommandé qu'un électricien qualifié vérifie la qualité de la liaison à la terre. Pour obtenir un exemplaire de la norme des codes ci-dessus, contacter :
- L'appareil doit être alimenté par un circuit de 120 V, CA seulement, 60 Hz, 15 A, protégé par fusible.
- Si le domicile est équipé d'un câblage en aluminium, suivre les instructions suivantes :
- Connecter une section de câble en cuivre massif aux conducteurs en queue de cochon.
- Connecter le câblage en aluminium à la section ajoutée de câblage en cuivre en utilisant des connecteurs et/ou des outils spécialement conçus et homologués UL pour fixer le cuivre à l'aluminium.
Appliquer la procédure recommandée par le fabricant des connecteurs. La connexion aluminium/cuivre doit être conforme aux codes locaux et aux pratiques de câblage acceptées par l'industrie.
- Le calibre des conducteurs et les connexions doivent être compatibles avec la demande de courant de l'appareil spécifiée sur la plaque signalétique. La plaque signalétique de l'appareil est située derrière le filtre, sur la paroi arrière de la hotte.
- Le calibre des conducteurs doit satisfaire aux exigences de la plus récente édition de la norme National Electrical Code, ANSI/NFPA 70, ou de la norme CSA C22.1-94, Code canadien de l'électricité, partie 1 et C22.2 n° 0-M91 (dernière édition) et de tous les codes et règlements en vigueur.
EXIGENCES D'EMPLACEMENT

IMPORTANT
Respectez tous les codes et ordonnances.
- C'est à l'installateur qu'incombe la responsabilité de respecter les distances de séparation exigées, spécifiées sur la plaque signalétique de l'appareil. La plaque signalétique est située à l'intérieur de la hotte, sur la paroi de gauche.
Installer la hotte de cuisinière à distance de toute zone exposée à des courants d'air, comme fenêtres, portes et bouches de chauffage à fort débit. - Respecter les dimensions indiquées pour les ouvertures à découper dans les placards. Ces dimensions tiennent compte des valeurs minimales des dégagements de séparation. Avant d'effectuer des découpages, consulter les instructions d'installation fournies par le fabricant de la table de cuisson/cuisinière.
- On doit disposer d'une prise de courant électrique reliée à la terre. Voir la section "Spécifications électriques".
- Assurer l'étanchéité au niveau de chaque ouverture découpée dans le plafond ou le mur pour l'installation de la hotte de cuisinière.
Installation dans une résidence mobile
L'installation de cette hotte doit satisfaire aux exigences de la norme Manufactured Home Construction Safety Standards, Titre 24 CFR, partie 328 (anciennement Federal Standard for Mobile Home Construction and Safety, titre 24, HUD, partie 280); lorsque cette norme n'est pas applicable, l'installation doit satisfaire aux critères de la plus récente édition de la norme Manufactured Home Installation 1982 (Manufactured Home Sites, Communities.
Distances de dégagement à respecter

A. 66 "(167 cm) a suggéré min. - En haut de la hotte à l'étage.
B. 30" (76,2 cm) de largeur de cabinet min. pour les modèles de 30" (76,2 cm) et 36" (91,4 cm) de largeur min. de placard pour les modèles de 36" (91,4 cm)
C. Profondeur de placard 13" (33 cm)
D. Hauteur de placard du bas 36" (91,4 cm)
| Modèle Dim | A Dim B | |
| FHWC3025modèle de 30" | 30" (76.2 cm) 6 | ^9/_16 " (16.7 cm) |
| FHWC3625modèle de 36" | 36" (91.44 cm) 9 | ^1/2 " (24.3 cm) |
EXIGENCES CONCERNANT L'ÉVACUATION
- Le système d'évacuation doit décharger l'air à l'extérieur.
- Ne pas terminer le circuit d'évacuation dans un grenier ou dans un autre espace clos.
- Ne pas utiliser une bouche de décharge murale de 4" (10,2 cm) normalement utilisée pour un équipement de buanderie.
- Utiliser un conduit métallique rond de 7" (17,8 cm) ou un conduit métallique rectangulaire de 3 ^1/4 " x 10" (8,3 x 25,4 cm), selon le modèle. Un conduit en métal rigide est recommandé. Ne pas utiliser de conduit de plastique ou en aluminium.
- La longueur du système d'évacuation et le nombre de coudes doit être réduit au minimum pour des performances optimales.
Pour un fonctionnement efficace et silencieux :
- Ne pas utiliser plus de trois coudes à 90°.
- Veiller à ce qu'il y ait une section droite de conduit d'un minimum de 24" (61 cm) entre les raccords coudés, si on doit en utiliser plus d'un.
- Ne pas installer 2 coudes successifs.
- Au niveau de chaque jointure du circuit d'évacuation, assurer l'étanchéité avec les brides de serrage ou du ruban adhésif.
- Le circuit d'évacuation doit comporter un clapet anti-reflux.
- Utilisez du calfeutrage pour sceller un mur extérieur ou toit ouvrant autour du bouchon.
- Les meilleures performances sont atteintes avec la tuyauterie droite, sans les coudes et sans utiliser tube lisse.
- Longueur maximale recommandé pour Système de ventilation: 35 ft (10.7 m).
Installations dans les régions au climat froid
On doit installer un clapet anti-reflux supplémentaire à l'arrière pour minimiser le reflux d'air froid et incorporer un élément d'isolation thermique pour minimiser la conduction de chaleur par l'intermédiaire du conduit d'évacuation, de l'intérieur de la maison à l'extérieur. Le clapet anti-reflux doit être placé du côté air froid de la résistance thermique.
L'élément d'isolation thermique doit être aussi proche que possible de l'endroit où le circuit d'évacuation s'introduit dans la partie chauffée de la maison.
Air d'appoint
Le code du bâtiment local peut exiger l'emploi d'un système d'appoint d'air lors de l'emploi d'un ventilateur d'extraction dont la capacité d'aspiration est supérieure à un débit (pieds cubes par minute) spécifié. Le débit spécifié en pieds cubes par minute varie d'une juridiction à l'autre. Consulter un professionnel des installations de chauffage ventilation/climatisation au sujet des exigences spécifiques applicables dans la juridiction locale.
Méthodes d'évacuation
La sortie à l'extérieur du circuit d'évacuation peut se faire à travers le toit ou à travers un mur. Utiliser des conduits rectangulaires de 3 ^1/4 " x 10" (8,3 x 25,4 cm) avec une longueur maximale de 35 pi (10,7 m) ou des conduits rond de 7" (17,8 cm) de diamètre ou plus avec une longueur maximale de 50 pi (15,2 m) pour le système d'évacuation.

REMARQUE
On déconseille l'emploi d'un conduit flexible. Un conduit flexible peut causer une rétro-pression et des turbulences de l'air, ce qui réduirait considérablement la performance.
Décharge à travers le toit Évacuation par le mur

text_image
A B C
text_image
A B CA. Conduit rectangulaire de 3 ^1/4 x 10" (8,3 x 25,4 cm) pour décharge à travers le toit (achat séparé)
B. Bouche de décharge sur toit avec clapet (achat séparé)
C. Entre 18" (45,7 cm) min. et 24" (61 cm) max. audessus de la surface de cuisson.
A. Conduit rectangulaire de 3 ^1/4 x 10" (8,3 x 25,4 cm) pour décharge à travers, le mur ou le sommet (achat séparé)
B. Bouche de décharge murale avec clapet (achat séparé)
C. Entre 18" (45,7 cm) min. et 24" (61 cm) max. au-dessus de la surface de cuisson
EXIGENCES CONCERNANT L'ÉVACUATION
Calcul de la longueur du circuit d'évacuation
Pour calculer la longueur effective du circuit d'évacuation nécessaire, additionner les longueurs équivalentes (en pieds ou mètres) de tous les composants utilisés dans le système.
Système de décharge rond de 7" (17,8 cm)
| Composant | |
| coude a 90° 5.0 pi(1.5 m) | ![]() |
| Bouche de décharge 0.0 pimurale de (0.0 m) | |
Exemple de circuit d'évacuation

text_image
Conduit rond de 7" (17,8 cm) coude à 90° 6 pi (1.8 m) 2 pi (0.6 m) Bouche de décharge murale| Longueur maximale recommandée | = 50 ft (15.2 m) |
1 - coude 90° = 5.0 ft (1.5 m)
Section droite de 8 pi (2.4 m) = 8.0 ft (2.4 m)
1 - bouche de décharge murale = 0.0 ft (0.0 m)
Loungeur du système rond de 7" (17.8 cm) = 13.0 ft (3.9 m)
Système de décharge de 3 ^1/4 " x 10" (8,3 cm x 25,4 cm)
| Composant | ||
| 31⁄4" x 10" (8.3 cm x 25.4 cm)coude a 90° (1.5 m) | 5.0 pi | ![]() |
| 31⁄4" x 10" (8.3 cm x 25.4 cm)coude plat (3.7 m) | 12.0 pi | ![]() |
| Bouche de décharge 0.0 pimurale de (0.0 m)31⁄4" x 10" (8.3 cm x 25.4 cm) | ![]() | |
Exemple de circuit d'évacuation

text_image
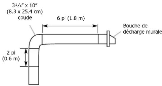
3¹/⁴" x 10" (8.3 x 25.4 cm) coude 6 pi (1.8 m) 2 pi (0.6 m) Bouche de décharge muraleLongueur maximale recommandée = 35 pi (10.7 m)
| 1 - coude 90° = 5.0 pi (1.5 m) | |
| Section droite de 8 pi (2.4 m) = 8.0 pi (2.4 m) | |
| 1 - bouche de décharge murale = 0.0 pi (0.0 m) | |
| Longueur du système de 31⁄4" x 10" = 13.0 pi (3.9 m)(8,3cm x 25.4 cm) |
PRÉPARATION DE L'EMPLACEMENT

REMARQUE
Avant d'exécuter les découpages, vérifier la disponibilité d'un dégagement suffisant dans le plafond ou le mur pour le conduit d'évacuation.
- Déconnecter la source de courant électrique.
- Sélectionner une surface plane pour l'assemblage de la hotte. Placer le matériau de protection sur cette surface.
-
Soulever la hotte et la placer à l'envers sur une surface couverte.
-
Si le fond du placard forme une cavité, ajouter des tringles d'appui en bois de chaque côté. Installer les vis pour fixer les tringles d'appui aux emplacements indiqués.

text_image
Tringles d'appui en bois (seulement pour fond de placard avec cavité) Bord inf. du placard Vis de 4.5 x 13 mm 3" (7.6 cm) 3" (7.6 cm) MurPRÉPARATION DE L'EMPLACEMENT
Déterminer l'emplacement du trou de passage du câble
- Déterminer et tracer clairement l'axe central vertical sur le mur et le placard dans la zone où le passage du conduit d'évacuation sera réalisé.
A. Axe central

Câblage à travers le sommet du placard :
- Tracer une ligne de distance (A) à partir de la droite de l'axe central, sur la face inférieure du placard. Sur cette ligne, marquer le point situé à 78 " (2.2 cm) du mur arrière. Percer en ce point un trou de 114 " (3.2 cm) de diamètre (B) à travers le placard.
| modèle de la hotte | Dim A |
| 30" & 36" modèles | 8 38 " (21.3 cm) |
A. Axe central

text_image
7/8" (2.2 cm) à partir du mur, et non du cadre du placardPassage du câble à travers le mur :
- Tracer une ligne de distance (A) à partir de la droite de l'axe central, sur la face inférieure du mur. Marquer un point sur cette ligne qui se trouve à 7/8" (2.2 cm) de la face inférieure du placard. Percer en ce point un trou de 1¼" (3.2 cm) de diamètre à travers la paroi arrière.

text_image
modèle de la hotte Dim A 30" & 36" modèles 8¾" (21.3 cm) /8" (2.2 cm) A. Axe CentralVENTILATION
Choisissez décharge d'évacuation à partir des différents options listées - Style 1 - 4 qui suit:
Style 1 - Hotte à recyclage
Pour cette installation, allez dans "Installation de la Hotte (recyclage version)" à la page 28.
Style 2 - Découpages d'ouverture pour un système d'évacuation rectangulaire de 3^1/4 x 10'' (8,3 cm x 25,4 cm)
Décharge à travers le toit
Découpage d'une ouverture rectangulaire de 4" x 10½" (10.16 cm x 26.7 cm) sur la face inférieure du sommet et du bas du placard :
-
Tracer des lignes à ½" (1,3 cm) et 4¾" (12,1 cm) du mur arrière, sur l'axe central de la face inférieure du placard.
-
Tracer des lignes à 5 ^1/4 " (13,3 cm) de part et d'autre de l'axe central sur la face inférieure du placard.
-
Utiliser une scie sauteuse ou une scie à guichet pour découper l'ouverture rectangulaire pour le passage du conduit d'évacuation.
-
Répéter les étapes 1 à 3 pour la face inférieure du sommet du placard.

text_image
Axe central Ouvertures découpées dans le placard +1/2 (1.3 cm) +4/4 (12.1 cm) 5/4 (13.3 cm) 51/4 (13.3 cm) à partir du mur, et non du cadre du placardÉvacuation par le mur
Découpage d'une ouverture rectangulaire de 3½" x 10½" (8,9 cm x 26,7 cm) dans le mur :
-
Mesurer 2 lignes de ^3/8 (0,9 cm) et ^3/8 (9,8 cm) en descendant à partir de la face inférieure du placard et marquer leur emplacement sur l'axe central du mur arrière.
-
Tracer des lignes à 5 ^1/4 " (13,3 cm) de part et d'autre de l'axe central sur le mur.
PRÉPARATION DE L'EMPLACEMENT
- Utiliser une scie sauteuse ou une scie à guichet pour découper l'ouverture rectangulaire du système d'évacuation dans le mur.

Style 3 – Découpages d'ouverture pour un conduit rond de 7" (17.8 cm) sur un transition rectangulaire de 3 ^1/4 " x 10" (8,3 cm x 25,4 cm)
Décharge à travers le toit
Découpage d'une ouverture circulaire sur la face inférieure du sommet du placard :
- Tracer un axe central sur la face inférieure du sommet du placard.
- Tracer une ligne de 5" (12,7 cm) en partant du mur arrière sur la face inférieure du sommet du placard.
- Utiliser un compas ou un gabarit circulaire pour tracer un cercle avec un diamètre de 14 " (0,64 cm) supérieur à celui du conduit d'évacuation.

text_image
Ø 7½" (19 cm) Axe central 5" (12.7 cm) Ouvertures découpées dans le placard à partir du mur, et non du cadre du placardStyle 4 - Découpages d'ouverture pour un système d'évacuation rond de 7" (17.8 cm)
Décharge à travers le toit
Pour le découpage d'ouvertures pour conduit rond sur la face inférieure du fond ou du sommet du placard :
REMARQUE: Le kit de transition rond de 7 ", Numéro de Ipièce 5304487139, est nécessaire pour cette installation.
- Mark a centerline on the underside of the top of cabinet.
- Mark a line 5" (12.7 cm) from the back wall on the underside of the top of cabinet.
- Utiliser un compas ou un gabarit circulaire pour tracer un cercle avec un diamètre de 7½" (19 cm).
Utiliser une scie sauteuse ou une scie à guichet pour découper l'ouverture circulaire pour le passage du conduit d'évacuation
- Répétez les étapes 1-3 pour le dessous de la partie supérieure du placard.

text_image
"Ø 7½" (19 cm) Axe central "5" (12.7 cm) Ouvertures découpées dans le placard à partir du mur, et non du cadre du placardInstallation du conduit d'évacuation
- Installer le conduit d'évacuation à travers les ouvertures découpées dans le placard mural ou le mur. Achever l'installation du système d'évacuation conformément à la méthode d'évacuation sélectionnée. Voir la section "Exigences concernant l'évacuation".
- À l'aide d'un produit de calfeutrage, assurer l'étanchéité autour de la bouche de décharge à l'extérieur (à travers le mur ou le toit).
INSTALLATION DE LA HOTTE
INSTALLATION DE LA HOTTE (pour système d'évacuation)

REMARQUE
L'intérieur de la hotte peut comporter un clapet anti-reflux rectangulaire de 3 ^1/4 " x 10" (8,3 x 25,4 cm).
- Déballez le 3 ^1/4 "x 10" (8,3 x 25,4 cm) conduit rectangulaire de l'intérieur de votre hotte de cuisinière. Pour détacher le connecteur, retirez les 2 vis de montage (.35 X .95 cm) et conserver les dans un endroit sûr pour réinstaller plus tard (voir étape 5).

text_image
A B 3¼" x 10" (8.3 x 25.4 cm) x 9.5 mmA. conduit rectangulaire de 3 ^1/4 " x 10" (8.3 x 25.4 cm) B. vis de montage de 3.5 x 9.5 mm
- Soulever la hotte sous le placard et déterminer sa position d'installation finale en la centrant sous le placard. Sur la face inférieure du placard, marquer l'emplacement des 4 trous de montage sur la hotte (Voir les dimensions à la page 21). Placer la hotte à part sur une surface couverte.

A. Découpe en trou de serrure

text_image
A e ● ●- À l'aide d'un foret de ^1/8 (3 mm), percer 4 avant trous tel qu'illustré.
REMARQUE: Faire des trous sur la zone mince de la fente.

A. Perçage d'un avant-trou
- Installer les 4 vis de montage .45 x 1.3 mm dans les avanttrous. Laisser un espace d'environ entre les têtes des vis et le placard pour faire glisser la hotte et la mettre en place.

- Pour les installations avec passage par le toit, retirer l'opercule amovible rectangulaire supérieur du conduit d'évacuation. Pour les installations murales, retirer l'opercule amovible rectangulaire arrière.

text_image
A B C d'évacuation ectangulaire évacuation ectangulaire amière duA. Opercule amovible en demi-cercle du conduit d'évacuation B. Opercule amovible rectangulaire supérieur du conduit d'évacuation C. Opercule amovible rectangulaire a conduit d'évacuation
- Installer le clapet anti-reflux rectangulaire de 3½"x10" (8,3 x 25,4 cm). Fixez la hotte avec les vis de montage (.35 x .95 cm) que vous avez déjà supprimé (étape 1) et enlever le ruban adhésif du clapet.
Installation du cordon d'alimentation
- Pour les installations à raccordement direct, acheminer le câble d'alimentation du domicile selon les prescriptions du Code national de l'électricité ou des normes CSA et des codes et règlements locaux. La longueur du câblage depuis le tableau de distribution (avec fusibles ou disjoncteurs) doit être suffisante pour réaliser facilement le raccordement dans le boîtier de connexion de la hotte.
Pour les installations avec ensemble de cordon d'alimentation facultatif, suivre les instructions de la section "Raccordement électrique".

REMARQUE
Ne pas mettre le système sous tension avant d'avoir complètement terminé l'installation.
- Ôter la vis du couvercle du boîtier de connexion. Retirer le couvercle du boîtier de connexion et le mettre de côté.
A. Couvercle du boîtier de connexion B. Vls

- Ôter l'opercule pour le passage de l'alimentation électrique du sommet ou de l'arrière de la hotte de ventilation (selon l'emplacement du point d'entrée du câble d'alimentation du domicile) et installer un serre câble de 12 " homologué UL ou CSA.

text_image
A e passage de triqueA. Opercule pour le passage de l'alimentation électrique
-
À l'aide d'au moins deux personnes, soulever la hotte et la placer à son emplacement final. Insérer suffisamment de câble électrique à travers le serre-câble de 1/2" (homologation UL ou CSA) pour établir les connexions avec la boîte de connexion. Serrer les vis du serre -câble.
-
Positionner les trous allongés de la hotte par-dessus la tête des vis de montage. Puis pousser la hotte vers le mur pour engager la partie étroite des trous sur les vis de fixation. Serrer les vis de montage en s'assurant que les vis sont dans la partie étroite des trous de fixation des vis.
-
Raccorder le circuit d'évacuation à la hotte. Assurer l'étanchéité des jointures et la solidité de l'installation avec des brides pour conduits ou du ruban adhésif.
-
Vérifier que les clapets anti-reflux fonctionnent correctement.

REMARQUE
La transition rectangulaire de 3 ^1/4 "x 10" (8,3 x 25,4 cm) peut être installé avec 1" (2,5 cm) décalage dans le centre de la hotte de chaque côté, pour installer le conduit de ventilation.
RACCORDEMENT ÉLECTRIQUE

AVERTISSEMENT
Risque de choc électrique Déconnecter la source de courant électrique avant l'entretien.
Replacer pièces et panneaux avant de faire la remise en marche.
Le non-respect de ces instructions peut causer un décès ou un choc électrique.
- Déconnecter la source de courant électrique.

A. Conducteurs blancs
B. Conducteurs noirs
C. Connecteur de fils
(homologation UL)
D. Fil de terre vert (ou nu)
E. Cordon d'alimentation du domicil
F. Serre-câble homologué UL ou CSA de 1/2"
G. Vis verte de liaison à la terre
-
Connecter ensemble les conducteurs blancs (A) à l'aide de connecteurs de fils (homologation UL).
-
Connecter les conducteurs noirs (B) aux connecteurs de fils (homologation UL).

AVERTISSEMENT
Risque d'incendie
Relier le ventilateur à la terre. Utiliser du fil en cuivre.
Brancher le fil relié à la terre à la vis verte reliée à la terre dans la boîte de la borne.
Le non-respect de ces instructions peut causer un décès, un incendie ou un choc électrique.
-
Connecter le conducteur de liaison à la terre vert (ou nu) du câble d'alimentation du domicile à la vis verte de liaison à la terre dans la boîte de connexion et bien serrer.
-
Installer le couvercle du boîtier de connexion.
-
Reconnecter la source de courant électrique.
INSTALLATION DE LA HOTTE
Achever l'installation
- Installer l'ampoule à incandescence de 75 watts (maximum). Voir "Remplacement de l'ampoule à incandescence" à la section "Entretien de la hotte".
- Réinstaller le filtre à graisse s'il a été retiré. Voir la section "Entretien de la hotte".
- Contrôler le fonctionnement du ventilateur de la hotte et de la lampe. Voir la section "Utilisation de la hotte". Si la hotte ne fonctionne pas, déterminer si un disjoncteur s'est ouvert ou si un fusible du domicile est grillé. Déconnecter la source de courant électrique et inspecter les connexions du câblage.

REMARQUE
Pour pouvoir tirer le plus grand parti de la nouvelle hotte de cuisinière, lire la section "Utilisation de la hotte".
INSTALLATION DE LA HOTTE (Installation sans décharge à l'extérieur (recyclage))
- Soulever la hotte sous le placard et déterminer sa position d'installation finale en la centrant sous le placard. Sur la face inférieure du placard, marquer l'emplacement des 4 trous de montage sur la hotte (Voir les dimensions à la page 21). Placer la hotte à part sur une surface couverte.

text_image
A. Découpe en trou de serrure- À l'aide d'un foret de ^1/8 (3 mm), percer 4 avant trous tel qu'illustré.
REMARQUE: Faire des trous sur la zone mince de la fente.

A. Perçage d'un avant-trou
- Installer les 4 vis de montage .45 x 1.3 mm dans les trous. Laisser un espace d'environ entre les têtes des vis et le placard pour faire glisser la hotte et la mettre en place.

Installation du cordon d'alimentation
- Pour les installations à raccordement direct, acheminer le câble d'alimentation du domicile selon les prescriptions du Code national de l'électricité ou des normes CSA et des codes et règlements locaux. La longueur du câblage depuis le tableau de distribution (avec fusibles ou disjoncteurs) doit être suffisante pour réaliser facilement le raccordement dans le boîtier de connexion de la hotte. Pour les installations avec ensemble de cordon d'alimentation facultatif, suivre les instructions de la section "Raccordement électrique".

REMARQUE
Ne pas mettre le système sous tension avant d'avoir complètement terminé l'installation.
- Ôter la vis du couvercle du boîtier de connexion. Retirer le couvercle du boîtier de connexion et le mettre de côté.
A. Couvercle du boîtier de connexion B. Vis

- Ôter l'opercule pour le passage de l'alimentation électrique du sommet ou de l'arrière de la hotte de ventilation (selon l'emplacement du point d'entrée du câble d'alimentation du domicile) et installer un serre câble de 1/2" homologué UL ou CSA.

text_image
A e passage de triqueA. Opercule pour le passage de l'alimentation électrique
- À l'aide d'au moins deux personnes, soulever la hotte et la placer à son emplacement final. Insérer suffisamment de câble électrique à travers le serre-câble de 1/2" (homologation UL ou CSA) pour établir les connexions avec la boîte de connexion. Serrer les vis du serre -câble.
- Positionner les trous allongés de la hotte par-dessus la tête des vis de montage. Puis pousser la hotte vers le mur pour engager la partie étroite des trous sur les vis de fixation. Serrer les vis de montage en s'assurant que les vis sont dans la partie étroite des trous de fixation des vis
Recyclage Couverture
Pour les recyclage installations, le couvercle de ventilation doit être retiré.
Retirez le couvercle de ventilation enlevant les 2 vis de fixation avec un tournevis cruciforme.

text_image
Partie étant retiréREMARQUE: Pour les installations qui sont décharge sur le toit ou au mur, le couvercle de ventilation de recirculation doit rester en place. Ne retirez pas comme unité ne fonctionnera pas bien.
Pour terminer l'installation, allez dans "Raccordement électrique" à la page 27.
UTILISATION DE LA HOTTE
La hotte de cuisinière est conçue pour extraire fumée, vapeurs de cuisson et odeurs de la zone de la table de cuisson. Pour obtenir les meilleurs résultats, mettre le ventilateur de la hotte en marche avant d'entreprendre une cuisson, et laisser le ventilateur fonctionner pendant plusieurs minutes après l'achèvement d'une cuisson pour pouvoir évacuer de la cuisine toute trace d'odeur de cuisson, vapeur ou fumée. Les commandes de la hotte sont situées sur le sommet ou la face avant de la hotte.
A. Logement et protège-ampoule de l'ampoule à incandescence
B. Patte de retenue du filtre à charbon
C. Filtre à graisse

text_image
e de harbon A B CCommandes de la hotte de cuisinière


A. Commutateur d'éclairage
Marche/arrêt
B. Commutateur de vitesse du ventilateur
Pour faire fonctionner la lampe
Pousser le commutateur d'éclairage vers la droit pour allumer la lumière.
Pousser le commutateur d'éclairage vers la gauche pour éteindre la lumière.
Fonctionnement du ventilateur
Pousser le commutateur du ventilateur vers la gauche pour la vitesse réduite. Pousser le commutateur du ventilateur vers la droite pour la vitesse élevée. Placer le commutateur du ventilateur au milieu pour arrêter le ventilateur.
ENTRETIEN DE LA HOTTE
Nettoyage

AVERTISSEMENT
Pour réduire le risque d'incendie ou de choc électrique déconnecter la source de courant électrique avant l'entretien.

IMPORTANT
Nettoyer fréquemment la hotte et les filtres à graisse en suivant les instructions suivantes. Réinstaller le filtre à graisse avant de faire fonctionner la hotte.

IMPORTANT
Surfaces externes
Ne pas utiliser de tampons de récurage savonneux, de nettoyants abrasifs, de crème à polir pour table de cuisson, de laine d'acier, de chiffons de lavage rugueux ou d'essuie-tout. Pour éviter d'endommager les surfaces en acier inoxydable, ne pas utiliser de nettoyants contenant du chlore.
Méthode de nettoyage:
- Détergent liquide ou nettoyant tout-usage : Rincer à l'eau propre et sécher avec un chiffon doux sans charpie.
- Rincer à l'eau propre et sécher avec douceur, non pelucheux.
- Nettoyant à vitre pour éliminer les traces de doigts.
- Pour les modèles en acier inoxydable, frotter dans la direction du grain pour éviter d'égratigner ou d'endommager la surface.
REMARQUE: Le fini en acier inoxydable, propre en direction de brosse en acier inoxydable pour éviter de rayer ou endommager la surface.
Pour nettoyer ou remplacer le filtre à graisse:
- Retirer la vis du retenue du filtre avec un tournevis cruciforme.
- Tournez le retenue de filtre pour libérer le.

text_image
A. Patte de retenue du filtre- Remettez le filtre en plaçant le bord arrière dans le canal à l'arrière de la hotte. Pousser le filtre en place, tourner la retenue du filtre pour immobiliser le filtre à hotte.
- Revisser dans la retenue du filtre.
- Pour nettoyer le filtre à graisse, faire tremper les filtres dans l'eau chaude avec un détergent doux. Rincez bien et secouez-le pour sécher. Ou dans le panier supérieur du lave-vaisselle à net
REMARQUE: Ne pas utiliser d'ammoniaque. L'aluminium sur le filtre à graisse se corrode et foncer.
REMARQUE: Vous pouvez utiliser soit lave-vaisselle ou une solution détergente chaude et rincez à l'eau potable.

Le filtre à graisse peuvent être nettoyés au lave-vaisselle.
Pour éviter d'endommager le filtre à graisse pendant le nettoyage, place de filtre sur le plateau supérieur lave-vaisselle.
Remplacement de l'ampoule à incandescence
- Éteindre la hotte et laisser l'ampoule refroidir.
- Déconnecter la source de courant électrique.
- Exercer une pression sur le cabochon en plastique de protection pour pouvoir le retirer de la hotte.

-
Visser la lampe (75W max, 120V) dans la douille.
-
Réinstaller le cabochon : exercer une pression sur le cabochon pour pouvoir insérer les pattes dans les ouvertures d'insertion.
-
Reconnecter la source de courant électrique.
Si la nouvelle lampe ne fonctionne pas, vérifier que la lampe est correctement insérée dans sa douille avant de demander l'intervention d'un dépanneur.

text_image
A BA. Douille de l'ampoule B. Cabochon
Kit de filtre á Graisse / Charbon
Pour recirculation hotte, un filtre à charbon est disponible en option. Vous pouvez commander avec le numéro de pièce 5304486302. Le filtre à charbon n'est pas lavable. Il devrait durer jusqu'à 6 mois en utilisation normale. Remplacez le filtre à charbon avec une vieille nouveau filtre à charbon.
Problème Cause Solution
| Après l'installation, l'appareil ne fonctionne pas. | 1. La ligne électrique et le raccord de câble ne sont pas correctement branchés. | 1. Vérifiez que le branchement de l'appareil a été fait correctement. |
| 2. Les fils électriques du switches de commande sont débranchés. | 2. Assurez-vous que les fils électriques sont branchés convenablement. | |
| Les lumières fonctionnent mais le moteur ne tourne pas. | 1. Le moteur est défectueux, possiblement bloqué. | 1. Changez le moteur. |
| 2. La protection thermique détecte si le système du moteur est trop chaud pour fonctionner et éteindre le moteur | 2. Le moteur fonctionnera correctement après la protection thermique du système refroidir. | |
| 4. Le fil du moteur n'est pas branché. 4. Assurez-vous que le fil du moteur est branché dans le connecteur Molex. | ||
| L'appareil vibre. | 1. Le moteur n'est pas bien fixé à la structure. | 1. Fixez solidement le moteur en place. |
| 2. La roue du ventilateur est endommagée. 2. Changez le ventilateur. | ||
| 3. La hotte n'est pas bien fixée en place. 3. Vérifiez l'installation de la hotte. | ||
| Le moteur fonctionne mais pas les lumières. | 1. L'ampoule est défectueuse. 1. Changez l'ampoule halogène. | |
| 2. L'ampoule est desserrée. 2. Serrez l'ampoule. | ||
| 3. Les fils électriques du switch du lumière ne sont pas assez serrés. | 3. Assurez-vous que les fils sont convenablement branchés. | |
| La hotte ne fonctionne pas bien. | 1. La hotte est possiblement installée trop haute par rapport à la cuisinière. | 1. Assurez-vous que la distance entre la surface de la cuisinière et la base de la hotte est entre 24" et 32". |
| 2. Du vent provenant d'une fenêtre ou d'une porte ouverte avoisinante nuit à la ventilation | 2. Fermez toutes les portes et fenêtres pour éliminer les courants d'air. | |
| 3. L'ouverture du conduit ou le conduit lui-même est bloqué. | 3. Enlevez tout ce qui bloque l'ouverture ou le conduit d'aération. | |
| 4. La sortie du conduit est orienté vers le vent. 4. Changez l'orientation de la sortie du conduit. | ||
| 5. Mauvaises dimensions de conduit d'aération. 5. Utilisez un conduit de dimension adéquate. | ||
| Le filtre en métal vibre. | 1. Le filtre á graise est desserré. 1. Assurez-vous que la poignée à ressort fonctionne toujours. | |
| 2. La poignée bouge difficilement| | 2. Remplacez le filtre á graise | |
Garantie
Votre appareil est couvert par une garantie limitée d'un an. Pendant un an à partir de la date d'achat originale, Electrolux assumera les coûts des réparations ou du remplacement des pièces de tout appareil qui présente un défaut de fabrication ou de matériau, si cet appareil est installé, utilisé et entretenu selon les instructions fournies avec celui-ci.
Exclusions Cette garantie ne couvre pas ce qui suit :
-
Les produits dont le numero de serie original a ete enleve, modifie ou n'est pas facilement determinable.
-
Les produits qui ont été transférés de leur propriétaire initial à une autre partie ou qui ne sont plus aux États-Unis ou au Canada.
-
La rouille à l'intérieur ou à l'extérieur de l'appareil.
-
Les produits vendus « tels quels » ne sont pas couverts par cette garantie.
-
Les aliments perdus en raison de pannes du réfrigérateur ou du congélateur.
-
Les produits utilisés dans les établissements commerciaux.
-
Les appels de service qui ne concernent pas un malfonctionnement, un défaut de fabrication ou un vice de matériau ou pour les appareils qui ne font pas l'objet d'un usage domestique ou qui ne sont pas utilisés conformément aux instructions fournies.
-
Les appels de service pour verifier l'installation de votre appareil ou pour obtenir des instructions sur la façon d'utiliser votre appareil.
-
Les frais qui rendent l'appareil accessible pour une réparation, par exemple enlever des garnitures, les armoires, les étagères, etc. qui ne faisaient pas partie de l'appareil lorsqu'il a quitté l'usine.
-
Les appels de service au sujet de la reparation ou du remplacement des ampoules, des filtres a air, des filtres a eau, d'autre matériel ou des boutons, poignées ou autres pieces esthetiques.
-
Les frais supplémentaires, y compris, sans s'y limiter, les appels de service après les heures normales de bureau, le week-end ou les jours fériés, les droits et péages, les frais de convoyage ou les frais de déplacement pour les appels de service dans des endroits isolés, notamment dans l'État de l'Alaska.
-
Les dommages causes au fini de l'appareil ou a la maison pendent l'installation, y compris, sans 's y limiter, aux planchers, aux armoires, aux murs, etc.
-
Les dommages causés par : des réparations faites par des techniciens non autorisés; l'utilisation de pièces autres que les pièces Electrolux d'origine qui n'ont pas été obtenues par l'entremise d'un réparateur autorisé; ou les causes étrangères comme l'abus, l'alimentation électrique inadéquate, les accidents, les incendies ou les cas de force majeure. AVIS DE NON RESPONSABILITÉ SUR LES GARANTIES IMPLICITES; LIMITATIONS DES RECOURS L'UNIQUE RECOURS DU CLIENT EN VERTU DE CETTE GARANTIE LIMITÉE EST LA RÉPARATION OU LE REMPLACEMENT DU PRODUIT COMME DÉCRIT PRÉCÉDEMMENT. LES DEMANDES BASÉES SUR DES GARANTIES IMPLICITES, Y COMPRIS LES GARANTIES IMPLICITES DE QUALITÉ MARCHANDE ET D'ADAPTATION À UN USAGE PARTICULIER SONT LIMITÉES À AU MOINS UN AN OU À LA PÉRIODE LA PLUS COURTE PERMISE PAR LA LOI. ELECTROLUX NE SERA PAS TENUE RESPONSABLE DES DOMMAGES DIRECTS OU INDIRECTS NI DES DOMMAGES MATÉRIELS ET DES DÉPENSES IMPRÉVUES RÉSULTANT D'UNE VIOLATION DE CETTE GARANTIE ÉCRITE OU DE TOUTE AUTRE GARANTIE IMPLICITE. CERTAINS ÉTATS ET CERTAINES PROVINCES NE PERMETTENT PAS DE RESTRICTION OU D'EXEMPTION SUR LES DOMMAGES DIRECTS OU INDIRECTS OU DE RESTRICTION SUR LES GARANTIES IMPLICITES. DANS CE CAS, CES RESTRICTIONS OU EXEMPTIONS POURRAIENT NE PAS ÊTRE APPLICABLES. CETTE GARANTIE ÉCRITE VOUS PROCURE DES DROITS LÉGAUX SPÉCIFIQUES. IL SE PEUT QUE VOUS AYEZ D'AUTRES DROITS QUI VARIENT SELON L'ÉTAT OU LA PROVINCE.
Si vous avez Conservez votre reçu, votre bon de livraison ou une autre preuve valide de paiement pour établir la période de la garantie dans besoin d'unele cas où vous devriez faire appel aux services d'un technicien autorisé. Si une réparation doit être effectuee, vauillez obtenir et réparation conserver tous les recus.
Le service auquel vous avez recours en vertu de cette garantie doit être obtenu en communiquant avec Electrolux à l'adresse ou aux numéros de téléphone indiqués ci-dessous. Cette garantie n'est valide qu'aux États-Unis et au Canada. Aux États-Unis, votre appareil est garanti par Electrolux Major Appliances North America, une division de Electrolux Home Products, Inc. Au Canada, votre appareil est garanti per Electrolux Canada Corp. Personne n'est autorise a modifier ou a ajouter aux obligations contenues dans cette garantie. Les obligations de cette garantie concernant la réparation et les pièces doivent être remplies par Electrolux ou par une compagnie de réparation autorisée. Les caractéristiques et spécifications décrites ou illustrées peuvent être modifiées sans préavis.
USA
1.282.622.373
Notice Facile



