FHWC3650RS - Hotte FRIGIDAIRE - Notice d'utilisation et mode d'emploi gratuit
Retrouvez gratuitement la notice de l'appareil FHWC3650RS FRIGIDAIRE au format PDF.
| Caractéristiques techniques | Hotte murale de 90 cm, moteur puissant, 3 niveaux de vitesse, éclairage LED intégré |
|---|---|
| Débit d'air | Jusqu'à 600 m³/h |
| Niveau sonore | Max 65 dB |
| Filtration | Filtres à graisse en aluminium, filtres à charbon (en option) |
| Dimensions | Largeur : 90 cm, Profondeur : 50 cm, Hauteur : 15 cm |
| Installation | Installation murale, nécessite un conduit d'évacuation ou un mode recyclage |
| Entretien | Filtres à graisse lavables au lave-vaisselle, nettoyage régulier de la surface |
| Sécurité | Protection contre la surchauffe, arrêt automatique en cas de surchauffe |
| Garantie | 2 ans |
| Informations supplémentaires | Design moderne, disponible en acier inoxydable, compatible avec les cuisines contemporaines |
FOIRE AUX QUESTIONS - FHWC3650RS FRIGIDAIRE
Questions des utilisateurs sur FHWC3650RS FRIGIDAIRE
0 question sur cet appareil. Repondez a celles que vous connaissez ou posez la votre.
Poser une nouvelle question sur cet appareil
Téléchargez la notice de votre Hotte au format PDF gratuitement ! Retrouvez votre notice FHWC3650RS - FRIGIDAIRE et reprennez votre appareil électronique en main. Sur cette page sont publiés tous les documents nécessaires à l'utilisation de votre appareil FHWC3650RS de la marque FRIGIDAIRE.
MODE D'EMPLOI FHWC3650RS FRIGIDAIRE
l'entretien et l'utilisation
de votre Hotte

Importantes consignes de sécurité .... 3
Liste des matériels .... 5
Exigences électriques .... 5
Exigences d'emplacement 6
Dimensions du produit .... 6
Exigences concernant l'évacuation ....7
Préparer l'emplacement 8
Installation de la hotte (version à Conduit).... 10
Effectuer un branchement électrique ....11
Utilisation de la hotte ....12
Entretien de la hotte ....13
Dépannage ....15
Informations sur la garantie ....16
BIENVENUE ET FÉLICITATIONS
Avez-vous des questions?
1-800-374-4432
(États-Unis)
1-800-265-8352
(Canada)
Félicitations pour votre achat d'une nouvelle hotte! À Electrolux Home Products, nous sommes très fiers de notre produit et nous nous engageons à vous fournir le meilleur service possible. Votre satisfaction est notre priorité absolue.
Nous savons que vous apprécierez votre nouvelle hotte et Merci d'avoir choisi notre produit. Nous espérons que vous nous considérez pour de futurs achats.
VEUILLEZ LIRE ATTENTIVEMENT ET CONSERVER CES INSTRUCTIONS
Ce manuel d'utilisation et d'entretien fournit des instructions de fonctionnement spécifiques pour votre modèle. Utilisez votre hotte uniquement comme indiqué dans ce manuel. Ces instructions ne sont pas destinées à couvrir toutes les conditions et situations possibles qui pourraient survenir. Le bon sens et la prudence doivent être exercés lors de l'installation, l'exploitation et l'entretien de tout appareil.
Veuillez enregistrer votre modèle et les numéros de série ci-dessous pour de futures références.
Numéro de modèle: ____
Numéro de série: ____
Date d'achat: ____
AVEZ-VOUS BESOIN D'AIDE?
Visiter le site Web de Frigidaire: http://www.frigidaire.com
Avant d'appeler le service, il y a certaines choses que vous pouvez faire pour nous aider à mieux vous servir.
Lire ce manuel
Il contient des instructions pour vous aider à correctement utiliser et entretenir votre hotte.
Si vous avez reçu une hotte endommagée... contactez immédiatement le revendeur (ou le constructeur) qui vous a vendu la hotte.
Gagner du temps et de l'argent.
Consulter la section intitulée «Dépannage». Cette section vous aide à résoudre des problèmes communs qui pourraient survenir. Si vous avez besoin d'un service, détendez-vous, sachant qu'un coup de téléphone vous garantira de l'aide.
Une liste de numéros de service à la clientèle sans frais est incluse sur le dos de ce manuel. Ou appeler le Service à la clientèle de Frigidaire au 1-800-374-4432, du lundi au samedi 8 heures-20 heures, heure normale de l'Est.
Emplacement de la plaque de série
Pivoter vers le bas la grille du ventilateur et retirer les filtres à graisse. Se reporter à la page 13 pour plus d'informations

La plaque signalétique se trouve sur la gauche à l'intérieur de la hotte
IMPORTANTES CONSIGNES DE SÉCURITÉ
Lisez toutes les instructions avant d'utiliser cet appareil.
Conserver ces instructions pour de futures références.
Approuvé pour des appareils résidentiels
Pour uniquement des usages résidentiels
Ne pas tenter d'installer ou d'utiliser votre appareil, jusqu'à ce que vous ayez lu les consignes de sécurité dans ce manuel.
Éléments de sécurité présents dans ce guide sont identifiés par un AVERTISSEMENT ou ATTENTION selon le type de risque.
Voici le symbole d'alerte à la sécurité. Il est utilisé pour vous avertir des risques de blessures potentiels. Respecter tous les messages de sécurité qui suivent ce symbole pour éviter une blessure ou la mort.

AVERTISSEMENT
Ce symbole vous avertit des situations qui peuvent causer de sérieux dommages du corps, la mort ou des dommages matériels.

ATTENTION
ATTENTION signale une situation potentiellement dangereuse susceptible d'entraîner des blessures mineures.

IMPORTANT
IMPORTANT indique des informations d'installation, d'exploitation, d'entretien ou des informations précieuses qui ne sont pas liées aux dangers.
IMPORTANTES CONSIGNES DE SÉCURITÉ

ATTENTION
POUR USAGE DE VENTILATION GÉNÉRALE SEULEMENT. NE PAS UTILISER POUR ÉVACUER DES MATIÈRES OU DES VAPEURS DANGEREUSES OU EXPLOSIVES.

AVERTISSEMENT
POUR RÉDUIRE LE RISQUE D'INCENDIE, DE CHOC ÉLECTRIQUE OU DE BLESSURE, SUIVRE LES INSTRUCTIONS SUIVANTES:
A. Utiliser cet appareil uniquement de la manière prévue par le fabricant. Si vous avez des questions, contactez le fabricant.
B. Avant de réparer ou de nettoyer l'appareil, couper le courant au niveau du panneau de service et verrouiller le panneau de service, déconnectant des moyens d'éviter une mise en marche accidentelle. Lorsque le dispositif de déconnexion ne peut être verrouillé, apposer un dispositif d'avertissement bien visible, comme une étiquette, sur le panneau de service.
C. Les travaux d'installation et le câblage électrique doivent être effectués par une(des) personne(s) qualifiée(s) en conformité avec tous les codes et normes applicables, y compris la construction à indice de résistance au feu.
D. De l'air suffisant est nécessaire pour une bonne combustion et l'évacuation des gaz par le conduit (Cheminée) de l'équipement de combustion de carburant pour empêcher le refoulement de l'air. Suivre les lignes directrices et les normes de sécurité des fabricants d'équipement de chauffage, comme celles publiées par la National Fire Protection Association (NFPA), l'American Society for Heating, Refrigeration and Air Conditioning Engineers (ASHRAE), et les codes des autorités locales.
E. Lorsque vous coupez ou percez un mur ou un plafond, n'endommagez pas le câblage électrique et les autres services publics cachés.
F. Les systèmes canalisés doivent toujours évacuer de l'air vers l'extérieur.

ATTENTION
Pour éviter tout risque d'incendie et pour assurer une évacuation d'air appropriée, ne pas évacuer l'air dans les murs, les plafonds, le grenier, les faux plafonds ou les garages.

AVERTISSEMENT
POUR RÉDUIRE LE RISQUE D'INCENDIE, UTILISER UNIQUEMENT DES CONDUITS EN MÉTAL.
Installer cette hotte en conformité avec toutes les exigences spécifiées.
IMPORTANTES CONSIGNES DE SÉCURITÉ

AVERTISSEMENT
Pour réduire le risque d'incendie ou d'électrocution, ne pas utiliser cette hotte avec tout dispositif externe de contrôle de vitesse semi-conducteur.

AVERTISSEMENT
POUR RÉDUIRE LE RISQUE D'UN INCENDIE DE GRAISSE.
a) Ne jamais s'éloigner des surfaces d'appareils avec chaleur élevée. Les débordements causent de la fumée et les résidus graisseux peuvent s'enflammer. Chauffer lentement les huiles à feu doux ou moyen.
b) Faire toujours fonctionner la hotte pour une cuisson à feu vif ou pour faire flamber des repas (c'est-à-dire crêpes Suzette, cerises Jubilé, steak au poivre).
c) Nettoyer les pales des éventails fréquemment. Éviter de laisser la graisse s'accumuler sur le ventilateur ou le filtre.
d) Utiliser la taille de casserole qui convient. Utilisez toujours l'ustensile de cuisson approprié à la taille de la surface chauffante de l'élément.

AVERTISSEMENT
POUR RÉDUIRE LE RISQUE DE BLESSURE AUX PERSONNES EN CAS D'INCENDIE DE GRAISSE, RESPECTEZ LES POINTS SUIVANTS:
a) ÉTOUFFER LES FLAMMES à l'aide d'un couvercle hermétique, d'une plaque à biscuits ou d'un autre plateau de métal et eteindre le brûleur à gaz ou l'élément électrique. ATTENTION DE NE PAS VOUS BRÛLER. Si les flammes ne s'éteignent pas immédiatement, ÉVACUER LES LIEUX ET APPELER LES POMPIERS.
b) NE JAMAIS PRENDRE UNE CASSEROLE EN FLAMMES - Vous pouvez vous brûler.
c) NE JAMAIS UTILISER D'EAU, encore moins des linges ou des serviettes humides, qui risquent de provoquer une violente explosion de vapeur.
d) Utiliser SEULEMENT un extincteur si:
- Vous savez que votre extincteur est de catégorie ABC et que vous savez l'utiliser.
- L'incendie est mineur et limité à la zone où il a débuté.
- Vous avez fait appel aux pompiers.
- Vous pouvez tenter d'éteindre l'incendie tout en vous dirigeant vers une sortie proche.
FONCTIONNEMENT
Toujours laisser les grilles de sécurité et les filtres en place. Sans ces éléments, les ventilateurs en marche pourraient aspirer les cheveux, les doigts et les vêtements amples.
Le fabricant décline toute responsabilité en cas de non-respect des instructions données ici pour l'installation, l'entretien et l'utilisation appropriée du produit. En plus, le fabricant décline toute responsabilité pour les blessures dues à la négligence et la garantie de l'appareil expire automatiquement à cause d'un mauvais entretien.

ATTENTION
Retirer le carton avec soin. Porter des gants pour se protéger contre des arêtes vives.
LISTE DES MATÉRIAUX
Pièces incluses dans votre hotte
• 3 1/4 "x 10" Volet motorisé rectangulaire
• 2 - Filtres à graisse
• Usage et Soin/Manuel d'installation
- Kit du vis de fixation
2 - 0,49 * 5,0 cm vis de montage
4 - 0,50 * 1,9 cm vis de montage
6 - 0,40 * 0,8 cm Vis du volet motorisé rectangulaire
2 - ancrages muraux en plastique
Outils/Matériaux requis
- Serre-fils
- Longueur du conduit métallique adapté à votre installation
- Collier de serrage d'évacuation /ruban adhésif, si nécessaire
- Décharge de traction de 1/2" homologuée UL ou CSA
- Retirer le film protecteur recouvrant le produit, avant de le mettre en service.
- Mèche de forage de 5/64" pour les trous de guidage de l'armoire
- Crayon
- Coupe-fil/Pince à dénuder
- Mètre ruban
- Pistolet à calfeutrer et composé de calfeutrage résistant aux intempéries
- Tournevis à lame plate
- Tournevis Philips
• Scie sauteuse ou scie à guichet - Lunettes de sécurité
• Gants
Pour les armoires à fonds creux:
- Deux - Larges bandes de remplissage de 2"(5,1 cm). Longueur et épaisseur déterminées par les dimensions de linteau.
- Quatre vis à bois à tête plate ou vis à métaux avec des rondelles et des écrous (pour fixer les bandes de remplissage).

REMARQUE
Pour installer le recirculation de ventilation, veuillez utiliser kit de recirculation FHWRKT30RS pour modèle FHWC3050RS et utilisee kit de recirculation FHWRKT36RS pour modèle FHWC3650RSB
EXIGENCES ÉLECTRIQUES
Observer tous les codes et règlements en vigueur. S'assurer que l'installation électrique est adéquate et en conformité avec le National Electrical Code, ANSI/NFPA 70 (dernière édition), ou Normes CSA C22.1-94, Code canadien de l'électricité, Partie 1 et C22.2 N° 0-M91 (dernière édition) et tous les codes et règlements locaux. Si les codes le permettent et un fil de terre distinct est utilisé, il est recommandé qu'un électricien qualifié détermine que le circuit de mise à la terre est adéquat. Une copie de la norme des codes ci-dessus peut être obtenue à partir de:
- Un circuit électrique à fusibles de 120 volts, 60 Hz., CA seulement, 15 ampères, est nécessaire.
-
Si la maison dispose d'un câblage en aluminium, suivre la procédure ci-dessous:
-
Connecter une section de fil de cuivre massif aux conducteurs pigtail.
- Connecter le câblage en aluminium à la section ajoutée de câble en cuivre, en utilisant des connecteurs et/ou des outils spécialement conçus et homologués UL pour fixer le cuivre à l'aluminium.
Suivre la procédure recommandée par le fabricant du connecteur électrique. Connexion de cuivre/d'aluminium doit être conforme aux codes locaux et aux pratiques de câblage acceptées par l'industrie.
- Les dimensions et les connexions des fils doivent être conformes à la notation de l'appareil, comme indiquée sur le modèle /la plaque signalétique. Le modèle/la plaque signalétique se trouve sur la gauche de la hotte
- Les dimensions de fils doivent être conformes aux exigences du National Electrical Code, ANSI/NFPA 70 (dernière édition), ou aux Normes CSA C22. 1-94, le Canada Electrical Code, Partie 1 et C22.2 N° 0-M91 (dernière édition) et tous les codes et règlements locaux.
EXIGENCES D'EMPLACEMENT

IMPORTANT
Observer tous les codes et règlements en vigueur.
- Il est de la responsabilité de l'installateur de respecter les distances d'installation.
- L'emplacement de la hotte doit être loin des fortes zones d'action, telles que les fenêtres, les portes et les puissants conduits de chauffage.
- Les dimensions d'ouverture de l'armoire qui sont affichées doivent être utilisées. Ces dimensions offrent un dégagement minimal.
- Prise électrique de terre est nécessaire. Voir la section "Exigences électriques".
- Toutes les ouvertures, dans le plafond et dans le mur où la hotte d'évacuation sera installée, doivent être scellées.
Pour les Installation dans une maison mobile
L'installation de cette hotte doit être conforme à la norme Manufactured Home Construction Safety Standards, Titre 24 CFR Partie 328 (jadis Federal Standard for Mobile Home Construction and Safety, Titre 24, HUD, Partie 280) ou lorsque cette norme n'est pas applicable, la norme de 1982 pour Manufactured Home Installation (Manufactured Home Sites, Communities and Setups) ANSI A225.1/NFPA 501A, ou dernière édition, ou aux codes locaux.
Dimensions de l'armoire

A. 24" (61,0 cm) min. pour les surfaces de cuisson électriques 27" (68,6 cm) min. pour les surfaces de cuisson au gaz 30" (76,2 cm) suggéré au max.
B. Largeur d'ouverture de l'armoire de 30" (76,2 cm) min. pour les modèles de 30" (76,2 cm) et la largeur d'armoire de 36" (91,4 cm) min. pour les modèles de 36" (91,4 cm).
C. Hauteur de l'armoire de base de 36" (91,4 cm)
- Ne pas évacuer l'air dans le grenier ou tout autre endroit fermé
- Ne pas utiliser un capuchon de mur de type blanchisserie de 4" (10,2 cm).
- Utiliser uniquement un conduit métallique. Un conduit métallique rigide est recommandé.
Conduit en plastique ou en feuille de métal n'est pas recommandé. - La longueur du système d'évacuation et le nombre de coudes doivent être réduits au minimum, afin de fournir des performances efficaces.
Pour le fonctionnement le plus efficace et silencieux:
- Ne pas utiliser plus de trois coudes à 90°.
- S'assurer qu'il ya un minimum de 24" (61 cm) de ventilation droit entre les coudes, si plus de 1 coude sont utilisés.
- Ne pas installer 2 coudes ensembles.
- Utiliser des pinces ou un ruban adhésif pour sceller tous les joints dans le système d'évacuation.
- Le système d'évacuation à la sortie doit avoir un volet de régulation d'air froid.
- Utiliser du calfeutrage pour sceller l'ouverture du mur ou du toit extérieur autour du bouchon.
- Les meilleures performances sont atteintes avec la tuyauterie droite, sans les coudes et en utilisant un tuyau lisse.
Installations en temps froids
Un volet anti-refoulement supplémentaire devrait être installé pour minimiser les reflux d'air froid et une rupture thermique doit être installée pour minimiser la conduction des températures extérieures dans le cadre du système de ventilation. Le volet devrait être sur le côté de l'air froid de la rupture thermique.
La rupture doit être aussi proche que possible de l'endroit où le système de ventilation entre dans la partie chauffée de la maison.
Air de compensation
Les codes locaux de bâtiment peuvent exiger l'utilisation de systèmes d'air de compensation, lors de l'utilisation des systèmes de ventilation plus importants que le CFM spécifié de circulation de l'air. Le CFM spécifié varie d'un endroit à l'autre. Consultez votre professionnel de CVC pour des besoins spécifiques dans votre région.
Méthodes d'évacuation
Système d'évacuation peut évacuer de l'air à travers le toit ou le mur. Utiliser 3¼ "x 10" (8,3 x 25,4 cm) rectangulaire avec une longueur de conduit maximale de 35 pieds (10,7 m) pour le système d'évacuation.

REMARQUE
Un conduit flexible est déconseillé. Un conduit flexible crée à la fois une contre-pression et la turbulence de l'air qui réduisent considérablement la performance.
Évacuation par le toit Évacuation par le mur

Calcul de la longueur du système d'évacuation
Pour calculer la longueur du système dont vous avez besoin, ajoutez l'équivalente en pieds (mètres) pour chaque pièce d'évacuation utilisée dans le système.
Ces directions sont uniquement pour l'installation d'évacuation rectangulaire.
Si vous choisissez d'utiliser un système d'évacuation rond et rigide en métal, le diamètre minimum à utiliser est de 8".
Système d'évacuation rectangulaire de 1/4" x 10" (8,3 cm x 25,4 cm)
Pièce d'évacuation
| Coude de 90° 314'' × 10'' (8.3 cm x 25.4 cm) | 5 pieds(1,5 m) | |
| Coude plat 314'' × 10'' (8.3 cm x 25.4 cm) | 12pieds(3,7 m) | |
| Capuchon de mur 314'' × 10'' (8.3 cm x 25.4 cm) | 0,0 pieds(0,00 cm) |
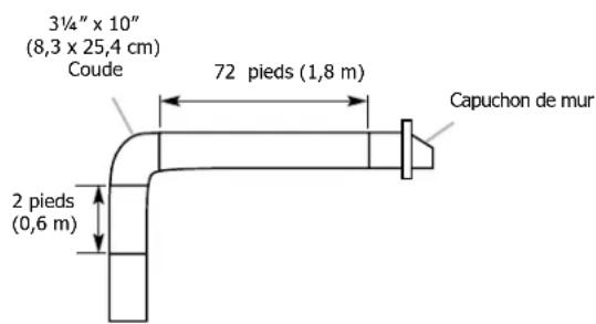
Exemple de système d'évacuation

text_image
3¼" x 10" (8,3 x 25,4 cm) Coude 72 pieds (1,8 m) Capuchon de mur 2 pieds (0,6 m)| Longueur maximale recommandée | = 35 pieds (10,7 m) |
| Coude de 1 - 90° = 5.0 pieds (1,5 m) | |
| 8 pi (2,4 m) tout droit | = 8.0 pieds (2,4 m) |
| 1 - capuchon de mur | = 0,0 pieds (0,0 m) |
| Longueur de 3 1⁄4 "x 10" | = 156 pulgadas (3,9 m) |
| système (8,3 cm x 25,4 cm) |
EXIGENCES CONCERNANT L'ÉVACUATION
PRÉPARER L'EMPLACEMENT

REMARQUE
Avant de faire des découpes, s'assurer qu'il y a un dégagement suffisant dans le plafond, mur ou armoire. Le matériel de montage est fourni pour fixer la hotte à la plupart des types de murs et d'armoires. Cependant, un technicien qualifié doit vérifier la compatibilité des matériaux en conformité avec le type de mur et d'armoire.
- Débrancher l'alimentation électrique.
- Sélectionner une surface plane pour l'assemblage de la hotte. Placer la couverture sur cette surface.
- Soulever la hotte et la mettre à l'envers sur la surface couverte.
- Si l'armoire a un fond creux, ajouter «deux-2" (5,1 cm) larges bandes de remplissage. Longueur et épaisseur déterminées par les dimensions de linteau. Quatre vis à bois à tête plate ou vis à métaux avec des rondelles et des écrous, pour fixer les bandes de remplissage, dans les emplacements affichés.

text_image
3" (7,6 cm) Fond de l'armoire Bandes filtrantes en bois (fonds d'armoire creux seulement) 3" (7,6 cm) Mur- Soulever la hotte sous l'armoire et déterminer l'emplacement final en la centrant sous l'armoire. Marquer, sur la face inférieure de l'armoire, l'emplacement des 4 les trous de montage des fentes de serrure sur la hotte (Voir dimensions des fentes à la page 6). Marquer les emplacements des trous de vis de montage arrière. Placer la hotte de côté sur une surface couverte.

text_image
A 566 124 80 A Keyhole slot- Utiliser une mèche de forage de 5/64" et percer 4 trous de guidage comme indiqué pour le support supérieur de la hotte.
NOTE: Faire des trous de forage sur la zone mince de la fente.

A. Trou de parcelle de forage
- Installer les vis de montage 4-0,50 cm x 1,9 cm dans les trous pilotes. Laissez environ }/4"(6,4 mm) d'espace entre les têtes de vis et l'armoire pour glisser la hotte en place.

- Installer le cadrage pour le support arrière de la hotte Si le placoplâtre est présent, en utilisant les emplacements des trous de vis de montage arrières marqués à l'étape précédente, couper assez de placoplâtre pour exposer 2 montants verticaux au niveau des emplacements des trous de vis de montage arrières. Installer le support horizontal au moins 2"X 4" entre deux poteaux muraux au niveau des emplacements des trous de vis de montage arrières. Le support horizontal doit être aligné avec le côté chaud des poteaux. Utiliser les taquets derrière les deux côtés du support pour fixer aux poteaux muraux. Réinstaller le placoplâtre et retoucher. IMPORTANT - Le cadrage doit être capable de supporter 100 livres.

text_image
Ouverture de 8-1/2" min. pour les conduits Vue de derrière Tacouts 2" X 4" Min. Support de montage Ligne médiane de l'espace d'installationPRÉPARER L'EMPLACEMENT
Déterminer l'emplacement du trou de câblage
- Déterminer et marquer clairement une ligne médiane verticale sur le mur et au fond de l'armoire.

text_image
Une ligne médiane APour câbler par le haut:
Marquer une distance en ligne (A) de la droite de la ligne médiane sur la face inférieure de l'armoire. Marquer le point sur cette ligne, ce qui est de 1 1/2" (3,8 cm) du mur arrière. Percer un trou (B) de 1 ¼"(3,2 cm) de diamètre dans l'armoire au niveau de ce point.
| Modèle de hotte | Dim A |
| Modèle de 30" & 36" | 8 5/8(21.9 cm) |

text_image
A B 1-1/2" (3,8) du mur, pas le cadre de l'armoire Ligne médianePour câbler à travers le mur:
- Marquer une distance en ligne (A) de la droite de la ligne médiane sur la face inférieure du mur. Marquer le point sur cette ligne, ce qui est de 1 1/2" (3,8 cm)de la face inférieure de l'armoire. Percer un trou (B) de 1 ¼"(3,2 cm) de diamètre dans le mur arrière au niveau de ce point.

text_image
Modèle de hotte Dim A Modèle de 30" & 36" 8 5/8" (21.9 cm) A Ligne médianeÉvacuation par le toit
Pour faire une découpe rectangulaire de 4 ^1/4 " x 10 ^1/2 " (10,80 cm x 26,7 cm) sur la face inférieure du haut et du bas de l'armoire:
- Marquer les lignes ^5/8 " (1,6 cm) et 4 ^1/4 " (10,80 cm) du mur arrière sur la ligne médiane de la face inférieure de l'armoire.
- Marquer les lignes 5 ^1/4 " (13,3 cm) à droite et à gauche de la ligne médiane sur la face inférieure de l'armoire.
-
Utiliser la scie sauteuse ou scie à guichet pour effectuer une ouverture rectangulaire pour
-
l'évacuation. Répéter les étapes 1-3 pour la face inférieure du haut de l'armoire.

text_image
Repeter les étapes 1-3 pour la face-micricure du m de l'armoire. Ligne médiane Découpes de l'armoire *5/8 (1,6 cm) 4'/4" (10,8 cm) 5'/4" (13,3 cm) 5'/4" (13,3 cm) Depuis le mur, pas le cadre de l'armoireÉvacuation par le mur
Pour faire un rectangle de 4 14 " x 10 12 " (10,8 cm x 26,7 cm) dans le mur:
- Faire 2 lignes en mesurant 14 " (0,63 cm) and 4"(10,16 cm) vers le bas à partir de la face inférieure de l'armoire et marquer sur la ligne médiane sur le mur arrière.
- Marquer les lignes 5 ^1/4 " (13,3 cm) à droite et à gauche de la ligne médiane sur le mur.
- Utiliser la scie sauteuse ou scie à guichet pour effectuer une ouverture dans le mur pour l'évacuation. Ligne médiane

text_image
Armoire avant 4" (16:16) 0,63 cm 5" /4" (13,3 cm) 5" /4" (13,3 cm)PRÉPARER L'EMPLACEMENT
Installer le système d'évacuation
- Installer l'évacuation à travers l'ouverture d'évacuation dans l'armoire supérieure ou le mur. Système d'évacuation complet selon le procédé d'évacuation sélectionné. Voir la section «Exigences concernant l'évacuation».
- Utiliser du calfeutrage pour sceller l'ouverture du mur ou du toit extérieur autour du bouchon.
INSTALLER LA HOTTE (version à Conduit)
- Retirer le volet motorisé rectangulaire de 3 ^1/4 x 10" (8,3 x 25,4 cm) de l'emballage.

A. Volet motorisé rectangulaire de 3¼"X 10" (8,3 x 25,4 cm)
- Pour les installations de toit, enlever l'ouverture d'évacuation rectangulaire supérieure A. Pour les installations murales, retirer l'ouverture d'évacuation rectangulaire arrière B.

text_image
A B âire supérieure âire arrièreA. Ouverture rectangulaire supérieure B. Ouverture rectangulaire arrière
Installation du volet motorisé
Installer le volet motorisé de 3 ^1/4 " x 10" (8,3 x 25,4 cm).
Attacher à la hotte en utilisant les vis indiquées fournies dans le kit de matériel.

text_image
Installer la transition d'é rectangulaire de 3¼"X : A. Transition d'évacuation 3¼" x 10" (8,3 x 25,4 c B. 6 - vis de 0,40 x 0,80 C. Ouverture rectangulaInstaller la transition d'évacuation
rectangulaire de 3¼"X 10" (8,3 cm x25,4)
A. Transition d'évacuation rectangulaire de
3¼" × 10" (8,3 × 25,4 cm)
B. 6 - vis de 0,40 x 0,80 cm
C. Ouverture rectangulaire d'évacuation
- Si un volet motorisé est installé avec un capuchon de mur avec le volet, vérifier qui n'interfèrent pas les uns avec les autres. Retirer le clapet du volet motorisé s'ils interfèrent.
Installation du câble d'alimentation électrique
- Pour installations directes des fils, faire passer le câble d'alimentation de la maison selon le National Electric Code ou normes de la CSA et des codes et règlements locaux.

REMARQUE
Ne pas rebrancher l'alimentation jusqu'à ce que l'installation soit terminée. Avant de commencer l'installation, retirer la grille d'évacuation et les filtres à graisse.
- Retirer les vis du couvercle de la boîte à bornes. Retirer le couvercle de la boîte à bornes et mettre de côté. B

A. Couvercle de la boîte à bornes
B. Vis
INSTALLATION DE LA HOTTE
- Retirer l'ouverture d'alimentation par le haut ou l'arrière de la hotte d'évacuation (en fonction de l'emplacement entrant du câble d'alimentation électrique de votre maison) et installer une décharge de traction de 1/2" homologuée UL ou CSA.

text_image
A entation électriqueA.Ouverture d'alimentation électrique
- Soulever la hotte en position finale.
Faire passe suffisamment de fil électrique à travers la décharge de traction de 1/2" homologuée UL ou CSA, pour faire des connexions dans la boîte à bornes. Serrer les vis de la décharge de traction. - Positionner la hotte de sorte que la grande extrémité des fentes de serrure sont sur les vis de montage. Ensuite, pousser la hotte vers le mur, afin que les vis soient dans le col des fentes. Serrer les vis de montage, s'assurant que les vis sont dans le col étroit des fentes.
- Ajouter les 2 vis de montage arrières de 0,49*5,0 cm dans le col étroit des fentes de serrure arrière. Ces dernières devraient se visser dans le support horizontal qui a été placé entre les deux poteaux du mur dans la section PRÉPARER L'EMPLACEMENT à la page 8.
- Connecter le système d'évacuation à la hotte. Sceller les joints avec les colliers de serrage d'évacuation ou le ruban adhésif pour rendre sûr et étanche à l'air.
- Vérifier que les volets anti-refoulement fonctionnent correctement.
EFFECTUER UN BRANCHEMENT ÉLECTRIQUE

AVERTISSEMENT
Risque d'électrocution
Couper l'alimentation électrique avant l'entretien. Remplacer toutes les pièces et panneaux avant de faire fonctionner.
Ne pas le faire peut entraîner la mort ou un choc électrique.
- Débrancher l'alimentation électrique.

C. Fil de mise à la terre vert
D. Connecteur de fil homologué UL
E. Câble d'alimentation de maison
F. Homologué UL ou CSA
décharge de traction de 1/2"
- Utiliser les connecteurs de fils homologués UL et connecter les fils blancs (A) conjointement.
- Utiliser les connecteurs de fils homologués UL et connecter les fils noirs (B) ensemble.

AVERTISSEMENT
Risque d'incendie
Mettre à terre le ventilateur. Utiliser du fil de cuivre.
Brancher le fil de mise à la terre au fil vert dans boîte à bornes. Ne pas le faire peut entraîner la mort, un incendie ou un choc électrique.
- Brancher le fil de mise à la terre vert (ou nu) depuis l'alimentation au fil vert dans le bornier à bornes.
- Installer le couvercle de la boîte à bornes.

- Reconnecter l'alimentation électrique.
Installation complète
- Installer les filtres à graisse. Voir la section "Utilisation de la hotte".
- Vérifier le fonctionnement du ventilateur et de la lumière de la hotte. Voir la section "Utilisation de la hotte".
Si la hotte ne fonctionne pas, vérifier si un disjoncteur a sauté ou un fusible est grillé. Couper l'alimentation et vérifier les branchements de câblage.

REMARQUE
Pour obtenir l'utilisation la plus efficace de votre nouvelle hotte, lire la section "Utilisation de la hotte".
UTILISATION DE LA HOTTE
UTILISATION DE LA HOTTE
La hotte est conçue pour éliminer la fumée et les vapeurs de cuisson de la zone de cuisson. Pour de meilleurs résultats, allumer la hotte avant la cuisson et lui permettre de fonctionner pendant plusieurs minutes après que la cuisson soit éliminée pour enlever toute fumée de la cuisonnere.

text_image
A. LED B. Filtre à graisse C. Grille d'évacuation D. Boutons de contrôleCommandes de la hotte
Les commandes de la hotte sont situées à la partie avant inférieure de l'appareil.

text_image
ON FRONT REAGOFF Graphiques du bouton Lumière Icône de lumière HIMED LOOFF Graphiques du bouton Icône du Ventilateur venlatiteurUtilisation de la lumière
Pousser le bouton pour libérer et puis le tourner dans le sens antihoraire pour allumer/Devant/Arrière/Arrêt.
Fonctionnement du ventilateur
Pousser le bouton pour libérer et puis le tourner dans le sens horaire pour les vitesses de ventilateur de Hi/Med/Lo/Off.

Pour réduire le risque d'incendie ou de choc électrique, débrancher du secteur avant de le nettoyer.
IMPORTANT
Nettoyer fréquemment les filtres de la hotte et de graisse selon les instructions suivantes. Remplacer le filtre à graisse avant de faire fonctionner la hotte.
IMPORTANT
Surfaces extérieures
Ne pas utiliser de tampons à récurer savonneux, de nettoyants abrasifs, crème à polir pour table de cuisson, de la laine en acier, des débarbouillettes ou des serviettes en papier granuleuses. Pour éviter d'endommager l'acier inoxydable, ne pas utiliser de produits nettoyants qui contiennent du chlore.
Méthode de nettoyage:
RÉSISTANT AUX FROTTEMENTS™ ACIER INOXYDABLE Votre hotte a une finition en acier inoxydable et résistante aux frottements™. Nettoyer l'inox avec de l'eau chaude savonneuse à l'aide d'une éponge ou d'un chiffon propre. Rincer à l'eau propre et sécher avec un chiffon doux et propre. NE PAS utiliser de produits de nettoyage comme les nettoyants en acier inoxydable ou d'autres types de produits nettoyants contenant des abrasifs, des chlorures, du chlore ou de l'ammoniaque. Il est recommandé d'utiliser un savon pour vaisselle doux et de l'eau ou une solution 50/50 d'eau et de vinaigre.
Pour nettoyer ou remplacer le filtre à graisse:
- Pousser à la zone indiquée pour ouvrir la grille d'évacuation. La grille d'évacuation pivotera vers le bas pour l'accès aux filtres à graisse.

text_image
POUSSER POUR OUVRIR→- Pour retirer ou installer les filtres à graisse, pousser l'onglet vers l'arrière de l'appareil.

- Pour nettoyer le filtre à graisse, faire tremper les filtres dans l'eau chaude avec un détergent doux. Bien rincer et secouer pour sécher.

REMARQUE
Ne pas utiliser d'ammoniaque. L'aluminium sur le filtre à graisse se corrodera et assombrira.

REMARQUE
Le filtre à graisse est lavable au lave-vaisselle. Pour éviter des dommages du filtre à graisse pendant le nettoyage, placer le filtre dans le panier supérieur du lave-vaisselle, pour le nettoyage.

AVERTISSEMENT
Risque d'électrocution Couper l'alimentation électrique avant l'entretien. Remplacer toutes les pièces et panneaux avant de faire fonctionner. Ne pas le faire peut entraîner la mort ou un choc électrique.
Remplacement des voyants LED avant
- Retirer la grille d'évacuation et les filtres à graisse.

- Retirer les vis sur le support avant et faire glisser le panneau arrière.

- Débrancher le câblage des voyants LED avant

- Enclencher les clips de fixation de la lampe LED et pousser vers le bas les voyants LED comme indiqué ci-dessous

text_image
Enclencher ici Enclencher ici- Remplacer par de nouveaux voyants LED, avec comme Numéro de pièce 5304503879 et ré-installer le support avant.
ENTRETIENT DE LA HOTTE

AVERTISSEMENT
Risque d'électrocution
Couper l'alimentation électrique avant
l'entretien.
Remplacer toutes les pièces et panneaux avant de faire fonctionner.
Ne pas le faire peut entraîner la mort ou un choc électrique.
Remplacement des voyants LED arrière
- Retirer la grille d'évacuation et les filtres à graisse.

- Débrancher le câblage de la lampe LED arrière.

- Enclencher les clips de fixation de la lampe LED et pousser vers le bas les voyants LED comme indiqué ci-dessous

text_image
Enclencher ici Enclencher ici- Enclencher les clips de fixation de la lampe LED et pousser vers le bas les voyants LED comme indiqué ci-dessous
Problème Causes possibles Solutions
| Après l'installation, l'appareil ne fonctionne pas. | 1. La ligne d'alimentation et le connecteur du câble ne sont pas correctement connectés. | 1. Vérifier les connexions électriques. |
| 2. Les fils des interrupteurs sont déconnectés ou desserrés. | 2. S'assurer que les fils sur les commutateurs sont correctement connectés. | |
| Les voyants fonctionnent, mais ce n'est pas le cas du moteur | 1. Le moteur est défectueux, blocage possible. | 1. Changer le moteur. |
| 2. Le fil du moteur n'est pas connecté. | 2. S'assurer que le fil du moteur est branché sur le connecteur de la boîte à bornes. | |
| L'appareil est en train de vibrer. | 1. Le moteur n'est pas sécurisé en place. | 1. Visser le moteur en place. |
| 2. Roue soufflante endommagée. | 2. Modifier le ventilateur. | |
| 3. La hotte n'est fixée en place. | 3. Vérifier l'installation de la hotte. | |
| Le moteur fonctionne, mais pas les voyants. | 1. Lampe défectueuse. | 1. Changer la lampe. |
| 2. La lampe est desserrée. | 2. S'assurer que la lampe est correctement installée. | |
| 3. Les fils sur l'interrupteur d'éclairage sont desserrés. | 3. S'assurer que les fils sur interrupteur d'éclairage sont correctement connectés. | |
| La hotte n'évacue pas correctement de l'air. | 1. La hotte peut être suspendue au-dessas de la table de cuisson. | 1. Vérifier les instructions d'installation. |
| 2. Le vent provenant d'une fenêtre ou d'une porte ouverte avoisinante nuit à la ventilation de la hotte. | 2. Fermer toutes les fenêtres et portes pour éliminer le flux de vent externe. | |
| 3. Blocage dans l'ouverture du conduit ou des conduits. | 3. Retirer tout le blocage des conduits ou de l'ouverture du conduit. | |
| 4. La direction de l'ouverture du conduit est contre régler le sens de l'ouverture du conduit. le vent. | ||
| 5. Utilisation de la mauvaise taille de canalisation. | 5. Modifier la canalisation pour corriger la taille. | |
| Grille d'évacuation ou filtre à graisse est en train de vibrer. | 1. La grille d'évacuation ou le filtre à graisse sont desserrés. | 1. S'assurer que la grille d'évacuation ou le filtre à graisse sont correctement installés. |
Garantie
Votre appareil est couvert par une garantie limitée d'un ^1 an. Pendant an à partir de votre date d'achat initiale, Electrolux paiera tous les frais de réparation ou de remplacement des pièces de cet appareil qui présente un défaut de matériaux ou de fabrication, si cet appareil est installé, utilisé et entretenu conformément aux instructions fournies.
Exclusions Cette garantie ne couvre pas ce qui suit:
- Les produits dont les numéros de série d'origine ont été enlevés, modifiés ou ne peuvent pas être déterminés.
- Les produits qui ont été transférés de leur propriétaire initial à une autre partie ou en dehors des USA ou du Canada.
- Rouille à l'intérieur ou à l'extérieur de l'appareil.
- Les produits vendus «tels quels» ne sont pas couverts par cette garantie.
- Perte d'aliments due à une défaillance du réfrigérateur ou du congélateur.
- Les produits utilisés dans un contexte commercial.
- Les appels au service qui ne concernent pas un dysfonctionnement ou des défauts de matériaux ou de fabrication ou pour les appareils ne sont pas en usage domestique ou utilisée autrement qu'en conformité avec les instructions fournies.
- Les appels au service pour corriger l'installation de votre appareil ou pour vous indiquer comment utiliser votre appareil.
- Les frais qui rendent l'appareil accessible pour une réparation, par exemple enlever les garnitures, les armoires, les étagères, etc., qui ne font pas partie de l'appareil quand il est expédié de l'usine.
- Les appels de service pour réparer ou remplacer les ampoules électriques, les filtres à air, les filtres à eau, d'autres consommables ou des boutons, poignées ou autres pièces esthétiques.
- Les frais supplémentaires comprenant, mais sans s'y limiter, tout appel de service après les heures, les week-end, ou les vacances, les péages, les frais de voyage de ferry, ou frais de kilométrage pour les les appels de service dans les régions éloignées, y compris l'état de l'Alaska.
- Les dommages causés à la finition de l'appareil ou à la maison, pendant l'installation, y compris mais sans s'y limiter, aux planchers, armoires, aux murs, etc.
- Les dommages causés par: des réparations faites par des techniciens non autorisés; utilisation de pièces autres que des pièces de Electrolux authentiques ou des pièces obtenues auprès de personnes autres que les sociétés de services autorisés; ou les causes externes comme l'abus, le mauvais usage, l'alimentation électrique inadéquate, les accidents, les incendies, ou actes de Dieu.
CLAUSE DE NON-RESPONSABILITE DES GARANTIES IMPLICITES; RESTRICTION DES RECOURS
LE SEUL ET UNIQUE RECOURS DU CLIENT EN VERTU DE CETTE GARANTIE LIMITÉE EST LA RÉPARATION DU PRODUIT OU LE REMPLACEMENT COMME PRÉVU DANS LES PRÉSENTES. LES CRÉANCES SUR LA BASE DE GARANTIE IMPLICITE, Y COMPRIS LES GARANTIES DE QUALITÉ MARCHANDE OU D'ADAPTATION À UN USAGE PARTICULIER, SONT LIMITÉES À UN AN OU À LA PLUS COURTE PÉRIODE AUTORISÉE PAR LA LOI, MAIS PAS MOINS D'UN AN. ELECTROLUX NE SERA PAS RESPONSABLE DES DOMMAGES INDIRECTS OU ACCESSOIRES COMME LES DOMMAGES DE MATÉRIELS ET LES DÉPENSES ACCESSOIRES RÉSULTANT D'UNE VIOLATION DE CETTE GARANTIE ÉCRITE OU DE TOUTE GARANTIE IMPLICITE. CERTAINS ÉTATS ET PROVINCES NE PERMETTENT PAS L'EXCLUSION OU LA LIMITATION DES DOMMAGES ACCESSOIRES OU INDIRECTS, OU LES LIMITATIONS DE LA DURÉE DE GARANTIE IMPLICITE, CES RESTRICTIONS OU EXCLUSIONS PEUVENT DONC NE PAS VOUS AFFECTER. CETTE GARANTIE ÉCRITE VOUS CONFÈRE DES DROITS SPÉCIFIQUES. VOUS POUVEZ AUSSI DISPOSER D'AUTRES DROITS QUI VARIENT D'UN ÉTAT À L'AUTRE.
Si vous avez besoin de service
Conservez votre facture, bordereau de livraison ou toute autre preuve de paiement pour établir la période de garantie, si une réparation venait à être requise. Si le service est effectué, il est dans votre intérêt d'obtenir et de conserver tous les reçus. Le service sous garantie doit être obtenu en communiquant avec Electrolux aux adresses ou numéros de téléphone ci-dessous.
Cette garantie est valable uniquement aux États-Unis et au Canada. Aux États-Unis, votre appareil est garanti par Electrolux Major Appliances North America, une division de Electrolux Home Products, Inc. Au Canada, votre appareil est garanti par x Electrolux Canada Corp. Electrolux n'autorise aucune personne à modifier ou à ajouter aux obligations en vertu de cette garantie. Les obligations pour le service et les pièces sous cette garantie doivent être remplies par Electrolux ou par une compagnie de service autorisée. Les caractéristiques et spécifications du produit, telles que décrites ou illustrées, sont sujettes à une modification sans préavis.
Notice Facile