JCU15810S5 - Réfrigérateur JUNO - Notice d'utilisation et mode d'emploi gratuit
Retrouvez gratuitement la notice de l'appareil JCU15810S5 JUNO au format PDF.
| Caractéristiques | Détails |
|---|---|
| Type de réfrigérateur | Réfrigérateur combiné |
| Capacité totale | Environ 300 litres |
| Classe énergétique | A+ |
| Dimensions (HxLxP) | 185 x 60 x 65 cm |
| Poids | Environ 70 kg |
| Système de refroidissement | Froid statique |
| Niveau sonore | 42 dB |
| Nombre de tiroirs | 3 tiroirs dans le congélateur |
| Fonctionnalités supplémentaires | Éclairage LED, thermostat réglable |
| Entretien | Dégivrage manuel recommandé |
| Garantie | 2 ans |
| Consommation annuelle d'énergie | Environ 300 kWh |
| Couleur | Inox |
FOIRE AUX QUESTIONS - JCU15810S5 JUNO
Questions des utilisateurs sur JCU15810S5 JUNO
0 question sur cet appareil. Repondez a celles que vous connaissez ou posez la votre.
Poser une nouvelle question sur cet appareil
Téléchargez la notice de votre Réfrigérateur au format PDF gratuitement ! Retrouvez votre notice JCU15810S5 - JUNO et reprennez votre appareil électronique en main. Sur cette page sont publiés tous les documents nécessaires à l'utilisation de votre appareil JCU15810S5 de la marque JUNO.
MODE D'EMPLOI JCU15810S5 JUNO
| Gebruik-saanwijzing | User Manual | Notice d'utilisation | Benutzerinformation |
| Koel-vries-combinatie | Fridge Freezer | Réfrigérateur/congélateur | Kühl - Gefrierschrank |
INHOUDSOPGAVE
Consignes de sécurité 37 Instructions de sécurité 38 Fonctionnement 40 Utilisation quotidienne 40 Conseils 42
Entretien et nettoyage 44 En cas d'anomalie de fonctionnement 45 Installation 48 Bruits 53 Caractéristiques techniques 54
Sous réserve de modifications.
⚠ CONSIGNES DE SÉCURITÉ
Avant d'installer et d'utiliser cet appareil, lisez soigneusement les instructions fournies. Le fabricant ne peut être tenu pour responsable des dommages et blessures liés à une mauvaise installation ou utilisation. Conservez toujours cette notice avec votre appareil pour vous y référer ultérieurement.
Sécurité des enfants et des personnes vulnérables
- Cet appareil peut être utilisé par des enfants âgés d'au moins 8 ans et par des personnes ayant des capacités physiques, sensorielles ou mentales réduites ou dénuées d'expérience ou de connaissance, s'ils (si elles) sont correctement surveillé(e)s ou si des instructions relatives à l'utilisation de l'appareil en toute sécurité leur ont été données et si les risques encourus ont été appréhendées.
- Les enfants ne doivent pas jouer avec l'appareil.
- Le nettoyage et l'entretien par l'usager ne doivent pas être effectués par des enfants sans surveillance.
- Ne laissez pas les emballages à la portée des enfants.
Consignes générales de sécurité
- Cet appareil est conçu uniquement pour un usage domestique et des utilisations telles que :
- dans les bâtiments de ferme, dans des cuisines réservées aux employés dans des magasins, bureaux et autres lieux de travail ;
-
pour une utilisation privée, par les clients, dans des hôtels et autres lieux de séjour.
-
Veillez à ce que les orifices de ventilation, situés dans l'enceinte de l'appareil ou dans la structure intégrée, ne soient pas obstrués.
- N'utilisez aucun dispositif mécanique ou autre appareil pour accélérer le processus de dégivrage que ceux recommandés par le fabricant.
- N'endommagez pas le circuit frigorifique.
- N'utilisez pas d'appareils électriques à l'intérieur des compartiments de conservation des aliments de l'appareil, sauf s'ils sont du type recommandé par le fabricant.
- Ne pulvérisez pas d'eau ni de vapeur pour nettoyer l'appareil.
- Nettoyez l'appareil avec un chiffon doux humide. Utilisez uniquement des produits de nettoyage neutres. N'utilisez pas de produits abrasifs, de tampons à récurer, de solvants ni d'objets métalliques.
- Ne conservez aucune substance explosive dans cet appareil, comme des aérosols contenant un produit inflammable.
- Si le câble d'alimentation est endommagé, il doit être remplacé par le fabricant, son service après-vente ou des personnes de qualification similaire afin d'éviter un danger.
INSTRUCTIONS DE SÉCURITÉ
Installation

AVERTISSEMENT! L'appareil doit être installé uniquement par un professionnel qualifié.
- Retirez l'intégralité de l'emballage
- N'installez pas et ne branchez pas un appareil endommagé.
- Suivez scrupuleusement les instructions d'installation fournies avec l'appareil.
- Soyez toujours vigilants lorsque vous déplacez l'appareil car il est lourd. Portez toujours des gants de sécurité.
- Assurez-vous que l'air circule autour de l'appareil.
- Attendez au moins 4 heures avant de brancher l'appareil sur le secteur. Cela
permet à l'huile de refouler dans le compresseur.
- N'installez pas l'appareil à proximité d'un radiateur, d'une cuisinière, d'un four ou d'une table de cuisson.
- La surface arrière de l'appareil doit être positionnée contre un mur.
- N'installez pas l'appareil dans un endroit exposé à la lumière directe du soleil.
- N'installez pas l'appareil dans un endroit trop humide ou trop froid, comme une dépendance extérieure, un garage ou une cave.
- Lorsque vous déplacez l'appareil, veillez à le soulever par l'avant pour éviter de rayer le sol.
Connexion électrique

AVERTISSEMENT! Risque d'incendie ou d'électrocution.
• L'appareil doit être relié à la terre.
- Vérifiez que les données électriques figurant sur la plaque signalétique correspondent à celles de votre réseau. Si ce n'est pas le cas, contactez un électricien.
- Utilisez toujours une prise de courant de sécurité correctement installée.
- N'utilisez pas d'adaptateurs multiprises ni de rallonges.
- Veillez à ne pas endommager les composants électriques tels que la fiche secteur, le câble d'alimentation ou le compresseur. Contactez le service après-vente agréé ou un électricien pour changer les composants électriques.
- Le câble d'alimentation doit rester en dessous du niveau de la fiche secteur.
- Ne connectez la fiche d'alimentation secteur à la prise de courant secteur qu'à la fin de l'installation. Assurez-vous que la fiche d'alimentation est accessible une fois l'appareil installé.
- Ne tirez jamais sur le câble d'alimentation électrique pour débrancher l'appareil. Tirez toujours sur la fiche.
Usage

AVERTISSEMENT! Risque de blessures, de brûlures, d'électrocution ou d'incendie.
- Ne modifiez pas les caractéristiques de cet appareil.
- Ne placez aucun appareil électrique (sorbetière, etc.) dans l'appareil, en l'absence d'indications du fabricant.
- Veillez à ne pas endommager le circuit frigorifique. Il contient de l'isobutane (R600a), un gaz naturel ayant un niveau élevé de compatibilité environnementale. Ce gaz est inflammable.
-
Si le circuit frigorifique est endommagé, assurez-vous de l'absence de flammes et de sources d'ignition dans la pièce. Aérez la pièce.
-
Évitez tout contact d'éléments chauds avec les parties en plastique de l'appareil.
- Ne placez jamais de boissons gazeuses dans le congélateur. Cela engendrerait une pression sur le récipient de la boisson.
- Ne stockez jamais de gaz ou de liquide inflammable dans l'appareil.
- Ne placez pas de produits inflammables ou d'éléments imbibés de produits inflammables à l'intérieur ou à proximité de l'appareil, ni sur celui-ci.
- Ne touchez pas le compresseur ni le condenseur. Ils sont chauds.
- Ne retirez pas et ne touchez pas les éléments du compartiment congélateur avec les mains mouillées ou humides.
- Ne recongelez jamais un aliment qui a été décongelé.
- Respectez les instructions de stockage figurant sur l'emballage des aliments surgelés.
Entretien et nettoyage

AVERTISSEMENT! Risque de blessure corporelle ou de dommages matériels.
- Avant toute opération d'entretien, éteignez l'appareil et débranchez la fiche de la prise secteur.
- Cet appareil contient des hydrocarbures dans son circuit de réfrigération. L'entretien et la recharge du circuit de réfrigération doivent être effectués par un professionnel qualifié.
- Examinez régulièrement l'écoulement de l'appareil et si nécessaire, nettoyez-le. Si l'orifice est bouché, l'eau provenant du dégivrage s'écoulera en bas de l'appareil.
Mise au rebut

AVERTISSEMENT! Risque de blessure ou d'asphyxie.
- Débranchez l'appareil de l'alimentation électrique.
-
Coupez le câble d'alimentation et mettez-le au rebut.
-
Retirez la porte pour empêcher les enfants et les animaux de s'enfermer dans l'appareil.
- Le circuit frigorifique et les matériaux d'isolation de cet appareil préservent la couche d'ozone.
- La mousse isolante contient un gaz inflammable. Contactez votre service
FONCTIONNEMENT
Mise en marche
- Insérez la fiche dans la prise murale.
- Tournez le thermostat vers la droite sur une position médiane.
Mise à l'arrêt
Pour éteindre l'appareil, tournez le thermostat sur la position « "0" ».
Réglage de la température
La température est régulée automatiquement.

Un réglage intermédiaire est généralement le plus indiqué. Toutefois, on obtiendra le réglage exact en tenant compte du fait que la température à l'intérieur de l'appareil dépend de plusieurs facteurs :
- la température ambiante,
- la fréquence d'ouverture de la porte,
- la quantité d'aliments stockés,
- l'emplacement de l'appareil.
UTILISATION QUOTIDIENNE

AVERTISSEMENT! Reportez-vous aux chapitres concernant la sécurité.
Congeler les aliments frais
Le compartiment congélateur est idéal pour congeler des aliments frais et conserver à long terme des aliments congelés ou surgelés.
municipal pour obtenir des informations sur la marche à suivre pour mettre l'appareil au rebut.
- N'endommagez pas la partie du circuit de réfrigération située à proximité du condenseur thermique.
-
Tournez le thermostat sur la position minimale pour obtenir moins de froid.
-
Tournez le thermostat sur la position maximale pour obtenir plus de froid.

ATTENTION! Si la température ambiante est élevée ou l'appareil très rempli et si le thermostat est réglé sur la température la plus basse, il est possible que le compresseur fonctionne en régime continu, d'où un risque de formation de givre sur la paroi arrière. Pour éviter cet inconvénient, modifiez la position du thermostat pour obtenir moins de froid, de façon à permettre un dégivrage automatique et, par conséquent, des économies d'énergie.
Pour congeler des aliments frais, il n'est pas nécessaire de modifier le réglage moyen.
Toutefois, pour une congélation plus rapide, tournez le thermostat sur la position maximale pour obtenir plus de froid.

Dans ce cas, la température du compartiment réfrigérateur est susceptible de descendre en dessous de 0 °C. Si cela se produit, repositionnez le thermostat sur une position inférieure pour obtenir moins de froid.
Placez les denrées fraîches à congeler dans le compartiment du milieu.
La quantité maximale de denrées fraîches que vous pouvez congeler par tranche de 24 heures est indiquée sur la plaque signalétique (située à l'intérieur de l'appareil).
Le processus de congélation dure 24 heures : vous ne devez ajouter aucun autre aliment à congeler pendant cette période.
Calendrier des aliments congelés

Les symboles indiquent différents types d'aliments congelés.
Les numéros indiquent les durées de conservation en mois correspondant aux différents types d'aliments congelés. La validité de la durée de conservation maximale ou minimale indiquée dépend de la qualité des aliments et de leur traitement avant la congélation.
Conservation d'aliments congelés et surgelés
À la mise en service ou après un arrêt prolongé, placez le thermostat sur la position maximale pendant 2 heures environ avant d'introduire les produits dans le compartiment.

En cas de décongélation accidentelle, due par exemple à une coupure de courant, si la coupure a duré plus de temps qu'indiqué au paragraphe « Autonomie de fonctionnement » du chapitre Caractéristiques techniques, consommez rapidement les aliments décongelés ou cuisez-les immédiatement avant de les recongeler (une fois refroidis).
Indicateur de température
Pour un bon stockage des aliments, le réfrigérateur est doté d'un indicateur de température. Le symbole sur la paroi latérale de l'appareil indique la zone la plus froide du réfrigérateur.
Si « OK » s'affiche (A), placez les aliments frais dans la zone indiquée par le symbole. Si ce n'est pas le cas (B), réglez le thermostat sur une température inférieure et attendez 12 heures avant de vérifier à nouveau.

text_image
A OK B
Après chargement de denrées fraîches dans l'appareil ou après des ouvertures répétées (ou une ouverture prolongée) de la porte, il est normal que l'inscription « OK » n'apparaisse pas dans l'indicateur de température ; attendez au moins 12 heures avant d'ajuster le thermostat.
Décongélation
Avant utilisation, les aliments surgelés ou congelés peuvent être décongelés dans le compartiment réfrigérateur ou à
température ambiante en fonction du temps disponible pour cette opération.
Les petites portions peuvent même être cuites sans décongélation préalable : la cuisson sera cependant un peu plus longue.
Production de glaçons
Cet appareil est équipé d'un ou plusieurs bacs à glaçons.

N'utilisez pas d'instruments métalliques pour décoller les bacs du congélateur.
- Remplissez les bacs avec de l'eau
- Placez les bacs dans le compartiment congélateur.
Clayettes amovibles
Les parois du réfrigérateur sont équipées d'une série de supports pour que les clayettes puissent être placées en fonction des besoins.
Certaines clayettes doivent être soulevées par l'arrière pour être retirées.

Ne modifiez pas l'emplacement de la clayette en verre située au-dessus du bac à légumes, afin de garantir une circulation d'air optimale.
CONSEILS
Bruits normaux de fonctionnement
Les bruits suivants sont normaux lorsquel'appareil est en cours de fonctionnement :
- Un léger gargouillis lorsque le liquide réfrigérant est pompé.
- Un ronronnement et un bruit de pulsation provenant du compresseur lorsque le liquide réfrigérant est pompé.
- Un bruit de craquement soudain provenant de l'intérieur de l'appareil provoqué par une dilatation thermique (un phénomène naturel et inoffensif).

Mise en place des balconnets de la porte
En fonction de la taille des emballages des aliments conservés, les balconnets de la porte peuvent être positionnés à différentes hauteurs.
-
Faites glisser le balconnet dans le sens des flèches jusqu'à ce qu'il se libère.
-
Repositionnez-le selon les besoins.

- Un léger cliquetis du thermostat lorsque le compresseur s'active ou se désactive.
Conseils d'économie d'énergie
- Évitez d'ouvrir trop souvent la porte du congélateur et ne la laissez ouverte que le temps nécessaire.
Conseils pour la réfrigération des aliments frais
Pour obtenir les meilleurs résultats :
- n'introduisez pas d'aliments encore chauds ou de liquides en évaporation dans le réfrigérateur
- couvrez ou enveloppez soigneusement les aliments, surtout s'ils sont aromatiques
- placez correctement les aliments pour que l'air puisse circuler librement autour
Conseils pour la réfrigération
Conseil utiles :
- Viande (tous types de viande) : enveloppez-la dans des sachets en plastique et placez-la sur la clayette en verre au-dessus du bac à légumes.
- Pour des raisons de sécurité, ne la conservez de cette manière que pendant un ou deux jours maximum.
- Aliments cuits, plats froids, etc. : ils doivent être couverts et peuvent être placés sur n'importe quelle clayette.
- Fruits et légumes : placez-les une fois nettoyés dans le bac à légumes.
- Beurre et fromage : placez-les dans des récipients étanches spéciaux ou enveloppez-les soigneusement dans des feuilles d'aluminium ou des sachets en plastique, afin que le volume d'air avec lesquels ils sont en contact soit réduit autant que possible.
- Bouteilles : elles nécessitent un bouchon et doivent être stockées sur l'étagère à bouteilles de la porte ou (si équipé) sur la grille à bouteilles.
- Bananes, pommes de terre, oignons et ail ne doivent pas être mis dans le réfrigérateur, s'ils ne sont pas emballés.
Conseils pour la congélation
Voici quelques conseils importants pour obtenir un processus de congélation optimal :
- Respectez la quantité maximale de denrées fraîches que vous pouvez congeler par 24 heures figurant sur la plaque signalétique ;
- Le processus de congélation dure 24 heures. N'ajoutez pas d'autres aliments à congeler pendant cette période ;
- Congelez uniquement des aliments de bonne qualité, frais et nettoyés ;
- Préparez la nourriture en petits paquets pour une congélation rapide et uniforme, adaptés à l'importance de la consommation ;
- Enveloppez les aliments dans des feuilles d'aluminium ou des sachets en plastique et assurez-vous que les emballages sont étanches ;
- Ne laissez pas des aliments frais, non congelés, toucher des aliments déjà congelés pour éviter une remontée en température de ces derniers ;
- Les aliments maigres se conservent mieux et plus longtemps que les aliments gras ; le sel réduit la durée de conservation des aliments ;
- La température très basse à laquelle se trouvent les bâtonnets glacés, s'ils sont consommés dès leur sortie du compartiment congélateur, peut provoquer des brûlures ;
- L'identification des emballages est importante : indiquez la date de congélation du produit et respectez la durée de conservation indiquée par le fabricant.
Conseils pour le stockage des aliments surgelés
Pour obtenir les meilleures performances possibles :
- assurez-vous que les denrées surgelées achetées dans le commerce ont été correctement entreposées par le revendeur ;
- prévoyez un temps réduit au minimum pour le transport des denrées du magasin d'alimentation à votre domicile ;
- évitez d'ouvrir trop souvent la porte du congélateur et ne la laissez ouverte que le temps nécessaire ;
- une fois décongelés, les aliments se détériorent rapidement et ne peuvent pas être recongelés ;
- ne dépassez pas la durée de conservation indiquée par le fabricant.
ENTRETIEN ET NETTOYAGE

AVERTISSEMENT! Reportez-vous aux chapitres concernant la sécurité.
Avertissements généraux

ATTENTION! Débranchez l'appareil avant toute opération d'entretien et de nettoyage.

Cet appareil contient des hydrocarbures dans son circuit de réfrigération ; l'entretien et la recharge ne doivent donc être effectués que par du personnel qualifié.

Les pièces et accessoires de l'appareil ne doivent pas être lavés au lave-vaisselle.
Nettoyage périodique

ATTENTION! Ne tirez pas, ne déplacez pas, n'endommagez pas les tuyaux et/ou câbles qui se trouvent à l'intérieur de l'appareil.

ATTENTION! Attention à ne pas endommager le système de réfrigération.

ATTENTION! Lorsque vous déplacez l'appareil, veillez à le soulever par l'avant pour éviter de rayer le sol.
L'appareil doit être nettoyé régulièrement :
- Nettoyez l'intérieur et les accessoires avec de l'eau tiède et un détergent doux.
- Vérifiez régulièrement les joints de porte et essuyez-les pour vous assurer qu'ils sont propres et ne contiennent pas de résidus.
-
Rincez et séchez soigneusement.
-
S'ils sont accessibles, nettoyez le condenseur et le compresseur situés à l'arrière de l'appareil avec une brosse. Cette opération améliore les performances de l'appareil et permet des économies d'électricité.
Dégivrage du réfrigérateur
En fonctionnement normal, le givre est automatiquement éliminé de l'évaporateur du compartiment réfrigérateur à chaque fois que le compresseur s'arrête. L'eau de dégivrage est collectée dans un récipient spécial situé à l'arrière de l'appareil, au-dessus du compresseur, d'où elle s'évapore.
Il est important de nettoyer régulièrement l'orifice d'écoulement de la goulotte d'évacuation de l'eau de dégivrage située au milieu du compartiment réfrigérateur pour empêcher l'eau de déborder et de couler à l'intérieur de l'appareil.

Dégivrage du congélateur

ATTENTION! N'utilisez en aucun cas d'objets métalliques ou tranchants pour gratter la couche de givre sur l'évaporateur, car vous risqueriez de le détériorer. N'utilisez aucun dispositif mécanique ou autre moyen artificiel pour accélérer le processus de dégivrage hormis ceux recommandés par le fabricant. Une élévation de la température des denrées congelées, pendant le dégivrage, peut réduire leur durée de conservation.

Mettez le thermostat sur la température la plus basse 12 heures avant d'effectuer le dégivrage afin d'assurer une réserve de froid suffisante.
Une certaine quantité de givre se forme toujours sur les clayettes du congélateur et autour du compartiment supérieur.
Dégivrez le congélateur lorsque l'épaisseur de la couche de givre est comprise entre 3 et 5 mm.
- Éteignez l'appareil, ou débranchez la fiche de la prise secteur.
- Sortez les denrées congelées, enveloppez-les dans plusieurs feuilles de papier journal et conservez-les dans un endroit frais.

AVERTISSEMENT! Ne touchez pas les produits congelés et les surfaces givrées avec les mains humides. Risque de brûlures ou d'arrachement de la peau.
-
Laissez la porte ouverte. Le dégivrage peut être accéléré en plaçant un récipient d'eau chaude dans le compartiment congélateur. Retirez également les morceaux de glace au fur et à mesure qu'ils se détachent, avant que le processus de dégivrage ne soit terminé.
-
Une fois le dégivrage terminé, séchez bien l'intérieur.
-
Mettez l'appareil en marche. Au bout de 3 heures, replacez les produits congelés dans le compartiment congélateur.
En cas de non-utilisation prolongée
Si l'appareil n'est pas utilisé pendant de longues périodes, prenez les précautions suivantes :
- Débranchez l'appareil de l'alimentation électrique.
- Retirez tous les aliments.
- Dégivrez (si nécessaire) et nettoyez l'appareil ainsi que tous les accessoires.
- Nettoyez l'appareil et tous les accessoires.
- Laissez la porte/les portes ouverte(s) pour éviter la formation d'odeurs désagréables.

AVERTISSEMENT! Si, toutefois, vous n'avez pas la possibilité de débrancher et de vider l'appareil, faites vérifier régulièrement le bon de fonctionnement de celui-ci et ceci en tenant compte de sa charge et de son autonomie de fonctionnement.
EN CAS D'ANOMALIE DE FONCTIONNEMENT

AVERTISSEMENT! Reportez-vous aux chapitres concernant la sécurité.
En cas d'anomalie de fonctionnement
| Anomalie Cause possible Solution | ||
| L'appareil ne fonctionne pas du tout. | L'appareil est éteint. Mettez | l'appareil en fonctionnement. |
| La fiche du câble d'alimen- | tation n'est pas correctement insérée dans la prise de courant. | Branchez correctement la fiche du câble d'alimentation dans la prise de courant. |
| La prise de courant n'est | pas alimentée. | Branchez un autre appareil électrique à la prise de courant. Contactez un électricien qualifié. |
| L'appareil est bruyant. L'appareil n'est pas stable. Assurez-vous de la stabilité de l'appareil. | ||
| Le compresseur fonctionne en permanence. | Il y a une erreur dans le réglage de la température. | Reportez-vous au chapitre « Fonctionnement ». |
| Trop de produits ont été in- | troduits simultanément. | Attendez quelques heures et vérifiez de nouveau la température. |
| La température ambiante | est trop élevée. | Reportez-vous au tableau des classes climatiques de la plaque signalétique. |
| Les aliments introduits | dans l'appareil étaient trop chauds. | Laissez refroidir les aliments à température ambiante avant de les mettre dans l'appareil. |
| La porte du four n'est pas fermée. | Reportez-vous au chapitre « Fermeture de la porte ». | |
| Le bouchon de la gouttière d'évacuation de l'eau de dégivrage n'est pas bien placé. | Placez correctement le bouchon de la gouttière d'évacuation de l'eau. | |
| Les aliments ne sont pas correctement emballés. | Emballez les produits de façon plus adaptée. | |
| Il y a une erreur dans le réglage de la température. | Reportez-vous au chapitre « Fonctionnement ». | |
| De l'eau s'écoule à l'intérieur du réfrigérateur. | L'orifice d'écoulement de l'eau de dégivrage est obstrué. | Nettoyez l'orifice d'écoulement de l'eau de dégivrage. |
| Des aliments empêchent l'eau de s'écouler dans le réservoir d'eau. | Assurez-vous que les produits ne touchent pas la plaque arrière. | |
| De l'eau coule sur le sol. Le tuyau d'évacuation de l'eau de dégivrage n'est pas raccordé au bac d'évaporation situé au-dessus du compresseur. | Fixez le tuyau d'évacuation de l'eau au bac d'évaporation de l'eau de dégivrage. | |
| La température à l'intérieur de l'appareil est trop basse/ élevée. | Le thermostat n'est pas réglé correctement. | Augmentez/réduisez la température. |
| La porte du four n'est pas fermée. | Reportez-vous au chapitre « Fermeture de la porte ». | |
| La température des produits est trop élevée. | Laissez les aliments refroidir à température ambiante avant de les placer dans l'appareil. | |
| Trop de produits ont été introduits simultanément. | Introduisez moins de produits en même temps. | |
| L'épaisseur de givre est supérieure à 4 - 5 mm. | Dégivrez l'appareil. | |
| La porte a été ouverte trop souvent. | N'ouvrez la porte qu'en cas de nécessité. | |
| L'air froid ne circule pas dans l'appareil. | Assurez-vous que de l'air froid circule dans l'appareil. | |

Si ces conseils n'apportent pas le résultat souhaité, veuillez consulter le service après-vente agréé le plus proche.
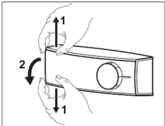
Remplacement de l'éclairage
- Débranchez la fiche de l'appareil de la prise secteur.
- Dans le même temps, placez vos doigts en haut et en bas du diffuseur transparent et glissez-le dans le sens indiqué par les flèches pour le détacher.

- Remplacez l'ampoule par une ampoule de puissance et de forme identiques, spécifiquement conçue pour les appareils électroménagers. (La puissance maximale est indiquée sur le diffuseur.)
- Remontez le diffuseur de l'ampoule.
- Branchez la fiche de l'appareil à la prise secteur.
Ouvrez la porte. Vérifiez que l'ampoule s'allume.
Fermeture de la porte
- Nettoyez les joints de la porte.
- Si nécessaire, ajustez la porte.
Reportez-vous au chapitre « Installation ».
INSTALLATION

AVERTISSEMENT! Reportez-vous aux chapitres concernant la sécurité.
Installation
Cet appareil peut être installé dans une pièce intérieure sèche et bien ventilée où la température ambiante correspond à la classe climatique indiquée sur la plaque signalétique de l'appareil :
| Classe clima-tique | Température ambiante |
| SN +10°C à + 32°C | |
| N +16°C à + 32°C | |
| ST +16°C à + 38°C | |
| T +16°C à + 43°C | |

Des problèmes fonctionnels peuvent se produire sur certains types de modèles fonctionnant hors de cette plage de températures. Seul le respect de la plage de températures spécifiée peut garantir un bon fonctionnement de l'appareil. En cas de doute concernant l'emplacement d'installation de l'appareil, veuillez contacter le vendeur, notre service après-vente agréé le plus proche.
Branchement électrique
- Avant de brancher l'appareil, assurez-vous que la tension et la fréquence indiquées sur la plaque signalétique correspondent à celles de votre réseau électrique domestique.
- Si nécessaire, remplacez les joints de porte défectueux. Contactez le service après-vente agréé.
- L'appareil doit être relié à la terre. La fiche du cordon d'alimentation est fournie avec un contact à cette fin. Si la prise de courant n'est pas mise à la terre, branchez l'appareil à une mise à la terre séparée conformément aux réglementations en vigueur, en consultant un électricien spécialisé.
- Le fabricant décline toute responsabilité en cas de non-respect de ces consignes de sécurité.
- Cet appareil est conforme aux directives CEE.
Réversibilité de la porte
- Dévissez, puis retirez le pivot supérieur.

- Retirez la porte supérieure.
- Retirez l'entretoise.
- Desserrez la charnière intermédiaire.

- Retirez la porte inférieure.
- Dévissez, puis retirez le pivot inférieur.
- Serrez le pivot inférieur sur le côté opposé.

- Mettez en place la porte inférieure.
- Serrez la charnière intermédiaire.
- Mettez en place l'entretoise.
- Mettez en place la porte supérieure.
- Serrez le pivot supérieur.

Faites une dernière vérification pour vous assurer que :
- Toutes les vis sont bien serrées.
• Le joint magnétique adhère bien à l'appareil. - La porte s'ouvre et se ferme correctement.
Si la température ambiante est basse (par exemple, en hiver), il se peut que le joint n'adhère pas parfaitement. Dans ce cas, attendez que le joint reprenne sa taille naturelle.
Si vous ne voulez pas effectuer personnellement les opérations décrites ci-dessus, contactez le service après-vente agréé le plus proche. Un technicien du service après-vente agréé procédera à la réversibilité de la porte à vos frais.
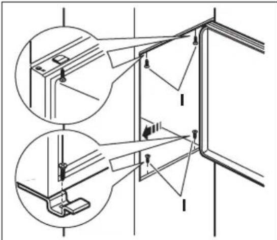
Installation de l'appareil

ATTENTION! Assurez-vous que le câble d'alimentation n'est pas coincé.
- Si nécessaire, coupez la bande d'étanchéité adhésive et appliquez-la sur l'appareil, comme indiqué sur la figure.

- Installez l'appareil dans son emplacement.
- Poussez l'appareil dans la direction indiquée par les flèches (1) jusqu'à ce que la partie couvrant l'interstice en haut de l'appareil butte contre le meuble de cuisine.

- Poussez l'appareil dans la direction indiquée par les flèches (2) contre le meuble, du côté opposé à la charnière.
- Ajustez la position de l'appareil dans le meuble d'encastrement.
Assurez-vous que la distance entre l'appareil et le bord avant du meuble est de 44 mm.
Le cache de la charnière inférieure (dans le sachet d'accessoires) vous permet de vérifier que la distance entre
l'appareil et le meuble de cuisine est correcte.
Assurez-vous que l'écart entre l'appareil et le meuble est de 4 mm.
- Ouvrez le hublot. Mettez en place le cache de la charnière inférieure.

text_image
4 mm 44 mm- Fixez l'appareil au meuble d'encastrement à l'aide de 4 vis.

- Retirez la pièce correcte du cache-charnière (E). Assurez-vous que vous retirez bien la pièce DX s'il s'agit de la charnière droite, SX s'il s'agit de l'autre charnière.

- Fixez les protections (C, D) sur les ergots et dans les trous des charnières.

- Mettez en place la grille d'aération (B).
- Fixez les cache-charnières (E) sur la charnière.
- Placez l'appareil contre la paroi latérale du meuble de cuisine.
- Desserrez les vis de la pièce (G) et déplacez la pièce (G) jusqu'à la paroi latérale du meuble.

- Serrez de nouveau les vis de la pièce (G).
- Fixez la pièce (H) à la pièce (G).
- Détachez les pièces (Ha), (Hb), (Hc) et (Hd).

- Installez la pièce (Ha) sur la face intérieure du meuble de cuisine.

text_image
ca. 50 mm 90° 21 mm 90° ca. 50 mm 21 mm- Poussez la pièce (Hc) sur la pièce (Ha).

text_image
Ha Hc-
Ouvrez la porte de l'appareil et la porte du meuble de cuisine à un angle de 90°.
-
Insérez le petit carré (Hb) dans le guide (Ha).
-
Assemblez la porte de l'appareil et la porte du meuble puis marquez les trous.

- Retirez les supports et repérez une distance de 8 mm à partir de l'arête extérieure de la porte où le clou doit être posé (K).

-
Placez de nouveau le petit carré sur le guide et attachez-le avec les vis prévues à cet effet.
-
Alignez la porte du meuble de cuisine et celle de l'appareil en réglant la pièce (Hb).

text_image
Hb- Appuyez la pièce (Hd) sur la pièce (Hb).

text_image
Hb HdFaites une dernière vérification pour vous assurer que :
- Toutes les vis sont bien serrées.
- Le joint d'étanchéité est solidement fixé au meuble.
- La porte s'ouvre et se ferme correctement.
Exigences en matière de ventilation
Veillez à garantir une circulation d'air suffisante à l'arrière de l'appareil.

text_image
5 cm min. 200 cm² min. 200 cm²BRUITS
L'appareil émet certains bruits pendant son fonctionnement (compresseur, circuit frigorifique).

text_image
OK SSSRRR! HISSS! BLUBB! CLICK! BRRR! CRACK!
text_image
SSSRRR! SSSRRR! CLICK! CLICK!
text_image
HISSS! HISSS! BRRR! BRRR!
text_image
BLUBB! BLUBB! CRACK!CFCARACTÉRISTIQUES TECHNIQUES
Caractéristiques techniques
| Dimensions de la niche d'encastrement | ||
| Hauteur mm 1580 | ||
| Largeur mm 560 | ||
| Profondeur mm 550 | ||
| Autonomie de fonctionnement Heures 22 | ||
| Tension Volts 230 - 240 | ||
| Fréquence Hz 50 |
Les caractéristiques techniques figurent sur la plaque signalétique située sur le côté
intérieur ou extérieur de l'appareil et sur l'étiquette énergétique.
EN MATIÈRE DE PROTECTION DE L'ENVIRONNEMENT
Recyclez les matériaux portant le symbole . Déposez les emballages dans les conteneurs prévus à cet effet. Contribuez à la protection de l'environnement et à votre sécurité, recyclez vos produits électriques et électroniques. Ne jetez pas les appareils
portant le symbole avec les ordures ménagères. Emmenez un tel produit dans votre centre local de recyclage ou contactez vos services municipaux.
Notice Facile