S72 - Cheminée Jøtul - Notice d'utilisation et mode d'emploi gratuit
Retrouvez gratuitement la notice de l'appareil S72 Jøtul au format PDF.
| Caractéristiques | Détails |
|---|---|
| Type de cheminée | Cheminée à bois |
| Dimensions (L x P x H) | 1050 x 400 x 1200 mm |
| Poids | 150 kg |
| Puissance nominale | 8 kW |
| Rendement énergétique | 80% |
| Émissions de CO | 0,1% à 13% O2 |
| Type de combustible | Bois |
| Capacité de chargement | 30 cm de longueur de bûches |
| Système de ventilation | Air primaire et secondaire |
| Installation | À poser sur un socle ou un support |
| Entretien | Nettoyage régulier du foyer et du conduit de cheminée |
| Normes de sécurité | Conforme aux normes EN 13229 |
| Garantie | 5 ans |
| Couleurs disponibles | Noir, gris |
FOIRE AUX QUESTIONS - S72 Jøtul
Questions des utilisateurs sur S72 Jøtul
0 question sur cet appareil. Repondez a celles que vous connaissez ou posez la votre.
Poser une nouvelle question sur cet appareil
Téléchargez la notice de votre Cheminée au format PDF gratuitement ! Retrouvez votre notice S72 - Jøtul et reprennez votre appareil électronique en main. Sur cette page sont publiés tous les documents nécessaires à l'utilisation de votre appareil S72 de la marque Jøtul.
MODE D'EMPLOI S72 Jøtul
Gulvplate i stål foran produit
Kat. nr. 51047337 (NO/SE)
Kat. nr. 51046304 (DE)
1.0 Rapports avec les autorités 56
2.0 Données techniques 56
3.0 Sécurité 56
4.0 Montage 57
5.0Aprés l'installation 67
6.0 Equipements en option 68
7.0 Recyclage 68
8.0 Garantie 68
1.0 Rapports avec les autorités
L'habillage est concu pour une utilisation avec le modeles Jotul I 520 FR/FL
- Les habillages S71 et S71 sont concus pour les inserts Jotul I 520FR et Jotul I 520FL et sont soumis aux mêmes conditions d'installation des inserts respectifs.
. - Avant de pouvoir utiliser le poèle, ce dernier doit être vérifié par un inspecteur qualifié. Un inspecteur qualifié peut être une société/agreeée au niveau central ou une agence d'inspection locale/agreeée. Il est toujours conseilé de se renseigner auprès de votre mairie et de consulter un professionnel avant de commencer les travaux d'installation.
- L'insert est livre avec les instructions d'installation et d'exploitation. Le produit ne doit être mis en service qu'après inspection et délivrance d'un certifi cat de conformité. Pour l'utilisation au quotidien, la maintenance et l'entretien, etc., voir les instructions d'installation et d'utilisation du Jotul I 520 (cat. N° 10044945).
2.0 Données techniques
Voir les dimensions, fig. 2
Poids, habillage, env.: 292 kg
Poids, insert: 110 kg
Hauteur 1700 mm
Largeur: 1065 mm
Profondeur 685mm
Distance min., entre la bouche de diffusion
d'air chaud et plafond: 700 mm.
Équipements en option: Plaque de sol
Amenée d'air frais
Plaque de fond
Système de pierres à accumulation
de chaleur
Les données techniques relatives au I520 sont disponibles dans le manuel de l'insert
3.0 Sécurité
Remarque: A fi n d'assurer un niveau de rendement et de sécurité optimal, l'installation d'un poèle Jotul doit être confiée à un installerateur qualifié (voir www.jotul.com pour la liste complète de nos revendeurs).
Toute modification du produit par le distributeur, l'installateur ou l'utilisateur final, risque de comprometterle bon fonctionnement du produit et de ses éléments de sécurité. Ceci s'applique également à l'installation d'accessoires ou d'équipements en option qui ne sont pas fournis par Jotul. Ce risque peut par ailleurs survenir dans le cas ou des pieces ou éléments essentiels pour le bon fonctionnement et la sécurité du poèle, ont ete dedesassemblés ou retirés.
Dans tous ces cas, le fabricant ne pourrait être tenu responsable pour le produit et le droit de recours à la garantie sera rendu nul et sans effet.
3.1 Mesures de prévention anti-incendie
oute utilise du poèle compte un certain degré de risque. C'est pourquoit, il est indispensable de tous jours respecter les consignes de sécurité suivantes :
- Les distances minimales à respecter en utilisant le poèle ressortent de la fi gure 2 dans le manuel d'installation des produits.
Assurez-vous que les meubles et autres materiaux incl'ammables ne sont pas trop rapprochés du poèle. Pas de materiaux incl'ammables dans un rayon de 1 mètre de l'ouverture du foyer. - Laissez le feu s'eteindre de lui-même. Ne tentez jamais d'eteindre le feu avec de l'eau.
- Le poèle devient chaud lorsqu'il est allumé et peut provoquer des brûlures à la personne qui le touche.
- Attendez que le poèle soit froid pour-retirer les cendres. Les cendres pouvant encore contenir des braises, il convient de les recueillir dans un receptacle inéf ammable.
- Il convient d'épandre les cendres à l'extérieur ou de les vider dans un endroit ne représentant aucun risque d'incendie.
En cas de feu dans la cheminée.
- Fermez toutes les portes et les registres.
- Gardez la porte du foyer fermé.
- Vérifié ez la présence éventuelle de fumée dans le grenier et le sous-sol.
- Appelez les pompiers.
- Avant de pouvoir utiliser une cheminée qui a été exposée à un incendie ou à un début d'incendie, le foyer et la cheminée doivent être inspectés et jugés en état de marche par un personnel compétent.
3.2 Le sol
Fondations
Assurez-vous que le sol convient pour la cheminée. Voir la section « 2.0 Données techniques » pour les poids. Il est recommendé de retarder les revêtements situés sous le poèle, si ceux-ci ne sont pas solidaires du sol (parquets flottants).
Exigences relatives à la protection des parquets situés sous le poèle
Si vous avez l'intention de placer le produit directement sur un plancher en bois, vous doivent utiliser une plaque de fond (article no 10047361, en option)..
Exigences relatives à la protection des revêtements de sol infl immables devant le foyer
La plaque de sol doit être conforme aux lois et réglementations nationales en vigueur.
Veuillez contacter les autorités locales compétentes pour connaître les restrictions d'usage et les exigences liées à l'installation.
Pour la Norvège : 300 mm minimum devant la porte et largeur supérieure ou égale à celle de la porte.
3.3 Les murs
Pour la distance aux murs et aux cloisons infi immables, reportez-vous à la fi g. 2.
Le poèle peut être utilisé avec un conduit de fumée semi-isole, à condition que les distances entre le poèle et les murs/ cloisons inflammables soient conformes à la figure 2.
Remarque: Assurez-vous que les meubles et autres matériaux incl'ammables ne sont pas trop rapprochés du poèle. Pas de matériaux incl'ammables dans un rayon de 1 mètre de l'ouverture du foyer..
3.4 Le plafond
Si le plafond au-dessus du poèle est en matériel infa ammable, la distance minimum entre le poèle et le plafond doit etre de 700 mm,pour une hauteur sous plafond de 2400 mm au minimum.
4.0 Montage
Remarque : Avant l'installation, vérifi ez que le produit ne presente aucun dommage visible.
Remarque: Le produit est lourd! Prévoyez de l'aide pour son positionnement et son installation.
Remarque: Lisez les instructions d'installation et d'exploitation pour Jotul 1520 (cat. No. 10044945 et Jotul S 71 / S 72 (cat. No. 10047331) avant d'installer la cheminée!
Utilisez le mastic acrylique fourni pour sceller tous les joints.
Positionnez ensuite la cheminée métallique conformément au manuel d'instructions.
- L'insert peut être raccordé à une cheminée et à un conduit approuvés pour les chambres de combustion à combustible solide, avec les températures de fumées de 305^ .
- La section transversale minimale de la cheminée doit correspondre à celle du conduit. Section transversale Ø 150 mm.
- Plusieurs poèles/foyers à combustible solide peuvent être raccordés au même système de cheminée, dés l'instant où la section est appropriée. Voir « 2.0 Données techniques »
Pour le tirage de cheminée recommendé, voir « 2.0 Données techniques ». En cas de tirage trop important, nous conseillons de mettre en place un dispositif spécial de type « modérateur » ou « régulateur » de tirage.
4.1 Avant l'installation
Le produit de base est livré dans un emballage avec les éléments en béton.
Un insert (Jotul 1520) et un support sont également inclus.
Remarque : Vérifiez que le produit ne présente aucun dommage visible au moment du déballage.
Remarque: Verifi ez que l'insert correct est utilisé pour l'habillage sélectionné.
FRANCAIS
Preparatifs
Avant l'installation, il est nécessaire de déterminer les points suivants:
L'emplacement de la sortie d'évacuation des fumées.
L'emplacement s'il y a lieu du raccordement de la prise d'air extérieur.
Reportez-vous aux manuels correspondants pour les instructions d'installation des pieces.
Sortie de fumée
- Les S71 / S72 sont concus pour une installation avec sortie par le haut ou par l'arrière.
- Suivez les instructions de l'installation et d'exploitation pour Jotul I 520 FR (cat. No. 30044745 pour S71) ou Jotul I 520 FL (cat. No. 30044744 pour S72).
Conduit de fumée équilibré
IMPORTANT :
Utilisez un tuyau flexible entre le module d'allumage et l'insert lorsque vous installez un conduit équilibré. Il est important de placer le tuyau fi exible sur le côté de la chambre de combustion.
Ne pas l'instructor derrière la chambre de combustion de sorté qu'il risquerait d'entraver le débit d'air.
S71
G 1 stk (Art.nr 50047222)
S71FR

Fig.1a
D 1 stk (Art.nr 50047219)
(S 71 FR)

Fig.2

Distance minimale par rapport aux meubles/
matieresaux combustibles:
1000 mm

Muren matérieliau combustible


Fig.3

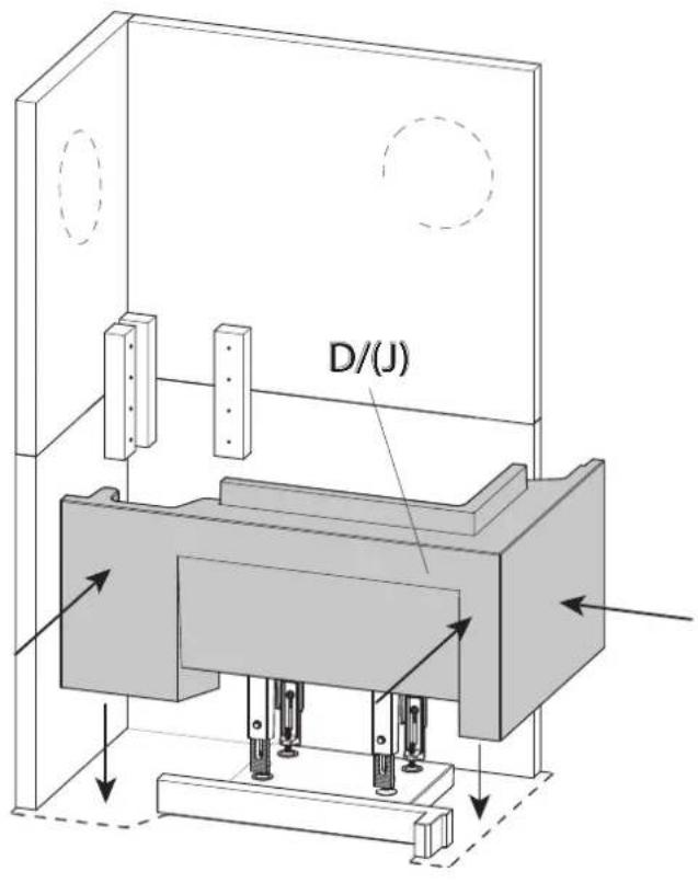
- Utilisez une plaque de fond (article no10047361, en option) si vous avez l'intention d'installer le produit sur un plancher combustible.

Fig.4

Remarque: Inversez les plaques (T) si un Jotul S72 (pour Jotul I520FL) est installé

Fig.5

Fig 6
FRANCAIS

Fig.7

Fig.9

Fig.8

Fig.10

Fig.11

Fig.13

Fig.12

Fig.14

Fig.14-b
FRANCAIS

Fig.15

Fig.16-b

Fig.16

Fig.17
Fig.18

L'insert peut être ajusté verticalément au moyen de vis de réglage. Voir la Fig. 26 dans les instructions d'utilisation et d'exploitation du Jcotul I 520
5.0 Avec l'installation
Pour l'utilisation et l'entretien, voir le manuel d'installation et les caractéristiques techniques du Jcotul F 520 (réf. 10044945).
Remarque: A la livraison, l'habillage peut désenter certaines petites rayures visibles à travers la couche d'après. Ce ne sont que des défauts cosmétiques qui n'alterent pas les caractéristiques du produit. Les rayures disparaitront des l'habillage est peint après l'installation.
5.1 Peinture
Le produit peut être peinte sur le jour après l'installation. Utilisez une peinture à base aqueuse. Si vous souhaitez Brokerer une texture légère, mélangez un peu de ciment à tuile avec la peinture.
5.2 Petites imperfections
Une fois l'insert est collé, il est conseilé de lisser les petites imperfections ou irregularités du beton à l'aide du produit de rebouchage à base de ciment fourni.
- Afin d'obtenir un résultat optimal,oncez l'habillage avec du papier abrasif fi n, en issant les irregularités et les arêtes,avant de peindre sa surface.
- Appliquez une couche de peinture.
- Mélangez la poudre (produit de rebouchage en ciment) avec de l'eau pour former une pâté lisse (d'une constance équivalente à celle d'un dentifrice).
- Lissez toute irregularité, laissez secher et poncez avec du papier abrasif fin.
Si les imperfections sont profundes, il est conseilé d'appliquer le produit de rebouchage en plusieurs fois pour l'empecher de s'affasser. - Appliquez une nouvelle couche de peinture de la couleur désirée
5.3 Fissures
Après quelques mois d'utilisation, il est possible de voir appararaitre de petites fissures dans les joints en raison d'un affaisissement. Ces sssures peuvent etre réparées facilement
Ouvrez la fissure à l'aide, par exemple, d'un tournevis, pour dégager de l'espace et y mesure le produit de rebouchage.
- Aspirez d'abord toute la poussière. Injectez un produit de rebouchage acrylique dans les fi sures et lissez à l'aide d'un doigt mouillé et savonneux.
Vos pouze peindre le joint quelques jours plus tard.
FRANCAIS
6.0 Equipements en option
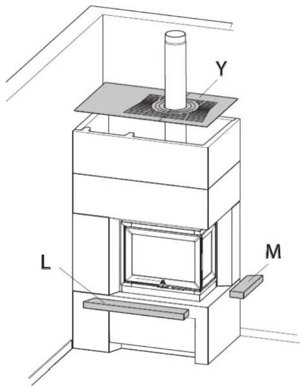
Plaque de sol en acier devant le produit :
Plaque de sol avant en verre :
Réf. cat. 50047338 (NO/SE)
Réf.cat.50047517 (DE)
Amenée d'air frais
Ref. cat. 51047509
Plaque de fond
Réf. cat. 10047361
Système de pierres à accumulation de chaleur
Réf. cat. 10026701
7.0 Recyclage
7.1 Recyclage de l'emballage
Votre foyer est livre avec les emballages suivants :
- Une palette en bois qui peut être sciee et brulee dans le poele.
- Des emballages en carton qui doivent être déposés dans une station de recyclage près de chez vous.
- Des sacs en plastique qui doivent être déposés dans une station de recyclage près de chez vous
7.2 Recyclage du poèle
Le poèle est composé de :
- d' éléments metalliques qui doivent être déposés dans une station de recyclage près de chez vous.
- Le verre qui doit être éliminé en tant que déchet dangereux.
Le verre dans le poèle ne doit pas être place dans un conteneur de tri de déchets à la source standard.
Les panneaux en vermiculite peuvent être déposés dans des conteneurs de déchets classiques.
8.0 Garantie
La société Jotul offre une garantie de dix ans sur les pieces extérieures en fonte en cas de vice de matière et/ou de fabrication à compter de la date de l'achat / de l'installation du poèle. L'acheteur est en droit de returner la marchandise à condition que le poèle ait été installé en conformité avec les lois et règlements en vigueur ainsi qu'avac les instructions d'installation et d'utilisation de Jotul.
La garantie ne couvre pas :
L'installation d'options, notamment pour rectifi er le tirage, l'arrivee d'air ou d'autres circonstances qui echappent au contrôle de Jotul. La garantie ne couvre pas les consommables tels que les plaques de doublage, les defi ecteurs de fumee, les grilles de foyer, les grilles de fond, les briques refractaires, les amortisseurs et les joints car ces éléments nécessitant d'être remplaces regulierement lors d'utilisation normale. La garantie ne couvre pas les dommages causés par l'utilisation d'un combustible inapproprié pour allumer le feu, comme du bois ayant séjourné dans I'eau, du bois impregné, du bois peint, des résidus de coupe, de I'aggloméré, etc. L'utilisation d'un combustible inapproprié peut entrainer une surchauffere rapide du produit. Le poèle devient alors incandescent, ce qui provoque le ternissement de la peinture et la fissuration des pieces en fonte.
La garantie ne couvre pas les avaries causées lors du transport de l'appareil entre le distributeur et le lieu de livraison. Elle ne couvre pas non plus les dommages causés par l'utilisation de pieces non d'originer.
NEDERLANDS
Inhoudsopgave
Jotul vise sans cesse à améliorer ses produits. C'est pourquoi, il se réserve le droit de modifier les spécifiations, couleurs et équipements sans avis prétable.
Kvalitet
Le système de contrôle de la qualité de Jotul AS est conforme à la norme NS-EN ISO 9001 relative à la conception, à la fabrication et à la distribution de poèles, foyers et inserts. Cette politique nous permet d'offrir à nos clients une qualité et une sécurité reposant sur la vaste experience accumulée par Jotul depuis sa création en 1853
Jotul AS,
P.o. box 1411
N-1602 Fredrikstad,
Norway
www.jotul.com
Notice Facile