2PB200PT - Batterie portable FRESH N REBEL - Notice d'utilisation et mode d'emploi gratuit
Retrouvez gratuitement la notice de l'appareil 2PB200PT FRESH N REBEL au format PDF.
| Caractéristiques techniques | Batterie portable Fresh 'n Rebel 2PB200PT, capacité de 20000 mAh, 2 ports USB-A, 1 port USB-C. |
|---|---|
| Utilisation | Idéale pour charger des smartphones, tablettes et autres appareils électroniques en déplacement. |
| Maintenance et réparation | Conserver dans un endroit sec, éviter les chocs. Pas de pièces remplaçables. |
| Sécurité | Protection contre les surcharges, courts-circuits et surchauffes. Ne pas exposer à des températures extrêmes. |
| Informations générales | Poids léger, design compact, disponible en plusieurs couleurs. Garantie limitée du fabricant. |
FOIRE AUX QUESTIONS - 2PB200PT FRESH N REBEL
Questions des utilisateurs sur 2PB200PT FRESH N REBEL
0 question sur cet appareil. Repondez a celles que vous connaissez ou posez la votre.
Poser une nouvelle question sur cet appareil
Téléchargez la notice de votre Batterie portable au format PDF gratuitement ! Retrouvez votre notice 2PB200PT - FRESH N REBEL et reprennez votre appareil électronique en main. Sur cette page sont publiés tous les documents nécessaires à l'utilisation de votre appareil 2PB200PT de la marque FRESH N REBEL.
MODE D'EMPLOI 2PB200PT FRESH N REBEL
- Chargez complètement votre Powerbank avant utilisation.
- Branchez le Powerbank à l'appareil que vous souhaitez charger.
- Appuyez sur le bouton pour démarrer le chargement.
L'indicateur DEL de chargement rouge s'allume. - L'indicateur s'estint lorsque votre apparéil est complètement chargé.




VOTRE APPAREIL EST ALORS PRÉT POUR LA FÊTE!

FR

1. USB port 1 Amp
Pour charger vos périphériques
2. Port USB 2.1 Amp
Pour charger rapidement vos péripériques
3. Port USB micro
Pour charger votre powerbank
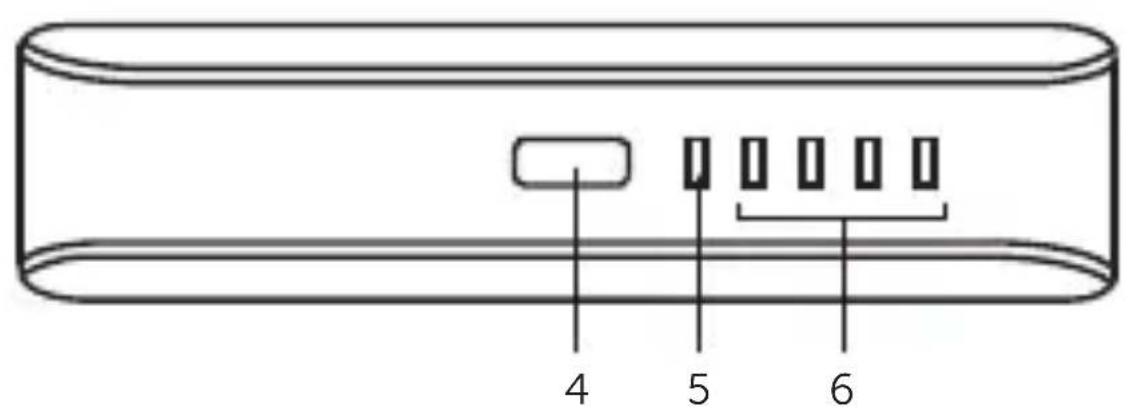
4. Bouton
Appuyer pour démarrer le chargement
Appuyer pour afficher l'etat de charge de la batterie
5. LED de chargement
Rouge = Powerbank en cours Éteinte = Powerbank terminé
6. Indicateur de batterie
1 voyant = 25% de charge restante
2 voyants = 50% de charge restante
3 voyants = 75% de charge restante
4 voyants = 100% de charge restante
INSTRUCTIONS DE SÉCURITÉ IMPORTANTES

Advertisement!
Les directives de sécurité sont conçues pour vous faire profiter en toute sécurité des valeurs performances de vos produits Fresh 'n Rebel. Pour garantir un fonctionnement sans souci:
- Respectez toujours toutes les instructions et tous les averissements.
- Lisez attentivement toutes les instructions du manuel d'utilisation avant d'utiliser le produit.
- N'ouvrez par l'appareil, il ne contient aucune piece réparable et cette intervention annulerait votre garantie.
- N'utilisez pas le produit dans un environnement humide ou dans des conditions humides.
- Ne manipulez pas l'adaptateur d'alimentation à proximé d'une source de chaleur importante, d'une grille de chauffage ou en plein soleilpendant une longue durée. Le produit doit être utilisé à des températures comprises entre 5^ et 35^ (entre 41^ et 95^ ).
- Ne recouvre pas le produit avec du papier ou d'autres matières. Ceci risquerait de générer la capacité de refroidissement du produit.
Garantie et limitations
Nous garantissons le produit contre tout vice de fabrication ou de malfaçon dans des conditions d'utilisation normales pendant une période de 2 ans à partir de la date d'achat. Pendant cette période, les produits défectueux pourront être raménés pour réparation ou remplacement au magasin où ils ont été achetés. La garantie ne couvre pas les dommages accidentels, l'usure, la perte accidentelle ou toute utilisation ne respectant pas les instructions du manuel d'utilisation.
Specifications du produit
- Capacité de la batterie: 5200 mAh
- Entre: 5V / 1,5A (max.)
- Puissance de sortie: 15W
USB Sortie 1:5V/1A - USB Sortie 2 : 5 V / 2,1A
- Dimensions: 49 × 101 × 27 mm
- Poids du produit : 135g
- Protections intégrées : protection contre les surintensités, protection contre les surtensions, protection contre les surchauffes, protection contre les surpuissances, protection contre les courts-circuits.
Notice Facile