KXTGF372 - Téléphone fixe PANASONIC - Notice d'utilisation et mode d'emploi gratuit
Retrouvez gratuitement la notice de l'appareil KXTGF372 PANASONIC au format PDF.
| Caractéristiques techniques | Détails |
|---|---|
| Type de téléphone | Téléphone de bureau sans fil |
| Nombre de combinés | 2 combinés |
| Écran | Écran LCD rétroéclairé |
| Autonomie en veille | Jusqu'à 200 heures |
| Autonomie en conversation | Jusqu'à 10 heures |
| Portée | Jusqu'à 50 mètres à l'intérieur, 300 mètres à l'extérieur |
| Fonctionnalités supplémentaires | Répondeur intégré, identification de l'appelant, mode mains libres |
| Maintenance | Nettoyer avec un chiffon doux, éviter les produits chimiques agressifs |
| Sécurité | Conforme aux normes de sécurité électrique, ne pas exposer à l'eau |
| Informations générales | Idéal pour une utilisation domestique ou de bureau, facile à installer |
FOIRE AUX QUESTIONS - KXTGF372 PANASONIC
Questions des utilisateurs sur KXTGF372 PANASONIC
0 question sur cet appareil. Repondez a celles que vous connaissez ou posez la votre.
Poser une nouvelle question sur cet appareil
Téléchargez la notice de votre Téléphone fixe au format PDF gratuitement ! Retrouvez votre notice KXTGF372 - PANASONIC et reprennez votre appareil électronique en main. Sur cette page sont publiés tous les documents nécessaires à l'utilisation de votre appareil KXTGF372 de la marque PANASONIC.
MODE D'EMPLOI KXTGF372 PANASONIC
Manuel d'utilisation
Système téléphonique sans fil numérique avec répondeur et fonction de liaison cellulaire
Modèle
KX-TGF372C
KX-TGF373C
KX-TG175CSK


Bluetooth
Modèle illustré : KX-TG175SK.
Avant d'utiliser l'appareil pour la première fois, consultez "Préparatifs" (p. 11).
Nous vous remercions d'avoir arrêté votre choix sur un appareil Panasonic.
Lire attentivement ce manuel d'utilisation avant d'utiliser l'appareil et le conserver pour consultation ultérieure.
Pour de l'aide, veuillez visiter notre page Soutien :
www.panasonic.ca/french/support
Sommaire
Description des modèles 4
Accessoires 4
Symboles graphiques à utiliser sur l'équipement et leurs descriptions 6
Informations importantes
Pour votre sécurité 7
Mesures de sécurité importantes 8
Pour un rendement optimal 8
Autres informations 9
Spécifications 10
Préparatifs
Réglages initiaux 11
Commandes 13
Icônes d'affichage/Voyants 14
Paramètres de langue 16
Date et heures 16
Enregistrement d'un message réponse 16
D'autres paramètres 17
Liaison cellulaire
Fonction de liaison cellulaire 18
Enregistrement d'un téléphone cellulaire 18
Réglages de la liaison cellulaire 19
Appels entrants et sortants avec le combiné
Pour faire des appels cellulaires 23
Pour faire des appels sur ligne terrestre 23
Pour recevoir des appels 24
Fonctions pratiques pouvant être utilisées pendant une communication 24
Alimentation auxiliaire pour ligne terrestre 27
Appels entrants et sortants avec le poste de base
Pour faire des appels cellulaires 30
Pour faire des appels sur ligne terrestre 30
Pour recevoir des appels 31
Fonctions pratiques pouvant être utilisées pendant une communication 31
Intercommunication
Utilisation de la touche [CALL BLOCK] 35
Mise en mémoire des demandeurs indésirables 35
Répertoire
Répertoire 39
Composition rapide 43
Programmation
Liste du menu 44
Avertisseur 53
Mode de nuit 54
Interphone de surveillance de bébé 55
Autres programmations 57
Enregistrement d'un combiné 57
Service d'affichage du demandeur
Utilisation du service d'affichage du demandeur. 59
Liste des demandeurs 61
Utilisation de dispositifs bluetooth®
Copie du répertoire d'un téléphone cellulaire (transfert de répertoire) 63
Application « Liaison cellulaire » 64
Avis de message texte (SMS) 65
Réglages des avertissements pour votre téléphone DECT 65
Avec un casque d'écoute sans fil Bluetooth (vendu séparément) pour les appels sur ligne terrestre 66
Répondeur pour ligne terrestre
Répondeur pour ligne terrestre 69
Mise en/hors marche du répondeur 69
Message de réponse 69
Écouter des messages 70
Fonctions évoluées d'avis de nouveau message 72
Commande à distance 73
Paramétrage du répondeur 75
Généralités
Service de messagerie vocale pour ligne terrestre 77
Messages d'erreur 80
Sommaire
Guide de dépannage 81
Innovation, Sciences et Développement
économique Canada : avis et autres
Informations 90
Garantie 91
Index. 92
Description des modèles
| Séries Modèle | Poste de base Combiné | ||
| N° de piece N° de piece Quantité | |||
| Série KX-TGF370 KX-TGF372 KX-TGF370 KX-TGFA30 2 | |||
| KX-TGF373 KX-TGFA30 3 | |||
| KX-TG175SK KX-TGF370 KX-TGFA30 5 | |||
Accessoires inclus
| N° Description/N° de piece | Quantité | |||
| KX-TGF372 KX | TGF373 KX-TG1 | 75SK | ||
| ① | Adaptateur secteur/PNLV226 1 1 1 | |||
| ② | Cordon de ligne téléphonique 1 1 1 | |||
| ③ | Adaptateur pour un montage mural ou sur un bureau*1 | 1 1 1 | ||
| ④ | Piles rechargeables*2 | 4 6 10 | ||
| ⑤ | Couvercle du combiné3 | 2 3 5 | ||
| ⑥ | Attache-ceinture 2 3 5 | |||
| ⑦ | Chargeur 1 2 4 | |||
1 L'adaptateur de montage mural/sur un bureau est fixé au poste de base. 2 Voir p. 5 pour des informations sur les piles de rechange. 3 Le couvercle du combiné est fixé au combiné.
①
(2)
③
(4)
⑤
(6)
Accessoires additionnels ou de rechange
Communiquer avec un détaillant Panasonic pour plus de renseignements.
Pour de l'aide, visitez www.panasonic.ca/french/support
| Description Numéro de modèle/caracteristiques techniques | |
| Piles rechargeables | HHR-4DPA*1 |
| Type de piles : - Nickel-métal-hydrure (Ni-MH) - 2 piles de format AAA (R03) pour chaque combiné | |
| Casque téléphonique KX-TCA60, KX-TCA93, KX-TCA400, KX-TCA430 | |
| Localisateur de clés | KX-TGA20*2 |
1 La capacité des piles de rechange pourrait être différente de celle des piles fournies. 2 En enregistrant un localisateur de clés (max. de 4) auprès d'un téléphone numérique sans fil Panasonic et en le fixant à un objet susceptible d'être facilement égaré, il est possible, le cas échéant, de localiser et trouver l'objet auquel le localisateur de clés a été fixé. Consulter notre site Web : www.panasonic.net/pcc/products/telephone/p/tga20/
Autres informations
Le design et les spécifications peuvent être modifiés sans préavis. - Les illustrations de ce manuel peuvent ne pas représenter fidèlement l'appareil.
Extension du système téléphonique
| Combé (vendu séparément) : KX-TGFA30C | |
| Il est possible d'étendre la capacité de votre système téléphonique en enregistrant des combinés additionnels (max. de 6) auprès d'un même poste de base.La couleur des combinés vendus séparément pourrait être différente de cette des combinés fournis. | |
Dispositifs bluetooth®
Il est possible d'étendre la capacité de votre système téléphonique en enregistrant les dispositifs suivants auprès d'un même poste de base.
| Votre téléphone cellulaireBluetooth1 : max. de 2 (pour appeals sur téléphone cellulaire : p. 18) | |
| Votre casque d'ecouteBluetooth1 : max. de 1 (pour des conversations mains libres : p. 66) |
*1 Voiture téléphonе cellulaire et voiture casque doivent être compatibles avec la technologie sans fil Bluetooth. Pour plus de renseignements et pour la liste de téléphones cellulaires compatibles, consulter notre site Web : www.panasonic.ca/link2cell
Marques de commerce
- Le mot servant de marque et les logos Bluetooth sont des marques déposées appartenant à Bluetooth SIG, Inc., et tout usage de ces marques par Panasonic Corporation est effectué en vertu d'une licence.
- iPhone est une marque de commerce d'Apple Inc., enregistrée aux États-Unis et dans d'autres pays. Android est une marque de Google Inc.
- Gmail, Google Calendar sont des marques de Google Inc.
- Facebook est une marque de Facebook, Inc.
- Twitter est une marque de Twitter Inc.
- Instagram est une marque de Instagram, Inc.
- BlackBerry est la propriété de Research In Motion Limited. Le nom BlackBerry est enregistré aux États-Unis et peut être enregistré ou faire l'objet d'une demande d'enregistrement dans d'autres pays. Panasonic n'est pas soutenue, commanditée ou autrement autorisée par Research In Motion Limited, et n'est pas non plus une filiale de cette société.
- Toutes les autres marques de commerce identifiées aux présentes appartiennent à leurs propriétaires respectifs.
Symboles graphiques à utiliser sur l'équipement et leurs descriptions
| Symbole Explication Symbole Explication | |||
| ~ | Courant alternatif (C.A.) Équipe ment de classe II (équi- pement où la protection contre les chocs électriques repose sur une double isolation ou une isolation renforcée) | ||
| --- | Courant continu (C.C.) "MARCHE" (alimentation) | ||
| Terre de protection "ARRÊT" (alimentation) | |||
| Liaison de terre de protection Veille (alimentation) | |||
| Terre fonctionnelle "MARCHE" "ARRÊT" (alimen- tation, push-push) | |||
| Utilisation en interieur unique- ment | Attention, risque de chocoléc- trique | ||
Pour votre sécurité
Afin d'éviter tout risque de blessure ou perte de vie/propriété, lire cette section attentivement avant d'utiliser l'appareil afin d'assurer un usage adéquat et sécuritaire de cet appareil.
Raccordements
- N'alimenter l'appareil que sur le type de courant indiqué sur l'appareil.
- Ne pas surcharger les prises murales et les rallonges. Cela pourrait augmenter le risque d'incendie ou de chocs électriques.
- Insérer la fiche de l'adaptateur secteur/prise d'alimentation à fond dans la prise de courant. Le non-respect de cette mise en garde pourrait causer des chocs électriques et/ou un risque d'incendie du à une chaleur excessive.
- Retirer régulièrement toute poussière, etc. de l'adaptateur secteur/prise d'alimentation en le débranchant de la prise de courant et en le nettoyant avec un chiffon sec. Une accumulation de poussière pourrait causer une défectuosité d'isolement à l'humidité, etc. et présenter un risque d'incendie.
- Débrancher l'appareil s'il dégage de la fumée, une odeur inhabituelle ou émet un bruit anormal. Ces situations peuvent présenter un risque d'incendie ou de choc électrique. S'assurer que le dégagement de fumée a cessé, puis contactez-nous en visitant notre page Soutien: www.panasonic.ca/french/support
- Débrancher le cordon d'alimentation et ne jamais toucher aux composantes internes de l'appareil dans le cas où le boîtier se serait fissuré.
- Ne jamais toucher la prise avec les mains mouillées. Il y a danger de chocs électriques.
Installation
- Afin d'éviter tout risque d'incendie ou de chocs électriques, ne pas exposer cet appareil à la pluie ou à l'humidité.
- Ne placer pas ni utiliser à proximité d'appareils à contrôle automatique tels que les portes automatiques et les dispositifs d'alarme. Les ondes radioélectriques émises par cet appareil
pourraient engendrer un mauvais fonctionnement de tels appareils et causer un accident.
- Éviter que le cordon de l'adaptateur secteur ou le cordon de ligne téléphonique soit tiré, plié ou écrasé.
Mises en garde de fonctionnement
- Débrancher l'appareil de la prise secteur avant de le nettoyer. Ne pas utiliser de détergents liquides ou en aérosol.
- Ne pas démonter cet appareil.
- Ne pas renverser de liquides (détergents, nettoyants, etc.) sur la fiche du cordon de ligne téléphonique et ne jamais permettre qu'elle soit mouillée. Ceci pourrait causer un risque d'incendie. Si la fiche du cordon de ligne téléphonique est mouillée, débrancher immédiatement le cordon de la prise de téléphone et ne pas l'utiliser.
Domaine médical
- Consulter les fabricants de dispositifs médicaux personnels, tels que les stimulateurs cardiaques ou appareils auditifs, afin de déterminer s'ils sont protégés contre l'énergie émise par les fréquences radio. (La gamme de fréquence de cet appareil est de 1,92 GHz à 1,93 GHz, et la puissance de sortie est 115 mW (max.).)
- Ne pas utiliser cet appareil dans des centres de soins de la santé où des mises en garde le spécifient. En effet, les hôpitaux et centres de soins médicaux peuvent utiliser de l'équipement qui pourrait être sensible à l'énergie RF externe.
Installation et emplacement
- Ne jamais faire de raccordement lors d'un orage.
- Ne jamais installer une prise téléphonique dans un endroit mouillé à moins que la prise soit destinée spécialement à cet usage.
- Ne jamais toucher à des fils de téléphone non isolés ou à des terminaux à moins que la ligne n'ait été déconnectée par le réseau.
- Prendre toutes les précautions lors de l'installation ou de la modification de lignes téléphoniques.
Informations importantes
L'adaptateur secteur est utilisé comme interrupteur principal. S'assurer que la prise de courant est près de l'appareil et facile d'accès. - Il est impossible de faire des appels dans les cas suivants :
Lorsque les piles du combiné doivent être chargées ou sont à plat. Lors d'une panne de courant.
- Il est recommandé d'utiliser les piles indiquées à la p. 5. UTILISER SEULEMENT des piles rechargeables Ni-MH de format AAA (R03).
- Ne jamais combiner des piles usagées avec des piles neuves.
- Ne pas ouvrir ni mutiler les piles. L'électrolyte des piles est corrosif et peut causer des brûlures ou des blessures aux yeux ou à la peau. L'électrolyte est toxique et peut être nocif dans le cas où il serait ingéré.
- Manipuler les piles avec soin. Ne pas permettre que les piles soient en contact avec des objets à propriété conductrice tels que des bagues, des bracelets ou des clés, sinon les piles et (ou) les conducteurs pourraient surchauffer et provoquer des brûlures sérieuses.
- Charger les piles fournies ou recommandées pour utilisation avec ce produit conformément aux instructions et restrictions indiquées dans le présent manuel. Utiliser seulement un poste de base compatible (ou un chargeur) pour charger les piles. Ne pas altérer le poste de base (ou le chargeur). Le non-respect de ces directives pourrait faire gonfler ou exploser les piles.
Attention :

L'appareil que vous vous êtes procuré est alimenté par des piles au nickel-metal-hydride recyclables. Pour des renseignements sur le recyclage des piles, veuillez composer le 1-800-8-BATTERY (1-800-822-8837).
Importantes mesures de sécurité
Lors de l'utilisation de cet appareil, prendre les précautions d'usage suivantes afin d'éviter tout risque d'incendie, de chocs électriques ou de blessures :
- Ne pas utiliser cet appareil près d'un endroit où il y a de l'eau, tels une baignoire, un lavabo, un évier, dans un sous-sol humide ou près d'une piscine.
- Ne pas utiliser d'appareils téléphoniques (à part les téléphones sans fil) lors d'un orage. Il pourrait y avoir un risque de choc électrique provoqué par les éclairs.
- Ne pas faire d'appels téléphoniques avec cet appareil près d'une unité de gaz.
- Utiliser seulement le cordon d'alimentation et les piles indiqués dans ce manuel. Ne pas jeter les piles au feu. Elles pourraient exploser. S'informer auprès des responsables locaux de la gestion des déchets pour les mesures à prendre.
Emplacement du poste de base/interférence
Le poste de base et les autres appareils Panasonic compatibles utilisant des ondes radio pour communiquer entre eux.
Pour une portée maximale et un fonctionnement exempt de bruit, placer le poste de base :
- à l'intérieur, dans un endroit facilement accessible, élevé et central sans obstacle entre le combiné et le poste de base;
- Indépendamment de tout appareil électronique tel que téléviseurs, radios, ordinateurs, dispositifs sans fil ou autres téléphones;
- orienté dans une direction opposée à tout émetteur radiofréquence tel que les antennes extérieures des stations cellulaires de téléphones mobiles. (Éviter de placer le poste de base dans une fenêtre en baie ou pres d'une fenêtre.)
- La portée et la qualité de la voix varient selon les conditions ambiantes.
Informations importantes
- Si le rendement n'est pas satisfaisant, déplacer le poste de base afin d'obtenir une meilleure réception.
Milieu ambient
- Éloigner l'appareil de tout appareil générateur de bruit électrique tel que lampes fluorescentes et moteurs.
- Ne pas exposer l'appareil à la fumée, à la poussière, à des températures élevées et à des vibrations.
- Ne pas exposer l'appareil aux rayons directs du soleil.
- Ne pas déposer d'objets lourds sur l'appareil.
- Débrancher l'appareil lorsqu'il n'est pas utilisé pendant une période prolongée.
- Ne pas placer l'appareil près de sources de chaleur telles que chaufferettes, cuisinières, etc.
- Ne pas le placer dans un endroit où la température est inférieure à 0°C (32°F) ou supérieure à 40°C (104°F).
- Ne pas placer l'appareil dans un sous-sol humide.
- Le rayon d'action de l'appareil pourrait être limité lorsque l'appareil est utilisé dans les endroits suivants : près d'obstacles tels que collines, tunnels, souterrains ou près d'objets métalliques tels que clôtures en grillage, etc.
- L'utilisation de cet appareil à proximité d'un appareil électrique peut causer des interférences. L'éloigner de tels appareils.
Entretien de routine
Nettoyer la surface extérieure avec un linge doux humide. - Ne pas utiliser de benzène, de solvant ou tout produit abrasif.
Autres informations
ATTENTION: Il y a risque d'explosion si la pile est remplacée par une pile de type incorrect. Mettre au rebut les piles usagées conformément aux instructions.
Avis sur la mise au rebut, le transfert ou le retard de l'appareil
- Cet appareil peut conserver en mémoire des renseignements privés/confidentiels.
Afin de protéger vos renseignements personnels/confidentiels, il est recommandé de supprimer de la mémoire les informations telles que votre répertoire téléphonique et la liste des demandeurs avant de mettre l'appareil au rebut, d'en transférer la propriété ou de le retourner.
Conformité à la norme TIA-1083
Les téléphones sans fil identifiés avec ce logo comportent moins de bruits et d'interférences lors de leur utilisation avec des appareils auditifs ou des implants cochlaires à bobine d'induction magnétique.

Informations importantes
- Norme: DECT 6.0 (Digital Enhanced Cordless Telecommunications 6.0: télécommunications numériques sans fil améliorées 6.0) Technologie sans fil Bluetooth 2.1
- Fréquence: 1,92 GHz à 1,93 GHz (DECT) 2,402 GHz à 2,48 GHz (Bluetooth) Puissance de sortie RF : 115 mW (max.) Alimentation: 120 V c. a., 60 Hz
- Consommation: Poste de base :
Attente: Environ1,2W Maximum: Environ4,5W
Chargeur: Attente: Environ 0,1 W Maximum: Environ 1,8 W
- Conditions ambiantes: 0°C à 40°C (32°F à 104°F), 20% à 80% humidité relative (sec)
Raccordements
Si le cordon de ligne téléphonique n'est pas connecté et que seules les lignes cellulaires sont utilisées, régler le mode ligne cellulaire seulement afin de pouvoir utiliser ce téléphone (p. 20).
Porte-de-base
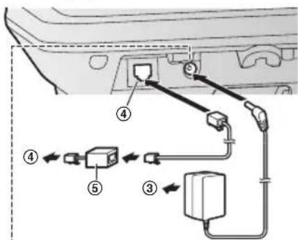
① Brancher l'adaptateur secteur à l'appareil en appuyant solidement sur la fiche. ② Attacher le cordon en l'accrochant. ③ Brancher l'adaptateur secteur sur la prise de courant. ④ Brancher le cordon de ligne téléphonique à l'appareil, puis à la prise téléphonique à ligne simple (RJ11C) jusqu'à entendre un clic. Un filtre DSL/ADSL (vendu séparation) est requis pour les abonnés à un service DSL/ADSL.
N'utiliser que l'adaptateur secteur Panasonic PNLV226, fourni.



Chargeur
Brancher l'adaptateur secteur sur la prise de courant.

Mise en place des piles
- UTILISER SEULEMENT des piles rechargeables Ni-MH de format AAA (R03)
- Ne PAS utiliser de piles alcalines, au manganèse ou au nickel-cadmium.
- Confirmer la polarité (⊕).

- Suivre les directives affichées pour configurer l'appareil.
Recharge des piles
Charger pendant environ 7 heures.
- Vérifier que "Charge" est affiché (A).
- Quand la recharge des piles est terminée, le message "Charge term." est affiché.

Remarques sur les connexions
L'adaptateur secteur doit rester branché en tout temps. (Il est normal que l'adaptateur secteur dégage un peu de chaleur.) L'adaptateur secteur devrait être branché dans une prise de courant montée verticalement ou installée dans un plancher. Ne pas brancher l'adaptateur dans une prise de courant montée dans un plafond car le poids de l'adaptateur pourrait en causer le débranchement.
Remarques sur la mise en place des piles
Utiliser les piles rechargeables fournies. Il est recommandé d'utiliser les piles rechargeables Panasonic indiquées aux p. 5, 8.
Remarques sur la recharge des piles
- Il est normal pour le combiné de développer un peu chaud durant la recharge. Nettoyer une fois par mois les contacts sur le combiné, le poste de base et le chargeur avec un chiffon doux et sec. Avant de nettoyer l'appareil, le déconnecter de la prise secteur et de toute ligne téléphonique. Effectuer ce nettoyage plus souvent si l'appareil est exposé à
des matières grasses, la poussière ou une humidité élevée.
Etat des piles
| Icônes État des piles | |
| Pleine charge | |
| Moyenne charge | |
| Faible charge | |
| Recharge requise | |
| Déchargées | |
Rendement des piles rechargeables panasonic ni-mh (piles fournies)
| Fonctionnement Autonomie | |
| En utilisation continue M | maximum de 13 heures*1 |
| Non utilisé (mode atten- te) | Maximum de 12 jours*1 |
*1 Si le mode Éco est activé.
Nota : Le rendement des piles dépend des conditions d'utilisation et de l'environnement.
Mode eco intelligent
Cette fonction permet de réduire automatiquement l'alimentation en réduisant la puissance de transmission lorsque le combiné est à proximité du poste de base.
Lorsque cette fonction est activée, Eco apparait. Cependant, lors d'un appel, l'icone Eco n'est pas affiché même si la fonction est activée. Le mode Eco est désactivé lorsque le suramplificateur vocal est activé (p. 25).
Préparatifs
Combé
Trous pour attache-ceinture Haut-parleur 3 Touche de communication [TALK] 4 Prise pour casque téléphonique 5 Clavier de composition (Touche de composition par tonalité : TONE) 6 Mode mains libres [4] (SP-PHONE) 7 Microphone Récepteur 9 Affichage 16 Touche de mise hors marche [OFF] 1 Touche commutateur/appel en attente [FLASH][CALL WAIT]
12 Touche de blocage des appels [CALL BLOCK] 13 Contacts de recharge
Type de commande
Touches de fonction En pressant l'une de ces touches, il est possible de sélectionner la fonction indiquée directement au-dessus de la touche. Lorsqu'un téléphone cellulaire est enregistré, [CELL.] s'affiche. Touche de navigation
- [▲], [▼], [←] ou [▶]: Pour défilier parmi diverses listes et rubriques. VOL. (Volume [A] ou [V]): Régler le volume sur le récepteur ou le haut-parleur durant la conversation. -4□: Consulter l'inscription du répertoire.
- [▶] REDIAL : Pour afficher la liste de recomposition.
- [▼] CID (Affichage du demandeur) : Pour afficher la liste des demandeurs.
Poste de base

1 Contacts de recharge
Préparatifs
Haut-parleur • Affichage 4 Touche de garde [HOLD] 5 Touche de recomposition/pause [REDIAL] [PAUSE] 6 Touche commutateur/appel en attente [FLASH] [CALL WAIT] Mode mains libres [4] (SP-PHONE) Voyant SP-PHONE 3 Touche d'effacement [ERASE] 9 Touche de mise en/hors marche du répondeur [ANSWER ON/OFF] 10 Touche de localisateur du combiné/ intercommunication [LOCATOR] [INTERCOM] Touche de sortie [EXIT] 12 Touche de lecture/d'arrêt (PLAY/ STOP) Voyant d'avis de message 13 Touche de cellulaire [CELL 1] Voyant CELL 1 14 Touche de cellulaire [CELL 2] Voyant CELL 2 15 Touche des alertes appli [APP ALERTS] 16 Adaptateur pour un montage mural ou sur un bureau
L'adaptateur est un accessoire amovible pour un montage mural ou sur un bureau (p. 78).
Microphone 13 Clavier de composition (Touche de composition par tonalité [TONE])
Type de commande
Touches de fonction
En pressant l’une de ces touches, il est possible de sélectionner la fonction indiquée directement au-dessus de la touche.
Touche de navigation
- [▲].[▼].[←] ou [→]: pour défilier parmi diverses listes et rubriques. VOL. (Volume: [A] ou [v]): pour régler le volume sur le récepteur pendant la conversation. -1 Reprise/saut des messages pendant la lecture.
Icônes d'affichage/voyants
Éléments affichés sur le combiné
| Éléments Signification | |
| Y | Dans les limites de portée du poste de base |
| Y | Hors de portée du poste de base |
| \ | La ligne terrestre est présente-ment utilisée.Clignotement:L'appeil est mis en garde.Clignotement rapide:Réception d'un appel entrant. |
| 12 | Une ligne cellulaire est présente-ment utilisée.*1Clignotement:L'appeil cellulaire est mis en garde.Clignotement rapide:Réception d'un appel cellulaire. |
| ECO | Le mode Éco est activé.*2 (p. 12) |
| 12 | Un téléphone cellulaire est connecté.*1 Prêt pour faire/recevoir des appeals cellulaires.Eteint:Un téléphone cellulaire n'est pas connecté au poste de base. (p. 20) |
| C1C2 | -Un appel cellulaire est en cours sur cette ligne.- La ligne cellulaire est selectionnée pour le réglage. |
| NR | Le réducteur de bruit est activé. (p. 25) |
| EG | L'égaliser est activé. (p. 26) |
| 3 Le haut-parleur est activé. (p. 24) | |
| 21 | Le volume de la sonnerie est dés-activé.*3(p. 46, 48) |
| 3 | Le mode de nuit est activé. (p. 54) |
Préparatifs
| Éléments Signification | |
| PRIVE | Le mode隱私 est activé. (p. 50) |
| © | L'ajvertisseur est activé. (p. 53) |
| ■ | Nombre du combiné |
| © | État des piles |
| » | Appel bloqué (p. 35) |
| REHA | Le suramplificateur vocal est ac- tivé (REHA : Rehaussement)*2 (p. 25) |
| ~ | La fonction Interphone de surveil- lance de bébé est activée. Le nom/numéro affiché à côte de l'icône indique le poste d'écoute. (p. 55) |
| Occupé | Le répondeur est présentement utilisé par un autre combiné ou par le poste de base. |
| Cell.1 utilisé | La ligne correspondante est pré- sentement utilisée. |
| Cell.2 utilisé | |
| C1/C2 utilisé | |
| Ligne utilisée | |
1 Les lignes correspondantes (1, 2 : ligne cellulaire) sont indiquées à côté de l'élément. 2 Lors d'un appel cellulaire, la rubrique n'est pas indiquée même si la fonction est activée. *3 Les lignes correspondantes (1, 2 : ligne cellulaire, L : ligne terrestre) sont indiquées à côté de la rubrique. Si toutes les lignes sont désactivées, aucune ligne n'est indiquée.
Éléments affichés sur le poste de base
| Éléments Signification |
| Le volume de la sonnerie est dés- activated.1 (p. 51, 52) |
| Le mode de nuit est activé. (p. 54) |
| Le mode privé est activé. (p. 50) |
| Éléments Signification | |
| MRS | "Msg-rép.seul." est selec-tionné. Les messages des de-mandeurs ne sont pas enregis-trés.(p. 75) |
| C1C2 | - Un appel cellulaire est en cours sur cette ligne.- La ligne cellulaire est selec-tionnée pour le réglage. |
| APP | Les alertes d'applications sont temporairement désactivées.(p. 66) |
| » | Appel bloqué (p. 35) |
| BQ | Un casque téléphoniqueBluetooth est connecté au poste de base.II est pré t à être utilisé. |
| Q | Un casque Bluetooth est présen-temment utilisé. |
| Occupé | Le répondeur est présentement utilisé par le combiné. |
| Cell.1utilisé | La ligne correspondante est pré-sentiment utilisé. |
| Cell.2utilisé | |
| C1/C2utilisé | |
| Ligneutilisée | |
*1 Les lignes correspondantes (C1, C2 : ligne cellulaire, L : ligne terrestre) sont indiquées à côté de la rubrique. Si toutes les lignes sont désactivées, aucune ligne n'est indiquée.
Voyants CELL sur le poste de base
Les voyants CELL montrent l'état de chaque ligne cellulaire.
| État Signification | |
| Allumé Un télé | phone cellulaire est con-necté. Pré pour faire/recevoir des appeals cellulaires. |
Préparatifs
| État Signification | |
| Clignote - La | igne cellulaire est présente-ment utilisée.- Copie en cours des inscri-pptions du réseau d'un télé-phone cellulaire (p. 63).- Le poste de base effectue une recherche du téléphone cellu-laire enregistré.- Le poste de base effectue l'enregistrement d'un téléphonecellulaire.- Un appel cellulaire est mis en garde. |
| Clignote ra-pidement | Réception d'un appel cellulaire. |
| Éteint - Un té | éophone cellulaire n'estpas enregistré auprès du pos-te de base.- Un téléphone cellulaire n'estpas connecté au poste de ba-se (p. 20). |
Langue d'affichage
Il est possible de sélectionner "English" ou "Français" pour la langue d'affichage. Par défaut, le réglage est sur "English".
Combinaison / Poste de base
1 [MENU]#110 2 [Sauv.] 3 Effectuer la procédure selon l'appareil. Combine: [OFF] Poste de base: [EXIT]
Langue du guide vocal
Il est possible de sélectionner "English" ou "Français" pour la langue du guide vocal de l'identification vocale du demandeur et du répondeur. Par défaut, le réglage est sur "English".
Combé
1 [MENU] #112 2 []: Sélectionner le paramètre désiré. 3 [SAUV.] → [OFF]
Combé
1 [MENU]#101 2 Entrer le jour, le mois et l'année en sélectionnant 2 chiffres pour chacun. Example:12 juillet 2016 120716
3 [Ok]
4 Entrer l'heure et les minutes (système de 24 heures) en sélectionnant 2 chiffres pour chacun. Exemple : 21:30 21 30 5 [SAUV.] [OFF]
Si l'anglais est sélectionné, un système d'horloge à 12 heures est utilisé. Avec le français, l'horloge fonctionne sur un système de 24 heures.
Enregistrement d'un message réponse
Vous pouvez enregistrer votre propre message réponse au lieu d'utiliser un message réponse préenregistré. Voir p. 69 pour plus de détails.
Combé
1 [MENU]#302 2 [UI]→[SELEC.] 3 Enregistrer un message réponse. → [ARRÊT] → [OFF]
Mode de composition
S'il n'est pas possible de faire des appels, modifier ce paramètre d'après le service téléphonique utilisé. Par défaut, le réglage est sur "Tonalité". "Tonalité": Pour la composition par tonalité. "Impulsions": Pour la composition à impulsions (avec cadran).
Combé
1 [MENU] #120 2 []: Sélectionner le paramètre désiré. 3 [SAUV.] → [OFF]
Fonction de liaison cellulaire
Il est possible de connecter votre poste de base au téléphone cellulaire en utilisant la technologie sans fil Bluetooth, pour que vous puissiez passer ou recevoir des appels cellulaires en utilisant votre système téléphonique. Cela vous permet de :
- Utiliser l'appareil pour pouvoir passer ou recevoir des appels cellulaires même s'il y a des zones de mauvaise réception dans votre maison (pour ce faire, il faut placer votre téléphone cellulaire à un endroit où la réception est bonne)
- Participer à des appels cellulaires même si votre téléphone cellulaire est dans votre poche ou votre sac.
- Profiter des appels cellulaires sans fil même si votre téléphone cellulaire est branché pour être rechargé.
Important :
- Voiture telphony cellulaire doit prendre en charge la Specification Profil mains libres (HFP).
- Il est possible d'enregistrer 2 téléphones cellulaires et 1 casque. L'appareil peut être utilisé pour communiquer sur 2 lignes simultanément (par exemple, 2 lignes cellulaires, ou la ligne terrestre et 1 ligne cellulaire).
- Uniquement 2 dispositifs Bluetooth peuvent être utilisés simultanément avec l'appareil (par exemple, 2 lignes cellulaires, ou le casque et 1 ligne cellulaire).
- Placer votre téléphone cellulaire à proximité du poste de base. Si le téléphone cellulaire est trop proche du poste de base pendant un appel cellulaire, il pourrait y avoir de l'interférence. Pour de meilleurs résultats, il est recommandé de placer le téléphone cellulaire de 0,6 m à 3 m (2 pieds à 10 pieds) du poste de base.
Important :
Pour plus de renseignements et pour la liste de téléphones cellulaires compatibles, consulter notre site Web : www.panasonic.ca/link2cell
- Avant d'effectuer l'enregistrement d'un téléphone cellulaire compatible avec Bluetooth auprès du poste de base, s'assurer qu'aucun dispositif smartphone, tel un casque smartphone, n'est connecté au téléphone cellulaire.
1 Poste de base :
Appuyer et maintenir la touche [CELL 1] ou [CELL 2] enfoncée pendant quelques secondes.
- Après que le voyant correspondant CELL du poste de base commence à clignoter, terminer la procédure en moins de 5 minutes.
2 Voituretéléphonecellulaire:
Pendant que le voyant correspondant CELL clignote, suivez les directives sur votre téléphone cellulaire pour accéder au mode d'enregistrement.
- En fonction de votre téléphone cellulaire, celui-ci peut vous inviter à introduire le code NIP Bluetooth (par défaut : "0000"). Si votre téléphone cellulaire indique une confirmation de mot de passe sur son écran, suivre les directives pour poursuivre.
3 Poste de base :
Attendre l'émission d'une longue tonalité.
L'enregistrement pourrait prendre plus de 10 secondes à se terminer. Lorsque le voyant CELL correspondant s'allume, le téléphone cellulaire est connecté au poste de base. Il est alors possible de faire des appels cellulaires.
4 [EXIT]
- S'assurer que le téléphone cellulaire est réglé pour se connecter automatiquement à cet appareil. Consulter le manuel d'utilisation de votre téléphone cellulaire.
- S'assurer d'annuler l'enregistrement actuel sur le téléphone cellulaire s'il doit être enregistré à une autre ligne (p. 19). Le réglage par défaut de la fonction d'alertes est "Actif". Il est donc possible que cette fonction soit activée lorsque vous enregistrez votre téléphone cellulaire auprès du poste de base (p. 65). (Ceci varie selon la version et le type du téléphone cellulaire utilisé.)
Désenregistrement d'un téléphone cellulaire
Il est possible d'annuler l'enregistrement d'un téléphone cellulaire qui est enregistré auprès du poste de base.
Combé
1 Pour CELL 1: [MENU]#6111
Pour CELL 2: [MENU]#6112
2 [] : “Oui” → [SELEC.]
- Une fois le téléphone cellulaire désenregistré, le voyant CELL s'éteint.
3 [OFF]
Sélection de l'appareil pour la réception des appels cellulaires
Il est possible de sélectionner l'appareil pour la réception des appels de la ligne cellulaire. Lorsque "Tout" est sélectionné, la sonnerie se fait entendre sur tous les combinés et le poste de base.
Combé
1. Pour CELL 1: [MENU]#6271 2. Pour CELL 2: [MENU]#6272
2[4]: Sélectionner le combiné désiré ou "Tout".→[SAUV.]
Nota :
Lors de la sélection d'un combiné en particulier pour recevoir les appels d'une ligne cellulaire : - les autres combinés ne peuvent pas prendre les appels. - le poste de base peut prendre les appels même si la sonnerie ne se fait pas entendre sur le poste de base. Toutefois, il est possible d'émettre la sonnerie sur le poste de base en réglant le volume de la sonnerie (p. 51). Lors de la sélection de "Tout" à partir d'un autre réglage, le volume de la sonnerie du poste
de base retourne au niveau le plus bas même si le volume de la sonnerie a été modifié. - Les appareils sélectionnés avec ce réglage ont également la fonction d'avis (p. 65) activée.
Sonnerie identique au mode cellulaire
Lors de l'activation de cette fonction, l réglages suivants sont disponibles :
"Désactivé": Désactiver cette fonction pour utiliser les tonalités de sonnerie du combiné et du poste de base. Les informations sur le demandeur sont énoncées selon le réglage de l'identification vocale du demandeur (p. 48). - "Activé (avec id. vocale)" (par défaut): L informations sur le demandeur sont énoncées même si l'identification vocale du demandeur est désactivée. "Activé (sans id. vocale)": Le combiné et le poste de base utilisent la tonalité de sonnerie de votre téléphone cellulaire. Les informations sur le demandeur ne sont pas énoncées même si l'identification vocale du demandeur est activée.
Important :
Pour utiliser cette fonction, votre téléphone cellulaire doit prendre en charge la tonalité de sonnerie intrabande Bluetooth. Consultez le manuel d'utilisation de votre téléphone cellulaire.
Combé
1 Pour CELL 1: [MENU]#6141 2 Pour CELL 2: [MENU]#6142 3 []: Sélectionner le paramètre désiré. 4 [SAUV.] [OFF]
Nota :
- Les appareils utilisent les tonalités de sonnerie préréglées au lieu de la tonalité de votre téléphone cellulaire lors de la réception d'un appel cellulaire si : -telephone cellulaire est en mode de nuit (selon telephone cellulaire).
- le poste de base est présentement utilisé. -2 combinés partagent un appel sur ligne terrestre.
Liaison cellulaire
- Si votre téléphone cellulaire est en mode de nuit avec le réglage "Activé (avec id. vocale)", l'appareil énonce les informations sur le demandeur même lorsque l'identification vocale du demandeur est désactivée (p. 48).
Utilisation de la tonalité de sonnerie du combiné au lieu de celle de votre téléphone cellulaire
Sélectionner "Désactivé" à l'étape 2, "Sonnerie identique au mode cellulaire", p. 19. Pour modifier la tonalité de sonnerie du combiné pour une ligne cellulaire, consulter la p. 46.
Connexion automatique aux dispositifs bluetooth (téléphones cellulaires)
Après l'enregistrement, vos dispositifs Bluetooth sont connectés au poste de base. Si les dispositifs Bluetooth sont déplacés hors de la portée du poste de base, les dispositifs cellulaires ne sont plus connectés au poste de base. Cette fonction permet au poste de base d'essayer de reconnecter le dispositif Bluetooth à des intervalles réguliers lorsqu'il retourne dans la portée du poste de base. Il est possible de régler cet intervalle. Par défaut, le réglage est sur "1 min".
Important :
- Quand 3 dispositifs Bluetooth (2 téléphones cellulaires et 1 casque) sont enregistrés auprès du poste de base, uniquement 2 dispositifs Bluetooth peuvent être utilisés avec l'appareil simultanément, et le poste de base perd sa connexion des autres dispositifs Bluetooth. Pour rétablir automatiquement la connexion aux dispositifs Bluetooth, conserver la connexion automatique activée.
- Certains téléphones cellulaires perdent leur connexion après l'utilisation. Consultez les spécifications de votre téléphone cellulaire pour plus de détails.
Combé
1 [MENU] #632 2 []: Sélectionner le paramètre désiré. 3 [SAUV.] → [OFF]
- Certains téléphones cellulaires peuvent vous demander d'accepter les conditions d'enregistrement du poste de base. Dans un tel cas, sélectionner "Désacte" à l'étape 2. Consulter les spécifications de votre téléphone cellulaire pour plus de détails.
Connexion/déconnexion manuelle du téléphone cellulaire
Si la fonction de liaison cellulaire n'est temporairement pas nécessaire (par exemple, pour faire ou recevoir des appels sur le téléphone cellulaire), il est possible de déconnecter le téléphone cellulaire du poste de base. Pour l'utiliser à nouveau, reconnecter le téléphone cellulaire au poste de base.
- Si vous déconnectez manuellement un téléphone cellulaire enregistré auprès du poste de base, il est reconnecté automatiquement au poste de base 30 minutes plus tard. Si vous n'utilisez plus la fonction de liaison cellulaire, désenregistrez le téléphone cellulaire (p. 20).
- Un téléphone cellulaire déconnecté du poste de base n'est pas désenregistré, il n'est donc pas nécessaire de l'enregistrer à nouveau auprès du poste de base.
Combé
1 Pour connecter/déconnecter : Pour CELL 1: [MENU]#6251 Pour CELL 2: [MENU]#6252 - Une tonalité prolongée est émise.
Mode ligne cellulaire seulement (ligne terrestre non utilisée)
Si aucune ligne terrestre n'est utilisée, il est recommandé de régler l'appareil en mode ligne cellulaire seulement.
Par défaut, le réglage est sur "Désactivé".
Important :
- Si vous activez le "Mode ligne cell." débrancher le cordon de ligne téléphonique du poste de base. Autrement, le "Mode ligne cell." ne peut pas être activé.
Combé
1 [MENU]#157 2 Pour activer :
[★]: “Active” → [SELEC.] → [★]: “Oui” → [SELEC.] Pour désactiver : [‡]: “Désactive” → [SELEC.]
Nota :
- Une fois ce mode réglé, il est possible d'utiliser les touches suivantes pour faire des appels cellulaires :
- pour le combiné, appuyer sur [4] au lieu de CELL..
- pour le poste de base, appuyer sur [4] au lieu de la touche [CELL 1] ou [CELL 2] réglée pour la sélection de la ligne cellulaire (p. 21, 30).
- Une fois ce mode réglé, les fonctions suivantes ne peuvent pas être utilisées:
-Fonctions de ligne terrestre (p. 52) Répondeur (p. 69) Réception de messages - Fonctions de messagerie vocale (p. 77)
- Après l'activation ou la désactivation de ce mode, le poste de base redémarre.
- Les connexions Bluetooth des téléphones cellulaires ou du casque sont déconnectée és. L'indication affiche momentanément sur le combiné. Le combiné peut être utilisé une fois que est affiché.
Lors de l'utilisation de la ligne terrestre à nouveau
Avant de connecter la ligne terrestre au poste de base, sélectionner "Désactivé" à l'été 2
"Mode ligne cellulaire seulement (ligne terrestre non utilisée)", p. 20.
Sélection de la ligne cellulaire
Cette fonction détermine quelle ligne cellulaire est sélectionnée pour faire un appel lors :
- d'une pression sur la touche [CELL.] sur le combiné.
- d'une pression sur la touche [ ] ou [ ] sur le combiné quand uniquement la ligne cellulaire est activée. d'une pression sur la touche [4] du poste de base lorsque le mode ligne cellulaire seulement est activé.
Les réglages suivants sont disponibles :
"Manuel" (combination sément: par défaut): Il est possible de sélectionner la ligne cellulaire désirée pour faire un appel. -Tel. cell.1"1 (poste de base par default) CELL1 est sélectionné. -Tel. cell.2"1: CELL2 est sélectionné.
1 [MENU] #634 2 [Sauv.] 3 Effectuer la procédure selon l'appareil. Combine: [OFF] Poste de base: [EXIT] *1 Après l'enregistrement du dispositif Bluetooth, le nom du dispositif est affiché.
Mémorisation de votre code régional (pour la composition de seulement 7 chiffres lors d'appels locaux)
Il est nécessaire d'ajouter le code régional pour faire des appels sur une ligne cellulaire. Une fois le code régional en mémoire, cette fonction permet d'ajouter automatiquement ce code au numéro à 7 chiffres lorsqu'une ligne cellulaire est utilisée pour faire les appels.
Combé
1 [MENU] #633 2 Entrer le code régional à 3 chiffres.
- En cas d'erreur, appuyer sur [ANNULER].
3 [SAUVEGARDER] → [OFF]
Modification du NIP bluetooth (numéro d'identification personnel)
Le NIP est utilisé pour enregistrer des téléphones cellulaires auprès du poste de base. Par défaut, le NIP est "0000". Afin de prévenir l'accès non
Liaison cellulaire
autorisé à cet appareil, il est recommandé de modifier régulièrement le NIP et de le garder confidentiel.
Important :
- Prendre note du nouveau NIP. L'appareil ne vous informe pas du NIP. En cas d'oubli, consulter la p. 88.
Combé
Si l'appareil vous demande d'entrer l'ancien NIP (lorsque celui par défaut a été modifié), entrez le NIP à 4 chiffres actuel.
2 Entrer le nouveau NIP à 4 chiffres. → [OK] 3 Entrer le nouveau NIP à 4 chiffres à nouveau. → [SAUV.] 4 [OFF]
Important :
L'appareil peut être utilisé pour communiquer sur 2 lignes simultanément (par exemple, 2 lignes cellulaires, ou la ligne terrestre et 1 ligne cellulaire).
- Uniquement 2 dispositifs Bluetooth peuvent être utilisés simultanément avec l'appareil (par exemple, 2 lignes cellulaires, ou le casque et 1 ligne cellulaire).
- Avant de passer un appel, confirmer que l'icône correspondante est affichée sur le combiné (p. 14).
1 Décrocher le combiné et composer le numéro de téléphone.
- En cas d'erreur, appuyer sur [ANNULER].
2 [CELL.]
L'appareil lance la composition lorsque :
-Section 1 téléphone cellulaire est enregistré.
- Une ligne spécifique est réglée pour faire des appels cellulaires (p. 21).
Passer à l'étape 4.
3 [S] : Sélectionner le téléphone cellulaire désiré. → [SELEC.] 4 La conversation terminée, appuyer sur [OFF] ou déposer le combiné sur le poste de base ou le chargeur.
- Pour passer au haut-parleur, appuyer sur [4]. Pour remettre le récepteur en circuit, appuyer sur [4] / [5].
Réglage du volume sur le récepteur ou le haut-parleur
Dans le cours de la conversation, appuyer à répétition sur [▲] ou [▼].
Le volume que vous régalez sur le récepteur ou le haut-parleur est conservé pour chaque ligne (lignes terrestre et cellulaires).
Pour faire un appel cellulaire avec la liste des nombres composés
Les 5 derniers numéros de téléphone composés sont mémorisés dans la liste de recomposition (max. de 48 chiffres).
1 [REDIAL 2 [4]]: Sélectionner le numéro de téléphone désiré.
3 [CELL.]
L'appareil lance la composition lorsque : - seulement 1 téléphone cellulaire est enregistré. - une ligne spécifique est réglée pour faire des appels cellulaires (p. 21).
4 [S] : Sélectionner le téléphone cellulaire désiré. → [SELEC.]
Suppression d'un numéro de la liste des numéros composés
Lorsqu'un téléphone cellulaire est enregistré
1 [▶] REDIAL 2 [-]: Sélectionner le numéro de téléphone désiré. → [MENU] 3 [-]: "Supprimer" → [SELEC.] 4 [U] → [SELEC.]
5 [OFF]
Lorsqu'aucune téléphone cellulaire n'est enregistré:
1 [▶] REDIAL 2 []: Sélectionner le numéro de téléphone désiré. → [SUPPR.] 3 []: "Oui" → [SELEC.] 4 [OFF]
Pour faire des appels sur ligne terrestre
1 Décrocher le combiné et composer le numéro de téléphone. - En cas d'erreur, appuyer sur [ANNULER].

Appels entrants et sortants avec le combiné
La conversation terminée, appuyer sur [OFF] ou déposer le combiné sur le poste de base ou le chargeur.
Fonctionnement mains libres
1 Composer le numéro de téléphone et appuyer sur [4]. 2 La conversation terminée, appuyer sur [OFF].
Nota :
- Pour remettre le récepteur en circuit, appuyer sur [] / [].
Recomposition à partir de la liste des numéros composés
Les 5 derniers numéros de téléphone composés sont mémorisés dans la liste de recomposition (max. de 48 chiffres).
1 [▶] REDIAL 2 [-]: Sélectionner le numéro de téléphone désiré. 3
Pause (avec autocommutateur privé/ service interurbain)
Un temps de pause doit parfois être inséré au sein de la séquence de composition lorsqu'un autocommutateur privé est utilisé ou dans le cas d'un appel interurbain. Lors de la sauvegarde dans le répertoire téléphonique du numéro d'accès d'une carte d'appel et/ou d'un NIP, une pause doit également être insérée (p.42).
Exemple : S'il est nécessaire d'entrer le numéro "9" d'accès à la ligne réseau :
1 9 [] (Pause) 2 Composer un numéro de téléphone.
Nota :
- Une pause de 3,5 secondes est insérée sur chaque pression de la touche [A] (Pause).
1 Décrocher le combiné et appuyer sur [ou [5] lorsque la sonnerie est entendue. Pour prendre un appel cellulaire, il est également possible d'appuyer sur [CELL]. 2 La conversation terminée, appuyer sur [OFF] ou déposer le combiné sur le poste de base ou le chargeur.
Prise d'appels toute touche : Il est possible de prendre un appel en appuyant sur n'importe quelle touche de composition.
Prise automatique des appels : Il est également possible de prendre des appels en décrochant le combiné (p. 49).
Désactivation temporaire de la sonnerie du combiné : Il est possible de la désactiver temporairement en appuyant sur [x].
Réglage du volume de la sonnerie du combiné
Appuyer à répétition sur [▲] ou [▼] pour sélectionner le volume désiré quand la sonnerie se fait entendre.
Nota :
Le volume de sonnerie que vous réglez est conservé pour chaque ligne (lignes terrestre et cellulaires).
Garde
1. Appuyer sur [MENU] pendant un appel externe. 2. [] "Garde"→[SELEC.] 3. Pour libérer la garde sur la ligne cellulaire : Appuyer sur [CELL.]*1
L'utilisateur d'un autre combiné peut prendre l'appel en appuyant sur [CELL.]*1 Si vous appuyez sur [CELL.] et la liste de sélection s'affiche,
Appels entrants et sortants avec le combiné
Sélectionner la ligne cellulaire désirée et appuyer sur [SELEC.].
L'utilisateur du poste de base peut prendre l'expérience en appuyant sur [CELL 1] ou [CELL 2].
Pour libérer la garde sur la ligne terrestre : Appuyer sur
L'utilisateur d'un autre combiné peut prendre l'appel en appuyant sur - Pour prendre l'appel sur le poste de base, appuyer sur [«].
- Après une période de garde de 10 minutes, la communication sera coupée.
Silence
1 Appuyer sur [SILENCE] durant un appel. 2 Pour reprendre l'appel, appuyer sur [SILENCE].
- [SILENCE] est une touche de fonction qui s'affiche au cours d'une communication.
Touchecommutateur pour appels sur ligne terrestre
Une pression sur la touche [FLASH] permet d'accéder à des fonctions spéciales de l'autocommutateur privé hôte (PBX) telles que le transfert d'un appel vers un autre poste ou à l'accès à des services téléphoniques optionnels.
Pour modifier la durée de temporisation, consulter la p. 50.
Pour les abonnés aux services d'appel en attente et d'affichage d'appel en attente
Pour pouvoir utiliser les services d'appel en attente ou d'affichage d'appel en attente, il est nécessaire de souscrire à ces services auprès de votre fournisseur de services téléphoniques.
Cette fonction permet de recevoir des appels même si une communication est déjà en cours. Si l'appel
est reçu pendant une communication, une tonalité d'appel en attente est entendue.
Avec un abonnement aux services d'appoint en attente et d'affichage d'appoint en attente, les informations sur le 2e demandeur sont affichées après l'émission de la tonalité d'appoint en attente sur le combiné.
1. Appuyer sur [CALL WAIT] pour répondre au 2e appel. 2. Pour passer d'un appel à l'autre, appuyer sur [CALL WAIT].
- Communiquer avec votre fournisseur des services téléphoniques pour de plus amples renseignements sur ce service et savoir s'il est disponible dans votre région.
Utilisation temporaire de la composition par tonalité sur ligne terrestre (pour abonnés à un service à impulsions/cadran)
Appuyer sur avant d'entrer les numéros d'accès nécessitant la composition par tonalité.
Suramplificateur vocal
Cette fonction peut améliorer la clarté sonore lorsque le combiné est utilisé dans un endroit où il pourrait y avoir de l'interférence. Pendant un appel sur une ligne réseau, cette fonction s'active automatiquement au besoin.
Lorsque cette fonction est activée, l'indication
REHA s'affiche. Lors d'un appel cellulaire, la rubrique REHA indiquée même si la fonction est activée.
Réducteur de bruit sur le combiné
Cette fonction permet d'entendre la voix de l'interlocuteur plus clairement en réduisant les bruits ambiants en provenance du téléphone de l'interlocuteur.
1 Durant une communication, appuyer sur [MENU]. 2 []: "Réduction bruit active" ou "Réduction bruit désactivé" → [SELEC.]
Appels entrants et sortants avec le combiné
Le réglage que vous effectuez est conservé pour chaque ligne (lignes terrestre et cellulaires). Les réglages par défaut sont les suivants : - Pour la ligne terrestre : "Réduct. bruit désactivé" - Pour les lignes cellulaires : "Réduct. bruit activé" - Selon l'environnement où le combiné est utilisé, cette fonction pourrait ne pas fonctionner ajustement. - Cette fonction n'est pas disponible en mode mains libres.
Égaliseur du combiné
Cette fonction rend la voix de l'interlocuteur plus claire, produisant une voix plus naturelle et plus facile à entendre et comprendre.
1 Durant une communication, appuyer sur [MENU]. 2 []: "Égaliseur" → [SELEC.] 3 []: Sélectionner le paramètre désiré. 4 Appuyer sur [OK] pour quitter.
Le réglage que vous effectuez est conservé pour chaque ligne (lignes terrestre et cellulaires). - Selon l'état et de la qualité de la ligne téléphonique, il se pourrait que cette fonction accentue des bruits existants. Si l'écoute devient difficile, désactiver cette fonction. - Cette fonction n'est pas disponible en mode mains libres. Lorsque le réglage de "Egaliseur" et celui du réducteur de bruit sont tous les deux actifs, NR s'affiche.
Partage des appels
Il est possible de participer à une conversation en cours avec un appel externe.
Lorsqu'un autre appareil est en communication avec un appel cellulaire :
Pour se joindre à la conversation, appuyer sur [CELL].
Il est possible de se joindre à la conversation lorsque :
- Seulement 1 téléphone cellulaire est enregistré.
- une ligne spécifique est réglée pour faire des appels cellulaires (p. 21).
2 [S] : Sélectionner le téléphone cellulaire correspondant. → [SELEC.]
Lorsqu'un autre appareil est en communication avec un appel sur une ligne terrestre :
Pour se joindre à la conversation, appuyer sur
- Un maximum de 3 interlocuteurs (incluant 1 correspondant externe) peuvent participer à la conversation sur 2 postes. (Conférence 3 voies)
- Afin de prévenir l'entrée en tiers par d'autres utilisateurs à votre conversation, activer le mode privé (p. 50).
Transfert d'appels et conférence téléphonique
Les appels externes peuvent être transférés ou un appel conférence avec un interlocuteur externe peut être établi entre 2 combinés.
1 Au cours d'une communication avec un interlocuteur externe, appuyer sur [MENU]. 2 [] : "Intercom." → [SELEC.] 3 [SLEEC.] 4 Attendre que la personne demandée réponde.
- Si l'appel est laissé sans réponse, appuyer sur [RETOUR] pour reprendre l'appel externe.
5 Pour terminer le transfert :
Appuyer sur [OFF]. Pour établir une conférence téléphonique : [MENU] [4] : “Conférence” [SELEC.]
Pour quitter la conférence, appuyer sur [OFF]. Les 2 autres interlocuteurs peuvent poursuivre la conversation. Pour permettre l'appel externe en garde [MENU] [Garde] [SELEC.]
Pour poursuivre l'appei conférence : [MENUR] [1]:“Conférence”→ [SELEC.]
Appels entrants et sortants avec le combiné
Pour annuler la conférence : [MENU] → [Arrêt conférence] → [SELEC.] Il est possible de poursuivre la conversation avec l'interlocuteur.
Transfert d'un appel cellulaire d'un combiné à un téléphone cellulaire
1 Appuyer sur [MENU] durant un appel cellulaire. 2 []: "Transf. à cell." → [SELEC.]
L'appel cellulaire est transféré au téléphone cellulaire.
- Selon votre type de téléphone cellulaire, il peut être nécessaire de préparer le téléphone pour un appel avant le transfert. Par exemple, si le téléphone possède un couvercle, l'ouvrir avant le transfert.
Transfert d'un appel cellulaire d'un téléphone cellulaire au combiné
Durant une conversation avec un téléphone cellulaire, l'appel ne peut pas être transféré au combiné par le téléphone cellulaire. Effectuer les étapes suivantes avec le combiné.
1. Durant une conversation avec un téléphone cellulaire, appuyer sur [CELL].
L'appel est transféré au combiné lorsque :
- seulement 1 téléphone cellulaire est enregistré.
- une ligne spécifique est réglée pour faire des appels cellulaires (p. 21).
2 [S] : Sélectionner le téléphone cellulaire correspondant. → [SELEC.]
L'appel est transféré au combiné.
Pour recevoir un 2E appel
Si vous recevez un appel pendant une conversation au téléphone, une tonalité d'interruption est émise (p. 48), et les informations du 2e demandeur sont affichées si vous avez souscrit au service d'affichage du demandeur (p. 59).
Pour recevoir un 2E appel pendant un appel sur ligne terrestre
1 Appuyer sur [MENU] durant un appel sur une ligne terrestre. 2 [ ] "Garde"→[SELEC.] 3 Pour prendre le 2e appel : Appuyer sur [CELL.] pendant la réception du 2e appel. 4 Pour couper la communication avec le 2e appel et retourner au 1er appel (appel sur ligne terrestre), appuyer sur [OFF], puis appuyer sur
Pour recevoir un 2E appel pendant un appel cellulaire
1 Appuyer sur [MENU] durant un appel cellulaire. 2 [] "Garde"→[SELEC.] 3 Pour prendre le 2e appel: Appuyer sur [ou [CELL.] pendant la réception du 2e appel. 4 Pour couper la communication avec le 2e appel et retourner au 1er appel (appel cellulaire), appuyer sur [OFF], puis appuyer sur [CELL.]:1 *1 Si vous appuyez sur [CELL.] et la liste de sélection s'affiche, Sélectionner la ligne cellulaire désirée et appuyer sur [SELEC.].
Alimentation auxiliaire pour ligne terrestre
Quand une panne de courant a lieu, le combiné charge et alimente temporairement le poste de base (en mode d'alimentation auxiliaire). Cela vous permet de passer et recevoir des appels terrestres en utilisant le combiné pendant une panne de courant. Le poste de base ne pourrait pas effectuer d'autres fonctions. Cependant, certaines fonctions telles que l'affichage du demandeur et le répertoire téléphonique sont disponibles uniquement avec un combiné autre que celui qui alimente le poste de base. Il est possible de programmer “Panne
Appels entrants et sortants avec le combiné
secteur" avec "Auto" comme paramètre par défaut (p. 50).
Important :
Si le combiné n'est pas placé sur le poste de base quand une panne de courant a lieu, "Base h-march. Appuyer OFF" s'affiche. Sans avoir appuyé sur [OFF] sur le combiné, placer le combiné sur le poste de base pour démarrer le mode d'alimentation auxiliaire. Le mode d'alimentation auxiliaire ne fonctionne pas si le niveau d'état des piles du combinéindique qu. - Ne pas retirer le combiné effectuant l'alimentation auxiliaire du poste de base en mode d'alimentation auxiliaire.
Rendement des piles ni-mh panasonic (piles fournies) en mode d'alimentation auxiliaire
Lorsque les piles sont pleinement chargées, l'autonomie du combiné en mode d'alimentation auxiliaire varie selon les conditions d'utilisation.
- Utilisation continue du combiné en mode d'alimentation auxiliaire : max. de 1,5 heures
- Utilisation continue d’un combiné autre que le combiné en mode d’alimentation auxiliaire : max. de 2 heures - Aucune utilisation en mode d’alimentation auxiliaire : max. de 2 heures
Pour faire des appels durant une panne de courant
Lors de l'enregistrement de 1 combiné seulement:
1 Décrocher le combiné et composer le numéro de téléphone. 2 En moins de 1 minute, placer le combiné sur le poste de base.
- Attendre la mise en marche automatique du fonctionnement mains libres et la composition de l'appel.
Lors de la prise de l'appel par l'interlocuteur, conserver le combiné sur le poste de base et parler en utilisant le fonctionnement mains libres. La conversation terminée, appuyer sur [OFF].
Lors de l'enregistrement de 2 combinés ou plus : Il est recommandé de conserver un combiné sur le poste de base pour l'alimenter et d'utiliser un autre combiné pour faire des appels.
- La portée du poste de base est limitée pendant une panne de courant. Veuillez utiliser le combiné à proximité du poste de base.
Recomposition à partir de la liste des numéros composés
Lors de l'enregistrement de 1 combiné seulement :
1 Décorner le combiné. 2 [▶] REDIAL 3 []: Sélectionner le numéro de téléphone désiré. 4 En moins de 1 minute, placer le combiné sur le poste de base.
- Attendre la mise en marche automatique du fonctionnement mains libres et la composition de l'appel.
Lors de l'enregistrement de 2 combinés ou plus :
Il est recommandé de conserver un combiné sur le poste de base pour l'alimenter et d'utiliser un autre combiné pour faire des appels.
Composition à partir du répertoire
Au moins 2 combinés doivent être enregistrés auprès du poste de base afin de pouvoir accéder à la fonction de réseau téléphonique pendant une panne de courant.
Il est recommandé de conserver un combiné sur le poste de base pour l'alimenter et d'utiliser un autre combiné pour faire des appels.
Pour recevoir des appels durant une panne de courant
Lors de l'enregistrement de 1 combiné seulement:
Lorsque la sonnerie se fait entendre, conservez le combiné sur le poste de base, puis appuyez sur [ ] ou [ ]
Le fonctionnement mains libres est activé.
La conversation terminée, appuyer sur [OFF].
Lors de l'enregistrement de 2 combinés ou plus :
Lors de la réception d'un appel, utiliser un combiné qui n'alimente pas le poste de base.
- Ne pas utiliser et ne pas décrocher le combiné qui est placé sur le poste de base en mode d'alimentation auxiliaire.
- La portée du poste de base est limitée pendant une panne de courant. Veuillez utiliser le combiné à proximité du poste de base.
Important :
L'appareil peut être utilisé pour communiquer sur 2 lignes simultanément (par exemple, 2 lignes cellulaires, ou la ligne terrestre et 1 ligne cellulaire). - Uniquement 2 dispositifs Bluetooth peuvent être utilisés simultanément avec l'appareil (par exemple, 2 lignes cellulaires, ou le casque et 1 ligne cellulaire). - Avant de faire des appels, vérifier que l'voyant CELL correspondant est allumé sur le poste de base (p. 15).
1 Composer un numéro de téléphone. - En cas d'erreur, appuyer sur [ANNUL]. 2 Appuyer sur [CELL 1] ou [CELL 2]. 3 Lorsque l'interlocuteur répond, parler dans le microphone. 4 La conversation terminée, appuyer sur [].
Pour passer au combiné au cours d'une conversation mains libres :
-Avec le mode privé désactivé (p. 50), appuyer sur la touche [CELL.]1 du combiné. → []: Sélectionner le téléphone cellulaire désiré. → [SELEC.] → Appuyer sur la touche [4] du poste de base.
-Si le combiné est sur le poste de base, le décrocher.
L'appel est pris lorsque : – seulement 1 téléphone cellulaire est enregistré.
- Une ligne spécifique est réglée pour faire des appels cellulaires (p. 21).
Réglage du volume sur le haut-parleur
Dans le cours de la conversation, appuyer à répétition sur [▲] ou [▼].
- Le volume que vous régalez sur le haut-parleur est conservé pour chaque ligne (lignes terrestre et cellulaires).
Pour faire un appel cellulaire avec la liste des nombres composés
Les 10 derniers numéros de téléphone composés sont mémorisés dans la liste de recomposition (max. de 48 chiffres).
1 [REDIAL] 2 [4] : Sélectionner le numéro de téléphone désiré. 3 Appuyer sur [CELL 1] ou [CELL 2].
Suppression d'un numéro de la liste des numéros composés
1 [REDIAL] 2 [S] : Sélectionner le numéro de téléphone désiré. → [SUPPR.] 3 [] : "Oui" → [SELECT.]
4 [EXIT]
Pour faire des appels sur ligne terrestre
1 Composer un numéro de téléphone. - En cas d'erreur, appuyer sur [ANNUL].
2[4]
3 Lorsque l'interlocuteur répond, parler dans le microphone. 4 La conversation terminée, appuyer sur [5].
Pour passer au combiné pendant une conversation mains libres :
- Appuyer sur [ ] sur le combiné, puis appuyer sur [ ] sur le poste de base avec le mode privé désactivé (p. 50). -Si le combiné est sur le poste de base, le décrocher.
Recomposition à partir de la liste des numéros composés
Les 10 derniers numéros de téléphone composés sont mémorisés dans la liste de recomposition (max. de 48 chiffres).
1 [REDIAL]
2 []: Sélectionner le numéro de téléphone désiré. 3[4]
Pause (avec autocommutateur privé/service interurbain)
Un temps de pause doit parfois être inséré au sein de la séquence de composition lorsqu'un autocommutateur privé est utilisé ou dans le cas d'un appel interurbain. Lors de la sauvegarde dans le répertoire téléphonique du numéro d'accès d'une carte d'appel et/ou d'un NIP, une pause doit également être insérée (p.42).
Exemple : S'il est nécessaire d'entrer le numéro "9" d'accès à la ligne réseau :
2 Composer un numéro de téléphone. → [4]
Nota:
- Une pause de 3,5 secondes est insérée sur chaque pression de la touche [PAUSE].
1. Appuyer sur [4] quand la sonnerie se fait entendre. - Il est également possible de prendre l'appoint en appuyant sur [CELL 1] ou [CELL 2]. 2. Parler dans le microphone. 3. La conversation terminée, appuyer sur [4].
Réglage du volume de la sonnerie sur le poste de base
Appuyer à répétition sur [A] ou [V] pour sélectionner le volume désiré quand la sonnerie se fait entendre.
Nota :
Le volume de sonnerie que vous réglez est conservé pour chaque ligne (lignes terrestre et cellulaires).
Garde
1 Appuyer sur [HOLD] pendant un appel externe. 2 Pour libérer la garde sur la ligne cellulaire : Appuyer sur [CELL 1] ou [CELL 2].
L'utilisateur d'un combiné peut prendre l'appel: [CELL.] 1 → [+] : Sélectionner le téléphone cellulaire correspondant. → [SELEC.] 1 L'appel est pris lorsque : – seulement 1 téléphone cellulaire est enregistré. - une ligne spécifique est réglée pour faire des appels cellulaires (p. 21).
Pour libérer la garde sur la ligne terrestre : Appuyer sur [4].
L'utilisateur d'un combiné peut prendre l'appel en appuyant sur [ ]
Lorsqu'un appel sur ligne terrestre est mis en garde, le voyant SP-PHONE clignote. - Après une période de garde de 10 minutes, la communication sera coupée.
Silence
1 Appuyer sur [SILENCE] durant un appel. Le voyant SP-PHONE clignote. 2 Pour reprendre l'animal, appuyer sur [SILENCE].
- [SILENCE] est une touche de fonction qui s'affiche au cours d'une communication.
Touchecommutateur pour appels sur ligne terrestre
Une pression sur la touche [FLASH] permet d'accéder à des fonctions spéciales de l'autocommutateur privé hôte (PBX) telles que le
Appels entrants et sortants avec le poste de base
transfert d'un appel vers un autre poste ou à l'accès à des services téléphoniques optionnels.
Pour modifier la durée de temporisation, consulter la p. 50.
Pour les abonnés aux services d'appel en attente et d'affichage d'appel en attente
Pour pouvoir utiliser les services d'appel en attente ou d'affichage d'appel en attente, il est nécessaire de souscrire à ces services auprès de votre fournisseur de services téléphoniques. Cette fonction permet de recevoir des appels même si une communication est déjà en cours. Si l'appel est reçu pendant une communication, une tonalité d'appel en attente est entendue.
Lors d'un abonnement aux deux services d'appel en attente et d'affichage d'appel en attente, les informations sur le 2e demandeur s'affichent après l'émission de la tonalité d'appel en attente sur le poste de base.
1. Appuyer sur [CALL WAIT] pour répondre au 2e appel. 2. Pour passer d'un appel à l'autre, appuyer sur [CALL WAIT].
- Communiquez avec votre fournisseur de services téléphoniques pour de plus amples renseignements sur ce service et savoir s'il est disponible dans votre région.
Utilisation temporaire de la composition par tonalité sur ligne terrestre (pour abonnés à un service à impulsions/cadran)
Appuyer sur (TONE) avant d'entrer les numéros d'accès nécessitant la composition par tonalité.
Partage des appels
Il est possible de participer à une conversation en cours avec un appel externe.
Pour sélectionner la ligne utilisée pour l'appel!
- pour la ligne cellulaire, appuyer sur [CELL 1] ou [CELL 2].
- pour la ligne terrestre, appuyer sur [4].
- Un maximum de 3 interlocuteurs (y compris 1 interlocuteur externe) peuvent participer à la conversation sur 2 postes. (Conférence 3 voies)
- Afin de prévenir l'entrée en tiers par d'autres utilisateurs à votre conversation, activer le mode privé (p. 50).
Transfert d'appels et conférences téléphoniques
Les appels externes peuvent être transférés ou un appel conférence avec un interlocuteur externe peut être établi entre un combiné et un poste de base.
Au cours d'une communication avec un interlocuteur externe, appuyer sur [INTERCOM].
Lors de l'enregistrement de 2 combinés ou plus :
- Pour lancer une recherche de personnes sur un combiné donné, composer son numéro de poste.
- Pour rechercher tous les combinés, appuyer sur 0 ou attendre quelques secondes.
Attendre que la personne demandée réponde.
- Si l'appel est laissé sans réponse, appuyer sur [INTERCOM] pour reprendre l'appel externe.
3 Pour terminer le transfert :
Appuyer sur [4].
- L'appel externe est acheminé vers le combiné.
Pour établir une conférence téléphonique : Appuyer sur [CONF.].
- Pour quitter la conférence, appuyer sur [4]. Les 2 autres interlocuteurs peuvent poursuivre la conversation.
- Pour permettre l'appel extérieur en garde, appuyer sur [HOLD]. Pour poursuivre l'appel conférence, appuyer sur [CONF.].
Transfert d'un appel cellulaire du poste de base à un téléphone cellulaire
Durant un appel cellulaire, maintenir une pression sur [CELL 1] ou [CELL 2] jusqu'à ce que le voyant SP-PHONE soit éteint.
L'appel cellulaire est transféré au téléphone cellulaire.
Transfert d'un appel cellulaire d'un téléphone cellulaire au poste de base
Durant une conversation avec un téléphone cellulaire, appuyer sur [CELL 1] ou [CELL 2].
L'appel cellulaire est transféré au poste de base.
Pour recevoir un 2E appel
Si vous recevez un appel pendant une conversation au téléphone, une tonalité d'interruption est émise (p. 52), et les informations du 2e demandeur sont affichées si vous avez souscrit au service d'affichage du demandeur (p. 59).
Pour recevoir un 2E appel pendant un appel sur ligne terrestre
1 Appuyer sur [HOLD] durant un appel sur une ligne terrestre. 2 Pour prendre le 2e appel: Appuyer sur [CELL 1] ou [CELL 2]. 3 Pour couper la communication avec le 2e appel et retourner au 1er appel (appel sur ligne terrestre), appuyer à 2 reprises sur [ ]
Pour recevoir un 2E appel pendant un appel cellulaire
1 Appuyer sur [HOLD] durant un appel cellulaire. 2 Pour prendre le 2e appel : [ ], [ CELL 1 ], ou [ CELL 2 ] 3 Pour couper la communication avec le 2e appel et retourner au 1er appel (appel)
Intercommunication
Une intercommunication est possible :
-entre divers combinés
- entre un combiné et le poste de base
Lors d'une recherche de personne(s), une tonalité est émise sur les combinés sollicités pendant 1 minute. Si un appel externe est reçu durant une intercommunication, une tonalité d'interruption est émise (p. 48, 52).
- Combiné : Pour permettre fin à l'intercommunication, appuyer sur [OFF]. Pour répondre à l'appel, appuyer sur
-Poste de base: Pour permettre fin à l'intercommunication, appuyer sur [4]. Pour répondre à l'appel, appuyer une nouvelle fois sur [4].
Combé
1 [MENU] → []: "Intercom." → [SELEC.] 2 [S]: Sélectionner l'appareil désiré. → [SELEC.] 3 La conversation terminée, appuyer sur [OFF].
- Vous pouvez également utiliser la touche de fonction [INTERCOM] si elle est disponible pour passer des intercommunications.
Porte-de-base
1 Appuyer sur [INTERCOM]. Lors de l'enregistrement de 2 combinés ou plus:
-Pour lancer une recherche de personnes sur un combiné donné, composer son numéro de poste. -Pour rechercher tous les combinés, appuyer sur 0 ou attendre quelques secondes.
2 La conversation terminée, appuyez sur [4].
Combé
1 Appuyer sur [ ] pour répondre à la recherche de personnes. 2 La conversation terminée, appuyer sur [OFF].
Poste de base
1. Appuyer sur [ ] pour répondre à la recherche de personnes. 2. La conversation terminée, appuyer sur [4].
Activation/désactivation de l'intercommunication automatique
Cette fonction permet de répondre automatiquement aux intercommunications avec le combiné ou le poste de base. Il n'est pas nécessaire d'appuyer sur [ ] ou [ ]. Quand cette fonction est réglée sur "Active", le combiné ou le poste de base utilise pour l'écoute de la fonction Interphone de surveillance de bébé (p.57) répondra automatiquement aussi aux appels de l'interphone de surveillance de bébé. Par défaut, le réglage est sur "Désactivé".
Combiné / poste de base
1 [MENU]#273 2 []: Sélectionner le paramètre désiré. → [SAUV.] 3 Effectuer la procédure selon l'appareil Combiné : [OFF] Poste de base : [EXIT]
Utilisation de la touche [CALL BLOCK]
Vous pouvez appuyer sur la touche [CALL BLOCK] pour couper la communication en cours et ajouter un numéro de téléphone à la liste de blocage des appels dans les situations suivantes :
- lors de la réception d'un appel entrant;
- lors de l'enregistrement du message d'un appel entrant sur le répondeur;
- lors d'une communication dans le cadre d'un appel externe.
Dès lors qu'un numéro de téléphone a été ajouté à la liste de blocage des appels, l'appareil bloque tous les futurs appels en provenance de ce numéro.
Combé
1 Dans les situations décrites ci-dessus, appuyer sur la touche [CALL BLOCK]. 2 Confirmer le numéro à bloquer et appuyer sur [OUI].
- Le numéro d'appel bloqué est mémorisé dans la liste de blocage des appels, "Bloc. terminé" s'affiche, puis l'appel est interrompu.
- Si aucun numéro ne s'affiche pour l'appel, l'appel est bloqué, mais il n'est pas introduit dans la liste de blocage des appels.
- La fonction de blocage d'appels n'est pas disponible :
- pour les intercommunications ou les appels reçus au cours d'un appel en attente;
- lors de la réception d'un appel sur ligne terrestre (ou d'un appel cellulaire) pendant un appel cellulaire (ou un appel sur ligne terrestre).
- Les appels bloqués sont consignés dans la liste des demandeurs.
Mise en mémoire des demandeurs indésirables
L'appareil peut bloquer les appels lorsque les numéros correspondants sont préalablement mémorisés dans la liste de blocage des appels
(abonnés au service d'affichage du demandeur seulement).
"Bloquer un seul numéro" / 1 / Bloq. un seul # / 2 : L'appareil bloque les appels des numéros de téléphone précis qui sont mémorisés dans la liste de blocage des appels. "Bloq. série de numéros" 1 / Bloq. série de # 2 : L'appareil bloque les appels qui commencent par un numéro mémorisé dans la liste de blocage des appels, comme le préfixe de certains numéros sans frais ou certains individus régionaux. -Bloquer inconnu"*1/*Bloq. inconnu**2 : L'appareil bloque les appels qui n'ont pas de numéro de téléphone. 1 Combiné *2 Poste de base
Vous pouvez memoriser jusqu'à 250 numeros individuels ou series de numeros dans la liste de blocage des appels.
Blocage des appels non désirés :
Lors de la réception d'un appel, la sonnerie se fait entendre pendant une courte période pendant la réception des informations sur le demandeur. Si le numéro de téléphone du demandeur correspond à un numéro inscrit sur la liste des numéros bloqués, l'appareil n'émet aucune tonalité au demandeur, puis coupe la communication. *1 Pour ne pas entendre ce premier coup de sonnerie, sélectionner "Non" dans "Suppression du premier coup de sonnerie pour les appels bloqués" (p. 37).
Important :
- Il est recommandé de mettre en mémoire un numéro à 10 chiffres (incluant l'indicatif régional). Lors de la mise en mémoire d'un numéro à 7 chiffres, tous ces 7 derniers chiffres seront bloqués.
Blocage d'appels
Ajout de nombres dont les appels doivent être bloqués à partir de la liste des demandeurs
Combé
Lorsqu'un téléphone cellulaire est en veille 1[V]CID
2 [4]: Sélectionner l'entrée à bloquer. Pour modifier le nombre :
[SELEC.] Appuyer à plusieurs reprises sur (Modifier) jusqu'à ce que le nombre de téléphone soit affiché dans le format à 10 chiffres.
[SAUV.] [“] “Bloquer appel”
→ [SELEC.] → Passer à l'étape 4.
3 [CALL BLOCK]
4 [Oui]→[SELEC.] 5 Au besoin, modifier le numéro de téléphone (maximum de 24 chiffres). 6 [SAUV.] [OFF]
Lorsqu'aucune téléphone cellulaire n'est enregistré:
1 [v]CID
2 [-]: Sélectionner l'entrée à bloquer.
Pour modifier le numéro : [MENu] [ ] "Modifier" [SELEC.] Appuyer a plusieurs reprises sur
MODIFIERjusqu'acquele numero detelephonesoitaffichedansle format à10chiffres. [SAUV.]
"Bloquer appel" [SELEC.] Passer à l'objet 4.
3 [CALL BLOCK] 4 ['Oui'→[SELEC.] 5 Au besoin, modifier le numéro de téléphone (maximum de 24 chiffres). 6 [SAUV.] → [OFF]
Poste de base
1 [ID]
2 [A] : Sélectionner l'inscription à bloquer. Pour modifier le numéro : Appuyer à plusieurs reprises sur [MODIF.] jusqu'à ce
que le nombre soit affiché dans le format à 10 chiffres.
3 [SAUV.]
4 []: "Bloquer appel" [SELECT.] 5 []: "Oui" [SELECT.] 6 Au besoin, modifier le numéro de téléphone (maximum de 24 chiffres). 7 [SAUV.] [EXIT]
Ajout manuel de numéros à bloquer
Combé
1 [CALL BLOCK] 2 [': "Bloquer un seul numéro" [SELEC.] 3 [MENU] []: "Ajout" [SELEC.] 4 Entrer le numéro de téléphone (maximum de 24 chiffres). 5 [SAUV.] [OFF]
Poste de base
1 [MENU]#217 2 [] : "Bloq. un seul #" → [SELECT.] → [AJOUT] 3 Entrer le numéro de téléphone (maximum de 24 chiffres). 4 [SAUV.] [EXIT]
Mémorisation d'une série de numéros
Combé
1 [CALL BLOCK] 2 []: "Bloq. série de numéros" → [SELEC.] 3 [MENU] []: "Ajout" [SELEC.] 4 Entrer le numéro désir (2-8 chiffres). 5 [SAUV.] [OFF]
Poste de base
1 [MENU] #217 2 []: "Bloq. série de #" → [SELECT.]
3 [AJOUT] 4 Entrer le numéro désiré (2-8 chiffres). 5 [SAUV.] [EXIT]
Blocage des appels entrants qui n'ont pas de numéro de téléphone
Vous pouvez bloquer les appels quand aucun numéro de téléphone n'est fourni, comme dans le cas des appels privés ou des numéros affichés comme indisponibles.
Combé
1 [CALL BLOCK] 2 []: "Bloquer inconnu" → [SELEC.] 3 []: Sélectionner le paramètre désiré. → [SAUV.] → [OFF]
Poste de base
1 [MENU] #240 2 []: Sélectionner le paramètre désiré. → [SAUV.] → [EXIT]
Suppression du premier coup de sonnerie pour les appeals bloqués
Si vous ne souhaitez pas que l'appareil fasse entendre un coup de sonnerie lors d'un appel dont le numéro est méorisé dans la liste de blocage des appels, sélectionner "Non". Par défaut, le réglage est sur "Oui".
Combé
1 [CALL BLOCK] 2 []: Premier coup de sonnerie [SELEC.] 3 []: Sélectionner le paramètre désiré. → [SAUV.] → [OFF]
Poste de base
1 [MENU]#173 2 []: Sélectionner le paramètre désiré. → [SAUV.] → [EXIT]
Combé
1 [CALL BLOCK]
2 []: "Bloquer un seul numéro" ou "Bloc. série de numéros" → [SELECT.] 3 []: Sélectionner l'inscription désirée. - Après affichage, appuyer sur [OFF] pour quitter.
4 Pour modifier un numéro : [MODIFIER] → Modifier le numéro. → [SAUV.] → [OFF] Pour supprimer un numéro : [SUPPR.] → []: “Oui” → [SELEC.] → [OFF]
Poste de base
1 [MENU]#217 2 []: "Bloq. un seul#" ou "Bloq. série de#" → [SELECTION.] 3 [1]: Sélectionner l'inscription désirée. - Après affichage, appuyer sur [EXIT] pour quitter. 4 Pour modifier un numéro : [MODIF.] Modifier le numéro. [SAUV.] [EXIT] Pour supprimer un numéro : [SUPPR.] [A]"Oui" [SELECT.] [EXIT]
Nota :
- Lors de la modification, appuyer sur les touches de composition pour ajouter les chiffres correspondants et appuyer sur [ANNUL.] pour effacer des chiffres.
Combé
1 [CALL BLOCK] 2 []: "Bloquer un seul numéro" ou "Bloq. série de numéro" → [SELEC.]
Blocage d'appels
3 [MENU] → [1]: "Supprimer tout" → [SELEC.] 4 [“Oui” → [SELEC.] 5 []: “Oui” → [SELEC.] → [OFF]
Poste de base
1 [MENU]#217 2 []:“Bloq. un seul #” ou "Bloq. série de #”→[SELECT.] 3 [SUPPR.] 4 []:“Oui”→[SELECT.] 5 [U] → [SELECT.] → [EXIT]
Répertoire
Il est possible d'ajouter 3000 noms (max. de 16 caractères) et numéros de téléphone (max. de 24 chiffres) au répertoire, et d'attribuer chaque inscription du répertoire au groupe désiré (p. 40). Les groupes suivants sont disponibles :
- Groupe 1: "Domicile" (*1 (valeur par défaut)) Groupe 2: "Cell 1"
- Groupe 3: "Cell 2" Groupe 4-9 : Vous pouvez modifier le nom de groupe de chaque groupe. *1 Pour les groupes 1-3, les noms de groupe ne peuvent pas être modifiés.
Important :
- Toutes les inscriptions peuvent être partagées par le poste de base et tout combiné enregistré.
- Il est possible de copier les inscriptions d'un téléphone cellulaire Bluetooth au répertoire de cet appareil (p. 63).
Combé
1 [ [MENU] 2 []: "Ajout au répertoire" → [SELEC.] 3 Entrez le nom du correspondant. [OK] 4 Entrez le numéro de téléphone du correspondant. [OK] 5 []: Sélectionnez le groupe désiré. → [SELEC.] 2 fois → [OFF]
Table des caractères pour la saisie des noms
Lors de la saisie des caractères, il est possible d'alterner entre les majuscules et les minuscules en appuyant sur (A→a).
| Touché Caractères | |
| 1 & '() * , - . / 1 | |
| 2 A B C 2 | |
| a b c 2 |
| Touche Caractères | |
| 3 DEF3 | |
| d e f 3 | |
| 4 GHI4 | |
| g h i 4 | |
| 5 J K L 5 | |
| j k l 5 | |
| 6 M N O6 | |
| m n o 6 | |
| 7 P Q R S 7 | |
| p q r s 7 | |
| 8 T U V8 | |
| t u v 8 | |
| 9 W X Y Z 9 | |
| w x y z 9 | |
| 0 0 | |
| # # | |
Pour entrer un autre caractère correspondant à la même touche, appuyer d'abord sur [▶] pour déplacer le curseur jusqu'à l'espace suivant. - Si aucune pression n'est effectuée sur une touche de composition en moins de 2 secondes après la sélection d'un caractère, ce caractère sera mémorisé et le curseur se déplacera à l'espace suivant. - dans le tableau ci-dessus indique un espace.
Suppression d'un caractère ou d'un chiffre
Appuyer sur [←] ou [→]. → [ANNULER]
Appuyer et maintenir la touche [ANNULER] pour effacer tous les caractères ou chiffres.
Mise en mémoire d'une liste de recomposition dans le réseau téléphonique
Des numéros de téléphone d'un maximum de 24 chiffres peuvent être mis en mémoire dans le répertoire téléphonique.
Combé
Lorsqu'un téléphone cellulaire est enregistré: 1 [▶] REDIAL
Répertoire
2 []: Sélectionner le numéro de téléphone désiré. → [MENU] 3 []: "Sauvegarde" [SELEC.]
4 Pour permettre le nom en mémoire, continuer à partir de l'étape 3, "Modification des inscriptions", p.42.
Lorsqu'aucun telephone cellulaire n'est enregistré:
1 [▶] REDIAL 2 [4]: Sélectionner le nombre de téléphone désiré. → [SAUV.] 3 Pour permettre le nom en mémoire, continuer à partir de l'étape 3, “Modification des inscriptions”, p.42.
1 [REDIAL]
2 []: Sélectionner le numéro de téléphone désiré. → [SAUV.] → [EXIT]
- Si un numéro de la liste de recomposition a été mis en mémoire dans le répertoire téléphonique en utilisant le poste de base, l'inscription est automatiquement assignée à "Domicile". Pour modifier le nom du demandeur ou le groupe, il est possible de faire la modification avec le combiné (p. 42).
Combé
Lorsqu'un telephone cellulaire est enregistré 1 [V]CID
2 [SLEEC.] Pour modifier le numéro, appuyer à répétition sur (Modif.) jusqu'à ce que le numéro de téléphone soit affiché dans le format désiré.
3 [SAUV.]
4 [F]: "Répertoire" → [SELEC.] 5 Poursuivre à partir de l'étape 3, "Modification des inscriptions", p. 42.
Lorsqu'aucun téléphone cellulaire n'est enregistré:
1 [v]CID 2 []: Sélectionner l'inscription désirée. → [MENU]
Pour modifier le numéro: []: "Modifier" → [SELEC.]
Appuyer à répétition sur [MODIFIER] jusqu'à ce que le numéro de téléphone soit affiché dans le format désiré. Ensuite, appuyer sur [SAUV.]. Passer à l'étape 4.
3 [] : "Sauv. id. dem." → [SELEC.] 4 []: "Répertoire" [SELEC.] 5 Poursuivre à partir de l'étape 3, "Modification des inscriptions", p. 42.
Poste de base
2 [S] : Sélectionner l'inscription désirée. Pour modifier le numéro, appuyer à répétition sur [MODIF.] jusqu'à ce que le numéro de téléphone soit affiché dans le format désiré.
3 [SAUV.]
4 []: "Répertoire" → [SELECT.]
5 [EXIT]
Note sur le poste de base:
- Si des données d'un besoin ont été mises en mémoire dans le répertoire téléphonique en utilisant le poste de base, l'inscription est automatiquement assignée à "Domicile". Pour modifier le nom du demandeur ou le groupe, il est possible de faire la modification avec le combiné (p. 42).
Groupes
Les groupes peuvent aider l'utilisateur à repérer des inscriptions du répertoire rapidement et facilement. Vous pouvez modifier les noms des groupes 4 à 9 ("Amis", "Famille", etc.). En faisant entendre différentes tonalités pour différents groupes de demandeurs, il est possible d'identifier le demandeur (identification par sonnerie) si vous avez un abonnement à un service d'affichage du demandeur.
Combé
1 [→[MENU] 2 []: "Groupe" [SELEC.] 3 [SLEC.]
- Si vous avez sélectionné "Domicile", "Cell 1", ou "Cell 2", passer à l'étape 5.
4 Pour modifier les noms de groupes []: "Nom groupe" → [SELEC.] → Modifier le nom (maximum de 10 caractères). → [SAUV.] 5 Pour définir la tonalité de sonnerie d'un groupe [4]: Sélectionner le réglage actuel de la tonalité de sonnerie par groupe. → [SELEC.] → [4]: Sélectionner la tonalité de sonnerie désirée. → [SAUV.]
6 [OFF]
Recherche et composition d'une inscription au répertoire téléphonique
Une fois que l'inscription désirée est trouvée en utilisant une des 4 méthodes suivantes, effectuer l'appel.
Utilisation d'une ligne cellulaire :
Combé
1 [CELL.]
L'appareil lance la composition lorsque : -seulement 1 téléphone cellulaire est enregistré.
- Une ligne spécifique est réglée pour faire des appels cellulaires (p. 21).
2 [S] : Sélectionner le téléphone cellulaire désiré. → [SELEC.]
Poste de base
Appuyer sur [CELL 1] ou [CELL 2].
Utilisation d'une ligne terrestre :

Combiné / poste de base
1 Effectuer la procédure selon l'appareil. Combiné: [▲] Poste de base: [□□] 2 []: Sélectionner l'inscription désirée.
Recherche par initiale
1. Effectuer la procédure selon l'appareil. Combine: [▲] Poste de base: [□] 2. Appuyer sur la touche de composition (0 - 9 ou #) correspondant au premier caractère recherché (p. 39). 3. [S]: Si nécessaire, défiler dans le répertoire.
Recherche par requête
Il est possible de restreindre la recherche en n’entrant que les premiers caractères du nom.
Combé/poste de base
1 Effectuer la procédure selon l'appareil. Combé : [←] → Poste de base : [□] → 2 Pour rechercher un nom, entrer les premiers caractères (jusqu'à 4) en majuscule (p. 39).
3 [OK] 4 [S] : Si nécessaire, défiler dans le répertoire.
Combé/poste de base
1 Effectuer la procédure selon l'appareil. Combinaison : [▲] Poste de base : [□] 2 [GROUPE]
Répertoire
3 [-]: Sélectionner le groupe dans lequel la recherche sera effectuée. → [SELEC.]/ [SELECT.]
Lors de la sélection de "Tous groupes", l'appareil met un terme à la recherche par groupe.
4 [-]: Sélectionner l'inscription désirée.
Combé
1 Repérer l'inscription désirée (p. 41). 2 [MENU] → []: "Modifier" → [SELEC.] 3 Au besoin, modifier le nom. → [OK] 4 Au besoin, modifier le numéro de téléphone. → [OK] 5 [Sélectionner le groupe désiré (p. 40). → [SELEC.] 2 fois → [OFF]
Combé
1 Repérer l'inscription désirée (p. 41). 2 [MENU] → []: "Supprimer" → [SELEC.] 3 [] :“Oui” → [SELEC.] → [OFF]
Poste de base
1. Repérer l'inscription désirée (p. 41). 2. [SUPPR.] → [“Oui”→[SELECT.]→[EXIT]
Combé
1 [ [MENu] 2 []: "Supprimer tout" [SELEC.] 3 [SLEC.] 4 []:“Oui”→[SELEC.] 5 []: "oui" [SELEC.] [OFF]
Poste de base
1 [□] [SUPPR.] 2 []: SLECTIONNER le groupe désiré. → [SELECT.] 3 []:“Oui” [SELECT.] 4 []: "Oui" [SELECT.]
Composition séquentielle
Cette fonction permet de composer des numéros de téléphone (inscrits au répertoire du combiné) dans le cours d'une communication. Cette fonction peut être utilisée, par exemple, pour composer le numéro d'accès d'une carte d'appoint ou le NIP d'un compte bancaire mémorisé dans le répertoire téléphonique du combiné sans avoir à le composer manuellement.
Combiné / poste de base
1 Effectuer la procédure selon l'appareil. Combiné: Au cours d'une communication avec un interlocuteur externe, appuie
Poste de base: Au cours d'une communication avec un interlocuteur externe, appuyer sur [□].
2 [S]: Sélectionner l'inscription désirée. 3 Appuyer sur [APPELER] pour composer le numéro.
Lors de la mémorisation du nombre d'accès pour la carte d'appoint et du NIP dans le répertoire comme étant une inscription, appuyer sur [A] (Pause) pour insérer des délais après le nombre d'accès et le NIP là où cela est nécessaire (p. 24). - Avec un téléphone à impulsions/cadran, il est nécessaire d'appuyer sur (TONE) avant d'appuyer sur [ ] sur le combiné ou [O] sur le poste de base à l'étape 1 pour pouvoir utiliser temporairement la composition par tonalité. Lors de l'ajout d'entrées au répertoire téléphonique, il est recommandé d'ajouter (TONE) au début des numéros de téléphone pour la composition séquentielle (p. 39).
Composition rapide
Il est possible d'attribuer 1 numéro de téléphone à chacune des touches de composition rapide (1 à 9) sur le combiné.
Combé
En entrant directement les numéros de téléphone :
1 Appuyer et maintenir une pression sur la touche de composition rapide (1 à 9). → [AJOUTER] 2 []: "Manuel" [SELEC.] 3 Entrer le nom du correspondant (max. de 16 caractères). [OK] 4 Entrer le numéro de téléphone du correspondant (max. de 24 chiffres). [OK] 5 [SELEC.] [OFF]
1 Appuyer et maintenir une pression sur la touche de composition rapide (1 à 9). → [AJOUTER] 2 [] : “Répertoire” → [SELEC.] 3 []: Sélectionner l'inscription désirée. 4 [SAUV.] [OFF]
Nota :
Si une inscription du répertoire téléphonique assignée à une touche de composition rapide est modifiée, l'inscription modifiée n'est pas transférée à la touche de composition rapide.
Combé
1 Appuyer et maintenir une pression sur la touche de composition rapide ([1 à [9]]). → MENU 2 []: "Modifier" [SELEC.]
3 Au besoin, modifier le nom. → [OK] 4 Au besoin, modifier le numéro de téléphone. → [OK] 5 [SELEC.] → [OFF]
Combé
1 Appuyer et maintenir une pression sur la touche de composition rapide (1 à 9). → [MENU] 2 [] : "Supprimer" → [SELEC.] 3 [] : “Oui” → [SELEC.] → [OFF]
Combé
Utilisation d'une ligne cellulaire :
1 Appuyer et maintenir une pression sur la touche de composition rapide (1 à 9). 2 [CELL.] L'appareil lance la composition lorsque : - seulement 1 téléphone cellulaire est enregistré. - une ligne spécifique est réglée pour faire des appels cellulaires (p. 21).
3 [S]: Sélectionner le téléphone cellulaire désiré. → [SELEC.]
Utilisation d'une ligne terrestre :
1 Appuyer et maintenir une pression sur la touche de composition rapide (1 à 9). 2 Pour faire un appel, appuyer sur [ ]
Liste du menu
Pour accéder aux fonctions, il existe 2 méthodes.
Défilement dans les menus affichés
1 [MENU]
2 Appuyer sur [v] ou [a] pour sélectionner le menu principal desired. [SELEC.]/ [SELECT.] 3 Appuyer sur [y] ou [4] pour sélectionner la rubrique désirée à partir des sous-menus suivants. [SELEC.]/[SELECT.] 4 Appuyer sur [v] ou [p] pour sélectionner le paramètre désiré. → [SAUV.]
Utilisation des codes de commandes directes
1 [MENU] → Entrer le code désiré.
Exemple: Appuyer sur [MENU]#101
Pour les codes disponibles :
- Combiné : Consultez p. 44
- Poste de base : Consultez p. 51.
2 Sélectionner le paramètre désiré. [SAUV.]
- Pour quitter ce paramétrage, appuyer sur la touche [OFF] du combiné ou sur la touche [EXIT] du poste de base.
- Dans le tableau ci-dessous, indique le réglage par défaut.
- Dans le tableau ci-dessous, indique le numéro de page de référence. L'ordre d'affichage du menu et du sous-menu peut varier selon le modèle.
Combé
Menu principal: "Répertoire"
| Fonctionnement Code | © | |
| Consultation d'une inscription du réseau. #280 41 |
Menu principal:→Liste de mandeur"
| Fonctionnement Code | 1 | |
| Consultation de la liste des demandeurs. #213 61 |
Menu principal : télécommande"
| Sous-menu 1 Sous-menu | 2 Paramétrage Code | |||
| Lecture nouvelieu | -- #323 71 | |||
| Lecture tout | -- #324 71 |
Programmation
| Sous-menu 1 Sous-menu | 2 Paramétrage Code | € | ||
| Effacer tous messages*1 | --#325 72 | |||
| Message réponse Enre gisterer msg-répondé*1 | Vérifier msg-répondé | - #302 69 | ||
| - #303 70 | ||||
| Pré-enregistr.r.*1 (Réactiver le message répon-se préenregistrré) | - #304 70 | |||
| Avis de nouvel message*1 | Appel sortant -Activé/Désact | Activé | #338 72 | |
| Appel sortant -Notification à | - | |||
| Appel sortant -Code distance | Activier | |||
| Bip sur poste de base Activé | Activé | #339 72 | ||
| Paramètres | Nbre sonneries*1 | 2-7 coups <4 coups> Économisé frais | #211 75 | |
| Durée enregis.*1 | 1 min <3 min> Msg-rep.seul.*2 | #305 75 | ||
| Code distance*1 | <111> #306 73 | |||
| Filtrage appeals | <Activé> Désactivé | #310 75 | ||
| Répondeur activé1 | --#327 69 | |||
| Répondeur désactivé*1 | --#328 69 |
Menu principal: "Écrous MV" ^+3 (MV: messagerie vocale)
| Fonctionnement Code | © | |
| Écoute des messages vocaux. #330 78 |
Menu principal: intercom.
| Fonctionnement Code | € | |
| Recherche de l'appareil désiré. #274 34 |
Programmation
Menu principal: 3 Bluetooth
| Sous-menu 1 Sous-menu | 2 Paramétrage Code | € | ||
| Lien cellulaire-1: Ajout nouvel apparéil*4(pour CELL 1)-2: Ajout nouvel apparéil*4(pour CELL 2) | Connector*1/Déconnecter*1 | - | #6251*5 | 20 |
| #6252*6 | ||||
| Volume sonnerie Sanssonn.-6<6> | #6281*5 | 24 | ||
| #6282*6 | ||||
| Tonalité sonnerie*7 | < Tonalité 2>5< Tonalité 4>6 | #6291*5 | - | |
| #6292*6 | ||||
| Assigner apparéil*1 | Combiné 1-6<Tout> | #6271*5 | 19 | |
| #6272*6 | ||||
| Sonn. tel cell.(limité)*1 | <Activé (avec id.vocale)>Activé (sans id.vocale)Désactivé | #6141*5 | 19 | |
| #6142*6 | ||||
| Réglagesvertisseur*1-Avert. Oui/Non | <Oui>Non | #6101*5 | 65 | |
| #6102*6 | ||||
| Réglagesvertisseur*1-Avertisseurvocal | <Oui>Non | #6031*5 | 66 | |
| #6032*6 | ||||
| Réglagesvertisseur*1,*8-Tonalité d'avis | < Tonalité 1>5< Tonalité 2>6 | #6041*5 | 66 | |
| #6042*6 | ||||
| Couplage | - | #6241*5 | 18 | |
| #6242*6 | ||||
| Découplage | - | #6111*5 | 19 | |
| #6112*6 | ||||
| Transfert répert. | --#618 63 | |||
| Casque Ajout nouvel | appareil*4 | -#621 66 | ||
| Connector*1/Déconnecter*1 | -#622 67 | |||
| Couplage | -#621 66 | |||
| Découplage | -#612 67 | |||
Programmation
| Sous-menu 1 Sous-menu | 2 Paramétrage Code | |||
| Paramètres | Connexion auto*1 | <1 min>3 min5 min10 minDésactivé | #632 20 | |
| Ind. rég. cell.*1 | - #633 21 | |||
| Mode ligne cell.*1 | Activé<Désactivé> | #157 20 | ||
| Sélect.lig.cell.- Combiné | Tél.cell. 1*4Tél.cell. 2*4<Manuel> | #634 21 | ||
| Sélect.lig.cell.- Base *1 | <Tél.cell. 1>4Tél.cell. 2*4 | #×634 | ||
| Régler NIP*1 | <0000> #619 21 | |||
| Codeinternational*1 | - #117 64 | |||
| Code Pays*1 | - #118 | |||
| Préfixeinterurbain*1 | - #119 |
Menu principal: Réglage date et heures
| Sous-menu 1 Sous-menu | 2 Paramétrage Code | € | ||
| Date et heures*1 | --#101 16 | |||
| Alarmé mémo Avert.1-3 | Une fois | Quotidien Hebdo. <Déactivé> | #720 53 | |
| Ajustement horodateur*1,*9 | - | <Id.dem.auto> Manuel | #226 | - |
Menu principal: Configuration rapide
| Fonctionnement | Code | 15 |
| Consultation d'une attribution de touche de composition rapide. | #261 | 43 |
Programmation
Menu principal: Réglages
| Sous-menu 1 Sous-menu | 2 Paramétrage Code | # | ||
| Modificationssonnerie | Volume sonnerie*3 | Sans sonn.-6 <6> #160 | - | |
| Tonalité sonnerie*3, *7,*10(Combiné) | <Tonalité 1>#161 - | #201 27 | ||
| T. interruption*11 | <Activé>Désactivé | #238 54 | ||
| Mode nuit-Activé/Désact | Activé | #238 54 | ||
| Mode nuit-Début/Fin | <23:00/06:00> #237 54 | |||
| Mode nuit-Sélect. groupe | DomicileCell 1Cell 2Groupe 4-9 | #241 54 | ||
| Réglage date etheure | Date et heures*1 | - #101 16 | ||
| Alarmé mémo-Avert.1-3 | Une foisQuotidienHebdo.Désactivé | #720 53 | ||
| Ajustementhorodateur*1, *9 | <Désactivé> | #226 - | ||
| Identificationvocale(Identification vocale du demandeur) | - <Activé> | Désactivé | #162 59 | |
| Paramètre localis.clés*12-1: Ajout nouvelappareil(pour Localisat.1)*13-2: Ajout nouvelappareil(pour Localisat.2)-3: Ajout nouvelappareil(pour Localisat.3)-4: Ajout nouvelappareil(pour Localisat.4) | Changer nom*1 | Localisat.1 | #6561 - | |
| Localisat.2*14 | #6562*14 | |||
| Localisat.3*14 | #6563*14 | |||
| Localisat.4*14 | #6564*14 | |||
| Enregistrement | - #6571 - | |||
| #6572*14 | ||||
| #6573*14 | ||||
| #6574*14 | ||||
| Désenregistrement | - #6581 - | |||
| #6582*14 | ||||
| #6583*14 | ||||
| #6584*14 |
Programmation
| Sous-menu 1 Sous-menu | 2 Paramétrage Code | ① | ||
| Bloquer appel1 | Bloquer un seul numéro | - #217 35 | ||
| Bloq. série de numérios | - | 36 | ||
| Bloquer inconnu Bloqué | #240 37 | |||
| Premier coup de sonnerie | #173 37 | |||
| Composition rapide | -- #261 43 | |||
| Enregistrer msg-réponse1 | -- #302 69 | |||
| Messenger. VOCALE3 | Sauvegarde No code MV*1 | - #331 77 | ||
| Détection avertis. MV*1 | #332 78 | |||
| Contraste ACL (Contraste de l'affichage) | -Niveau 1-4 <2> #145 - | |||
| Nom du combiné | -- #104 57 | |||
| Aff. du nom | - | Activé #105 57 | ||
| Intercom auto | - | Activé #273 34 | ||
| Tonalité touche -<Activé> | #165 - | |||
| Communicat. auto15 | - | Activé #200 24 | ||
Programmation
| Sous-menu 1 Sous-menu | 2 Paramétrage Code | € | ||
| Réglage ligne3 | Régler mode composition*1 | Impulsions | #120 17 | |
| Touchecommutation*1,*16 | 900 ms | #121 25 | ||
| <700 ms> | ||||
| 600 ms | ||||
| 400 ms | ||||
| 300 ms | ||||
| 250 ms | ||||
| 200 ms | ||||
| 160 ms | ||||
| 110 ms | ||||
| 100 ms | ||||
| 90 ms | ||||
| 80 ms | ||||
| Réglage mode ligne*1,*17 | A <B> #122 - | |||
| Choix AppAttente*1(Options d'appel en attente de luxe) | Activé | #215 60 | ||
| Mode privé*1 | - | Activé | #194 26, | 32 |
| Enregistrement Enregistrer combiné | - #130 57 | |||
| Désenregistrement*2 | - #131 58 | |||
| Panne secteur | - <Auto> | Désactivé | #152 27 | |
| Changer langue Affichage | <English> | #110 16 | ||
| Français | ||||
| Guide vocal*1 | <English> | #112 16 | ||
| Français | ||||
Menu principal: "service client"
| Fonctionnement Code | 信 | |
| Affichage de l'adresse Internet du support technique. #680 - |
Menu principal: Moniteur pour bébé"
| Sous-menu 1 Sous-menu | 2 Paramétrage Code | € | ||
| Activé/Désact | - | Activé | #268 55 | |
| <Désactivé> | ||||
| Sensibilité | - | Faible charge | #269 56 | |
| <Moyenne> | ||||
| Pleine charge |
Programmation
| Sous-menu 1 Sous-menu | 2 Paramétrage Code | € | ||
| Rech | -- #655- | |||
| Vérification pile | - | - |
Porte-de-base
Menu principal: "Répertoire"
| Fonctionnement Code | 1 | |
| Consultation d'une inscription du réseau, #280 41 |
Menu principal : Demandeur
| Fonctionnement Code | 15 | |
| Consultation de la liste des demandeurs. #213 61 |
Menu principal: Chondeur"
| Sous-menu 1 Sous-menu | 2 Paramétrage Code | € | ||
| Filtr.appels | -<Activé> | Déactivé | #310 75 |
Menu principal : Bluetooth"
| Sous-menu 1 Sous-menu | 2 Paramétrage Code | # | ||
| Lien cellulaire*18- Téléphone cellulaire #14- Téléphone cellulaire 24 | Volume | Sans sonn.-6 <1> | #6281*5 | 31 |
| #6282*6 | ||||
| Rég. avert.*1- Avert. O/N | <Activé>Désactivé | #6101*5 | 65 | |
| #6102*6 | ||||
| Rég. avert.*1- Avert. vocal | <Activé>Désactivé | #6031*5 | 66 | |
| #6032*6 | ||||
| Ligne cell. | <Tél.cell. 1>4Tél.cell. 24 | - #634 | 21 |
Programmation
Menu principal: Réglages
| Sous-menu 1 Sous-menu | 2 Paramétrage Code | # | ||
| Par. sonnerie | Volume*3 | Sans sonn.-6 <1> #1 | 60 - | |
| T.interruption*11 | <Activé>Désactivé | #201 33 | ||
| Mode nuit- Activé/Désact | Activé | #238 54 | ||
| Mode nuit- Début/Fin | <23:00/06:00> #237 | 54 | ||
| Mode nuit-Sélect. groupe | DomicileCell 1Cell 2Groupe 4-9 | #241 54 | ||
| Identif. vocale(Identification vocale du demandeur) | - | Activé | #162 59 | |
| <Désactivé> | ||||
| Bloquer appel*1 | Bloc. un seul # | - #217 35 | ||
| Bloc. série de # | - | 36 | ||
| Bloc. inconnu Bloqué | <Débloqué> | #240 37 | ||
| ler coup sonn. | <Oui>Non | #173 37 | ||
| Contraste(Contraste de l'affichage) | -Niveau 1-6 <3> | #145 - | ||
| Intercom auto | - | Activé | #273 34 | |
| <Désactivé> | ||||
| Changer langue(Affichage) | - <English> | François | #110 16 |
Menu principal: Service client
| Fonctionnement Code | © | |
| Affichage de l'adresse Internet du support technique. | #680 | - |
1 Si la programmation de ces paramètres est effectuée sur l'un des appareils, il n'est pas nécessaire d'effectuer ce même paramétrage sur un autre appareil. 2 Ce menu n'est pas affiché lors du défillement des menus affichés. disponible uniquement avec les codes de commandes directes. 3 Lorsque le mode ligne cellulaire seulement est activé, ces menus ne sont pas affichés (p. 20). 4 Après l'enregistrement du dispositif Bluetooth, le nom du dispositif est affiché. 5 Pour CELL 1 6 Pour CELL 2 *7 Les mélodies préenregistrées dans cet article ("Tonalité 3" à "Mélodie 10") sont utilisées avec la permission de © 2009 Copyrights Vision Inc.
Pour de l'aide, visitez www.panasonic.ca/french/support
TG175CSK(fr-fr)_0325_ver011.pdf 52
2016/03/25 10:58:17
8 Les mélodies préenregistrées dans cet article ("Tonalité 1" et "Tonalité 2") sont utilisées avec la permission de © 2013 Copyrights Vision Inc. 9 Cette fonction permet à l'appareil de régler automatiquement l'heure et la date sur réception des renseignements sur le demandeur incluant l'heure et la date. Pour désactiver cette fonction, Sélectionner "Id. dem. auto". Pour activer cette fonction, Sélectionner "Manuel". (Pour les abonnés au service d'affichage du demandeur seulement) 10 Si un abonnement a été souscrit au service de sonnerie distinctive, sélectionner une tonalité (tonalité 1 ou 2). Si une mélodie est sélectionnée, il ne sera pas possible de désigner les lignes au moyen de leurs sonneries. 11 Cette tonalité informe l'utilitaire de la réception d'un appel externe durant une conversation sur une autre ligne ou lors d'une intercommunication. Si l'option "Active" est sélectionnée, la tonalité est émise 2 fois. 12 Ce paramétrage est disponible en présence du localisateur de clés (KX-TGA20). Pour plus de renseignements sur le localisateur de clés, consulter le guide d'installation. 13 Pour les modèles avec localisateurs de clés fournis, l'affichage indique "1: Localisat.1". 14 Si vous avez enregistré 2 localisateurs ou plus. 15 Si un abonnement a été souscrit au service d'affichage du demandeur et que l'utilisateur désire consulter les renseignements affichés après avoir décroché le combiné pour prendre l'appel, désactiver cette fonction. 16 La temporisation - ou délai - est fonction du central téléphonique ou de l'autocommutateur privé hôte. Au besoin, communiquer avec le fournisseur de l'autocommutateur privé (PBX). 17 En règle générale, le paramétrage du mode de la ligne ne devrait pas être modifié. Ce paramétrage maintient automatiquement le volume du récepteur au niveau approprié selon l'état actuel de la ligne. Régler le mode ligne à “A” lorsque l'état de la ligne est mauvais. *18 Ce paramétrage est disponible lorsqu'un téléphone cellulaire a été enregistré.
Avertisseur
Un avertisseur sonore retentit à l'heure régée pendant 1 minute et est répété 5 fois à des intervalles de 5 minutes (fonction répétition). L'affichage d'une note de texte peut aussi être associée à l'avertisseur. Un total de 3 heures différentes d'avertisseur peuvent être programmées pour chaque combiné. Vous pouvez définir 3 options d'avertisseur différentes (une fois, quotidien ou hebdomadaire) pour chaque heure d'avertisseur réglé.
Important :
- S'assurer que les réglages de la date et de l'heure sont justes (p. 16).
Combé
1 [MENU]#720 2 [S]: Sélectionner l'avertisseur désiré. → [SELEC.]
3 [S]: Sélectionner le mode d'avertisseur désiré. → [SELEC.]
| “Désactivé”L'avertisseur est désactivé.Passer à l'objet9. |
| “Une fois”L'avertisseur se fait entendre une fois à l'heure prédéterminée. |
| “Quotidien”Un avrtisseur est émis quotidiennement à l'heure prédéterminée.Passer à l'objet 5. |
| “Hébdo.”Un avrtisseur est émis hebdomadairement à l'heure prédéterminée. |
4 Poursuivre l'opération selon la sélection à l'étape 3.
Une fois : Entrer la date et le mois désirés. → [OK]
Programmation
Hebdomadaire :
[+] : Sélectionner le jour de la période désirée et appuyer sur [SELEC.]. → [OK]
5 Régler l'heure désirée. [OK] 6 Saisir la note de texte (max. de 10 caractères). → [OK] 7 [-]: Sélectionner la tonalité d'avertisseur désirée. → [SELEC.] - Il est recommandé de sélectionner une tonalité différente de celle-ci pour les appels entrants. 8 [] : Sélectionner le paramétrage souhaité pour la fonction de répétition de l'avertisseur. → [SAUV.] 9 [SELEC.] [OFF]
Appuyer sur [ARRÉT] pour arrêter complètement l'avertisseur. Lorsque le combiné est en communication, l'avertisseur ne se fera pas entendre avant qu'il soit mis en mode attente. - Appuyer sur n'importe quelle touche de composition ou [RÉPÉTER] pour arrêter le retentissement mais préserver l'activation de la fonction de répétition de l'avertisseur. - Si vous souhaitez faire un appel externe quand la fonction de répétition de l'avertisseur est activée, veuillez désactiver cette fonction avant de faire l'appel.
Mode de nuit
Le mode de nuit permet de sélectionner une durée durant laquelle la sonnerie ne sera pas émise sur le combiné et/ou le poste de base lors de la réception des appels. Cette fonction est très utile pour éviter d’être dérangé par des appels, par exemple pendant les heures de sommeil. Le mode de nuit peut être réglé séparément pour chaque appareil. En utilisant la fonction de groupe du réseau (p. 40), il est également possible de désigner des groupes de demandeurs dont les appels peuvent outrepasser le mode de nuit, faisant sonner le combiné (uniquement pour les abonnés au service d'affichage du demandeur).
Important :
- S'assurer que les réglages de la date et de l'heure sont justes (p. 16). Lors du réglage de l'avertisseur, celui-ci sera émis même si le mode de nuit a été activé.
Combé
1 [MENU]#238
2 [Sauv.] : Sélectionner le paramètre désiré. → Si "Désacté" a été sélectionné, appuyer sur [OFF] pour quitter.
3 Entrer l'heure désirée (heure et minutes) pour le début de cette fonction. → [OK] 4 Entrer l'heure désirée (heure et minutes) pour la fin de cette fonction.
5 [SAUV.] → [OFF]
Poste de base
1 [MENU]#238
2 [S] : Sélectionner le paramètre désiré. → [SAUV.] - Si "Désacté" a été sélectionné, appuyer sur [EXIT] pour quitter.
3 Entrer l'heure désirée (heure et minutes) pour le début de cette fonction. [OK] 4 Entrer l'heure désirée (heure et minutes) pour la fin de cette fonction.
5 [SAUV.] [EXIT]
Changement de l'heure de début et de fin
1 [MENU]#237 2 Poursuivre à partir de l'été 3, "Activation/Désactivation du mode de nuit", p. 54.
Combiné / poste de base
1 [MENU]#244
2 [÷]: Sélectionner le groupe désiré. → [SELEC.]/ [SELECT.]
- V est affiché à côté des numéros de groupes sélectionnés. Pour annuler le groupe sélectionné: []: Sélectionner le groupe. Appuyer une nouvelle fois sur [SELEC.]/ [SELECT]. "disparaît.
3 [SAUV.]
4 Effectuer la procédure selon l'appareil. Combiné : [OFF] Poste de base : [EXIT]
Interphone de surveillance de bébé
Cette fonction vous permet de faire l'écoute des bruits dans une pièce ou un autre combiné se trouve, vous facilitant la surveillance à distance à l'intérieur de la maison ou d'un autre endroit. Le poste sous écoute (place, par exemple, dans la chambre du bébé) appelle automatiquement le poste d'écoute, le poste de base ou le numéro de téléphone mémorisé dès qu'il détecte un bruit.
Important :
- Il faut effectuer un test de la fonction interphone de surveillance de bébé pour s'assurer qu'elle est correctement configurée. Par exemple, tester la sensibilité au son. Vérifier la connexion si la fonction interphone de surveillance de bébé est censée appeler une ligne extérieure.
- Cette fonction ne doit pas être utilisée pour remplacer la surveillance par un médecin ou un soignant. Il appartient au soignant de rester à proximité pour gérer toute éventualité.
- Si l'appareil est connecté à un système d'autocommutateur privé, vous ne pouvez pas activer la fonction Interphone de surveillance de bébé.
- En mode de surveillance, la consommation de la pile est augmentée. Nous vous recommandons de placer le poste sous écoute sur le poste de base ou le chargeur. Le poste sous écoute ne sonne jamais lorsqu'il est surveillé. Si le poste de base est placé à proximité du poste sous écoute, il est conseillé
de couper le volume de sonnerie du poste de base (p. 51, 52).
Paramétrage de l'interphone de surveillance de bébé
Effectuer le paramétrage avec le poste sous écoute (par exemple, le combiné placé dans la chambre du bébé).
Surveillance à l'aide d'un poste
La fonction interne de surveillance de bébé est disponible : - entre divers combinés - entre un combiné et le poste de base
Combé
1 [MENU]#268 2 []: "Active" [SELEC.] 3 [S]: Sélectionner le nombre du poste que vous souhaitez utiliser pour effectuer la surveillance. → [SAUV.] "Moniteur bébé" s'affiche. - Le nom/numéro enregistré s'affiche.
- Quand cette fonction est activée, un autre combiné ou le poste de base peut écouter le poste sous écoute en établissant une intercommunication.
Surveillance à l'aide d'une ligne extérieure
Si vous activez cette fonction, l'appareil appellera un numéro de téléphone préprogrammé lorsque le poste détectera du bruit. En décrochant, vous entendrez ce qui se passe dans la pièce où le poste est situé.
Cette fonction est disponible uniquement avec une ligne terrestre.
Combé
1 [MENU] #268 2 []: "Active" → [SELEC.] 3 []: Sélectionner "Externe" pour surveiller depuis une ligne extérieure. → [MODIFIER] → [AJOUTER]
Programmation
4 [-]: "Répertoire" [SELEC.] 5 [÷]: Sélectionner l'inscription au répertoire. →[SAUV.] "Moniteur bébé" s'affiche.
- Si vous modifiez une inscription du répertoire téléphonique qui est affectée à la surveillance, l'inscription modifiée n'est pas transférée au poste d'écoute.
En entrant directement les numéros de téléphone :
1 [MENU]#268 2 []: "Active" [SELEC.] 3 []: Sélectionner "Externe" pour surveiller depuis une ligne extérieure. → [MODIFIER] → [AJOUTER] 4 []: "Manuel" [SELEC.] 5 Entre le nom desired. [OK] 6 Entre le numero deseire. [OK] [SELEC.] "Moniteur bébé" s'affiche.
- Le nom/numéro enregistré est affiché.
Déactivation de l'interphone de surveillance de bébé
Le poste sous écoute ne peut pas être utilisé lorsque l'interphone de surveillance de bébé est réglé sur "Active".
Combé
1 Appuyer sur [MENU] sur le poste actuellement sous écoute. 2 [] : "Activé/Désact" → [SELEC.] 3 []: "Désactivé" → [SELEC.] → [OFF]
Combé
1 Appuyer sur [MENUR] sur le poste actuellement sous ecoute. 2 [] :“Active/Desact”→[SELEC.]
3 []: "Active" → [SELEC.] 4 [S]: Sélectionner la ligne externe. → [MODIFIER] 5 [MENU] → []: "Modifier" → [SELEC.] 6 Au besoin, modifier le nom. → [OK] 7 Si nécessaire, modifier le numero de téléphone. → [OK] → [SELEC.]
Combé
1 Appuyer sur [MENU] sur le poste actuellement sous écoute. 2 [] : "Activé/Désact" → [SELEC.] 3 [] : "Active" → [SELEC.] 4 [S]: Sélectionner la ligne externe. → [MODIFIER] 5 [MENU] []: "Supprimer" [SELEC.] 6 []:“oui” [SELEC.] [OFF]
Sensibilité de l'interphone de surveillance de bébé
Vous pouvez ajuster la sensibilité de l'interphone de surveillance de bébé. Augmenter ou diminuer la sensibilité pour ajuster le niveau de bruit nécessaire pour déclencher la fonction Interphone de surveillance de bébé.
- Cette fonction ne peut pas être réglée pendant un appel d'écoute.
Combé
1 Appuyer sur [MENU] sur le poste actuellement sous écoute. 2 [] : "Sensibilité" → [SELEC.] 3 [S] : Sélectionner le paramètre désiré. → [SAUV.] → [OFF]
Pour recevoir un appel de l'interphone de surveillance de bébé
Lorsqu'un poste est utilisé pour l'écoute : Combiné : Appuyer sur [ ] pour répondre à l'appel.
Poste de base: Appuyer sur [ ] pour répondre à l'expérience.
Si vous souhaitez répondre en utilisant le poste d'écoute, appuyez sur [SILENCE].
Le poste d'écoute répond automatiquement aux appelés quand la fonction d'intercommunication automatique est réglée sur "Active" (p. 34).
Lors de la réception d'un appel extérieur durant une communication avec le combiné sous écoute, la tonalité d'interruption se fait entendre.
-Pour prendre l'appel sur le combiné, appuyer sur [OFF], puis appuyer sur
-Pour prendre l'appel sur le poste de base, appuyer sur [4] 3 fois.
Si la touche [SILENCE] est pressée, appuyer sur [4] 2 fois.
Lorsqu'une ligne externe est utilisée pour l'écoute:
Répondre à l'appoint.
Si vous souhaitez répondre en utilisant le poste d'écoute, appuyez sur #1 en utilisant la composition par tonalité.
La fonction Interphone de surveillance de bébé peut être désactivée en appuyant sur #0.
L'appareil coupe la communication automatiquement après 2 minutes.
Changement du nom du combiné
Les noms par défaut des combinés sont "Combiné 1" à "Combiné 6". Vous pouvez personnaliser le nom de chaque combiné ("Robert", "Cuisine", etc.). Ceci est très utile lors d'intercommunications entre combinés. Pour afficher le nom du combiné en mode attente, activer la fonction d'affichage du nom de combiné (p. 57).
Combé
1 [MENU] #104 2 Entrer le nom désiré, max. de 10 caractères).
Affichage du nom du combiné
Il est également possible de désirer si le nom du combiné sera affiché ou non. Par défaut, le réglage est sur "Désactivé".
Combé
1 [MENU] #105 2 [S] : Sélectionner le paramètre désiré. → [SAUV.] → [OFF]
Combinés supplémentaires
Il est possible d'enregistrer jusqu'à 6 combinés auprès du poste de base.
Important :
- Se reporter à la p. 5 pour des informations sur les modèles disponibles.
Enregistrement d'un combiné auprès du poste de base
Le combiné fourni et le poste de base sont préenregistrés. Si pour une raison ou une autre, le combiné n'était pas enregistré auprès du poste de base, refaire son enregistrement.
1 Combiné :
MENU#130
2 Poste de base :
Maintenir la touche [LOCATOR] enfoncée pendant environ 5 secondes.
- Si la sonnerie se fait entendre sur tous les combinés enregistrés, appuyer de nouveau sur [LOCATOR] pour y mettre un terme, puis recommencer cette étape.
3 combiné :
Appuyer sur [OK], puis attendre l'émission de la tonalité prolongée.
Désenregistrement d'un combiné
Un combiné peut annuler son enregistrement auprès du poste de base ou celui d'autres combinés enregistrés auprès de ce même poste de base. Cela permet au combiné de mettre un terme à sa communication sans fil avec le système.
Combé
1 [MENU]#131 - Tous les combinés enregistrés auprès du poste de base sont affichés. 2 []: Sélectionner le combiné à désenregistrer. → [SELEC.] 3 [] : "Oui" → [SELEC.] → [OFF]
Important :
- Cet appareil est compatible avec le service d'affichage du demandeur offert par les fournisseurs de services. Pour utiliser les fonctions de l'affichage du demandeur, il est nécessaire de souscrire au service d'affichage du demandeur. Communiquer avec votre fournisseur de service téléphonique pour de plus amples renseignements.
Caractéristiques d'affichage du demandeur
Lorsqu'un appel externe est reçu, les renseignements sur le demandeur s'affichent. Les renseignements sur les 50 derniers demandeurs sont inscrits sur la liste des demandeurs, classés à partir du plus récent appel jusqu'au plus ancien.
- Si l'appareil ne peut saisir les renseignements sur le demandeur, l'un ou l'autre des messages suivants s'affiche :
- "Nom/num. non disponible." ^ 1/^ Nom/ numero non disponible. ² : Le demandeur appelle depuis un secteur dans lequel le service d'affichage du demandeur n'est pas disponible.
- "Appel privé" : Le demandeur a demandé qu'aucun renseignement le concernant ne soit transmis.
- "Interurbain": Il s'agit d'un appel interurbain.
- sent être saisis. Communiquer avec le fournisseur du système.
1 Combiné 2 Poste de base
Appels manqués
Si l'appel est laissé sans réponse, l'appareil le traite comme un appel manqué. Le message "Appel manqué" est affiché.
- Même en présence d'appels manqués non consultés, "Appel manqué" disparaît de l'affichage en attente lorsqu'une des opérations suivantes est effectuée par l'un des combinés enregistrés :
- Un combiné est déposé sur le poste de base ou le chargeur. - La touche [OFF] du combiné est pressée. - La touche [EXIT] du poste de base est pressée.
Affichage personnel du nom
Lorsque le numéro de téléphone du demandeur saisi lors de la réception d'un appel correspond à une inscription dans le répertoire, le nom mémorisé dans le répertoire s'affiche et est inscrit sur la liste des demandeurs.
Combiné / poste de base
- Cette fonction permet de connaître l'identité du demandeur sans avoir à consulter l'affichage. Pour utiliser cette fonction, il est nécessaire de : - souscrire à un service d'affichage du demandeur auprès de votre fournisseur de services. - activer cette fonction (p. 48, 52).
Lors de la réception des informations sur le demandeur, les combinés et/ou le poste de base énoncent le nom ou le numéro de téléphone du demandeur reçu par le fournisseur de services après chaque coup de sonnerie.
- La prononciation des noms peut varier. Cette fonction pourrait ne pas prononcer correctement tous les noms.
- Avec le service d'affichage du demandeur, il y a une limite de caractères qui peuvent être affichés. Si le nom du demandeur est trop long, l'appareil pourrait ne pas pouvoir afficher ou énoncer le nom au complet.
Identification vocale personnalisée du nom
Lorsque les renseignements sur le demandeur sont reçus et qu'ils correspondent à une inscription au répertoire, le nom mémorisé dans le répertoire est énoncé.
Pour les abonnés au service d'appel en attente de luxe
Pour utiliser la fonction d'attente en attente de luxe, il est nécessaire de souscrire au service d'attente en attente de luxe de votre fournisseur de services. Cette fonction permet non seulement au poste en cours d'utilisation d'afficher les renseignements concernant un 2e interlocuteur, mais offre à l'utilisateur le choix du mode de traitement de ce 2e appel.
Important :
- Communiquer avec votre fournisseur de services téléphoniques pour de plus amples renseignements sur ce service et savoir s'il est disponible dans votre région.
- Pour être utilisée, cette fonction doit avoir été activée au préalable.
Activation/désactivation de l'appel en attente de luxe
Pour utiliser la fonction d'appel en attente de luxe, cette fonction doit être activée. Par défaut, le réglage est sur "Désactivé".
Combé
1 [MENU] #215 2 []: Sélectionner le paramètre désiré. 3 [SAUV.] → [OFF]
Choix d'apple en attente de luxe
Sur réception d'un 2e appel, il est possible de désirer le mode de traitement de cet appel en sélectionnant l'un des choix affichés à l'écran de l'appareil.
- Il est possible que votre fournisseur de services n'offre pas tous les choix indiqués (p. 60).
| Affichage Signification | |
| Réponse | L'appoint en attente est pris et le 1er appel est mis en garde. |
| Garde | Le second appel est mis en garde. Le demandeur ent-endun message de garde préenregistré émis par votre fournisseur de services. |
| Message | Le demandeur entend le message d'occupation de votre fournisseur de service (par exemple "Nous ne sommes pas en mesure de prendre votre appel pour le moment"), puis la communication est coupée. |
| Renvoi | L'appoint en attente est rediri-gé vers le service de messa-gerie vocale de votre fournisseur de services. Un abon- nement au service de mes-sagerie vocale est requis afin d'utiliser cette fonction. |
| Libérer | L'appoint en cours est coupé et la communication est établie avec le demandeur en attente. |
| Conférence | La communication avec le demandeur en attente est établie et elle est ajustée à l'appoint en cours pour établier un appel conférence à 3 voies. |
| Reprise | Reprise de la communica-tion avec le demandeur mis en attente et mise en garde de l'appoint en cours. |
| Lib.appel1 | Coupe la communication avec le 1er interlocuteur dans le cadre d'un appel conférence. |
| Lib.appel2 | Coupe la communication avec le 2e interlocuteur dans le cadre d'un appel conférence. |
Combé/poste de base
1 Lorsque la tonalité d'attente est entendue lors d'un appel externe, appuyer sur [FLASH]. Le menu des options s'affiche. 2 []: Sélectionner l'option désirée. → [SELEC.]/ [SELECT.] - Après sélection de "Réponse", "Garde" ou "Conférence", il est possible de sélectionner une autre option. → [FLASH] → [1]: Sélectionner l'option désirée. → [SELEC.]/ [SELECT.]
Nota :
Pour quitter le menu des options, attendre 20 secondes.
Liste des demandeurs
Important :
S'assurer que les réglages de la date et de l'heure sont justes (p. 16).
Consultation et utilisation de la liste des demandeurs
Avec une ligne cellulaire
Combé
1 [▼]CID 2 Appuyer sur [▼] pour effectuer une recherche à partir de l'appel le plus récent ou sur [▲] pour une recherche à partir de l'appel le plus ancien. 3 Pour rappeler, appuyer sur [SELEC.]. Pour quitter, appuyer sur [OFF].
4 [CELL.]
L'appareil lance la composition lorsque : - seulement 1 téléphone cellulaire est enregistré. - une ligne spécifique est réglée pour faire des appels cellulaires (p.21).
5 [-]: Sélectionner le téléphone cellulaire désiré. → [SELEC.]
Poste de base
1 [ID] 2 Appuyer sur [▼] pour effectuer une recherche à partir de l'appel le plus récent ou sur [▲] pour une recherche à partir de l'appel le plus ancien. 3 Pour rappeler, appuyer sur [CELL 1] ou [CELL 2]. Pour quitter, appuyer sur [EXIT].
Avec une ligne terrestre
1 Effectuer la procédure selon l'appareil. Combiné: [v] CID Poste de base : [ID] 2 Appuyer sur [V] pour effectuer une recherche à partir de l'appel le plus récent ou sur [A] pour une recherche à partir de l'appel le plus ancien. 3 Effectuer la procédure selon l'appareil. Combiné:
- Pour rappeler, appuyer sur [ ]
- Pour quitter, appuyer sur [OFF]. Poste de base
- Pour rappeler, appuyer sur [4].
- Pour quitter, appuyer sur [EXIT].
Note sur le poste de base et le combiné:
Si l'inscription d'appl a déjà été consultée ou prise, "est affichée. - quand que les informations sur le demandeur ont été reçues de la ligne cellulaire.
Modification d'un numéro d'un demandeur
Il est possible de modifier un numéro de téléphone de la liste des demandeurs en ajoutant le code interurbain "1" ou en retirant le code régional.
Combé
Lorsqu'un téléphone cellulaire est enregistré
1[√]CID 2 [S]: Sélectionner l'inscription désirée. → [SELEC.]
Service d'affichage du demandeur
3 Appuyer à répétition sur (Modif.) jusqu'à ce que le numéro de téléphone soit affiché dans le format désiré.
4 Avec une ligne cellulaire : Pour faire un appel cellulaire, continuer à partir de l'étape 4, "Consultation et utilisation de la liste des demandeurs", p. 61.
Avec une ligne terrestre :
Lorsqu'aucun téléphone cellulaire n'est enregistré:
1 [v]CID 2 []: Sélectionner l'inscription désirée. → [MENU] 3 []: "Modifier" [SELEC.] 4 Appuyer à repetition sur [MODIFIER] jusqu'à ce que le numero de téléphone soit affiché dans le format désir.

Poste de base
1 [ID] 2 []: Sélectionner l'inscription désirée. 3 Appuyer à répétition sur [MODIF.] jusqu'à ce que le numéro de téléphone soit affiché dans le format désiré. 4Avec une ligne cellulaire: Appuyer sur [CELL 1] ou [CELL 2]. Avec une ligne terrestre : []
Nota :
- Le numéro modifié ne sera pas conservé sur la liste des demandeurs.
Combiné / poste de base
1 Effectuer la procédure selon l'appareil. Combiné: [v] CID Poste de base: [ID] 2 []: Sélectionner l'inscription désirée.
3 [SUPPR.] → [] : "Oui" → [SELEC.]/[SELECT.] 4 Effectuer la procédure selon l'appareil. Combine : [OFF] Poste de base : [EXIT]
Combiné / poste de base
1 Effectuer la procédure selon l'appareil. Combé : [v] CID Poste de base:[ID] 2 [SUPPR.] []:"Oui" [SELEC.]/[SELECT.] 3 Combiné : [OFF]
Copie du répertoire d'un téléphone cellulaire (transfert de répertoire)
Il est possible de copier les inscriptions des téléphones cellulaires enregistrés auprès de l'appareil ou d'autres téléphones cellulaires (non enregistrés) au répertoire de l'appareil. Un téléphone cellulaire doit être compatible avec la technologie Bluetooth sans fil.
Important :
- Voiture téléphonique cellulaire doit prendre en charge les spécifications du profil PBAP (Phone Book Access Profile) ou OPP (Object Push Profile).
- Si l'inscription copiée comporte 2 nombres de téléphone ou plus, chaque numéro de téléphone (max. de 6) est sauvegardée comme une autre inscription avec le même nom.
- Si une inscription du répertoire comprend des données supplémentaires telle une photo, cette entrée pourrait ne pas être copiée sur le poste de base.
- Si le téléphone cellulaire comprend des inscriptions incluant des appels internationaux, régler le code de conversion avant la copie (p. 64).
2 Combiné :
Pour copier à partir de téléphones cellulaires enregistrés :
Sélectionner le téléphone cellulaire désiré. → [SELEC.]
- Les inscriptions copiées sont sauvegardées dans le groupe ("Cell 1" ou "Cell 2") auquel le téléphone cellulaire est enregistré.
Pour copier à partir d'autres téléphones cellulaires (non enregistrés):
[+] : "Autres cell." → [SELEC.] → [+] : Sélectionner le groupe destinataire de la copie. → [SELEC.]
3 Combiné :
Lorsque "Util. cell. pour transférer répertoire" apparaît : Passer à l'étape 4. Lorsque le menu "Select. mode" apparaît :
[⁺] : Sélectionner "Auto" ou "Manuel". → [SELEC.]
"Auto": Téléchargement automatique de toutes les inscriptions du téléphone cellulaire. Passer à l'étape 5.
"Manuel": Copie des inscriptions sélectionnées.
- Le menu "Select. mode" apparait seulement lorsque le téléphone cellulaire prend en charge le profil PBAP (Phone Book Access Profile) pour la connexion Bluetooth.
- Certains téléphones cellulaires nécessitant qu'une opération soit effectuée sur le téléphone cellulaire même si la sélection "Auto" est.
4 Téléphone cellulaire :
Suivre les directives de votre téléphone cellulaire pour la copie des inscriptions du répertoire.
Pour d'autres téléphones cellulaires (non enregistrés), il est nécessaire de rechercher et sélectionner le poste de base. Le NIP Bluetooth (par défaut : "0000") peut être nécessaire. Si votre téléphone cellulaire indique une confirmation de mot de passe sur son écran, suivre les directives pour poursuivre. - Les inscriptions en cours de copie sont affichées sur le combiné.
5 Combiné :
Attendre jusqu'à ce que "Terminé" soit affiché. - Au besoin, il est possible de continuer la copie d'autres inscriptions.
6 Combine : [OFF]
- Certaines inscriptions peuvent comporter des caractères non prêts dans la table des caractères (p. 39). Ces caractères peuvent être affichés mais ils ne peuvent pas être utilisés pour modifier une inscription. L'appareil ne prend pas en charge certains caractères. Si une inscription compte ces caractères, ils sont remplacés par d'autres caractères disponibles ou " *". Lors de la réception d'un appel durant la copie d'inscriptions du répertoire, la procédure de copie est interrompue. Essayer à nouveau après la fin de l'appel.
Paramétrage des codes de conversion
Il faut d'abord régler les 3 codes de composition suivants (max. de 4 chiffres chacun) avant de transférer le réseau téléphonique de votre téléphone cellulaire.
- "Code international": Un préfixe international utilisé lors d'un appel international. "Code Pays": Votre code de pays pour les appels internationaux.
- "Préfixe interurbain": Un préfixe interurbain ; le(s) premier(s) chiffre(s) à composer lors d'un appel national, avant l'indicatif régional.
Combé
2 Pour sauvegarder "Code international" : #117 Poursauvegarder "Code Pays" : #118 Pour sauvegarder "Prefixe interurbain" : #119 3 Entrez le numéro désiré. [SAUV.]
Nota :
- Après la copie des inscriptions, s'assurer que les numéros ont été correctement transférés.
Pour les utilisateurs androidtm
« Liaison cellulaire » est une application gratuite qui vous permet d'intégrer votre téléphone Android à votre téléphone DECT pour encore plus de confort. Important :
- Téléphone cellulaire doit prendre en charge la spécification SPP (Serial Port Profile). Activation/désactivation d'alertes Cette fonction avertit votre téléphone DECT lorsque les données ne donnent pas le résultat des résultats.
- [Calendrier Google]TM
- [Courriel]
- [Gmail]TM
- [Messages textes]
- [Facebook]
- [Twitter]
- Information [Pile faible]
Vous pouvez activer ou désactiver chaque type d'alerte (avis) avec l'application « Liaison cellulaire ». Si vous activez l'application d'alerte, votre téléphone DECT vous avertit avec des avis correspondants.
Rég. du téléphone
Avec un téléphone Android jumelé, vous pouvez programmer les réglages Reg. du téléphone suivants :
[Ajustement de l'heure] - Ligne cell. tableau] (p. 20) - [Code international], [Code de pays] et [Préfixe interurbain] (p. 64)
*1 Lorsque le téléphone Android jumelé se situe à portée du poste de base, les informations de date et d'heure sont mises à jour sur les affichages du combiné et du poste de base si la fonction de l'horodateur est activée sur votre téléphone Android.
Installation de l'application « liaison cellulaire
Les liens de téléchargement sont également disponibles sur la page Web ci-dessous.

www.panasonic.net/pcc/support/tel/appalerts

Première utilisation de l'application
1. S'assurer que la fonction Bluetooth de votre appareil Android est activée et que l'appareil Android est jumelé au poste de base. 2. Lancer l'application « Liaison cellulaire » en tapant sur son icône. 3. Suivre les instructions indiquées à l'écran.
Important :
- Pour plus de renseignements, se reporter aux instructions sur la page Web ci-dessus. L'utilisation de cette fonction est conditionné par les paramétrages suivants:
- Téléphone Android : Bluetooth doit être activé.
- Téléphone Android : [Gestionnaire d'alertes ]1 doit être activé.
- Combiné ou poste de base: "Avert. Oui/ Non"2"Avert. O/N"3 doit être activé (p. 65).
- En cas d'éché, activer Bluetooth sur votre appareil, débrancher l'adaptateur secteur du poste de base, puis le rebrancher. *1 Activation de [Gestionnaire d'alertes] Lorsque l'application « Liaison cellulaire » est installée, suivre la procédure suivante.
Android 2. x : Sur votre appareil, ouvrir l'appli [Paramètres]. Appuyer sur
[Accessibilité]. Cocher les cases
[Accessibilité] et [Gestionnaire d'alertes].
Android 4. x: Sur votre appareil, ouvrir l'appli [Paramètres]. Appuyer sur
[Accessibilité]. → Activer [Gestionnaire d'alertes].
2 Combiné 3 Poste de base
Exigences
- Un appareil Android (Android 2.1 ou une version ultérieure)
Avis de message texte (SMS)
Pour les utilisateurs iPhone et BlackBerry
Cette fonction vous avertit sur votre téléphone DECT de l'arrivée de messages SMS sur votre
téléphone cellulaire jumelé. L'application « Liaison cellulaire » n'est pas nécessaire pour les téléphones iPhone et BlackBerry.
Important :
- Voiture telphone cellulaire doit prendre en charge la Specification MAP (Message Access Profile). Pour plus de renseignements, se reporter aux instructions sur la page Web ci-dessous: www. panasonic. net/pcc/support/tel/sms/ L'utilisation de cette fonction est conditionné par les paramétrages suivants:
- Telephone iPhone et BlackBerry : Bluetooth doit être activé.
- Combiné ou poste de base: "Avert. Oui/ Non"1/Avert. O/N2 doit être activé (p. 65).
- En cas d'éché, activer Bluetooth sur votre appareil, débrancher l'adaptateur secteur du poste de base, puis le rebrancher.
1 Combiné 2 Poste de base
Réglages des avertissements pour votre téléphone DECT
Lorsqu'un téléphone cellulaire enregistré sur le poste de base reçoit des notifications, le combiné et/ou le poste de base peuvent vous en avertir :
-en affichant brièvement un message - par une annonce - en émettant des tonalités d'avertissement
Important :
- Pour les utilisateurs Android : Utiliser
l'application « Liaison cellulaire » pour activer les alertes désirées (p. 64).
Activation et déactivation des avertissements
Lorsqu'elle est activée, cette fonction vous prévient sur le combiné et le poste de base de l'arrivée de notifications sur le téléphone cellulaire.
-Oui *1/Activé2 (par défaut) : Le combiné et/ou le poste de base vous avertissent par annonce vocale. - "Non" ^1/4 Désactivé ^^2 : L'annexe vocale n'est pas disponible comme mode d'alerte.
Utilisation de dispositifs bluetooth®
Cette fonction peut être configurée à l'aide du poste de base ou de l'un des combinés.
1. Combiné 2. Poste de base
Combiné / poste de base
1 Pour CELL 1: [MENU]#6101 Pour CELL 2: [MENU]#6102 2 []: Sélectionner le paramètre désiré. → [SAUV.] 3 Effectuer la procédure selon l'appareil. Combiné : [OFF] Poste de base : [EXIT]
- À l'étape 1, vous pouvez également accéder au menu "Rég. avert." en maintenant enfoncée la touche [APP ALERTS] sur le poste de base.
Réglage de l'avertissement vocal
Vous pouvez activer ou désactiver l'avertissement vocal.
-Oui *1/Activé*² (par défaut) : Le combiné et/ou le poste de base vous avertissent par annonce vocale. -“Non” *1/1* “Désactivé” ² : L'annonce vocale n'est pas disponible comme mode d'advertisement.
Cette fonction peut être configurée à l'aide du poste de base ou de l'un des combinés.
1 Combiné 2 Poste de base
Combé/poste de base
1 Pour CELL 1: [MENU]#6031 Pour CELL 2: [MENU]#6032 2 [Sauv.] 3 Effectuer la procédure selon l'appareil. Combiné : [OFF] Poste de base : [EXIT]
Combé
1 Pour CELL 1: [MENU]#6041 Pour CELL 2: [MENU]#6042 2 []: Sélectionner le paramètre désirable.
3 [SAUV.] [OFF]
Désactivation temporaire des alertes (avis) Il est possible de désactiver temporairement les alertes en appuyant sur [APP ALERTS].
Poste de base
Appuyer sur [APP ALERTS] pour désactiver temporairement les alertes.
- Appfiche.
- Pour réactiver les alertes, appuyer une nouvelle fois sur [APP ALERTS].
Avec un casque d'écoute sans fil bluetooth (vendu séparation) pour les appels sur ligne terrestre
En enregistrant un casque Bluetooth auprès du poste de base, il est possible d'avoir des conversations mains libres lors d'appels sur ligne terrestre.
Important :
- Voiture casque sans fil Bluetooth doit prendre en charge la Specification profil de casque (HSP). 1 casque d'écoute peut être enregistré après du poste de base.
- Uniquement 2 dispositifs Bluetooth peuvent être utilisés simultanément avec l'appareil (par exemple, 2 lignes cellulaires, ou le casque et 1 ligne cellulaire). Pour des résultats optimaux, il est recommandé d'utiliser un casque d'écoute Bluetooth à l'intérieur de 1 m (3,3 pieds) du poste de base. Un casque d'écoute peut communiquer avec le poste de base à l'intérieur d'environ 10 m (33 pieds).
Important :
- S'assurer que le casque Bluetooth n'est pas connecté à un autre dispositif Bluetooth.
1 Voie d'écoute:
Régler votre casque en mode
d'enregistrement.
- Consulter le manuel d'utilisation du casque.
2 combiné :
MENU#621
3 Si le NIP de votre casque est "0000".
Passer à l'étape 4.
Si le NIP de votre casque est différent de
"0000", appuyez sur [ANNULER], faites entrer
le NIP de votre casque.
- En général, le NIP par défaut est "0000".
Consulter le manuel d'utilisation du casque.
Appuyer sur [OK], puis attendre l'émission de la tonalité prolongée.
5 [OFF]
Lorsque l'affiche sur le poste de
Le casque est prêt à utiliser.
Connexion/déconnexion d'un casque
Si la connexion entre le casque et le poste de base avec le casque n'est pas possible, il est possible d'utiliser le combiné pour effectuer la connexion. Pour utiliser votre casque avec un autre dispositif Bluetooth tel qu'un téléphone cellulaire, il peut être nécessaire de le déconnecter du poste de base.
Important :
S'assurer que le casque est mis en marche.
Combé
1. Pour connecter/déconnecter :
MENU#622
- Une tonalité prolongée est émise.
2 [OFF]
Désenregistrement d'un casque
Il est possible d'annuler l'enregistrement d'un casque auprès du poste de base.
Combé
1 [MENU]612
2 []: “Oui” → [SELEC.]
Lors du désenregistrement du casque, 8 disparaît de l'affichage sur le poste de base.
3 [OFF]
Fonctionnement d'un casque sans fil bluetooth avec une ligne terrestre
Important :
- Consulter le manuel d'utilisation du casque pour les directives de fonctionnement du casque.
Prise des appels sur une ligne terrestre avec votre casque
Pour prendre un appel sur ligne terrestre, appuyer sur la touche du casque téléphonique selon la procédure décrite dans le manuel d'utilisation du casque.
La conversation terminée, appuyer sur la touche du casque téléphonique selon la procédure décrite dans le manuel d'utilisation du casque.
Nota :
- Si la communication ne peut pas être coupée en utilisant le casque, appuyer deux fois sur la touche [ ] du poste de base.
Commutation entre le poste de base et votre casque
Il est possible de commuter entre le poste de base et votre casque :
- durant un appel sur ligne terrestre avec le haut-parleur du poste de base.
- durant une intercommunication entre le poste de base et le combiné.
- lors de l'écoute de messages enregistrés sur le répondeur du poste de base.
Pour commuter à votre casque :
Appuyer sur la touche [C] du poste de base.
Pour commuter au poste de base :
Appuyer sur la touche [4] du poste de base.
Partage des appels entre le casque et le combiné
Important :
Pour activer cette fonction, le mode privé doit avoir été désactivé au préalable (p. 50).
Lorsque le combiné est en communication avec un appel sur une ligne terrestre :
Pour vous joindre à la conversation avec votre casque, appuyez sur la touche du casque
Utilisation de dispositifs bluetooth®
téléphonique selon la procédure décrite dans le manuel d'utilisation du casque.
Lorsque voiture casque est en communication avec un appel sur une ligne terrestre : Pour se joindre à la conversation avec le combiné, appuyer sur [ ]
Poste de base
Appuyer à répétition sur [▲] ou [▼] en utilisant le casque.
Nota :
- En fonction de votre casque, le volume du récepteur peut ne pas être réglable.
Répondeur pour ligne terrestre
Le répondeur peut répondre aux appels à votre place et les enregistrer lorsque vous ne pouvez pas répondre aux appels.
Il est également possible de régler l'appareil de manière qu'il fasse entendre un message réponse sans enregistrer de message de la part du demandeur en sélectionnant "Msg-rep. seul." comme réglage de la durée d'enregistrement (p.75).
Important :
S'assurer que les réglages de la date et de l'heure sont justes (p. 16).
Capacité de la mémoire (incluant le message réponse)
Le temps total alloué à l'enregistrement est d'environ 16 minutes. Un maximum de 64 messages peut être enregistrés.
Lorsque la mémoire devient pleine :
"Mém. pleine" s'affiche sur l'afficheur du combiné et du poste de base. Le voyant ANSWER ON/OFF du poste de base clignote rapidement si le répondeur est activé.
- Si un message réponse préenregistré est utilisé, l'appareil passe automatiquement à un autre message réponse préenregistré informant les demandeurs de rappeler plus tard.
- Si un message réponse personnalisé a été enregistré, ce message sera entendu même si chaque message ne peut être enregistré.
Mise en/hors marche du répondeur
Poste de base
Appuyer sur [ANSWER ON/OFF] pour activer/désactiver le répondeur.
Combé
1. Pour activer :
[MENU]#327
Pour désactiver :
MENU#328
Note sur le poste de base et le combiné:
Lorsque le répondeur est activé, le voyant ANSWER ON/OFF sur le poste de base s'allume.
Message de réponse
Lorsque le répondeur prend un appel, le demandeur entend un message réponse.
Il est possible d'utiliser l'un ou l'autre des messages suivants :
- un message réponse personnalisé
- un message réponse préenregistré
Combé
1 [MENU]#302 2 []: "Oui" [SELEC.] 3 Après l'émission d'une tonalité, tenir le combiné à environ 20 cm (8 po) et parler clairement dans le micro (maximum de 2 minutes). 4 Appuyer sur [ARRET] pour mettre fin à l'enregistrement. → [OFF]
Utilisation d'un message réponse préenregistré
L'appareil offre le choix de 2 messages préenregistrés:
-Si le message de réponse est réinitialisé ou si aucun message personnalisé n'a été enregistré, l'appareil fait entendre un message enjoignant les demandeurs de laisser un message. -Si la durée d'enregistrement du message (p.75) est réglée à "Msg-rep. seul.", aucun message de la part des demandeurs
Répondeur pour ligne terrestre
n'est enregistré et l'appareil fait entendre un message de réponse préenregistré différent invitant les demandeurs à rappeler plus tard.
Réactivation du message réponse préenregistré
Si l'utilisateur désiste d'utiliser un message préenregistré après avoir enregistré son propre message réponse, son message personnalisé sera effacé.
Combé
1 [MENU]#304 2 [OUI] [OFF]
Combé
1 [MENU]#303 2 Pour quitter, appuyer sur [OFF].
Important :
Si vous fournisseur de services propose un service de messagerie vocale, il est possible que celui-ci réponde aux appels avant que le répondeur du poste de base n'ait l'occasion de décrocher et d'enregistrer les évventuels messages. Dans ce cas, les messages que vous vous attendez à recevoir sur votre répondeur sont enregistrés sur la messagerie vocale. Pour plus de renseignements, consulter "À l'intention des abonnés à un service de messagerie vocale sur la ligne terrestre" (p. 75). Lorsque vous utilisez le poste de base ou le combiné pour écouter des messages, la fonction de réduction de bruit (p. 25) est activée automatiquement, indépendamment du réglage effectué (NRS affiche pas).
Utilisation du poste de base
Lorsque de nouveaux messages ont été enregistrés:
- -ignite sur le poste de base.
- "Nouveau message" est affiché.
Appuyer sur (PLAY).
- Pendant la lecture, le voyant du poste de base s'allume.
- Si de nouveaux messages ont été enregistrés, le poste de base fait entendre les nouveaux messages.
- Si aucun nouveau message n'a été enregistré, le poste de base fait entendre tous les messages.
Fonctionnement du répondeur pendant la lecture de messages
| Touche Fonctionnement | |
| [▲] ou [▼] | Réglage du volume du haut-parleur |
| [Lecture en reprise du mes-sage*1 | |
| [Évitement du]message | |
| [PAUSE] Mise en pause du message. Pour poursuivre la lecture, appuyer sur [▶] | |
| [STOP) Arrêt de la lecture | |
| [ERASE] Suppression du message en cours de lecture | |
*1 Si la touche est pressée moins de 5 secondes après le début d'un message, le message précédent est lu.
Rappel (pour les abonnés au service d'affichage du demandeur seulement)
Utilisation d'une ligne terrestre : Appuyer sur [CELL 1] ou [CELL 2] pendant la lecture. Pour modifier le numéro avant le rappel, appuyer sur [MODIF.] à plusieurs reprises jusqu'à ce que le format désiré du numéro apparaisse (p. 62). Utilisation d'une ligne cellulaire :
Appuyer sur [CELL 1] ou [CELL 2] pendant la lecture.
Pour modifier le numéro avant le rappel, appuyer sur [MODIF.] à plusieurs reprises jusqu'à ce que le format désiré du numéro apparaisse (p. 62).
Suppression de tous les messages
Appuyer sur [ERASE] 2 fois pendant que l'appareil n'est pas utilisé.
Utilisation du combiné
Lorsque de nouveaux messages ont été enregistrés, "Nouv. message" s'affiche.
1 Écoute des nouveaux messages : [MENU]#323 Écoute de tous les messages : [MENU]#324 2 L'écoute terminée, appuyer sur [OFF].
Nota:
Pour remettre le récepteur en circuit, appuyer sur - Vous pouvez également utiliser la touche de fonction [LECT.] si elle est affichée pour écouter de nouveaux messages.
Fonctionnement du répondeur
[MENU] → [+] “Répondeur” → [SELEC.]
| Touche Fonctionnement | |
| [▲] ou [▼] | Réglage du volume du reçep- their/haut-parleur (pendant la lec- ture) |
| 1 ou [←] Répéter le message (pendant la lecture)*1 | |
| 2 ou [►] Évientement du message (pendant la lecture) | |
| 3 | Accès au menu "Paramètres" |
| 4 Lecture des nouveaux messages | |
| 5 Lecture de tous les messages | |
| 6 Lecture du message réponse | |
| 76 Enregistrement du message ré- ponse | |
| 8 Mise en marge du répondeur | |
| [PAUSE] | Pause du message*2 |
| 9 ou [ARRÊT] | Arrêt de l'enregistrement Arrêt de la lecture |
| 0 Mise hors marche du répondeur | |
| Touché Fonctionnement | |
| 43 | Suppression du message en cours de lecture |
| 5 Suppression de tous les messages | Réactivation du message réponse préenregistré |
1 Si la touche est pressée moins de 5 secondes après le début d'un message, le message précédent est lu. 2 Pour poursuivre la lecture : [▲] : “Lecture” → [SELEC.] *3 Il est également possible de supprimer comme suit :
$$ \begin{array}{l} [ \text {P A U S E} ] \rightarrow [ \downarrow ]: ^ {\prime \prime} \text {S u p p r i m e r} ^ {\prime \prime} \rightarrow \ [ \text {S E L E C.} ] \rightarrow [ \downarrow ]: “ O u i ” \rightarrow [ \text {S E L E C.} ] \ \end{array} $$
Rappel (pour les abonnés au service d'affichage du demandeur seulement)
Utilisation d'une ligne terrestre :
1 Appuyer sur [PAUSE] pendant la lecture. 2 [] : “Rappel” → [SELEC.]
Utilisation d'une ligne cellulaire :
1 Appuyer sur [PAUSE] pendant la lecture. 2 [] : "Rappel (Cell)" → [SELEC.]
L'appareil lance la composition lorsque : - seulement 1 téléphone cellulaire est enregistré. - une ligne spécifique est réglée pour faire des appels cellulaires (p. 21).
3 [S] : Sélectionner le téléphone cellulaire
désiré. → [SELEC.]
Modification d'un numéro avant le rappel
Utilisation d'une ligne terrestre :
1 Appuyer sur [PAUSE] pendant la lecture. 2 []: "Modification et appel" → [SELEC.] 3 Appuyer à répétition sur [MODIFIER] jusqu'à ce que le numéro de téléphone soit affiché dans le format désiré (p. 61).
4 Utilisation d'une ligne cellulaire :
Répondeur pour ligne terrestre
1 Appuyer sur [PAUSE] pendant la lecture. 2 []: "Modification et appel" → [SELEC.] 3 Appuyer à répétition sur [MODIFIER] jusqu'à ce que le numéro de téléphone soit affiché dans le format désiré (p. 61). 4 [CELL.]
L'appareil lance la composition lorsque : -seulement 1 téléphone cellulaire est enregistré. -une ligne spécifique est réglée pour faire des appels cellulaires (p.21).
5 [S] : Sélectionner le téléphone cellulaire désiré. → [SELEC.]
Suppression de tous les messages
1 [MENU] #325 2 [] : “Oui” → [SELEC.] → [OFF]
Avis sonore de réception de message
Cette fonction permet l'émission de tonalités sur le poste de base pour l'avertissement de la réception d'un nouveau message. Le poste de base émet une tonalité 2 fois à toutes les minutes jusqu'à l'écoute des messages lorsque le paramétrage de "Bip sur poste de base" est activé. Par défaut, le réglage est sur "Désactivé".
Combé
1 [MENU] #339 2 [Sauv.] → [OFF]
Avis téléphonique de nouveau message
Cette fonction permet l'envoi d'un avis quand de nouveaux messages sont enregistrés. Le poste de base achemine l'avis à un numéro de téléphone que vous définissez. Vous pouvez alors
commander le répondeur à distance pour écouter les nouveaux messages.
Pour utiliser cette fonction, il est nécessaire de : - sauvegarder le numéro de téléphone auquel l'appareil doit acheminer l'avis. - activer le paramétrage de l'avis de nouveau message.
Après la réception de l'avis de nouveau message, il est possible de faire l'écoute des messages à distance (p. 73).
Cette fonction est disponible uniquement avec une ligne terrestre.
Important :
Un avis de nouveau message est arrêté 1 minute après l'acheminement de l'avis par l'appareil. L'appareil ne tente pas de réacheminer l'avis même s'il n'est pas reçu.
Combé
1 [MENU]#338
2 []: "Notification à" → [SELEC.] → [AJOUTER] 3 []: "Répertoire" → [SELEC.] 4 []: Sélectionner l'inscription désirée au répertoire. → [SAUV.] → [OFF]
En composant un numéro de téléphone :
1 [MENU] #338 2 []: "Notification a" → [SELEC.] → [AJOUTER] 3 []: "Manuel" → [SELEC.] 4 Entrer le nom désiré (max. de 16 caractères). → [OK] 5 Entrer le numéro désiré (max. de 24 chiffres). → [OK] → [SELEC.] → [OFF]
Combé
1 [MENU]#338
2 []: "Active/Désact" → [SELEC.] 3 [ ] : Sélectionner le paramètre désiré. → [SAUV.] → [OFF]
Combé
1 [MENU]#338 2 [ ] : "Notification a" [SELEC.] 3 [MENU] []: "Modifier" [SELEC.] 4 Au besoin, modifier le nom (max. de 16 caractères). → [OK] 5 Au besoin, modifier le numéro de téléphone (max. de 24 chiffres). [OK] [SELEC.] [OFF]
Combé
1 [MENU] → 338 2 []: "Notification à" → [SELEC.] 3 [MENU] → []: "Supprimer" → [SELEC.] 4 []: “oui” → [SELEC.] → [OFF]
Le paramétrage de l'avis de nouveau message est désactivé.
Activation/désactivation du code de commande à distance pour la lecture des messages
Lors de l'activation de cette fonction, le code d'accès à distance doit être entré (p. 73) pour effectuer la lecture d'un nouveau message à partir de l'avis de nouveau message. Ceci prévient l'écoute des messages par une personne non autorisée. Par défaut, le réglage est sur "Désactiver".
- "Désactiver": Il est possible de faire la lecture du message en appuyant sur ④ pour faire la lecture des nouveaux messages (sans avoir à entrer le code de commande à distance).
- "Activer": Il est nécessaire d'entrer le code d'accès à distance puis d'appuyer sur ④ pour faire la lecture du nouveau message.
Combé
1 [MENU]#338 2 [] : "Code distance" [SELEC.] 3 [S]: Sélectionner le paramètre désiré. → [SAUV.] → [OFF]
Écoute des messages
Après la réception de l'avis de nouveau message, il est possible de faire l'écoute des messages comme suit.
Lorsque le code d'accès à distance est réglé sur "Désactiver": Appuyer sur ④ pour faire l'écoute du nouveau message durant la notification. Lorsque le code d'accès à distance est réglé sur "Activer":
1. Entrer le code d'accès à distance (p. 73) durant la notification. 2. Appuyer sur ④ pour faire l'écoute du nouveau message.
- Pendant les 10 secondes qui suivent l'écoute de nouveaux messages, il est possible d'appuyer sur #9 durant la notification pour désactiver la fonction d'avis de nouveau message.
- Même si l'appareil achève l'avis de nouveau message, il ne figure pas sur la liste de recomposition sur le combiné. Cependant, la liste de recomposition sur le poste de base indique "Avis message".
Commande à distance
Il est possible, depuis un téléphone à clavier, d'accéder au répondeur et d'écouter les messages ou de modifier le paramétrage du répondeur. Le guide vocal enjoint l'utilisateur d'appuyer sur certaines touches pour exécuter diverses opérations.
Code de commande à distance
Pour piloter le répondeur depuis un téléphone distant, il est nécessaire d'entrer un code d'accès à distance à 3 chiffres. Ce code prévient l'écoute des
Répondeur pour ligne terrestre
messages par une personne non autorisée. Par défaut, le réglage est sur "111".
Important :
- Afin de prévenir l'accès non autorisé à cet appareil, il est recommandé de modifier régulièrement le code de commande à distance.
Combé
1 [MENU] #306 2 Entrer un code de commande à distance à 3 chiffres. 3 [SAUV.] → [OFF]
Désactivation de la commande à distance
Appuyer sur à l'étape 2 de "Code de commande à distance", p. 73.
Le code de commande à distance en mémoire est supprimé.
Commande à distance du répondeur
1 Composer le numéro de téléphone de la ligne terrestre avec un téléphone à tonalité. 2 Après le début de la lecture du message réponse, entrez le code de commande à distance. 3 Suivre les commandes du guide vocal ou piloter l'appareil à l'aide des commandes à distance (p. 74). 4 L'écoute terminée, raccrocher.
Guide vocal
Au cours de l'opération de commande à distance, le guide vocal de l'appareil est activé et enjoint l'utilisateur d'appuyer sur ① pour exécuter une commande donnée ou sur ② pour écouter d'autres options disponibles.
- Si aucune touche n'est pressée dans un délai de 10 secondes après une invite vocale, l'appareil coupe la communication.
Commandes à distance
Il est possible d'appuyer sur certaines touches pour accéder à des fonctions du répondeur sans attendre une invite vocale.
| Touche Fonction | I'onnancement |
| 1 Répéter le message (pendant la lecture)1 | |
| 2 Évitement du message (pendant la lecture) | |
| 4 Lecture des nouveaux messages | |
| 5 Lecture de tous les messages | |
| 9 Arrêt de la lecture | |
| 0 Mise hors marche du répondeur | |
| *4 Suppression du message en cours de lecture | |
| *5 Suppression de tous les messages | |
| *# Fin de la commande à distance (ou raccrocher) | |
Si la touche est pressée moins de 5 secondes après le début d'un message, le message précédent est lu.
Mise en marche du répondeur à distance
1 Composer le numéro de téléphone depuis un téléphone à tonalité.
2 Laisser le téléphone sonner 15 coups.
- Un bip prolongé est entendu.
3 Entrer le code de commande à distance en moins de 10 secondes après la tonalité prolongée.
- Le répondeur fait entendre le message réponses. Il est possible soit de raccrocher, soit de rentrer de nouveau le code de commande à distance pour débuter la commande à distance (p. 73).
Combé/poste de base
Pendant qu'un demandeur enregistre son message, il est possible d'entendre le demandeur sur le haut-parleur de l'appareil.
Pour régler le volume du haut-parleur, appuyer sur [A] ou [V] à plusieurs reprises.
Il est possible de prendre l'appoint en appuyant sur la touche [ ] du combiné ou sur la touche [ ] du poste de base.
Le filtrage des appels peut être réglé pour chaque appareil. Par défaut, le réglage est sur "Activé".
1 [MENU] #310 2 [Sauv.] 3 Effectuer la procédure selon l'appareil. Combiné : [OFF] Poste de base : [EXIT]
Nombre de coups de sonnerie avant la prise de l'appoint
Il est possible de modifier le réglage du nombre de coups de sonnerie "Nbre sonneries" avant
L'activation du répondeur. Il est possible de sélectionner 2 à 7 coups de sonnerie, ou "Économiseur frais".
Par défaut, le réglage est sur "4 coups". "Économiseur frais" : Le répondeur de l'appareil prend l'appel après le 2e coup de sonnerie si de nouveaux messages ont été enregistrés, et après le 5e coup en l'absence de nouveaux messages. Si l'appel est fait depuis un téléphone à distance pour faire l'écoute des nouveaux messages (p. 74), l'utilisateur sait qu'aucun nouveau message n'a été enregistré lorsque le 3e coup de la sonnerie se fait entendre. Il est alors possible de raccrocher sans aucuns frais.
Combé
1 [MENU]#211 2 [S] : Sélectionner le paramètre désiré. → [SAUV.] → [OFF]
À l'intention des abonnés à un service de messagerie vocale sur la ligne terrestre
Lors d'un abonnement à un bouquet de services offert à un tarif forfaitaire comprenant l'affichage des appels, les appels en attente, la messagerie vocale et un nombre illimité d'appels locaux/interurbains, il est à noter ce qui suit :
Pour utiliser le service de messagerie vocale de votre fournisseur de services au lieu du répondeur de cet appareil, désactiver le répondeur (p. 69). Pour utiliser le répondeur intégré plutôt que le service de messagerie vocale de votre fournisseur de services, prendre contact avec le fournisseur de services téléphoniques pour désactiver le service de messagerie. Si votre fournisseur de service téléphonique ne peut pas désactiver son système :
- Régler le paramétrage "Nbre sonneries" de cet appareil de telle sorte que le répondeur prenne tous les appels avant que la messagerie vocale de votre fournisseur de services ne s'active. Il est nécessaire de vérifier le réglage du nombre de coups de sonnerie du service de messagerie vocale proposé par votre fournisseur de services téléphonique avant d'effectuer ce réglage.
- Modifier le réglage du nombre de coups de sonnerie nécessaire à l'activation de la messagerie de telle sorte que le répondeur puisse s'enclencher en premier. Pour ce faire, consulter vosures fournisseur de services.
Durée d'enregistrement des messages des demandeurs
Il est possible de modifier la durée maximale allouée aux messages de chaque demandeur. Par défaut, le réglage est sur "3 min".
Combé
1 [MENU] #305 2 [] : Sélectionner le paramètre désiré. → [SAUV.] → [OFF]
Sélection de "Msg-rep. seul."
Il est possible de sélectionner "Msg-rep. seul." qui fait entendre un message réponse aux
Répondeur pour ligne terrestre
demandeurs mais ne leur permet pas d'enregistrer un message.
Sélectionner "Msg-rep. seul." à l'étape 2 de
"Durée d'enregistrement des messages des demandeurs", p. 75.
Lorsque "Msg-rep. seul." est sélectionné :
- Si aucun message personnalisé n'a été enregistré, l'appareil fait entendre le message préenregistré invitant les demandeurs à rappeler plus tard.
- Si un message personalisé est enregistré, enregistrer le message réponse seulement invitant les demandeurs à rappeler plus tard (p. 69).
Service de messagerie vocale pour ligne terrestre
La messagerie vocale est un service de réponse électronique proposé par votre fournisseur de services. Si vous êtes abonné à ce service, le système de messagerie vocale de votre fournisseur de services répond automatiquement aux appels lorsqu'la ligne est occupée ou si personne n'est disponible pour y répondre. Les messages sont enregistrés par leur fournisseur de services et non par tout appareil. Communiquez avec ce fournisseur de services pour de plus amples renseignements sur ce service.
Important :
Pour utiliser le service de messagerie vocale de votre fournisseur de services plutôt que le répondeur de cet appareil, désactiver le répondeur (p. 69). Pour obtenir des détails, consulter la p. 75.
Mise en mémoire du numéro du code d'accès à la messagerie vocale (MV)
Pour écouter les messages dans la boîte vocale, le numéro du code d'accès de la messagerie vocale de votre fournisseur de services doit être composé. Lorsque vous avez programmé votre code d'accès à la messagerie vocale, la composition du numéro peut s'effectuer automatiquement (p. 78).
Combé
2 Entrer votre numéro du code d'accès (max. de 24 chiffres). [SAUV.] [OFF]
- Lors de la mise en mémoire du code d'accès à la messagerie vocale et du mot de passe de votre boîte vocale, appuyez sur [▲] (Pause) pour insérer des pauses (p. 24) entre le numéro du code d'accès et le mot de passe, si nécessaire. Consultez votre fournisseur de services téléphoniques pour connaître la durée de pause requise.


Combé
2 Appuyer et maintenir enfoncée la touche [ANNULER] jusqu'à ce que tous les chiffres soient effacés. → [SAUV.] → [OFF]
Reconnaissance des tonalités de la messagerie vocale (MV)
Votre fournisseur de services envoie des signaux spéciaux (parfois appelés "tonalités de messagerie vocale" ou "tonalités saccadées") à l'appareil pour signaler qu'un nouveau message vocal a été enregistré. Si vous entendez une suite de tonalités suivie d'une tonalité continue après avoir appuyé sur la touche [du combiné ou appuyé sur la touche [du poste de base, c'est qu'un nouveau message a été enregistré. Peu après la fin d'un appel ou après la fin de la sonnerie, votre appareil vérifie automatiquement si un nouveau message vocal a été enregistré sur la messagerie vocale.
Désactiver cette fonction lorsque :
-Aucun abonnement n'a été souscrit à un service de messagerie vocale. -Votre fournisseur de service téléphonique n'émet pas de tonalités de messagerie vocale. - Le téléphone est relié à un autocommutateur privé (PBX).
En cas de doute concernant le réglage approprié, communiquer avec votre fournisseur de service téléphonique.
Généralités
Activation/désactivation de la fonction de reconnaissance de tonalité de messagerie vocale (MV)
Par défaut, le réglage est sur "Activé".
Combé
1 [MENU]#332 2 [S]: Sélectionner le paramètre désiré. → [SAUV.] → [OFF]
Écoute des messages vocaux
Lorsque de nouveaux messages ont été enregistrés, "Msg vocal de comp. tel."1/ "Msg vocal"2 est affiché si le service d'avis de message est disponible.
Combiné Poste de base
Combé
1 [MENU]#330
Le mode mains libres est activé.
2. Suivre les instructions préenregistrées. 3. L'écoute terminée, raccrocher.
- Vous pouvez également utiliser la touche de fonction [ACCÉS] si elle est affichée pour écouter de nouveaux messages vocaux.
Porte-de-base
Pour écouter les messages de la boîte vocale, le numéro du code d'accès de la messagerie vocale doit être composé manuellement.
Note sur le poste de base et le combiné:
Si le poste de base et le combiné continuent à indiquer la présence de nouveaux messages même s'ils ont tous été entendus, désactiver cette indication en maintenant une pression sur la touche # jusqu'à ce qu'une tonalité se fasse entendre sur le combiné ou le poste de base.
Installation murale
Le poste de base peut être installé au mur en modifiant la position de l'adaptateur de montage mural.
- S'assurer que le mur et la méthode de fixation peuvent supporter le poids de l'appareil.
Poste de base
1 Pour retirer l'adaptateur de montage mural, appuyer sur les leviers de dégagement (1). Retirer l'adaptateur (2).

2 ① Tourner l'adaptateur afin que les mots "UP WALL" soient sur le dessus.
② Insérer le cordon de ligne téléphonique dans l'adaptateur de montage mural. ③ Brancher le cordon de l'adaptateur secteur et le cordon de ligne téléphonique.


3 Insérer les languettes inférieures de l'adaptateur dans les fentes sur le dessous de l'appareil (1), puis insérer en appuyant sur les leviers de l'adaptateur dans les fentes supérieures (2).
- Les mots "UP WALL" devraient être sur le dessus.

Chargeur
Insérer les vis (A) (vendues séparément) dans le mur.
3 27.2 mm (11/16 po)

Installer l'appareil sur le mur, puis le faire glisser vers le bas en position.
- Ce produit est conforme aux tailles de plaque murale suivantes (2 types). A 83 mm (31/4 po) B 102 mm (4 pouces)
Faire rentrer les fentes de l'appareil sur les pattes de la plaque murale du téléphone pour (C) et (D) respectivement.


Messages d'erreur
| Message Cause et solution | |
| Deman. votre code accès messages.vocale | • Le numéro du code d'accès à la messagerie vocale n’a pas été programmé. Programmer le numéro (p. 77). |
| Base h-march. ou Échec lien. reconnecter adap. sect. ou Échec lien | • Vérifier si l'adaptateur secteur du poste de base est branche correctement à la fois sur la base et sur la prise de cou- rant. • La communication entre le combiné et le poste de base a été coupée. Rapprocher le combiné du poste de base et dessayer. • Débrancher l'adaptateur secteur du poste de base pour ré-initialiser l'appareil. Rebrancher l'adaptateur et dessayer. • Il se peut que l'enregistrement du combiné ait été suppri- me. Ré-enregistrer le combiné (p. 57). • Si le message “Échec lien” est affiché pendant une pan- ne de courant, placer un combiné sur le poste de base pour alimenter le poste de base. |
| Occupé | • Aucun téléphone cellulaire n'est enregistré auprès du poste de base. Enregistrer un téléphone cellulaire (p. 18). • L'applièil appelé est occupé. • D'autres combinés sont utilisés et le système est utilisé. Dessayer plus tard. • Le combiné utilisé est trop loin du poste de base. Se rap- procher du poste de base et essayer de nouveau. • Uniquement 2 dispositifs Bluetooth peuvent être utilisés si- multanément avec l'applièil (par exemple, 2 lignes cellulaires, ou le casque et 1 ligne cellulaire). |
| Vérifier ligne | • Le cordon de ligne téléphonique fourni n’a pas encore été inséré ou n’a pas été inséré correctement. Vérifier les rac- cordements (p. 11). • Si le cordon de ligne téléphone n’est pas connecté lors de l'utilisation de ligne cellulaire seulement, régler le mode li- gne cellulaire seulement (p. 20). |
| Erreur!! | • L'enregistrement était trop court. Recommencer. • Quelqu'un utilise une ligne cellulaire ou un casque. Res-sayer plus tard. • La copie du réseau ne s'est pas terminée (p. 63). Le téléphone cellulaire est déconnectée du poste de base. S’assurer que les autres appar兼ils Bluetooth ne sont pas con-nectés au téléphone cellulaire et essayer à nouveau. |
| Échoué | • Bien que l'applièil ait essayé de se connecter au télépho- ne cellulaire ou au casque, la connexion n’a pas réussii. - Quelqu'un utilise une ligne cellulaire ou un casque. Res-sayer plus tard. - S’assurer que le téléphone cellulaire ou le casque n’est pas connecté à un autre dispositif Bluetooth. |
Généralités
| Message Cause et solution | |
| Non valide | Aucun combiné correspondant au nombre de combiné conposé n'est enregistré auprès du poste de base.Lé combiné n'a pas été enregistré auprès du poste de base.Enregistrer le combiné (p. 57). |
| Necessite abonn.iddem. | Il est nécessaire de souscrite à un service d'affichage du demandeur. Lorsque des informations sur le demandeur sont reçues à l'occasion d'un appel après avoir souscrit à un service d'affichage du demandeur, ce message ne sera pas affchéé. |
| Utiliser des piles recharg. | Le type des piles introduites est incorrect (piles alcalines ou au manganèse). N'utiliser que les piles Ni-MH rechar-geables indiquées aux p. 5, 8. |
Guide de dépannage
Si les difficultés persistent après avoir suivi les instructions dans cette section, déconnecter puis reconnecter l'adaptateur secteur du poste de base. Retirer les piles rechargeables Ni-MH du combiné, puis les insérer à nouveau.
Divers
| Problème Cause et solution | |
| Le combiné ne fonctionne pas même après avoir installé des piles chargées. | Déposer le combiné sur le poste de base ou sur le chargeur pour lemettre en marche. |
| L'appareil ne fonctionne pas. S'assurer que les piles sont installées correctement (p. 11). Recharger complètement les piles (p. 12). Vérifier les raccordements (p. 11). Débrancher l'adaptateur secteur du poste de base pour réinitialiser l'appareil. Rebrancher l'adaptateur et dessayer. Le combiné n'a pas été enregistré au poste de base. Enregistre le combiné (p. 57). | |
Généralités
| Problème Cause et solution | |
| Enregistrement impossible du téléphone cellulaire auprès du poste de base. | • Selon la compatibilité du téléphone cellulaire, il pourrait ne pas être possible de l'enregistre jusqu'à partir de base. Confirmer que votre téléphone cellulaire prend en charge le profil mains libres (HFP). • Confirmer que la fonction Bluetooth de votre téléphone cellulaire est activée. Selon le téléphone cellulaire, cette fonction peut de voir être activée. • La technologie Bluetooth de votre téléphone cellulaire pourrait ne pas fonctionner normalement. Mettre le téléphone cellulaire hors marche, puis en marche. • Si votre téléphone cellulaire est déjà connecté à un autre dispos-sitif Bluetooth, tel un casque Bluetooth,mettre le casque hors marche ou le déconnecter de votre téléphone cellulaire. • Certains téléphones cellulaires peuvent nécessiter l'entrée du NIP Bluetooth pour les enregistrer. Confirmer que le bon NIP a été entrez. |
| Impossible de connecter un téléphone cellulaire au poste de base. | • Confirmer que le téléphone cellulaire est en marche. • Confirmer que votre téléphone cellulaire est dans la portée du poste de base (p. 14). • La fonction Bluetooth de votre téléphone cellulaire est désacti-vee. Activer cette fonction. • Selon l'état de l'environnement sans fil, comme en présence d'interfERENCE électrique, il pourrait y avoir un-delai même si la fonction de connexion automatique est activée. Il est possible de connecter manuellement le poste de base (p. 20). • Le téléphone cellulaire n'a pas été enregistré jusqu'à partir du poste de base. Enregistrer le téléphone cellulaire (p. 18). • Si votre téléphone cellulaire est déjà connecté à un autre appa-reil Bluetooth comme un casque Bluetooth ou un autre télépho-ne DECT de Panasonic, déconnecter l'appareil, puis effectuer la procédure de connexion au poste de base. • Si votre téléphone cellulaire est déjà enregistré jusqu'à un autre téléphone DECT de Panasonic, cette fonction ne fonctionne pas correctement. Nous recommendons fortement de supprimer l'enregistrement de ce téléphone de votre téléphone cellulaire ainsi que de l'autre téléphone DECT de Panasonic. |
| Absence de tonalité de manoeuvre. | • S-assurer que le voyant CELL s'allume (p. 15). • L'adaptateur secteur du poste de base ou le cordon de ligne téléphonique n'est pas branché. Vérifier les raccardements. • Débrancher le poste de base de la ligne téléphonique et y bran-cher un téléphone en bon état. S'il fonctionne normalement, communier avec un centre de service Panasonic pour faire répa-rer l'appareil. Si le téléphone en bon état ne fonctionne pas adé-quatement, communier avec le fournisseur de services. |
| Des tonalités sont émises sur le combiné. | • Des nouveaux messages ont été enregistrés. Écouter les nouvel-veaux messages (p. 70). |
Liste du menu
| Problème Cause et solution | |
| La langue d'affichage est dans une langue non compréhensible. | • Modifier la langue d'affichage (p. 16). |
| Enregistrement du combiné au poste de base impossibly. | • Le nombre maximum de combinés (6) a déjà été enregistrré au- près du poste de base. Désenregistrrer du poste de base les com binés non utilisés (p. 58). |
Recharge des piles
| Problème Cause et solution | |
| Le combiné émet une tonalité par intermittence et/ou clignote. | Les piles sont faibles. Recharger complètement les piles (p. 12). |
| Les piles ont complètement été chargées, mais - d'emploi toujours, - s'affiche, ou - l'autonomie semble plus courte. | Nettoyer les extrémités des piles (+) et les contacts de recharge avec un chiffon sec, puis recharger à nouveau. Les piles doivent être replacées (p. 11). |
Appels entrants/sortants, intercommunications
| Problème Cause et solution | |
| s'affiche. | Le combiné est trop éloigné du poste de base. Rapprocher le combiné du hub.L'adaptateur secteur du poste de base n'est pas bien connecté.Refaîre la connexion de l'adaptateur secteur au poste de base.Le combiné n'a pas été enregistré auprès du poste de base. Enregistrer le combiné (p. 57). |
| Présence de bruit et d'interfERENCE. | Le combiné ou le poste de base est utilisé dans un endroit soumis à une forte interférence radioélectrique. Éloigner le combiné ou le poste de base de toute source potentielled'interfERENCE.Rapprocher le combiné du poste de base.Si l'appareil est branché à une ligne utilisant le service DSL/ADSL, il est recommendé de connecter un filtre antiparasite entre le poste de base et la prise de téléphone. Communiquer avec le fournisseur de service DSL/ADSL pour de plus amples renseignements. |
| Aucune sonnerie émise sur le com-biné ou le poste de base. | Le volume de la sonnerie pour la ligne terrestre est désactivé.Ajuster le volume de cette sonnerie (p. 24, 31, 48, 52).Le volume de la sonnerie pour la ligne cellulaire est désactivé.Ajuster le volume de cette sonnerie (p. 24, 31, 46, 51).L'appareil, qui n'est pas séLECTIONné pour sonner à l'arrivée d'apels cellulaires, ne sonne pas. Pour modifier la selection, consul-ter la p. 19.Le mode de nuit est activé. Le désactiver (p. 54). |
Généralités
| Problème Cause et solution | |
| Impossible de faire des appeals locaux avec le combiné ou le poste de base avec la ligne cellulaire. | Il est nécessaire d'ajouter le code régional pour faire des appeals cellulaires. Mémoriser votre code régional afin de pouvoir l'ajouter automatiquement au début d'un numéro de téléphone à 7 chiffres lors d'appels cellulaires (p. 21). |
| Impossible de faire ou prendre des appeals cellulaires avec le combiné ou le poste de base. | Selon la compatibilité du téléphone cellulaire (p. 6), il pourrait ne pas être possible de faire ou de prendre les appeals cellulaires même si le téléphone cellulaire est connecté au poste de base.S'assurer que levoyant CELL s'allume et que le téléphone cellulaire est enregistré auprès du poste de base (p. 20).Uniquement 2 dispositifs Bluetooth peuvent être utilisés simultanément avec l'ordinateil (par exemple, 2 lignes cellulaires, ou le casque et 1 ligne cellulaire).Le téléphone cellulaire estprésentement utilisé séparément de votre système. |
| Il est possible de faire ou receiveoir des appeals cellulaires mais aucun son n'est entendu. | La technologie Bluetooth de votre téléphone cellulaire pourrait ne pas fonctionner normalement. Mettre le téléphone cellulaire hors marche, puis en marche.Débrancher et rebrancher l'adaptateur secteur du poste de base et essayer à nouveau. |
| Impossible de commuter les ap-pels cellulaires de cet apparéil au téléphone cellulaire. | Votre téléphone cellulaire pourrait ne pas prendre cette fonction en charge. Consulter le manuel d'utilisation de votre téléphone cellulaire. |
| Impossible de passer un appel avec la ligne terrestre. | Le mode de composition sélectionné ne convient peut-être pas.Modifier le paramétrage (p. 17). |
| Je ne peux pas utiliser de ligne cel-lulaire ou de ligne terrestre. | L'ordinateil peut être utilisé pour communiquer sur 2 lignes simulanternement (par exemple, 2 lignes cellulaires, ou la ligne terrestre et 1 ligne cellulaire). |
| Impossible de faire un appel inter-urbain. | S'assurer que le service interurbain est disponible. |
Affichage du demandeur/identification vocale du demandeur
| Problème Cause et solution | |
| Les renseignements sur le demandeur ne sont pas affichés. | • Un abonnement au service d'affichage du demandeur est re-quis. Communquier avec votre fournisseur de service téléphonique pour de plus amples renseignements.• Si l'appareil est raccordé à un autre équipement téléphonique telqu'un dispositif d'affichage ou une prise de téléphone sans fil,brancher l'appareil directement dans la prise murale.• Si l'appareil est branché à une ligne utilisant le service DSL/ADSL, il est recommendé de connecter un filtre antiparasite entre le poste de base et la prise de téléphone. Communquieravec le fournisseur de service DSL/ADSL pour de plus amplex renseignements.Le service d'affichage du nom du demandeur peut ne pas être disponible dans certaines régions pour les appel sur ligne terrestre. Communquier avec votre fournisseur de service téléphonique pour de plus amples renseignements.D'autres apparèils téléphoniques créé peut-être de l'interférencé. Les débrancher et essayer à nouveau. |
| Les renseignements sur le demandeur sont affichés ou énoncés tardivement. | • Selon votre fournisseur de services, l'appareil peut afficher ou di fuser les renseignements concernant le demandeur à partir du 2e coup de sonnerie ou après.Rapprocher le combiné du poste de base. |
| Les renseignements sur le demandeur ne sont pas énoncés. | • Le volume de la sonnerie pour la ligne terrestre est désactivé.Ajuster le volume de cette sonnerie (p. 48, 52).• Le volume de la sonnerie pour la ligne cellulaire est désactivé.Ajuster le volume de cette sonnerie (p. 46, 51).• L'appareil, qui n'est pas sélectionné pour sonner à l'arrivée d'apels cellulaires, ne diffuse aucun renseignement concernant le demandeur. Pour modifier la sélection, consulter la p. 19.La fonction d'identification vocale a été désactivée. LaMETTE en marche (p. 48, 52).La sonnerie en tant que mode cellulaire a été réglicée à "Activé(sans id. vocale)". Pour modifier le mode, consulter la p. 19.Les nombre de coups de sonnerie pour le répondeur est réglicé "2coups" ou "Économiseur frais". SéLECTIONNER un autre pa-ramètre (p. 75).Votre apparéil n'énonce pas les informations du demandeur quand d'autres disposits comme un casque ou des combinés participent à un appel. |
| Il est impossible de composer le numéro modifié dans la liste des démandeurs. | • Le numéro composé peut avoir été modifié dans un mauvais for-mat (par exemple, le "1" pour l'interurbain ou le code régional est manquant). Modifier le numéro de téléphone avec une struc-ture différente (p. 61). |
| L'indication de l'heure est décalée. | • Des informations incorrectes d'horodateur ont été téléchargées du service d'affichage du demandeur. Régler l'horodateur à "Manuel" (désactifé) (p. 48). |
Généralités
| Problème Cause et solution | |
| Les renseignements concernant le 2e demandeur ne sont pas affi-chés pendant une conversation avec un interlocuteur externe. (La fonction d'affichage d'applen en at- tente ne fonctionne pas.) | Pour pouvoir utiliser les services d'identification du demandeur, d'applen en attente ou d'affichage d'applen en attente, il est nécess-saire de souscrire à ces services auprès du fournisseur de servi-ces téléphoniques. Cela fait, il sera peut-être nécessaire de reprendre contact avec le fournisseur de services téléphoniques pour activer cette fon-c tion. |
Avec des dispositifs bluetooth
| Problème Cause et solution | |
| Copie impossible des inscriptions du réseau d'un téléphone cellulaire. | • Confirmer que le téléphone cellulaire prend en charge la technologie sans fil Bluetooth. • Confirmer que le téléphone sans fil prend en charge les specifications du profil PBAP (Phone Book Access Profile) ou OPP (Object Push Profile). • Si le téléphone cellulaire est déjà connecté à un autre dispositif Bluetooth tel qu'un casque Bluetooth, leMETTEHORSEou le déconnecter du téléphone cellulaire. • Quelqu'un utilise une ligne cellulaire ou un casque. Ressayer plus tard. • Mettre le téléphone cellulaire hors marche, puis en marche et es sayer à nouveau. • Si une inscription est déjà sauvégardée dans le réseau partagé de cet apparéil, cette inscription ne peut pas être copié, même en sélectionnant un autre groupe. • L'iPhone ne prend pas en charge la copie individuelle des inscriptions d'un réseau. |
| Le casque d'écoute ne fonctionne pas. ou Connexion impossible du casque d'écoute au poste de base. | • Confirmer que le dispositif sans fil Bluetooth prend en charge la Specification profil de casque (HSP). • VoitracaseBluetooth n'est pas enregistré. Enregistrer le casque (p. 66). • Mettre le casque hors marche, puis en marche et essayer à nouveau. • Si le casque est déjà connecté à un autre dispositif Bluetooth tel qu'un téléphone cellulaire, déconnecter le casque du téléphone cellulaire, puis effectuer la procédure de connexion à partir du poste de base. • Uniquement 2 dispositifs Bluetooth peuvent être utilisés simultanément avec l'ordinateur (par exemple, 2 lignes cellulaires, ou le casque et 1 ligne cellulaire). |
| De l'interfERENCE est entendue durant un appel sur le casque. | • Un casque Bluetooth peut communiquer avec le poste de base dans une portée d'environ 10 m (33 pieds). La connexion pourrait être affectée par des obstructions telles que des murs ou des dispositifs électroniques causant de l'interfERENCE. Rapprocher le combiné du poste de base. |
| Certaines fonctions évoluées du casque ne sont pas disponibles. | Le poste de base ne prend pas en charge les fonctions évo-lées telles que la recomposition du dernier numéro composé ou le blocage d'appels. |
| Une tonalité d'erreur est entendue lors de la programmation d'une fonction Bluetooth. | La fonction Bluetooth ne peut pas être disponible immédi-amente après avoir branché l'adaptateur secteur au poste de base. Attendre quelques secondes, puis essayer à nouveau. Le casque n'a pas été connecté au poste de base même après avoir effectué la procédure de connexion. Attendre quelques secondes, puis essayer à nouveau. |
| Les avis de l'appli ne sont pas affi-chés ou énoncés. ou Les avis de message texte ne sont pas affichés ou énoncés. | Confirmer que le téléphone cellulaire prend en charge la spécifi-cation MAP (Message Access Profile). Celle-ci est nécessaire à l'utilisation de la fonction d'avis de message texte. Confirmer que le téléphone cellulaire prend en charge la spécifi-cation SPP (Serial Port Profile). Celle-ci est nécessaire à l'utilisation de la fonction d'avis de l'application. Confirmer que la fonction [Gestionnaire d'alertes] est activée sur votre téléphone Android. “Avert. Oui/Non”1/Avert. O/N”2 est réglé sur “Non”1/“Déactivé”2. Régler ce paramètre sur “Oui”1/“Activé”2 (p. 65). “Avertisseur vocal”1/“Avert. vocal”2 est réglé sur “Non”1/“Déactivé”2. Régler ce paramètre sur “Oui”1/“Activé”2 (p. 66). Le réglage des notificationsBluetooth du dispositif Bluetooth est désactivé. Le combiné sélectionné pour afficher ou énoncer les avis est pré-sentiment utilisé. Le dispositif Bluetooth ou la ligne cellulaire qui lui correspond estprésentement utilisé. La fonction d'alerte (avis) est temporairement désactivée. Ap-payer sur la touche [APP ALERTS] du poste de base. La fonction Bluetooth de votre téléphone cellulaire est désacti-vée. Activer cette fonction. |
1. Combiné 2. Poste de base
Répondeur
| Problème Cause et solution | |
| Aucun nouveau message n'est en- registre. | • Le répondeur est désactivé. LeMETRE en marche (p. 69). • Le répondeur ne prend pas les appeals et n'enregistre pas les messages des lignes cellulaires. • La mémoire est saturee. Supprimer les messages inutiles (p. 70, 71). • La durée d'enregistrement est régée sur "Msg-rép.seul." Modifier le paramétrage (p. 75). • Le service de messagerie vocale de votre fournisseur de services prend peut-être les appeals avant que le répondeur de l'appareil ne s'énclenché. Modifier le paramétrage du nombre de coups de sonnerie de l'appareil (p. 75) et désirir une valeur inférieure ou communiquer avec votre fournisseur de services. • Le répondeur ne répond pas aux appeals entrants quand d'autres dispositifs tels que le casque ou des combinés participent à un appel. |
| La commande à distance du répondeur n'est pas possible. | • Le code d'accès à distance n'a pas été réglé. Régler le code de commande à distance (p. 73). • Un mauvais code de commande à distance est entré. Si le code de commande à distance a été oublé, accéder au réglage du code de commande à distance pour vérifier le code actuel (p. 73). • Le répondeur est désactivé. LeMETRE en marche (p. 74). • Impossible d'utiliser le répondeur lors de l'appeL d'un téléphone cellularaire enregistré auprès du poste de base. |
| L'appareil n'émet pas le nombre de coupes de sonnerie spécifique. | • Si le réglage du coup de sonnerie unique est désactivé (p. 37), le nombre de coupes de sonnerie diminue de 1 du nombre de coupes de sonnerie spécifique. |
NIP bluetooth
| Problème Cause et solution | |
| Le NIP a été oublie. • Modifier le | NIP selon les directives suivantes. Combiné : 1 [MENU]#619 2 *7000 3 Entre le nouveau NIP à 4 chiffres. → [OK] 4 Entre le nouveau NIP à 4 chiffres à nouveau. → [SAUV.] → [OFF] |
Messagerie vocale
| Problème Cause et solution | |
| "Msg vocal de comp. tél." s'affiche sur l'afficheur du combiné. ou "Msg vocal" s'affiche sur l'afficheur du poste de base. Que faut-il faire pour effacer ce message de l'afficheur ? | • Cette notification s'affiche lorsque le service de messagerie vo-cale de votre fournisseur de services (et non le répondeur de l'appareil) a enregistré un message pour vous. En général, il suf-fit d'écouter ce message pour supprimer la notification de l'aff-cheur. Pour écouter le message, composer le numéro d'accès à la messagerie vocale qui vous a été donné par votre fournisseur de services (dans la plupart des cas, ce numéro correspond à votre numéro de téléphone) et suivre les instructions vocales. En fonction de votre fournisseur de services, il peut être nécess-saire de supprimer tous les messages de votre boîte vocale pour supprimer la notification. Vous pouvez également suppri-mer cette notification en appuyant et en maintainant la touche # jusqu'à l'émission d'une tonalité. |
Dommages causés par un liquide
| Problème Cause et solution | |
| Du liquide ou une autre forme d'hu-midité s'est infiltré dans le combiné/poste de base. | Débrancher l'adaptateur secteur et le cordon de ligne téléphoni-que du poste de base. Retirer les piles du combiné et laisser sé-cher pendant au moins 3 jours. Une fois le combiné/poste de base complètement sec, rebrancher l'adaptateur secteur et le cor-don de ligne téléphonique. Insérer les piles et les recharger complètement avant d'utiliser l'ordinateil. Si le fonctionnement de l'ap-pareil n'est pas ajustat, communiquer avec un centre de servi-ce agréé. |
Attention :
- Afin d'éviter tout dommage irréparable, ne pas utiliser un four à micro-ondes pour accélérer le séchage.
Innovation, sciences et développement économique canada : vis et autres informations
Le présent matériel est conforme aux spécifications techniques d'Innovation, Sciences et Développement économique Canada applicables au matériel terminal. Cette conformité est confirmée par le numéro d'enregistrement. Le sigle IC, placé devant le Numéro d'enregistrement, signifie que l'enregistrement s'est effectué conformément à une déclaration de conformité et indique que les spécifications techniques d'Innovation, Sciences et Développement économique Canada ont été respectées. Il ne signifie pas qu'Innovation, Sciences et Développement économique Canada a approuvé le matériel. Pour sa propre protection, l'utilisateur doit s'assurer que tous les fils de mise à la terre de la source d'énergie électrique, des lignes téléphoniques et des canalisations d'eau métalliques, s'il y en a, sont raccordés ensemble. Cette précaution est particulièrement importante dans les régions rurales.
L'indice d'équivalence de la sonnerie
(IES) assigné à chaque dispositif terminal indique le nombre maximal de terminaux qui peuvent être raccordés à une interface. La terminaison d'une interface téléphonique peut consister en une combinaison de quelques dispositifs, à la seule condition que la somme d'indices d'équivalence de la sonnerie de tous les dispositifs n'excède pas 5. L'indice d'équivalence de la sonnerie (IES) de cet appareil est : (inscrit sur le dessous de l'appareil).
Le present apparéil est conforme aux CNR d'Innovation, Sciences et Développement économique Canada applicables aux apparéils radio exempts de licence. L'exploitation est autorisée aux deux conditions suivantes : (1) l' apparéil ne doit pas produit de brouillage, et (2) l'utilisateur du
L'appareil doit accepter tout brouillage
susceptible d'en compromettre le fonctionnement. Les communications effectuées au moyen de cet appareil ne sont pas nécessairement protégées des interceptions. Certains téléphones sans fil fonctionnent sur des fréquences pouvant entraîner le brouillage de téléviseurs et de magnétoscopes proches et que, afin de minimiser ou de prévenir un tel brouillage, il ne faudrait pas placer le poste de base à proximité de ces appareils ; si l'on subit du brouillage, l'éloignement du poste de base réduirait ou éliminerait le brouillage dans la plupart des cas.
Avertissement de RISQUE d'exposition au rayonnement radiofréquence :
- Ce produit est conforme aux normes IC concernant les limites d'exposition au rayonnement radiofréquence en milieu non contrôlé.
- Pour assurer la conformité aux exigences IC concernant l'exposition au rayonnement RF, le poste de base doit être installé et opéré à une distance d'au moins 20 cm (8 po) ou plus de toute personne.
- Cet appareil ne doit pas être installé ni opéré de concert avec une autre antenne ni un autre émetteur.
- Lors du port de l'appareil, le combiné ne doit être utilisé qu'avec l'attache-ceinture fournie. Les autres accessoires peuvent ne pas être conformes et doivent être évités.
Garantie
Panasonic Canada Inc. garantit que ce produit est exempt de défauts de matières et de main d'œuvre dans un contexte d'utilisation normale pendant la période indiquée ci-après à compter de la date d'achat original et, dans l'éventualité d'une défectuosité, accepte, à sa discrétion, de (a) réparer le produit avec des pièces neuves ou remises à neuf, (b) remplacer le produit par un produit neuf ou remis à neuf d'une valeur équivalente ou (c) rembourser le prix d'achat. La décision de réparer, remplacer ou rembourser appartient à Panasonic Canada Inc.
Un (1) an
La présente garantie n'est fournie qu'à l'acheteur original d'un des produits de marque Panasonic indiqués plus haut, ou à la personne qui l'a reçu en cadeau, vendu par un détaillant Panasonic agréé au Canada et utilisé au Canada. Le produit ne doit pas avoir été "vendu tel quel" et doit avoir été livré à l'état neuf dans son emballage d'origine.
Restrictions et exclusions
La presente garantie COUVRSE SEULEMENT les defaillances attribuables a un defaut des materiaux ou a un vice de fabrication et NE COUVRSE PAS l'usure normale ni les dommages esthetiques. La presente garantie NE COUVRSE PAS NON PLUS les dommages subsis pendant le transport, les defaillances causees par des produits non fournis par Panasonic Canada Inc. ni celles resultant d'un accident, d'un usage abusif ou imprope, de négligence, d'une manutention inadéquate, d'une mauvaise application, d'une alteration, d'une installation ou de réglages improups, d'un mauvais réglage des contrôles de l'utiliseur, d'un mauvais entrelien, de piles inadéquates, d'une surtension temporaire, de la foudre, d'une modification, de la penetration de sable, de liquides ou d'humidité, d'une utilisation commerciale (dans un hôtel, un bureau, un restaurant ou tout autre usage par'affaires ou en location), d'une réparation effectue par une entité autre qu'un centre de service Panasonic/agree ou encore d'une catastrophe naturelle.
Les piles rechargeables sont couvertes par une garantie de quatre-vingt-dix (90) jours à compter de la date d'achat originale.
CETTE GARANTIE LIMITEE ET EXPRESSE REMPLACE TOUTE AUTRE GARANTIE, EXPRESSE OU IMPLICITE, INCLUANT LES GARANTS IMPLICITES DU CARACTERE ADEQUAT POUR LA COMMERCIALISATION ET UN USAGE PARTICULARIER. PANASONIC CANADA INC. N'AURA D'OBILIGATION EN AUCUNE CIRCONSTANCE POUR TODOMMAGE DIRECT, INDIRECT OR CONSECUTIF RÉSULTANT DE L'UTILISATION DE CE PRODUIT OU DECOULANT DE TODTE DEROGATION À UNE GARANTIE EXPRESSE OU IMPLICITE. (À TITRE D'EXAMPLES, CETTE GARANTIE EXCLUT LES DOMMAGES RELATIFS À UNE Perte de temps, le transport jusqu'à et depuis un centre de service agrée, la perte ou la délerioration de supports ou images, de données ou de tout autre contenu en mémoire ou enregistré. Cetteiste n'est pas exhaustive et n'est fournie qu'a des fins explicatives.) Certaines juridictions ne reconnaissent pas les exclusions ou limitations de dommages indirects ou consécutifs, ou les exclusions de garanties implicites. Dans de tels cas, les limitations stipulées ci-dessus peuvent ne pas être applicables. La présente garantie vous confère des droits précis; vous pourriez aussi avoir d'autres droits pouvant varier selon votre province ou territoire de résidence.
Demande de renseignements
Pour tout renseignement sur les produits et l'assistance technique, veuillez visiter notre page Soutien :
Pour le remplacement d'un produit défectueux couvert par la garantie, veuillez communiquer avec le revendeur d'origine.
AAffiche
Contraste : 49,52
Langue:16
Affichage d'appel en attente : 25
Ajustement horodateur : 48
Appel en attente de luxe : 60
Appels cellulaires : 23,30
Appels manqués : 59
Appels sur ligne terrestre : 23, 30
Avertisseur:53
Blocage d'appels : 35
Une sonnerie pour les appels bloqués : 37
CCID (Affichage du demandeur) : 61
Codes de commandes directes : 44
Combé
Désenregistrement: 58
Enregistrement : 57
Nom:57
Complément supplémentaire: 57
Composition rapide : 43
Composition séquentielle : 42
Confidence 3 voies : 26,32
Guide de dépannage: 81
Identification vocale du demandeur : 59
Identités par sonnerie : 41
Installation murale : 78
Intercommunication : 34
Intercommunication automatique : 34
Interphone de surveillance de bébé : 55
Langue du guide vocal : 16
Liaison cellulaire
Application « Link to Cell » : 64
Avis de message texte (SMS : Short
Message Service : 65
Code régional : 21
Connexion:20
Connexion automatique : 20
Mode ligne cellulaire seulement : 20
Réglages des avertissements pour vous
téléphone DECT:65
Sélection de la ligne cellulaire : 21
Sélection de la sonnerie : 19
Sonnerie identique au mode cellulaire : 19
Listedesdemandeurs61
Localisateur de clés : 48, 51
Messagerie vocale : 75, 77
Messages d'erreur : 80
Mode de composition : 17
Mode de nuit : 54
Mode Eco:12
Mode ligne:50
Modeprivé:50
Modification de la liste des demandeurs : 61
MV (messagerie) : 77
NNIP:21
Panne de courant (alimentation auxiliaire) : 27
Partage des appels : 26, 32
Pause:24,31
Piles:11,12
Pour faire des appels : 23, 30
Pour recevoir des appels : 24, 31
Prise automatique des appels : 24, 49
Réducteur de bruit: 25
Répertre: 39
Répondeur
Avis de nouveau message : 72
Code de commande à distance : 73
Commande à distance : 73
Durée d'enregistrement : 75
Économiseur de frais : 75
Écoute des messages : 70, 71, 74
Filtrage des appels : 75
Message de réponse : 69
Message de réponse seulement: 75
Mise en/hors marche : 69
Nombre de coups de sonnerie : 75
Suppression des messages: 70, 71, 74
S Service à impulsions/cadran : 25, 32
Service d'affichage du demandeur : 59
Silence:25,31
Soutien client:50,52
SP-PHONE (fonctionnement mains)
libres):24
Suramplificateur vocal : 25
Technologie sans fil Bluetooth
Casque d'écoute: 66
Téléphone cellulaire (Liaison
cellulaire):18
Transfert de répertoire: 63
Téléphone cellulaire
Désenregistrement:19
Index
Enregistrement : 18
Tonalité de la sonnerie : 46, 48
Tonalité des touches : 49
Touche commutateur:25,31,50
Transfert d'appels:26,32
Type de commande : 13, 14
Utilisation temporaire de la composition par
tonalite:25,32
Volume
Haut-parleur : 23,30
Récepteur: 23
Sonnerie (Combinaison) : 24, 46, 48
Sonnerie (Poste de base) : 31, 51, 52
Notes

Notes
Pour référence ultérieure
Il est recommandé de conserver dans un dossier les renseignements suivants pour toute demande de réparation sous garantie.
| N° de série Date d'achat |
| (inscrit sur le dessous de l'appareil) |
| Nom et adresse du détaillant |
| Joindre votre reçu d'achat ici. |
Notice Facile