PKG1843 - Réfrigérateur PROGRESS - Notice d'utilisation et mode d'emploi gratuit
Retrouvez gratuitement la notice de l'appareil PKG1843 PROGRESS au format PDF.
| Caractéristiques techniques | Réfrigérateur PROGRESS PKG1843 |
|---|---|
| Type d'appareil | Réfrigérateur combiné |
| Capacité totale | 184 litres |
| Classe énergétique | A+ |
| Dimensions (HxLxP) | 145 x 55 x 60 cm |
| Poids | 50 kg |
| Nombre de tiroirs | 3 tiroirs de congélation |
| Fonctionnalités supplémentaires | Contrôle mécanique de la température |
| Utilisation | Idéal pour les petites cuisines et les appartements |
| Entretien | Dégivrage manuel recommandé |
| Consommation énergétique annuelle | 250 kWh |
| Sécurité | Système de verrouillage de porte |
| Garantie | 2 ans |
| Informations générales | Produit conforme aux normes CE |
FOIRE AUX QUESTIONS - PKG1843 PROGRESS
Téléchargez la notice de votre Réfrigérateur au format PDF gratuitement ! Retrouvez votre notice PKG1843 - PROGRESS et reprennez votre appareil électronique en main. Sur cette page sont publiés tous les documents nécessaires à l'utilisation de votre appareil PKG1843 de la marque PROGRESS.
MODE D'EMPLOI PKG1843 PROGRESS
Réfrigérateur/congélateur
Ψυγειοκαταψύκτης
Hűtő - fagyasztó
SISÄLLYS
Turvallisuusohjeet
Käyttö
Instructions de sécurité 18
Fonctionnement
Utilisation quotidienne 21
Conseils utiles 22
Entretien et nettoyage 23
En cas d'anomalie de fonctionnement 25
Installation 20
Bruits
Caractéristiques techniques 34
Sous réserve de modifications.

INSTRUCTIONS DE SÉCURITÉ
Pour votre sécurité et garantir une utilisation correcte de l'appareil, lisez attentivement cette notice, y compris les conseils et avertissements, avant d'installer et d'utiliser l'appareil pour la première fois. Pour éviter toute erreur ou accident, veillez à ce que toute personne qui utilise l'appareil connais-se bien son fonctionnement et ses fonctions de sécurité. Conservez cette notice avec l'appareil. Si l'appareil doit être vendu ou cédé à une autre personne, veillez à remettre cette notice au nouveau propriétaire, afin qu'il puisse se familiariser avec son fonctionnement et sa sécurité.
Pour la sécurité des personnes et des biens, conservez et respectez les consignes de sécurité figurant dans cette notice. Le fabricant décline toute responsabilité en cas de dommages dus au non-respect de ces instructions.
Sécurité des enfants et des personnes vulnérables
- Cet appareil n'est pas destiné à être utilisé par des enfants ou des personnes dont les capacités physiques, sensorielles ou mentales, ou le manque d'expérience et de connaissance les empêchent d'utiliser l'appareil sans risque lorsqu'ils sont sans surveillance ou en l'absence d'instruction d'une personne responsable qui puisse leur assurer une utilisation de l'appareil sans danger.
Empêchez les enfants de jouer avec l'appareil.
- Ne laissez pas les différents emballages à portée des enfants. Ils pourraient s'asphyxier.
- Si l'appareil doit être mis au rebut, sortez la fiche de la prise électrique, coupez le cordon d'alimentation au ras de l'appareil et démontez la porte pour éviter les ris-
ques d'électrocution et que des enfants ne restent enfermés à l'intérieur.
- Cet appareil est muni de fermetures magnétiques. S'il remplace un appareil équipé d'une fermeture à ressort, nous vous conseillons de rendre celle-ci inutilisable avant de vous en débarrasser. Ceci afin d'éviter aux enfants de s'enfermer dans l'appareil et de mettre ainsi leur vie en danger.
Consignes générales de sécurité

Avertissement
Veillez à ce que les orifices de ventilation, situés dans l'enceinte de l'appareil ou la structure intégrée, ne soient pas obstrués.
- Les appareils sont destinés uniquement à la conservation des aliments et/ou des boissons dans le cadre d'un usage domestique normal, tel que celui décrit dans la présente notice.
- dans des cuisines réservées aux em- ployés dans des magasins, bureaux et autres lieux de travail ;
- dans les fermes et par les clients dans des hôtels, motels et autres lieux de séjour ;
- dans des hébergements de type chambre d'hôte ;
- pour la restauration et autres utilisations non commerciales.
- N'utilisez pas d'appareils électriques, d'agents chimiques ou tout autre système artificiel pour accélérer le processus de dégivrage.
- Ne faites pas fonctionner d'appareils électriques (comme des sorbetières électriques, ...) à l'intérieur des appareils de réfrigération à moins que cette utilisation n'ait reçu l'agrément du fabricant.
- N'endommagez pas le circuit frigorifique.
- Le circuit frigorifique de l'appareil contient de l'isobutane (R600a), un gaz naturel offrant un haut niveau de compatibilité avec l'environnement mais qui est néanmoins inflammable.
Pendant le transport et l'installation de votre appareil, assurez-vous qu'aucune partie du circuit frigorifique n'est endommagée.
Si le circuit frigorifique est endommagé :
- évitez les flammes vives et toute autre source d'allumage
- aérez soigneusement la pièce où se trouve l'appareil
- Ne modifiez pas les spécifications de l'appareil. Si le câble d'alimentation est endommagé, il peut causer un court circuit, un incendie et/ou une électrocution.
Avertissement Les éventuelles réparations ou interventions sur votre appareil, ainsi que le remplacement du câble d'alimentation, ne doivent être effectuées que par un professionnel qualifié.
-
Ne branchez pas le cordon d'alimentation à une rallonge.
-
Assurez-vous que la prise n'est pas écrasée ou endommagée par l'arrière de l'appareil. Une prise de courant écrasée ou endommagée peut s'échauffer et causer un incendie.
-
Vérifiez que la prise murale de l'appareil est accessible.
-
Ne débranchez pas l'appareil en tirant sur le câble.
-
Si la prise murale n'est pas bien fixée, n'introduisez pas de prise dedans. Risque d'électrocution ou d'incendie.
-
N'utilisez pas l'appareil sans le diffuseur de l'ampoule (si présent) de l'éclairage intérieur.
- Cet appareil est lourd. Faite attention lors de son déplacement.
- Ne touchez pas avec les mains humides les surfaces givrées et les produits congelés (risque de brûlure et d'arrachement de la peau).
- Évitez une exposition prolongée de l'appareil aux rayons solaires.
- Les ampoules (si présentes) utilisées dans cet appareil sont des ampoules spécifiques uniquement destinées à être
utilisées sur des appareils ménagers. Elles ne sont pas du tout adaptées à un éclairage quelconque d'une habitation.
Utilisation quotidienne
- Ne posez pas d'éléments chauds sur les parties en plastique de l'appareil.
- Ne stockez pas de gaz ou de liquides inflammables dans l'appareil (risque d'explosion).
- Ne placez pas d'aliments directement contre la sortie d'air sur la paroi arrière de l'appareil. (Si l'appareil est sans givre.)
- Un produit décongelé ne doit jamais être recongelé.
- Conservez les aliments emballés conformément aux instructions de leur fabricant.
- Respectez scrupuleusement les conseils de conservation donnés par le fabricant de l'appareil. Consultez les instructions respectives.
- Ne mettez pas de bouteilles ni de boîtes de boissons gazeuses dans le compartiment congélateur, car la pression se formant à l'intérieur du contenant pourrait le faire éclater et endommager ainsi l'appareil.
- Ne consommez pas certains produits tels que les bâtonnets glacés dès leur sortie de l'appareil, car ils peuvent provoquer des brûlures.
Entretien et nettoyage
- Avant toute opération d'entretien, mettez l'appareil hors tension et débranchez-le de la prise de courant.
- N'utilisez pas d'objets métalliques pour nettoyer l'appareil.
- N'utilisez pas d'objet tranchant pour gratter la couche de givre. Utilisez une spatule en plastique.
- Contrôlez régulièrement l'orifice d'évacuation de l'eau de dégivrage dans le compartiment réfrigérateur. Nettoyez-le, si besoin. Si l'orifice est bouché, l'eau s'écoulera en bas de l'appareil.
Installation
Important Avant de procéder au branchement électrique, respectez scrupuleusement les instructions fournies dans cette notice.
- Déballez l'appareil et vérifiez qu'il n'est pas endommagé. Ne branchez pas l'appareil s'il est endommagé. Signalez immédiatement au revendeur de l'appareil les dommages constatés. Dans ce cas, gardez l'emballage.
- Il est conseillé d'attendre au moins quatre heures avant de brancher l'appareil pour que le circuit frigorifique soit stabilisé.
- Veillez à ce que l'air circule librement autour de l'appareil pour éviter qu'il ne surchauffe. Pour assurer une ventilation suffisante, respectez les instructions de la notice (chapitre Installation).
- Placez l'appareil dos au mur pour éviter tout contact avec le compresseur et le condenseur (risque de brûlure).
- Placez de préférence votre appareil loin d'une source de chaleur (chauffage, cuisson ou rayons solaires trop intenses).
- Assurez-vous que la prise murale reste accessible après l'installation de l'appareil.
- Branchez à l'alimentation en eau potable uniquement. (Si un branchement sur le réseau d'eau est prévu.)
Maintenance
- Les branchements électriques nécessaires à l'entretien de l'appareil doivent être
FONCTIONNEMENT
Mise en fonctionnement
Branchez l'appareil sur une prise murale. Tournez le bouton du thermostat dans le sens des aiguilles d'une montre sur une position moyenne.
Mise à l'arrêt
Pour mettre à l'arrêt l'appareil, tournez le bouton du thermostat sur la position "O".
Réglage de la température
La température est réglée automatiquement.
Pour faire fonctionner l'appareil, procédez comme suit :
- tournez le bouton du thermostat vers le bas pour obtenir un réglage de froid minimum.
- tournez le bouton du thermostat vers le haut pour obtenir un réglage de froid maximum.
réalisés par un électricien qualifié ou une personne compétente.
- Cet appareil ne doit être entretenu et réparé que par un Service après-vente autorisé, exclusivement avec des pièces d'origine.
Protection de l'environnement
Le système frigorifique et l'isolation de votre appareil ne contiennent pas de C.F.C. contribuant ainsi à préserver l'environnement. L'appareil ne doit pas être mis au rebut avec les ordures ménagères et les déchets urbains. La mousse d'isolation contient des gaz inflammables : l'appareil sera mis au rebut conformément aux règlements applicables disponibles auprès des autorités locales. Veillez à ne pas détériorer les circuits frigorifiques, notamment au niveau du condenseur. Les matériaux utilisés dans cet appareil identifiés par le symbole 📊 sont recyclables.
i Une position moyenne est la plus indiquée.
Toutefois, le réglage doit être choisi en tenant compte du fait que la température à l'intérieur de l'appareil dépend de plusieurs facteurs :
- la température ambiante
- la fréquence d'ouverture de la porte
- la quantité de denrées stockées
- l'emplacement de l'appareil.
Important Si le thermostat est réglé sur la position de froid maximum, lorsque la température ambiante est élevée et que l'appareil est plein, il est possible que le compresseur fonctionne en régime continu. Dans ce cas, il y a un risque de formation
UTILISATION QUOTIDIENNE
Congélation d'aliments frais
Le compartiment congélateur est idéal pour congeler des denrées fraîches et conserver les aliments surgelés ou congelés pendant longtemps.
Pour congeler des aliments frais, il n'est pas nécessaire de modifier le réglage moyen.
Toutefois, pour une congélation plus rapide, tournez le thermostat vers le haut pour obtenir plus de froid.
Important Dans ce cas, la température du compartiment réfrigérateur peut chuter au-dessous de 0°C. Si cela se produit, repositionnez le thermostat sur un réglage plus chaud.
Conservation d'aliments congelés et surgelés
À la mise en service ou après un arrêt prolongé, placez le thermostat sur la position maximale pendant 2 heures environ avant
Calendrier des aliments congelés

Avant utilisation, les aliments surgelés ou congelés peuvent être décongelés dans le compartiment du réfrigérateur ou à température ambiante en fonction du temps disponible pour cette opération.
Les petites portions peuvent même être cuites sans décongélation préalable (la cuisson sera cependant un peu plus longue).
excessive de givre sur la paroi postérieure à l'intérieur de l'appareil. Pour éviter cet inconvénient, placez le thermostat sur une température plus élevée de façon à permettre un dégivrage automatique et, par conséquent, des économies de courant.
d'introduire les produits dans le compartiment.
Si vous devez stocker une grande quantité d'aliments, retirez tous les tiroirs et paniers et placez directement les aliments sur les clayettes réfrigérantes pour obtenir les meilleures performances possibles.
Avertissement Assurez-vous que la quantité d'aliments ne dépasse pas la charge limite indiquée sur le côté de la section supérieure (le cas échéant)
Important En cas de décongélation accidentelle, due par exemple à une coupure de courant, si la coupure a durée plus longtemps qu'indiqué au paragraphe « Autonomie de fonctionnement » du chapitre Caractéristiques techniques, consommez rapidement les aliments décongelés ou cuisez-les immédiatement avant de les recongeler (une fois refroidis).
Les symboles indiquent différents types d'aliments congelés.
Les numéros indiquent les durées de conservation en mois correspondant aux différents types d'aliments congelés. La validité de la durée de conservation maximale ou minimale indiquée dépend de la qualité des aliments et de leur traitement avant la congélation.
Cet appareil est équipé d'un ou de plusieurs bacs à glaçons. Remplissez d'eau ces bacs et mettez-les dans le compartiment congélateur.
Important N'utilisez pas d'instruments métalliques pour décoller les bacs du congélateur.
Important cet appareil est vendu en France.
Pour respecter la reglementation en vigueur dans ce pays, l'appareil doit être dote d'un dispositif particulier place dans la partie inférieure du compartiment refrigerateur (voir image) pour signaler la partie la plus froide du compartiment.

Les parois du réfrigérateur sont équipées d'une série de supports afin que les clayettes puissent être positionnées comme vous le souhaitez.
Emplacement des balconnets de la porte

En fonction de la taille des emballages des aliments conservés, les balconnets de la porte peuvent être positionnés à différentes hauteurs.
Pour les ajuster, procédez comme suit : tirez progressivement sur le balconnet dans le sens de la flèche pour le dégager, puis repositionnez-le selon vos besoins.
CONSEILS UTILES
Conseils pour l'économie d'énergie
- N'ouvrez pas la porte trop souvent ou plus longtemps que nécessaire.
- Si la température ambiante est élevée, le dispositif de réglage de température est sur la position de froid maximum et l'appareil est plein : il est possible que le compresseur fonctionne en régime continu, d'où un risque de formation excessive de givre sur l'évaporateur. Pour éviter ceci, modifiez la position du dispositif de réglage de température de façon à obtenir des périodes d'arrêt du compresseur
et ainsi permettre un dégivrage automatique, d'où des économies d'énergie.
Conseils pour la réfrigération de denrées fraîches
Pour obtenir les meilleures performances possibles :
- N'introduisez pas d'aliments encore chauds ou de liquides en évaporation dans le réfrigérateur.
- Couvrez ou enveloppez soigneusement les aliments, surtout s'ils sont aromatiques.
- Placez les aliments pour que l'air puisse circuler librement autour.
Conseils pour la réfrigération
Conseils utiles :
Viande (tous les types) : enveloppez-la dans des sachets en plastique et placez-la sur la tablette en verre au-dessus du bac à légumes.
La période de conservation est de 1 à 2 jours au maximum.
Aliments cuits, plats froids, etc. : ils doivent être couverts et peuvent être placés sur n'importe quelle clayette.
Fruits et légumes : placez-les une fois nettoyés dans le bac à légumes. Le jus de citron peut décolorer les parties en plastique de votre réfrigérateur s'il les touche. C'est pourquoi il est recommandé de conserver les agrumes dans des bacs séparés.
Beurre et fromage : placez-les dans des récipients étanches spéciaux ou enveloppez-les soigneusement dans des feuilles d'aluminium ou de polyéthylène, pour emmagasiner le moins d'air possible.
Bouteilles : elles doivent être munies d'un bouchon et être placées dans le balconnet porte-bouteilles de la porte.
Bananes, pommes de terre, oignons et ail ne se conservent pas au réfrigérateur, s'ils ne sont pas correctement emballés.
Conseils pour la congélation
Pour obtenir les meilleurs résultats, voici quelques conseils importants :
- la quantité maximale de denrées que vous pouvez congeler par 24 heures est indiquée sur la plaque signalétique.
- le temps de congélation est de 24 heures. Aucune autre denrée à congeler ne doit être ajoutée pendant cette période.
- congelez seulement les denrées alimentaires fraîches, de qualité supérieure (une fois nettoyées).
- préparez la nourriture en petits paquets pour une congélation rapide et uniforme,
ENTRETIEN ET NETTOYAGE

Attention débrancher l'appareil avant toute opération d'entretien.

Cet appareil contient des hydrocarbures dans son circuit réfrigérant : l'entre-
adaptés à l'importance de la consommation.
- enveloppez les aliments dans des feuilles d'aluminium ou de polyéthylène et assurez-vous que les emballages sont étanches ;
- ne laissez pas des aliments frais, non congelés, toucher des aliments déjà congelés pour éviter une remontée en température de ces derniers.
- les aliments maigres se conservent mieux et plus longtemps que les aliments gras ; le sel réduit la durée de conservation des aliments
- la température très basse à laquelle se trouvent les bâtonnets glacés, s'ils sont consommés dès leur sortie du compartiment congélateur, peut provoquer des brûlures.
- L'identification des emballages est importante : indiquez la date de congélation du produit, et respectez la durée de conservation indiquée par le fabricant.
Conseils pour la conservation des produits surgelés et congelés du commerce
Pour obtenir les meilleures performances possibles :
- assurez-vous que les denrées surgelées achetées dans le commerce ont été correctement entreposées par le revendeur ;
- prévoyez un temps réduit au minimum pour le transport des denrées du magasin d'alimentation à votre domicile ;
- évitez d'ouvrir trop souvent la porte du congélateur et ne la laissez ouverte que le temps nécessaire ;
- une fois décongelés, les aliments se dé- tériorent rapidement et ne peuvent pas être recongelés ;
- ne dépassez pas la durée de conservation indiquée par le fabricant.
tien et la recharge ne doivent donc être effectués que par du personnel autorisé.
Nettoyage périodique
Cet appareil doit être nettoyé régulièrement :
- Nettoyez l'intérieur et tous les accessoires avec de l'eau tiède savonneuse.
- Vérifiez régulièrement les joints de porte et nettoyez-les en les essuyant pour éviter toute accumulation de déchets.
- Rincez et séchez soigneusement.
Important Ne pas tirer, déplacer ou endommager les tuyaux et/ou câbles qui se trouvent à l'intérieur de l'appareil.
Ne JAMAIS utiliser de produits abrasifs ou caustiques ni d'éponges avec grattoir pour nettoyer l'intérieur de façon à ne pas l'abîmer et laisser de fortes odeurs.
Nettoyer le condenseur (grille noire) et le compresseur situés à l'arrière de l'appareil
Dégivrage du réfrigérateur

Dégivrage du congélateur
Une certaine quantité de givre se forme toujours sur les clayettes du congélateur et autour du compartiment supérieur.
Dégivrez le congélateur lorsque l'épaisseur de la couche de givre est comprise entre 3 et 5 mm.
Important Afin d'assurer une réserve de froid suffisante durant cette opération, réglez le thermostat sur le niveau le plus haut environ 12 heures avant de procéder au dégivrage.
Pour enlever le givre, suivez les instructions ci-dessous :
- Éteignez l'appareil.
avec une brosse ou un aspirateur. Cette opération améliore les performances de l'appareil et permet des économies d'énergie.
Important Attention à ne pas endommager le système de réfrigération.
De nombreux détergents pour la cuisine recommandés par les fabricants contiennent des produits chimiques qui peuvent attaquer/endommager les pièces en plastique utilisées dans cet appareil. Il est par conséquent recommandé d'utiliser seulement de l'eau chaude additionnée d'un peu de savon liquide pour nettoyer la carrosserie de l'appareil.
Après le nettoyage, rebranchez l'appareil.
En fonctionnement normal, le givre est automatiquement éliminé de l'évaporateur du compartiment réfrigérateur à chaque fois que le compresseur s'arrête. L'eau de dégivrage est collectée, via un orifice d'évacuation, dans un récipient spécial situé à l'arrière de l'appareil, au-dessus du compresseur, d'où elle s'évapore.
Il est important de nettoyer régulièrement l'orifice d'écoulement de la goulotte d'évacuation de l'eau de dégivrage située au milieu du compartiment réfrigérateur pour empêcher l'eau de déborder et de couler à l'intérieur de l'appareil.
- Sortez les denrées congelées, enveloppez-les dans plusieurs feuilles de papier journal et conservez-les dans un endroit frais.
Attention Ne touchez pas les produits congelés et les surfaces givrées avec les mains humides. Risque de brûlures ou d'arrachement de la peau.
- Laissez la porte ouverte.
Le dégivrage peut être accéléré en plaçant un récipient d'eau chaude dans le compartiment congélateur. Retirez également les morceaux de glace au fur et à mesure qu'ils se détachent, avant que le processus de dégivrage ne soit terminé.
- Une fois le dégivrage terminé, séchez bien l'intérieur.
- Mettez l'appareil en marche.
- Attendez deux à trois heures avant de replacer les denrées surgelées ou congelées dans le compartiment.
Important N'utilisez en aucun cas d'objets métalliques ou tranchants pour gratter la couche de givre sur le revêtement intérieur, car vous risqueriez de le détériorer.
N'utilisez aucun dispositif mécanique ou autre moyen artificiel pour accélérer le processus de dégivrage hormis ceux recommandés dans cette notice d'utilisation.
Une élévation de la température des den-rées congelées, pendant le dégivrage, peut réduire leur durée de conservation.
En cas d'absence prolongée ou de non-utilisation
Si l'appareil n'est pas utilisé pendant de longues périodes, prenez les précautions suivantes :
• débranchez l'appareil
• retirez tous les aliments
- dégivrez si nécessaire et nettoyez l'appareil ainsi que tous les accessoires
- laissez la porte/les portes entrouverte(s) pour prévenir la formation d'odeurs désagréables.
Si, toutefois, vous n'avez pas la possibilité de débrancher et vider l'appareil, faites vérifier régulièrement son bon fonctionnement pour éviter la détérioration des aliments en cas de panne de courant.
EN CAS D'ANOMALIE DE FONCTIONNEMENT

Avertissement Avant de résoudre les problèmes, débranchez l'appareil. La résolution des problèmes, non mentionnés dans le présent manuel, doit être exclusivement confiée à un électricien qualifié ou une personne compétente.
Important Certains bruits pendant le fonctionnement (compresseur, système réfrigérant) sont normaux.
| Problème Cause possible Solution | ||
| L'appareil ne fonctionne pas. L'éclairage ne fonctionne pas. | L'appareil est éteint. Mettez l'appareil en marche. | |
| La fiche du câble d'alimentation | n'est pas correctement insérée dans la prise de courant. | Branchez correctement la fiche du câble d'alimentation dans la prise de courant. |
| Le courant n'arrive pas à l'appa-reil. La prise de courant n'est pas alimentée. | Branchez un autre appareil élec-trique à la prise de courant. Contactez un électricien qualifié. | |
| L'ampoule ne fonctionne pas. | L'ampoule est en mode veille. Fermez puis ouvrez la porte. | |
| L'ampoule est défectueuse. | Reportez-vous au chapitre « Remplacement de l'ampoule ». | |
| Le compresseur fonc-tionne en permanence. | La température n'est pas réglée correctement. | Sélectionnez une température plus élevée. |
| La porte n'est pas fermée cor-rectement. | Reportez-vous au chapitre « Fer-meture de la porte ». | |
| La porte a été ouverte trop sou-vent. | Ne laissez pas la porte ouverte plus longtemps que nécessaire. | |
| La température du produit est trop élevée. | Laissez le produit revenir à tem-pérature ambiante avant de le placer dans l'appareil. | |
| Problème Cause possible Solution | ||
| La température ambiante est trop élevée. | Diminuez la température ambian-te. | |
| De l'eau s'écoule sur la plaque arrière du réfrigé- rateur. | Pendant le dégivrage automatique, le givre fond sur la plaque arrière. | Ce phénomène est normal. |
| De l'eau s'écoule dans le réfrigérateur. | L'orifice d'écoulement de l'eau de dégivrage est obstrué. | Nettoyez l'orifice d'écoulement de l'eau de dégivrage. |
| Des produits empêchent l'eau de s'écouler dans le réservoir d'eau. | Assurez-vous que les produits ne touchent pas la plaque arrière. | |
| De l'eau coule sur le sol. | Le tuyau d'évacuation de l'eau de dégivrage ne s'écoule pas dans le bac d'évaporation situé au-dessus du compresseur. | Fixez le tuyau d'évacuation de l'eau au bac d'évaporation de l'eau de dégivrage. |
| La température à l'inté- rieur de l'appareil est trop basse/élevée. | Le thermostat n'est pas réglé correctement. | Augmentez/réduisez la tempéra-ture. |
| La température du réfri-gérateur est trop élevée. | L'air froid ne circule pas dans l'appareil. | Assurez-vous que de l'air froid cir-cule dans l'appareil. |
| La température du con-gélateur est trop élevée. | Les produits sont trop près les uns des autres. | Stockez les produits de façon à permettre la circulation de l'air froid. |
| Il y a trop de givre. Les aliments ne sont pas correc-tement emballés. | Emballez les aliments correcte-ment. | |
| La porte n'est pas fermée cor-rectement. | Reportez-vous au chapitre « Fer-meture de la porte ». | |
| Le thermostat n'est pas réglé correctement. | Sélectionnez une température plus élevée. | |
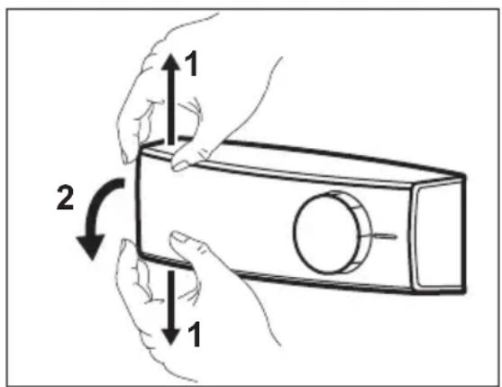
Remplacement de l'éclairage

Attention Débranchez la fiche de l'appareil de la prise secteur.

- Dans le même temps, placez vos doigts en haut et en bas du diffuseur transparent et glissez-le dans le sens indiqué par les flèches pour le détacher.
- Remplacez l'ampoule par une ampoule de puissance et de forme identiques, spécifiquement conçue pour les appareils électroménagers. (La puissance maximale est indiquée sur le diffuseur.)
- Remontez le diffuseur de l'ampoule.
- Branchez la fiche de l'appareil à la prise secteur.
- Ouvrez la porte. Vérifiez que l'ampoule s'allume.
Fermeture de la porte
- Nettoyez les joints de la porte.
-
Si nécessaire, ajustez la porte. Reportez-vous au chapitre « Installation ».
-
Si nécessaire, remplacez les joints de porte défectueux. Contactez votre service après-vente.
INSTALLATION

Pour votre sécurité et le bon fonctionnement de l'appareil, veuillez lire attentivement les "Consignes de sécurité" avant d'installer l'appareil.
Emplacement
Installez cet appareil à un endroit où la température ambiante correspond à la classe climatique indiquée sur la plaque signalétique de l'appareil :
| Classe climati-que | Température ambiante |
| SN +10 à + 32 °C | |
| N +16 à + 32 °C | |
| ST +16 à + 38 °C | |
| T +16 à + 43 °C |
Branchement électrique
Contrôlez, avant de brancher l'appareil, si la tension et la fréquence indiquées sur la pla-

que signalétique correspondent à celles de votre réseau.
L'appareil doit être relié à la terre. La fiche du câble d'alimentation comporte un logement pour mise à la terre. Si la prise de courant murale n'est pas mise à la terre, branchez l'appareil sur une prise de terre conformément aux normes en vigueur, en demandant conseil à un électricien qualifié. Le fabricant décline toute responsabilité en cas d'incident suite au non-respect des consignes de sécurité sus-mentionnées. Cet appareil est conforme aux directives communautaires.
Réversibilité de la porte
La porte de l'appareil s'ouvre vers la droite. Pour modifier le sens d'ouverture de la porte (vers la gauche), effectuez les opérations suivantes avant d'installer définitivement l'appareil :
-
Dévissez, puis retirez le pivot supérieur.
• Retirez la porte supérieure.
• Retirez l'entretoise. -
Desserrez la charnière intermédiaire.
- Retirez la porte inférieure.

- Dévissez, puis retirez le pivot inférieur. Du côté opposé :
- Serrez le pivot inférieur.
- Mettez en place la porte inférieure.
- Serrez la charnière intermédiaire.
- Mettez en place l'entretoise.
- Mettez en place la porte supérieure.
- Serrez le pivot supérieur.

text_image
5 cm min. 200 cm² min. 200 cm²Installation de l'appareil
Veillez à garantir une circulation d'air suffisante à l'arrière de l'appareil.

Attention Assurez-vous que le cordon d'alimentation n'est pas coincé sous l'appareil.
Procédez comme suit :

Si nécessaire, coupez la bande d'étanchéité adhésive puis appliquez-la sur l'appareil, comme indiqué sur la figure.

Insérez l'appareil dans le meuble d'encastrement.
Poussez l'appareil dans la direction indiquée par la flèche (1) jusqu'à ce que la partie couvrant l'interstice en haut de l'appareil butte contre le meuble de cuisine.
Poussez l'appareil dans la direction indiquée par la flèche (2) contre le meuble, du côté opposé à la charnière.
Ajustez la position de l'appareil dans le meuble d'encastrement.
Assurez-vous que la distance entre l'appareil et le bord avant du meuble est de 44 mm.
Le cache de la charnière inférieure (dans le sachet d'accessoires) vous permet de vérifier que la distance entre l'appareil et le meuble de cuisine est correcte.
Assurez-vous que l'écart entre l'appareil et le meuble est de 4 mm.
Ouvrez la porte. Mettez en place le cache de la charnière inférieure.
Fixez l'appareil au meuble d'encastrement à l'aide de 4 vis.

Retirez la pièce correcte du cache-charnière (E). Assurez-vous que vous retirez bien la pièce DX s'il s'agit de la charnière droite, SX s'il s'agit de l'autre charnière.
Fixez les protections (C, D) sur les ergots et dans les trous des charnières. Mettez en place la grille d'aération (B). Fixez les cache-charnières (E) sur la charnière.
Placez l'appareil contre la paroi latérale du meuble de cuisine :
- Desserrez les vis de la pièce (G) et déplacez la pièce (G) jusqu'à la paroi latérale du meuble.
- Serrez de nouveau la vis de la pièce (G).
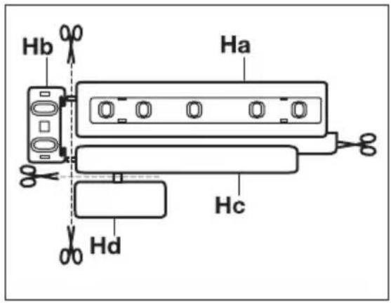
- Fixez la pièce (H) à la pièce (G).

Détachez les pièces (Ha), (Hb), (Hc) et (Hd).

text_image
ca. 50 mm 90° 21 mm 90° ca. 50 mm 21 mmMettez en place la pièce (Ha) sur la face intérieure du meuble de cuisine.

text_image
Ha HcPoussez la pièce (Hc) sur la pièce (Ha).

Ouvrez la porte de l'appareil et la porte du meuble de cuisine à un angle de 90°. Insérez le petit carré (Hb) dans le guide (Ha). Joignez la porte de l'appareil et la porte du meuble et repérez les trous.
Retirez les supports et repérez une distance de 8 mm à partir de l'arête extérieure de la porte où le clou doit être posé (K).
Placez de nouveau le petit carré sur le guide et fixez-le à l'aide des vis fournies. Alignez la porte du meuble de cuisine et celle de l'appareil en réglant la pièce (Hb).

text_image
Hb HdAppuyez la pièce (Hd) sur la pièce (Hb). Faites une dernière vérification pour vous assurer que :
- Toutes les vis sont bien serrées.
- Le joint d'étanchéité est solidement fixé au meuble.
- La porte s'ouvre et se ferme correctement.
BRUITS
L'appareil émet certains bruits pendant son fonctionnement (compresseur, circuit frigorifique).

text_image
OK SSSRRR! HISSS! BLUBB! CLICK! BRRR! CRACK!
text_image
SSSRRR! SSSRRR! CLICK! CLICK!
text_image
HISSS! HISSS! BRRR! BRRR!
text_image
BLUBB! BLUBB! CRACK!CRACK!CARACTÉRISTIQUES TECHNIQUES
| Dimensions de la niche d'en-castrement | ||
| Hauteur 1780 mm | ||
| Largeur 560 mm | ||
| Profondeur 550 mm | ||
| Temps de levée 22 h | ||
| Tension 230-240 V | ||
| Fréquence 50 Hz |
Les caractéristiques techniques figurent sur la plaque signalétique située sur le côté
gauche à l'intérieur de l'appareil et sur l'éti- quette énergétique.
Notice Facile