NR 965 CD - Système hifi Soundmaster - Notice d'utilisation et mode d'emploi gratuit
Retrouvez gratuitement la notice de l'appareil NR 965 CD Soundmaster au format PDF.
| Caractéristiques techniques | Lecteur CD, radio FM/AM, entrée AUX, puissance de sortie 2 x 5 W |
|---|---|
| Utilisation | Idéal pour écouter des CD, la radio, ou connecter des appareils externes via AUX |
| Maintenance et réparation | Nettoyer régulièrement les surfaces, vérifier les connexions audio, consulter un professionnel pour les réparations internes |
| Sécurité | Éviter l'exposition à l'humidité, ne pas ouvrir l'appareil, utiliser uniquement avec une alimentation appropriée |
| Informations générales | Compact et design moderne, idéal pour un usage domestique ou en petit espace |
FOIRE AUX QUESTIONS - NR 965 CD Soundmaster
Questions des utilisateurs sur NR 965 CD Soundmaster
0 question sur cet appareil. Repondez a celles que vous connaissez ou posez la votre.
Poser une nouvelle question sur cet appareil
Téléchargez la notice de votre Système hifi au format PDF gratuitement ! Retrouvez votre notice NR 965 CD - Soundmaster et reprennez votre appareil électronique en main. Sur cette page sont publiés tous les documents nécessaires à l'utilisation de votre appareil NR 965 CD de la marque Soundmaster.
MODE D'EMPLOI NR 965 CD Soundmaster
Avent de mesure eb service votre apparéil, lisez
Attentivement ces instructions!
Présentation des différents éléments
- Haut-parleur
- Contrôle de volume
- Réglage de la tonalité
- Touche CD
- Bande FM
- Bande SW2
- Bande SW1
- Bande AM
- Marche/Arret
- Bouton de syntonisation
- Couvercle CD
-
Antenne externe
-
Cordon et prise électriques
- Bras de lecture CD
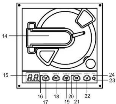
- Afficheur
- Indicateur de répétition
- Touche répetition
- Saut avant
- Saut arrête
- Indicateur de Lecture / Pause
- Bouton Lecture/Pause
- Stop
- Programme
- Indicateur de programme
Source d'Alimentation
Deroulez le cordon electriques (13) et branchez le à une prise secteur 230V 50Hz.
Antenne
Pour une meilleure réception FM, déployez l'antenne et placez l'appareil dans un endroit approprié.
Pour AM, faites tourner l'appareil car la reception se fait par le biais d'une antennne en ferrite integree.
Fonctionnement de la radio
1). Meltaz l'unité sous tension en appuyant sur le boulon marche/arrêt (9).
2. Ajustez le volume au moyen du bouton volume (2).
3. Sélectionnez la bande FM (5)/AM (8)/SW1 (7)/SW2 (6).
4. Sélectionnez la station au moyen du bouton de symtonisation (10).
5. Mellez l'unité hors tension en appuyant sur le boulon marche/arret (9).
Utilisation du CD (lecture)
- Ouvrez la porte du CD (11).
- Liberez le bras de lecture CD
- Inserez un CD avec sa face libellée tourmée vers le haut, puis abaissez le bras de lecture CD (14).
- Le nombre de piste sera affiché en quelques secondes.
- Appuyez sur PLAY/PAUSE (21) pour commencer la lecture.
- Ajustez le niveau de volume (2) et de tonalité (3).
- Pour effectuer une pause, appuyez sur PLAY/PAUSE (21). Le témoin de lecture va
clignoter. Appuyez sur PLAY/PAUSE (21) de nouveau pour reprendre la lecture. - Pour arreter la lecture, appuyez sur STOP (22).
Saut avant et saut arrête en mode stop
- Appuyez sur Saut avant (18) ou Saut arriere (19) pour besoin la piste souhaitee.
- Appuyez sur PLAY/PAUSE (21) commencer la lecture.
ENGLISH
- Maintenez enfoncée FORWARD (18) (Saut avant) ou BACKWARD (19) (Saut arriere) pour
rechercher une sequence donnée d'une piste.
- Une fois vous relâchez la touche, la lecture reprend à cet endroit.
Répétition de lecture
- Pour désirir de repeter une seule piste, Sélectionnéz la piste en question, puis appuyez sur
PLAY/PAUSE (21) pour la lecture Pour activer la répétition d'une seule piste, appuyez sur
REPEAT (17) une fois, l'indicateur de repetition (16) se met a clignoter.
- Pour activer la répétition de toutes les pistes, appuyez sur PLAY/PAUSE, puis appuyez sur
REPEAT (17) deux fois. L'indicateur de repetition (16) sera allumé.
- Pour annuler la repetition, appuyez sur REPEAT (17) jusqu'à ce que l'indicateur de
répetition (16) s'eteint, ou liberez le bras de lecture CD.
Lecture programmée (max. 16 pistes)
- Appuyez sur PROGRAMM (23). L'indication "Pr" sera affchéée et Indicateur de programme va clignoter.
- Appuyez sur Saut avant (18) ou Saut arriere (19) pour désir la piste souhaïée.
- Appuyez sur PROGRAMM (23) pour ajouter la piste selectionnee.
- Repetez les étapes 2 et 3 pour programme d'autres pistes.
- Appuyez sur la touche PLAY/PAUSE (21) pour commencer la lecture programmée
- Pour annuler la liste des pistes programmes, appuyez sur STOP (22) deux fois jusqu'à ce
que I'indicateur (24) s'teigne.
Specifications
Gamme de fréquences FM 87,5 - 108 MHz
AM 540-1600 KHz
SW12,5-7,5MHz
SW27.5-22MHz
Haut-parleur 5"8Ohm
Puissance nominale 17 Watt
Source d'Alimentation 230V 50Hz
Les specifications et le design sont sujets a changement sans préavis.
Informations relatives à l'environnement

Cet article, à la fin de sa durée de fonctionnement, ne devra pas été jêté aux ordures ménagères normales mais dans un centre de recyclages d'appareils électriques et Electroniques, comme l'indique le symbole que vous trouvrez sur le produit, dans le manuel d'utilisation ou sur l'emballage.
Les matériaux sont recupérables conformément à leurs indications. Grâce à un réempli, l'utilisation matérielle ou autres formes d'utilisation deieux apparèels, vous participez à la protection de l'environnement. Rensseignez-vous auprès de votre municipalité pour couter le centre de traitement de déchets approprié.
Informations relatives à la sécurité/ l'entretien/ l'environnement
N'nstaller en aucun cas l'appareil dans une piece humide.
- Eviter tout contact avec Ieau ou un liquide quelconque.
- Ne jamais ouvrir l'appareil! DANGER DE CHOC ELECTRIQUE!
- Evitez tout ensoleillement, toute proximate avec une source de chaleur ou de saleté.
- Ne laissesz jamais un enfant manipulier l'appareil sans la surveillance d'un adulte
- Debranchez l'appareil lors d'orages ou de longues périodes de non utilisation.
Si le cable de secteur est endommagé, retirez immédiatement la prise du secteur et
contactez très rapidement un atelier de réparation spécialisé.
Evitez tout chic.
- Utilisez exclusivement les piles ou batteries (telecommande) qui ne contiennent ni du
mercure ni du cadmium.
- Changez les piles environ tous les 12 mois pour éviter qu'elles ne coulent.
Les ples usagées représent des déchets particuliers et ne font pas partie des déchets
menagers. Donnez-les aux centres de rassemblement appropriés.
- Nettoyez l'appareil seulement avec un chiffon sec. Ne jamais utilisé de liquide ou de produit de nettoyage.
FRANCAISFRANCAIS



Notice Facile