SACT370 - Enceinte SONY - Notice d'utilisation et mode d'emploi gratuit
Retrouvez gratuitement la notice de l'appareil SACT370 SONY au format PDF.
| Type d'appareil | Barre de son |
| Connectivité | HDMI, Bluetooth, Entrée optique |
| Puissance de sortie | Non précisé |
| Nombre de canaux | Non précisé |
| Compatibilité audio | Dolby Digital, DTS |
| Dimensions (L x H x P) | Non précisé |
| Poids | Non précisé |
| Alimentation | AC 220-240 V |
| Fonctions supplémentaires | Mode nuit, Télécommande incluse |
| Installation | Sur meuble ou mural |
| Couleur | Noir |
| Marque | Non précisé |
| Modèle | Non précisé |
| Garantie | Non précisé |
FOIRE AUX QUESTIONS - SACT370 SONY
Questions des utilisateurs sur SACT370 SONY
0 question sur cet appareil. Repondez a celles que vous connaissez ou posez la votre.
Poser une nouvelle question sur cet appareil
Téléchargez la notice de votre Enceinte au format PDF gratuitement ! Retrouvez votre notice SACT370 - SONY et reprennez votre appareil électronique en main. Sur cette page sont publiés tous les documents nécessaires à l'utilisation de votre appareil SACT370 de la marque SONY.
MODE D'EMPLOI SACT370 SONY
N'installez pas cet appareil dans un endroit confiné, comme sur une étagère ou un meuble TV intégré.
Pour réduire le risque d'incendie, n'obstruez pas l'orifice de ventilation de l'appareil avec un journal, une nappe, une tenture, etc. N'exposez pas l'appareil à une source de flamme nue (par exemple, une bougie allumée).
Pour réduire le risque d'incendie ou d'électrocution, n'exposez pas cet appareil à des éclaboussures ou des gouttes d'eau et ne posez pas dessus des objets remplis de liquides, notamment des vases.
L'appareil n'est pas déconnecté du secteur tant qu'il reste branché sur la prise murale, même si l'appareil proprement dit a été mis hors tension.
La fiche principale étant utilisée pour déconnecter l'unité de l'alimentation secteur, connectez l'unité à une prise secteur aisément accessible. Si vous remarquez une anomalie dans l'appareil, débranchez immédiatement la fiche principale de la prise secteur.
N'exposez pas les piles ou un appareil contenant des piles à une chaleur excessive, notamment aux rayons directs du soleil ou à des flammes.
Utilisation en intérieur uniquement.
Pour l'enceinte-barre
La plaque signalétique se situe sur la partie inférieure.
Câbles recommandés
Des câbles et des connecteurs blindés et mis à la terre correctement doivent être utilisés pour le raccordement aux ordinateurs hôtes et/ou aux périphériques.
Cet appareil a été testé et répond aux normes définies dans les directives EMC pour l'utilisation d'un câble de connexion inférieur à 3 mètres.
Remarque aux clients : les informations suivantes sont uniquement applicables aux équipements vendus dans des pays où les directives UE sont en vigueur.
Ce produit a été fabriqué par ou pour le compte de Sony Corporation, 1-7-1 Konan Minato-ku Tokyo, 108-0075 Japon. Toutes les questions relatives à la conformité des produits basées sur la législation européenne doivent être adressées à son représentant, Sony Deutschland GmbH, Hedelfinger Strasse 61, 70327 Stuttgart, Allemagne. Pour toute question relative au Service Après-Vente ou à la Garantie, merci de bien vouloir vous référer aux coordonnées qui vous sont communiquées dans les documents « Service (SAV) » ou Garantie.

Par la présente Sony Corp. déclare que cet équipement est conforme aux exigences essentielles et aux autres dispositions pertinentes de la directive 1999/5/CE. Pour toute information complémentaire, veuillez consulter l'URL suivante : http://www.compliance.sony.de/

Traitement des appareils électriques et électroniques en fin de vie (Applicable dans les pays de l'Union Européenne et aux autres pays européens disposant de systèmes de collecte sélective)
Ce symbole, apposé sur le produit ou sur son emballage, indique que ce produit ne doit pas être traité avec les déchets ménagers. Il doit être remis à un point de collecte approprié pour le recyclage des
équipements électriques et électroniques. En vous assurant que ce produit sont mis au rebut de façon appropriée, vous participez activement à la prévention des conséquences négatives que leur mauvais traitement pourrait provoquer sur l'environnement et sur la santé humaine. Le recyclage des matériaux contribue par ailleurs à la préservation des ressources naturelles. Pour toute information complémentaire au sujet du recyclage de ce produit, vous pouvez contacter votre municipalité, votre déchetterie locale ou le point de vente où vous avez acheté le produit.

Elimination des piles et accumulateurs usagés (Applicable dans les pays de l'Union Européenne et aux autres pays européens disposant de systèmes de collecte sélective)
Ce symbole, apposé sur les piles et accumulateurs ou sur les emballages, indique que les piles et accumulateurs fournis avec ce produit ne doivent pas être traités comme de
simples déchets ménagers.
Sur certains types de piles, ce symbole apparaît parfois combiné avec un symbole chimique. Les symboles pour le mercure (Hg) ou le plomb (Pb) sont rajoutés lorsque ces piles contiennent plus de 0,0005% de mercure ou 0,004% de plomb.
En vous assurant que ces piles et accumulateurs sont mis au rebut de façon appropriée, vous participez activement à la prévention des conséquences négatives que leur mauvais traitement pourrait provoquer sur l'environnement et sur la santé humaine. Le recyclage des matériaux contribue par ailleurs à la préservation des ressources naturelles.
Pour les produits qui pour des raisons de sécurité, de performance ou d'intégrité de données nécessitent une connexion permanente à une pile ou à un accumulateur, il conviendra de vous rapprocher d'un service technique qualifié pour effectuer son remplacement.
En rapportant votre appareil électrique en fin de vie à un point de collecte approprié vous vous assurez que la pile ou l'accumulateur incorporée sera traitée correctement.
Pour tous les autres cas de figure et afin d'enlever les piles ou accumulateurs en toute sécurité de votre appareil, reportez-vous au manuel d'utilisation. Rapportez les piles ou accumulateurs usagés au point de collecte approprié pour le recyclage.
Pour toute information complémentaire au sujet du recyclage de ce produit ou des piles et accumulateurs, vous pouvez contacter votre municipalité, votre déchetterie locale ou le point de vente où vous avez acheté ce produit.
Table des matières
Fonctions utiles
Installation de l'enceinte-barre sur un mur ....5
Utilisation de la fonction Commande pour HDMI ....7
Utilisation des fonctions de « BRAVIA » Sync ....8
Contrôle du système à l'aide d'un smartphone ou d'une tablette (SongPal)....9
Réglage des sélections ....11
Établissement d'une liaison avec le système (LINK) ..... 14
Divers
Précautions 15
Technologie sans fil BLUETOOTH 17
Dépannage 19
Pièces et commandes ....23
Caractéristiques ....29
Reportez-vous au Guide de démarrage fourni pour la configuration et les opérations de base.
Fonctions utiles
Installation de l'enceinte-barre sur un mur
Vous pouvez installer l'enceinte-barre sur un mur.
Remarques
- Préparez des vis (non fournies) adaptées au matériau et à la robustesse du mur. Les plaques de plâtre étant particulièrement fragiles, fixez solidement les vis à deux goujons dans la poutre cloison. Installez l'enceinte-barre à l'horizontale, suspendue par des vis dans des goujons dans une zone plane continue du mur.
- Veillez à sous-traiter l'installation à des revendeurs Sony ou des entrepreneurs qualifiés et soyez particulièrement vigilant quant à la sécurité pendant l'installation.
- Sony ne peut être tenu responsable des accidents ou dégâts occasionnés par une mauvaise installation, une résistance insuffisante du mur, une mauvaise fixation des vis, une catastrophe naturelle, etc.
1 Placez les supports de fixation muraux fournis dans les orifices de fixation des supports sur la partie inférieure de l'enceinte-barre à l'aide des vis fournies, de sorte que la surface de chaque support pour fixation murale se présente comme sur l'illustration.
Installez les deux supports pour fixation murale dans les orifices de fixation gauche et droit sur la partie inférieure de l'enceinte-barre.

text_image
Cordon d'alimentation Vis (fournie) Support pour fixation murale (fourni)suite
2 Préparez des vis (non fournies) adaptées aux orifices situés à l'arrière des supports pour fixation murale.


Orifice sur le support pour fixation murale
3 Serrez les vis sur deux goujons dans le mur. Les vis doivent dépasser de 6 à 7 mm.

text_image
HT-CT370 : 652 mm HT-CT770 : 605 mm 6 à 7 mm4 Accrochez les supports pour fixation murale fixés sur l'enceinte-barre aux vis. Alignez les orifices dans les supports pour fixation muraux avec les vis, puis suspendez l'enceinte-barre sur les deux vis.

Conseil L'enceinte-barre détecte automatiquement si elle est installée sur un mur ou posée à plat, et elle optimise le son en fonction de son emplacement.
Utilisation de la fonction Commande pour HDMI
En utilisant la fonction Commande pour HDMI et en connectant un appareil compatible avec la fonction Commande pour HDMI à l'aide d'un câble HDMI High Speed, le fonctionnement est simplifié avec les fonctions ci-dessous.
La fonction Commande pour HDMI est activée en réglant « CTRL (Commande pour HDMI) » sur « ON » (page 12). Le réglage par défaut est « ON ».
Mise hors tension du système
Lorsque vous éteignez le téléviseur, le système et l'appareil raccordé s'éteignent automatiquement.
Commande du son du système
Si vous mettez le système sous tension pendant que vous regardez le téléviseur, le son du téléviseur sera émis automatiquement par les enceintes du système. Le volume du système sera ajusté lorsque vous ajustez le volume en utilisant la télécommande du téléviseur. Si le son du téléviseur était émis par les enceintes du système la dernière fois que vous avez regardé le téléviseur, le système sera mis sous tension automatiquement lorsque vous mettrez de nouveau le téléviseur sous tension.
Canal de retour audio (ARC)
Si le téléviseur est compatible avec la technologie du canal de retour audio (ARC), un raccordement à l'aide d'un câble HDMI High Speed enverra également les signaux audio numériques du téléviseur vers le système. Pour écouter le son du téléviseur à partir du système, il n'est pas nécessaire de procéder à un raccordement audio distinct.
Pour activer la fonction ARC, réglez « ARC (Canal de retour audio) » sur « ON » (page 12). Le réglage par défaut est « ON ».
Lecture une seule touche
Lorsque vous activez l'appareil (lecteur Blu-ray Disc™, « PlayStation®4 », etc.) raccordé au système en utilisant un câble HDMI High Speed, le téléviseur raccordé est mis sous tension automatiquement et le signal d'entrée du système est basculé sur l'entrée HDMI appropriée.
Remarques
- Il se peut que les fonctions ci-dessus ne fonctionnent pas avec certains appareils.
- En fonction des réglages de l'appareil raccordé, la fonction Commande pour HDMI peut ne pas fonctionner correctement. Reportez-vous au mode d'emploi de l'appareil.
Utilisation des fonctions de « BRAVIA » Sync
Les fonctions Sony originales répertoriées ci-dessous peuvent également être utilisées avec des produits compatibles avec « BRAVIA » Sync.
Économie d'énergie
Si un téléviseur compatible avec la fonction « BRAVIA » Sync est raccordé au système, la consommation électrique sera réduite en mode veille en arrêtant la transmission du signal HDMI lorsque le téléviseur est éteint avec la fonction de transfert* du système définie sur « AUTO » (page 12).
Le réglage par défaut est « AUTO ».
Si un autre téléviseur que « BRAVIA » est raccordé, définissez l'élément sur « ON » (page 12).
* La fonction de transfert pour les signaux HDMI est utilisée pour sortir les signaux par la prise HDMI OUT de ce système, même s'il est en mode veille.
Remarques sur les connexions HDMI
- Utilisez un câble HDMI High Speed. Si vous utilisez un câble HDMI standard, les images 1080p, Deep Color, 3D et 4K risquent de ne pas s'afficher correctement.
- Utilisez un câble agréé HDMI.
Utilisez un câble HDMI High Speed Sony portant le logo du type de câble. - Il est déconseillé d'utiliser un câble de conversion HDMI-DVI.
- Si la qualité d'image est médiocre ou si le son n'est pas émis par l'appareil raccordé à l'aide du câble HDMI, vérifiez la configuration de l'appareil.
-
Il est possible que les signaux audio (fréquence d'échantillonnage, longueur en bits, etc.) transmis par une prise HDMI soient supprimés par l'appareil raccordé.
-
Le son peut être interrompu en cas de modification de la fréquence d'échantillonnage ou du nombre de canaux des signaux de sortie audio provenant de l'appareil utilisé pour la lecture.
- Si l'appareil raccordé n'est pas compatible avec la technologie de protection des droits d'auteur (HDCP), l'image et/ou le son provenant de la prise HDMI OUT de ce système peuvent être déformés ou absents. Dans ce cas, vérifiez les spécifications de l'appareil raccordé.
- Lorsque « TV » est sélectionné comme source d'entrée du système, les signaux vidéo émis par l'intermédiaire de l'une des prises HDMI IN 1/2/3 sélectionnée la dernière fois sont émis depuis la prise HDMI OUT.
- Ce système prend en charge les transmissions Deep Color, « x.v.Colour », 3D et 4K.
- Pour profiter d'images 3D, raccordez un téléviseur compatible 3D et un appareil vidéo (lecteur Blu-ray Disc, « PlayStation _3 4 », e t c . ) a u système à l'aide de câbles HDMI High Speed, mettez des lunettes 3D, puis activez la lecture d'un Blu-ray Disc compatible 3D.
- Pour profiter d'images 4K, le téléviseur et les lecteurs raccordés au système doivent être compatibles avec les images 4K.
Contrôle du système à l'aide d'un smartphone ou d'une tablette (SongPal)
« SongPal » est l'application qui permet d'utiliser le système avec votre smartphone, tablette, etc.
« SongPal » est disponible sur Google Play™ et l'App Store. Cette fonction est activée en réglant « BT PWR (Alimentation BLUETOOTH) » sur « ON » (page 12). Le réglage par défaut est « ON ».

text_image
TV TV VND VND I/O + DISPLAY + SWC - CLEAR AUDIO I - - STANDARD WAVE SAME SOUND FIELD MUSIC AUDIO SPORTS VOICE NIGHT RETURN AMP MENU + - BLUETHOOTH + > + > + > + > + + + + + + + + + + + + + + + + + + + + + + + + + + + + + + + + + + + + + + + + + + + + + + + + + + + + + + + + + + + + + + + + + + + + + + + + + + + + + + + + + + + + + + + + + + + + + + + + + + + + + + + + + + + + + + + + + + + + + + + + + + + + + + + + + + + + + + + PAIRINGUtilisation d'un périphérique Android™
1 Appuyez sur le bouton I/⏻ (marche/veille) de la télécommande.
L'affichage de l'enceinte-barre s'allume.
2 Recherchez « SongPal » sur le périphérique Android et téléchargez cette application.
3 Exécutez « SongPal », puis suivez les instructions à l'écran.
4 Lorsque l'écran de connexion BLUETOOTH s'affiche sur le périphérique Android, appuyez sur le bouton PAIRING de la télécommande.
Le voyant (bleu) clignote rapidement pendant l'appariement BLUETOOTH.
5 Sélectionnez « SONY:HT-CT370 » ou « SONY:HT-CT770 » dans la liste des périphériques BLUETOOTH du périphérique Android.
Lorsque la connexion est établie, le voyant (bleu) de l'enceinte-barre s'allume.
6 Utilisez le système avec l'affichage du périphérique Android raccordé.
Connexion par simple contact en utilisant le périphérique Android disposant de la fonction intégrée NFC (NFC)
1 Effectuez les étapes 1 à 3 de la section « Utilisation d'un périphérique Android ».
2 Lorsque l'affichage de connexion BLUETOOTH s'affiche sur le périphérique Android, touchez le périphérique Android avec la marque N de l'enceinte-barre.
Lorsque la connexion est établie, le voyant (bleu) de l'enceinte-barre s'allume.

text_image
Voyant (bleu)3 Utilisez le système avec l'affichage du périphérique Android.
Utilisation d'un iPhone/iPod touch
1 Appuyez sur le bouton I/⏻ (marche/veille) de la télécommande.
L'affichage de l'enceinte-barre s'allume.
2 Appuyez sur le bouton PAIRING de la télécommande.
Le voyant (bleu) de l'enceinte-barre clignote rapidement pendant l'appariement BLUETOOTH.
3 Réglez l'iPhone/iPod touch en mode appariement et sélectionnez « SONY:HT-CT370 » ou « SONY:HT-CT770 » dans la liste des périphériques BLUETOOTH sur l'iPhone/iPod touch.
Lorsque la connexion est établie, le voyant (bleu) de l'enceinte-barre s'allume.
4 Recherchez « SongPal » sur l'iPhone/iPod touch connecté et téléchargez cette application.
5 Exécutez « SongPal », puis utilisez le système avec l'affichage de l'iPhone/iPod touch.
Réglage des sélections

text_image
TV + TV - /0 - I/O + DISPLAY + TV PMS - CLEAR AUDIO + SW - STANDING MOVE GAME SOUND FIELD MUSIC F/AUDIO SPORTS VIRT NEXT + (retour)/ ↑ ↓ (sélectionner)/ → (poursuivre)/ ⊕ (entrée) AMP MENU RETURN AMP MENU BLUETOOTH + - + - + - + - + - + - + - + - + - + - + - + - + - + - + - + - + - + - + - + -Vous pouvez régler les éléments suivants avec le bouton AMP MENU de la télécommande. Vos réglages sont conservés, même si vous débranchez le cordon d'alimentation.
1 Appuyez sur le bouton AMP MENU de la télécommande pour afficher la fenêtre du menu de l'amplificateur sur l'affichage de l'enceinte-barre.
2 Sélectionnez le réglage souhaité à l'aide du bouton ← (retour)/↑ ↓ (sélectionner)/→ (poursuivre) et appuyez sur le bouton (entrée).
3 Appuyez sur le bouton AMP MENU pour fermer la fenêtre du menu de l'amplificateur.
| Menu Fonction Réglage | par défaut | ||
| LEVEL DRC | (Contrôle de plage dynamique) | Permet de profiter du son Dolby Digital aux faibles volumes sonores. (ON/AUTO/OFF)ON : compresse le son en fonction des informations de compression présentes dans le contenu.AUTO : compresse automatiquement le son encodé en Dolby TrueHD.OFF : le son n'est pas compressé. | AUTO |
| TONE BASS | Les sons graves sont accentués. Le réglage peut varier de -6 à +6 par incrément de 1. | 0 | |
| TREBLE Les sons aigus sont accentués. Le réglage peut varier de -6 à +6 par incrément de 1. | 0 | ||
| AUDIO SYNC | (Synchronisation AV) | Permet d'ajuster le son lorsque l'image et le son ne sont pas synchronisés. (ON/OFF) | OFF |
| DUAL(Dual mono) | Permet de profiter du son de la diffusion multiplex d'une source audio Dolby Digital. (M/S (canaux principal et secondaire)/MAIN (canal principal)/SUB (canal secondaire)) | MAIN | |
| AAV(Advanced auto volume) | Permet de réduire les écarts de volume entre des programmes différents ou entre les programmes et les publicités. (ON/OFF) | OFF | |
| EFFECT(Effet sonore) | ON : lecture du son du champ acoustique sélectionné. Il est recommandé d'utiliser ce réglage.OFF : la source d'entrée est réduite par mixage pour 2 canaux.Remarque : Lorsque « EFFECT (Effet sonore) » est réglé sur « OFF »,« EFFECT (Effet sonore) » est réglé automatiquement sur« ON » lorsque vous modifiez le réglage SOUND FIELD. | ON | |

text_image
TV + - TV I/O + - TV PRICE + - BRUP, AT + - SUV + - TURER + - STANDARD MUSIC SAVE SOUND FIELD MUSK FAUGING SPORTS VOICE RISP-T OK - + RETURN AMP MENU BLUTTOOTH ENTRÉE ENTRÉE (RETOUR)/ ( sélectionner)/ ( poursuivre)/ ( entrée ) AMP MENU| Menu Fonction Réglage | par défaut | ||
| HDMI CTRL | (Commande pour HDMI) | Pour activer ou désactiver la fonction Commande pour HDMI. (ON/OFF)Pour plus d'informations, reportez-vous à la section « Utilisation de la fonction Commande pour HDMI » (page 7). | ON |
| P. THRU(Transfert) | Pour définir le mode d'économie d'énergie de la fonction de transfert pour les signaux HDMI. (AUTO/ON)AUTO : sort les signaux de la prise HDMI OUT du système en mode veille en fonction de l'état du téléviseur. Ce réglage permet d'économiser de l'énergie en mode veille par rapport au réglage « ON ».ON : sort toujours les signaux de la prise HDMI OUT en mode veille.Si un autre téléviseur que « BRAVIA » est raccordé, utilisez le système avec le réglage « ON ».Remarque : cet élément ne s'affiche que lorsque « CTRL (Commande pour HDMI) » est réglé sur « ON ». | AUTO | |
| ARC(Canal de retour audio) | Pour écouter un son numérique provenant d'un téléviseur compatible avec la technologie du canal de retour audio (ARC)raccordé à l'aide d'un câble HDMI High Speed. (ON/OFF)Remarque : cet élément ne s'affiche que lorsque « CTRL (Commande pour HDMI) » est réglé sur « ON ». | ON | |
| SET BT BT PWR | (Alimentation BLUETOOTH) | Pour activer ou désactiver la fonction BLUETOOTH de ce système.(ON/OFF)Remarque : si vous modifiez le réglage sur « OFF », cela désactive les fonctions BLUETOOTH et NFC. | ON |
| BT.STBY(Veille BLUETOOTH) | Lorsque le système dispose d'informations d'appariement, le système est en mode veille BLUETOOTH, même lorsqu'il est éteint.(ON/OFF) | ON | |
| AAC(Codage audio avancé) | Pour définir si le système utilisera ou non AAC par l'intermédiaire du BLUETOOTH. (ON/OFF)Remarque : si vous modifiez le réglage alors que le système est connecté à un périphérique BLUETOOTH, le système se déconnecte du périphérique. | ON | |

text_image
TV TV I/O + + DISPLAY + TV PBS ELEAV SW - CLOCKING MOVE GAME SOUND FIELD MUSIC FAUSTO IFRSIS VSETS NEXT (retour)/ ( selectionner)/ ( poursuivre)/ ( entrée ) AMP MENU RETURN AMP MENU BLUETOOTH H11 H12 H13 H14 H15 H16 H17 H18 H19 H20| Menu Fonction Réglage | par défaut | ||
| SYSTEM A. STBY(Veille automatique) | Pour activer ou désactiver la fonction AUTO POWER OFF. (ON/OFF)Le système s'éteint automatiquement lorsqu'aucune opération n'a été effectuée pendant un certain temps (environ 20 minutes) et qu'il ne reçoit pas de signal d'entrée. | ON | |
| SYS.RST(Réinitialisation matérielle du système) | Pour réinitialiser les menus et les paramètres (champs acoustiques, etc.) du système à son état initial lorsqu'il ne fonctionne pas correctement.Reportez-vous à la section « Dépannage » (page 19) pour plus d'informations. | - | |
| WS | LINK | Pour rétablir la liaison avec le système audio sans fil (page 14). | - |
| RF CHK Pour vérifier si le système audio sans fil du système peut communiquer ou non. (OK/NG) | - | ||
Établissement d'une liaison avec le système (LINK)

text_image
TV + - + - TV FND + - DISPLAY + - SW + / + - CLEAR RUMB + - STANDARD MOVE GAME SOUND FIELD MOVE FAUSEN OFFSETS VINDS + - NIGHT + - RETURN AMP MENU BLUETOOTH + - + - + - + - + - + - + - + - + - + - + - + - + - + - + - + - + - + - + - + - + - + - + - + - + - + - + - + - + - + - + - + - + - + - + - + - + - + - + - + - + - + - + - + - + - + - + - + - + - + - + - (retour)/- ↑ ↓ (sélectionner)/- → (poursuivre)/- ⊕ (+ (entrée)) AMP MENU
text_image
Voyant marche/veille Voyant marche/veille HT-CT370 HT-CT770 Bouton LINK —○ LINK I / ○ I / ○ LINK Bouton LINK I / ○ LINKConfigurez à nouveau la connexion du caisson de graves sans fil.
1 Appuyez sur le bouton AMP MENU de la télécommande.
2 Sélectionnez « WS » avec le bouton ↑ ↓ (sélectionner), puis appuyez sur le bouton (entrée) ou → (poursuivre).
3 Sélectionnez « LINK » avec le bouton ↑ ↓ (sélectionner), puis appuyez sur le bouton (entrée) ou → (poursuivre).
4 Lorsque « START » apparaît sur l'affichage de l'enceinte-barre, appuyez sur le bouton (entrée).
« SEARCH » apparaît et l'enceinte-barre cherche un appareil qui peut être utilisé avec Link. Passez à l'étape suivante en moins d'1 minute.
Pour quitter la fonction Link lors d'une recherche d'appareil, appuyez sur le bouton ← (retour).
5 Appuyez sur le bouton LINK du caisson de graves avec la pointe d'un stylo, etc.
Le voyant marche/veille vert sur le caisson de graves s'allume. « OK » apparaît sur l'affichage de l'enceinte-barre.
Si « FAILED » apparaît, vérifiez que le caisson de graves est allumé et exécutez à nouveau la procédure à partir de l'étape 1.
6 Appuyez sur le bouton AMP MENU.
Le menu de l'amplificateur s'éteint.
Divers
Précautions
Concernant la sécurité
- Si un objet ou du liquide venait à pénétrer à l'intérieur du système, débranchez-le et faites-le vérifier par un technicien qualifié avant de le remettre en marche.
- Ne grimpez pas sur l'enceinte-barre et le caisson de graves, car vous risqueriez de tomber et de vous blesser, ou encore d'endommager le système.
Concernant les sources d'alimentation
- Avant de mettre en marche le système, vérifiez que la tension de fonctionnement est identique à celle de votre source d'alimentation locale. La tension de fonctionnement est indiquée sur l'étiquette dans la partie inférieure de l'enceinte-barre.
- Si vous prévoyez de ne pas utiliser le système pendant une période prolongée, assurez-vous de le débrancher de la prise murale. Pour débrancher le cordon d'alimentation, tirez sur la fiche et non sur le cordon.
- Une broche de la fiche est plus large que l'autre pour des raisons de sécurité et il n'y a qu'une seule façon de la brancher dans la prise murale. Si vous ne parvenez pas à insérer la fiche entièrement dans la prise, contactez votre revendeur.
- Le cordon d'alimentation doit être remplacé uniquement dans un centre de service après-vente qualifié.
Concernant l'accumulation de chaleur
Bien que le système chauffe lors du fonctionnement, il ne s'agit pas d'un dysfonctionnement. Si vous utilisez le système en permanence à un volume élevé, la température augmente considérablement au niveau de ses faces arrière et inférieure. Pour éviter de vous brûler, ne touchez pas le système.
Concernant l'emplacement
- Installez le système dans un endroit correctement ventilé pour éviter l'accumulation de chaleur et prolonger la durée de vie de votre système.
• N'installez pas le système à proximité de sources de chaleur ou dans un endroit soumis aux rayons du soleil, à une poussière excessive ou à des chocs mécaniques. - À l'arrière de l'enceinte-barre et du caisson de graves, ne placez aucun objet qui pourrait obstruer les orifices de ventilation et provoquer des dysfonctionnements.
- Si le système est utilisé conjointement avec un téléviseur, un magnétoscope ou un magnétophone, cela peut provoquer des parasites et altérer la qualité de l'image. Dans ce cas, éloignez le système du téléviseur, du magnétoscope ou du magnétophone.
- Faites attention lorsque vous installez le système sur une surface traitée (avec de la cire, de l'huile, etc.), car vous risquez de la tacher ou de la décolorer.
- Évitez de vous blesser sur les angles de l'enceinte-barre et du caisson de graves.
Concernant le fonctionnement
Avant de raccorder un autre appareil, assurez-vous d'éteindre et de débrancher le système.
Si l'écran du téléviseur situé à proximité présente des irrégularités de couleurs
Des irrégularités de couleurs peuvent être constatées sur certains types de téléviseurs.
En cas d'irrégularités de couleurs...
Mettez le téléviseur hors tension, puis remettez-le sous tension après 15 à 30 minutes.
En cas d'irrégularités de couleurs persistantes...
Éloignez davantage le système du téléviseur.
Concernant l'entretien
Nettoyez le système avec un chiffon sec et doux. N'utilisez pas de tampons abrasifs, de poudre à récurer ou de solvants tels que de l'alcool ou de la benzine.
suite
Si vous avez des questions ou si vous rencontrez des problèmes avec votre système, consultez votre revendeur Sony le plus proche.
Copyrights
Ce système intègre les technologies Dolby* Digital et DTS** Digital Surround System.
* Fabriqué sous licence de Dolby Laboratories.
Dolby et le symbole double-D sont des marques commerciales de Dolby Laboratories.
** Fabriqué sous licence des brevets américains suivants: 5 956 674; 5 974 380; 6 226 616; 6 487 535; 7 212 872; 7 333 929; 7 392 195; 7 272 567 ainsi que d'autres brevets délivrés ou en instance aux États-Unis et dans le monde. DTS-HD, le symbole et
DTS-HD et le symbole associés sont des marques déposées de DTS, Inc. Ce produit comprend un logiciel. © DTS, Inc. Tous droits réservés.
La marque et les logos BLUETOOTH ^® sont des marques déposées appartenant à Bluetooth SIG, Inc. et leur utilisation par Sony Corporation s'effectue sous licence.
Ce système intègre la technologie High-Definition Multimedia Interface (HDMI™).
Les termes HDMI et HDMI High-Definition Multimedia Interface, et le logo HDMI sont des marques commerciales ou des marques déposées de HDMI Licensing LLC aux États-Unis et dans d'autres pays.
Le logo « BRAVIA » est une marque commerciale de Sony Corporation.
« DSEE » est une marque commerciale de Sony Corporation.
«x.v.Colour» et le logo «x.v.Colour» sont des marques commerciales de Sony Corporation.
«PlayStation» est une marque déposée de Sony Computer Entertainment Inc.
N Mark est une marque commerciale ou une marque déposée de NFC Forum, Inc. aux États-Unis et dans d'autres pays.
Android et Google Play sont des marques commerciales de Google Inc.
« ClearAudio+ » est une marque commerciale de Sony Corporation.
Apple, le logo Apple, iPhone, iPod et iPod touch sont des marques commerciales d'Apple Inc., déposées au États-Unis et dans d'autres pays. App Store est une marque de service d'Apple Inc.
Conçu pour

iPod

iPhone
« Made for iPod » et « Made for iPhone » signifie qu'un accessoire électronique a été conçu pour se connecter de manière spécifique respectivement à un iPod ou un iPhone, et que son développeur a certifié qu'il était conforme aux normes de performances d'Apple. Apple n'est pas responsable du fonctionnement de ce périphérique ou de sa conformité avec les normes de sécurité ou réglementaires. Notez que l'utilisation de cet accessoire avec un iPod ou un iPhone peut avoir une influence sur les performances sans fil.
Conçu pour les modèles iPod/iPhone
Les modèles iPod/iPhone compatibles sont répertoriés ci-dessous. Effectuez la mise à jour de votre iPod/iPhone vers le logiciel le plus récent avant de l'utiliser avec ce système.
La technologie BLUETOOTH fonctionne avec les appareils suivants :
- iPhone
iPhone 5s/iPhone 5c/iPhone 5/iPhone 4s/iPhone 4/iPhone 3GS
- iPod touch
iPod touch (5e génération)/iPod touch (4e génération)
Les autres marques commerciales et noms commerciaux appartiennent à leurs propriétaires respectifs.
Technologie sans fil BLUETOOTH
Version et profils BLUETOOTH pris en charge
Un profil fait référence à un ensemble standard de fonctions pour diverses fonctions de produit BLUETOOTH. Reportez-vous à la section « Caractéristiques » (page 29) pour connaître les profils et la version BLUETOOTH pris en charge par ce système.
Remarques
- Pour utiliser la fonction BLUETOOTH, le périphérique BLUETOOTH à connecter doit prendre en charge le même profil que ce système. Même si le périphérique prend en charge le même profil, les fonctions peuvent varier selon les caractéristiques du périphérique BLUETOOTH.
- Sur ce système, la lecture audio peut être retardée par rapport au périphérique BLUETOOTH en raison des caractéristiques de la technologie sans fil BLUETOOTH.
Rayon de communication effectif
Les périphériques BLUETOOTH doivent être utilisés à moins de 10 mètres environ (distance sans obstacle) les uns des autres. La portée de communication effective peut diminuer dans les conditions suivantes :
- Lorsqu'une personne, un objet métallique, un mur ou un autre obstacle se trouve entre les périphériques avec une connexion BLUETOOTH
- Endroits où un réseau local sans fil est installé
- Autour de fours micro-ondes qui fonctionnent
- Endroits où sont générées d'autres ondes électromagnétiques
Effets des autres périphériques
Les périphériques BLUETOOTH et l'appareil de réseau local sans fil (IEEE 802.11 b/g) utilisent la même bande de fréquence (2,4 GHz). En cas d'utilisation de votre périphérique BLUETOOTH près d'un périphérique avec capacité de réseau local sans fil, des interférences électromagnétiques peuvent se produire.
suite
Cela peut se traduire par des taux de transfert de données plus faibles, des parasites ou une impossibilité de connexion. Dans ce cas, essayez de prendre les mesures suivantes :
- Connectez ce système et le téléphone portable BLUETOOTH ou le périphérique BLUETOOTH lorsque vous vous trouvez à au moins 10 mètres de l'appareil de réseau local sans fil.
- Éteignez l'appareil de réseau local sans fil lorsque vous utilisez votre périphérique BLUETOOTH à moins de 10 mètres.
Effets sur d'autres périphériques
Les ondes radio émises par ce système peuvent provoquer une interférence avec le fonctionnement de certains appareils médicaux. Cette interférence pouvant entraîner un dysfonctionnement, éteignez toujours ce système, un téléphone portable BLUETOOTH et un périphérique BLUETOOTH dans les endroits suivants :
- Dans les hôpitaux, les trains, les avions, les stations d'essence et tout endroit susceptible de renfermer des gaz inflammables
- Près de portes automatiques ou d'alarmes incendie
Remarques
- Ce système prend en charge des fonctions de sécurité qui sont conformes aux spécifications BLUETOOTH comme moyen d'assurer la sécurité pendant des communications utilisant la technologie BLUETOOTH. Toutefois, cette sécurité peut s'avérer insuffisante, en fonction des réglages ou d'autres facteurs. C'est pourquoi vous devez toujours être prudent lorsque vous établissez des communications à l'aide de la technologie BLUETOOTH.
- Sony ne pourra en aucun cas être tenu responsable de dommages ou autre perte résultant de fuites d'informations pendant une communication au moyen de la technologie BLUETOOTH.
- La communication BLUETOOTH n'est pas nécessairement garantie avec tous les périphériques BLUETOOTH qui ont le même profil que ce système.
- Les périphériques BLUETOOTH connectés à ce système doivent être conformes aux spécifications BLUETOOTH prescrites par Bluetooth SIG, Inc. et doivent être certifiés comme étant conformes. Toutefois, même lorsqu'un périphérique est conforme aux spécifications BLUETOOTH, il peut arriver que les caractéristiques ou spécifications du périphérique BLUETOOTH rendent la connexion impossible ou entraînent des
méthodes de commande, un affichage ou un fonctionnement différents.
- Il peut se produire des parasites ou une coupure du son, selon le périphérique BLUETOOTH connecté au système, l'environnement des communications ou les conditions ambiantes.
Dépannage
Si vous rencontrez l'une des difficultés suivantes lors de l'utilisation du système, consultez ce guide de dépannage pour tenter de remédier au problème. Si le problème persiste, consultez votre revendeur Sony le plus proche.
Lors de votre demande de réparation, veillez à apporter à la fois l'enceinte-barre et le caisson de graves, même s'il semble qu'un seul appareil présente des problèmes.
ALIMENTATION
Le système ne se met pas sous tension.
→ Vérifiez que le cordon d'alimentation est raccordé correctement.
Le système se met automatiquement hors tension.
→ La fonction « A. STBY » est activée. Réglez « A. STBY (Veille automatique) » sur « OFF » (page 13).
SON
Le système n'émet aucun son provenant du téléviseur.
→ Appuyez à plusieurs reprises sur le bouton ⚫ de la télécommande pour afficher « TV » sur l'affichage (reportez-vous à la section « Écoute de sources audio provenant du téléviseur » dans le Guide de démarrage fourni).
→ Vérifiez le raccordement du câble HDMI, du câble optique numérique ou du câble audio connecté au système et au téléviseur (reportez-vous à la section « Connexion » dans le Guide de démarrage fourni).
→ Vérifiez la sortie audio du téléviseur. Reportez-vous au mode d'emploi du téléviseur pour les réglages du téléviseur.
→ Augmentez le volume sur le téléviseur ou annulez la coupure du son.
→ Lorsqu'un téléviseur compatible avec la technologie ARC (Canal de retour audio) est raccordé avec un câble HDMI, assurez-vous que le câble est connecté à la borne (ARC) d'entrée HDMI du téléviseur (reportez-vous à la section « Connexion » du Guide de démarrage fourni).
→ Si le téléviseur n'est pas compatible avec la technologie ARC (Canal de retour audio), branchez le câble optique numérique en plus du câble HDMI afin de pouvoir émettre le son (reportez-vous à la section « Connexion » du Guide de démarrage fourni).
Le système et le téléviseur reproduisent le son.
→ Coupez le son du système ou du téléviseur.
Le son du téléviseur provenant du système a du retard par rapport à l'image.
→ Réglez « SYNC (Synchronisation AV) » sur « OFF » si ce réglage est défini sur « ON » (page 11).
Le système ne reproduit aucun son ou ne reproduit que très faiblement le son provenant de l'appareil raccordé à l'enceinte-barre depuis cette dernière.
→ Appuyez sur le bouton △ + de la télécommande et vérifiez le niveau du volume (reportez-vous à la section « Pièces et commandes » (page 23)).
→ Appuyez sur le bouton ☒ ou △ + de la télécommande pour annuler la fonction de coupure du son (reportez-vous à la section « Pièces et commandes » (page 27)).
→ Assurez-vous que la source d'entrée est sélectionnée correctement. Vous pouvez essayez d'autres sources d'entrée en appuyant à plusieurs reprises sur le bouton ⚡ de la télécommande (reportez-vous à la section « Écoute de sources sonores » dans le Guide de démarrage fourni).
→ Vérifiez que tous les câbles et cordons du système de l'appareil raccordé sont insérés fermement.
Aucun son ou un son très faible est émis par le caisson de graves.
→ Appuyez sur le bouton SW △ + de la télécommande pour augmenter le volume du caisson de graves (reportez-vous à la section « Pièces et commandes » (page 27)).
→ Assurez-vous que le voyant marche/veille vert sur le caisson de graves est allumé. Dans le cas contraire, reportez-vous à la section « Aucun son n'est audible depuis le caisson de graves. » dans la rubrique « SON SANS FIL » (page 20).
→ Un caisson de graves permet de reproduire des sons graves. En cas de sources d'entrée contenant très peu de composants
sonores graves (par exemple, une émission de télévision), il peut s'avérer difficile d'entendre le son du caisson de graves
→ Lorsque vous lisez du contenu compatible avec la technologie de protection des droits d'auteur (HDCP), celui-ci n'est pas émis depuis le caisson de graves.
Vous n'arrivez pas à obtenir l'effet surround.
→ Selon le signal d'entrée et le réglage du champ acoustique, le traitement du son surround peut ne pas fonctionner correctement. L'effet surround peut être subtil, selon le programme ou le disque en cours de lecture.
Pour émettre un son multicanaux, vérifiez le réglage de sortie du son numérique sur le périphérique raccordé au système. Pour plus d'informations, reportez-vous au mode d'emploi qui accompagne l'appareil raccordé.
BLUETOOTH
Impossible d'établir la connexion BLUETOOTH.
→ Assurez-vous que le voyant (bleu) sur l'enceinte-barre est allumé (reportez-vous à la section « Écoute de sources sonores provenant de périphériques BLUETOOTH » du Guide de démarrage fourni).
État du système État du voyant (bleu)
| Au cours de l'appariement BLUETOOTH | Clignote rapidement |
| Le système tente de se connecter à l'aide d'un périphérique BLUETOOTH | Clignote |
| Le système a établi une connexion avec un périphérique BLUETOOTH | Allumé |
| Le système est en mode veille BLUETOOTH (lorsque le système est hors tension) | Éteint |
→ Assurez-vous que le périphérique BLUETOOTH à connecter est allumé et que la fonction BLUETOOTH est activée.
→ Rapprochez ce système du périphérique BLUETOOTH.
→ Appariez de nouveau ce système avec le périphérique BLUETOOTH. Vous devrez peut-être d'abord annuler l'appariement avec ce système à l'aide de votre périphérique BLUETOOTH.
Impossible de réaliser l'appariement.
→ Rapprochez ce système et le périphérique BLUETOOTH (reportez-vous à la section « Écoute de sources sonores provenant de périphériques BLUETOOTH » du Guide de démarrage fourni).
→ Assurez-vous que ce système n'est pas exposé à des interférences provenant d'un appareil de réseau local sans fil, d'autres périphériques sans fil utilisant la fréquence 2,4 GHz ou d'un four micro-ondes. Si un périphérique qui génère un rayonnement électromagnétique se trouve à proximité, éloignez-le de ce système.
Aucun son n'est émis par le périphérique BLUETOOTH raccordé.
→ Assurez-vous que le voyant (bleu) sur l'enceinte-barre est allumé (reportez-vous à la section « Écoute de sources sonores provenant de périphériques BLUETOOTH » dans le Guide de démarrage fourni).
→ Rapprochez ce système du périphérique BLUETOOTH.
→ Si un périphérique qui génère un rayonnement électromagnétique, par exemple un appareil de réseau local sans fil, d'autres périphériques BLUETOOTH ou un four micro-ondes se trouve à proximité, éloignez le périphérique de ce système.
→ Retirez tous les obstacles entre ce système et le périphérique BLUETOOTH ou éloignez ce système de l'obstacle.
→ Repositionnez le périphérique BLUETOOTH raccordé.
→ Essayez de modifier la fréquence sans fil du routeur Wi-Fi, de l'ordinateur, etc., vers la bande 5 GHz.
→ Augmentez le volume du périphérique BLUETOOTH raccordé.
Le son n'est pas synchronisé avec l'image.
→ Lorsque vous regardez des films, il peut arriver que le son soit perçu avec un léger retard par rapport à l'image.
SON SANS FIL
Aucun son n'est audible depuis le caisson de graves.
→ Vérifiez que le cordon d'alimentation du caisson de graves est raccordé correctement. (Reportez-vous à la section « Mise sous tension du système » dans le Guide de démarrage fourni.)
→ Le voyant marche/veille ne s'allume pas.
- Vérifiez que le cordon d'alimentation du caisson de graves est raccordé correctement.
- Appuyez sur le bouton I/⏻ (marche/veille) du caisson de graves pour mettre le système sous tension.
→ Le voyant marche/veille vert clignote lentement ou le voyant rouge s'allume.
- Rapprochez le caisson de graves de l'enceinte-barre afin que le voyant marche/veille vert s'allume.
- Suivez les étapes de la section « Établissement d'une liaison avec le système (LINK) » (page 14).
- Vérifiez l'état de la communication du système audio sans fil avec la fonction « RF CHK » du menu de l'amplificateur (page 13).
→ Le voyant marche/veille vert clignote rapidement. - Contactez votre revendeur Sony le plus proche
→ Le voyant marche/veille rouge clignote.
- Appuyez sur le bouton I/① (marche/veille) du caisson de graves pour mettre le système hors tension et vérifiez si l'ouverture d'aération du caisson de graves est obstruée ou non.
→ Le caisson de graves est destiné à lire des sons graves. Lorsque la source d'entrée contient peu de sons graves, comme c'est le cas de la plupart des programmes télévisés, les sons graves peuvent ne pas être audibles.
→ Appuyez sur le bouton SW △ + de la télécommande pour augmenter le volume du caisson de graves (reportez-vous à la section « Pièces et commandes » (page 27)).
Le son saute ou présente des parasites.
→ Si un périphérique générant un rayonnement électromagnétique se trouve à proximité, tel qu'un réseau local sans fil ou un four électronique en fonctionnement, éloignez-le de ce système.
→ Retirez tous les obstacles entre l'enceinte-barre et le caisson de graves, déplacez-le ou retirez-le.
→ Disposez l'enceinte-barre et le caisson de graves aussi près que possible.
→ Modifiez la fréquence du réseau local sans fil du routeur Wi-Fi ou de l'ordinateur situé à proximité vers la bande 5 GHz
TÉLÉCOMMANDE
La télécommande de ce système ne fonctionne pas.
→ Pointez la télécommande vers le capteur de télécommande de l'enceinte-barre (reportez-vous à la section « Pièces et commandes » (page 27)).
→ Retirez tous les obstacles se trouvant entre la télécommande et le système.
→ Si les piles de la télécommande sont usées, remplacez-les.
→ Assurez-vous de presser le bouton correct sur la télécommande.
AUTRES
La fonction Commande pour HDMI ne fonctionne pas correctement.
→ Vérifiez la connexion HDMI (reportez-vous à la section « Connexion » du Guide de démarrage fourni).
→ Configurez la fonction Commande pour HDMI sur le téléviseur. Reportez-vous au mode d'emploi fourni avec le téléviseur pour le réglage du téléviseur.
→ Assurez-vous que les appareils raccordés sont compatibles avec « BRAVIA » Sync.
→ Vérifiez les réglages de la Commande pour HDMI de l'appareil raccordé. Reportez-vous au mode d'emploi fourni avec l'appareil raccordé.
→ Si vous branchez/débranchez le cordon d'alimentation, attendez plus de 15 secondes avant d'utiliser le système.
→ Si vous raccordez la sortie audio de l'appareil vidéo et le système à l'aide d'un câble autre que HDMI, aucun son ne peut être émis en raison de « BRAVIA » Sync. Dans ce cas, réglez « CTRL (Commande pour HDMI) » sur « OFF » (page 12) ou raccordez le câble de la prise de sortie audio de l'appareil vidéo directement sur le téléviseur.
« PRTECT (protéger) » apparaît sur l'affichage de l'enceinte-barre.
→ Appuyez sur le bouton I/⏻ (marche/veille) pour mettre le système hors tension. Lorsque l'indication disparaît, débranchez le cordon d'alimentation, puis vérifiez qu'aucun élément ne bloque les orifices d'aération du système.
Les capteurs du téléviseur ne fonctionnent pas correctement.
→ Il est possible que l'enceinte-barre bloque certains capteurs (par exemple, le capteur de luminosité) et le récepteur de commande à distance de votre téléviseur ou l'« émetteur pour lunettes 3D (émission infrarouge) » d'un téléviseur 3D prenant en charge le système de lunettes 3D à infrarouge. Éloignez suffisamment l'enceinte-barre du téléviseur pour que ces pièces fonctionnent correctement. Pour connaître l'emplacement des capteurs et du récepteur de commande à distance, reportez-vous au mode d'emploi fourni avec le téléviseur.
RÉINITIALISER
Si le système ne fonctionne toujours pas correctement, réinitialisez-le comme suit :
1 Appuyez sur le bouton I/∅ (marche/veille) de la télécommande pour mettre l'enceinte-barre sous tension.
2 Appuyez sur le bouton AMP MENU de la télécommande.
3 Appuyez à plusieurs reprises sur le bouton ↑ ↓ (sélectionner) jusqu'à ce que « SYSTEM » s'affiche, puis appuyez sur le bouton ⊕ (entrée).
4 Appuyez à plusieurs reprises sur le bouton ↑ ↓ (sélectionner) jusqu'à ce que « SYS.RST » s'affiche, puis appuyez sur le bouton (entrée) (page 13).
5 Appuyez sur le bouton ⊕ (entrée) lorsque « START » s'affiche.
« RESET » s'affiche sur l'écran, et les réglages du menu et des champs acoustiques, etc. reviennent à leur état d'origine.
6 Débranchez le cordon d'alimentation.
Pièces et commandes
HT-CT370
Enceinte-barre

text_image
1 2 3 4 I / ⏻ INPUT PAIRING VOL - VOL + 5 6 7 8 9 10 11 OPT (TV) ANALOG IN DIGITAL IN 12 2 3 TV (JARC) HDMI IN HDMI OUTAvant/Partie supérieure
1 Bouton (marche/veille) I/
2 Bouton INPUT
3 Bouton PAIRING
4 Boutons VOL (volume) +/-
5 Marque N
Lors de l'utilisation de la fonction NFC, touchez la marque avec votre périphérique NFC.
6 Capteur de télécommande
7 Voyant
- Blanc : lorsque l'affichage de l'enceinte-barre est éteint.
- Bleu : mode BLUETOOTH (page 20)
8 Affichage
Arrière/bas
9 Cordon d'alimentation
10 Prise ANALOG IN
11 Prise DIGITAL IN (OPT (TV))
12 Prises HDMI IN 1/2/3
13 Prise HDMI OUT (TV (ARC))
suite
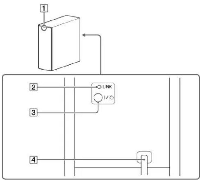
Caisson de graves

flowchart
graph TD
A["1"] --> B["Box"]
B --> C["2"]
B --> D["3"]
B --> E["4"]
C --> F["LINK"]
D --> F
E --> F
F --> G["I/O"]
1 Voyant marche/veille
2 Bouton LINK
3 Bouton I/⏻ (marche/veille)
4 Cordon d'alimentation
HT-CT770
Enceinte-barre

text_image
1 2 3 4 I / ⏻ INPUT PAIRING VOL - VOL + 5 6 7 8 9 10 11 OPT (TV) ANALOG IN DIGITAL IN 12 13 1 2 3 HDMI IN HDMI OUT TV (ARC)Avant/Partie supérieure
1 Bouton I/⏻ (marche/veille)
2 Bouton INPUT
3 Bouton PAIRING
4 Boutons VOL (volume) +/-
5 Marque N
Lors de l'utilisation de la fonction NFC, touchez la marque avec votre périphérique NFC.
6 Capteur de télécommande
7 Voyant
- Blanc : lorsque l'affichage de l'enceinte-barre est éteint.
- Bleue : mode BLUETOOTH (page 20)
8 Affichage
Arrière/bas
9 Cordon d'alimentation
10 Prise ANALOG IN
11 Prise DIGITAL IN (OPT (TV))
12 Prises HDMI IN 1/2/3
13 Prise HDMI OUT (TV (ARC))
suite
Caisson de graves

text_image
1 2 3 4 LINK1 Voyant marche/veille
2 Cordon d'alimentation
3 Bouton I/⏻ (marche/veille)
4 Bouton LINK
Télécommande
La télécommande fournie peut commander le système et les périphériques connectés. Il est possible que certains périphériques ne puissent pas être commandés avec la télécommande. Dans ce cas, utilisez la télécommande du périphérique en question.
Remarque
Pour utiliser la télécommande, dirigez-la vers le capteur de télécommande de l'enceinte-barre.

text_image
19 18 17 TV + - + - TV PRUG DISPLAY + - CLEAR AUDIO + - STANDARD MOVIE SAVE SOUND FIELD MUSIC PARDIG SPORTS 5 6 16 VOICE MOBUT + - RETURN AMP MENU 15 14 10 11 13 12 1 1 2 2 3 3 4 4 5 5 6 6 7 7 8 8 9 9 10 10 11 11 12 12Fonctionnement du système
1 Bouton → (entrée)
2 Bouton I/⏻ (marche/veille)
3 Bouton DISPLAY
Pour modifier la luminosité (Clair/Sombre/Éteint) de l'affichage de l'enceinte-barre.
- Lorsque la luminosité de l'affichage est réglée sur « Éteint », l'affichage s'éteint après avoir indiqué l'état du fonctionnement pendant quelques secondes.
- Lorsque vous basculez du réglage « Éteint » au réglage « Clair », l'affichage présente les informations sur le flux audio.
4 Boutons SW △ (volume du caisson de graves) +/-
5 Boutons SOUND FIELD*
6 Bouton NIGHT (mode nuit)*
7 Bouton ☒ (sourdine)
8 Boutons ∠ (volume) +*/-
9 Bouton AMP MENU
13 Bouton PAIRING
14 Bouton RETURN
15 Boutons ← (retour)/↑↓ (sélectionner)/→ (poursuivre)/ (+
(entrée)
Appuyez sur le bouton ←, ↑, ↓, ou → pour sélectionner un réglage, puis appuyez sur le bouton Ⓓ pour enregistrer le réglage.
16 Bouton VOICE*
Fonctionnement du téléviseur
17 Boutons TV PROG (programme) +/- Pour changer de chaîne.
18 Bouton TV → (entrée)
Pour changer l'entrée du téléviseur.
19 Bouton TV I/⏻ (marche/veille)
Pour mettre sous tension et hors tension un téléviseur qui peut être commandé à l'aide de la télécommande du système.
suite
Fonctionnement du périphérique BLUETOOTH
10 Boutons ◀◀◀/▶▶▶
Pour sauter une piste.
11 Boutons ◀◀/▶▶
Pour faire avancer rapidement la musique en avant ou en arrière lorsque ces boutons sont enfoncés pendant la lecture.
12 Boutons de commande de la lecture
▶*2 (lecture)/II (pause)/■ (arrêt)
Pour démarrer, mettre en pause ou arrêter la lecture. Pour redémarrer la lecture lors d'une pause, appuyez à nouveau sur le bouton III.
Remarque
Il s'agit là d'exemples de fonctionnement élémentaires. Certains périphériques peuvent ne pas fonctionner ou fonctionner différemment.
*1 Reportez-vous à la section « Profiter des effets sonores » dans le Guide de démarrage fourni.
*2 Les boutons ▶ (lecture) et △ (volume) + sont munis d'un point tactile. Utilisez-le comme guide pendant l'utilisation.
Définition du fabricant du téléviseur
1 Appuyez sur le bouton correspondant au fabricant tout en maintenant enfoncé le bouton TV I/⏻ (marche/veille) sur la télécommande du système.
| Fabricant Bouton | |
| SONY | 17 TV PROG + |
| Samsung | 3 DISPLAY |
| LG | 4 SW △ + |
| Panasonic | 17 TV PROG - |
| Philips | 5 CLEARAUDIO+ |
| 5 MOVIE | |
| 5 GAME | |
| Sharp | 4 SW △ - |
| Toshiba | 5 STANDARD |
2 Maintenez le bouton TV I/⏻ (marche/veille) enfoncé et appuyez sur le bouton ④entrée).
3 Relâchez le bouton TV I/⏻ (marche/veille) sur la télécommande du système.
Caractéristiques
Enceinte-barre (SA-CT370, SA-CT770)
Partie amplificateur
PUISSANCE DE SORTIE (nominale)
Avant G + Avant D : 50 W + 50 W
(à 4 ohms, 1 kHz, 1% THD)
PUISSANCE DE SORTIE (référence)
SA-CT370:
Avant G/Avant D : 100 W (par canal à 4 ohms, 1 kHz)
SA-CT770:
Avant G/Avant D : 105 W (par canal à 4 ohms, 1 kHz)
Entrées
HDMI IN 1/2/3*
ANALOG IN
* Ces 3 prises sont identiques. L'utilisation de l'une ou de l'autre n'entraîne aucune différence.
Sortie
HDMI OUT (TV (ARC))
Section BLUETOOTH
Système de communication
Spécification BLUETOOTH version 3.0
Sortie
Spécification BLUETOOTH puissance classe 2
Rayon de communication maximal
Portée visuelle d'environ 10 m ^1)
Nombre maximal de périphériques à enregistrer
9 périphériques
Bande de fréquence
Bande 2,4 GHz (2,4000 GHz - 2,4835 GHz)
Méthode de modulation
20 Hz - 20 000 Hz (Fréquence d'échantillonnage 44,1 kHz)
1) Le rayon réel varie en fonction de facteurs comme des obstacles entre périphériques, des champs magnétiques autour d'un four microondes, l'électricité statique, les téléphones sans fil, la sensibilité de réception, le système d'exploitation, l'application logicielle, etc.
2) Les profils standard BLUETOOTH indiquent l'objet de la communication BLUETOOTH entre les périphériques.
3) Codec : Format de conversion et de compression du signal audio
4) Codec de sous-bande
5) Codage audio avancé
Section enceinte avant G/avant D
Système d'enceinte
SA-CT370 : Système d'enceinte à portée maximale, suspension
acoustique
SA-CT770 : Enceinte 2 voies, suspension acoustique
Enceinte
SA-CT370 :60 mm, type cône
SA-CT770 :60 mm, haut-parleur de graves de type cône
20 mm, haut-parleur d'aigus d'entraînement d'équilibre
Impédance nominale
4 ohms
suite
Caractéristiques générales
Puissance de raccordement
220V - 240VCA, 50Hz/60Hz
Consommation électrique
Marche : 34 W
Mode veille (Commande pour HDMI est réglé sur on) : 0,5 W ou moins
Mode veille (Commande pour HDMI est réglé sur off) : 0,3 W ou moins
BLUETOOTH Mode veille : 0,5 W ou moins
Dimensions (environ) (l/h/p)
SA-CT370
900 mm × 50 mm × 113 mm
(sans les supports pour fixation murale)
900 mm × 113 mm × 72 mm
(avec les supports pour fixation murale)
SA-CT770 :
1030 mm × 50 mm × 113 mm
(sans les supports pour fixation murale)
1030 mm × 113 mm × 72 mm
(avec les supports pour fixation murale)
Poids (environ)
SA-CT370 : 2,4 kg
SA-CT770 : 2.6 kg
Caisson de graves (SA-WCT370, SA-WCT770)
PUISSANCE DE SORTIE (référence)
SA-WCT370 : 100 W (par canal à 4 ohms, 100 Hz)
SA-WCT770 : 120 W (par canal à 4 ohms, 100 Hz)
Enceinte
Système de caisson de graves, système Bass reflex
Enceinte
SA-WCT370 : 100 mm × 150 mm, type cône
SA-WCT770 : 160 mm, type cône
Impédance nominale
4 ohms
Puissance de raccordement
220V - 240VCA, 50Hz/60Hz
Consommation électrique
Marche : 30 W
Mode veille : 0,5 W ou moins
Dimensions (environ) (l/h/p)
SA-WCT370 : 135 mm × 361,5 mm × 394 mm (vertical)
361,5 mm × 135 mm × 394 mm (horizontal)
SA-WCT770 : 271 mm × 404 mm × 271 mm
Poids (environ)
SA-WCT370 : 7,0 kg
SA-WCT770 : 8,8 kg
Section récepteur/émetteur sans fil
Enceinte
Spécification audio sans fil version 2.0
Bande de fréquence
2,4 GHz (2,4000 GHz - 2,4835 GHz)
Méthode de modulation
Pi / 4 DQPSK
Formats d'entrée audio numérique pris en charge par le système
Dolby Digital DTS-HD Master Audio*
Dolby Digital Plus* DTS-HD High Resolution Audio*
Dolby TrueHD* DTS-HD Low Bit Rate*
DTS Linear PCM 2ch 48 kHz o moins
DTS 96/24 Linear PCM Maximum 7.1ch 192 kHz o moins*
* Il est possible de saisir ces formats uniquement avec une connexion HDMI.
Formats vidéo pris en charge par ce système
Entrée/Sortie (Bloc répéteur HDMI)
| Fichier 2D | 3D | |||
| Paquet d'images | Côte à côte (Demi) | Dessus-Dessous (Haut et bas) | ||
| 4096 × 2160p à 59,94/60 Hz^-1 | ○ | - | - | - |
| 4096 × 2160p à 50 Hz^-1 | ○ | - | - | - |
| 4096 × 2160p à 23,98/24 Hz^-2 | ○ | - | - | - |
| 3840 × 2160p à 59,94/60 Hz^-1 | ○ | - | - | - |
| 3840 × 2160p à 50 Hz^-1 | ○ | - | - | - |
| 3840 × 2160p à 29,97/30 Hz^-2 | ○ | - | - | - |
| 3840 × 2160p à 25 Hz^-2 | ○ | - | - | - |
| 3840 × 2160p à 23,98/24 Hz^-2 | ○ | - | - | - |
| 1920 × 1080p à 59,94/60 Hz | ○ | - | ○ | |
| 1920 × 1080p à 50 Hz | - | ○ | ○ | |
| 1920 × 1080p à 29,97/30 Hz | ○ | ○ | ○ | |
| 1920 × 1080p à 25 Hz | ○ | ○ | ○ | |
| 1920 × 1080p à 23,98/24 Hz | ○ | ○ | ○ | |
| 1920 × 1080i à 59,94/60 Hz | ○ | ○ | ○ | |
| 1920 × 1080i à 50 Hz | ○ | ○ | ○ | |
| 1280 × 720p à 59,94/60 Hz | ○ | ○ | ○ | |
| 1280 × 720p à 50 Hz | ○ | ○ | ○ | |
| 1280 × 720p à 29,97/30 Hz | ○ | ○ | ○ | |
| 1280 × 720p à 23,98/24 Hz | ○ | ○ | ○ | |
| 720 × 480p à 59,94/60 Hz | ○ | - | - | |
| 720 × 576p à 50 Hz | ○ | - | - | |
| 640 × 480p à 59,94/60 Hz | ○ | - | - | |
^1 YCbCr 4:2:0/8 bits seulement pris en charge
^2 8 bits seulement pris en charge
La conception et les caractéristiques sont sujettes à modification sans préavis.
Notice Facile