SACT370 - Lautsprecher SONY - Kostenlose Bedienungsanleitung
Finden Sie kostenlos die Bedienungsanleitung des Geräts SACT370 SONY als PDF.
Questions des utilisateurs sur SACT370 SONY
0 question sur cet appareil. Repondez a celles que vous connaissez ou posez la votre.
Poser une nouvelle question sur cet appareil
Laden Sie die Anleitung für Ihr Lautsprecher kostenlos im PDF-Format! Finden Sie Ihr Handbuch SACT370 - SONY und nehmen Sie Ihr elektronisches Gerät wieder in die Hand. Auf dieser Seite sind alle Dokumente veröffentlicht, die für die Verwendung Ihres Geräts notwendig sind. SACT370 von der Marke SONY.
BEDIENUNGSANLEITUNG SACT370 SONY
Technische gegevens 29
Stellen Sie die Anlage nicht in einem geschlossenen Bücherregal, einem Einbauschrank u. Ä. auf.
Um Feuergefahr zu verringern, decken Sie die Lüftungsöffnungen des Geräts nicht mit Zeitungen, Tischdecken, Vorhängen usw. ab. Schützen Sie das Gerät vor offenen Flammen, wie z. B. brennenden Kerzen.
Um Feuergefahr und die Gefahr eines elektrischen Schlags zu verringern, schützen Sie das Gerät vor Tropf- oder Spritzwasser und stellen Sie keine Gefäße mit Flüssigkeiten darin, wie z. B. Vasen, auf das Gerät.
Das Gerät bleibt auch in ausgeschaltetem Zustand mit dem Stromnetz verbunden, solange das Netzkabel mit der Netzsteckdose verbunden ist.
Schließen Sie das Gerät an eine leicht zugängliche Netzsteckdose an, da das Gerät mit dem Netzstecker vom Netzstrom getrennt wird. Sollten an dem Gerät irgendwelche Störungen auftreten, ziehen Sie sofort den Netzstecker aus der Netzsteckdose.
Schützen Sie Akkus und Batterien bzw. Geräte mit eingelegten Akkus und Batterien vor übermäßiger Hitze, wie z. B. direktem Sonnenlicht und Feuer.
Nur für den Gebrauch in Innenräumen.
Für die Lautsprechereinheit
Das Typenschild befindet sich an der Unterseite.
Empfohlene Kabel
Für den Anschluss an Hostcomputer und/oder Peripheriegeräte müssen angemessen geschirmte und geerdete Kabel und Anschlüsse verwendet werden.
Dieses Gerät wurde geprüft und entspricht bei Verwendung eines Anschlusskabels von weniger als 3 Metern Länge den Grenzwerten in der EMC-Richtlinie.
Hinweis für Kunden: Die folgenden Informationen gelten nur für Geräte, die in Ländern verkauft werden, in denen EU-Richtlinien gelten.
Dieses Produkt wurde von oder für Sony Corporation, 1-7-1 Konan Minato-ku Tokio, 108-0075 Japan hergestellt. Bei Fragen zur Produktkonformität auf Grundlage der Gesetzgebung der Europäischen Union kontaktieren Sie bitte den Bevollmächtigten Sony Deutschland GmbH, Hedelfinger Strasse 61, 70327 Stuttgart, Deutschland. Für Kundendienst oder Garantieangelegenheiten wenden Sie sich bitte an die in den Kundendienst- oder Garantiedokumenten genannten Adressen.

Hiermit erklärt Sony Corp., dass sich das Gerät in Übereinstimmung mit den grundlegenden Anforderungen und den übrigen einschlägigen Bestimmungen der Richtlinie 1999/5/EG befindet.
Weitere Informationen erhältlich unter:
http://www.compliance.sony.de/

Entsorgung von gebrauchten elektrischen und elektronischen Geräten (anzuwenden in den Ländern der Europäischen Union und anderen europäischen Ländern mit einem separaten Sammelsystem für diese Geräte)
Das Symbol auf dem Produkt oder seiner Verpackung weist darauf hin, dass dieses Produkt nicht als normaler Haushaltsabfall zu behandeln ist, sondern an einer
Annahmestelle für das Recycling von elektrischen und
elektronischen Geräten abgegeben werden muss. Durch Ihren Beitrag zum korrekten Entsorgen dieses Produkts schützen Sie die Umwelt und die Gesundheit Ihrer Mitmenschen. Umwelt und Gesundheit werden durch falsches Entsorgen gefährdet. Materialrecycling hilft, den Verbrauch von Rohstoffen zu verringern. Weitere Informationen zum Recycling dieses Produkts erhalten Sie bei Ihrer Gemeindeverwaltung, den kommunalen Entsorgungsbetrieben oder dem Geschäft, in dem Sie das Produkt gekauft haben.

Entsorgung von gebrauchten Batterien und Akkus (anzuwenden in den Ländern der Europäischen Union und anderen europäischen Ländern mit einem separaten Sammelsystem für diese Produkte)
Das Symbol auf der Batterie/dem Akku oder der
Verpackung weist darauf hin, dass diese nicht als normaler
Haushaltsabfall zu behandeln sind.
Ein zusätzliches chemisches Symbol Pb (Blei) oder Hg (Quecksilber) unter der durchgestrichenen Mülltonne bedeutet, dass die Batterie/der Akku einen Anteil von mehr als 0,0005% Quecksilber oder 0,004% Blei enthält. Durch Ihren Beitrag zum korrekten Entsorgen dieser Batterien/Akkus schützen Sie die Umwelt und die Gesundheit Ihrer Mitmenschen. Umwelt und Gesundheit werden durch falsches Entsorgen gefährdet. Materialrecycling hilft, den Verbrauch von Rohstoffen zu verringern. Bei Produkten, die auf Grund ihrer Sicherheit, der Funktionalität oder als Sicherung vor Datenverlust eine ständige Verbindung zur eingebauten Batterie benötigen, sollte die Batterie nur durch qualifiziertes Servicepersonal ausgetauscht werden.
Um sicherzustellen, dass die Batterie korrekt entsorgt wird, geben Sie das Produkt zwecks Entsorgung an einer Annahmestelle für das Recycling von elektrischen und elektronischen Geräten ab.
Für alle anderen Batterien entnehmen Sie die Batterie bitte entsprechend dem Kapitel über die sichere Entfernung der Batterie. Geben Sie die Batterie an einer Annahmestelle für das Recycling von Batterien/Akkus ab.
Weitere Informationen über das Recycling dieses Produkts oder der Batterie erhalten Sie von Ihrer Gemeinde, den kommunalen Entsorgungsbetrieben oder dem Geschäft, in dem Sie das Produkt gekauft haben.
Inhaltsverzeichnis
Praktische Funktionen
Wandmontage der Lautsprechereinheit ....5
Verwenden der Funktion Steuerung für HDMI ....7
Die Verwendung der „BRAVIA“ Sync-Funktionen ....8
Steuern der Anlage über ein Smartphone oder Tablet (SongPal) 9
Anpassen der Einstellungen ....11
Verbinden der Anlage (LINK) 14
Verschiedenes
Sicherheitsmaßnahmen 15
BLUETOOTH-Drahtlostechnologie 17
Störungsbehebung 19
Teile und Steuerungen 23
Technische Daten 29
Informationen zur Einrichtung und zu grundlegenden
Bedienvorgängen finden Sie in der mitgelieferten
Einführungsanleitung.
Praktische Funktionen
Wandmontage der Lautsprechereinheit
Sie können die Lautsprechereinheit an einer Wand montieren.
Hinweise
- Beschaffen Sie Schrauben (nicht mitgeliefert), die sich für das Material der Wand und die Wandstärke eignen. Da eine Gipskartonwand besonders bruchanfällig ist, befestigen Sie die Schrauben sorgfältig an zwei Schraubbolzen im tragenden Wandbalken. Montieren Sie die Lautsprechereinheit horizontal mit einer Aufhängung über die Schrauben in den Schraubbolzen an einem durchgehend ebenen Bereich der Wand.
- Lassen Sie die Montagearbeiten unbedingt von Ihrem Sony-Händler oder lizenzierten Fachleuten ausführen und beachten Sie bei der Montage die nötigen Sicherheitsvorkehrungen.
- Sony kann nicht für Unfälle oder Schäden verantwortlich gemacht werden, die durch unvorschriftsmäßige Montage, unzureichende Wandstärke, schlechte Schraubenverankerung, Naturkatastrophen usw. entstehen.
1 Befestigen Sie an der Unterseite der Lautsprechereinheit die mitgelieferten Wandhalterungen mit den mitgelieferten Schrauben an den Halterungsbefestigungsbohrungen, wobei die Oberfläche jeder Wandhalterung der dargestellten Abbildung entsprechen muss.
Befestigen Sie die beiden Wandhalterungen an den linken und rechten Befestigungsbohrungen an der Unterseite der Lautsprechereinheit.

text_image
Schraube (mitgeliefert) Netzkabel Wandhalterung (mitgeliefert)Fortsetzung
2 Beschaffen Sie Schrauben (nicht mitgeliefert), die sich für die Bohrungen an der Rückseite der Wandhalterungen eignen.


3 Drehen Sie die Schrauben in zwei Schraubbolzen in der Wand.
Die Schrauben müssen 6 bis 7 mm aus der Wand ragen.

text_image
HT-CT370: 652 mm HT-CT770: 605 mm 6 bis 7 mm4 Hängen Sie die an der Lautsprechereinheit befestigten Wandhalterungen an den Schrauben auf. Richten Sie die Bohrungen in den Wandhalterungen an den Schrauben aus und hängen Sie dann die Lautsprechereinheit an den beiden Schrauben auf.

Tipp Die Lautsprechereinheit erkennt automatisch, ob sie an einer Wand montiert oder flach aufgestellt wurde, und sie optimiert den Ton je nach Ausrichtung.
Verwenden der Funktion Steuerung für HDMI
Indem die Funktion Steuerung für HDMI verwendet und ein mit der Funktion Steuerung für HDMI kompatibles Gerät über ein High-Speed-HDMI-Kabel angeschlossen wird, kann die Bedienung mit den nachfolgenden Funktionen vereinfacht werden. Die Funktion Steuerung für HDMI wird aktiviert, indem Sie „CTRL (Steuerung für HDMI)“ auf „ON“ setzen (Seite 12). Die Standardeinstellung ist „ON“.
Systemausschaltung
Wenn Sie das Fernsehgerät ausschalten, werden die Anlage und die angeschlossenen Geräte automatisch ausgeschaltet.
Systemaudiosteuerung
Wenn Sie die Anlage einschalten, während das Fernsehgerät läuft, wird der Ton des Fernsehgeräts automatisch über die Lautsprecher der Anlage ausgegeben. Die Lautstärke der Anlage wird angepasst, wenn Sie die Lautstärke über die Fernbedienung des Fernsehgeräts anpassen. Wenn der Ton des Fernsehgeräts über die Lautsprecher der Anlage ausgegeben wurde, als Sie das letzte Mal ferngesehen haben, wird die Anlage automatisch eingeschaltet, wenn Sie das Fernsehgerät wieder einschalten.
Audiorückkanal (ARC)
Wenn das Fernsehgerät mit der Audiorückkanaltechnologie (ARC)-kompatibel ist, ermöglicht eine High-Speed-HDMI-Kabelverbindung auch das Senden von digitalen Audiosignalen vom Fernsehgerät an die Anlage. Sie müssen keine separate Audioverbindung herstellen, um den Ton des Fernsehgeräts über die Anlage zu hören. Die ARC-Funktion wird aktiviert, indem Sie „ARC (Audiorückkanal)“ auf „ON“ setzen (Seite 12). Die Standardeinstellung ist „ON“.
One-Touch-Wiedergabe
Wenn Sie ein über ein HDMI-High-Speed-Kabel angeschlossenes Gerät aktivieren (Blu-ray Disc™-Player, „PlayStation4“ usw.), wird das verbundene Fernsehgerät automatisch eingeschaltet und das Eingangssignal der Anlage wird zum geeigneten HDMI-Eingang gewechselt.
Hinweise
•Die oben genannten Funktionen funktionieren eventuell nicht mit bestimmten Geräten.
- Abhängig von den Einstellungen des angeschlossenen Geräts funktioniert die Funktion Steuerung für HDMI möglicherweise nicht richtig. Schlagen Sie in den Bedienungsanleitungen der jeweiligen Geräte nach.
Die Verwendung der „BRAVIA“ Sync-Funktionen
Die unten aufgeführten Original-Sony-Funktionen können auch mit Produkten verwendet werden, die mit „BRAVIA“ Sync kompatibel sind.
Energiesparmodus
Wenn ein mit „BRAVIA“ Sync kompatibles Fernsehgerät an die Anlage angeschlossen ist, wird der Stromverbrauch im Bereitschaftsmodus reduziert, indem die HDMI-Signalübertragung gestoppt wird, wenn das Fernsehgerät ausgeschaltet wird, wenn die Durchgangsfunktion* der Anlage auf „AUTO“ gesetzt ist (Seite 12). Die Standardeinstellung ist „AUTO“. Wenn ein anderes als ein „BRAVIA“-Fernsehgerät angeschlossen wird, setzen Sie die Einstellung auf „ON“ (Seite 12).
* Die Durchgangsfunktion für HDMI-Signale wird verwendet, um die Signale der HDMI OUT-Buchse dieser Anlage auszugeben, auch wenn sie sich im Bereitschaftsmodus befindet.
Hinweise zu HDMI-Verbindungen
- Verwenden Sie ein High-Speed-HDMI-Kabel. Wenn Sie ein Standard-HDMI-Kabel verwenden, werden Bilder im Format1080p, Deep Color, 3D und 4K möglicherweise nicht ordnungsgemäß wiedergegeben.
- Verwenden Sie ein zugelassenes HDMI-Kabel.
Verwenden Sie ein High-Speed-HDMI-Kabel von Sony mit dem entsprechenden Kabeltyplogo.
• Die Verwendung eines HDMI-DVI-Adapterkabels ist nicht empfehlenswert. -
Überprüfen Sie die Konfiguration des angeschlossenen Geräts, wenn das Bild eines über HDMI-Kabel angeschlossenen Geräts schlecht ist oder kein Ton ausgegeben wird.
-
Je nach angeschlossenem Gerät sind die über eine HDMI-Buchse übertragenen Audiosignale (Abtastfrequenz, Bitlänge usw.) möglicherweise eingeschränkt.
- Es kann zu Tonaussetzern kommen, wenn die Abtastfrequenz oder die Anzahl der Kanäle der Audio-Ausgangssignale vom Wiedergabegerät wechselt.
- Wenn das angeschlossene Gerät nicht mit der Urheberrechtsschutztechnologie (HDCP) kompatibel ist, sind möglicherweise das Bild und/oder der Ton der HDMI OUT-Buchse dieser Anlage verzerrt oder werden nicht ausgegeben. Überprüfen Sie in solch einem Fall die technischen Daten des angeschlossenen Geräts.
- Wenn „TV“ als Eingangsquelle der Anlage ausgewählt ist, werden Videosignale über eine der zuletzt ausgewählten HDMI IN 1/2/3-Buchsen über die HDMI OUT-Buchse ausgegeben.
- Diese Anlage unterstützt Übertragungen in den Formaten Deep Color, „x.v.Colour“, 3D und 4K.
- Um 3D-Bilder zu genießen, schließen Sie ein 3D-kompatibles Fernsehgerät und Videogerät (Blu-ray Disc-Player, „PlayStation4“ usw.) über High-Speed-HDMI-Kabel an die Anlage an, setzen Sie eine 3D-Brille auf und spielen Sie dann eine mit 3D-kompatible Blu-ray Disc ab.
- Um 4K-Bilder genießen zu können, müssen die an die Anlage angeschlossenen Fernsehgeräte und Player mit 4K-Bildern kompatibel sein.
Steuern der Anlage über ein Smartphone oder Tablet (SongPal)
„SongPal“ ist eine Anwendung zur Bedienung der Anlage mit Ihrem Smartphone oder Tablet usw.
„SongPal“ ist über Google Play™ oder den App Store verfügbar. Diese Funktion wird aktiviert, indem Sie „BT PWR (BLUETOOTH-Betrieb)“ auf „ON“ setzen (Seite 12). Die Standardeinstellung ist „ON“.

text_image
TV + - TV I/O + - I/O + - DISPLAY + - TV FREQ - - CLEAR AUDIO - - STANDARD MOUT SOUND FIELD GAMT MUSIC FAIRING SPORTS VOICE NIGHT + - RETURN AMP MENU BLUETOOTH + - + - FAIRING + - PAIRINGBei der Verwendung eines Android™-Geräts
1 Drücken Sie die Taste I/⏻ (Ein/Bereitschaft) auf der Fernbedienung.
Das Display der Lautsprechereinheit leuchtet.
2 Suchen Sie mit dem Android-Gerät nach „SongPal“ und laden Sie die Anwendung herunter.
3 Führen Sie „SongPal“ aus und befolgen Sie dann die Anweisungen auf dem Bildschirm.
4 Nachdem der BLUETOOTH-Verbindungsbildschirm beim Android-Gerät angezeigt wurde, drücken Sie die Taste PAIRING auf der Fernbedienung.
Während der BLUETOOTH-Kopplung blinkt die Lampe (blau) schnell.
5 Wählen Sie „SONY:HT-CT370“ oder „SONY:HT-CT770“ in der BLUETOOTH-Geräteliste des Android-Geräts.
Wenn die Verbindung hergestellt wurde, leuchtet die Lampe (blau) der Lautsprechereinheit.
6 Bedienen Sie die Anlage über das Display des verbundenen Android-Geräts.
Fortsetzung
One-Touch-Verbindung mit dem Android-Gerät mit integrierter NFC-Funktion (NFC)
1 Führen Sie die Schritte 1 bis 3 unter „Bei der Verwendung eines Android-Geräts“ durch.
2 Nachdem der BLUETOOTH-Verbindungsbildschirm beim Android-Gerät angezeigt wurde, berühren Sie das Android-Gerät mit der N-Markierung der Lautsprechereinheit.
Wenn die Verbindung hergestellt wurde, leuchtet die Lampe (blau) der Lautsprechereinheit.

text_image
Lampe (blau)3 Bedienen Sie die Anlage über das Display des Android-Geräts.
Bei der Verwendung eines iPhone/iPod touch
1 Drücken Sie die Taste I/⏻ (Ein/Bereitschaft) auf der Fernbedienung.
Das Display der Lautsprechereinheit leuchtet.
2 Drücken Sie die Taste PAIRING auf der Fernbedienung.
Die Lampe (blau) der Lautsprechereinheit blinkt während der BLUETOOTH-Kopplung schnell.
3 Setzen Sie Ihr iPhone/iPod touch auf den Kopplungsmodus und wählen Sie „SONY:HT-CT370“ oder „SONY:HT-CT770“ in der BLUETOOTH-Geräteliste im iPhone/iPod touch.
Wenn die Verbindung hergestellt wurde, leuchtet die Lampe (blau) der Lautsprechereinheit.
4 Suchen Sie mit dem verbundenen iPhone/iPod touch nach „SongPal“ und laden Sie die Anwendung herunter.
5 Führen Sie „SongPal“ aus und bedienen Sie die Anlage dann über das Display des iPhone/iPod touch.
Anpassen der Einstellungen

text_image
TV TV I/O + + + + + + + + + + + + + + + + + + + + + + + + + + + + + + + + + + + + + + + + + + + + + + + + + + + + + (Zurück)/ ↑ ↓ (Auswahl)/ → (Weiter)/ ⊕ (Eingabe) AMP MENU + RETURN AMP MENU - BLUETOOTH - BI - >> - <> - >> - >> - >> - >> - >> - >> - >> - >> - >> - >> - >> - >> - >> - >> - >> - >> - >> - >> - >> - >> - >> - >> - >> - >> - >> - >> - >> - >> - >> - >> - >> - >> - >> - > > - > > - > > - > > - > > - > > - > > - > > - > > - > > - > > - > > - > > - > > - > > - > > - > > - > > - > > - > > - > > - > > - > > - > > - > > - > > - > > - > > - > > - > > - > > - > > - > > - > >Sie können die folgenden Elemente über die Taste AMP MENU auf der Fernbedienung einstellen. Ihre Einstellungen bleiben erhalten, auch wenn Sie das Netzkabel trennen.
1 Drücken Sie die Taste AMP MENU auf der Fernbedienung, um das Verstärkermenüfenster im Display der Lautsprechereinheit anzuzeigen.
2 Wählen Sie mit der Taste ← (Zurück)/↑ ↓ (Auswahl)/→ (Weiter) die gewünschte Einstellung und drücken Sie die Taste (Eingabe).
3 Drücken Sie die Taste AMP MENU, um das Verstärkermenüfenster zu verlassen.
| Menü Funktion Standard- | einstellung | ||
| LEVEL DRC | (Dynamic Range Control) | Sie können Dolby Digital-Sound bei einer geringen Lautstärke anhören. (ON/AUTO/OFF)ON: Komprimiert den Ton entsprechend der im Inhalt enthaltenen Kompressionsinformationen.AUTO: Komprimiert automatisch in mit Dolby TrueHD kodierten Ton.OFF: Der Ton wird nicht komprimiert. | AUTO |
| TONE BASS T | Tefe Töne werden betont | Die Einstellung kann von -6 bis +6 in Schritten von 1 geändert werden. | 0 |
| TREBLE Hohe Töne werden betont. Die Einstellung kann von -6 bis +6 in Schritten von 1 geändert werden. | 0 | 0 | |
| AUDIO SYNC | (AV-Sync) | Sie können den Ton anpassen, wenn das Bild und der Ton nicht miteinander synchron sind. (ON/OFF) | OFF |
| DUAL (Dual Mono) | Sie können Mehrkanaltöne von Dolby Digital-Audio abspielen. (M/S (Haupt- und Nebenkanal)/MAIN (Hauptkanal)/SUB (Nebenkanal)) | MAIN | |
| AAV (Erweiterte automatische Lautstärke) | Verringert die Lautstärkendifferenzen, die zwischen verschiedenen Programmen oder zwischen Programmen und Werbeunterbrechungen auftreten können. (ON/OFF) | OFF | |
| EFFECT (Soundeffekt) | ON: Der Ton des ausgewählten Klangfelds wird wiedergegeben. Es wird empfohlen, diese Einstellung zu verwenden.OFF: Die Eingangsquelle wird für 2 Kanäle heruntergemischt.Hinweis: Wenn „EFFECT (Soundeffekt)" auf „OFF" gesetzt ist, wird „EFFECT (Soundeffekt)" automatisch auf „ON" gesetzt, wenn Sie die Einstellung SOUND FIELD ändern. | ON | |
Fortsetzung

text_image
TV + TV - TV PRICE + DISPLAY + TURB - E.I. CAR SUNGER - STANDARD MUSIC GAMES SOUND FIELD WRITE FALOOM SPORTS ←(Zurück)/ ↑↓ (Auswahl)/ →(Weiter)/ ⊕(Eingabe) AMP MENU VOICE INPUT RETURN AMP MENU BLUTTOOTH + - + - + - + - + - + - + - + - + - + - + - + - + - + - + - + -| Menü Funktion Standard- | einstellung | ||
| HDMI CTRL | (Steuerung für HDMI) | Schaltet die Funktion Steuerung für HDMI ein oder aus. (ON/OFF)Ausführliche Informationen finden Sie unter „Verwenden der Funktion Steuerung für HDMI“ (Seite 7). | ON |
| P. THRU(Durchgang) | Stellt den Stromsparmodus der Durchgangsfunktion für HDMI-Signale ein. (AUTO/ON)AUTO: Gibt Signale von der HDMI OUT-Buchse der Anlage im Bereitschaftsmodus entsprechend dem Status des Fernsehgeräts aus. Diese Einstellung spart im Bereitschaftsmodus im Vergleich zur Einstellung „ON“ Energie.ON: Die Signale werden von der HDMI OUT-Buchse im Bereitschaftsmodus immer ausgegeben. Wenn ein anderes als ein „BRAVIA“-Fernsehgerät angeschlossen wird, verwenden Sie die Anlage mit der Einstellung „ON”.Hinweis: Dieses Element wird nur angezeigt, wenn „CTRL (Steuerung für HDMI)“ auf „ON“ gesetzt wurde. | AUTO | |
| ARC(Audiorückkanal) | Diese Einstellung ermöglicht die Wiedergabe von digitalen Tönen eines mit der Audiorückkanaltechnologie (ARC) kompatiblen Fernsehgeräts, welches über ein High-Speed-HDMI-Kabel angeschlossen ist. (ON/OFF)Hinweis: Dieses Element wird nur angezeigt, wenn „CTRL (Steuerung für HDMI)“ auf „ON“ gesetzt wurde. | ON | |
| SET BT BT PWR | (BLUETOOTH-Betrieb) | Diese Einstellung aktiviert und deaktiviert die BLUETOOTH-Funktion dieser Anlage. (ON/OFF)Hinweis: Wenn Sie die Einstellung in „OFF“ ändern, werden die BLUETOOTH-Funktion und die NFC-Funktion deaktiviert. | ON |
| BT.STBY(BLUETOOTH-Bereitschaft) | Wenn die Anlage über Kopplungsinformationen verfügt, bleibt sie selbst im ausgeschalteten Zustand im BLUETOOTH-Bereitschaftsmodus. (ON/OFF) | ON | |
| AAC(Advanced Audio Coding) | Diese Einstellung legt fest, ob die Anlage AAC über BLUETOOTH verwendet. (ON/OFF)Hinweis: Wenn Sie die Einstellung ändern, während die Anlage mit einem BLUETOOTH-Gerät verbunden ist, wird die Verbindung zwischen der Anlage und dem Gerät getrennt. | ON | |

text_image
TV TV I/O + + + + TV PODS DISPLAY + - + + + + + + + + + + + + + + + + + + + + + + + + + + + + + + + + + + + + + + + + + + + + + + + + + + VIRKS VIRKS VIRKS VIRKS VIRKS VIRKS VIRKS VIRKS VIRKS VIRKS VIRKS VIRKS VIRKS VIRKS VIRKS VIRKS VIRKS VIRKS VIRKS VIRKS VIRKS VIRKS VIRKS VIRKS VIRKS VIRKS| Menü Funktion Standard- | einstellung | ||
| SYSTEM A. STBY(Automatische Bereitschaft) | Diese Einstellung schaltet die Funktion AUTO POWER OFF ein oder aus. (ON/OFF) Die Anlage schaltet sich automatisch aus, wenn innerhalb eines bestimmten Zeitraums (ungefähr 20 Minuten) kein Bedienschritt erfolgt ist und die Anlage kein Eingangssignal empfängt. | ON | |
| WS | LINK | Verbindet das drahtlose Soundsystem erneut (Seite 14). | - |
| RF CHK Prüft, ob beim drahtlosen Soundsystem der Anlage eine Kommunikation möglich ist oder nicht. (OK/NG) | - | - | |
Verbinden der Anlage (LINK)

text_image
TV + - TV FLOWS + - + - + - + - + - + - + - + - + - + - + - + - + - + - + - + - + - + - + - + - + - + - + - + - + - + - + - + - + - + - + - + - + - + - + - + - + - + - + - + - + - + - + - + - + - + - + - + - + - + - + - (Zurück) / + - (Auswahl) / → (Weiter) / ⊕ (Eingabe) AMP MENU + - (Zurück) / + - (Auswahl) / → (Weiter) / ⊕ (Eingabe) + - (Zurück) / + - (Auswahl) / → (Weiter) / ⊕ (Eingabe)Lampe für Ein/Bereitschaft Lampe für Ein/Bereitschaft

text_image
HT-CT370 HT-CT770 Taste LINK —○ LINK ○ I / ○ I / ○ LINK Taste LINK LINKStellen Sie die Drahtlosverbindung für den Subwoofer wieder her.
1 Drücken Sie die Taste AMP MENU auf der Fernbedienung.
2 Wählen Sie mit der Taste ↑ ↓ (Auswahl) „WS“ und drücken Sie dann die Taste (Eingabe) oder → (Weiter).
3 Wählen Sie mit der Taste ↑ ↓ (Auswahl) „LINK“ und drücken Sie dann die Taste (Eingabe) oder → (Weiter).
4 Wenn im Display der Lautsprechereinheit „START“ angezeigt wird, drücken Sie die Taste (Eingabe).
Die Meldung „SEARCH“ wird angezeigt und die Lautsprechereinheit sucht nach Geräten, die sich für die Verwendung der Link-Funktion eignen. Fahren Sie innerhalb 1 Minute mit dem nächsten Schritt fort.
Wenn Sie die Link-Funktion während einer Suche nach Geräten abbrechen möchten, drücken Sie die Taste ← (Zurück).
5 Drücken Sie mit der Spitze eines Stifts oder einem ähnlichen Gegenstand die Taste LINK am Subwoofer.
Die Lampe für Ein/Bereitschaft am Subwoofer leuchtet grün. Im Display der Lautsprechereinheit wird „OK“ angezeigt.
Wenn „FAILED“ angezeigt wird, stellen Sie sicher, dass der Subwoofer eingeschaltet ist, und starten Sie den Vorgang dann erneut ab Schritt 1.
6 Drücken Sie die Taste AMP MENU.
Das Verstärkermenü wird ausgeblendet.
Verschiedenes
Sicherheitsmaßnahmen
Sicherheit
- Sollten Fremdkörper oder Flüssigkeiten in die Anlage gelangen, lösen Sie das Netzkabel. Lassen Sie die Anlage von qualifiziertem Fachpersonal überprüfen, bevor Sie sie wieder benutzen.
- Klettern Sie nicht auf die Lautsprechereinheit und den Subwoofer, da Sie herunterfallen und sich verletzen könnten oder es zu Schäden an der Anlage kommen kann.
Stromversorgung
•Vergewissern Sie sich vor der Inbetriebnahme der Anlage, dass die Betriebsspannung der lokalen Stromversorgung entspricht. Die Betriebsspannung ist auf dem Typenschild an der Unterseite der Lautsprechereinheit angegeben.
- Wenn Sie die Anlage für längere Zeit nicht verwenden, ziehen Sie das Netzkabel aus der Netzsteckdose. Ziehen Sie dabei immer am Stecker, niemals am Kabel.
- Aus Sicherheitsgründen ist ein Stift des Steckers breiter als der andere, sodass der Stecker nur auf eine Art in die Netzsteckdose gesteckt werden kann. Wenn Sie den Stecker nicht vollständig in die Netzsteckdose stecken können, wenden Sie sich an Ihren Händler.
•Das Netzkabel darf nur vom qualifizierten Kundendienst ausgetauscht werden.
Wärmestau
Die Anlage erwärmt sich während des Betriebs. Dabei handelt es sich aber nicht um eine Fehlfunktion. Wenn die Anlage längere Zeit mit sehr hoher Lautstärke betrieben wird, steigt die Temperatur der Anlage auf der Rück- und Unterseite beträchtlich an. Berühren Sie die Anlage nicht, um Verbrennungen zu vermeiden.
Aufstellung
- Stellen Sie die Anlage an einem Ort mit ausreichender Luftzufuhr auf, damit sich kein Wärmestau bildet und die Lebensdauer der Anlage nicht verkürzt wird.
- Stellen Sie die Anlage nicht in der Nähe von Wärmequellen oder an Orten auf, an denen sie direktem Sonnenlicht, außergewöhnlich viel Staub oder Stößen ausgesetzt ist.
- Platzieren Sie keine Gegenstände an der Rückseite der Lautsprechereinheit und des Subwoofers, die die Lüftungsöffnungen blockieren und so zu Fehlfunktionen führen könnten.
- Wenn die Anlage zusammen mit einem Fernsehgerät, Videorecorder oder Kassettendeck verwendet wird, kann es zu Störgeräuschen kommen und die Bildqualität wird möglicherweise beeinträchtigt. Stellen Sie das System in solch einem Fall weiter entfernt vom Fernsehgerät, Videorecorder oder Kassettendeck auf.
- Seien Sie vorsichtig, wenn Sie die Anlage auf eine besonders behandelte Oberfläche stellen (mit Wachs, Öl, Politur usw.). Es kann zu Flecken bzw. Verfärbungen der Oberfläche kommen.
- Achten Sie darauf, sich nicht an den Ecken der Lautsprechereinheit und des Subwoofers zu verletzen.
Betrieb
Schalten Sie die Anlage unbedingt aus und trennen Sie sie von der Netzsteckdose, bevor Sie andere Geräte anschließen.
Wenn es bei einem Fernsehgerät in der Nähe zu Farbunregelmäßigkeiten kommt
Bei manchen Fernsehgeräten können Farbstörungen auftreten.
Wenn Farbunregelmäßigkeiten auftreten...
Schalten Sie das Fernsehgerät einmal aus und nach 15 bis 30 Minuten wieder ein.
Wenn immer noch Farbunregelmäßigkeiten auftreten...
Stellen Sie die Anlage weiter vom Fernsehgerät entfernt auf.
Reinigung
Reinigen Sie die Anlage mit einem weichen, trockenen Tuch. Verwenden Sie keine Scheuermittel, Scheuerschwämme oder Lösungsmittel wie Alkohol oder Benzin.
Fortsetzung
Sollten an der Anlage Probleme auftreten oder sollten Sie Fragen haben, wenden Sie sich bitte an Ihren Sony-Händler.
Urheberrechte
Diese Anlage umfasst Dolby* Digital und das DTS** Digital Surround System.
* Hergestellt unter Lizenz von Dolby Laboratories.
Dolby und das Doppel-D-Symbol sind Markenzeichen von Dolby Laboratories.
** Hergestellt unter Lizenz. Die US-Patentnummern lauten: 5.956.674; 5.974.380; 6.226.616; 6.487.535; 7.212.872; 7.333.929; 7.392.195; 7.272.567. Weitere Patente wurden in den USA und weltweit beantragt oder bereits anerkannt. DTS-HD, das Symbol und DTS-HD und das Symbol zusammen sind eingetragene Markenzeichen von DTS, Inc. Das Produkt umfasst Software. © DTS, Inc. Alle Rechte vorbehalten.
Der BLUETOOTH®-Schriftzug und die BLUETOOTH-Logos sind eingetragene Markenzeichen von Bluetooth SIG, Inc., und ihre Verwendung durch die Sony Corporation erfolgt in Lizenz.
Diese Anlage ist mit HDMI™-Technologie (High-Definition Multimedia Interface) ausgerüstet. Die Begriffe HDMI und HDMI High-Definition Multimedia Interface sowie das HDMI-Logo sind Warenzeichen oder eingetragene Warenzeichen der HDMI Licensing LLC in den USA und/oder anderen Ländern.
Das „BRAVIA“-Logo ist ein Markenzeichen der Sony Corporation.
„DSEE“ ist ein Markenzeichen der Sony Corporation.
„x.v.Colour“ und das „x.v.Colour“-Logo sind Markenzeichen der Sony Corporation.
„PlayStation“ ist ein eingetragenes Markenzeichen von Sony Computer Entertainment Inc.
Das Zeichen N ist ein Markenzeichen oder eingetragenes Markenzeichen von NFC Forum, Inc. in den USA und in anderen Ländern.
Android und Google Play sind Markenzeichen von Google Inc.
„ClearAudio+“ ist ein Markenzeichen der Sony Corporation.
Apple, das Apple-Logo, iPhone, iPod und iPod touch sind Markenzeichen von Apple Inc., eingetragen in den USA und anderen Ländern. App Store ist eine Dienstleistungsmarke von Apple Inc.
Made for
iPod iPhone
„Made for iPod“ und „Made for iPhone“ bedeutet, dass ein elektronisches Zusatzgerät speziell für den Anschluss an den iPod bzw. das iPhone konstruiert ist und vom Entwickler dahingehend zertifiziert wurde, dass es den Apple-Leistungsnormen entspricht. Apple übernimmt keine Verantwortung für den Betrieb dieses Geräts oder die Einhaltung von Sicherheits- und gesetzlichen Standards. Bitte beachten Sie, dass die Verwendung dieses Zubehörs mit einem iPod oder iPhone die drahtlose Leistung beeinträchtigen kann.
Kompatible iPod-/iPhone-Modelle
Die kompatiblen iPod-/iPhone-Modelle sind wie folgt. Aktualisieren Sie den iPod/das iPhone mit der aktuellen Software, bevor Sie sie mit der Anlage verwenden.
BLUETOOTH-Technologie funktioniert mit:
- iPhone
iPhone 5s/iPhone 5c/iPhone 5/iPhone 4s/iPhone 4/iPhone 3GS - iPod touch
iPod touch (5. Generation)/iPod touch (4. Generation)
Andere Markenzeichen und Produktnamen sind Eigentum der jeweiligen Rechteinhaber.
BLUETOOTH-Drahtlostechnologie
Unterstützte BLUETOOTH-Version und -Profile
Der Begriff Profil bezieht sich auf eine Reihe von Funktionen für verschiedene BLUETOOTH-Produktmerkmale. Informationen zu den von dieser Anlage unterstützten BLUETOOTH-Versionen und -Profilen finden Sie unter „Technische Daten“ (Seite 29).
Hinweise
- Zur Verwendung der BLUETOOTH-Funktion muss das BLUETOOTH-Gerät, mit dem eine Verbindung hergestellt werden soll, das gleiche Profil wie diese Anlage unterstützen. Auch wenn das Gerät das gleiche Profil unterstützt, können die Funktionen aufgrund der technischen Daten des BLUETOOTH-Geräts abweichen.
•Die Audiowiedergabe bei dieser Anlage kann aufgrund der Merkmale der BLUETOOTH-Drahtlostechnologie gegenüber dem BLUETOOTH-Gerät verzögert sein.
Effektive Kommunikationsreichweite
BLUETOOTH-Geräte sollten innerhalb von ca. 10 Metern (Abstand ohne Hindernisse) voneinander benutzt werden. Die effektive Kommunikationsreichweite kann unter den folgenden Bedingungen geringer sein:
- Wenn sich eine Person, ein Metallgegenstand, eine Wand oder ein anderes Hindernis zwischen den Geräten mit einer BLUETOOTH-Verbindung befindet
- An Standorten, an denen ein WLAN betrieben wird
- Im Bereich eines Mikrowellengeräts, das in Gebrauch ist
- An Standorten, an denen es zu anderen elektromagnetischen Wellen kommt
Auswirkungen anderer Geräte
BLUETOOTH-Geräte und WLAN-Geräte (IEEE 802.11b/g) verwenden den gleichen Frequenzbereich (2,4 GHz). Wenn Sie Ihr BLUETOOTH-Gerät in der Nähe eines Geräts mit WLAN-Funktion verwenden, kann es zu elektromagnetischen Störungen kommen.
Das kann zu niedrigeren Datenübertragungsraten, Rauschen oder einer nicht herzustellenden Verbindung führen. Versuchen Sie in diesem Fall die folgenden Abhilfemaßnahmen:
- Stellen Sie eine Verbindung zwischen dieser Anlage und dem BLUETOOTH-Mobiltelefon oder BLUETOOTH-Gerät her, während Sie sich mindestens 10 Meter von dem WLAN-Gerät entfernt befinden.
- Schalten Sie die Stromzufuhr für das WLAN-Gerät aus, wenn Sie Ihr BLUETOOTH-Gerät innerhalb eines Abstands von 10 Metern verwenden.
Auswirkungen auf andere Geräte
Die von diesem System übertragenen Funkwellen können den Betrieb einiger medizinischer Geräte stören. Da diese Störungen zu einer Fehlfunktion führen können, sollten Sie die Stromversorgung dieser Anlage, des BLUETOOTH-Mobiltelefons und BLUETOOTH-Geräts an folgenden Orten immer ausschalten:
- In Krankenhäusern, Zügen oder Flugzeugen, an Tankstellen und an allen Orten, an denen entflammbare Gase vorhanden sein können
- Im Bereich automatischer Türen oder Feuermelder
Hinweise
- Diese Anlage unterstützt Sicherheitsfunktionen, die der BLUETOOTH-Spezifikation entsprechen, um Sicherheit für die Kommunikation mit der BLUETOOTH-Technologie zu gewährleisten. Abhängig von den Einstellungen und anderen Faktoren kann die Sicherheit aber unzureichend sein. Seien Sie also immer vorsichtig, wenn Sie eine Kommunikation mit BLUETOOTH-Technologie durchführen.
- Sony übernimmt keine Haftung für Schäden oder andere Verluste aufgrund von Informationen, die bei einer Kommunikation mit der BLUETOOTH-Technologie offengelegt wurden.
•Die BLUETOOTH-Kommunikation kann nicht notwendigerweise bei allen BLUETOOTH-Geräten garantiert werden, die das gleiche Profil wie diese Anlage haben. - BLUETOOTH-Geräte, die mit dieser Anlage verbunden werden, müssen der von Bluetooth SIG, Inc. vorgeschriebenen BLUETOOTH-Spezifikation entsprechen und dementsprechend zertifiziert sein. Aber auch wenn ein Gerät der BLUETOOTH-Spezifikation entspricht, kann es vorkommen, dass Merkmale oder Spezifikationen des BLUETOOTH-
Fortsetzung
Geräts eine Verbindung unmöglich machen, zu anderen
Steuerungsmethoden, einer anderen Anzeige oder Bedienung führen.
- Abhängig vom BLUETOOTH-Gerät, das mit dieser Anlage verbunden ist, der Kommunikationsumgebung oder den Umgebungsbedingungen kann es zu Rauschen kommen oder der Ton kann unterbrochen werden.
Störungsbehebung
Sollten an der Anlage Störungen auftreten, versuchen Sie, diese anhand der folgenden Checkliste zu beheben, bevor Sie die Anlage zur Reparatur bringen. Sollte die Störung bestehen bleiben, wenden Sie sich an Ihren Sony-Händler.
Selbst wenn nur bei einem Gerät eine Störung vorzuliegen scheint, bringen Sie auf jeden Fall sowohl Ihre Lautsprechereinheit als auch den Subwoofer zur Reparatur.
STROM
Die Anlage startet nicht.
→ Überprüfen Sie, ob das Netzkabel korrekt angeschlossen ist.
Die Anlage wird automatisch ausgeschaltet.
→ Die Funktion „A. STBY“ ist aktiviert. Setzen Sie „A. STBY (Automatische Bereitschaft)“ auf „OFF“ (Seite 13).
TON
Über die Anlage wird der Ton des Fernsehgeräts nicht ausgegeben.
→ Drücken Sie wiederholt die Taste ☑ auf der Fernbedienung, um "TV" im Display anzuzeigen (siehe "Abspielen des Tons eines Fernsehgeräts" in der mitgelieferten Einführungsanleitung).
→ Überprüfen Sie die Verbindung des HDMI-Kabels, optischen Digitalkabels oder Audiokabels, das mit der Anlage und dem Fernsehgerät verbunden ist (siehe Abschnitt „Herstellen der Verbindung“ in der mitgelieferten Einführungsanleitung).
→ Überprüfen Sie die Tonausgabe des Fernsehgeräts. Informationen zu den Einstellungen des Fernsehgeräts finden Sie in der Bedienungsanleitung des Fernsehgeräts.
→ Erhöhen Sie die Lautstärke des Fernsehgeräts oder heben Sie die Stummschaltung auf.
→ Wenn ein Fernsehgerät, das mit der Audiorückkanaltechnologie (ARC) kompatibel ist, über ein HDMI-Kabel angeschlossen ist, stellen Sie sicher, dass das Kabel an den Eingangsanschluss HDMI
(ARC) des Fernsehgeräts angeschlossen ist (siehe „Herstellen der Verbindung“ in der mitgelieferten Einführungsanleitung).
→ Wenn das Fernsehgerät nicht mit der Auditorückkanaltechnologie (ARC) kompatibel ist, schließen Sie das optische Digitalkabel zusätzlich zum HDMI-Kabel an, um den Ton ausgeben zu können (siehe „Herstellen der Verbindung“ in der mitgelieferten Einführungsanleitung).
Der Ton wird sowohl von der Anlage als auch vom Fernsehgerät ausgegeben.
→ Schalten Sie den Ton der Anlage oder des Fernsehgeräts aus.
Der Ton des Fernsehgeräts über diese Anlage ist gegenüber dem Bild verzögert.
→ Setzen sie „SYNC (AV-Sync)“ auf „OFF“, wenn es auf „ON“ gesetzt ist (Seite 11).
Über die Lautsprechereinheit ist der Ton des daran angeschlossenen Geräts nicht oder nur sehr leise zu hören.
→ Drücken Sie die Taste △ + auf der Fernbedienung und überprüfen Sie den Lautstärkepegel (siehe „Teile und Steuerungen“ (Seite 23)).
→ Drücken Sie die Taste ✅ oder △ + auf der Fernbedienung, um die Stummschaltfunktion aufzuheben (siehe „Teile und Steuerungen“ (Seite 27)).
Stellen Sie sicher, dass die Eingangsquelle richtig ausgewählt wurde. Versuchen Sie eine andere Eingangsquelle durch mehrmaliges Drücken der Taste auf der Fernbedienung auszuwählen (siehe „Abspielen des Tons“ in der mitgelieferten Einführungsanleitung).
→ Überprüfen Sie, ob alle Kabel der Anlage und des angeschlossenen Geräts fest eingesteckt sind.
Über den Subwoofer ist der Ton nicht oder nur sehr leise zu hören.
→ Drücken Sie die Taste SW △ + auf der Fernbedienung, um die Lautstärke des Subwoofers zu erhöhen (siehe „Teile und Steuerungen“ (Seite 27)).
→ Vergewissern Sie sich, dass die Lampe für Ein/Bereitschaft am Subwoofer grün leuchtet. Wenn dies nicht der Fall sein sollte, lesen Sie den Abschnitt „Über den Subwoofer wird kein Ton ausgegeben.“ unter „DRAHTLOSER TON“ (Seite 21).
Fortsetzung
→ Ein Subwoofer dient zur Wiedergabe von Bässen. Sollten die Eingangsquellen nur sehr geringe Basskomponenten enthalten (dies ist zum Beispiel häufig bei Fernsehsendungen der Fall), dann ist der über den Subwoofer ausgegebene Ton möglicherweise nur schwer zu hören.
→ Wenn Sie Inhalte mit Urheberrechtsschutztechnologie (HDCP) abspielen, erfolgt keine Tonwiedergabe über den Subwoofer.
Der Raumklangeffekt fehlt.
→ Abhängig vom Eingangssignal und der Klangfeldeinstellung funktioniert die Raumklangverarbeitung möglicherweise nicht effizient. Der Raumklangeffekt kann abhängig vom Programm oder der Disc sehr subtil sein.
→ Um Mehrkanalton wiederzugeben, überprüfen Sie die digitale Audioausgabeeinstellung des mit der Anlage verbundenen Geräts.
BLUETOOTH
Die BLUETOOTH-Verbindung kann nicht abgeschlossen werden.
→ Stellen Sie sicher, dass die Lampe (blau) der Lautsprechereinheit leuchtet (siehe „Abspielen des Tons eines BLUETOOTH-Geräts“ in der mitgelieferten Einführungsanleitung).
Systemstatus Status der Lampe (blau)
| Während der BLUETOOTH-Kopplung Blinkt schnell |
| Die Anlage versucht, eine Verbindung | Blinkt |
| mit einem BLUETOOTH-Gerät herzustellen. | |
| Die Anlage hat eine Verbindung mit einem BLUETOOTH-Gerät hergestellt. | Leuchtet |
| Die Anlage befindet sich im BLUETOOTH-Bereitschaftsmodus (wenn die Anlage ausgeschaltet ist). | Leuchtet nicht |
→ Stellen Sie sicher, dass das zu verbindende BLUETOOTH-Gerät eingeschaltet und die BLUETOOTH-Funktion aktiviert ist.
→ Stellen Sie diese Anlage und das BLUETOOTH-Gerät näher beieinander auf.
→ Koppeln Sie die Anlage und das BLUETOOTH-Gerät erneut. Sie müssen eventuell die Paarung mit diesem System zuerst über Ihr BLUETOOTH-Gerät abbrechen.
Die Kopplung kann nicht abgeschlossen werden.
→ Bringen Sie die Anlage und das BLUETOOTH-Gerät näher zusammen (siehe „Abspielen des Tons eines BLUETOOTH-Geräts“ in der mitgelieferten Einführungsanleitung).
→ Achten Sie darauf, dass diese Anlage keine Störungen eines WLAN-Netzwerks, anderer 2,4 GHz-Drahtlosgeräte oder eines Mikrowellenherds empfängt. Wenn sich in der Nähe ein Gerät befindet, welches elektromagnetische Strahlung abgibt, erhöhen Sie den Abstand zwischen diesem Gerät und der Anlage.
Über das angeschlossene BLUETOOTH-Gerät wird kein Ton ausgegeben.
→ Stellen Sie sicher, dass die Lampe (blau) der Lautsprechereinheit leuchtet (siehe „Abspielen des Tons eines BLUETOOTH-Geräts“ in der mitgelieferten Einführungsanleitung).
→ Stellen Sie diese Anlage und das BLUETOOTH-Gerät näher beieinander auf.
→ Wenn sich in der Nähe ein Gerät befindet, das elektromagnetische Strahlung erzeugt, wie z. B. ein WLAN-Gerät, andere BLUETOOTH-Geräte oder Mikrowellenherde, stellen Sie die Anlage weiter entfernt von solchen Geräten auf.
→ Entfernen Sie jegliche Hindernisse zwischen dieser Anlage und dem BLUETOOTH-Gerät oder verwenden Sie die Anlage weiter vom Hindernis entfernt.
→ Stellen Sie das angeschlossene BLUETOOTH-Gerät an einem anderen Ort auf.
→ Ändern Sie die Drahtlosfrequenz des Wi-Fi-Routers, Computers usw. zu einem 5-GHz-Band.
→ Steigern Sie die Lautstärke des verbundenen BLUETOOTH-Geräts.
Der Ton und das Bild sind nicht synchron.
→ Beim Anschauen von Filmen kann es vorkommen, dass der Ton mit kurzer Verzögerung nach dem Bild zu hören ist.
DRAHTLOSER TON
Über den Subwoofer wird kein Ton ausgegeben.
→ Überprüfen Sie, ob das Netzkabel des Subwoofers korrekt angeschlossen ist. (Siehe „Einschalten der Anlage“ in der mitgelieferten Einführungsanleitung.)
→ Die Lampe für Ein/Bereitschaft leuchtet nicht.
- Überprüfen Sie, ob das Netzkabel des Subwoofers korrekt angeschlossen ist.
- Drücken Sie die Taste I/© (Ein/Bereitschaft) am Subwoofer, um die Anlage einzuschalten.
→ Die Lampe für Ein/Bereitschaft blinkt langsam grün oder leuchtet rot.
- Stellen Sie den Subwoofer in geringem Abstand zu der Lautsprechereinheit auf, damit die Lampe für Ein/Bereitschaft grün leuchtet.
- Führen Sie die im Abschnitt „Verbinden der Anlage (LINK)“ (Seite 14) beschriebenen Schritte aus.
- Überprüfen Sie den Kommunikationsstatus des drahtlosen Soundsystems mithilfe von „RF CHK“ im Verstärkermenü (Seite 13).
→ Die Lampe für Ein/Bereitschaft blinkt schnell in grüner Farbe. - Wenden Sie sich an Ihren Sony-Händler.
→ Die Lampe für Ein/Bereitschaft blinkt rot.
- Drücken Sie die Taste I/© (Ein/Bereitschaft) am Subwoofer, um das Gerät auszuschalten, und prüfen Sie, ob die Lüftungsöffnung des Subwoofers blockiert ist.
→ Der Subwoofer wurde für die Wiedergabe von Bässen konzipiert. Wenn die Eingangquelle nur wenige Bässe enthält, wie dies beispielsweise bei den meisten Fernsehsendungen der Fall ist, sind die Bässe möglicherweise nicht zu hören.
→ Drücken Sie die Taste SW △ + auf der Fernbedienung, um die Lautstärke des Subwoofers zu erhöhen (siehe „Teile und Steuerungen“ (Seite 27)).
Der Ton setzt aus oder es ist Rauschen zu hören.
→ Wenn sich in der Nähe ein Gerät befindet, das elektromagnetische Wellen erzeugt, wie z. B. ein WLAN-Gerät oder ein betriebener Elektrobackofen, stellen Sie die Anlage weiter entfernt von solchen Geräten auf.
→ Entfernen Sie jegliche Hindernisse zwischen der Lautsprechereinheit und dem Subwoofer oder verwenden Sie die Anlage weiter vom Hindernis entfernt.
→ Stellen Sie die Lautsprechereinheit und den Subwoofer in möglichst geringem Abstand zueinander auf.
→ Ändern Sie die WLAN-Frequenz eines Wi-Fi-Routers oder PC, der sich in der Nähe befindet, zu einem 5-GHz-Bereich.
FERNBEDIENUNG
Die Fernbedienung dieser Anlage funktioniert nicht.
→ Zeigen Sie mit der Fernbedienung auf den Fernbedienungssensor an der Lautsprechereinheit (siehe „Teile und Steuerungen“ (Seite 27)).
→ Entfernen Sie Hindernisse zwischen Fernbedienung und Anlage.
→ Tauschen Sie beide Batterien in der Fernbedienung gegen neue aus, wenn sie zu schwach sind.
→ Vergewissern Sie sich, dass Sie auf der Fernbedienung die richtige Taste drücken.
ANDERES
Die Funktion Steuerung für HDMI funktioniert nicht ordnungsgemäß.
→ Überprüfen Sie die HDMI-Verbindung (siehe „Herstellen der Verbindung“ in der mitgelieferten Einführungsanleitung).
→ Richten Sie die Funktion Steuerung für HDMI am Fernsehgerät ein. Informationen zu den Einstellungen des Fernsehgeräts finden Sie in der Bedienungsanleitung des Fernsehgeräts.
→ Stellen Sie sicher, dass alle angeschlossenen Geräte mit „BRAVIA“ Sync kompatibel sind.
Überprüfen Sie die Einstellungen des angeschlossenen Geräts für die Steuerung für HDMI. Schlagen Sie in der Bedienungsanleitung des jeweiligen angeschlossenen Geräts nach.
→ Wenn Sie das Netzkabel anschließen/trennen, warten Sie mindestens 15 Sekunden, bevor Sie die Anlage bedienen.
→ Wenn Sie den Audioausgang des Videogeräts und die Anlage über ein anderes Kabel als ein HDMI-Kabel verbinden, wird aufgrund von „BRAVIA“ Sync möglicherweise kein Ton ausgegeben. Setzen Sie in solch einem Fall „CTRL (Steuerung für
Fortsetzung
HDMI)" auf „OFF" (Seite 12) oder schließen Sie das Kabel von der Audioausgangsbuchse des Videogeräts direkt an das Fernsehgerät an.
„PRTECT (Schutz)“ wird im Display der Lautsprechereinheit angezeigt.
→ Drücken Sie die Taste I/① (Ein/Bereitschaft), um die Anlage auszuschalten. Nachdem die Anzeige ausgeblendet wurde, trennen Sie das Netzkabel und überprüfen Sie anschließend, ob die Lüftungsöffnungen der Anlage blockiert werden.
Die Sensoren des Fernsehgeräts funktionieren nicht ordnungsgemäß.
→ Möglicherweise blockiert die Lautsprechereinheit manche Sensoren (z. B. den Helligkeitssensor) und den Fernbedienungsempfänger Ihres Fernsehgeräts oder den „Emitter für 3D-Brillen (Infrarot-Übertragung)“ eines 3D-Fernsehgeräts, das das System von 3D-Infrarotbrillen unterstützt. Stellen Sie die Lautsprechereinheit und das Fernsehgerät in einem Abstand zueinander auf, der die ordnungsgemäße Funktionsweise dieser Komponenten ermöglicht. In der Bedienungsanleitung des Fernsehgeräts werden die Positionen der Sensoren und des Fernbedienungsempfängers beschrieben.
ZURÜCKSETZEN
Falls die Anlage immer noch nicht ordnungsgemäß funktioniert, setzen Sie sie wie folgt zurück:
1 Drücken Sie die Taste I/☐ (Ein/Bereitschaft) auf der Fernbedienung, um die Lautsprechereinheit einzuschalten.
2 Drücken Sie die Taste AMP MENU auf der Fernbedienung.
3 Drücken Sie wiederholt die Taste ↑ ↓ (Auswahl), bis „SYSTEM“ angezeigt wird, und drücken Sie dann die Taste ⊕ (Eingabe).
4 Drücken Sie wiederholt die Taste ↑ ↓ (Auswahl), bis „SYS.RST“ angezeigt wird, und drücken Sie dann die Taste ⊕ (Eingabe) (Seite 13).
5 Drücken Sie die Taste (Eingabe), nachdem „START“ angezeigt wurde.
„RESET“ wird im Display angezeigt und die Einstellungen des Menüs und der Klangfelder usw. werden auf den ursprünglichen Status zurückgesetzt.
6 Trennen Sie das Netzkabel.
Teile und Steuerungen
HT-CT370
Lautsprechereinheit

text_image
1 2 3 4 I / ⏻ INPUT PAIRING VOL - VOL + 5 6 7 8 9 10 11 OPT (TV) 12 13 ANALOG IN DIGITAL IN HDMI IN HDMI OUT TV (ARC)Vorderseite/Oberseite
1 Taste I/© (Ein/Bereitschaft)
2 Taste INPUT
3 Taste PAIRING
4 Tasten VOL (Lautstärke) +/-
5 N-Markierung
Um die NFC-Funktion zu verwenden, berühren Sie mit Ihrem NFC-Gerät diese Markierung.
6 Fernbedienungssensor
7 Lampe
- Weiß: wenn das Display der Lautsprechereinheit ausgeschaltet ist.
- Blau: BLUETOOTH-Modus (Seite 20)
8 Display
Rückseite/Unterseite
9 Netzkabel
10 ANALOG IN-Buchse
11 DIGITAL IN (OPT (TV))-Buchse
12 HDMI IN 1/2/3-Buchsen
13 HDMI OUT (TV (ARC))-Buchse
Fortsetzung
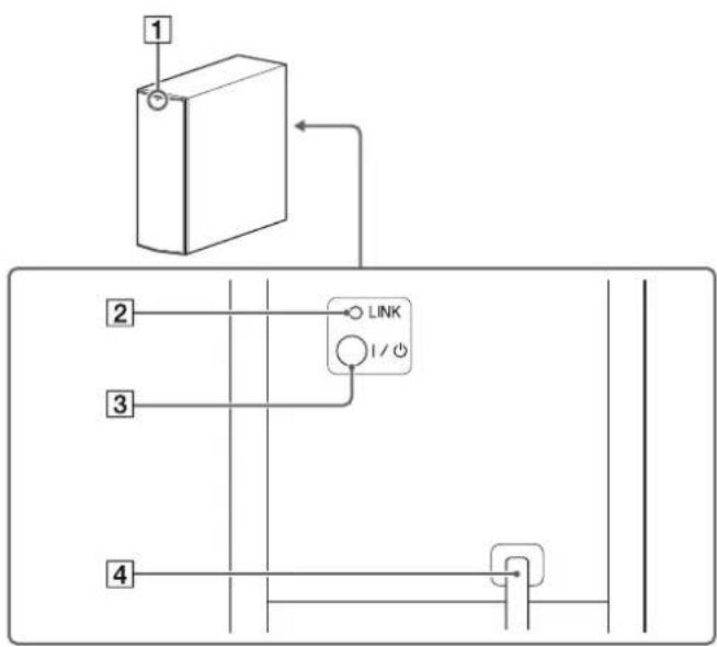
Subwoofer

flowchart
graph TD
A["1"] --> B["Box"]
B --> C["2"]
B --> D["3"]
B --> E["4"]
C --> F["LINK"]
D --> F
E --> F
F --> G["I/O"]
1 Lampe für Ein/Bereitschaft
2 Taste LINK
3 Taste I/⏻ (Ein/Bereitschaft)
4 Netzkabel
HT-CT770
Lautsprechereinheit

text_image
1 2 3 4 I / ⏻ INPUT PAIRING VOL - VOL + 5 6 7 8 9 10 11 OPT (TV) ANALOG IN DIGITAL IN 12 13 1 2 3 HDMI IN HDMI OUT TV (ARC)Vorderseite/Oberseite
1 Taste I/© (Ein/Bereitschaft)
2 Taste INPUT
3 Taste PAIRING
4 Tasten VOL (Lautstärke) +/-
5 N-Markierung
Um die NFC-Funktion zu verwenden, berühren Sie mit Ihrem NFC-Gerät diese Markierung.
6 Fernbedienungssensor
7 Lampe
- Weiß: wenn das Display der Lautsprechereinheit ausgeschaltet ist.
- Blau: BLUETOOTH-Modus (Seite 20)
8 Display
Rückseite/Unterseite
9 Netzkabel
10 ANALOG IN-Buchse
11 DIGITAL IN (OPT (TV))-Buchse
12 HDMI IN 1/2/3-Buchsen
13 HDMI OUT (TV (ARC))-Buchse
Fortsetzung
Subwoofer

text_image
1 2 3 4 LINK1 Lampe für Ein/Bereitschaft
2 Netzkabel
3 Taste I/ ^1 (Ein/Bereitschaft)
4 Taste LINK
Fernbedienung
Über die mitgelieferte Fernbedienung können die Anlage und angeschlossenen Geräte bedient werden. Manche Geräte können jedoch nicht mit ihr bedient werden. Verwenden Sie in diesem Fall die Fernbedienung des jeweiligen Geräts.
Hinweis
Richten Sie die Fernbedienung bei ihrer Benutzung auf den Fernbedienungssensor der Lautsprechereinheit.

text_image
19 18 17 TV + - TV PRG DISPLAY + - CLEAR SWE-1 + - DRUMORE MUSTE GAME SOUND FIELD MUSIC P.A. RING SPORTS 5 6 16 VOICE NEXT 7 15 + - RETURN AMP MENU 14 10 11 FAIRING 12 1 BLUETOOTH 13Bedienung der Anlage
① Taste → (Eingang)
2 Taste I/© (Ein/Bereitschaft)
3 Taste DISPLAY
Mit dieser Taste können Sie die Helligkeit (Hell/Dunkel/Aus) für das Display der Lautsprechereinheit wechseln.
- Wenn die Displayhelligkeit auf „Aus“ gesetzt ist, wird das Display ausgeschaltet, nachdem es den Betriebsstatus einige Sekunden lang angezeigt hat.
- Bei einem Wechsel von „Aus“ zu „Hell“ werden im Display die Daten zum Audiostream angezeigt.
4 Tasten SW △ (Lautstärke des Subwoofers) +/-
5 Tasten SOUND FIELD*
6 Taste NIGHT (Nachtmodus)*
7 Taste ☐ (Stummschaltung)
8 Tasten ∠ (Lautstärke) +*/-
9 Taste AMP MENU
13 Taste PAIRING
14 Taste RETURN
15 Tasten ← (Zurück)/↑↓ (Auswahl)/→ (Weiter)/ ⊕ (Eingabe)
Drücken Sie zur Auswahl einer Einstellung die Taste ←, ↑, ↓ oder → und drücken Sie dann die Taste ≡ um die Einstellung zu registrieren.
16 Taste VOICE*
Bedienung des Fernsehgeräts
17 Tasten TV CH (Sender) +/-
Mit diesen Tasten können Sie den Kanal wechseln.
18 Taste TV (Eingang)
Mit dieser Taste können Sie den Eingang am Fernsehgerät wechseln.
19 Taste TV I/ (Ein/Bereitschaft)
Mit dieser Taste können Sie ein Fernsehgerät, das über die Fernbedienung der Anlage bedient werden kann, ein- und ausschalten.
Fortsetzung
Bedienung des BLUETOOTH-Geräts
10 Tasten I◄◄/►►I
Mit diesen Tasten können Sie einen Titel überspringen.
11 Tasten ◀◀/▶▶
Mit diesen Tasten können Sie die Musik während der Wiedergabe zurück- oder vorspulen.
12 Tasten für die Wiedergabesteuerung
^*2 (Wiedergabe)/II (Pause)/■ (Beenden)
Mit diesen Tasten können Sie die Wiedergabe starten, anhalten oder beenden. Wenn Sie die Wiedergabe nach einer Pause fortsetzen möchten, drücken Sie die Taste Ⅲ erneut.
Hinweis
Diese Beispiele beziehen sich auf die grundlegenden Bedienvorgänge. Manche Geräte können möglicherweise nicht bedient werden oder sie funktionieren anders.
*1 Siehe „Wiedergeben mit Klangeffekten“ in der mitgelieferten Einführungsanleitung.
*2 Die Tasten ▶ (Wiedergabe) und △ (Lautstärke) + verfügen jeweils über einen Tastpunkt. Diese erleichtern Ihnen die Bedienung.
Einstellung des Fernsehgeräteherstellers
1 Drücken Sie gleichzeitig die Taste, die dem Hersteller entspricht, und die Taste TV I/ ^① (Ein/Bereitschaft) auf der Fernbedienung der Anlage.
| Hersteller Taste | |
| SONY | 17 TV PROG + |
| Samsung | 3 DISPLAY |
| LG | 4 SW △ + |
| Panasonic | 17 TV PROG - |
| Philips | 5 CLEARAUDIO+ |
| 5 MOVIE | |
| 5 GAME | |
| Sharp | 4 SW △ - |
| Toshiba | 5 STANDARD |
2 Halten Sie die Taste TV I/☐ (Ein/Bereitschaft) weiterhin gedrückt und drücken Sie die Taste (Eingabe).
3 Lassen Sie die gedrückte Taste TV I/⏻ (Ein/Bereitschaft) auf der Fernbedienung der Anlage los.
Technische Daten
Lautsprechereinheit (SA-CT370, SA-CT770)
Verstärker
NENNLEISTUNG
Vorn links + vorn rechts: 50 W + 50 W
(bei 4 Ohm, 1 kHz, 1% Klirrfaktor)
REFERENZLEISTUNG
SA-CT370: Vorn links/vorn rechts: 100 Watt (4 Ohm pro Kanal, 1 kHz)
SA-CT770: Vorn links/vorn rechts: 105 Watt (4 Ohm pro Kanal, 1 kHz)
Eingänge
HDMI IN 1/2/3*
ANALOG IN
* Diese 3 Buchsen sind identisch. Sie können uneingeschränkt voneinander verwendet werden.
Ausgang
HDMI OUT (TV (ARC))
BLUETOOTH
Kommunikationssystem
BLUETOOTH-Spezifikation Version 3.0
Ausgang
BLUETOOTH-Spezifikation Leistungsklasse 2
Maximale Kommunikationsreichweite
Sichtlinie ca. 10 m ^1
Maximale Anzahl der zu registrierenden Geräte
9 Geräte
Frequenzbereich
2,4-GHz-Band (2,4000 GHz - 2,4835 GHz)
Modulationsverfahren
Unterstützte Codecs ^3)
SBC ^4) , AAC ^5)
Übertragungsreichweite (A2DP)
20 Hz - 20.000 Hz (Abtastfrequenz 44,1 kHz)
1) Die tatsächliche Reichweite variiert abhängig von Faktoren wie Hindernissen zwischen den Geräten, Magnetfeldern um ein Mikrowellengerät herum, statischer Elektrizität, kabellosen Telefonen, Empfangsempfindlichkeit, Betriebssystem, Softwareanwendungen usw.
2) BLUETOOTH-Standardprofile geben den Zweck der BLUETOOTH-Kommunikation zwischen den Geräten an.
3) Codec: Format für die Audiosignalkomprimierung und -konvertierung
4) Subband Codec
5) Advanced Audio Coding
Lautsprechersystem vorn links/vorn rechts
Lautsprechersystem
SA-CT370: Vollbereich-Lautsprechersystem, akustische Aufhängung
SA-CT770: 2-Wege-Lautsprechersystem, akustische Aufhängung
Lautsprecher
SA-CT370: 60 mm, Konus
SA-CT770: 60 mm, Konus, Woofer
20 mm, Hochtöner mit Balanced-Drive-System
Nennimpedanz
4 Ohm
Fortsetzung
Allgemeines
Betriebsspannung
220 V - 240 V Wechselspannung, 50 Hz/60 Hz
Leistungsaufnahme
Ein: 34 W
Bereitschaftsmodus (Steuerung für HDMI ist aktiviert): 0,5 W oder weniger
Bereitschaftsmodus (Steuerung für HDMI ist deaktiviert): 0,3 W oder weniger
BLUETOOTH-Bereitschaftsmodus: 0,5 W oder weniger
Abmessungen (ca.) (B/H/T)
SA-CT370
900 mm × 50 mm × 113 mm
(ohne Wandhalterungen)
900 mm × 113 mm × 72 mm
(mit Wandhalterungen)
SA-CT770:
1.030 mm × 50 mm × 113 mm
(ohne Wandhalterungen)
1.030 mm × 113 mm × 72 mm
(mit Wandhalterungen)
Gewicht (ca.)
SA-CT370: 2,4 kg
SA-CT770: 2,6 kg
Subwoofer (SA-WCT370, SA-WCT770)
REFERENZLEISTUNG
SA-WCT370: 100 W (4 Ohm pro Kanal, 100 Hz)
SA-WCT770: 120 W (4 Ohm pro Kanal, 100 Hz)
Lautsprechersystem
Subwoofer-System, Bassreflex
Lautsprecher
SA-WCT370: 100 mm × 150 mm, Konus
220 V - 240 V Wechselspannung, 50 Hz/60 Hz
Leistungsaufnahme
Ein: 30 W
Bereitschaftsmodus: 0,5 W oder weniger
Abmessungen (ca.) (B/H/T)
SA-WCT370: 135 mm × 361,5 mm × 394 mm (vertikal)
361,5 mm × 135 mm × 394 mm (horizontal)
SA-WCT770: 271 mm × 404 mm × 271 mm
Gewicht (ca.)
SA-WCT370: 7,0 kg
SA-WCT770: 8,8 kg
Drahtloser Sender/Empfänger
Lautsprechersystem
Drahtlose Soundspezifikation Version 2.0
Frequenzbereich
2,4-GHz-Band (2,4000 GHz - 2,4835 GHz)
Modulationsverfahren
Pi / 4 DQPSK
Von dieser Anlage unterstützte digitale Audioeingangsformate
Dolby Digital DTS-HD Master Audio*
Dolby Digital Plus* DTS-HD High Resolution Audio*
Dolby TrueHD* DTS-HD Low Bit Rate*
DTS Linear PCM 2ch 48 kHz oder weniger
DTS 96/24 Linear PCM Maximum 7.1ch 192 kHz oder
weniger*
* Diese Formate können nur über eine HDMI-Verbindung eingespeist werden.
Von dieser Anlage unterstützte Videoformate
Eingang/Ausgang (HDMI-Repeater)
| Datei 2D | 3D | |||
| Bilder für links und rechtes Auge in einem Vollbild | Stereobildern nebeneinan-der in einem Videobild (halb) | Over/Under (Top-and-Bottom) - Stereobilderr untereinan-der | ||
| 4096 × 2160p bei 59,94/60 Hz ^-1 | ○ | - | - | - |
| 4096 × 2160p bei 50 Hz ^-1 | ○ | - | - | - |
| 4096 × 2160p bei 23,98/24 Hz ^-2 | ○ | - | - | - |
| 3840 × 2160p bei 59,94/60 Hz ^-1 | ○ | - | - | - |
| 3840 × 2160p bei 50 Hz ^-1 | ○ | - | - | - |
| 3840 × 2160p bei 29,97/30 Hz ^-2 | ○ | - | - | - |
| 3840 × 2160p bei 25 Hz ^-2 | ○ | - | - | - |
| 3840 × 2160p bei 23,98/24 Hz ^-2 | ○ | - | - | - |
| 1920 × 1080p bei 59,94/60 Hz | ○ | - | ○ | ○ |
| 1920 × 1080p bei 50 Hz | - | ○ | ○ | |
| 1920 × 1080p bei 29,97/30 Hz | ○ | ○ | ○ | |
| 1920 × 1080p bei 25 Hz | ○ | ○ | ○ | |
| 1920 × 1080p bei 23,98/24 Hz | ○ | ○ | ○ | |
| 1920 × 1080i bei 59,94/60 Hz | ○ | ○ | ○ | |
| 1920 × 1080i bei 50 Hz | ○ | ○ | ○ | |
| 1280 × 720p bei 59,94/60 Hz | ○ | ○ | ○ | |
| 1280 × 720p bei 50 Hz | ○ | ○ | ○ | |
| 1280 × 720p bei 29,97/30 Hz | ○ | ○ | ○ | ○ |
| 1280 × 720p bei 23,98/24 Hz | ○ | ○ | ○ | ○ |
| Datei 2D | 3D | |||
| Bilder für linkes und rechtes Auge in einem Vollbild | Stereobilder nebeneinander in einem Videobild (halb) | Over/Under (Top-and-Bottom) - Stereobilder untereinander | ||
| 720 × 480p bei 59,94/60 Hz | ○ | - | - | - |
| 720 × 576p bei 50 Hz | ○ | - | - | - |
| 640 × 480p bei 59,94/60 Hz | ○ | - | - | - |
^1 YCbCr 4:2:0/Unterstützung nur für 8 Bit
^2 Unterstützung nur für 8 Bit
Änderungen, die dem technischen Fortschritt dienen, bleiben vorbehalten.
EinfachAnleitung