AHG70830X - Four encastrable ARTHUR MARTIN - Notice d'utilisation et mode d'emploi gratuit
Retrouvez gratuitement la notice de l'appareil AHG70830X ARTHUR MARTIN au format PDF.
| Type de table | Table de cuisson |
| Nombre de foyers | Non précisé |
| Type de foyer | Non précisé |
| Commande | Non précisé |
| Matériau de la surface | Non précisé |
| Dimensions (L x P) | Non précisé |
| Puissance totale | Non précisé |
| Type d'alimentation | Électrique ou gaz (selon modèle) |
| Sécurité | Non précisé |
| Fonctions spéciales | Non précisé |
| Installation | Encastrable |
| Couleur | Non précisé |
| Marque | Non précisé |
| Modèle | Non précisé |
| Garantie | Non précisé |
FOIRE AUX QUESTIONS - AHG70830X ARTHUR MARTIN
Questions des utilisateurs sur AHG70830X ARTHUR MARTIN
0 question sur cet appareil. Repondez a celles que vous connaissez ou posez la votre.
Poser une nouvelle question sur cet appareil
Téléchargez la notice de votre Four encastrable au format PDF gratuitement ! Retrouvez votre notice AHG70830X - ARTHUR MARTIN et reprennez votre appareil électronique en main. Sur cette page sont publiés tous les documents nécessaires à l'utilisation de votre appareil AHG70830X de la marque ARTHUR MARTIN.
MODE D'EMPLOI AHG70830X ARTHUR MARTIN
Nos事先 pensé à vous lors de la conception de ce produit
Bienvenue dans le monde d'Electrolux
Nos you remercions de la confiance que you nous temoignez en choisissant un appeareil Electrolux qui, nous espérons vous accompagnera/agréablement au fil du temps.
Au travers d'une large gamme de produits de qualité, la volonté d'Electrolux est de vous rendre la vie plus agréable.
Voussouspoucez en voirquelquesexemples sur la couverture de cette notice.
Nos you invitons à prendre quelques minutes pour découvertir ce guide qui you'spermettra de profiter au moins de tous les avantages de votre nouvel apparéil.
Nous vous assurons que son utilisation vous offrira jour après jour satisfaction et sénérité.
A bientôt.
Sommaire
A l'attention de l'utilisateur
Avertissements important 6
Description de l'appareil 9
Utilisation de votre table de cuisson 10
Conseils d'utilisation 12
Entretien et nettoyage 13
Garantie / service - clientèle 25
Plaque signalétique 26
A l'attention de l'installateur
Caracteristiques techniques 16
Installation 17
Raccordement gaz 17
Branchementélectrique 19
Adaptation des brûleurs au gaz utilisé 20
Encastrement 22
Possibilities d'encastrement 24
Comment dire votre notice d'utilisation?
Les symboles suivants vous guideront tout au long de la lecture de votre notice:
Instructions de sécurité
Descriptions d'opérations
i Conseils et recommandations
Informations sur l'environnement
Cet apparéil est conforme aux Directives Communitaires CEE suivantes :
- 2006/95 (Basse Tension) ;
90/396 (Appareil Gaz) - 2004/108 (Compatibilité Electromagnétique) et modifications successives.
! Ces instructions sont valables uniquely pour les pays dont les symboles d'identification figurent au verso de la couverture de cette notice d'utilisation et sur l'appareil lui-même.
FABRICANT :
Lors de sa fabrication, cet apparéil a été construit selon des normes, directives et/ou décrets pour une utilisation sur le territoire français.
Pour la sécurité des biens et des personnes ainsi que pour le respect de l'environnement, vous doivent d'abord dire impératifement les préconisations suivantes avant toute utilisation de votre apparéil.
Pour éviter tout risque de dépréciation de l'appareil, transportez-le dans sa position d'utilisation muni de ses cales de transport (selon modele).
Au déballage de celui-ci, et pour empêcher des risques d'asphyxie et corporel, tenez les matériaux d'emballage hors de la portée des enfants.
Pour éviter tout risque (mobilier, immobilier, corporel,...), l'installation, les rac-cordements (eau, gaz, électricité, évacuation selon modèle), la mise en service et la maintenance de votre apparéil doivent être effectuels par un professionneliel qualifié.
Votre apparéil a été concu pour être utilisé par des adults. Il est destiné à un usage domestique normal. Ne l'utilise pas à des fins commerciales ou industrielles ou pour d'autres buts que ceux pour lesquels il a été concu. Vous évitez ainsi des risques matériel et corporel.
Débranchez votre apparéil avant toute opération de nettoyage manuel. N'utilissez que des produits du commerce non corrosifs ou non inflammables. Toute projection d'eau ou de vapeur est proscrite pour écarter le risque d'électrocution.
Si votre apparéil est équipé d'un éclairage, débranche l' apparéil avant de procédéru changement de l'ampoule (ou du néon, etc.) pour éviter de s'électro-cuter.
Afin d'empêcher des risques d'explosion et d'incendie, ne placez pas de produits inflammables ou d'éléments imbibés de produits inflammables à l'intérieur, à proximé ou sur l'appareil.
Lors de la mise au rebut de votre apparéil, et pour écarter tout risque corporel, mettez hors d'usage ce qui pourrait présenter un danger : coupez le cable d'alimentation au ras de l' apparéil. Informez-vous auprès des services de votre commune des endroits autorisés pour la mise au rebut de l' apparéil.
Pendant et après le fonctionnement, les recipiens et leur contenu peuvent bas-culer et les composants de la table s'échauffent. Tenez les enfants éloignés pour éviter tout risque de brûlle.
Veuillez maintainant tire attentivement cette notice pour une utilisation optimale de votre apparéil.
Veuillez dire attentivement ces remarques avant d'installer et d'utiliser votre apparéil. Nous déclinons toute responsabilité en cas de dommages ou d'accident provoqués par l' apparéil du fait du non-respect de ces averituresments.
Cet apparéil doit être installé par une personne qualifiée et selon les normes en vigueur.
Avertissements importants
Conservez cette notice d'utilisation avec votre apparéil. Si l' apparéil avait été vendu ou cédé à une autre personne, assurez-vous que la notice d'utilisation l'accompagne. Le nouvel utilisateur pourrait alors être informé du fonctionnement de celui-ci et des averissements s'y rapportant. Ces averissements ont été rédigés pour votre sécurité et celle d'autrui.
Utilisation
- Cet apparéil a été concu pour être utilisé par des adultes. Veillez à ce que les enfants n'y touchent pas et ne l'utilisent pas comme un jouet.
- A la réception de l'appareil, déballez-le ou faites-le déballer immédiatement. Vérifiez son aspect général. Faites les éventuelles réserves par écrit sur le bon de livraison ou sur le bon d'enlèvement dont vous garderez un exemplaire.
- Notre apparéil est destiné à un usage domestique normal. Ne l'utilise pas à des fins commerciales ou industrielles ou pour d'autres buts que celui pour lequel il a été concu.
- Ne modifies pas ou n'essayez pas de modifier les caractéristiques de cet apparil. Cela représentait un danger pour vous.
- Avant d'utiliser votre(APpeareil,assurez-vous qu'il a ete correctement raccordepour le type de gaz distribue.
-
Cet apparéil n'est pas destiné à être utilisé par des enfants ou des personnes dont les capacities physiques, sensorielles ou mentales, ou le manque d'expérience et de connaissance les empêchent d'utiliser l' apparéil sans risque lorsqu'ils sont sans surveillance ou en l'absence d'instruction d'une personne responsable qui puisse leur assurer une'utilisation de l' apparéil sans danger.
-
Tenez les enfants à distance pendant le fonctionnement : la table de cuisson et les recipients s'échauffent et peuvent rester chauds longtemps après l'arrêt de l'appareil.
- Baissez ou éteignez toujours la flamme d'un brûleur avant de retarder un récipient.
- N'utilise jamais votre table à vide (sans récipient dessus).
Assurez-vous que les manettes sont toujours en position arrêt lorsqu'l'appareil n'est pas utilisé. - N'utilise pas de recipients instables ou déformés : ils peuvent se renverser et provoquer un accident.
- Les réparations ne doivent être effectues que par un service après vente qualifié. Une réparation non conforme peut être la cause de graves dommages.
- Ne conservez pas à proximité de l'appareil des produits inflammables sensibles aux températures (exemples: produits de nettoyage, bombe aérosols,...)
Assurez-vous que les enfants ne mani-pioulient pas commandes. - Ne laissez rien sur la table de cuisson. Une mise en fonctionnement accidentelle pourrait provoquer un incendie.
- Si vous utilisez un appeareil électricque à proximé de votre table de cuisson,
veiliez a ce que le cable d'alimentation de cet apparéil électrique ne soit pas en contact avec la surface chaude de la table.
- Surveillez attentivement la cuisson lors de friture dans l'huile ou la graisse.
- Evitez tout courant d'air. Si un brûleur ne présente pas une flamme régulière, nettoyez-le soigneusement. Si l'inconvenient subsiste, faites appel au service après-vente.
- L'appareil ne peut être nettoyé à la vapeur chaude ni avec apparéil à jet de vapeur chaude.
- Nettoyez l'appareil après chaque utilisation : vous prolongerez ainsi sa durée de vie et vous éviterez un mauvais fonctionnement des brûleurs et des bougies d'allumage.
- Avant tout nettoyage ou intervention technique, assurez-vous que l'appareil est débranché électricquement et complètement refroidi.
- Cet apparéil n'est pas raccordé à un dispositif d'évacuation des produits de combustion. Il doit être installé et raccordé conformément aux règes d'installation en vigueur. Une attention particulière sera accordée aux dispositions applicables en matière de ventilation.
- L'utilisation d'un apparéil de cuisson au gaz conduit à la production de chaleur et d'humidité dans la piece où il est installé. Veillez à assurer une bonne aération de la cuisine : maintenez ouverts les orifices d'aération naturelle ou installez un dispositif d'aération mécanique.
- Une utilisation intensive et prolongée de l'appareil peut nécessiter une aération supplémentaire en ouvrant la fénètre, ou une aération plus efficace, par exemple en augmentant la puis
sance de la ventilation mecanique si elle existe.
Veillez à ne rien laisser sur la table pendant l'utilisation des brûleurs (torchons, feuilles d'aluminium, etc.).
- Changez le tuyau d'arrivée du gaz un peu avant l'expiration de la date de vieillissement indiquée sur celui-ci.
- N'utilise jamais de bouteille de propane dans votre cuisine ou autre local fermé.
- La table de cuisson ne doit pas etre utilisée pour entreprises qui que ce soit.
- Des feuilles d'aluminium et des réci-pients en matière plastique ne doivent pas été placés sur des surfaces chaudes.
Tenez éloigné de votre plan de cuisson tout ce qui est susceptible de fondre et d'endommager irrémediablement le verre (matières plastiques, feuilles d'aluminium, sucre et produits sucrés).
- Si cela se produit, intervenez immédiatement pendant que la surface vitrocéramique est encore chaude. Utilisez un racloir spécial en protégant vos mains.
- Evitez de laisser tomber quoi que ce soit sur la surface. Un chocol ponctuel, comme par exemple la chute d'une sallière peut provoquer une fissure ou une cassure du verre.
- Attention! Dès qu'une férule dans la surface devient visible, débranchez immédiatement l'appareil de l'alimentation et faites appel au service après-vente.
Pour tables de cuisson en verre: l'utilisation de produits d'entretien non adaptés provoque des éraflures, attaque la surface ou a pour conséquence une décoloration du décor.
C'est pourquoi il est impératif d'utiliser exclusivement un produit d'entretien SPECIAL TABLES EN VERRE. N'utilissez également enaucun cas des objets tranchants pour retarder les débordements.
- N'utilisez que les accessoires livrés avec votre apparéil (un diffuseur de chaleur, par exemple, endommagerait la table de cuisson).
- Lors de l'utilisation de la table de cuisson, il'est impératif de respecter les diamètres indiqués pour chaque zone de cuisson. Le non-respect de cette préconisation entraineraitla surchauffe de la table en verre et sa rupture.
Installation
- Les opérations d'installation et de branchement doivent être effectuées par un personnel qualifié et suivant les normes en vigueur.
- Si l'installation électrique de votre habitation nécessite une modification pour le branchement de votre apparéil, faites appel à un électricien qualifié.
Assurez-vous que l'appareil est installé dans une piece correctement aérée : une mauvaise ventilation peut entraîner un manque d'oxygène. Consultez un installer qualifié ou adressez-vous à la compétie de distribution du gaz de votre région. - Cette table est consque pour fonctionner en 230 V monophasé. Un évientuel branchement polyphasé sans neutre (400 V) peut provoquer la destruction des foyers.

Protection de l'environnement
Tous les matériaux marqués par le symbole sont recyclables. Déposezles dans une déchetterie prévue à cet effet (renseignez-vous auprès des services de votre commune) pour qu'ils puisent être recupérés et recyclés.
En cas d'anomalie de fonctionnement, le vendeur de votre apparéil est le premier habilité à intervenir. A défaut (démenagement de votre part, fermeture du magasin où vous avez effectué l'achat ..., veuillez consulter le Centre Contact Consommateurs qui vous communiquera alors l'adresse d'un Service ÀpRES Vente.
En cas d'intervention sur l'appareil, exigez du service après vente les pieces de rechange certifiées Constructeur.

Le symbole sur le produit ou son
emballage indique que ce produit ne peut être traité comme déchet menager. Il doit être remis au point de collecte dédié à cet effet (collecte et recyclage du matériel électrique etlectronique).En procedant à la miseau rebut de l'appareil dans les régles de l'art, nous préservons l'environnement et notre sécurité, s'assurant ainsi que le déchets seronttraités dans des conditions optimum. Pour obtenir plus de détails sur le recyclage de ce produit, veuillez prendre contact avec les services de votre commune ou le magasin où vous avez effectué l'achat.
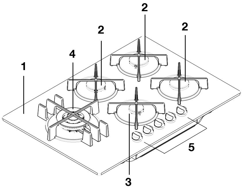
Description de l'appareil

- Plan de trabajo
- Brûleur semi-rapide
- Brûleur auxiliaire
- Brûleur triple couronne
- Manette de commande des brûleurs
Utilisation de votre table de cuisson
Les commandes
Les manettes qui commandent les brûleurs sont dotées de 3 positions principales d'utilisation :
$$ = \text {p o s i t i o n a r r e t} $$

$$ = \text {d e b i t m a x i m u m} $$

$$ = \text {d e b i t m i n i m u m} $$
Chaque brûleur est équipé d'une sécurité thermocouple, qui coupe l'arrêtée de gaz si la flamme s'éteint accidentellement (débordement, courant d'air, etc.).

Ces modèles sont équipés de robinets progressifs, qui permettent un meilleur réglage de la flamme.
L'allumage des brûleurs

Pour allumer un brûleur
- Appuyez sur la commande du brû-leur besoin, et tournez-la vers la gauche jusqu'àu repère de début maximum (20).
Maintenez la commande enforcée, pendant 5 secondes environ après l' apparition de la flamme pour activer la sécurité thermocouple.
En cas de coupure d'électricité, vous pouvez utiliser votre table de cuisson sans avoir recours au système automatique. Pour cela, présente une flamme au brûleur.
- Placez le recipient sur le brûleur.
- Reglez le débit selon les nécessités de votre préparation, en vous assu- rant que la flamme ne déborde pas du fond.
- Si le brûleur s'eteint, renouvelez
l'opération en maintainant la commande enforcée 15 secondes maximum.
Si, après plusieurs tentatives, le brû-leur ne s'allume pas, vérifie que le chapeau (lett. A) et la couronne (lett.
B) du brûleur soient place correctement.

Pour eteindre les bruleurs
Tournez la commande dans le sens des aiguilles d'une montre jusqu'à la butée, sur la position arrêt ( ).

Lorsque you faites des fritures, surveiliez attentivement la cuisson car l'huile ou la graisse pourrait facilement s'enflammer par suite d'une surchauffe.

Ne maintenez pas la manette de commande pressée plus de 15 secondes.

Si le brûleur ne s'allume pas au bout de 15 secondes, relâchéz la manette et positionnez-la sur la position "arrêt". Attendez au moins 1 minute avant d'essayer une nouvelle fois d'allumer le brûleur.

Si le brûleur s'éteint accidentellement, tournez la manette de commande sur la position "arêt" et attendez au moins 1 minute avant d'essayer une nouvelle fois d'allumer le brûleur.

A-Chapeau
B-Couronne
C - Bougie d'allumage
D - Sécurité thermocouple

i Conseils d'utilisation
Les brûleurs
Afin d'obtenir un rendement maximum de chaque brûleur, utilisez des membres adaptés au diamètre des brûleurs.
Brûleur triple couronne diamètre du récipient 18 - 28 cm
Brûleur semi - rapide central / arrière diamètre du récipient 12 - 24 cm
Brûleur semi - rapide droit / avant diamètre du récipient 12 - 22 cm
Brûleur semi - rapide droit / arrêtediamètre du récipient 12 - 24 cm
Brûleur auxiliaire diamètre du récipient 8-18 cm
- Ne placez un récipient sur un brûleur qu'après avoir allumé celui-ci.
N'utilise que des recipients creux.
Assurez-vous que la flamme ne déborde pas du fond du écipient. - Si vous nevez utiliser des recipients dont le diamètre est important, nous vous recommendons d'effectuer vos cuissons sur le brûleur avant gauche, afin d'éviter la déteriation des manettes de commandes.
Surveillez attentivement la cuisson lorsque vous faites des fritures: l'huile ou la graisse peuvent facilement s'enflammer par suite d'une surchauffe. - Si la flamme d'un brûleur s'éteint accidentellement, ramenez la manette correspondante sur la position arrêt et attendeze une minute avant de rallumer le brûleur.
L'utilisation continue et intensive de votre table de cuisson demande une aération supplémentaire : ouvre une
fenêtre ou augmentez la puissance d'aspiration mecanique (si existante).
- Lors de l'utilisation de la table de cuisson, il est impératif de respecter les diamètres indiqués pour chaque zone de cuisson. Le non-respect de cette préconisation entraînerait la surchauffe de la table en verre et sa rupture.
Veillez a ce que les recipients ne débordent pas du plan de cuisson et a centerer vos recipients sur les zones de cuisson. - N'utilise pas de recipients instables ou déformés: ils peuvent se renverser et provoquer un accident.
- Les membres ne doivent pas entraer en contact avec les commandes.
La cuisson prolongée avec des casseroles en faïence ou des plats en fonte n'est pas recommandée. De plus, n'utilise pas de papier d'alluminium pour recouvrir les réciPIents pendant leur utilisation.

Entretien et nettoyage

Avant de procéder au nettoyage: débranchez électriquement l'appareil, assurez-vous que toutes les manettes sont sur la position arrêt "■" et attendez que l'appareil soit refroidi.

L'appareil ne peut être nettoyé à la vapeur chaude ni avec apparéil à jet de vapeur chaude.
Les brûleurs
- Lavez les chapeaux de brûleurs avec de l'eau chaude et un détergent doux, en prénant soin d'enlever toute incrustation. Si nécessaire, vous pouvez utiliser une petite brosse en acier.
- Àprous le nettoyage, veillez à remettre correctement en place les couronnés et chapeaux de brûleurs parfaitement secs.
- Gardez les couronnées des brûleurs en parfait état de propre: leur encrassement peut cause des difficultés d'allumage.
Les grilles
- Les grilles peuvent être retirees de la table pour faciliter le nettoyage.
- Les grilles ne peuvent pas etre lavés en lave-vaisse; ils doivent etre lavés a la main.
- Lavez-les à l'eau chaude additionnée d'un détergent doux. Utilisez si besoin un produit légarement abrasif.
- Àprouès les avoir lavés, veillez à les remettre en place correctement, comme indiqué sur la figure: assurez-vous de faire correspondre le creux sous le bras, avec la référence situé sur la plaque fixée sur le verre. Dans ce cas, la grille sera stable et fixe.


Remettez les grilles en place avec précaution pour éviter de rayer le verre de la table de cuisson.
Les manettes
Utilisez une éponge très légèrement imbibée d'eau savonneuse. Rincez et sechez soigneusement. Pour un meilleur nettoyage du plan de cuisson, les manettes sont amovibles.
Assurez-vous que la manette soit sur la position "Arrêt".
Retirez la manette.
- Àprous le nettoyage, remettez en place la manette dans sa position initiale.

Lors du nettoyage, enaucn cas du liquide ou du produit d'entretien ne doit pénetrer a l'intérieur du caisson ou sesituent le les éléments electriques.
Le dessus de la table de cuisson
- Passez une éponge légrement imbibée d'eau tiège (et, si nécessaire, de détergent doux) après chaque utilisation.
- Evitez tout écoullement dans les orifices de la table.
- N'utilise pas d'objet tranchant (couteau, gratoir, tournevis, etc.) ou dépange à face abrasive.
- N'utilise pas de détergents abrasifs ou corrosifs tels que : bombes aérosols pour four, produits détachants, produits anti-rouille, poudres à récurer.
- Nous proscrivons également l'emploi de déterments doux (produit pour la vaisseille par exemple) qui, s'illes ne sont pas éliminés complètement au rincege, peuvent avoir un effet corrosif lors d'une future cuisson et provoquer une décoloration de la surface.

Tenez éloigné de votre plan de cuisson tout ce qui est susceptible de fondre, tels que les objets en matière plastique, les feuilles d'aluminium, le sucre et les produits à forte teneur en sucre.
- Régulierement et correctement entretenue, votre table de cuisson conservera très longtemps son aspect d'origine.

Enlevez rapidement de la table de cuisson les taches de vinaigre, citron, sel et les substances acides et alcalines en général.

Si vous constaté que votre table de cuisson est endommagee (éclat, fêlore, cassure), débranchez immédiatement l'appareil ou déconnectez-le de l'alimentation électrique (risque d'électrocution) et faites appel à votre service après vente.

Notre responsabilité ne saurait etre engagée en cas de dommages dus a un mauvais entretien de votre table de cuisson.
Nettoyage de la bougie d'allumage
Cet apparéil est muni d'une allumeur électrique. L'allumage est assure par une "bougie" en céramique avec une electrode métallique.
Pour éviter les difficultés d'allumage, ,( 15)
maintenir ces deux éléments en parfait etat de propriete et veiliez a ce que les orifice des bruleurs ne soient pas obstrués.
éristiques techniques
Puisance des brûleurs
Brûleur triple couronne 3,8 kW
Brûleur semi-rapide 1,9 kW
Brûleur auxiliaire 1,0 kW
Alimentation: 230 ~V 50 ~Hz
Air nécessaire à la combustion 16 m³/h
Catégorie: III1c2E+3+
Appareil régle en Usine pour fonctionner avec gaz type
G20/G25 (2E+) 20/25 mbar
Appareil de classe: 3
Dimensions de l'appareil (pour tables de cuisson en verre)
Largeur: 740 mm
Profondeur: 510 mm
Dimensions de l'appareil ( pour table de cuisson en acier inoxydable)
Largeur: 745 mm
Profondeur: 515 mm
Dimensions de l'ouverture pour l'encastrement dans le plan de travail (voir chapitre "Encastrement")
Largeur: 560 mm
Profondeur: 480 mm
Installation
Emplacement
Cet apparéil a été concu pour être encastré ou place à côté d'autres meubles selon la norme en vigueur.
Les meubles juxtaposés auc côtés de la table de cuisson ne doivent pas dépasser la hauteur de cette-ci.
Les bords latéraux de la découverte pratiquée doivent se couver à au moins 450 mm des murs ou des meubles latéraux.
Les meubles suspendus ou les hotes doivent etre installés a une hauteur minimale de 650~mm au dessus de la table de cuisson.
N'installez pas l'appareil pres de matériaux inflammables (par ex.: rideaux, torchons, etc.).

Débranche l'appareil avant toute intervention.
Important
- L'installation et le branchement de l'appareil doivent être effectuels par un personnel qualifié con-formément aux textes réglementaires et règes de l'art en vigueur, notamment:
- Arrêté du 2 août 1977, Règles Techniques et de Sécurité applicables aux installation de gaz combustibles et d'hydrocarbures liquefies à l'intérieur des batiments d'habitation et leurs dépendances;
- Norme DTU P 45 I 204, Installations de gaz (anciennement DTU n.° 61 - installation de gaz - Avril 1982 + additif n.° 1 Juillet 1984);
- Règlement Sanitaire Départemental. Pour les apparêils raccordés au réseau électrique:
- Norme NF C 15 100 - Installations électriques à basse tension - Régles.
Recommendations
- Vérifiez que le début du compteur et le diamètre des canalisations sont suffisants pour alimenter tous les appareils de l'installation et vérifie que tous les raccords sont bien étanches;
- N'omettez pas d'installer un robinet de barrageange visible et accessible.
Raccordement gaz

Raccordez la table à la bouteille ou à l'installation selon les prescriptions légales en la matière.
Assurez-vous que l'appareil est régólge pour le type de gaz auquel il sera alimenté. Pour le passage d'un gaz à un autre, reportez-vous au paragraphe "Adaptation des brûleurs au gaz utilisé".

Fig. 1
A) Ecrousitué à l'extrémite de la rampe
B) Joint
C) Raccord orientable
Important
Pour un fonctionnement correct, une consommation réduite et une plus grande durée de vie de l'appareil, assurez-vous que la pression d'alimentation correspond aux valeurs indiquées dans le tableau.
Si I'appareil est alimenté en gaz Butane ou Propane (bouteille), contrôlez que le régulateur de pression débite le gaz à une pression de 28 mbar pour le Butane et 37 mbar pour le Propane.

1) Vissez le raccord orientable C dans l'écrou A situé à l'extrémité de la rampe d'alimentation, sans omettre d'intercalér le joint d'étanchéité B (Fig. 1).
2) Orientez le raccord C dans la direction voulue, puis effec-tuez un serrage correct.
3) Effectuez ensuite le raccordement du tube d'arrivée de gaz.
4) Contrôlez la parfaite étanchéité du raccord et de l'embout en utilisant une solution savonneuse.
5) Fixez l'appareil au meuble.
Raccordement "rigide"
Effectuez le raccordement en utilisant des tuyaux rigides métalliques (cui-vre avec embout mécanique).
Raccordement "flexible" avec embout mécanique
Gaz naturel: Le raccordement s'effectue avec un tuyau flexible à embout mécanique qui se visse directement sur le coude terminant la rampe de l'appareil (la tuyauterie doit être visible sur toute sa longueur). Elle doit être conforme à la norme "NFD 36-100" (durée
de vie 5 ans) ou "NFD 36-103" (durée de vie 10 ans). Le raccordement peut se faire aussi avec un flexible métallique "NFD 36-121"
- Butane/Propane : Un tube souple, équipé de ses colliers (conformé à XPD 36-110) peut être utilisé s'il est vistable sur toute la longueur et si l'appareil ne fonctionné qu'au butane. Si l'appareil fonctionné au propane, il faut utiliser un flexible conforme à la norme XPD 36-112 ou un flexible métallique conforme à "NFD 36-125".

Pour assembler les différentes pieces il est conseilé de suivre l'ordre suivant:
- fixez le raccord orientable à l'embout en interpolant le joint;
- fixez le raccord orientable à la rampe d'alimentation de l'appareil;
- orientez le raccord dans la direction voulue;
- contrôle la parfaite étanchéité du raccord et de l'embout en utilisant une solution savonneuse;
- fixez l'appareil au meuble.
Entretien

Contrôlez périodiquement letuyau d'arrivée du gaz et l'éventuel régulateur de pression. En cas d'anomalie remplacez lapiece défectueuse.
Pour garantir un bon fonctionnement et une bonne sécurité, il est nécessaire de procéder périodiquement au graissage des robinets de réglage du gaz. Confiez cette opération à un technicien qualifié.
Branchement électrique

Reliez l'appareil à la terre, conformément aux prescriptions de la norme NF.C 15100 et aux règlements en vigueur.
Avant d'effectuer le branchement s'assurer que:
- le disjoncteur et l'installation électrique peuvent supporter la charge de l'appareil (voir la plaque signalétique);
- l'installation d'alimentation soit équi-pée d'une prise de terre efficace selon les normes en vigueur;
- la prise ou l'interrupteur principal soient facilement accessibles.
L'appareil ne doit pas etre raccordé à l'aide d'un prolongateur, d'une prise multiple ou d'un raccordement multiple (risque d'incendie).
Vérifiez que la prise de terre est conforme aux règlements en vigueur.
La table de cuisson est équipée d'un cable d'alimentation et est apte au fonctionnement en 230V 50Hz
Appliquez au cable une fiche normalisee, pour la charge indiquee sur la plaque signaletique. Branchez la fiche a une prise adequate.
Si I'on désire un branchement direct au réseau (branchement fixe) il faut intercaler entre I'appareil et le réseau un dispositif possédant des contacts à coupure omnipolaire ayant une distance d'ouverture des contacts d'au moins 3 mm.
Le cable de terre jaune-vert ne doit pas etre interrompu par l'interrupteur et doit etre relié à la borne du conducteur de protection.
Le cable de phase de couleur marron (provenant de la borne "L" de la planchette à bornes) doit toujours être relié à la phase du réseau d'alimentation.
Le cable d'alimentation doit etre place de telle maniere qu'il ne touche aucune partie chaude.
Après le branchement essayez les éléments chauffants en les faisant fonctionner pendant 3 minutes environ.

Notre responsabilité ne saurait être engagée en cas d'accidents ou d'incidents provoqués par une mise à la terre inexistante ou défectueuse.
Remplacement du cable d'alienation
Le cable d'alimentation ne doit être remplace que par un professionnel qualifieselon lesnormes en vigueur. Utilisez un cable de type H05 V2V2 d'une section adaptée a la charge.
En outre, il faut que le cable de terre jaune-vert soit plus long d'environ 2 cm que les cables de phase et neutre.

Le cable d'alimentation sera positionné de façon à ce qu'enaucun point sa température n'excède 90^
Pour ouvrir la trappe d'accès à la barrette secteur et avoir accès aux bornes de raccordement, procéder comme décrit ci-dessous:
insérez l'extrémité d'un tournevis dans les saillies situées sur le cotoé à l'intérieur de l'appareil (voir illustration);
exercez una faible pression et faites levier vers le haut.

Adaptation des brûleurs au gaz utilisé
Pour la conversion de l'appareil d'un type de gaz à l'autre, opérez comme suit:

A. Remplacement des in-jecteurs
1) Otez les grilles.
2) Enlevez les brûleurs.
3) Avec une clé de 7 dévissez les injecteurs (Fig. 2) et remplacez-les par ceux convenant au type de gaz utilisé (voir tableau 2).
4) Remplacez l'étiquette d'étagallonage (collée à côté du tuyau d'alimentation en gaz) par cette correspondant au nouveau type de gaz. Elle se trouve dans l'emballage des injecteurs fournis avec la table.
Les opérations ci-dessus peuvent être effectuees aisement après encastrement de la table de cuisson dans le meuble de cuisine.
Important: dans le cas d'un changement de gaz en butane, propane ou air propané, vous devez coller sur l'appareil à proximité de la plaque signalétique d'origine, l'étiquette correspondante (G30/G31 ou G130) fournie dans la pochette d'injecteurs.
Le réglage d'air des brûleurs de table est obtenu automatiquement par l'injcteur et n'est pas ajustable par d'autres moyens.
Le changement des injecteurs doit impérativement être suivi du réglage du début réduit (voir tableau 1).

Fig. 2
Tableau n° 1 -Diamètre de la vis de réglage
| Brûleur | Diamètre en 1/100 mm. |
| Auxiliaire | 28 |
| Semi-rapide | 32 |
| Triple couronne | 56 |

B. Réglage du ralenti
1) Allumez chacun des brûleurs.
2) Tournez les manettes jusqu'à l'obtention du début réduit.
3) Retirez les manettes.
Alimentation en gaz naturel ou Air propagated
Agissez sur la vis de réglage (Fig. 3) jusqu'à l'obtention d'une petite flamme régulière.
Alimentation en gaz Butane ou Propane
Vissez à fond la vis (Fig. 3), celle-ci étant déjà prévue pour assurer le début minimum.
Contrôlez en tournant la manette de la position de début minimum et vice versa, que la flamme ne s'éteint pas.
Remarque: La vis de réglage est de petite dimension, utilisez un tournevis plat très fin.
4) Remontez les manettes en effectuant les opérations dans l'ordre inverse.
Les opérations ci-dessus peuvent être effectuees aisement après encastrement de la table de cuisson dans le meuble de cuisine.

Fig. 3
Tableau n° 2
| TYPE DE BRULEUR | DéBIT CALORIFIQUE NOMINAL kW | DéBIT CALORIFIQUE MINIMUM kW | DéBIT CALORIFIQUE NOMINAL | |||||
| GAZ NATUREL | GAZ BUT.-PROP. 28-30/37 mbar | |||||||
| Repère injecteur 100/mm | m3/h | Repère injecteur 100/mm | g/h | |||||
| G20 20 mbar | G25 25 mbar | G30 | G31 | |||||
| Auxiliaire | 1,0 | 0,33 | 70 | 0,095 | 0,111 | 50 | 73 | 71 |
| Semi-rapide | 1,9 | 0,45 | 96 | 0,181 | 0,210 | 71 | 138 | 136 |
| Triple couronne | 3,8 | 1,20 | 146 | 0,362 | 0,421 | 98 | 276 | 271 |
Encastrement

Fig. 4
Les dimensions sont indiquées en millimètres.
Cette table de cuisson a ete conque pour encastrement dans les meubles de cuisine ayant une profondeur allant de 550 a 600 mm et les caractéristiques nécessaires.
Les tables de cuisson peuvent être montées dans un meuble ayant une ouverture pour l'encastrement des dimensions indiqués dans la Fig. 5.

La fixation de la table au meuble doit être effectuee de la facon suivante:
1) Otez les grilles, enlevez les brûleurs et returnez la table de cuisson, en s'assurant de ne pas endommager les "bougies" en céramique (allumage électrique).

Fig. 5
2) Placez sur le bord inférieur du plan de verre (Fig. 6), le joint spécial fourni comme équipement (Fig. 7 - a), en s'assurant que les bouts joignent bien sans se superposer. Le joint se trouve dans l'emballage des injecteurs fournis avec la table.
3) Insérez la table dans le meuble et fixez la table au meuble à l'aide des pattes de serrage appropriés, fournis dans le sac d'accessoires (Fig. 7).

L'encastrement de la table de cuisson au dessus d'un lavevaisselle, d'un réfrigérateur, d'un congélateur, d'un four, ou d'un lave linge est déconseilé lorsque le constructeur de ces appeareils electroménagers ne l'a pas formellement prévu.

La surface du plan de travail doit être plane et sans asperité afin d'éviter toute contrainte physique sur l'appareil pouvant déterminer celui-ci.

Fig. 6

Fig. 7
a) joint d'étanchéité
Possibilities d'encastrement
Dans un meuble de cuisine avec porte
Le meuble destiné à receivevoir la table de cuisson devra être fabriqué de façon que le contact avec les parties métalliques chaudes soit évité.
La distance minimum entre le fond de la table de cuisson et le plancher de l'encastrement doit etre de 20 mm.
Reportez you à la Fig. 8.
La tablette sous la table de cuisson doit être aisément démontable pour avoir facilement accès à l'appareil en cas de réparation.
Au-dessus d'un four
Pour les côtes d'encastrement reportez vous à la Fig. 5. Prévoir deux supports pour l'aération. Les figures 9 et 10 illustrent deux solutions possibles.
Les raccordements électriques du four et de la table doivent rester accessibles et être effectuels séparément.
Les meubles suspendus ou les hotes doivent etre installés a une hauteur minimale de 650~mm au-dessus de la table de cuisson (Fig. 5).
Fig. 8

a) Tablette amovable
b) Espace évientuel pour les raccordements

Fig. 9

Fig. 10
Garantie/service-clientèle
France
Conformément à la Législation en vigueur, votre Vendeur est tenu, lors de l'acte d'achat de votre(APpeil, de vous communiquer par écrit les conditions de garantie et sa mise en œuvre appliquées sur celui-ci.
Sous son entière initiative et responsabilité, votre Vendeur répondra à toutes vos questions concernant l'achat de votre apparéil et les garanties qui y sont attachées.
N'hésitez pas à le contacter.
Si vous devez nous contacter
Pour tener nos engagements, nous écoutons les Consommateurs
Info Conso Electrolux est le lien privilégé entre la marque et ses Consommateurs. Il assure en permanence une double mission : satisfaire au moins vos exigences et tirer parti de cette proximité pour améliorer sans cela les produits que nous vous proposons.
AVANT L'ACHAT
Toute une equipe répond avec clarté et précision à vos sollicitations concernant l'éventail de nos gamas de produits et vous apporte desinfos pour vous aider dans votrechioix en fonction de vos propres besoin.
APRÈS L'ACHAT
Exprimez-vous sur la perception que vous avez de nos produits et votre satisfacton à l'utilisation. Mais interrogez aussi nos spécialistes sur l'utilisation et l'entretien de vos apparêls. C'est alors que notre mission prend tout son sens. Ecouter, comprendre, agir : trois temps essentiels pour tener l'engagement de la marque dans le plus grand respect du Consommateur.


BP 50142-60307 SENLIS CEDEX
Tél.: 08 90 71 03 44 (0,15 € TTC/mn)
Fax:0344622154
E-MAIL:info.conso@electrolux.fr
Permanence téléphonique du lundi au vendredi
Pour toute autre question :
Centre Contact Consommateurs
BP 20139 - 60307 SENLIS CEDEX
Tél.: 08 92 68 24 33 (0,34 € TTC/mn)
E-MAIL : ehp.consmmateur@electrolux.fr
Permanence téléphonique du lundi au vendredi
Electrolux Home Products France S.A.S. au capital de 67 500 000 € - 562 076 125 RCS COMPIEGNE
Dans le souci d'une amélioration constante de nos produits, nous nous réservons le droit d'apporter à leurs caractéristiques toutes modifications liées à l'évolution technique (décret du 24.03.78).
Plaque signalétique
En appelant un Service Àpès Vente, indiquez-lui le modele, le numéro de produit et le numéro de série de l'appareil. Ces indications figurent sur la plaque signaletique située sur votre apparéil.
| www.electrolux.com | ||
| Albania | +35 5 4 261 450 | Rr. Pjeter Bogdani Nr. 7 Tirane |
| Belgique/België/Belgien | +32 2 363 04 44 | Bergensesteenweg 719, 1502 Lembeek |
| Česká republika | +420 2 61 12 61 12 | Budějovická 3, Praha 4, 140 21 |
| Danmark | +45 70 11 74 00 | Sjællandsgade 2, 7000 Fredericia |
| Deutschland | +49 180 32 26 622 | Muggenhofer Str. 135, 90429 Nürnberg |
| Eesti | +37 2 66 50 030 | Pärnu mnt. 153, 11624 Tallinn |
| España | +34 902 11 63 88 | Carretera M-300, Km. 29,900 Alcalá de Henares Madrid |
| France | www.electrolux.fr | |
| Great Britain | +44 8705 929 929 | Addington Way, Luton, Bedfordshire LU4 9QQ |
| Helias | +30 23 10 56 19 70 | 4, Limnou Str., 54627 Thessaloniki |
| Hrvatska | +385 1 63 23 338 | Slavonska avenija 3, 10000 Zagreb |
| Ireland | +353 1 40 90 753 | Long Mile Road Dublin 12 |
| Italia | +39 (0) 434 558500 | C.so Lino Zanussi, 26 - 33080 Porcia (PN) |
| Latvija | +37 17 84 59 34 | Kr. Barona iela 130/2, LV-1012, Riga |
| Lietuva | +370 5 2780609 | Ozo 10A, LT 08200 Vilnius |
| Luxembourg | +352 42 431 301 | Rue de Bitbourg, 7, L-1273 Hamm |
| Magyarország | +36 1 252 1773 | H-1142 Budapest XIV, Erzsébet királyné útja 87 |
| Nederland | +31 17 24 68 300 | Vennootsweg 1, 2404 CG - Alphen aan den Rijn |
| Norge | +47 81 5 30 222 | Rislokknv. 2 , 0508 Oslo |
| Österreich | +43 18 66 400 | Herziggasse 9, 1230 Wien |
| Polska | +48 22 43 47 300 | ul. Kolejowa 5/7, Warszawa |
| Portugal | +35 12 14 40 39 39 | Quinta da Fonte - Edificio Gonçalves Zarco - Q 35 -2774-518 Paço de Arcos |
| Romania | +40 21 451 20 30 | Str. Garii Progresului 2, S4, 040671 RO |
| Schweiz - Suisse - Svizzera | +41 62 88 99 111 | Industriestrasse 10, CH-5506 Mägenwil |
| Slovenija | +38 61 24 25 731 | Gerbičeva ulica 98, 1000 Ljubljana |
| Slovensko | +421 2 43 33 43 22 | Electrolux Slovakia s.r.o., Electrolux Domace spotrebije SK, Seberiniho 1, 821 03 Bratislava |
| Suomi | www.electrolux.fi | |
| Sverige | +46 (0)771 76 76 76 | Electrolux Service, S:t Göransgatan 143, S-105 45 Stockholm |
| Türkije | +90 21 22 93 10 25 | Tarlabaşi caddesi no : 35 Taksim Istanbul |
| Rüssenia | +7 495 937 7837 | 129090 Moskva, Олипейский пос点点头, 16, Б胶囊 "Олиник" |
Notice Facile