MODE D'EMPLOI LEVAE30 DORO
Vue d'ensemble 5
Félicitations pour votre achat ! 6
Prise en mains 6
Déballer vous nouveau téléphone 7
Insertion de la carte SIM, de la carte mémoire et de la batterie...... 7
Charger le téléphone 9
Economies d'énergie 11
Allumer et teinde re le téléphone 11
Se familiariser avec le téléphone 11
Fonctions d'assistance 11
Assistant de démarrage 12
Écran externe 12
Témoins du téléphone 12
Panneau de notification et barre d'etat 12
Descriptions dans ce document. 13
Fonctions de base du téléphone 13
Saisir du texte 15
Compatibilité avec les protheses auditives 17
Connector le téléphone à un ordinateur 18
Appels 19
Passer un appel 19
Composer un numero enregistré dans le repertoire 19
Recevoir un appel 19
Options d'essay 19
Appels d'urgence 20
Informations sur I'appeal 21
Journal d'appels 21
Contacts 22
Ajouter un contact 22
Gérer les contacts du repertoire 22
Gérer le Top 10 des contacts 24
ICE (en cas d'urgence) 24
Touche Doro Secure 25
Passer un appel d'assistance 26
Parametres d'assistance 26
Messages 28
Créer et envoyer des messages textes (SMS)/messages photos
(MMS) 28
Lire et gerer les messages 29
Créer et envoyer un message vocal 30
Paramètres de rédaction de messages 31
Appareil photo 36
Alarme 37
Torche 38
Organiseur 38
Calendrier 38
Calculus 40
Listedesdossiers. 40
Contenus multimédias 41
Galerie 41
Radio FM 41
Enregistreur audio 42
Paramètres 43
Parametres généraux 43
Affichage 46
Sécurité 48
Appels 51
Connexion 53
Sonnerie 57
Bluetooth 59
Assistant de démarrage 61
Boite à outils SIM 61
Mise à jour logicielle 61
Autres fonctions 63
Symboles d'etat. 63
Symboles principaux 63
Consignes de sécurité 64
Services réseau et coûts 64
Environnement operationnel 64
Appareils medicaux 64
Environnements potentiellement explosifs 65
Batterie lithium-ion 65
Entretien/Economie de batterie 65
François
Protégévoretouie 66
Appels d'urgence 66
Vehicules 66
Protégér vos données personnelles 67
Entretien et maintenance 68
Garantie 69
Garantie du système d'exploitation de l'appareil 69
Caracteristiques techniques 70
Copyright et autres droits 70
Compatibilité avec les protheses auditives 71
Débit d'absorption spécifique (DAS) 72
Recyclage 72
Mise au rebut adaptations de ce produit 72
Mise au rebut appropriée des batteries de ce produit 73
Déclaration de conformité UE 73
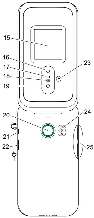
Vue d'ensemble


- Haut-parleur
- Touche contextuelle gauche
- Touche OK
- Touche d'appeal
- Raccourci apparéil photo
- Top 10 des contacts favoris
- Messagerie vocale
- Préfixe international/Symboles
- Microphone
- Touche contextuelle droite
- Fin d'appe! / Marche/Arrêt
- Touches de navigation
- Raccourci message
- Mode de saisie/Mode silence
-
Écran externe
-
Flash de l'appareil photo et lampe de poche
- Diode rouge = niveau de la batterie faible/en charge
- Diode verte = nouveau message/appel en absence
- Objectif de I'appareil photo
- Doro Secure Button
- Prise pour casque
- Prise de chargement
- Deuxieme microphone
- Haut-parleur
- Touches de volume
- Socle-chargeur (accessoire facultatif)

Remarque! Toutes les images peuvent ne pas représenter fidèlement toutes les caractéristiques de l'appareil.
Les éléments fournis avec votre téléphone sont susceptibles de varier en fonction du logiciel et des accessoires disponibles dans toute région ou offerts par votre opérateur. Vous pouvez vous procurer des accessoires supplémentaires auprès de votre revendeur Doro local ou sur notre boutique en ligne www.doro.com. Les accessoires fournis sont consus pour fonctionner de manière optimaie avec votre téléphone.
Félicitations pour votre achat !
Le Doro Leva E30 est idéal pour les personnes qui recherchent un téléphone facile à utiliser avec un écran externe supplémentaire pour l'identific. cation de l'appe!ant et les notifications. Passez des appels, envoyez des SMS et prenez des photos en toute simplicité grâce aux touches idealement espacées et contrastées et au grand écran de 2,8 pouces. Parmi les autres caractéristiques, citons une qualite audio améliorée grâce à la technologie HD Voice, la compatibilité avec les apparils auditifs (HAC) et des touches de raccourci pratiques pour les contacts favorsis, l'appareil photo et les messages. Et bien sur, la touche Doro Secure permet a l'utiliseur d'alerter des contacts de confiance si de I'aide est nécessaire.
Pour plus de renseignements sur les accessoires ou d'autres produits Doro, rendez-vous sur www.doro.com ou contactez notre assistance.
Prise en mains
Une fois vous téléphone acheté, vous devrez le configurer avant de l'utiliser.
Astuce : N'oubliez pas dePTRirer toute protection d'écran avant de commencer à utiliser votre téléphone.
Déballer vous nouveau téléphone
La première étape consiste à déballer le téléphone et à inspecter les articles et l'équipement fournis. Veillez à dire le manuel dans son intégralité afin de vous familiariser avec l'équipement et ses fonctions de base.
- Les articles fournis avec l'appareil et les accessoires eventulement disponibles peuvent varier d'une région ou d'un opérateur à l'autre.
- Les caractéristiques visuelles et techniques peuvent être modifiées à tout moment sans préavis.
- Vous pouvez acheter des accessoires supplémentaires auprès de votre revendeur Doro local.
Assurez-vous qu'ils sont compatibles avec l'appareil avant tout achat.
- Utilisez uniquement des batteries et accessoires qui ont ete approuvés pour ce modèle spécifique. Le raccordement d'autres batteries et accessoires peut se reveler dangereux et vous faire perdre vos droits de recours en garantie.
- La disponibilité des accessoires peut varier d'un fabricant à l'autre. Pour de plus amples informations sur les accessoires disponibles, consultez le site Internet Doro.
Insertion de la carte SIM, de la carte mémoire et de la batterie
Remarque! Une carte SIM peut être incluse, en fonction des accessoires fournis. La carte mémoire est optionnelle et n'est pas incluse.
Les comportements de la carte SIM et de la carte mémoire sont situés à l'intérieur du comportement de la batterie. Lorsque vous insérez des cartes dans le portecartes, voirlez à ne pas rayer les contacts métalliques des cartes.
Retirer le couvercle de la batterie
IMPORTANT
Éteignez le téléphone et débranchez le chargeur avant dePTRirer la coque de la batterie.
Attention à vos ongles lorsque vous retirez la coque de la batterie. Ne pliez ou ne torcez pas excessivement la coque de la batterie au risque de l'abîmer.

Insertion de la carte SIM et des cartes mémoires
Insérez la carte nano-SIM (4FF) en la faisant glisser délicatement dans l'emplacement pour carte SIM. Vérifie que les contacts de la carte SIM sont orientés vers l'intérieur et que le coin biseauté est positionné comme illustré.
Veillez à ne pas rayer ni tordre les contacts de la carte SIM. Si vous souhaitezPTRirer/replacer la carte SIM et que vous rencontres des problèmes, utilisez du ruban adhesif sur la partie exposée de la carte SIM pour l'extraire.

Vous pouvez également installer une carte mémoire dans le téléphone pour augmenter la capacité de stockage de ce dernier, afin de pouvoir enregistrer plus de fichiers, d'images, de vidés, etc. Vérifiez que les contacts de la carte mémoire sont orientés vers l'intérieur, comme illustré ci-dessus.
IMPORTANT
Cet apparéil accepte les nano-SIM cartes ou 4FF. L'utilisation de cartes SIM incompatibles peut endommager la carte ou l' apparéil et éventuellesment ALTERER les données stockées sur la carte.
Utilisez uniquement des cartes mémoires compatibles avec cet apparéil. Les types de carte compatibles sont microSD, microSDHC, microSDXC, max. 128 Go.
L'utilisation de cartes mémoires incompatibles peut endommager la carte et l'appareil, et corrompre les données stockées sur la carte.
Insérer la batterie
Insérez la batterie en la faisant glisser dans son compartment.
Replace la coque de la batterie.

Charger le téléphone
Il est possible que votre téléphone vous soit livré suffisamment chargé pour être allumé ; nous vous recommendons toute fois de le charger complètement avant toute utilisation.
Lorsque la batterie est faible, l'icone s'affiche et un signal d'advertisement retentit. -s'affiche brièvement lorsque le chargeur est raccordé au téléphone et -s'affiche lorsqu'il est débranché. L'indicateur de charge de la batterie s'ansependant la mise en charge. Comptez environ 3 heures pour charger complètement la batterie. Si le téléphone est eteint lorsque le chargeur est raccordé au téléphone, seul l'indicateur de charge de la batterie s'affiche à l'écran. Une fois la batterie chargée, -s'affiche sur l'écran.
Utilisez une prise de courant murale pour charger le téléphone
- Raccordez le connecteur USB-C du cable de chargement à la prise de chargement du téléphone.
- Branchez l'autre extrémité du cable de chargement sur un chargeur, lequel sera branché sur une prise murale.
Utilisez un support de charge pour charger le téléphone (facultatif)
- Raccordez le connecteur USB-C du cable de chargement au socle. Placeze le téléphone sur le socle.
- Branchez l'autre extrémité du cable de chargement sur un chargeur, lequel sera branché sur une prise murale.

ATTENTION
Vérifiez toujours que le port USB-C est exempt de poussière, de débris ou d'humidité avant de l'utiliser. Le non-respect de cette consigne peut entraîner des problèmes de connexion, endommager le connecteur et même entraîner un risque d'incendie. Vous pouvez nettoyer le connecteur en utilisant :
- Coton-tige ou cure-dent. Ces éléments sont couples et peuvent se loger dans de petits espaces, ce qui les rend moins susceptibles de cause des dommages physiques au port.
- Air compré ou seringue. L'air provenant de ces éléments peut détacher et extraire les débris, de sorte qu'il n'est pas nécessaire d'insérer quoi que ce soit dans le port.
N'utilisez PAS d'objet métallique ou autrement conducteur pour nettoyer le port.
Remarque! Pour protégger l'environnement, il se peut que nous ne fournissions ni chargeur ni cable USB avec tous nos produits. L'appareil peut être chargé avec un cable USB-C et un chargeur conforme aux réglementations nationales applicables et aux normes de sécurité internationales et régionales, telles que les normes UKCA ou CE. N'utilise pas de chargeurs non conformes aux normes de sécurité en vigueur. La puissance délivrée par le chargeur doit être comprise entre 0.60 watts (minimum requis par l'équipement radio) et 2.75 watts maximum afin d'atteindre la vitesse de charge maximale. Vous pouvez utiliser des chargeurs d'une puissance plus élevé, mais cela n'augmentera pas la vitesse de charge.
Le port de chargement USB-C ne possède pas de capacité audio et ne prend pas en charge la connexion d'un casque USB-C.

Économies d'énergie
Une fois que la batterie est totalement chargée, débranchez le chargeur de l'appareil et de la prise murale. Pour économiser de l'énergie, l'écran se met en vue au bout de quelques instants. Appuyez sur une touche pour sortir du mode veille. La batterie n'atteint sa pleine capacité qu'au bout de 3 à 4 cycles de charge. La batterie ayant une durée de vie limitée, l'autonomie en vue ou en communication diminuera au fil des utilisations. L'appareil peut devenir chaud après une utilisation prolongée. Dans la plupart des cas, il n'y a pas lieu de s'inquieter.
Allumer et étéindre le téléphone
- Appuyez de façon prolongée sur la touche du téléphone pour leMETTE en marche ou I'eteindre.Appuyez sur OK pour I'arrête.
- Si la carte SIM est valide mais protégée par un code PIN (numéro d'identification personnel), l'écran affiche Code PIN : Saisissez le code PIN et appuyez sur OK. Supprimez des entrées avec Effacer.
Restants: correspond au nombre d'essais de saisie du code PIN qu'il vous reste. Lorsqu'il ne vous reste plusaucun essai,vousdezvez alors déverrouiller la carte SIM à l'aide du code PUK (clé personnelle de déblocage).
Déverrouiller à l'aide du code PUK
- Saisissez le code PUK et appuyez sur OK. Supprimez des entrées avec Effacer.
- Saisissez un nouveau code PIN et appuyez sur OK.
- Ressaisissez le nouveau code PIN et confirmez en appuyant sur OK.
Remarque! Si les codes PIN et PUK ne sont pas fournis avec votre carte SIM, contactez votre opérateur. Si vous avez saisi un code PUK erroné plus de 10 fois, la carte SIM reste bloquée de façon permanente.
Se familiariser avec le téléphone
Fonctions d'assistance
Servez-vous des symboles ci-dessous pour naviguer plus facilement dans les sections du manuel.
Vision
Manipulation
Audition
Sécurité
Assistant de démarrage
Lorsque vous allumez l'appareil pour la première fois, un Assistant de démarriage est lancé pour paramétrer certains régages de base.
- Sélectionnez la langue souhaitée et appuyez sur OK.
- Sélectionné le type de paramètre que vous souhaitez personneliser. Vous pouvez désir d'ajuster un ou plusieurs paramètres en les sélectionnant et en appuyant sur OK. Appuyez sur Terminate une fois terminé.
- Un bref tutoriel concernant le menu du téléphone vous est alors fourni. Appuyez sur Suivant pour parcourir le tutoriel. Appuyez sur Finir pourmettre fin au tutoriel.
Écran externe
L'écran externe affiche l'heure, plusieurs indicateurs d'état et les notifications d'appels entrants. Si l'écran externe se désactive au bout d'un certain temps, appuyez longuement sur l'une des touches de volume pour le reactiver. Voir aussi Paramètres du Ecran externe, p.47.
Témoins du téléphone
Les diodes du téléphone :
- sont vertes lorsqu'vous avez une nouvelle notification pour un message, un appel manqué, etc.
- s'allument en rouge pour vous signaler l'épuisement de la batterie ou le chargement en cours.
Panneau de notification et barre d'etat
En haut de l'écran, vous pouvez voir les notifications.
Appuyez sur OK pour ouvrir le menu principal et les applications qui ont une notification.
En haut de l'écran principal, vous pouze également voir les symboles d'état, tels que la couverture réseau, le niveau de batterie, l'activité Bluetooth et plus encore.
Descriptions dans ce document
Dans ce document, les descriptions sont basées sur la configuration de votre téléphone au moment de l'achat. Les instructions partent en général de l'écran d'accueil. Appuyez sur pour acceder à l'écran d'accueil. Certaines descriptions sont simplifiées.
La flèche (→) indique la prochaine étape des instructions pas à pas.
Astuce : Si vous lisez ce document au format numérique, vous pouvez à tout moment cliquer sur <https://documentation.
Fonctions de base du téléphone
Appel

- Composer un numero ou répondre à un appel entrant.
Ouvrir le journal d'appels.
Fin d'appel/Marche/Arrêt
- Mettre fin à l'appoint ou returner à l'écran d'accueil.
- Appuyer longuement pour allumer ou eteindre le téléphone.
Options
Appuyez pour voir plus d'options disponibles dans le menu sélectionné. Dans différents menus et fonctionnalités, l'écran affiche les options disponibles. Essayez de toujours appuyer sur cette touche afin d'explorer d'autres options.
Précédent
Retourner à l'écran précédent.
Appuyez pour obtenir plus d'informations sur les options du menu sélectionné.
Touche Doro Secure
Appuyer pour passer un appel d'assistance.
10Favoris ★
Appuyez sur ★ pour acceder au contact 10 Favoris.
Sélectionnez le contact souhaité et appuyez sur Voir aussi Gérer le Top 10 des contacts, p.24.
Appareil photo
Appuyez pour activer l'appareil photo et prendre une photo ou une video.
Messages
Appuyez pour lancer l'application de messagerie et envoyer un message texte (SMS) ou image (MMS).
Touches de navigation
(A) Utilisez les touches de navigation pour naviguer.
(B) Utilise la touche OK pour ouvrir le Menu et confirmer les actions.

Veille (mode inactif)
Lorsque le téléphone est prét à être utilisé mais que vous n'avez appuyé sur aucune touche, il est en veille.
Astuce : Vous pouvez appuyer sur Ⓞ à tout moment pour repasser en mode veille.
Touches de volume
Utilisez les touches de volume pour régler le volume sonore pendant un appel.
Pour en savoir plus, consultez la section Volume p.58.
Remarque! Si vous utilisez une prothèse auditive ou si vous éprouvez des difficultés auditives lorsque vous utilisez le téléphone dans un environnement bruyant, vous pouvez ajuster les réglages audio du téléphone. Consultez la section Réglage audio ©, p.57.
Mode Silencieux
Vous pouvez également régler votre apparéil en mode Silence : appuyez sur la touche # et maintenez-la,enforcée jusqu'à ce que s'affiche. Pour réactiver la sonnerie et les tonalités de message, appuyez sur la touche # et maintenez-la,enforcée jusqu'à ce que disparaissé. Pour savoir comment désactiver les sons de notification, consultez également la section Type de sonneries, p.59.
Casque
Remarque! Vous doivent utiliser un casque avec une fiche stéréo de 3,5 mm. Le port de chargement USB-C ne possède pas de capacité audio et ne prend pas en charge la connexion d'un casque USB-C.
Lorsqu'un casque est connecté, le microphone interne du téléphone est automatiquement déconnecté. Utilisez la touche de communication située sur le casque pour répondre oumettre fin aux appel, si le casque en est pourvu.

ATTENTION
L'utilisation d'un casque à un volume élevé peut endommager votre ouïe. Reglez le volume ajustement lorsque vous utilisez un casque.
Saisir du texte

Saisie de texte manuelle
Selectionner un caractère
- Appuyez plusieurs fois sur une touche numérique jusqu'à ce que le caractère désiré apparaisse. Attendeç quelques instants avant de saisir le caractère suivant. Appuyez sur Effacer pour effacer des caractères.
Caracteres spéciaux
- Appuyez sur * pour afficher la liste des caractères spéciaux.
- Sélectionné le caractère souhaité à l'aide des touches de navigation et appuyez sur OK pour le saisir.
Déplacer le curseur dans le texte
- Utilisez les touches de navigation pour déplacer le curseur dans le texte.
Majuscules, minuscules, chiffres et saisie intelligente
- Appuyez sur # pourCHOISIR entre la fonction d'ecriture prédictive, la majuscule en début de phrase, les minuscules, les majuscules et les chiffres. Pour utiliser la fonction d'ecriture prédictive, la langue souhaitation doit être seLECTIONnée, voir ci-dessous ou Langue d'ecriture, p.44.
Entrer du texte avec la fonction de saisie intelligente
Dans certaines langues, vous pouvez utiliser le mode de saisie intelligente qui propose des mots à partir d'un dictionnaire. Voir Saisie intel., p.44 pour savoir comment activer/désactiver la fonction.
- Appuyez une fois sur chaque touche, même si le caractère affiché n'est pas celui que vous pouze. Le dictionnaire vauggérer des mots en fonction des touches que vous avez appuyées.
Example :
- Pour écrire le mot « Fred », appuyez sur 3, 7, 3, 3. Terminate le mot avant de consulter les suggestions.
- Utilisez les touches de navigation pour déplacer le curseur et voir les mots proposés.
- Appuyez sur OK pour passer au mot suivant.
Vous pouvez également appuyer sur 0 pour insérer un espace et passer au mot suivant.
4. Si aucun des mots proposés ne vous convient, passez en mode de saisie manuelle.
Remarque! Pour en savoir plus, reportez-vous à la section Langue d'écriture, p.44.
Nouveau mot signifie que vous pouvez saisir manuellement un mot qui n'a pas eté trové dans le dictionnaire. Le mot saisi ne sera cependant pas enregistré dans le dictionnaire pour une utilisation ultérieure.
Mode de saisie
Appuyez sur # pour changer de mode de saisie.
En (ou le code de langue pour la langue sélectionnée)
en (ou le code de langue pour la langue seLECTIONnée)
EN (ou le code de langue pour la langue seLECTIONnée)
Fonction de saisie intelligente avec la première lecture en majuscule et les lettres suivantes du même mot en minuscules
minuscules avec fonction de saisie intelligente
MAJUSCULES avec fonction de saisie intelligente
Abc
abc
ABC
123
Langue d'écriture
Majuscule en début de phrase
minuscules
MAJUSCULES
Chiffres
Sélectionnez pour modifier la langue d'écriture, voir aussi Langue d'écriture, p.44
Compatibilité avec les protheses auditives
Ce téléphone est compatible avec l'usage d'une prothèse auditive. La compatibilité avec les prothèses auditives ne garantit pas qu'une prothèse auditive spécifique fonctionnera avec un téléphone donné. Les téléphones mobiles sont dotés d'émetteurs radio susceptibles d'interférer avec les performances des prothèses auditives. L'usage de ce téléphone avec des prothèses auditives a été testé pour certaines technologies sans fil utilisées par le téléphone, mais il peut exister des technologies sans fil plus récentes dont l'utilisation avec les prothèses auditives n'a pas encore été testée.
Pour garantir le bon fonctionnement d'une prothèse auditive spécifique avec ce téléphone, testez-les ensemble avant de faire l'acquisition de l'un ou l'autre.
La norme de compatibilité avec les protheses auditives comprend deux types de classement :
-
M : pour utiliser votre prothèse auditive sous ce mode, vérifie qu'elle est réglée en mode M ou en mode de couplage acoustique et placez le combiné du téléphone après du microphone intégré dans la prothèse auditive. Pour des résultats optimaux, essayez d'utiliser le téléphone dans différentes positions par rapport à votre prothèse auditive. Par exemple, en plaçant le combiné légèrement au-dessus de l'oreille, les prothèses auditives munies de microphones placés derrière l'oreille peuvent pré-senter deaillesures performances.
-
T: pour utiliser votre brothège auditive sous ce mode, vérifie qu'elle est réglée en mode T ou en mode de couplage par phonocopateur (ce mode n'est pas disponible sur toutes les brothèses auditives). Pour des résultats optimaux, essayez d'utiliser le téléphone dans différentes positions par rapport à votre brothège auditive. Par exemple, placer le combiné légèrement sous l'oreille ou face à celle-ci peut désenter deglomerées performances.
Reportez-vous également à la section Réglage audio ©, p.57 pour découvert comment ajuster les réglages audio.
Connector le téléphone à un ordinateur
Connectez le téléphone à un ordinateur pour transférer des images et d'autres types de fichiers. Commencez par raccorder un cable USB entre le téléphone et l'ordinateur. À partir de l'explorateur de fichiers de l'ordinateur, vous pouvez glisser et déposer du contenu entre votre téléphone et l'ordinateur.
Remarque! Il est possible que vous ne puissiez pas transférer du matériel protégé par le copyright.
Glisser et déposer du content entre le téléphone et un ordinateur
- Connectez votre téléphone à un ordinateur à l'aide d'un cable USB.
Remarque! Si défini, saisissez le code du téléphone et appuyez sur OK.
- Attende que le téléphone ou la carte mémoire apparaisse comme disque externe dans l'explorateur de fichiers.
- Glissez et déposez les fichiers scélectionnés entre le téléphone et l'ordinateur.
Remarque! Vous pouvez transférer des fichiers à l'aide d'un cable USB sur la plupart des appareils et des systèmes d'exploitation prénant en charge une interface de mémoire de masse USB.
Déconnecter le cable USB en toute sécurité
- Assurez-vous que le matériel peut être retire en toute sécurité.
- Déconnectez le cable USB.
Remarque! À cet égard, les consignes de l'ordinateur peuvent varier en fonction du système d'exploitation. Reportez-vous à la documentation de votre système d'exploitation pour plus d'informations.
Appels
Passer un appel
- Entrez le numero de téléphone avec l'indicatif. Effacez avec Effacer.
- Appuyez sur pour passer un appel.
- Appuyez sur pourmettre fin à l'appe!
Astuce : Pour des appel internationaux, insérez toujours le signe + avant le code du pays pour obtenir un résultat optimal. Appuyez deux fois sur * pour insérer le préfixe international+.
Composer un numero enregistré dans le repertoire
- Appuyez sur pour ouvrir le repertoire.
- Parcourez le réseau ou faites une recherche rapide en appuyant sur la touche correspondant à la première lecture de l'entrée, consultez Saisir du texte 一 , p.15.
- Appuyez sur OK pour sélectionner une entrée, puis sur pour appeler l'entrée sélectionnée.
Ou appuyez sur pour appeler directement.
- Appuyez sur pour annuler l'essay.
Recevoir un appel
- Ouvrez le téléphone pour répondre.
Pour refuser un appel entrant en ouvrant le téléphone, voir Mode réponse, p.53.
- Appuyez sur pourmettre fin à l'appe!
Astuce : Appuyez sur l'une des touches de volume pourmettre la sonnerie temporairement en sourdine pendant un appel entrant.
Options d'essay
Sourdine
Pendant un appel, appuyez sur Silencieux pour désactiver le microphone. Appuyez sur Réactivier le son pour réactivier le microphone.
Haut-parleur
Pendant un appel, appuyez sur la touche de fonction droite Haut-parleur pour activer le mode haut-parleur. Parlez clairement dans le microphone
du téléphone, à une distance maximale de 1 mètre. Appuyez sur la touche de fonction droite Haut-parleur pour désactiver le mode haut-parleur.
Options
Pendant un appel, les touches contextuelles (三) vous permettent d'acceder à des fonctions supplémentaires.
-
Autre appel pour composer un autre numéro. Lorsque la deuxième partie est connectée, vous pouvez appuyer à nouveau sur épuis sur :
-
Fusionner les appeals/Partager l'appe en conférence pour fusionner les deux appeals en conférence téléphonique, puis les séparer à nouveau si nécessaire.
- Échangepour permuter entre les deux appels.
-
Transférer pour fusionner les deux appels et vous déconnecter.
-
Mettre l'appel en attente/Retrouver un appel pourmettre en attente/ reprene r'elle en cours.
- Silencieux pour désactiver le microphone. Voir ci-dessus.
- Mettre fin à un appel pourmettre fin à l'appelen cours (fonction identique à ).
Terminer tous les appels pour terminer tous les appels en cours.
Remarque! Pour les réglages relatifs aux appels, voir Appels, p.51
Appels d'urgence
Tant que le téléphone est allumé, il est possible d'effectuer un appel d'urgence en saississant le principal numéro d'urgence local pour votre emplacement actuel suivi de
Certaines réseaux acceptent les appeals à des numérios d'urgence sans carte SIM valide. Contactez votre opérateur pour obtenir de plus amples renseignements.
IMPORTANT
Les téléphones mobiles utilisent des signaux radioélectriques, un réseau de téléphonie mobile, un réseau terrestre et des fonctions programmeses par l'utilisateur. Ce qui signifie qu'une connexion ne peut pas'être garantie en tout temps. C'est pourquoit il ne faut jamais se fier à un téléphone mobile pour des appeals très importants, tels qu'en cas d'urgences Médicales.
Pendant un appel, l'écran affiche le numéro de téléphone entrant ou sortant et le temps écoulé. Si l'identité de l'aggellant est masquée ou inconnue, Privé ou Inconnu s'affiche.
Journal d'appels
Les appel reçus, émis et en absence sont enregistrés dans un seul journal d'appels.
- Appuyez sur
Vous pouvez aussi appuyer sur OK Journal d'appels.
- Les appels s'affichent de la manière suivante, en fonction du type d'application:

Appel entrant
Appel sortant
Appel en absence
- Sélectionnez l'entrée souhaïée, puis appuyez sur pour composer le numéro.
Ou selectionnez une entrée et appuyez sur :
- Détails pour afficher les détails relatifs à l'appeil sélectionné.
Appeler pour appeler le numéro/contact sélectionné.
- Envoyer un message pour envoyer un message texte.
-
Ajouter aux contacts pour enregistrer le numéro dans les contacts.
-
Ajouter au nouveau contact pour ajouter le numéro comme nouveau contact.
-
Ajouter au contact existant pourmettre à jour un contact existant.
-
Ajouter à la liste noire/Retirer de la liste noire pour bloquer/débloquer le numéro. Vous ne pouvez pas receivevoir d'applés ou de messages provenant d'un numéro bloqué. Consultez la section Liste Noire, p.50.
- Effacer pour supprimer l'entrée sélectionnée dans le journal d'appels.
- Tout effacer pour supprimer des entrées dans le journal d'appels.
- Appuyez sur pour ouvrir Contacts Ajouter un contact et selec-tionner où l'enregistrer.
- Sélectionnez Choisir l'image et appuyez sur OK pour ajouter une photo pour le contact.
- Saisissez Nom, Numéro mobile, Numéro maison, Numéro bureau. Vous pouvez également désirir une sonnerie spéciale pour les appeals provenant du contact sélectionné.
- Appuyez sur Sauvegarder.
Astuce : Pour des appel internationaux, insérez toujours le signe + avant le code du pays pour obtenir un résultat optimal. Appuyez deux fois sur * pour insérer le préfixe international+. Il est recommendé de toujours enregistrer vos contacts avec le signe + avant le code du pays, même pour vos contacts locaux/nationaux, afin de pouvoir les appeler facilement, même lorsque vous étes à l'étranger.
- Appuyez sur pour ouvrir Contacts.
-
Sélectionnez un contact et appuyez sur :
-
Ajouter un contact pour creer une entrée dans le repertoire.
- Editor pour modifier le contact. Lorsque vous avez terminé, appuyez sur Sauvegarder.
- Rechercher un contact pour rechercher un contact.
- Ajouter au Top 10 pour placer l'entrée parmi les premiers contacts classés dans le réseau.
- Effacer pour supprimer le contact sélectionné. Appuyez sur Oui pour valider.
- Suppression multiple pour supprimer plusieurs contacts. Sélectionnez/recherchez les contacts que vous souhaitez supprimer. Vous pouvez également appuyer sur Tout cocher pour sélectionner tous les contacts.
Confirmez avec OK pour supprimer les contacts sélectionnés.
-
Copier les contacts pour copier les contacts depuis/vers le téléphone et la mémoire de la carte SIM.
-
Copier à partir de : pour sélectionner l'emplacement à partir duquel vous souhaitez effectuer la copie.
- Copier sur : pour sélectionner l'emplacement où les contacts doivent être copés.
- Appuyez sur Copier pour sélectionner les contacts à copier. Utilisez Tout cocher pour sélectionner tous les contacts.
-
Appuyez sur OK pour démarrer la copie.
-
Send vCard pourCHOISIR une sonnerie specifique pour les appels du contact selectionné.
- Envoyer un message pour envoyer un message. Consultez la section Créer et envoyer des messages textes (SMS)/messages photos (MMS), p.28.
- N° Propr.ILA peut être préréglé par l'opérateur. Si ce n'est pas le cas, vous pouvez définir le nom et le nombre attribués à votre carte SIM.
- Contacts de numérotation rapide pour définir des numérios abrégés de 2 à 9. Sélectionnez le numéro abrégé souhaïte et ajoutez/remplacez/supprimez des contacts.
Appuyez de manière prolongée sur la touche correspondante pour composer un numéro abrégé.
- Statut de mémoire pour afficher l'état de la mémoire du réseau.
-
Importer/Exporter pour copier les contacts depuis/vers le téléphone et la carte mémoire.
-
Importer les contacts pour copier des contacts dans le repertoire depuis la mémoire interne ou la carte SD. Sélectionnez l'endroit où vous souhaitez les importer, puis Sélectionnez les contacts. Appuyez sur OK pour importer.
-
Exporter les contacts pour copier des contacts du réseau vers la mémoire interne ou la carte SD. Sélectionnez les contacts que vous souhaitez exporter, puis Sélectionnéz l'endetroit où vous souhaitez les enregistrer.
-
Vous pouvez également sélectionner un contact individuel et appuyer sur OK, puis sur :
-
Editor pour modifier le contact. Lorsque vous avez terminé, appuyez sur Sauvegarder.
- Effacer pour supprimer le contact sélectionné. Appuyez sur Oui pour valider.
Un contact du Top 10 est l'un des 10 premiers contacts listed dans le repertoire. Voir 10 Favoris ★, p.14 pour en savoir plus sur son utilisation.
- Appuyez sur ★ et Sélectionnez l'une des entrées vides puis appuyez sur Ajouter.
- Parcourez le repertoire et appuyez sur Sélection.
- Si aucune photo n'est associée au contact sélectionné, il vous sera proposé d'en ajouter une. Oui si vous souhaitez ajouter une photo, sinon Non.
Pour modifier ou supprimer une entrée existante, Sélectionnez-la et appuyez sur Modifier ou Supprimer.
Pour changer de mode d'affichage, appuyez sur Mode d'affichage et selectionnez Liste ou Seul.
Astuce: Mode d'affichage Seul peut être utile avec une image associée, si vous trouvez qu'il est plus facile de mémoriser une image只不过 qu'un nom.
Les secouristes peuvent obtenir des informations supplémentaires, principalement Médicales, depuis le téléphone ICE en cas d'urgence. En cas de traumatisme, il est essentiel d'obtenir ces renseignements dés que possible pour augmenter les chances de survie. Tous les champs sont facultatifs, mais il est préféable d'inclure le plus de renseignements possible.
Les informations ICE (en cas d'urgence) se trouvent au début de votre réseau.
- Appuyez sur pour ouvrir Contacts ICE.
-
Appuyez sur Mes coordonnées Editor pour ajouter ou modifier les informations de chaque entrée.
-
Nom pour saisir votre nom.
- adresse pour saisir l'adresse de votre domicile.
- Mon número pour saisir votre numéro de téléphone.
Anniversaire pour saisir votre date de naissance.
- Langue pour saisir votre langue.
Une fois Mes coordonnées terminé, appuyez sur Sauvegarder.
-
Appuyez sur Ma santé Editor pour ajouter ou modifier les informations de chaque entrée.
-
Etat de santé pour saisir tout trouble Médical ou dispositif Médical existant (par ex. diabète, stimulateur cardiaque).
- Allergies pour saisir toute allergie connue (par ex. pénicilline, piqures d'abeilles).
- Groupe sanguin pour saisir votre groupe sanguin.
Vaccination pour saisir tout vaccin utile.
Trait. medicaI pour saisir tout trattement medicaI que vous suivez.
Assurance pour saisir le nom de votre compagnie d'assurance et voitre numero de contrat.
- Docteur pour saisir le nom de votre médecin.
-
N° Portable pour saisir le numéro de téléphone de votre médecin. Une fois Ma santé terminé, appuyez sur Sauvegarder.
-
Appuyez sur Contacts ICE Editor pour ajouter ou modifier les informations de chaque entrée.
Remarque! Vous pouvez ajouter 2 Contacts ICE.
- Nom pour saisir le nom de votre contact ICE.
- Relation pour ajouter un contact à partir du répertoire.
- N° Portable pour saisir le numéro de téléphone de votre contact ICE. Répétez les étapes ci-dessus pour ajouter un deuxième contact ICE. Lorsque vous avez terminé, appuyez sur Sauvegarder.
Touche Doro Secure
Si vous avez besoin d'aide, la touche Doro Secure permet de contacter facilement vos Intervenants définis. Avant d'être amné(e) à l'utiliser, assurez-vous que la fonction d'assistance est bien activée et configurée, saisissez les destinataires (Intervenants) dans la liste de numérios et adaptez le message texte. Reportez-vous à Paramètres d'assistance, p.26.
Passer un appel d'assistance

ATTENTION
Lorsqu'un appel d'assistance est activé, le téléphone est préréglé pour passer en mode Haut-parleur. Ne maintainez pas l'appareil pres de votre oreille lorsque le mode Haut-parleur est activé, car le volume peut être particulièrement fort.
- Si vous avez besoin d'aide, appuyez sur la touche Doro Secure pendant 3 secondes ou appuyez deux fois sur celle-ci en 1 seconde.
L'expérience d'assistance débute après un début de 5 secondes. En cas de fausse alerte, vous avez donc cinq secondes pour annuler l'expérience en ap-puyant sur .
- Un message texte d'assistance (SMS) est envoyé à tous les Intervenants.
Remarque! Cette fonctionnalité doit d'abord être activée pour fonctionner. Voir SMS d'assistance, p.27.
- Le premier numéro d'Intervenant de la liste est appelé. Si l'appel n'est pas pris dans le temps définit (par défaut, 25 secondes), le numéro suivant est appelé. Le numéro est appelé 3 fois ou jusqu'à ce que l'appel soit pris ou que vous appuyiez sur Φ.
Remarque! Certaines sociétés de télésurveillance peuvent accepter les appeals automatiques de leurs clients. Contactez la société de télésurveillance avant de programmer son numéro.
Paramètres d'assistance
Etat
Activez la fonction d'assistance à l'aide de la touche Doro Secure.
-
Appuyez sur Menu → Assistance → Etat :
-
Marche pour appuyer sur la touche pendant environ 3 secondes ou appuyer dessus à deux reprises à moins de 1 seconde d'intervalle.
- Marche (3) pour appuyer sur la touche 3 fois de suite en l'espace de 1 seconde.
- Désacté pour désactiver la touche Doro Secure.
Intervenants
Complétez la liste des numérios qui seront appelés lorsque la touche Doro Secure est actionnée.
IMPORTANT
Informez toujours les destinataires inscrits dans la liste de numérios qu'ils font partie de vos contacts d'assistance.
- Appuyez sur Menu Assistance Intervenants.
- Appuyez sur Ajouter Manuel pour ajouter des nombres/numérores manuellement.
Vous pouvez également appuyer sur Contacts pour ajouter un contact à partir du réseau.
- Appuyez sur Sauvegarder pour valider.
Astuce : Pour modifier ou supprimer une entrée existante, Sélectionnez-la avec OK. Appuyez sur Editor ou Supprimer en tant qu'intervenant.
SMS d'assistance
Un message texte peut être envoyé aux contacts (Intervenants) de la liste de nombres lorsque la touche Doro Secure est activée.
- Appuyez sur Menu Assistance SMS d'assistance.
- Sélectionnez Envoyer SMS pour activer l'envoi du message d'assistance.
Remarque! Il est bon de préciser au destinataire d'un message d'assistance qu'il s'agit d'une alerte d'assistance et que vous en étés à l'origine.
Informez toujours les destinataires inscrits dans la liste de numérios qu'ils font partie de vos contacts d'assistance (Intervenant).
Exemple : « Ceci est un message d'alerte de Jean Dupont. »
- Descendez jusqu'au champ du message et saisissez le message.
- Appuyez sur Sauvegarder pour enregistrer le message.
Type signal
Selectionnez le type de signal de notification pour la série d'assistance.
- Appuyez sur Menu Assistance Type signal :
Elevé pour utiliser des signaux forts (par défaut).
- Bas pour utiliser un signal faible.
- Mode silencieux aucune indication sonore, comme un appel normal. Appuyez sur OK pour selectionner le type de signal souhaité.
Durée de numérotation
Décisionnez la durée pendant laquelle le téléphone composera un numéro d'Intervenant avant de passer au numéro suivant de la liste. Définissez une durée de numérorotation plus courte que le temps d'activation d'un service de réponse.
- Appuyez sur Menu Assistance Durée de numérotation.
- Sélectionnez la durée pendant laquelle le téléphone composera un nombre d'Intervenant avant de passer au numéro suivant de la liste. Lorsque vous avez terminé, appuyez sur OK.
Messages
Créer et envoyer des messages textes (SMS)/messages photos (MMS)
Un message texte (SMS) est un court texte qui peut être envoyé vers d'autres téléphones mobiles. Un message photo (MMS) peut conténir du texte et des éléments multimédias tels que des images, des enregistements sonores et des vidEOS. L'appareil possède déjà en mémoire les paramètres de messagerie de la plupart des opérateurs.
- Appuyez sur Menu Messages Écrire.
Voussousquazaappuyersurletatuchederaccourci 一 Ecrire.
- Appuyez sur et Sélectionnez un destinataires et un nombre avec Sélection/OK parmi vos contacts. Appuyez sur Terminate lorsque vous aze terminé.
Sinon, saisissez le numéro pour ajouter manuellement le destinataire et appuyez sur OK lorsque vous avez terminé.
Remarque! Si vous decide d'envoyer un message à plusieurs destinataires, chaque envoi vous sera facturé.
- Allez dans le champ du message et saisissez votre texte, voir Saisir du texte , p.15.
-
Appuyez sur é pour acceder à d'autres options :
-
Ajouter une image pour utiliser l'appareil photo pour prendre une photo ou ajouter une photo de votre galerie.
Remarque! Si vous ajoutez plus d'une photo, les photos suivantes sont compressées par le téléphone. Pour garder une qualité de photo optimale, n'envoyez qu'une photo par message.
- Ajouter message vocal pour ajouter un message vocal enregistré.
- Ajouter video pour utiliser l'appareil photo pour enregistrer une video.
- Ajouter un objet pour saisir le sujet.
- Ajouter le contact pour ajouter un contact en tant que fichier vcf à partir de votre réseau.
- Ajouter fichier audio pour ajouter un son enregistré depuis votre bibliothèque.
- Aperçu pour prévisualiser le message avant l'envoi.
- Ajouter pour ajouter d'autres éléments au message.
- Supprimer la piece jointe pour supprimer un ou plusieurs éléments du message.
-
Sauvegarder en tant que projet pour enregistrer le message actuel pour un envoi ultérieur.
-
Àprous avoir fini, appuyez sur Envoyer pour envoyer le message.
Lire et génér les messages
Boîte de réception, Brouillons, Éléments envoyés et Boîte d'envoi
- Appuyez sur Menu Messages.
Yououpuvezaussiappuyersurla touche deraccourci
- Sélectionnez Boîte de réception, Brouillons, Éléments envoyés ou Boîte d'envoi.
- Appuyez sur « pour plus d'options de message :
Appeler pour appeler le numéro/contact sélectionné.
- Détails pour afficher les détails du message.
- Transfert pour transférer le message. Modifiez le message (si nécessaire) et entrez le nom du destinataire, puis appuyez sur OK pour l'envoyer.
- Effacer pour supprimer ce message individuel.
- Tout effacer pour effacer tous les messages.
-
Ajouter aux contacts pour enregistrer le numéro à un nouveau contact ou à un contact existant.
-
Sélectionnez un message individuel et appuyez sur Ouvrir pour OK le message.
-
Appuyez sur é pour acceder aux mêmes options que précédemment et:
-
Lecture pour afficher un message multimédia.
- Sauvegarder les fichiers média pour enregistrer une piece jointe multimédia.
Créer et envoyer un message vocal
Un message vocal est un court message vocal enregistré qui peut être envoyé vers d'autres téléphones mobiles. La durée du message vocal dépend du fournisseur de services, mais ne dépasse généralement pas 13 secondes environ.
- Appuyez sur Menu Messages Message vocal.
Vous pouvez aussi appuyer sur la touche de raccourci Message vocal.
-
Un enregistrement vocal démarrera instantanément. Parlez clairment dans le microphone du téléphone, à une distance maximale de 1 mètre.
-
Appuyez sur OK pour interrompre (II) l'enregistrement, appuyez sur OK pour reprendre (●) l'enregistrement.
-
Appuyez sur ■ pour arrêté l'enregistrement.
-
Appuyez sur et seLECTIONnez un destinataires et un numero parmi vos contacts. Appuyez sur Terminate lorsque vous avez terminé.
Sinon, saisissez le numéro pour ajouter manuellement le destinataire et appuyez sur OK lorsque vous avez terminé.
Remarque! Si vous decide d'envoyer un message à plusieurs destinataires, chaque envoi vous sera facturé.
- Allez dans le champ du message et saisissez votre texte, voir Saisir du texte , p.15.
- Àprous avoir fini, appuyez sur Envoyer pour envoyer le message.
Paramètres de réduction de messages
Message texte (message texte)
Centre de messagerie
La réception de SMS nécessite un numéro de centre de messagerie, normallement automatiquement définir sur votre téléphone. Pour connaître ce numéro, renseignez-vous auprès de cette opérateur.
- Appuyez sur Menu Messages Réglages Message texte Centre de messagerie.
- Appuyez sur OK et saisissez le numéro de la centrale de messagerie.
Remarque! Le numéro du centre de messagerie est normalement prédéfini sur votre carte SIM et il est possible qu'il ne puisse pas'être modifié.
- Appuyez sur OK pour valider.
Période de validité du message
Si le téléphone mobile du destinataire est hors ligne, un SMS est enregistrétemporairement dans la centrale SMS. Il est possible de spécifier la période de validité du SMS. Cela signifie que le SMS sera supprimé de la centraleSMS au bout d'un certain temps et ne sera pas transféré vers le téléphonemobile du destinataire lorsqu'il sera de nouveau en ligne.
- Appuyez sur Menu Messages Reglages Message texte Période de validité du message.
- Définisse la période de validité.
Remarque! Normalement, il n'est pas nécessaire de modifier ce paramètre.
Accusé de réception
Vous pouvez désir de receivevoir un.accusé de réception lorsque le destinataire a reçu votre message texte.
Remarque! Contactez votre opérateur pour connaître en détails les tarifs d'abonnement avant de l'activer.
- Appuyez sur Menu Messages Réglages Message texte.
- Cochez Accusé de réception avec le bouton OK pour activer cette fonctionnalité.
Stockage préfééré
Selectionnez le stockage préfééré pour vos messages.
- Appuyez sur Menu Messages Réglages Message texte Stockage préfééré.
- Choisissez d'enregistrer les messages sur le Telefone ou la SIM.
Rappel SMS
Le rappel vous avertit une fois si vous n'avez pas consulté vos messages dans les 10 minutes suivant leur réception.
- Appuyez sur Menu Messages Régliages Message texte.
- Cochez Rappel SMS avec le bouton OK pour activer cette fonctionnalité.
Mode de saisie
Le mode Saisie vous permet deCHOISIR d'ecRIRE vos messages texte avec des caractères spéciaux propres à certaines langues (Unicode) ou avec des caractères plus simples. Auto permet d'utiliser des caractères spéciaux. Les caractères spéciaux prenneient plus d'espace et la taille de chaque message peut être réduite à 70 caractères. Alphabet GSM convertit tout caractère spécial en caractères alphabétiques simples, où I devient I par exemple.
Chaque message peut contenir 160 caractères.
- Appuyez sur Menu Messages Réglages Message texte Mode de saisie.
-
Sélectionnez le mode de saisie :
-
Auto (par défaut) pour autoriser des caractères spéciaux si nécessaire, mais chaque message peut être limité à 70 caractères.
- Alphabet GSM pour convertir tout caractère spécial en caractère d'alphabet normal.
Statut de mémoire
Affichez l'espace utilisé dans la mémoire de la carte SIM et dans la mémoire du téléphone.
- Appuyez sur Menu Messages Reglages Message texte Statut de mémoire.
- Affichez l'espace utilisé dans la mémoire de la carte SIM et dans la mémoire du téléphone.
Message multimédia (message multimédia/photo)
Cochez/décochez les fonctions comme vous le voulez.
- Appuyez sur Menu Messages Reglages Message multimedia Compte MMS:
- Sélectionnez votre opérateur et appuyez sur OK pour activer ce compte MMS.
- Appuyez sur é pour acceder aux options suivantes :
Ces paramètres sont nécessaires pour l'utilisation de la fonction Message photo. Les paramètres relatifs aux messages photo sont fournis par votre opérateur et peuvent vous être envoyés automatiquement.
-
Nouvelle connexion : Si votre opérateur n'est pas dans la liste, suive les étapes ci-dessous : Contactez votre opérateur pour avoir des réglages corrects.
-
Nom pour ajouter un nom de compte.
- Nom d'utilisateur pour ajouter un nom d'utilisateur.
- Mot de passer pour ajouter un mot de passer.
- Point d'accès pour ajouter un APN (Access Point Name).
- Type d'autorisation pour spécifique le type d'authentication à utiliser si votre fournisseur de services dispose d'un APN avec nom d'utilisateur et mot de passer.
- IP type pour spécifique le protocole que l'appareil doit utiliser pour acceder à Internet par le biais de données cellulaires.
- Portail pour ajouter une adresse proxy de passerelle.
- Port pour ajouter un port proxy de passerelle.
- Page d'accueil pour ajouter une page d'accueil.
-
Réglages avancés pour les paramètres plus avancés :
-
Adresse DNS pour ajouter une adresse IP DNS pour votre fournisseur de services.
-
Type de réseau pour définir le type de réseau. Choisissez entre WAP et HTTP.
-
Appuyez sur Sauvegarder une fois terminé.
-
Rechercher pour rechercher tous les comptes MMS disponibles (APN).
- Voir pour afficher le compte MMS sélectionné (APN).
-
Effacer pour supprimer le compte MMS sélectionné (APN).
-
Editor pour modifier le compte MMS sélectionné (APN).
-
Restaurer par défaut pour restaurer les paramètres par défaut du compte MMS (APN) sélectionné.
-
Cochez/décochez/sélectionnez les fonctions comme vous le voulez.
-
Accusé de réception pour receivevoir un.accusé de réception lorsque le destinataire a reçu votre message multimédia.
- Envoi de l'accusé de réception pour receivevoir un.accusé de réception lorsquelé destinataire a lu vosemessage multimédia.
Stockage du dossier Choisissez d'enregistrer les fichiers multimédia sur Téléphone ou Carte mémoire (le cas échéant).
- Statut de mémoire pour afficher l'espace mémoire utilisé sur la mémoire sélectionnée.
Remarque! Uniquement disponible si une carte mémoire est installée.
Diffusion cellulaire
Vous pouvez receivevoir des messages sur des sujets variés de la part de votre opérateur, par exemple la météo ou l'objet de la circulation dans une région spécifique. Pour plus d'informations sur les canaux disponibles et sur les paramètres de ces canaux, contactez votre opérateur. Les messages par diffusion cellulaire ne peuvent pas être reçus lorsqu'el'appareil est en itinérance.
Appuyez sur OK pour dire un message de diffusion cellulaire.
- Appuyez sur Menu Messages Réglages Diffusion cellulaire.
-
Vous pouvez définir les paramètres suivants :
-
Langues pour sélectionner dans quelles langues s'afficheront les messages par diffusion.
-
Paramétrage des chaînes pour les paramètres de canal : Vérifiez le canal concerné pour receivevoir des messages sur celui-ci. Appuyez sur é pour gérer les canaux :
-
Ajouter une chaine pour ajouter un nouveau canal permettant de receivevoir des messages par diffusion. Définissez le numéro et le titre du canal et appuyez sur Sauvegarder pour l'enregistrer et l'activer.
-
Editor la chaine pour modifier le canal sélectionné et appuyez sur Sauvegarder lorsque vous avez terminé.
-
Supprimer la chaine pour supprimer le canal sélectionné et appuyez sur Oui pour confirmer.
-
Si vous avez reçu un message de diffusion cellulaire, appuyez sur pour afficher les options :
-
Transfert pour transférer un message.
- Effacer pour supprimer un message.
- Réglages pour plus d'options.
Remarque! La fonction de messagerie par diffusion cellulaire n'est pas offerte par tous les opérateurs de réseau.
Alertedurgence
Alerte d'urgence est le terme générique designant le dispositif d'alerte publique qui repose sur la technologie de Diffusion cellulaire. Vous recevez un message si une autorité envoie un message d'alerte. Ce service n'est pas disponible dans tous les pays.
Boîte de réception
- Appuyez sur Menu Messages Réglages Alerte d'urgence.
- Sélectionnez Boîte de réception.
-
Appuyez sur é pour acceder aux options suivantes (les options peuvent différer en fonction du type de messages sélectionné):
-
Voir pour ouvrir et afficher le message sélectionné.
- Effacer pour supprimer ce message individuel.
- Tout effacer pour effacer tous les messages.
Réglages
Sélectionnez le type de messages d'alerte que vous souhaitez receivevoir.
- Appuyez sur Menu Messages Réglages Alerte d'urgence Réglages.
- Activez/désactivez le type de message à l'aide de la touche OK.
Si vous abonnement inclut un service de répondeur, les appelants peuvent laisser un message vocal lorsque vous ne pouvez pas répondre à un appel. La Messagerie vocale est un service de l'opérateur et vous devrez peut-
etre vous y abonner au préalable. Pour de plus amples renseignements et pour connaître le numéro de la messagerie vocale, contactez votre opérateur.
Appeler la messagerie vocale
Appareil photo
Vous pouvez prendre des photos, enregistrer desVIDEOS et afficher vos photos et vosVIDEOS à l'aide du menu Appareil photo.
Pour obtenir des photos et vidés de qualité, nettoyez l'objectif à l'aide d'un chiffon sec.
- Appuyez sur la touche de raccourci
Vous pouvez également appuyer sur Menu Appareil photo.
- Utilisez pour effectuer un zoom avant ou arrêtre.
Remarque! Le zoom peut alterer la qualité de l'image.
- Appuyez sur ou OK pour prendre une photo ou demarrer/arrête un enregistrement video.
- Pour l'enregistrement video, appuyez sur II (OK) pourmettre en pause et arreter I'enregistrement. Appuyez sur Oui pour sauvegarder I'enregistrement.
- Appuyez sur é pour acceder à d'autres options :
- La Visionneuse d'images affiche toutes les photos prises et les vidés enregistrées dans la galerie. Reportez-vous à la section Galerie, p.41 plus d'information.
Flash
Remarque! Le réglage du flash effectué sera conservé tant que vous ne le changerez pas.
Appareil photo/ Caméra video
- Basculez entre l'appareil photo et l'enregistrement video.
Qualité
- Définir le niveau de qualité pour videos. Plus le niveau est élevé, plus la qualité est bonne.
Remarque! Une qualité plus élevé exigera une plus grande capacité de mémoire.
Son
- Sélectionnez pour activer le Son ou Désactivé(es).
Stockage préfééré
- Téléphone pour enregistrer les photos ou les vidés sur la mémoire du téléphone.
- Carte mémoire pour enregistrer les photos ou les vidés sur la carte mémoire.
Remarque! Cette option n'est disponible que lorsqu'une mémoire externe compatible est insérée dans l'appareil. Consultez la section Insertion de la carte SIM, de la carte mémoire et de la batterie, p.7.
Alarme
Remarque! L'alarme fonctionné même si le téléphone est éteint.
- Appuyez sur Menu Alarme.
- Appuyez sur Ajouter une alarme pour creer une nouvelle alarme.
-
Sélectionnez et configurez les différentes options :
-
Réglez l'alarme Activé ou Désactivé.
- Définissez l'heure de l'alarme.
-
Définissez les options de Mode Répéter si l'alarme doit être répetée.
-
Une fois pour une seule occurrence de l'alarme.
- Tous les jours pour la répétition quotidienne de l'alarme.
-
Hebdomadaire cochez pour repeter l'alarme pour le(s) jour(s) seLECTIONné(s) de la semaine.
-
Donnez un nom à l'alarme.
- Sélectionnez une sonnerie à associer à l'alarme.
4. Appuyez sur Sauvegarder.
Si vous avez déjà une entrée d'alarme, vous pouvez simplement Activer/ Désactiver l'alarme avec OK.
Répétition ou arrêt de l'alarme
- Quand l'alarme se déclenché, le téléphone fait retentir un signal. Appuyez sur OK pour arrêté l'alarme ou sur 4 pour arrêté temporairement et répéter l'alarme au bout de 9 minutes.
Astuce : Pour modifier ou supprimer une alarme, Sélectionnez-la et appuyez sur Editor ou Effacer.
Torche
Remarque! La lampe de poche vide très rapidement la batterie. N'oubliez pas de l'eteindre après utilisation. La lumière s'eteint automatiquement au bout de 5 minutes.
- Depuis l'écran inactif, appuyez sur Menu Torche.
- Appuyez sur OK pour la désactiver/l'activer.
Astuce : Vous pouvez appuyer longuement sur 0 pour activer/désactiver la lampe de poche.
Organiseur
Calendrier
Remarque! Les rappels du calendrier fonctionnent même si le téléphone est eteint.
Répétition ou arrêt de l'alarme
- Lorsque le rappel du calendrier s'éteint, un signal sonore retentit, s'il est défini. Appuyez sur OK pour désactiver le rappel ou sur ↓ pour lemettre en silencieux.
Ajouter un événement au calendrier
- Appuyez sur Menu Organiseur Calendrier.
-
Appuyez sur Nouvel événement pour acceder aux options suivantes:
-
Sujet pour saisir le nom d'un événement et un texte pertinent.
- Réglez la date.
- Réglez l'heure.
- Réglez la sonnerie de rappel.
-
Définissez les options pour Mode Répéter si l'évenement doit être répétré.
-
Une fois pour une seule occurrence de l'événement.
- Tous les jours pour la répétition quotidienne de l'évenement.
- Hebdomadaire pour repeter l'évenement pour le(s) jour(s) selec-tionné(s) de la semaine.
- Calendrier mensuel pour la répétition mensuelle de l'évenement.
L'Annuel pour la répétition annuelle de l'évenement.
-
Désactivée pour désactiver la répétition de l'évenement.
-
Appuyez sur Sauvegarder une fois terminé.
Astuce : Pour modifier ou supprimer un événement, Sélectionnez-le et appuyez sur Editor ou Effacer.
Options du calendrier
Appuyez sur Menu Organiseur Calendarier :
- Ajouter/Nouvel événement, puis saississez les informations nécessaires. Consultez la section Ajouter un événement au calendrier, p.39.
- Voir pour afficher les événements du jour.
- Voir tout pour afficher tous les événements.
- Effacer/Effacer pour supprimer les événements du jour.
Remarque! Uniquement visible dans la vue hebdomadaire/mensuelle.
- Effacer tout/Tout effacer pour supprimer tous les événements.
Remarque! Uniquement visible dans la vue hebdomadaire/mensuelle.
- Chercher par date pour acceder à une date.
- Calendrier mensuel pour une vue mensuelle.
- Hebdomadaire pour une vue hebdomadaire.
- Tous les jours pour une vue quotidienne.
- Premier jour de la semaine pour définir le jour pris en compte pour commencer la semaine.
Calculus
La Calculatrice permet d'effectuer des opérations mathématiques de base.
- Appuyez sur Menu Organiseur Calculatrice.
- Entrez le premier chiffre.
Utilisez pour un caractère décimal et pour basculer entre les nombres positifs et négatifs.
- Utilisez les touches de navigation pour sélectionner une opération (+, -, X, ÷).
- Saisissez le nombre suivant.
- Répétez les étapes 2 à 4 au besoin et terminez le calcul avec .

Listedossiers
Gérez le contenu et les propriétés des fichiers.
Les fichiers sont normalement stockés dans les dossiers correspondant au type de fichier. Les noms des dossiers sont uniquement en anglais.
- Appuyez sur Menu Organiseur Listes des dossiers.
- Sélectionnez Téléphone ou Carte mémoire.
Remarque!Visible uniquely si une carte mémoire est installee.
- Sélectionnéz un dossier, par exemple Photos, puis appuyez sur OK pour l'ouvrir.
- Sélectionnez un fichier, puis appuyez sur OK pour l'ouvrir.
- Appuyez sur é pour voir les options disponibles.
Contenus multimédias
Galerie
Affichez et gérez vos photos et vidés enregistrées.
- Appuyez sur Menu Contenus multimédias Galerie.
- Sélectionnez une photo/video et appuyez sur OK pour afficher la photo ou dire la video.
-
Appuyez sur é pour acceder aux options :
-
Envoyer pour envoyer une photo/video par MMS ou Bluetooth.
- Effacer pour supprimer l'élement sélectionné. Appuyez sur OK pour valider.
Utiliser pour utiliser la photo comme Fond d'écran ou Photo du contact.
- Renommer pour la renOMmer. Modifiez le nom et appuyez sur Sauvegarder.
- Détails pour afficher des informations détaillées sur le fichier, par exemple la date, la taille, le type.
Radio FM
La Radio FM a une plage de fréquences allant de 87,5 à 108,0 MHz. Pour écouter la radio vous doivent connecter un casque compatible qui fait office d'antenne.
Éteindre/Allumer la radio
- Branchez un casque à la prise pour casque
- Appuyez sur Menu Contenus multimédias Radio FM OK pour activer (▶)/déspectiver (■) la radio. La fréquence sélectionnée s'affiche.
Astuce : Appuyez sur Ⓞ pour repasser en mode veille. La radio continue à émettre.
Pour éteindre la radio, vous pouvez débrancher le casque.
Options
- Appuyez sur Menu Contenus multimédias Radio FM.
- Le téléphone recherche automatiquement les stations disponibles.
- Passez d'une station à l'autre avec « ou »
-
Appuyez sur é pour acceder aux options :
-
Enregistrer automatique les chaînes pour rechercher les stations de radio disponibles.
-
Listes des stations pour afficher vos stations enregistrées. Appuyez sur OK pour écouter la station et écart pour plus d'options :
-
Lecture pour écouter la station.
- Editor pour modifier le nom et la fréquence de la station.
- Effacer pour supprimer la station.
-
Tout effacer pour supprimer toutes les stations.
-
Sauvegarder la station pour enregistrer la fréquence actuellément réglée.
- Recherche manuelle pour régler manuellement la fréquence.
HP allumé pour dire le canal sur le haut-parleur. Pour éteindre le haut-parleur, appuyez sur HP éteint.
Enregistreur audio
Utilisez l'enregistreur audio pour enregistrer des notes et des messages vocaux.
- Appuyez sur Menu Contenus multimédias Enregistreur audio.
- Appuyez sur ● pour démarrer et II mesure en pause l'enregistrement. Appuyez sur une fois terminé. L'enregistrement est automatiquement méorisé.
-
Appuyez sur é pour acceder aux options :
-
Nouvel enregistrement pour commencer un nouvel enregistrement.
- Effacer pour supprimer l'enregistrement actuel.
- Envoyer pour envoyer l'enregistrement par MMS ou Bluetooth.
- Enregistrements pour acceder à la liste d'enregistrements et appuyez sur OK pour écouter l'enregistrement. Appuyez sur é pour acceder aux options :
Remarque! Les enregistements sonores sont stockés dans Téléphone Audio
Paramètres
Paramètres généraux
Heure & date
Astuce: Le téléphone est configuré pour actualiser automatiquement la date et l'heure en fonction de votre fuseau hora. Pour éteindre, décembre chez la case Heure & date Date/Heure automatique Utiliser la date et l'heure fournies par le réseau. La mise à jour automatique de l'heure et de la date ne change pas l'heure que vous avez définitie pour l'alarme ou le calendrier. Elles sont en heures locale.
Réglage de l'heure
- Appuyez sur Menu Régliages Paramètres généraux Heure & date Réglage de l'heure.
- Saisissez l'heure et appuyez sur OK.
Remarque! Le réglage manuel de l'heure désactive la mise à jour automatique de l'heure et de la date.
Réglage de la date
- Appuyez sur Menu Réglages Paramètres généraux Heure & date Réglage de la date.
- Saisissez la date et appuyez sur OK.
Remarque! Le réglage manuel de la date désactive la mise à jour automatique de l'heure et de la date.
- Appuyez sur Menu Réglages Paramètres généraux Heure & date Format de l'heure.
- Sélectionnez 12 heures ou 24 heures et appuyez sur OK.
Affichage de la date
- Appuyez sur Menu Régliages Paramètres généraux Heure & date Affichage de la date.
- Sélectionnéz le format souhaité et appuyez sur OK.
Régler la mise à jour automatique de l'heure et de la date
- Appuyez sur Menu Régliages Paramètres généraux Heure & date Date/Heure automatique.
- Cochez la case Utiliser la date et l'heure fournies par le réseau pour actualiser automatiquement la date et l'heure en fonction de votreFuseau hora.
Remarque! Le réglage manuel de l'heure ou de la date désactive la mise à jour automatique de l'heure et de la date.
- Appuyez sur Mettre à jourMAINANT pourmettreà jour l'heure et la date.
Langue
La langue par défaut pour les menus du téléphone, les messages, etc. est déterminée par la carte SIM. Vous pouvez la modifier et désirir une autre langueaise en charge par le téléphone.
- Appuyez sur Menu Régliages Paramètres généraux Langue Langue.
- Sélectionnez une langue et appuyez sur OK.
Langue d'écriture
- Appuyez sur Menu Régliages Paramètres généraux Langue Langue d'écriture.
- Sélectionnez une langue et appuyez sur OK.
Saisie intel.
Utilisez la fonction d'écriture prédicte qui propose des mots à partir d'un dictionnaire. Appuyez une fois sur la touche correspondante, même si le caractère affché n'est pas celui que vous pouze. Le dictionnaire va sugérer des mots en fonction des touches sur lesquelles vous avez appuyé. Voir
Entrer du texte avec la fonction de saisie intelligente, p.16 pour en savoir plus sur l'utilisation de cette fonction.
- Appuyez sur Menu Réglages Paramètres généraux Langue Saisie intel..
- Sélectionnez la fonction Activé ou Désactéve.
Batterie
Niveau de la batterie
Vérifiez l'etat de votre batterie.
- Appuyez sur Menu Régliages Paramètres généraux Batterie Niveau de la batterie.
- Vérifiez l'etat actuel de la batterie.
Préserver la batterie
Activez cette fonction pour prolonger la durée de vie de la batterie.
Lorsque cette fonction est active, la charge s'arrête à 80% pour réduire la dépréciation de la batterie.
- Appuyez sur Menu Réglages Paramètres généraux Batterie Préserver la batterie.
- Sélectionnez la fonction Désacté ou Activé.
Bloquer fonction
Sélectionnez une application ou une fonctionnalité dont vous souhaitez bloquer l'utilisation.
- Appuyez sur Menu Régliages Paramètres généraux Bloquer fonction.
- Désélectionnez les applis/fonctions à désactiver. Cochez pour activer l'appli/fonction.
- Appuyez sur Terminé une fois terminé.
Réinitialiser des paramètres
- Appuyez sur Menu Réglages Paramètres généraux Réinitialiser des paramètres.
- Toutes les modifications que vous avez apportées aux paramètres du téléphone sont perdues et l'appareil reprend les paramètres d'usine. Si défini, saississez le code du téléphone et appuyez sur OK pour le réinitialiser.
Tout réinitialiser
- Appuyez sur Menu Régliages Paramètres généraux Tout réinitialiser.
- Tous les paramètres et le contenu du téléphone, tels que les contacts, photos, lists de numérios et messages, seront supprimés (ni la carte SIM, ni la carte mémoire n'en seront affectées). Si défini, saississez le code du téléphone et appuyez sur OK.
- Appuyez sur Oui ou Tout réinitialiser pour confirmer et continuer la suppression de toutes vos informations personnelles. Remarque! Cette action ne peut pas'être annulée! Si un Code de téléphone est défini, il doit être saisi pour pouvoir réinitialiser le téléphone.
Affichage
Fond d'écran
- Appuyez sur Menu Réglages Affichage Fond d'écran.
- Sélectionnez un fond d'écran à partir de :
Fond d'écran statique pour acceder aux fonds d'écran prédéfinis.
- Plus de photos pour les images disponibles dans vos fichiers.
Luminosité
You pouvez régler la luminosité de l'écran.
- Appuyez sur Menu Réglages Affichage Luminosite.
- Réglez la luminosité à un niveau comfortable et appuyez sur OK une fois terminé.
Remarque! Plus l'écran est illuminé, plus il consomme d'énergie.
Retroeclairage
Vous pouvez définir la durée du rétroéclairage.
- Appuyez sur Menu Réglages Affichage Rétroéclairage.
- Définissez la durée d'éclairage de l'écran.
- Appuyez sur OK pour valider.
Remarque! Une durée plus longue avec le rétroéclairage activé consommera plus d'énergie de la batterie.
Paramètres du Ecran externe
Yououpouvezdéfinirdifferentesoptions pour l'affichage externe.
-
Appuyez sur Menu Réglages Affichage Ecran externe pour acceder aux options :
-
Notifications pour définir la durée pendant laquelle une notification doit être visible sur l'écran externe (Jusqu'à la lecture/Courte durée).
Remarque! Jusqu'à la lecture consommera plus d'énergie de la batterie.
- Horloge pour configurer la manière dont l'horloge doit apparaitre sur l'écran externe, Toujours allumé ou Volume des touches. Lorsque Volume des touches est selectionné, il vous suffit d'appuyer longuement sur l'une des touches de volume pour afficher brievement l'horloge sans ouvrir le téléphone.
- Luminosité pour régler la luminosité à un niveau comfortable.
- Mode atténuation : sélectionnez Activé pour atténuer progressivement l'affichage externe avant qu'il ne passé en mode Veille.
Yououpouvezchoisirdifférentsstyles pourle menu principal.
- Appuyez sur Menu Réglages Affichage Menu principal.
- Sélectionnez Seul ou Liste.
Taille de la police
Vouspouvezpersonnaliserla tailledu textedes menus et des messages.
- Appuyez sur Menu Réglages Affichage Taille de la police.
- Sélectionnez Normale ou Grande.
Thème
Vous pouvez désir différents thèmes pour régler les légendes et l'arrière-plan du téléphone.
- Appuyez sur Menu Réglages Affichage Thème.
- Sélectionnez le thème souhaité et appuyez sur OK.
Sécurité
PIN
-
Appuyez sur Menu Régliages Sécurité PIN.
-
Cochez PIN pour activer le code PIN. Vous doivent saisir le code PIN chaque fois que vous allumez le téléphone.
- Décochez PIN pour désactiver le code PIN.
IMPORTANT
Si vous désactivez le code PIN, en cas de perte ou de vol de la carte SIM, celle-ci n'est pas protégée et doit être bloquée par votre opérateur. Voir également Verr. tél., p.48 pour plus de sécurité.
- Appuyez sur Modification du PIN pour modifier le code PIN de votre carte SIM.
- Saisissez le code PIN actuel et appuyez sur OK.
- Saisissez le nouveau code PIN et appuyez sur OK. Saisissez à nouveau le nouveau code PIN et appuyez sur OK. Lorsque vous avez terminé, Réussi s'affiche.
Modification du PIN2
- Appuyez sur Menu Reglages Sécurité Modification du PIN2.
- Saisissez le code PIN2 actuel et appuyez sur OK.
- Saisissez le nouveau code PIN2 et appuyez sur OK. Saisissez à nouveau le nouveau code PIN2 et appuyez sur OK. Lorsque vous avez terminé, Réussi s'affiche.
Verr. tél.
La fonction de verrouillage du téléphone protègeVotevre apparéil contre touteutilisationinvoltaire.Sielle estactivée,letelephoneestverrouillé après une courte période d'inactivitéetàchaque foisqu'ilestallumé.Le code du téléphone doit être saisi pour le déverrouiller.Cela protégera votertéléphonecontretouteutilisationnon autorisée.
Si le verrouillage du téléphone est activé, vous devrez également saisir le code du téléphone pour :
- Réinitialiser des paramètres.
-
Tout réinitialiser (retour aux paramètres d'usine).
-
Pour autoriser la connexion d'un disque USB à un PC via un cable USB, voir Connecter le téléphone à un ordinateur, p.18.
-
Appuyez sur Menu Régliages Sécurité.
-
Appuyez sur Verr. tél. et selectionnez le paramètre de sécurité souhaite.
-
Activé pour que le verrouillage du téléphone soit toujours activé après une courte période d'inactivité et à chaque fois que le téléphone est allumé. Le code du téléphone doit être saisi pour le déverrouiller.
- Activer au démarrage pour activer le verrouillage du téléphone à chaque mise sous tension. Le code du téléphone doit être saisi pour le déverrouiller.
- Désactivé pour désactiver le verrouillage du téléphone. Il n'y a pas de sécurité supplémentaire.
- Changer le code du téléphone pour modifier le code du téléphone. Saisissez un nouveau code, appuyez sur OK, confirmez le nouveau code et appuyez sur OK.
Remarque! Veillez à ce que ce code soit facile à retenir pour vous, mais difficile à deviner pour les autres.
Numéro fixe (FDN)
Vous pouvez limiter les appeals à certains numérios enregistrés sur la carte SIM. La liste des numérios autorisés est protégée par votre code PIN2.
Remarque! Il vous faut un code PIN2 pour appliquer la fonction numérotation fixe. Contactez votre opérateur pour obtenir ce code PIN2.
- Appuyez sur Menu Reglages Sécurité Numéro fixe :
- Cochez Mode de numérotation fixe pour saisser le code PIN2 pour activer cette fonctionnalité.
- Appuyez sur Numéro fixe → pour ajouter et saisir le premier numéro autorisé. Vous pouvez ajouter plus de nombres, ou modifier ou supprimer des nombres existants.
Remarque! Vous pouvez enregistrer des portions de numéro de téléphone. Par exemple, en spécifique 01234, vous autorisez les appel vers tous les numérios commencer par 01234. Vous pouvez passer un appel d'urgence en composant le numéro d'urgence local principal et en appuyant sur même lorsque la numérotation fixe est activée.
Lorsque la numérotation fixe est activée, vous n'avez pas le droit de voir ou de:gérer des numéros de téléphone enregistrrés sur la carte SIM. Vous ne pouvez pas non plus envoyer de messages texte.
Liste Noire
Vous pouvez compiler une liste noire de nombres de téléphone : les numéroros de téléphone que vous y faites figurer ne pourront pas vous appeler ou vous envoyer de message texte.
Ajouter des numéros à la liste noire
- Appuyez sur Menu Réglages Sécurité Liste Noire La liste noire.
-
Appuyez sur é pour acceder aux options :
-
Nouveau pour ajouter un numéro à la liste des númeroos bloqués. Entrez le nom et le numéro ou ajoutez-les à partir de Contacts Appuyez sur Sauvegarder pour valider.
- Editor pour modifier le numéro.
- Effacer pour supprimer le numéro.
- Importer les contacts pour importer des contacts depuis le repertoire.
- Tout effacer pour supprimer tous les numérios.
Paramètres de la liste noire
-
Appuyez sur Menu Réglages Sécurité Liste Noire Paramètres de la liste noire.
-
Cochez L'interception de l'appel audio pour activer le blocage de la liste noire pour les appeals entrants.
- Cochez Message d'interception pour activer le blocage de la liste noire pour les messages entrants.
Liste blanche
Sélectionnez cette fonction pour n'accepter que les appeals entrants provenant de contacts enregistrés dans le réseau.
Remarque! Si cette option est activée et qu'aucun numéro n'estprésent dans le réseau, aucun appel ne peut être reçu.
- Appuyez sur Menu Réglages Sécurité Liste blanche.
- Appuyez sur État et Sélectionnez Activé pour activer. Appuyez sur OK pour valider.
Appels
Renvoi d'appel
Vous pouvez transférer des appel vers un service répondeur ou vers un autre numéro de téléphone. Sélectionnez une condition d'appoint, appuyez sur Activé(es) puis sélectionnez si vous souhaitez devier l'appoint vers la messagerie vocale ou saississez un numéro pour activer la déviation d'appoint. Vous pouvez également sélectionner Désactivé(es) pour désactiver ou Statut de la demande.
-
Appuyez sur Menu Réglages Appels Renvoi d'appoint :
-
Transfert d'appel systématique pour transférer tous les appels vocaux.
- Renvoi si occupe pour transférer les appeals entrants si la ligne est occupée.
- Transfert si pas de réponse pour transférer les appel entrants s'ils restent sans réponse.
- Transfert si injoignable pour transférer les appeals entrants si le téléphone est eteint ou inaccessible.
- Annuler tous les renois pour annuler toutes les déviations.
Appel en attente
Vous pouvez Traitser plusieurs appels en meme temps. Mettez l'applen en cours en attente et repondez a I'applen entrant. Lorsque cette fonction est activee, une tonalite de notification est diffusue si vous receivez un appel alors que vous etes déjà en ligne.
- Pendant un appel, appuyez sur pour répondre à un autre appel. Le téléphone met automatiquement le premier appel en attente. Pour plus d'informations sur la gestion des appeals, voir Options d'appeL, p.19.
Activer l'essay en attente
Appuyez sur Menu Reglages Appels Appel en attente :
Interdiction d'applé
Vous pouvez restreindre l'usage du téléphone pour bloquer certains types d'appels. Sélectionnez une condition et appuyez sur Activé(es) pour activer le blocage. Vous pouvez également seLECTIONNER Désactiver es pour désactiver ou Statut de la demande.
Remarque! Un PIN2 est nécessaire pour appliquer le blocage d' appel. Contactez votre opérateur pour obtenir ce PIN2.
- Appuyez sur Menu Réglages Appels Interdiction d'applé.
-
Cochez le type d'appels que vous souhaitez restreindre :
-
Tous les appeals sortants pour bloquer tous les appeals sortants, mais être autorisé à répondre aux appeals entrants.
- Tous les appeals entrants pour bloquer tous les appeals entrants, mais être autorisé à passer des appeals sortants.
- Appels entrants en itinérance pour bloquer les appellants en cas d'itinérance (utilisation dans d'autres réseaux).
- Les appeals international sortants pour bloquer les appeals sortants vers des numéroros internationaux.
- Appel international sortant en itinérance pour bloquer les appels sortants vers des numérios internationaux en roaming (fonctionnant sur d'autres réseaux).
-
Appuyez sur Supprimer toutes les interdictions pour annuler le blocage desAAPels.
-
Appuyez sur OK pour valider.
Numero de l'aggellant
Affichez ou masquez votre numero de téléphone sur le téléphone des personnes que vous appelez.
Appuyez sur Menu Reglages Appels Numéro de l'aggellant :
- Masqué pour ne jamais afficher votre numéro.
Visible pour toujours afficher votre numéro.
- Déf par rés. pour appliquer les paramètres par défaut du réseau.
Mode réponse
- Appuyez sur Menu Régliages Appels Mode réponse Ouvrir pour répondre :
- Appuyez sur Activé pour répondre aux appelants en ouvrant le téléphone. Appuyez sur Désactif pour désactiver la fonction.
Toute touche réponse
- Appuyez sur Menu Réglages Appels Toute touche réponse.
- Appuyez sur Activé pour pouvoir répondre aux appeals entrants en appuyant sur n'importe qu'elle touche (sauf ). Appuyez sur Désactivement pour désactiver la fonction.
Connexion
Mode avion
En Mode avion, vous ne pouvez pas passer ou receivevoir d'appels ou faire quoi que ce soit qui nécessite une connexion réseau. Cela permet d'éviter toute perturbation des équipements sensibles.
Lorsque vous partez à l'étranger avec votre téléphone, vous pouvez le laisser en mode avion. Si vous utilisez ce mode, aucuns frais d'itinérance de données ne vous seront facturés. Activez Mode avion si vous vous trouvez dans des zones sans couverture réseau pour économiser la batterie. En effet, le téléphonecherche automatiquement des réseaux disponibles, ce qui consomme de la batterie. Vous pouvez être averti(e) par des alarmes lorsqu'elles sont activées.
- Appuyez sur Menu Réglages Connexion Mode avion.
- Appuyez sur Activé pour activer la fonction. Appuyez sur Désactivement pour la désativer.
Compte de Réseau
Le compte réseau dispose d'un Access Point Name (APN), c'est-à-dire le nom d'une passerelle entre un réseau mobile et un autre réseau informatique, la plupart du temps l'Internet public. Les paramètres APN sont utilisés par des services communiquant par d'autres réseaux informatiques. L'appareil possède déjà en mémoire les paramètres APN de la plupart des opérateurs.
Suivez les étapes ci-dessous si le profil de votre opérateur n'est pas dans la liste ou si vous doivent modifier un paramètre. Contactez votre opérateur pour avoir des réglages corrects.
- Appuyez sur Menu Reglages Connexion Compte de Réseau :
- Sélectionnez votre opérateur et appuyez sur OK pour activer ce compte de réseau.
- Appuyez sur é pour acceder aux options suivantes :
Ces paramètres sont nécessaires pour l'utilisation de la fonction Message photo. Les paramètres relatifs aux messages photo sont fournis par votre opérateur et peuvent vous être envoyés automatiquement.
-
Nouvelle connexion : Si votre opérateur n'est pas dans la liste, suive les étapes ci-dessous : Contactez votre opérateur pour avoir des réglages corrects.
-
Nom pour ajouter un nom de compte.
- Nom d'utilisateur pour ajouter un nom d'utilisateur.
- Mot de passer pour ajouter un mot de passer.
- Point d'accès pour ajouter un APN (Access Point Name).
- Type d'autorisation pour spécifique le type d'authentication à utiliser si votre fournisseur de services dispose d'un APN avec nom d'utilisateur et mot de passer.
- IP type pour spécifique le protocole que l'appareil doit utiliser pour acceder à Internet, par le biais de données cellulaires.
- Portail pour ajouter une adresse proxy de passerelle.
- Port pour ajouter un port proxy de passerelle.
Page d'accueil pour ajouter une page d'accueil.
-
Réglages avancés pour les paramètres plus avancés :
-
Adresse DNS pour ajouter une adresse IP DNS pour votre fournisseur de services.
-
Type de réseau pour définir le type de réseau. Choisissez entre WAP et HTTP.
-
Appuyez sur Sauvegarder une fois terminé.
-
Recherche pour recherche tous les comptes de réseau disponibles (APN).
- Effacer pour supprimer le compte de réseau sélectionné (APN).
- Editor pour modifier le compte de réseau sélectionné (APN).
Données mobiles
Utilisez le service de données pour acceder aux services de données mobiles.
IMPORTANT
Les tarifs d'utilisation des services de transmissions de données mobiles peuvent être très élevés. Nous vous conseillons de vérifier vos tarifs de transmissions de données auprès de votre opérateur.
Activez le service de données pour des services, tels que la mise à jour de logiciels. Decochez pour éviter des frais de transmissions de données.
- Appuyez sur Menu Régliages Connexion.
- Cochez Données mobiles pour l'activer ou décochez pour le désactiver.
Compteur de service de données
Le Compteur de service de données rassemble les informations de traffic issues des applications utilisant des données mobiles. Vous pouvez garder une trace du volume de données transférées via le réseau mobile à partir de et vers votre apparéil depuis la dernière réinitialisation.
- Appuyez sur Menu Réglages Connexion Compteur de service de données.
- Consultez l'utilisation des données mobiles depuis la dernière réinitialisation ainsi que l'utilisation totale.
- Appuyez sur Remise à zéro pour réinitialiser le compteur d'usage des données mobiles et appuyez sur Oui pour confirmer.
Roaming de données
Votre téléphone sélectionne automatiquement votre réseau local (opérateur) si votre zone est couverte. Si vous étés à l'étranger ou si votre réseau domestique est hors de portée, vous pouvez utiliser un autre réseau, à condition que votre opérateur réseau ait conclus un accord vous y autorisant. Il s'agit de l'itinérance. Contactez votre opérateur pour obtenir de plus amples renseignements.
- Appuyez sur Menu Réglages Connexion.
- Cochez Roaming de données pour l'activer ou décochez pour le désactiver.
IMPORTANT
Les tarifs d'utilisation de services de données en itinérance peuvent être très élevés. Contactez notre opérateur mobile pour connaître les tarifs d'itinérance de données avant d'utiliser ce service.
Choix du réseau
Votre téléphone sélectionne automatiquement l'opérateur réseau chez qui vous avez un abonnement. Lorsque vous âtes en itinérance ou si vous ne captez pas le réseau, vous pouvez essayer de sélectionner manuellement un réseau.
- Appuyez sur Menu Réglages Connexion Choix du réseau.
- Choisissez Sélection Automatique pour sélectionner le réseau automatique ou Sélection Manuelle pour sélectionner le réseau manuellement. Une liste des opérateurs disponibles s'affiche (après un bref délié). Sélectionnez l'opérateur souhaïte et appuyez sur OK.
IMPORTANT
Si vous sélectionnez manuelles un réseau, votre téléphone perdra la connexion lorsque ce réseau sera hors de portée. N'oubliez pas de configurer Sélection Automatique.
Type de réseau
Votre téléphone bascule automatiquement vers le réseau mobile disponible. Vous pouvez également configurer manuellement votre téléphone pour utiliser un type de réseau mobile spécifique. Différentes iconônes d'etat s'affichent dans la barre d'objet en fonction du type de réseau auquel vous étés connecté(e).
Appuyez sur Menu Réglages Connexion Type de réseau :
- 4G/3G/2G (Automatique): pour basculer automatiquement vers le meilleur service entre 2G, 3G et 4G.
- 3G/2G (Automatique) : pour basculer automatiquement vers le meilleur service entre 2G et 3G.
- 2G uniqueness : pour service 2G uniquement.
IMPORTANT
Si vous configUREZ votre téléphone de sorte qu'il utilise 3G/2G (Automatique) ou 2G uniquement, vous ne pourrez passer aucun appel, ni même des appeals d'urgence. De même, vous ne pourrez pas utiliser d'autres fonctionnalités nécessitant une connexion réseau, si le réseau sélectionné est indisponible.
VolTE
Indiquez si les appeals vocaux via le réseau LTE (4G) doivent être activés ou désactivés. Ce menu apparait uniquement si vous opérateur prend la fonctionnalité en charge.
- Appuyez sur Menu Réglages Connexion VoLTE.
- Cochez SIM pour l'activer.
Remarque! Notre opérateur doit également prendre en charge cette fonctionnalité.
Sonnerie
Réglage audio
Si vous utilisez une prothèse auditive ou si vous éprouvez des difficultés à entendre lorsque vous utilisez l'appareil dans un endroit bruyant, vous pouvez ajuster les réglages audio.
Astuce : Dès l'âge de 50 ans, il est normal d'avoir une perte auditive dans les haute fréquences, alors pourquoi ne pas essayer notre profil sonore optimisé, appelé Doro ClearSound.
-
Appuyez sur Menu Réglages Sonnerie Réglage audio :
-
Normal pour une acuité auditive normale en conditions normales.
-
ClearSound (optimisé) pour une perte modérée de l'acuité auditive ou une'utilisation dans un environnement très bruyant.
HAC pour une utilisation conjointement à une prothèse auditive.
-
Appuyez sur OK pour valider.
Remarque! Essayez différents régages pour trouver celui qui correspond le mieux à votre acuité auditive.
Son
Choisissez diverses sonneries et alertes sur votre apparéil.
- Appuyez sur Menu Réglages Sonnerie Son Sonnerie.
-
Choisissez le son à régler et Sélectionnez l'une des tonalités disponibles. Cette tonalité est ensuite diffusée.
-
Sonnerie pour définir la sonnerie des appeals entrants.
- Sonneries du portable pour désir parmi des tonalités préinstallées.
-
Autres sonneries pourCHOISIR parmi vos fichiers telecharges.
-
Sons de message pour définir la tonalité pour les nouveaux messages.
-
Sonneries du portable pourCHOISIR parmi des tonalités preinstallées.
-
Autres sonneries pourCHOISIR parmi vos fichiers tellechargés.
-
Tonalité des touches pour sélectionner le son qui sera émis lorsque vous appuierez sur les touches du téléphone.
-
Silencieux : aucun son lors de la pression d'une touche.
- Clic : un clic se fait entendre lors de la pression d'une touche.
- Bip : tonalités lors de la pression d'une touche.
-
Touches vocales : confirmation vocale lors de la pression d'une touche.
-
Allumage : sélectionnez Activé pour activer le son de démarriage ou Désactivé pour le désactiver.
- Extinction : sélectionnez Activé pour activer le son d'arrêt ou Désactivé(es) pour le désactiver.
- Vibrations : sélectionnez la durée de vibration Court ou Long.
Volume
Réglez les paramètres de volume pour plusieurs sons sur votre apparéil.
- Appuyez sur Menu Reglages Sonnerie Volume:
- Sélectionnéz le type de son et utilisez ∩ ∨ ou les touches de volume pour régler le volume.
Volume de la sonnerie.
- Volumes des messages.
Volume de l'alarme.
Volume des appels entrants.
- Verrouillage du volume, voir Verrouillage du volume , p.59.
- Appuyez sur Sauvegarder pour valider.
Verrouillage du volume
Lorsqu'il est verrouillé, le volume ne peut être modifié que dans les menus de volume décrits précédendum.
Astuce: Cette fonction peut être utile pour empêcher l'utilisateur de modifier accidentellement le volume lorsqu'il manipule le téléphone.
- Appuyez sur Menu Réglages Sonnerie Volume Verrouillage du volume :
- Sélectionnez Déverrouillé/Verrouillée, puis confirmez en appuyant sur Oui.
Type de sonneries
Spécifiez s'il faut utiliser la sonnerie et/ou le vibreur pour signaler les différentes notifications.
- Appuyez sur Menu Réglages Sonnerie Type de sonneries.
-
Sélectionnez le type d'alerte :
-
Sonnerie pour la sonnerie uniquement.
Vibreur pour le vibreur uniquement.
- Silencieux pour aucune mélodie ni vibration, seul l'écran s'allume.
- Sonnerie et vibreur pour le vibreur et la sonnerie.
Bluetooth®
IMPORTANT
Si vous n'utilise pas la fonction de connectivité Bluetooth, désactive-la pour economiser de la batterie. N'appairez pas d'appareil inconnu.
Activer Bluetooth
- Appuyez sur Menu Réglages Bluetooth Etat.
- Sélectionnez Activé pour activer ou Désactiver pour désactiver la fonction.
Remarque! Vous pouvez appairer plusieurs appareils Bluetooth, mais un seul peut être connecté à la fois. Par conséquent, si une connexion est déjà active, la connexion à partir d'un autre apparéil peut être bloquée.
Paramètres Bluetooth
Visibilité par d'autres dispositifs
Remarque! Pour éviter que d'autres apparêils ne déetectent le yourselves, sélectionné Désactivé. Meme si vous sélectionné Désactivé, les apparêils appariés peuvent toujours détecter votre apparéil.
Votre téléphone est visible par les autres apparciels Bluetooth tant que vous avez activé le Bluetooth et que Visibilité bluetooth est réglé sur Activé.
- Appuyez sur Menu Réglages Bluetooth Visibilité bluetooth.
- Sélectionnez Activé pour rendre votre téléphone visible à d'autres appar
pareils ou Désactivé pour le rendre invisible.
Equipement coupled
Affichez les apparciels déjà appairés et appairez les nouveaux.
- Appuyez sur Menu Reglages Bluetooth Equipement couplé.
- Pour rechercher et appairer un apparéil Bluetooth à proximité, appuyez sur Ajout nouvel équipement OK.
- Assurez-vous que l'appareil auquel vous souhaitez vous connecter est à votre portée, visible et en mode d'appariement.
- Attende que la recherche affiche l'appareil souhaité et appuyez sur Arêt une fois trouvé pour arrêtier la recherche.
- Sélectionnez l'appareil souhaité et appuyez sur Couplage pour vous connecter. La connexion à un autre apparéil Bluetooth peut requérir un mot de passer ou nécessiter de confirmier une clé partagée.
-
Vous pouvez également voir la liste des apparciels déjà appairés. Sélectionnez l'appareil et appuyez sur é pour acceder aux options de l'appareil.
-
Connector/Terminé pour connecter/déconnecter l'appareil sélectionné.
- Renommer(1-20) pour modifier le nom d'un apparéil Bluetooth connecté.
- Effacer pour supprimer l'appareil de la liste.
- Tout effacer pour supprimer tous les apparèils de la liste.
- Propriétés des équipements pour afficher des informations détaillées sur l'appareil, par ex. le nombre de l'appareil (l'adresse MAC), le type d'apparéil et le service pris en charge (les profils Bluetooth).
Transfert de fichiers
- Appuyez sur Menu Reglages Bluetooth Transfert de fichiers.
- Visualisez les fichiers en cours de transfert par Bluetooth.
Le nom de mon bluetooth
- Appuyez sur Menu Réglages Bluetooth Le nom de mon bluetooth.
- DFC-0620 s'affiche.
3.Modifiez le nom.
- Appuyez sur Sauvegarder pour enregistrer le nom de l'appareil. Ce nom devrait maintainant apparaitre pour les autres apparecs Bluetooth.
Mémoire
Vous peuvent envoyer et receivevoir des fischiers via Bluetooth. Ici, vous pouvez définir l'emplacement de stockage pour les fischiers reçus par Bluetooth. Les fischiers reçus par Bluetooth sont normalement stockés dans les dossiers correspondant au type de fichier et peuvent être affichés à l'aide du gestionnaire de fischiers, voir Listes des dossiers, p.40.
- Appuyez sur Menu Reglages Bluetooth Mémoire.
- Sélectionnez Téléphone ou Carte mémoire.
Assistant de démarrage
Yououpouvezexecuterl'assistanttdemarragea tout moment.
Appuyez sur Menu Réglages Assistant de démarrage et sélectionnez le sujet que vous souhaitez modifier.
Boîte à outils SIM
Votre opérateur peut fournir certains services à valeur ajoutée.
Appuyez sur Menu Réglages Boîte à outils SIM pour sélectionner la carte SIM (le cas échéant) pour les services fournis.
Mise à jour logicielle
Vérifiez régulièrement les mises à jour logicielles. Appuyez sur Mise à jour logicielle Recherche des mises à jour pour vérifier si une mise à jour logicielle est disponible et l'effectuer. Sélectionnez-le pour télécharger la mise à jour. Le temps de téléchargement varie en fonction de la connexion Internet. Nous vous recommandons de tous jours télécharger la dernière mise à jour du logiciel du téléphone pour bénéficier de performances
optimales et des dernières améliorations. Notre connexion de données doit fonctionner pour pouvoir effectuer la mise à jour via le service firmware over-the-air (FOTA). Consultez Données mobiles, p.55 pour découvertir comment activer la connexion de données.
- Appuyez sur Menu Régliages Mise à jour logicielle.
- Appuyez sur Recherche des mises à jour Oui pour vérifier si une mise à jour logicielle est disponible.
-
Appuyez sur pour les paramètres de mise à jour logicielle :
-
Vérifier à nouveau pour vérifier à nouveau si des packages de mise à jour doivent être télécharges.
- Version Info pour afficher les informations sur la version du logiciel.
-
Notes de version pour afficher des informations sur le package de mise à jour du logiciel.
-
Si une mise à jour est disponible, il vous sera demandé si vous souhaitez la télécharger. Appuyez sur Oui pour télécharger la mise à jour du logiciel.
- Une fois le téléchargement terminé, appuyez sur Oui pour installer la mise à jour du logiciel.
IMPORTANT
Pendant une mise à jour, votre téléphone sera temporairement indisponible, y compris pour des appeals d'urgence. Tous les contacts, photos, paramètres, etc. restent mémorisés dans le téléphone. N'interrompez pas le processus de mise à jour.
- Une fois l'installation de la mise à jour du logiciel terminée, le téléphone redémarre automatiquement et vous devrez eventuellement saisir votre code PIN et/ou code de téléphone.
- Appuyez sur OK pour terminer la mise à jour du logiciel.
Autres fonctions
Symboles d'etat
| Intensité du signal | Aucune couverture réseau |
| Alarme active | Niveau de charge de la batterie |
| Vibreur seul | Transfert d' appel activé |
| Silence | Bluetooth activé |
| Message vocal reçu | Appel en absence |
| Casque branché | Mode Avion activé |
| Transmission de données | Message reçu |
Symboles principaux
| - = | Chargeur connecté | - = | Chargeur débranché |
| × | Erreur | ? | Question |
| ! | Avertissement | ✓ | Effectué (confirmation) |
| ∑ | En cours, veuillez patienter... | | Niveau de batterie faible |
| ○ | Appel d'assistance | | |
Consignes de sécurité

ATTENTION
L'appareil et les accessoires peuvent contir de petites pièces. Gardez tout
I'equipement hors de la portee des petits enfants.
L'adaptateur secteur est le dispositif qui permet de brancher le produit à l'alimentation
secteur. La prise de courant doit se trouver à proximé de l'appareil et être facilement accessible.
Services réseau et couts
Votre apparéil est approuvé pour être utilisé sur les réseaux 4G LTE FDD 1 (2100), 3 (1800), 7 (2600), 8 (900), 20 (800), 28 (700) MHz, 4G LTE TDD 38 (2600), 40 (2300), 3G UMTS 1 (2100), 8 (900) MHz, 2G GSM 900/1800 MHz. Pour utiliser l' apparéil, vous doivent avoir un abonnement jusqu'à d'un fournisseur de services.
L'utilisation des services réseau peut entraîner des coûts de traffic. Certaines fonctions du produit requisérènt une prise en charge par l'opérateur du réseau et il est possible qu'un abonnement soit nécessaire à ces services.
Environnement opérationnel
Suivez les règles et les lois qui s'appliquent à votre région et éteignez toujours l'appareil partout où son utilisation est interdite ou risque de provoquer des interférences ou de désenter un danger quelconque (hôpitaux, avions, stations-services, écoles, etc.). Utilisez uniquement l'appareil dans sa position de fonctionnement normale.
Certain composants du téléphone sont magnétiques. L'appareil peut donc exercer une attraction sur les objets métalliques. Ne placez pas de cartes de crédit ou d'autres supports de stockage magnétiques à proximé du téléphone. Les informations qu'ils contiennent pourraient être effacées.
Appareils médicaux
Les équipements de transmission par signaux radioélectriques, notamment les téléphones mobiles, peuvent entrer en interférence avec les appareils Médicaux mal protégés. Consul-ze un médecin ou le fabricant de l'appareil Médical pour déterminer s'il est protégé correctement contre les signaux radioélectriques externes ou si vous avez des questions.
Éteignez votre apparéil dans les centres de soins Médicaux ou des avis en interdisent l'utilisation. Les centres hospitaliers ou de santé peuvent utiliser des équipements sensibles aux signaux radioélectriques externes.
Dispositifs médicaux implantés
Pour éviter d'éventuelles interférences, les fabricants d'implants médicaux recommendant de respecter une distance minimale de 15 cm() entre un apparéil sans fil et le dispositif Médical. Les personnes portant ces dispositifs :
Si vous pensez qu'une interférence est susceptible de se produit, éteignez immédiatement l'appareil. Pour toute question concernant l'utilisation de votre apparéil sans fil avec un dispositif Médical implanté, consultez votre professionnel de santé.
Environments potentiellement explosifs
Éteignez votre téléphone dans des zones où l'atmosphère présente des risques d'explosion. Respectez tous les panneaux et les instructions. Il s'agit notamment des zones où il est généralement recommendé d'arrêtier le moteur de votre vehicule. Dans ces zones, des étincelles peuvent provoquer une explosion ou un incendie, causant des blessures corporelles graves, voire mortelles.
Éteignez votre apparéil dans les stations-service et dans les endroits où des pompes à essence et des équipements de réparation automobile sont prênts.
Observe strictement les restrictions d'utilisation d'équipements de transmission par signaux radioélectriques dans les dépôts de carburant, les zones de stockage et de distribu-tion, les usines chimiques ou dans les endroits où sont utilisés des explosifs.
Les zones où l'atmosphère est potentiellément explosive sont souvent, mais pas toujours, signalées clairment. Il s'agit notamment de la zone située en dessous du pont des bateaux, des installations destinées au transfert ou au stockage de produits chimiques, des vehicules utilisant des gaz (teils que le propane ou le butane) et des zones dont l'air contient des produits chimiques ou des particules, comme du grain, de la poussière ou des poudres métalliques.
Batterie lithium-ion
Ce produit contient une batterie lithium-ion. Toute manipulation inadaptée de la batterie peut entraîner un risque de brûlures et d'incendie.

AVERTISSEMENT
Il existe un risque d'explosion si la batterie n'est pas correctement repositionnée. Pour éviter tout risque de brûlures ou d'accordance, ne tentative jamais de démonter, d'écraser ou de perforer la batterie, ne court-circuitez pas les contacts externes, ne l'expose pas à des températures supérieures à 60 °C (140 °F) et ne la jetez pas dans le feu ou dans l'eau. N'utilise jamais une batterie endommagée ou gonflée. Apportez-la à un point de service ou à votre revendeur pour la faire vérifier avant de continuer à l'utiliser. Une batterie endommagée ou gonflée peut partager un risque d'accordance, d'explosion ou de fuite, ou tout autre risque. Recyclez ou jetez les batteries usages conformément aux règlementations locales ou au guide de référence fourni avec votre produit.
Entretien/Economie de batterie
La durée de vie de la batterie peut être réduite si vous continuez à charger votre apparéil à 100% . Activez cette fonction pour prolonger la durée de vie de votre batterie.
Protégér votre ouïe
Cet apparéil a été soumis à des essais qui ont démontré sa conformité aux exigences de niveau de pression acoustique définies dans les normes EN 50332-1 et/ou EN 50332-2 en vigueur.

1 AVERTISSEMENT
Une exposition excessive à dessons forts peut endommager votre ouïe. Une exposition à dessons forts pendant que vous conduisez peut distraître vos attention et provoquer un accident. Écoutez la musique avec un casque à un niveau sonore modéré et ne placez pas l'appareil pres de votre oreille lorsque vous utilisez le haut-parleur.
Appels d'urgence
IMPORTANT
Les téléphones mobiles utilisent des signaux radioélectriques, un réseau de téléphonie mobile, un réseau terrestre et des fonctions programmées par l'usage. Ce qui signifie que la connexion ne peut pas être garantie en tout temps. C'est pourquoi il ne faut jamais se fier à un téléphone mobile pour les appeals très importantes, tels qu'en cas d'urgences Médicales.
Véhicules
Il vous incombe de conduire votre vehicule en toute sécurité. N'utilise jamais votre apparéil portatif en conduisant, si la loi l'interdit.
Si vous nevez passer ou répondre à un appel, arrêtez d'abord votre vehicule dans un endroit sûr.
Les signaux radioélectriques peuvent affecter les systèmes électroniques mal installés ou insuffisamment protégés dans les vehicules motorisés, tels que les systèmes d'injection électronique, de freinage ABS, de régulation de vitesse ou d'airbags. Pour obtenir plus d'informations sur votre vehicule ou tout équipement supplémentaire, consultez le fabri-cant ou son représentant.
Ne stockez pas ou ne transportez pas de liquides inflammables, de gaz ou de matériaux explosifs dans le même compartment que l'appareil ou ses accessoires. Pour les vehicules équipés d'airbags : n'oubliez pas qu'un airbag se gonfle avec beaucoup de puissance.
Ne placez aucun objet, y compris des équipements de transmission sans fil intégrés ou portatifs, dans la zone située au-dessus de l'airbag ou dans sa zone de déploiement. Si des équipements de transmission sans fil intégrés au vehicule sont mal installés et si l'airbag se déploie, ceci peut engendrer de graves blessures.
L'utilisation de votre apparéil est interdite en avion. Éteignez-le avant de monter à bord. L'utilisation d'appareils sans fil dans un avion peut se révêler dangereuse pour le fonctionnement de l'avion et perturber les télécommunications. Cette utilisation peut également être illégale.
Protégier vos données personnelles
Protégéz vos données personnelles et empêchez touteuite ou tout abus d'informations sensibles.
- Lorsque vous utilisez votre apparéil, pensez à sauvegarder les données importantes.
- Au moment demettrevoireappareilau rebut,sauvegardeztoutesvosdonnées,puis réinitialisezvoireappareilafin d'eviter toutemauvaiseutilisationdevosinformationspersonnelles.
- Contrôlez régulièrement vos comptes pour détecter toute utilisation suspicieuse ou non autorisée. Dès que vous observez un signe d'abus de vos informations personnelles, contactez votre opérateur pour effacer ou modifier les informations de votre compte.
- En cas de perte ou de vol de votre(APpeuil, changez les mots de passage de vos comptes),afin de proteger vos informations personnelles.
Entretien et maintenance
Votre apparéil est un produit à la fine pointe de la technologie et doit être traité avec le plus grand soin. Les actes de néligence peuvent invalider la garantie.
- Gardez l'appareil à l'abri de l'humidité. La pluie, la neige, l'humidité et tous les types de liquide peuventContainir des substances corrosives pour les circuits électroniques. Si l'apparéil est mouillé, éteignez-le immédiatement, retirez la batterie et laissez l'appareil sécher complètement avant de la replacer.
- N'utilise pas et ne stockez pas l'appareil dans un milieu sale ou poussièreux. Les pièces amovibles et composants électroniques de l'appareil risquent d'être endommages.
- Gardez l'appareil à l'abri de la chaleur. Des températures élevées peuvent réduire la durée de vie des composants électroniques, endommager la batterie et déformer ou faire fondre certains composants en plastique.
- Gardez l'appareil à l'abri du froid. Lorsque l'appareil se réchauffe jusqu'à une température normale, de la condensation peut se former à l'intérieur, ce qui risque d'endommager les circuits électroniques.
- Toute modification non autorisée peut endommager l'appareil, enfreindre les réglementations et annuler la garantie. N'essayez pas d'ouvrir l'appareil d'une autre manière que cette indiquée dans le manuel de réparation, voir doro.com/repair.
- Ne faites pas tomber l'appareil et ne le secouez pas. Si l'appareil n'est pas manipulé avec soin, les circuits et la mécanique de précision peuvent être endommagés.
- N'utilise pas de produits chimiques ou de détergents pour nettoyer l'appareil. Utilisez un chiffon doux légarement humide.
- N'insérez aucun object métallique dans les ports de l'appareil. Pour nettoyer un port, vous pouvez utiliser de l'air compré ou tapoter délicatement l'appareil contre notre main en orientant le port vers le bas.
- Ne tirez pas sur le cable lorsque vous débranchez un port, car cela pourrait endomma-ger le port, le cable ou le connecteur. Débranchez le connecteur.
Les recommendations s'appliquent à votre apparéil ainsi qu'à la batterie et à tout autre accessoire. Si l' apparéil ne fonctionne pas correctement, contactez votre revendeur ou l'assistance Doro. N'oubliez pas de vous munir du ticket de caisse ou d'une copie de la facture.
Garantie
Ce produit est garantie pour une période de 24 mois et les accessoires d'origine susceptibles d'être livres avec l'appareil (le socle chargeur ou le kit mains libres, par exemple) pour une période de 12 mois, a compter de la date d'achat. En cas d'anomalie de votre apparéil au cours de cette période, contactez votre revendeur. Pour toute intervention du service après-vente ou d'assistance pendant la période de garantie, veuillez vous munir de votre preuve d'achat.
La garantie ne s'applique pas en cas de dysfonctionnement dû à un accident, à un incident ou à une déterioration similaire, à une pénetration de liquide, à une négligence, à une utilisation anormale, à un défaut d'entretien ou à d'autres causes relevant de la responsabilité de l'utilisateur. De plus, cette garantie ne s'appliquera pas en cas d'anomalie causée par un orage ou toute autre variation de tension. Par précaution, nous recommendons de débrancher le chargeur en cas d'orage.
Notez qu'il s'agit d'une garantie volonteire du fabricant conferant des droits supplémentaires. Elle n'effecte pas les droits statutaires des utilisateurs finaux.
Cette garantie ne s'applique pas en cas d'utilisation de batteries autres que les batteries originales DORO.
Garantie du système d'exploitation de l'appareil
L'utilisation de l'appareil implique l'acceptation d'installation des mises à jour logicielles du système d'exploitation fournies par Doro, dans les plus brefs déliés.
En mettant à jour votre apparéil, vous contribuez à sa sécurisation.
Doro gardera les mises à jour disponibles pendant toute la durée de la garantie légale, à condition que cela soit possible d'un point de vue commercial et technique.
Remarque :
- Dans certains cas, des mises à niveau régulières du système d'exploitation peuvent entraîner des retards dans les mises à jour de sécurité planifiées.
- Doro fera toujours son possible pour fournir les mises à jour de sécurité le plus rapidement possible aux modèles concernés. Le délambda de livreaison des correctifs de sécurité peut varier en fonction des régions, des variantes logicielles et des modèles.

ATTENTION
Si vous n'effectuez pas les mises à jour de votre apparéil avoir été informé(e), vous risquez l'annulation de votre garantie. Pour plus d'informations sur le logiciel et la planification des mises à jour, consultez le site Web : doro.com/softwareupdates
\section*{Caracteristiques techniques}
| Bandes de réseau
(MHz) : |
| 2G GSM | 900, 1800 |
| 3G UMTS | 1 (2100), 8 (900) |
| 4G LTE FDD | 1 (2100), 3 (1800), 7 (2600), 8 (900), 20 (800), 28 (700) |
| 4G LTE TDD | 38 (2600), 40 (2300) |
| Bluetooth (MHz) : | 5.0, (2402 - 2480) |
| Taille de la carte SIM : | nano-SIM (4FF) |
| Capacité de la carte mémoire : | 128 Go (microSD, microSDHC, microSDXC) |
| Dimensions : | 108 mm x 57 mm x 22 mm |
| Poids : | 138 g (avec batterie) |
| Batterie : | 3.7 V/ 1150 mAh, batterie Li-ion |
| Charge : | USB-C, 5 V |
| Protection contre la poussière et l'eau : | IP54 |
| Température ambiente en fonctionnement : | Min. : 0° C (32° F) |
| Max. : 40° C (104° F) |
| Température ambiente en charge : | Min. : 0° C (32° F) |
| Max. : 40° C (104° F) |
| Température de stockage : | Min. :-20° C (-4° F) |
| Max. : 60° C (140° F) |
Copyright et autres droits
Bluetooth® est une marque déposée de Bluetooth SIG, Inc.
vCard est une marque commerciale de Internet Mail Consortium.
microSD est une marque commerciale de SD Card Association.
Le contenu de ce document est fourni « telquel ». Sous réserve des lois applicables, aucune garantie sous quelque forme que ce soit, explicite ou implicite, y compris, mais sans s'y limiter, les garanties implicites de qualite marchande et d'adequation a un usage particulier, n'est accordee quant à l'exactitude, à la fiabilité ou au contenu du present document. Doro se réserve le droit de modifier le present document ou de le retirer à tout moment sans avis préalable.
Les autres noms de produits ou de sociétés mentionnés dans ce document peuvent être des marques commerciales de leurs propriétaires respectifs.
Tous les droits qui ne sont pas expressement accordés dans le present document sont réservés. Toutes les autres marques commerciales appartiennent à leurs propriétaires respectifs.
Dans les limites prévues par la loi en vigueur, Doro et ses porteurs de licences ne peuvent enaucun cas etre tenus responsables de toute perte de données ou de revenu, ou de tout dommage special, accidentel, consecutif ou indirect, peu importe sa cause.
Doro ne fournit aucune garantie et ne peut enaucun cas etre tenu responsable quant au fonctionnement, au contenu ou au support aux utilisateurs finalaux des applications tierces disponibles sur votre apparéil. En utilisant une application, vous reconnaissez qu'elle est fournie en l'etat. Doro ne fait aucune déclaration, ne fournit aucune garantie et ne peut enaucun cas etre tenu responsable quant au fonctionnement, au contenu ou au support aux utilisateurs finalaux des applications tierces disponibles sur votre apparéil.
Copyright du contenu
La copie non autorisée de matériels protégés par des droits d'auteur est contraire aux dispositions des lois sur les droits d'auteur en vigueur aux États-Unis et dans les autres pays. L'appareil est prévu uniquement pour la copie de matériels non protégés par le copyright, de matériels dont vous détenez le copyright ou de matériels que vous âtes légalement autorisé(e) à copier. Si vous n'âtes pas sur de votre droit de copier un matériel, veuillez contacter votre conseiller juridique.
Compatibilité avec les protheses auditives
Remarque! Pour une compatibilité avec une prothèse auditive, désactive la connectivité Bluetooth.
Ce téléphone est compatible avec l'usage d'une prothèse auditive. La compatibilité avec les prothèses auditives ne garantit pas qu'une prothèse auditive spécifique fonctionnera avec un téléphone donné. Les téléphones mobiles sont dotés d'émetteurs radio susceptibles d'interférer avec les performances des prothèses auditives. L'usage de ce téléphone avec des prothèses auditives a été testé pour certaines technologies sans fil utilisées par le téléphone, mais il peut exister des technologies sans fil plus récentes dont l'utilisation avec les prothèses auditives n'a pas encore été testée. Pour garantir le bon fonctionnement d'une prothèse auditive spécifique avec ce téléphone, testez-les ensemble avant de faire l'acquisition de l'un ou l'autre.
La norme de compatibilité avec les protheses auditives comprend deux types de classement :
-
M : pour utiliser votre apparéil auditif sous ce mode, vérifie qu'il est régé en « mode M » ou en mode de couplage acoustique et placez le combiné du téléphone auprès du microphone intégré dans l' apparéil auditif. Pour des résultats optimaux, essayez d'utiliser le téléphone dans différentes positions par rapport à votre apparéil auditif. Par exemple, en plaçant le combiné légersement au-dessus de l'oreille, les apparéils auditifs munis de microphones placés derrière l'oreille peuvent partager de更好地 performances.
-
T : pour utiliser votre apparéil auditif sous ce mode, vérifie qu'il est réglée en « mode T » ou en mode de couplage par phonocopateur (ce mode n'est pas disponible sur toutes les protheses auditives). Pour des résultats optimaux, essayez d'utiliser le téléphone dans différentes positions par rapport à votre apparéil auditif. Par exemple, placer le combiné légèrement au-dessous de l'oreille ou face à celle-ci peut prévenir de measles performances.
Votre apparéil satisfait au niveau nominal M4/T4.
Débit d'absorption spécifique (DAS)
Cet apparéil est conforme aux normes de sécurité internationales concernant l'exposition aux fréquences radioélectriques. Notre apparéil portable est un émetteur-recepteur radio. Il estçu pour ne pas dépasser les limites d'exposition aux fréquences radio (champs electromagnétiques de fréquence radio) recommandées par les directives internationales de l'organisation scientifique indépendante ICNIRP (Commission internationale de protection contre les rayonnements non ionisants).
L'OMS (Organisation mondiale de la santé) a déclaré que les informations scientifiques actuelles n'indiquent pas le besoin de prendre des précautions particulières quelconques pour utiliser des appareils portables. Si vous souhaitez réduire votre exposition, elle recommande de limiter l'utilisation de ces appareils ou d'utiliser un dispositif mains libres pour éloigner l'appareil de votre tête et de votre corps.
Pour plus d'informations sur les valeurs de DAS (débit d'absorption spécifique) de votre apparéil, veuillez dire la documentation fournie avec votre apparéil.
Recyclage
Doro assume la responsabilité de l'ensemble du cycle de vie de ses produits, y compris de leur recyclage en fin de vie. Notre ancien produit peut encore être utile à quelqu'un d'autre et, s'il est arrivé en fin de vie, les matériaux qu'il contient peuvent être utilisés pour fabriquer de nouveaux produits. Nous vous recommendons de réutiliser, réparer ou remettre à neuf votre apparéil et, si cela n'est pas possible, de le faire recycler conformément aux réglementations locales. N'oubliez pas non plus de recycler les autres apparéils électroniques vétustes et non utilisés que vous pourriez avoir en votre possession.
Mise au rebut adaptee de ce produit

(Déchets d'équipements électriques et électroniques)
(Applicable dans les pays disposant de systèmes de collecte sélective)
La présence de ce marquage sur le produit, les accessoires ou le manuel indique que le produit et ses accessoires électroniques (p. ex. chargeur, casque, cable USB) ne doivent pas être mis au rebut avec les autres déchets menagers. Pour éviter tout dommage nocif pour l'environnement ou pour la santé causé par une mise au rebut non contrôle des déchets, veuillez séparer ces éléments des autres types de déchets et les recycler de manière responsable afin de favoriser la réutilisation durable des matérieliaux d'origine. Les particuliers doivent contacter le revendeur auprès de qui ils se sont procuéré ce produit ou les autorités locales pour savoir où déposer ces éléments pour un recyclage respectieux de l'environnement. Les professionnels doivent contacter leur fournisseur et vérifier les termes du contrat d'achat. Ce produit et ses accessoires électroniques ne doivent pas être mélangés avec les autres déchets commerciaux à la mise au rebut. Ce produit est conforme RoHS.
Mise au rebut appropriée des batteries de ce produit

(Applicable dans les pays disposant de systèmes de collecte sélective)
La présence de ce marquage sur la batterie, le manuel ou l'emballage indique que la batterie contenue dans ce produit ne doit pas etre mise au rebut avec les autres déchets menagers. Si la batterie n'est pas mise au rebut correctement, ces substances peuvent cause des dommages à la santé ou à l'environnement.
Pour protéger les ressources naturelles et favoriser la réutilisation des matérieliaux, veuillez séparer les batteries des autres types de déchets et les recycler grâce au système de collecte de batteries gratuite local.
Doro déclare par la présente que l'équipement hertzien DFC-0620 (Doro Leva E30) est conforme aux directives : 2014/53/UE et 2011/65/UE, y compris la directive déleguée (UE) 2015/863 modifiant l'annexe II. Le texte intégral de la déclaration de conformité UE est disponible à l'adresse Internet suivante : www.doro.com/dofc.
French
Version 1.0