DP400BKEM - Platine vinyle DENON - Notice d'utilisation et mode d'emploi gratuit
Retrouvez gratuitement la notice de l'appareil DP400BKEM DENON au format PDF.
| Type de produit | Platine disque |
| Caractéristiques techniques principales | Lecture analogique, entraînement par courroie, bras de lecture en aluminium |
| Alimentation électrique | AC 100-240V, 50/60Hz |
| Dimensions approximatives | 420 mm x 335 mm x 120 mm |
| Poids | 4,5 kg |
| Compatibilités | Compatible avec les disques vinyles 33 et 45 tours |
| Fonctions principales | Contrôle de vitesse, préamplificateur phono intégré, sortie RCA |
| Entretien et nettoyage | Nettoyer la surface avec un chiffon doux, vérifier régulièrement l'état de la courroie |
| Pièces détachées et réparabilité | Disponibilité de pièces de rechange pour le bras, la courroie et le moteur |
| Sécurité | Utiliser sur une surface stable, éviter l'humidité et la chaleur excessive |
| Informations générales utiles | Idéale pour les audiophiles et les amateurs de vinyles, design élégant et moderne |
FOIRE AUX QUESTIONS - DP400BKEM DENON
Questions des utilisateurs sur DP400BKEM DENON
0 question sur cet appareil. Repondez a celles que vous connaissez ou posez la votre.
Poser une nouvelle question sur cet appareil
Téléchargez la notice de votre Platine vinyle au format PDF gratuitement ! Retrouvez votre notice DP400BKEM - DENON et reprennez votre appareil électronique en main. Sur cette page sont publiés tous les documents nécessaires à l'utilisation de votre appareil DP400BKEM de la marque DENON.
MODE D'EMPLOI DP400BKEM DENON
Manuel de l'Utilisateur
Accessoires 4
5
Nomenclature et fonctions 6
Panneau avant 6
Panneau arrête 8
Préparatifs
Montage 10
Installation de la platine 11
Montage du contrepoids 12
Montage de la tete de lecture avec cellule 12
Fixation du couvercle anti-poussiere 13
Utilisation du couvercle anti-poussière comme support de disque 13
Réglages 15
Réglage de la pression de l'aiguille 15
Réglage de l'antipatinage 17
Connexions
Connexion d'appareils sans entrée phono 19
Connexion d'appareils avec entrée phono 20
Connexion de l'adaptateur secteur 21
Lecture et enregistrement
Enregistrement de la lecture 24
Enregistrement de la lecture 24
Arrêt de la lecture 26
Utilisation de la fonction d'arrêt automatique 27
Conseils
| Contenu | 28 |
| Dépistage des pannes | 29 |
| L'alimentation ne se met pas sous/hors tension | 30 |
| La platine ne tourne pas | 30 |
| Aucun son n'est émis | 31 |
| Le son saute, est parasité ou distordu | 31 |
| Phénomène de hurlement | 32 |
| Le bras de lecture arrêté de bouger à mi-chemin | 32 |
Annexe
| Remplacement de l'aiguille | 33 |
| Remplacement de la cellule | 34 |
| Spécifications | 36 |
Nous you remercions d'avoir acquis cet appareil Denon. Pour un fonctionnement optimal, veuillez dire attentivement ce manuel de l'utiliser avant de you servir de I'unité.
Après avoir lu le manuel, veuilles le conserver pour toute reférence future.
Accessoires
Assurez-vous que les articles suivants sont fournis avec l'appareil.
| Guide de démarrage rapide | Instructions de sécurité | Adaptateur secteur | Prises adaptateur secteur (5 pièces) |
| Couvercle anti-poussière | Support du couvercle anti-poussière | Platine | Feuille de la platine |
| Adaptateur 45 tr/min | Tête de lecture avec cellule | Contrepoids | Câble audio |
- Design moderne
Tout comme le PMA-60, pour le DRA-100 et les autres apparciels de notre gamme Denon Design, nous avons éliminé tout le superflu pour obtenir un style minimaliste moderne. - La fonction levier automatique du bras soulève automatiquement le bras de lecture une fois celle-ci terminée
- Rotation plus précise grâce au contrôle de rotation stabilisé
Le nouveau capteur installé mesure les tr/min pour maintainir une vitesse de rotation précise.
- Une cellule MM est montée dans la tête de lecture et prête à l'utilisation sans assemblage
- Equipée d'un interrupteur pour activer et désactiver l'égaliser de son intégré
L'égaliseur de son est intégré pour permettre une connexion directe, même lorsqu'el'amplificateur ou le système mini ne disposent pas d'entrée phono. Utilisze l'interrupteur pour désactiver l'égaliseur et activer la connexion à des amplificateurs avec entrée phono.
- Equipée d'une fonction pour basculer les tr/min entre 33 1/3, 45 et 78
Modifiez la vitesse de lecture du disque entre 33 1/3, 45 et 78 tr/min selon vos besoin. Cela signifie que vous pouvez dire les disques de 7 pouces et 12 pouces quels que soient les tr/min.
- Equipée d'un couvercle anti-poussière que vous pouvez utiliser comme support de disque
Le couvercle anti-poussière fourni peut également servir de support de disque. Utilisez-le pour exposer les pochettes de vos disques.
Nomenclature et fonctions
Panneau avant

Pour plus de détails, voir la page suivante.

1 Molette marche/arrêt-tr/min
Allumez ou éteignez l'appareil et modifiez les tr/min selon vos besoines au cours de la lecture du disque. (p. 24)
2 Platine
Fixé en le montant sur l'axe central sur l'appareil principal. La courroie est montée en-dessous. (p. 11)
3 Feuille de la platine
Monté au-dessus de la platine tourne-disque. (p. 11)
4 Axe central
Placez la platine tourne-disque et les disques de maniere à ce qu'il ressorte du centre.
5 Bras de lecture
Le contrepoids est monté à l'arrière. (p. 12)
- La tête de lecture avec cellule est fixée à l'extrémité. (p. 12)
Contrepoids
Fixé à l'arrière du bras de lecture pour régler la pression de l'aiguille.
"Montage du contrepoids" (p. 12)
- "Réglage de la pression de l'aiguille" (p. 15)
7 Cadran antipatinage
Permet de régler l'antipatinage. (p. 17)
8 Tête de lecture avec cellule
Fixé à l'extrémité du bras de lecture. (p. 12)
9 Repose-bras
Posez le bras de lecture ici si vous ne l'utilise pas pour la lecture d'un disque.
Levier de levage
Soulève et abaisse le bras de lecture. En baissant le levier, le bras de lecture baisse doucement pour positionner l'aiguille sans endommager cette dernière ni le disque à litre.
Panneau arrête

1 Interrupteur EQUALIZER ON/OFF
Ceci permet d'activer et désactiver l'égaliseur intégré. Activez ou désactivez selon que l'amplificateur connecté ou le système mini disposent ou non d'une entree phono.
- Connexion d'appareils sans entrée phono" (p. 19)
- Connexion d'appareils avec entrée phono" (p. 20)
2 Bornes PHONO OUT
Pour connecter des appareils avec entrée audio externe ou entrée phono.
- Connexion d'appareils sans entrée phono" (p. 19)
- Connexion d'appareils avec entrée phono" (p. 20)
Borne SIGNAL GND
Utilisez le cable de mise à la terre du cable audio fourni, même pour connecter cet appeareil à des amplificateurs disposant de connexions de mise à la terre. (p. 20)
Touche AUTO STOP ON/OFF
Soulève automatiquement le bras de lecture et arrêté la platine tournédisque à la fin du disque lorsque cette fonction est activée au cours de la lecture du disque. (p. 27)
Borne d'entree de I'adaptateur secteur
Pour connecter I'adaptateur secteur fourni. (p. 21)
Contenu
Montage
| Installation de la platine | 11 |
| Montage du contrepoids | 12 |
| Montage de la tête de lecture avec cellule | 12 |
| Fixation du couvercle anti-poussière | 13 |
| Utilisation du couvercle anti-poussière comme support de disque | 13 |
Réglages
| Réglage de la pression de l'aiguille | 15 |
| Réglage de l'antipatinage | 17 |
Montage
Montez ces pieces inclues sur l'appareil principal avant utilisation.
Assurez-vous d'effectuer le paramétrage sur une surface stable et plane pour éviter l'influence de vibrations ou l'inclinaison du disque au cours de la lecture.

REMARQUE
- Au cours de l'assemblage, assurez-vous que l'adaptateur secteur ne connecte pas l'appareil à une prise murale.
Installation de la platine
1 Insérez la broche centrale dans le trou au centre de la platine.
2 Tournez la platine jusqu'à ce que le rouleau de l'appareil principal soit visible par le trou carré sur le côte muni du ruban adhésisif.
3 Retirez le ruban adhésif et accrochez la courroie au rouleau.
- Retirez le ruban adhésif après avoir accroché la courroie.


- Prenez soin de ne pas tordre la courroie lorsque vous l'accrochez.
- Conservé le ruban adhésiif aprèsutilisation,car il est nécessaire lors du remplacement de la courroie.
4 Installez la feuille de la platine sur la platine.

- Installes la feuille avec le côte portant le logo DENON vers le bas.
Montage du contrepoids
1 Insérez le contrepoids dans l'arbre à l'arrière du bras de lecture et tournez-le dans le sens de la flèche en le poussant doucement.


- Montez le contrepoids de façon à ce que la bague d'ajustement de la pression de l'aiguille soit tournée vers l'avant.
Montage de la tête de lecture avec cellule
1 Insérez la tête de lecture sur l'extrémité du bras de lecture.
- Insérez la tête de lecture avec le détrompeur orienté vers le haut et aligné avec l'extrémité du bras de lecture.

2 Tournez l'écrou de verrouillage dans le sens de la flèche pour fixer la tête de lecture.

REMARQUE
- Effectuez cette opération avec le couvercle de l'aiguille de la cellule abaisse pour protéger la pointe de l'aiguille.
Fixation du couvercle anti-poussière
1 Insérez l'axe central dans le trou du couvercle anti-poussière.


- Retirez le couvercle anti-poussière avant la lecture d'un disque.
Utilisation du couvercle anti-poussière comme support de disque
Fixez le couvercle anti-poussière au support du couvercle anti-poussière fournir pour l'utiliser comme support de disque. Utilisez-le de cette manière lorsqu'il n'est pas fixé à l'appareil principal.
1 Positionné le couvercle anti-poussière comme indiquédans la figure ci-dessous pour l'insérer dans la rainure du support du couvercle anti-poussière.

2 Vous pouvez positionner les pochettes des disques dans la découverture sur le support du couvercle anti-poussière et les appuyer contre le couvercle anti-poussière.

Réglages

REMARQUE
- Pendant les réglages, assurez-vous que l'appareil n'est pas branché sur une prise murale par l'intérimédiaire de l'adaptateur.
Réglage de la pression de l'aiguille
Pour permettre à l'aiquille de suivre les rainures du disque et produit un son (vibrations), il est nécessaire d'appliquer une pression constante (de l'aiquille) sur le disque à partir de l'extrémité de l'aiquille. La pression appropriée de l'aiquille est indiquée pour chaque cellule. Si la pression de l'aiquille est supérieure ou inférieure à la valeur spécifiée, vous obtienda non seulement une distorsion du son de lecture du disque et des sauts de l'aiquille, mais l'aiquille risque également de s user rapidement et le disque d'être endommagé. Par conséquent, veiliez à régler la pression de l'aiquille selon la valeur appropriée.
1 Positionnez le cadran antipatinage sur "0".

2 Abaissez le levier de levage.
3 Libérez le verrouillage du repose-bras.

4 En saississant le levier tactile sur la tete de lecture, déplacez le bras de lecture sur la platine tournedisque.

Levier tactile
REMARQUE
- Effectuez cette opération avec le couvercle de l'iguille de la cellule abaisse pour protéger la pointe de l'iguille.
5 Faites tourner le contrepoids de façon à ce que le bras de lecture flotte parallèlement à la platine.
- Effectuez le réglage en tournant le contrepoids progressivement tout en retardant périodiquement votre main pour vérifier la position.
Gardez un alignment parallele

6 Reposez le bras de lecture sur le repose-bras.
7 En tenant le contrepoids avec le doigt pour qu'il ne rouge pas, tournez la bague d'ajustement de la pression de la tete de lecture pour que son repère "0" soit aligné avec la ligne sur le bras de lecture.

8 Tournez le contrepoids dans le sens de la flèche pour que le repère “2” de la bague d’ajustement de la pression de l’aiguille soit aligné avec la ligne sur le bras de lecture.


- La pression de l'aiguille appropriée pour la cellule fournie avec cet apparéil est de 2,0 g (19,6 mN).
Réglage de l'antipatinage
Le réglage antipatinage sert à contraster la force qui tire l'extrémité de l'aiguille vers l'intérieur à cause de la rotation du disque.
1 Tournez le cadran antipatinage de sorte qu'il soit aligné avec le repère "2".


Assurez-vous que la valeur antipatinage est la même que la valeur de pression de l'aiguille.
Contenu
Connexion d'appareils sans entrée phono 19
Connexion d'appareils avec entrée phono 20
Connexion de I'adaptateur secteur 21
REMARQUE
- Ne pas brancher l'adaptateur secteur avant d'avoir terminé toutes les connexions.
- Ne pas grouper l'adaptateur secteur avec les cables de connexion. Cela pourrait provoquer des ronflements ou autres types de bruit audio indésirables.
Connexion d'appareils sans entrée phono
Cet appeareil integre un égaliseur de son qui permet la lecture de disques lorsqu'il est connecté à des appeareils avec une entree audio externesans égaliseur de son integre ou a un systeme mini. Utilizez l'interrupteur EQUALIZER ON/OFF pour positionner l'égaliseur de son de cet appeareil sur "ON" s'il est connecté à un appeareil sans égaliseur de son integre.


- Il est recommendé que le fil de terre du cable audio inclus soit tenu à l'écart en le fixant à l'aide d'une attache, comme la ligature du cable audio.
- Si l'interrupteur EQUALIZER ON/OFF n'est pas reglé correctement, l'audio sera extrémement bas ou distordu.
Connexion d'appareils avec entrée phono
Si you vou connectez a un appareil avec un égaliseur de son intégre, utilisez cet égaliseur au cours de la lecture du disque. Utilizez linterrupteur EQUALIZER ON/OFF pour positionner l'égaliseur de son de cet apparéil sur "OFF" s'il est connecté à un apparéil avec égaliseur de son intégré.


Si un periphérique connecté à cet apparéil est équipé d'une borne de terre, connectez le fil de terre du cable audio (fourni) à la borne de terre de cet apparéil (SIGNAL GND). Cela peut réduire les parasites pendant la lecture.
- Si l'interrupteur EQUALIZER ON/OFF n'est pas reglé correctement, l'audio sera extrémement bas ou distordu.
Connexion de l'adaptateur secteur
Patientez jusqu'à ce que toutes les connexions soient achevées avant de brancher l'adaptateur secteur.
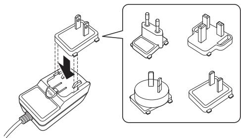
Branchez la fiche requise pour votre prise murale comme décrit dans la figure ci-dessous.
【Branchement de la fiche de l'adaptateur secteur】
- Insérez les encoches au fond de la fiche de l'adaptateur secteur dans les rainures de l'adaptateur secteur comme décrit dans la figure ci-dessous.

- Poussez dans la direction de la flèche jusqu'à ce qu'ils s'enclient en émettant le son d'un cig.

【Retrait de la fiche de l'adaptateur secteur】
- Retirez la fiche de l'adaptateur secteur vers l'extérieur dans la direction de la flèche le plus loin possible tout en maintainant le bouton ①.

- Une fois la fiche de l'adaptateur secteur retiree le plus loin possible, soulevez-la dans la direction de la flèche pour la retarder.

■ Connexion de l'adaptateur secteur

Adaptateur secteur (fourni)
Contenu
Enregistrement de la lecture
24
Enregistrement de la lecture

Enregistrement de la lecture
1 Posez un disque sur la platine.

- Pour les disques super 45 tours, inséréz l'adaptateur 45 tr/min fourni sur l'axecentral.
2 Tournez la molette marche/arrêt-tr/min selon les exigences du disque.
La platine commence à tourner.

- Vous pouvez selectionner les tr/min 33 1/3, 45, 78 comme tours par minute de la.
- Les tr/min du disque sont généralement indiqués sur la pochette ou l'étiquette du disque.
3 Soulevez le couvercle de l'aiguille de la cellule.

4 Libérez le verrouillage du repose-bras et soulevez le levier de levage.

5 Saisissez le levier manuel et déplacez l'extrémité de l'aiguille directement au-dessus de la position de départ de la piste à litre.

Levier tactile
6 Abaissez le levier de levage.
Le bras de lecture s'abaisse lentement et la lecture démarre lorsque l'extrémité de l'aiguille touche le disque.


Veillez a ne pas rayer les disques.
- Respectez les consignes suivantes au cours de la lecture.
- Ne touche pas le bras de lecture ou la platine tourne-disque.
-
Ne déconnectez pas l'alimentation secteur.
Assurez-vous que l'appareil n'est pas soumis à des vibrations ou à des chocs. -
Ne changez pas le disque tant que la platine tourne-disque ne s'est pas complètement arrêtée.
- Tant que la platine tourne-disque tourne, n'appliquez aucune pression manuelle pour l'arrête. Se faisant, vous créeriez une chaleur interne qui pourrait endommager l'appareil ou provoquer un incendie.
Arrêt de la lecture
1 Soulevez le levier de levage.
Soulevez le bras de lecture pour retirer l'aiguille du disque.
2 En saississant le levier tactile sur la tete de lecture, replacez le bras de lecture sur le repose-bras.
3 Abaissez le levier de levage.
4 Verrouillez le bras de lecture sur le repose-bras.

5 Positionnez l'interrupteur marche-tr/min sur OFF.
La platine tourne-disque s'arrête.
REMARQUE
- Rabattez le couvercle de l'aiguille pour protégger l'aiguille de la cellule lorsque l'appareil n'est pas utilisé.
Utilisation de la fonction d'arrêt automatique
Lorsque l'arrêt automatique est activé, le bras de lecture se soulève automatiquement après la lecture et la platine tourne-disque s'arrête. Ceci empêche la platine tourne-disque de continuer à tourner et à provoquer l'usure de l'aiguille, au cas où vous vous endormiriez en écouteant un disque, etc.
- Cette fonction est activée par défaut.
1 Appuyez sur AUTO STOP ON/OFF sur le panneau arrêté pour activer la fonction d'arrêt automatique.

- Assurez-vous que le bouton AUTO STOP ON/OFF est enforcé jusqu'au fond pour activer la fonction d'arrêt automatique.

- L'alimentation cesse 20 minutes environ après l'arrêt de la platine tourne-disque. Utilisez l'interrupteur marche-tr/min pour redémarrer la lecture.
Contenu
Dépistage des pannes
L'alimentation ne se met pas sous/hors tension 30
La platine ne tourne pas 30
Aucun son n'est émis 31
Le son saute, est parasité ou distordu 31
Phenomène de hurlement 32
Lebras de lecture arrete de bouger à mi-chemin 32
Dépistage des pannes
Si un problème se produit, vérifie d'abord les points suivants :
- Les connexions sont-elles correctes?
- L'appareil est-il utilisé conformément aux descriptions du manuel de l'utilisateur ?
- Les autres composants fonctionnent-ils correctement?
Si cet apparéil ne fonctionne pas correctement, vérifie les symptômes dans cette section.
Si les symptomes ne correspondent pas à l'un de ceux décrits ici, veuillez consulter votre revendeur, car cela pourrait être du à un dernier dans cet apparéil. Dans ce cas, débranchez immédiatement l'alimentation et contactez le magasin où vous avez achété cet apparéil.
L'alimentation ne se met pas sous/hors tension
L'appareil n'est pas allumé.
- Vérifiez que la fiche d'alimentation est correctement introduite dans la prise murale. (p. 22)
- Alimentation absente. Tournez la molette marche-tr/min selon les exigences du disque à lire. (p. 24)
L'appareil se met automatiquement hors tension.
- La fonction d'arrêt automatique est activée. Appuyez sur le bouton AUTO STOP ON/OFF sur le panneau arrêt pour activer la fonction d'arrêt automatique. (p. 27)
La platine ne tourne pas
La platine tourne-disque ne tourne pas.
-
Vérifiez que la fiche d'alimentation est correctement introduite dans la prise murale. (p. 22)
Vérifiez que la courroie est correctement accrochée entre la platine tourne-disque et le rouleau. Respectez les étapes suivantes si la courroie n'est pas en place. -
Sortez la platine tourne-disque de l'appareil principal et returnez-la.
- Accrochez la courroie autour du bord extérieur de la partie circulaire au fond de la platine tourne-disque.
- Remettez la platine tourne-disque dans la position correcte et faites passer le ruban à travers le trou carre entre la platine tourne-disque et la courroie.
- Configurez la platine tourne-disque comme décrit dans "Installation de la platine" (p. 11).
Aucun son n'estémis
Aucun son n'est émis. Ou le son est anormal.
- Vérifiez les connexions de tous les apparciels. (p. 18)
- Insérez complètement les câbles de connexion.
- Vérifiez que les bornes d'entrée et les bornes de sortie ne sont pas inversément reliées.
- Vérifiez l'etat des cables.
- Vérifiez les fonctions et les commandes de l'amplificateur et réglez-les si nécessaire.
- Verifiez que l'aiguille est correctement fixée. (p. 33)
- Si vous connectez un amplificateur, un système mini, etc., sans égaliser de son intégré, positionnez l'interrupteur EQUALIZER ON/OFF de cet apparéil sur "ON". (p. 19)
Le son saute, est parasité ou distordu
Le son saute, est parasité ou distordu.
- La pression appliquée à l'aiguille est incorrecte. Réglez selon la pression correcte. (p. 15)
- Vérifiez que le disque ne comporte pas de rayures.
- Vérifiez que le disque n'est pas déformé.
- Vérifiez qu'il n'y a pas de saleté ou de poussière sur l'aiguille ou le disque.
- Vérifiez que l'aiguille n'est pas abimée. Remplacez l'aiguille si nécessaire. (p. 33)
Phénomène de hurlement
Phenomène de hurlement.
- Cet apparéil et l'enceinte sont trop proches l'un de l'autre. Éloignez l'enceinte de cet apparéil.
- Cet apparéil se trouve dans une position instable. Placez-la dans une position stable et mise à niveau.
Le volume de lecture est trop elevated. Reglez le volume de l'amplificateur connecté selon le niveau approprié.
Lebras de lecture arrêtede bouger à mi-chemin
Lebras de lecture ne suit pas durant la lecture.
- Vérifiez que le disque ne comporte pas de rayures.
- Vérifiez que rien n'obstrue le bras de lecture.
Remplacement de l'aiguille
L'aiguille fournie peut etre exploitee pendant environ 400 heures de lecture. Remplacez l'aiguille dans des delais raisonnables pour eviter d'endommager voire collection de disques.
Lorsque you remplacez l'aiguille, assurez-vous de demander le mode DSN-85 dédié à cet appeareil après du revendeur chez qui you l'avez acheté ou auprès d'un atelier de réparation local.
Démontage de l'aiguille
En maintainant la cellule dans une main, tenez l'aiguille de l'autre et tirez-la vers le bas dans la direction de la flèche ①, puis tirez l'aiguille dans la direction de la flèche ② pour l'enlever.

Fixation d'une aiguille
En maintainant la cellule dans une main, tenez l'aiguille de l'autre et insérez le crochet de l'aiguille dans le long trou de la cellule dans la direction de la flèche ①, puis poussez-la dans la direction de la flèche ② jusqu'à ce qu'elle s'enclença.

Remplacement de la cellule
Si you souhaitez monter une cellule différente sur cette platine, utilisez une cellule pesant environ 59 à 128 mN (environ 5 à 13 g).
Retrait de la cellule
1 Tournier l'écrou de verrouillage dans le sens de la flèche et oter la cellule.

2 Oter les vis de montage de la cellule.
3 Débrancher les fils de la cellule.

REMARQUE
- Effectuez cette opération avec le couvercle de l'aiguille de la cellule abaisse pour protéger la pointe de l'aiguille.
Montage de la cellule
1 Brancher les fils.
- Les fils de sortie sont différenciés par leur couleur, comme indiqué sur le schéma suivant. Reportez-vous aux indications et au manuel d'instructions de la cellule que vous allez utiliser pour vous assurer de la raccorder correctement.

Bleu (Terre canal gauche)
Vert (Terre canal droit)
2 Montez la cellule sur la tete de lecture.
- Pour réaliser le surplomb requis, effectuer le montage de telle façon que la pointe de l'aiguille soit positionnée à environ 50 mm de l'extrémité de la surface de montage de la tête de lecture, comme indiqué sur le schéma ci-dessous. (Le surplomb pour cette platine doit être de 16 mm)

【Partie arrriere de la tete de lecture】

【Partie avant de la tete de lecture】

- Àprous avoir remplace la cellule, réglez la pression de la pointe de lecture, de l'antipatinage, etc. (t p. 15)
L'égaliseur de son intégré est uniquement destiné aux cellules MM.
Specifications
Section Platine
Type de transmission : Par couroie
Moteur : Servo CC
Vitesse tr/min : 33 1/3, 45, 78 tr/min
Pleurage et scintillage: 0,1% WRMS
Ratio S/B : 62 dB
Section Bras de lecture
Bras de lecture : Type statique équiléré
Longueur effective du bras : 220 mm
Dépassement : 16 mm
Plage de pression de l'aiguille: 0 - 4,0g (0 - 39,2mN)
1 degré est 0,1 g (0,98 mN)
Poids de la cellule compatible : 5,0 - 13,0 g (59,2 mN - 127,5 mN)
Section Cellule
Cellule : Type MM
Tension de sortie : Égaliseur hors tension : 2,5 mV
Égaliseur sous tension : 150 mV
Pression optimale de I'auigille: 2,0 g (19,6 mN)
Numéro de série de l'aiguille de
rechange :
DSN-85
Section sur l'adaptateur secteur (informations sur l'alimentation électrique externe)
Fabricant: SHENZHEN FU JIA APPLIANCE CO., LTD.
Référence du modele: FJ-SW1202000N
Tension d'entrée : 100 - 240 V CA
Fréquence du CA d'entrée : 50/60 Hz
Tension de sortie : 12,0 V
Courant de sortie : 2,0 A
Puisance de sortie : 24,0 W
Rendement moyen en mode actif : 86,7 %
Rendement à faible charge (10 %): 83,5 %
Consommation electrique hors charge: 0,09 W
Généralités
Consommation electrique : 10 W
Consummation électrique en mode
veille: 0,5Wou moins*
- Lorsque la fonction d'arrêt automatique est activée
Pour des raisons d'amélioration, les caractéristiques et l'apparce sont susceptibles d'être modifiées sans averissement préalable.
Dimensions (Unité : mm)



【avec couvercle anti-poussiere fixe】



■ Poids : 5,6 kg (y compris le couvercle anti-poussière)
Notice Facile