Delfis - Portail coulissant BLOOMA - Notice d'utilisation et mode d'emploi gratuit
Retrouvez gratuitement la notice de l'appareil Delfis BLOOMA au format PDF.
| Type de produit | Portail coulissant BLOOMA Delfis |
|---|---|
| Matériau | Aluminium |
| Dimensions approximatives | Largeur : 300 cm, Hauteur : 150 cm |
| Poids | Environ 50 kg |
| Couleur | Gris anthracite |
| Type d'ouverture | Coulissant |
| Installation | À poser sur un rail au sol |
| Entretien et nettoyage | Nettoyer régulièrement avec de l'eau savonneuse, éviter les produits abrasifs |
| Pièces détachées et réparabilité | Disponibles auprès du fabricant |
| Sécurité | Équipé d'un système de verrouillage pour plus de sécurité |
| Garantie | 2 ans |
| Compatibilités | Compatible avec les systèmes de motorisation standards |
| Accessoires inclus | Visserie et rail de guidage |
| Utilisation | Idéal pour les entrées de jardin, allées et accès privés |
FOIRE AUX QUESTIONS - Delfis BLOOMA
Questions des utilisateurs sur Delfis BLOOMA
0 question sur cet appareil. Repondez a celles que vous connaissez ou posez la votre.
Poser une nouvelle question sur cet appareil
Téléchargez la notice de votre Portail coulissant au format PDF gratuitement ! Retrouvez votre notice Delfis - BLOOMA et reprennez votre appareil électronique en main. Sur cette page sont publiés tous les documents nécessaires à l'utilisation de votre appareil Delfis de la marque BLOOMA.
MODE D'EMPLOI Delfis BLOOMA
FR IMPORTANT : Ces instructions sont données pour votre sécurité. Merci de les dire attentivement avant de manipuler le produit et de les conserver pour referencia.
V11124_5063022534408_MAND2_2324
FR Portail coulissant motorisable
5063022534408
5063022534996
5063022534644
5063022534590

01.x1

02.x1

03.x1

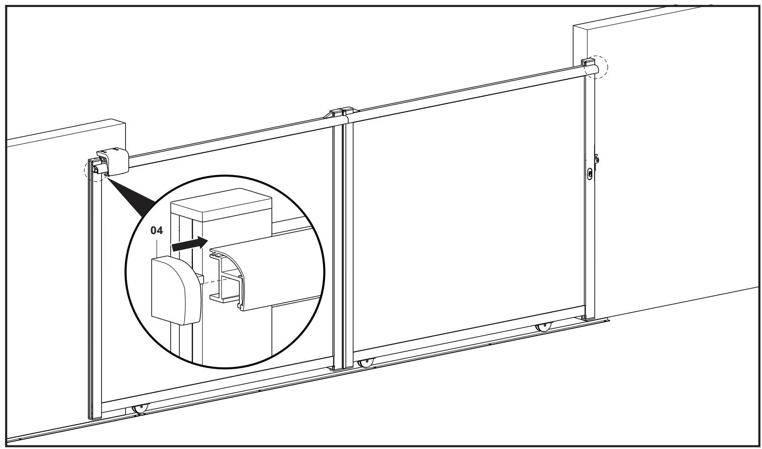
04.x2

05. x2

06.x4

07.x1

08.x1

09.x2

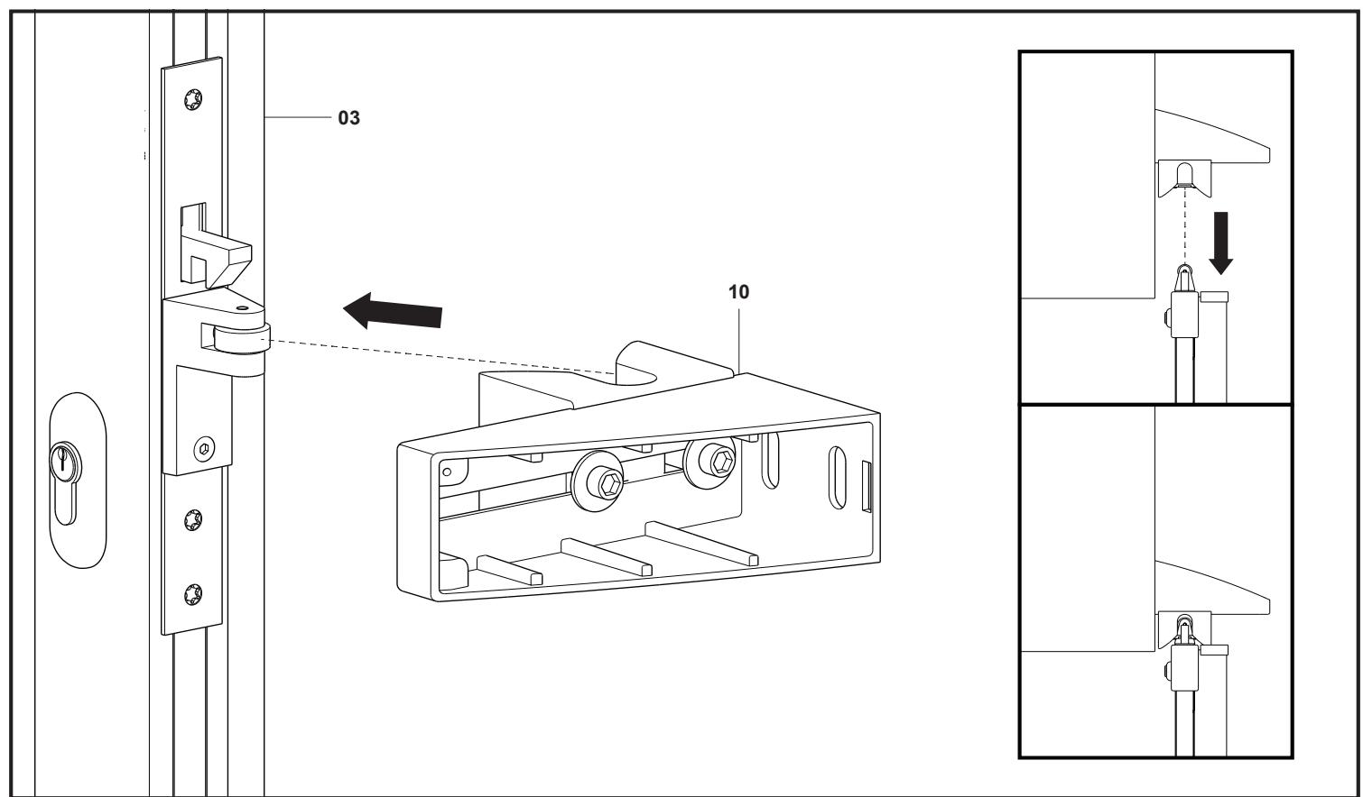
10.x1

11.x2

12.x1

13.x4

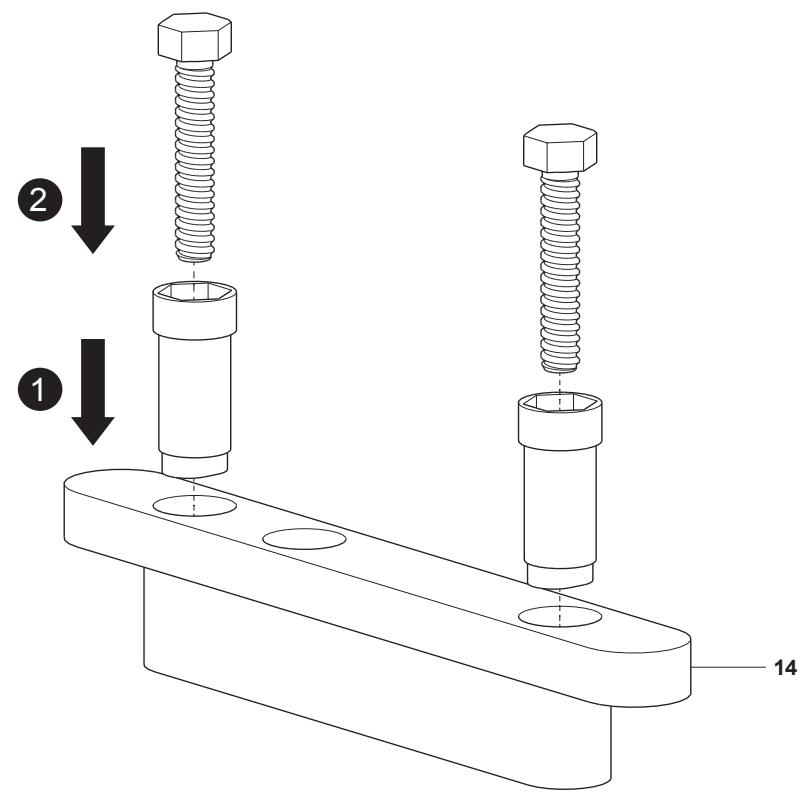
14.x1

15.x1

16.x1

17.x2

18.xβ

19.x2

20.x4

21.x2

22.x1

23.x1

24.x2

25.xα
FR La quantité de vis 18 et 25 varie.
= nombre de trough dans le profil 24.
= nombre de trough dans le profil 09.

FR Non inclus


FR Table des matieres
| FR | |
| Sécurité | 4 |
| Garantie | 5 |
| Montage | 6 |
| Installation | 28 |
| Utilisation | 29 |
| Entretien et maintenance | 29 |
FR Avant de commencer


- Les outils et le matériel de fixation ne sont pas fournis.
- Les différentes surfaces nécessitent des solutions de fixation différentes. Soyez attendif à la surface sur laquelle vous allez ancrer le produit et désissez la solution la plus adaptée en conséquence. En cas de doute, contactez un professionnel.
- Sauf indication contraire, toutes les mesures sont en millimétres.
Sécurité
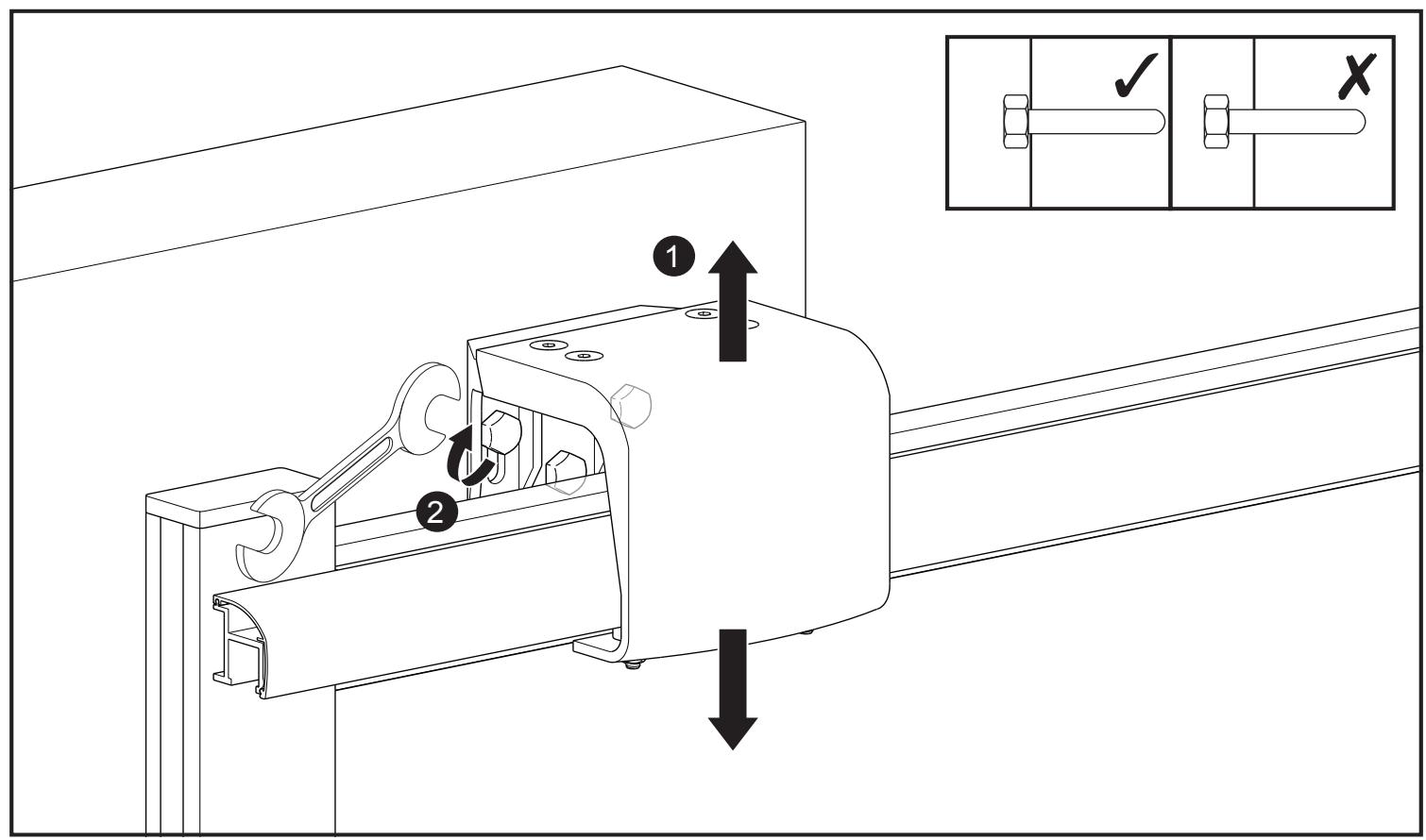
- ÀpRES l'installation, assurez-vous que le portail est bien régèle et fonctionne correctement, en le fermant et en l'ouvrant, en contrôlant que sa fixation aux pilliers est conforme.
-
Avant d'insteller une motorisation, vérifie l'etat du portail à motoriser, si :
-
Le portail est en bon état mécanique.
- Le portail est stable qu'elle que soit sa position.
- Les structures de support du portail permettent son bon fonctionnement.
Garantie
Nous veillons tout particuliement a selectionner des matieraux de haute qualite et a utilisen des techniques de fabrication qui nous permitent de creer des produits à la fois design et durables. Ce produit beneficie d'une garantie fabricant de 10 ans y compris la finition (par laquage ou la finition bois), sauf le moteur (si applicable) qui est garantie 5ans, les batteries (si applicable) qui sont garanties 2 ans et les accessoires qui sont garanties 2 ans également ; couvrant les defaults de fabrication à compter de la date d'achat (en cas d'achat en magasin) ou de la date de livreaison (en cas d'achat sur Internet), sans cout supplémentaire pour une utilisation domestique normale (non commerciale ni professionnelle).
Pour déposer une réclamation au titre de cette garantie, vous devezprésenter vos preuve d'achat (ticket de caisse, facture d'achat ou toute autre preuve receivable en vertu de la loi en vigueur). Conservez vos preuve d'achat dans un endroit s ur. Pour que cette garantie soit applicable, le produit que vous aze achete doit etre neuf. La garantie ne s'applique pas aux produits d'occasion ou aux modeles d'exposition. Sauf indication contraire prévue par la loi en vigueur, tout produit de remplacement fourni au titre de la presente garantie ne sera garanti que jusqu'à expiration de la période de garantie initiale.
Cette garantie couvre les defaillances et dysfonctionnements du produit, sous reserve que le produit ait eteutilise conformement a l'usage pour lequel il a ete concu, qu'il ait ete installed, nettoyed et entretenu conformement aux informations contenues dans les presentes conditions generales ainsi que dans le manuel d'utilisation, et conformement à la praticque, sous reserve que celles-ci n'aillent pas à l'encontre du manuel d'utilisation.
Cetie gantie ne couvre pas les defauts et dommages causés par l'usre normale ni les dommages pouvant resultant d'une utilisation non conforme, d'une installation ou d'un assemblage defectueux, ou d'une négligence, d'un accident, d'une mauvaise utilisation ou d'une modification du produit ou de l'utilisation de produits ou matériaux abrasifs ou agressifs. Sauf indication contraire prévue par la loi en vigueur, cette garantie ne couvre en aucun cas les coûts accessoires (expédition, transport, frais de déinstallation et réinstallation, main d'oeuvre, etc.), ni les dommages directs et indirects. Cette garantie ne couvre pas les defauts causés par les catastrophes naturelles.
Tout produit installé à moins de 5 km d'un littoral, la garantie du produit est réduite à 7 ans.
Tout produit installé à moins de 500 mètres d'un littoral, la garantie du produit est réduite à 5 ans.
L'installation de l'ensemble du produit ne devra pas se faire à moins de 50 mètres d'un littoral. Dans le cas contraire, la garantie ne pourra pas s'appliquer.
La décoloration des matériaux résultat des effets de leur exposition, des intempéries et/ou de l'environnement ne constitue pas un défaut et n'est pas couverte par la garantie.
L'aspect de la teinte peut légèrement varier en fonction du matériel sur lequel le laquage est appliqué.
Les éventuelles différences de teintes constatées entre les éléments du produit préexistants ou posés ultérieurement n'entrent pas dans le champ des garanties.
L'appreciation de la conformité du laquage doit être réalisée conformément à la norme « Qualicoat » c'est-à-dire en se plaçant à deux mètres du produit avec une vue normale et un éclairage significatif. Tout défaut n'apparaissant pas sous ces conditions est exclu de la garantie.
Si le produit est defectueux, nous fournirons, dans un delai raisonnable, des pieces de rechange ou procederons a un remplacement partiel ou complet.
Cette garantie est valable dans le pays ou vous avez acheté ce produit. Toute demande au titre de la garantie doit etre adressée au magasin ou yous avez acheté ce produit.
Cette garantie s'ajoute à vos droits au titre de la loi, sans les affecter.
Si you've acheté ce produit en France, en plus de cette garantie commerciale, le vendeur reste tenu de respecter la garantie légale de conformité prévue par les articles L217-4 à L217-14 du Code de la consommation et aux articles qui concernent les vices cachés de la chose vendue dans les conditions prévues aux articles 1641 à 1648 et 2232 du Code civil. Le distributeur auprès duquel vous avez acheté ce produit répond de tout défaut de conformité ou vice caché du produit, conformément aux prsentes dispositions.
En vertu de l'article L217-16 du Code de la consommation, lorsque l'acheteur demande au vendeur, pendant la durée de la garantie commerciale qui lui a eté consentie lors de l'acquisition ou de la réparation d'un bien meuble, une remise en état couverte par la garantie, toute période d'immobilisation d'au moins sept jours vient s'aouter à la durée de la garantie qui reste à courir. Cette période court à compter de la demande d'intervention de l'acheteur ou de la mise à disposition pour réparation du bien en cause, si cette mise à disposition est postérieure à la demande d'intervention. Garantie légale de conformité (extrait du Code de la consommation): Article L217-4 du Code de la consommation - Le vendeur doit livrer un bien conforme au contrat et répond des défauts de conformité existant lors de la livraison. Il répond également des défauts de conformité resultant de l'emballage, des instructions de montage ou de l'installation lorsque celle-ci a eté mise à sa charge par le contrat ou a été réalisée sous sa responsabilité. Article L217-5 du Code de la consommation - Le bien est conforme au contrat : 1. S'il est adapté à l'objectif généralement prévu pour des biens similaires et, le cas échéant : s'il correspond à la description donnée par le vendeur et possède les qualités représentées par le vendeur à l'acheteur sous forme d'échantillon ou de modèle ; s'il présente des qualités que l'acheteur peut légitimement attendre au regard des déclarations publiques faites par le vendeur, par le fabricant ou par son représentant, notamment dans la publicité ou l'étiquetage ; 2. Ou s'il présente les caractéristiques définies d'un commun accord par les parties ou est propre à tout usage spécial recherche par l'acheteur, porté à la connaissance du vendeur et que ce dernier a accepté. Article L217-12 du Code de la consommation - Toute réclamation suite à un défaut de conformité est limite à deux ans à compter de la livraison du bien. Garantie légale sur les vices cachés (extrait du Code de la consommation): Article 1641 du Code civil - Le vendeur est tenu de la garantie en cas de défauts cachés de la chose vendue qui la rendent impropre à l'utilisation auquel on la destiné, ou qui diminuennent tellement cet usage que l'acheteur ne l'aurait pas acquise, ou n'en aurait donné qu'un moindre prix, s'il les avait connus. Article 1648 du Code civil (alinéa 1) - Tout reclamation resultant de vices cachés doit être faite par l'acheteur dans un-delai de deux ans à compter de la découverte du vice.
IMPORTANT - A CONSERVER POUR DE FUTURS BESOINS DE REFERENCE : A LIRE SOIGNSEUEMENT.
01

01.x1

02.x1

03.x1

02

06.x2


04

21.x1


06

11.x2


08

09

10

11

24.x2

25.xα

12

13

14


16

05. x2


18
FR Non inclus



20

15.x1

21

16.x1

20.x4

22

23

24


26

27

28


30

10.x1

17.x2

31

32

33

34


36

37

38


39

07.x1

40

FR Non inclus

41

42

43

01


FR Si le portail est automatisé, retirez les composants de la serrure de fermeture et returnez-la.
02

Avant de commencer
Veuillez dire attentivement ce manuel avant l'installation et conservez-le dans un endroit sur pour utilisation ulterieure.
- Vérifiez tous les matérielles fournis dans le kit portail leur quantité et leur bon état.
FR Entretien et maintenance
Pour prolonger la durée de vie du produit, un entretien régulier est recommandé.
Pour conserver un aspect propre et brillant, il est conseilé de le laver avec un savon doux et de le rincer à l'eau claire.
- Les composants mécaniques en mouvement doivent être vérifiés, nettoyés et lubrifiés de temps en temps.

ÉLÉMENTS D'EMBALLAGE À SÉPARER + NOTICE À DEPOSER DANS LE BAC DE TRI

Fabricant:
EU Manufacturer:
Pour consulter les manuels d'instructions en ligne, rendez-vous
sur le site
Notice Facile