Hanang - Barbecue BLOOMA - Notice d'utilisation et mode d'emploi gratuit
Retrouvez gratuitement la notice de l'appareil Hanang BLOOMA au format PDF.
| Caractéristiques techniques | Barbecue à charbon de bois, surface de cuisson de 60 x 40 cm, grille en acier émaillé. |
|---|---|
| Utilisation | Idéal pour les barbecues en extérieur, facile à allumer et à contrôler la température. |
| Maintenance et réparation | Nettoyage régulier recommandé après chaque utilisation, vérification des joints et des grilles. |
| Sécurité | Utiliser sur une surface stable, éloigné des matériaux inflammables, ne pas laisser sans surveillance. |
| Informations générales | Garantie de 2 ans, poids de 15 kg, dimensions totales : 120 x 60 x 100 cm. |
FOIRE AUX QUESTIONS - Hanang BLOOMA
Questions des utilisateurs sur Hanang BLOOMA
0 question sur cet appareil. Repondez a celles que vous connaissez ou posez la votre.
Poser une nouvelle question sur cet appareil
Téléchargez la notice de votre Barbecue au format PDF gratuitement ! Retrouvez votre notice Hanang - BLOOMA et reprennez votre appareil électronique en main. Sur cette page sont publiés tous les documents nécessaires à l'utilisation de votre appareil Hanang de la marque BLOOMA.
MODE D'EMPLOI Hanang BLOOMA
Pour bien commencer... 05
Avant de commencer 05
Utilisation rapide 06
Sécurité 14

Et dans le détaill... 15
Entretien et maintenance 15
Dépannage 20
Informations techniques et legales 22
Assemblage
25
Votreproduit
- Le capot
- L'étagère latérale
- La jauge de températe
- Le panneau de contrôle
- Bac de récapération des graisses
Pour assembler votre produit, rendez-vous sur la série de montage située à la page 25 du guide.

Vous aurez besoin de
Pour monter votre produit ( éléments non fournis)

Pour utiliser votre produit ( éléments non fournis)
1 tuyau
1 détenteur (marqué
1 bouteille de gaz GPL Propane 11 kg ou Butane 13 kg
1 sac de sable
1 aide ponctuelle pour certaines tâches

Assurez-vous que toutes les pieces repertoriées ci'avant sont presents.
Il est recommandé de couper et déplier le carton sur le sol de manière à l'utiliser comme surface de protection pendant l'assemblage. Une fois prét, assurez-vous d'avoir les outils ajustats à portée de main, suffisamment d'espace et une surface propre et seche pour l'assemblage.
Avant le montage, retirez de l'intérieur du corps du produit toutes les pieces emballées. Assurez-vous d'éliminer en toute sécurité les matériaux d'emballage et les sacs en plastique.
IMPORTANT : détachez toutes les pellicules de protection des pièces en inox lors de l'assemblage et avant d'utiliser l'appareil.
Choix d'un emplacement
- A n'utiliser qu'a l'extérieur des locaux et dans un endroit bien ventilé. NE JAMAIS utiliser à l'intérieur des locaux, dans un espace confiné ou en sous-sol.
- Cet apparéil doit être éloigné des matériaux inflammables durant l'utilisation.
- Les parois de l'appareil ne doivent JAMAIS se trouver à moins d'un metre de toute surface ou matérieliau combustible.

IMPORTANT : n'obstruez aucune ouverture de ventilation sur le corps de l'appareil.
Montage du régulateur sur la bouteille de gaz
- Ce produit est destiné à être utilisé uniquement avec du gaz de petrole liquifié en bouteilles. Le détendeur à utiliser doit être de 28 mbar pour le gaz butane et de 37 mbar pour le propane.
- Ne jamais utiliser de détendeur régliable avec ce produit.
- Les bouteilles de propane sont recommandées pour une utilisation toute l'année, même en hiver.
Taille minimale de la bouteille de propane : 11 kg - Les bouteilles de butane peuvent être utilisées l'été mais ne doivent pas être utilisées par basses températures.
- Taille minimale de la bouteille de butane: 13 kg
- Les bouteilles de gaz ne doivent jamais être stockées ni utilisées en position couchee.
- Placez la bouteille de gaz sur un sol horizontal, pres de l'appareil et suffisamment à l'écart de toute source de chaleur. Si vous devez replacer la bouteille de gaz, assurez-vous tout d'abord que l'appareil est arrêté et qu'aucune source d'allumage (cigarette, flamme nue, étincelle, etc.) ne se trouve à proximité.
- Vérifiez que le tuyau de gaz n'est soumis à aucune torsion ni tension. Le tuyau doit être déployé librement sans être tordu, plie ou entortillé, afin de permettre le libre écoulement du gaz. Hormis le point de raccordement, le tuyau ne doit toucher aucune des pieces chaudes de l'appareil.
Montage du régulateur sur la bouteille de gaz
- Avant d'utiliser le tuyau, examinez-le pour vous assurer qu'il ne présente ni entailles, ni fissures, ni signes d'usure excessive.
- Si le tuyau est endommagé, il doit être remplace par un tuyau de gaz et conforme aux normes en vigueur. La longueur du tuyau ne doit pas dépasser 1,5 m.
- Le tuyau est un flexible qui doit être conforme à la norme XP D 36-112 ou NF D 36-125. Les tuyaux flexibles caoutchouc armés XP D 36-112 ont une durée de vie de 10 ans et doivent être replacés lorsqu'ils sont en fin de vie.
- Vérifiez que tous les boutons de commande de l'appareil sont sur la position "OFF".
- Raccordez le détendeur à la bouteille de gaz en suivant les instructions du détaillant qui vous les a fournis.
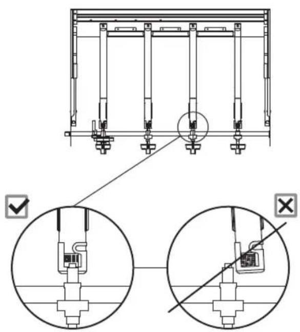
Assurez-vous pendant l'assemblage de bien respecter le cheminement du tuyau comme indiqué sur les schémas d'assemblage.

IMPORTANT: SUIVEZ LES DIRECTIVES DE DETECTION DES FUIITES DE GAZ AVANT Toute UTILISATION. ASSUREZ-VOUS QUE TOUS LES RACCORDS SONT FERMEMENT ET SOLIDEMENT SERRES.

Ne pas placer la bouteille de gaz sous l'appareil.
Scheme du test de détction des fuites

IMPORTANT: VERIFIEZ AVANT USAGE L'ETANCHEITE DES POINTS INDIQUES SUR LE SCHEMA CI-DESSOUS. NEGLIGER CE CONTROLE POT ENTRainer DES BLESSURES SERIEUSES ET ENDOMMAGER L'APPAREIL.

IMPORTANT : VERIFIEZ QUE L'ECROU HEXAGONAL A ETE BIEN SERRE .

IMPORTANT : VEUILLEZ VOUS ASSURER QUE LE TUYAU DE GAZ NE PRESENTE PAS DE TORSION OU DE BOUCLES SUITE AU CONDITIONNEMENT ET AU TRANSPORT.

Le test de fuite
- IMPORTANT : procédez au test de détction des fuites dans un espace bien ventilé avant toute utilisation.
- NE JAMAIS UTILISER UNE FLAMME NUE POUR DETECTOR LES FUITES DE GAZ. NE PAS ALLUMER L'APPAREIL PENDANT LE TEST.
- Vérifiez que tous les boutons de commande de l'appareil sont sur la position "OFF".
- Raccordez correctement la bouteille de gaz à l'appareil comme dans la section précédente.
Ouvrez la vanne de la bouteille de gaz. - Pour détecter les fuites, appliquez au pinceau une solution à parts égales d'eau et de savon liquide sur tous les raccords du circuit de gaz : vannes, tuyau, détendeur et l'ecrou hexagonal.
- OBSERVEZ : si des bulles apparaisent n'importe où sur les raccords, cela indique uneuite.
- Àprous le test de détention des fuites, essuyez toujours tous les raccords.
- Coupez l'alimentation en gaz et reisserrez tous les raccords.
- Recommencze le test. S'il se forme à nouveau des bulles, n'utilise pas l'appareil. Pour obtenir de l'aide, veuillez contacter votre revendeur.
- Effectuez le test de détention des fuites tous les ans et chaque fois que la bouteille de gaz est retiree ou remplaee.
Le panneau de contrôle
Boutons de commande de gaz

Position "OFF"

Position grand feu
Position petit feu
Allumage de l'appareil
Avant de poursuivre, assurez-vous d'avoir pris en compte les consignes de sécurité détaillées page 23 et 24.
1 Ouvrez le couvercle/capot de l'appareil.
Vérifiez que tous les boutons sont en position "OFF". Ouvrez la vanne de gaz sur la bouteille ou le détendeur.
3 Le bouton de commande de gaz à l'extreme gauche compte un allumeur incorpore. Poussez et tournez ce bouton sur la position grand feu en le maintainant enforcé 2 à 3 secondes. Si après chaque clic émis par l'étincelle de l'allumeur le brûleur ne s'est pas allumé, ramenez le bouton en position «OFF» et repêzez l'opération.
Si vous ne parvenez pas à allumer le brûleur après plusieurs essais, mettez le bouton de commande en position "OFF" et fermez le gaz sur la bouteille ou sur le détendeur. Attendez cinq minutes, puis répétez les étapes ci-dessus.
5 Si l'appareil ne peut toujours pas etre allumé, veuillez vous reporter aux instructions de la section «allumage manuel de l'appareil» pour l'allumer manuellement.
6 Une fois l'allumage réussi, enclenchez chaque brûleur de gauche à droite à votre convenance.
7克斯 3 a 5 minutes afin de prechauffer l'appareil. Ce processus doit etre executé avant toute session de cuisson. IMPORTANT : le capot doit etre ouvert au cours du prechauffage.
A l'issue du préchauffage, ramenez les brûleurs sur petit feu pour deGXmeilleurs résultats de cuisson.
Allumage manuel de l'appareil

1 Ouvrez le couvercle/capot de I'appareil.
Vérifiez que tous les boutons de commande sont en position "OFF". Ouvrez la vanne de gaz sur la bouteille ou le détendeur.
3 Introduisez une allumette enflammée dans le trou prévu à cet effet sur le côte gauche ou droit de l'appareil.
4 Appuyez sur le bouton de commande et tournez-le dans le sens inverse des aiguilles d'une montre pour lemettre sur grand feu.
5 Une fois l'allumage réussi, enclenchez les autres brûleurs à votre convenance.
6Après les avoir allumés, laissez les brûleurs sur grand feu pendant 3 à 5 minutes afin de préchauffer l'appareil. Ce processus doit être exécuté avant toute session de cuisson. IMPORTANT : le capot/ couvercle doit être ouvert au cours du préchauffage.
A l'issue du préchauffage, ramenez les brûleurs sur petit feu pour deGXmeilleurs résultats de cuisson.
Si vous ne parvenez pas à allumer le brûleur après plusieurs tentatives, contactez le service d'assistance au numéro indiqué à la fin de ce manuel.
Utilisation du brûleur látéral (pour les modèles fournis avec brûleur látéral)
- Le fonctionnement du brûleur létral est similaire au fonctionnement des brûleurs principaux de l'appareil. Veuillez utiliser des recipients de cuisson dont la taille ne dépasse pas 22 cm. La taille minimale du recipient est de 10 cm.
Préparation avant la cuisson
- Avant toute utilisation et pour éviter que les alimentents n'attachent à la grille de cuisson, utilisez une Brosse à long manche pour appliquer un léger film d'huile végétale ou de cuisson.
- Remarque: Suite à la première cuisson, la couleur du vernis peut s'alterer légrement. Il s'agit d'un effet normal et prévisible.
- Avant la première cuisson, laissez les brûleurs sur grand feu pendant 3 à 5 minutes afin de préchauffer l'appareil. Ce processus doit être executé avant toute session de cuisson. IMPORTANT : le capot/couvercle doit être ouvert au cours du préchauffage.
- Recouvre le fond du bac de récapération des graisses / de la tasse de récapération des graisses avec une feuille d'aluminium.
- (Pour les modèles avec le bac d'égoutage au lieu de la tasse de récapétération des graisses) Répandez uniformément une couche de 10 à 15 mm de sable ordinaire au fond du bac.
- Cela contribuera à absorber les graisses et réduira les flambees en cours de cuisson.
- IMPORTANT : contrôlez, nettoyez et remplacez régulierement le sable du bac avant utilisation. Ne laissez pas les résidus deGRAISE s'accumuler dans le bac.
- Ne JAMAIS utiliser l'appareil sans sable dans le bac d'égoutage.
- Ne jamais enlever le bac en cours de cuisson.
Contrôle des flambees
- IMPORTANT : Des flambees peuvent etre provoquees par des residus de graisse et de jus s'egouttant sur les bruleurs et la barre de vaporisation chaude.
- Pour les diminuier, nettoyez régulièrement les brûleurs et la barre de vaporisation.
- Pour réduire les flambees, il est recommendé d'enlever les excès de gras sur la viande et les volailles avant la cuisson.
- Les brûleurs doivent toujours être régés en position basse pendant la cuisson.

Veillez à toujours protégger vos mains pour manipuler tout objet proche de la surface de cuisson de l'appareil.
Fin d'une séance de cuisson
- Àpres chaque session de cuisson, réglez les brûleurs de l'appareil sur grand feu et laisserez-les allumés ainsi pendant 5 minutes. Cette procédure permet d'incinerer les résidus de cuisson pour faciliter le nettoyage.
- Le couvercle/capot doit rester ouvert pendant ce processus.
Extinction de votre apparéil
- ÀpRES chaque utilisation, tournez à fond tous les boutons de commande dans le sens des aiguilles d'une montre jusqu'à la position "OFF", puis coupez le gaz sur la bouteille. Attendez pour fermer le couvercle/capot que l'appareil soit suffisamment refroidi.
Assurez-vous que l'appareil et ses composants sont suffisamment refroidis avant de les nettoyer ou de les déplacer.

Veillez à tener compte des consignes ci-dessous.

A n'utiliser qu'a l'extérieur des locaux. NE JAMAIS utiliser à l'intérieur des locaux, dans un espace confiné ou en sous-sol.

Lors de l'installation, veilles à placer l'appareil à un mètre au moins de tout objet, matériel, surface ou structure inflammables.

NE PAS déplacer l'appareil pendant l'utilisation

NE PAS laisser ce produit sans surveillance quand il est en cours d'utilisation.

La poignée peut devenir brûlante pendant l'utilisation. Pour ouvrir le capot (s'il est present), portez toujours des gants ou des maniques ignifugés et tenez la poignée en son centre.

Lorsque vous ouvrez le capot (s'il est present), prenez garde à ne pas vous faire brûler par la vapeur.

Tenez les enfants et les animaux domestiques à une distance de sécurité pendant l'utilisation de l'ordinateil.

Effectuez le test de détention des fuites chaque année, et systématiquement lors du démontage, du remplacement de pieces et quand la bouteille de gaz est retiree ou remplacee.


IMPORTANT : n'obstruez aucune ouverture de ventilation sur le corps de l'appareil.

Fermez le robinet du écipient de gaz après usage.
Les règles d'or pour l'entretien
1 Nettoyez toujours votre apparéil entre deux utilisations et tout particulièrement après un stockage prolongé.
2 N'aspergez jamais l'appareil d'eau lorsque ses surfaces sont chaudes.
3 IMPORTANT : ne pas utiliser d'ustensiles ou de produits abrasifs pour le nettoyage du grill ou des plaques de cuisson vernies.
Pour prolonger la vie de votre apparéil, ne le laissez pas à l'extérieur sans protection. Recouvre le d'une housse adaptée lorsqu'il n'est pas utilisé.
5 IMPORTANT : des ustensiles métalliques pour barbecue/plancha peuvent être utilisés sur les surfaces de cuisson. Si les ustensiles de cuisson présente des pointes ou des arêtes en dents de scie, il est recommendé de les utiliser avec précaution pour éviter de rayer ou d'endommager la grille ou les plaques de cuisson.
En début de saison
- Contrôlez et resserrez toutes les vis, boulons, etc.
- Examinez les brûleurs et assurez-vous que leurs orifices ne sont pas obstrués.
- Vérifiez que les tubes venturi sont correctement positionnés au-dessus des sorties des vannes.
En fin de saison
- Les brûleurs doivent être rétiés et nettoyés tous les ans et chaque fois que des dépôts importants sont constatés, afin de s'assurer que ni les orifices des brûleurs ni les tubes venturi ne sont encombrés.
- Utilisez un cure-pipe pour déboucher les orifices obstrués.
- La corrosion à la surface des brûleurs peut être enlevée à l'aide d'unerosse métallique.
- Lors du remontage des brûleurs, assurez-vous que les tubes venturi sont correctement positionnés par dessus les sorties des vannes.

- Rangez votre apparéil dans un endroit sec et frais.
- NE PAS entreprises ni recouvrir l'appareil avant qu'il ne soit complètement refroidi.
- Recouvre les brûleurs de feuilles d'aluminium pour empêcher les insectes et les débris de s'accumuler dans les orifices.
En fin de saison
- Si l'appareil est entreposé à l'intérieur des locaux, la bouteille de gaz doit être débranchée et laissée à l'estérieur. La bouteille de gaz doit toujours être entreposée à l'estérieur, dans un endroit sec, bien aéré et éloigné de toute source de chaleur ou d'allumage. Ne laissez pas les enfants manipulier la bouteille.
- NE PAS laisser ce produit non couvert quand il n'est pas utilisé. Pour protégger votre apparéil des dommages causés par les intempéries, entreprisesz-le dans un abri ou un garage quand vous ne l'utilise pas (en particulier si vous habitez pres des côtes). Toute exposition prolongée aux rayons du soleil, aux eaux stagnantes, à l'air marin ou à l'eau de mer est susceptible d'endommager votre apparéil. Dans ces cas, une housse pour barbecue/plancha ne suffira pas toujours à protégger votre apparéil.
Avant chaque utilisation
- IMPORTANT : procédez au test de détention des fuites dans un espace bien ventilé avant toute utilisation.
Après chaque utilisation
- Àpres chaque session de cuisson, réglez les brûleurs de l'appareil sur grand feu et laisserez-les allumés ainsi pendant 5 minutes. Cette procédure permet d'incinérer les résidus de cuisson pour faciliter le nettoyage.
- IMPORTANT : maintenez le couvercle/capot (s'il est present) ouvert lors de cette étapé de nettoyage.
Assurez-vous que l'appareil et ses composants sont suffisamment refroidis avant de les nettoyer.
Surfaces de cuisson
IMPORTANT: nettoyer à l'eau chaude.
- IMPORTANT : ne pas utiliser de brosses métalliques ni de tampons abrasifs sur la grille ou les plaques de cuisson. Cela causerait des rayures et endommagerait la surface de cuisson.
- Nettoyez les surfaces de cuisson avec de l'eau chaude savonneuse. Pour enlever les évventuels résidus d'aliments, utilisez un nettoyant doux sur une éponge non abrasive. Certains produits nettoyants peuvent provoquer des rayures ou dégrader les enduits en copeaux ou en flocons, nettoyez à l'aide d'une éponge ou d'un chiffon de cuisine seulement.
Rincez abondament, puis sechez soigneusement.
Barre de vaporisation (s'il est present)
- Nettoyez la barre de vaporisation [12] au savon et à l'eau tiède à l'aide d'un chiffon ou d'une éponge non abrasifs!
Bac de récapération des graisses / Tasse de récapération des graisses
- Nettoyez le bac récapucérateur de graisse au savon et à l'eau tiède à l'aide d'un chiffon ou d'une éponge non abrasive!
Corps de l'appareil
- Enlevez régulierement l'excess d'huile ou deGRAisse du corps de l'appareil à l'aide d'un racloirouple en plastique ou en bois.
- Il n'est pas nécessaire d'enlever entièrement la graisse. Si vous devez nettoyer complètement votre barbecue, utilisez uniquement de l'eau chaude savonneuse et un chiffon ou une brosse avec des-poils en nylon.
Toutes les 5 ou 6 utilisations
- Effectuez un nettoyage plus poussé du corps de l'appareil.
- Utilisez un nettoyant doux sur une éponge non abrasive.
- Avant le nettoyage complet, retirez les surfaces de cuisson et les brûleurs.
- Ne pas plonger les vannes ou les tubulures de gaz dans l'eau.
- Contrôlez et reisserrez toutes les vis, boulons, etc.
Entretien
- IMPORTANT : nous vous conseillons d'entrenir cet apparéil après 100 heures d'utilisation ou tous les ans.
Instructions d'entretien des surfaces en bois (le cas échéant)
- À l'aide d'un chiffon propre, appliquez une couche de vernis à bois adapté sur toutes les surfaces en bois. Laissez ensuite secher la surface traitée. La durée de séchage dépendra du type de traitement bois choisi et des conditions environnantes. ATTENTION : Les tissus utilisés pour appliquer l'huile pour teck sont enclins à la combustion spontanée (ils s'enflammment tout seuls). Immediatement après utilisation, voirlez à imbiber d'eau tous les tissus utilisés et jetez-les.
Dépannage
| Problèmes | Causes possibles Solutions | |
| Les brûleurs ne s'allument pas lorsque j'utilise le système d'allumage | La bouteille de gaz est vide Remplace | cez la bouteille vide |
| Le régulateur est défectueux Faites | contrôler et replacer le régulateur | |
| Les trough des brûleurs sont bouchés | Nettoyez les brûleurs | |
| Les gicleurs ou tuyaux de gaz sont bouchés | Nettoyez les gicleurs ou tuyaux de gaz | |
| Le fil de l'électrode est desserré ou déconnecté de l'électrode ou du circuit d'allumage | Reconnectez le fil | |
| L'électrode ou le fil est endommagé | Changez l'électrode et le fil | |
| L'allumeur à pression est défectueux (pour les modèles avec allumage par bouton-poussoir) | Changez l'allumeur | |
| La pile ne fonctionne plus (pour les modèles avec allumage électronique) | Remplacez la pile par une pile neue de type équivalent | |
| Les brûleurs ne s'allument pas avec une allumette | La bouteille de gaz est vide Remplace | cez la bouteille vide |
| Le régulateur est défectueux Faites | contrôler et replacer le régulateur | |
| Les trough des brûleurs sont bouchés | Nettoyez les brûleurs | |
| Les gicleurs ou tuyaux de gaz sont bouchés | Nettoyez les gicleurs ou tuyaux de gaz | |
| Flamme faible ou retour de flamme (feu à l'intérieur du tube du brûleur - on entend un bruit de sifflement ou de bruissement) | La bouteille de gaz est trop petite Utilisez une bouteille plus grande | |
| Les trough des brûleurs sont bouchés | Nettoyez les brûleurs | |
| Les gicleurs ou tuyaux de gaz sont bouchés | Nettoyez les gicleurs ou tuyaux de gaz | |
| Temps vents Placez l'appareil dans un endroit plus protégé | ||
| Le bouton du robinet de gaz est difficile à tourner | Le robinet de gaz est bloqué Remplace | cez le robinet de gaz |
Service d'assistance
- Pour toute question, demande de conseil ou fourniture de pieces de rechange concernant ce produit, veuillez appeler notre service d'assistance dont les coordonnées se trouvent à la fin de ce manuel.
Caracteristiques techniques
Importé par : Castorama
Référence fournisseur : OL6354 (598128)
Débit nominal : 16 kW
Débit nominal massique : Butane: 1163.7g/h Propane: 1142.9g/h
Type de gaz : Butane Propane
Pression d'alimentation : 28-30mbar 37mbar
Diametre des injecteurs : 1.0mm
Marquage des injecteurs : 1.0

0845 845BS-0022
Categorie et pays de destination :
Cat I 3 + (28 - 30 / 37) BE, ES, FR, GB, GR, IE, LU, IT, PT, CH
Le système a ete concu et fabriqu conformement aux normes européennes enumeratedres ci-dessous: EN 498 et EN 437 ainsi que ses modifications ulterieures (normes gaz). L'appareil est conforme aux exigences essentielles de la directive Appareils a gaz 2009/142.
Avertissements
- Ces instructions visent à assurer votre sécurité. Consulter la notice avant l'utilisation, puis les conserver pour pouvoir vous y reférer ultérieurement.

- Ne pas utiliser dans des locaux fermés (exple : caravane, tente, appartement...) Risque d'intoxication au CO
- ATTENTION: UTILISATION A L'EXTERIEUR UNIQUEMENT, les barbecues ne doivent pas etre utilisés dans des espaces fermes ou à l'intérieur de/sous un belvédère, ni dans toutes structures extérieures similaires en raison du dégagement de MONOXYDE DE CARBONE et des RISQUES D'INCENDIES.
- IMPORTANT : assurez-vous que l'appareil est toujours place et utilise sur une surface ou un sol plan, HORIZONTAL et non inflammable afin de faciliter l'écoulement des graisses.
- Ce produit n'est pas prévu pour l'utilisation de charbon de bois ou de tout autre combustible de ce type.
- Ce produit n'est pas adapté à l'usage d'ustensiles en pierre de lave.
- Effectuez le test de détction des fuites chaque année, et systématiquement lors du démontage, du remplacement de pieces et quand la bouteille de gaz est retiree ou remplacee. NEGLIGER CE POINT PEUT ENTRainer DES BLESSURES SERIEUSES OU ENDOMMAGER LE BARBECUE.
- Toujours remplacer les pieces usées : ne pas utiliser l'appareil en cas de fuite, usure ou dommage.
- N'utiliser ni petrole, ni white-spirit, ni liquide d'allumage, ni alcool ou autre produit similaire pour allumer l'appareil.
- Lors de l'allumage, le couvercle/capot (s'il est present) doit toujours être ouvert.
- ATTENTION : des parties accessibles peuvent être très chaudes. Eloigner les jeunes enfants.
Avertissements
- Fermer le robinet du écipient de gaz après usage.
- NE PAS cuisiner avec le capot/couvercle (s'il est present) abaisse lorsque les vannes sont sur grand feu, sous peine d'endommager votre apparéil. Cuisine sur petit feu si le capot/couvercle est abaisse.
- NE PAS laisser laGRAisse ou les résidus d'aliments s'accumuler sur l'appareil ou à l'intérieur: RISQUE D'INCENDIE.
- Ne surchargez jamais la grille de cuisson : disposez les alimentents uniformément sur la surface de la grille de cuisson, en maintainant une circulation d'air suffisante vers les brûleurs.
- Si vous-percevez une odeur de gaz, arrêtez l'appareil, éteignez toutes les flammes et ouvre le capot (s'il est present). Si l'odeur persiste, contactez immédiatement une personne compétente résoudre le problème. NE PRENEZ PAS DE RISQUE!
- En cas de feu incontrollable, débranchez immédiatement la bouteille de gaz, portez-la à l'écart des flammes et appelez les pompiers. NE PRENEZ PAS DE RISQUES!
- Assurez-vous qu'aucun aérosol n'est employé à proximité de cet apparéil lors de son utilisation.
- La bouteille de gaz ne doit pas etre entreposee a proximite du barbecue ou de tout autre appeareil.
- Ne jamais entreprises les bouteilles de gaz à l'intérieur des locaux.
- NE PAS modifier l'appareil. Toute modification de l'appareil est formellement interdite et peut se reveler très dangereuse et annule la garantie. Notamment, ne jamais démonter les injecteurs du produit.
- Ne pas dire ou ne pas observer ces instructions peut entraîner de graves blessures ou dégâts matériels.
- Les parties protégées du produit ne doivent pas être manipulées par l'utilisateur.
Assemblage

IMPORTANT : malgré tout le sein apporté dans la fabrication de ce produit, il convient d'opérer avec précaution à cause de la présence possible d'arêtes coupantes.

NE PAS SERRER EXCESSIVEMENT; NE PAS UTILISER DE RUBAN TEFLON OU DE LIQUIDES D'ETANCHÈITE SUR LES RACCORDEMENTS.

NE PAS SERRER EXCESSIVEMENT; NE PAS UTILISER DE RUBAN TEFLON OU DE LIQUIDES D'ETANCHÈITE SUR LES RACCORDEMENTS.

Ne pas placer la bouteille de gaz sous l'appareil.


02
[06]×2

[07] x 2

[08] × 1


03
[17] x 1

[19] x 1

[20] x 4

[24] x 2

[25]×8

[26]x1

[28] x 6

[30] × 2





04
[21] × 2

[22] x 1

[23] x 1

[25] × 4

IMPORTANT : veuillez vous assurer de recouvrir le fond du bac récaproduateur de graisses d'une feuille d'aluminium et d'une couche de sable. Voir les pages 12.

IMPORTANT: ne pas placer la bouteille sous l'appareil.

Castorama France
BP 101 - 59175 Templemars
www.castorama.fr

N°Azur

10 104 104
Dites «Question»
(prix appel local)

Notice Facile