Triaconta - BLOC PORTE HAILO - Notice d'utilisation et mode d'emploi gratuit
Retrouvez gratuitement la notice de l'appareil Triaconta HAILO au format PDF.
| Type de porte | Intérieure |
| Largeur disponible | 63 cm, 73 cm, 83 cm |
| Hauteur standard | Non précisé |
| Matériau | Non précisé |
| Finition | Non précisé |
| Type d'ouverture | Non précisé |
| Nombre de panneaux | 3 |
| Références disponibles | Plusieurs selon largeur |
| Type de pose | En applique |
| Épaisseur de la porte | Non précisé |
| Poids | Non précisé |
| Accessoires inclus | Non précisé |
| Couleur | Non précisé |
| Normes | Non précisé |
| Garantie | Non précisé |
FOIRE AUX QUESTIONS - Triaconta HAILO
Questions des utilisateurs sur Triaconta HAILO
0 question sur cet appareil. Repondez a celles que vous connaissez ou posez la votre.
Poser une nouvelle question sur cet appareil
Téléchargez la notice de votre BLOC PORTE au format PDF gratuitement ! Retrouvez votre notice Triaconta - HAILO et reprennez votre appareil électronique en main. Sur cette page sont publiés tous les documents nécessaires à l'utilisation de votre appareil Triaconta de la marque HAILO.
MODE D'EMPLOI Triaconta HAILO
Bloc porte intérieure alveolaire mélaminé
04

Assemblage
04
C'est partie…

Pour bienCOMMencer 06
Avant de commencer 07

Et dans le détaill… 09
Entretien et maintenance 10
Garantie 10
Assemblage
GEOM
Créez et reliez les espaces entre eux. Portes, fenêtres, cloisons, escaliers...Tous les produits GEOM apportent solidité et isolation à votre maison. Profitez de la luzière et de l'espace, tout en réservant la chaleur et l'intimité de votre intérieur.

Pour bien commencer…
Avant de commencer
07

Votre Produkt
- élargisseurs pour montants verticaux
- élargisseur pour traverse
- montants verticaux
- traverse haute
- clé ronde
- chambranes pour montants verticaux
- chambranes pour traverse
- cale pour montage
- embase provisoire
- porte



Vous aurez besoin de
8 coins de blocage

1 perçuse

1 foret de diamètre 3 mm

1 cartouche de joint silicone

1 niveau à bulle

1 scie à main

1 mètre ruban

1 poignée et rosace

1 aide ponctuelle pour certaines tâches


Et dans le détaill…
Entretien et maintenance 10
Garantie 10
Entretien
Les portes GEOM ne nécessitantaucun entretien particulier.
En cas de traces, nettoyer avec un nettoyant menager doux sans détergent et un chiffon non pelucheux et non abrasif.
Garantie
Ce produit est garanti 2 ans sous réserve d'une installation conforme aux instructions de la notice de pose et dans une piece interieure dont les conditions de température et d'humidité relative de l'air correspondent à un environnement sec (température moyenne de 18 - 20^ et humidité relative de l'air comprise entre 40 et 65% ).
Cette garantie ne couvre pas les dommages causés par:
- l'utilisation propre.
- l'exposition directe au soleil.
- un nettoyage avec des produits impropres.
- d'importantes variations de température et/ou d'humidité.
Certification

FSC
www.fsc.org
MIXTE
Bois issu de ces responsables
FSC® C112797
Assemblage

01
[09] x 01

[10] x 01

01 Supprimer l'embase provisoire [09].

02
[08] x 01

02 Scier la cale [08] en 2 parties égales.

03
03 Mettre la poignee en place provisoirement pour entrouvrir la porte [10] delicatement et inserer les 2 parties de la cale [08] entre le montant [03] et la porte [10] puis refermer-la.

04




04 Contrôler l'ouverture dans la cloison.
05
Cas A
MIN
54 mm

MAX
74 mm
Cas B
MIN
94 mm

MAX
164 mm
05 Contrôler l'épaisseur du mur:
A) si entre 54 et 74 mm: installation sans élargisseurs [01] [02] (étapes 18-19) en centrant la porte dans l'axe de la cloison.
B) si entre 94 et 164 mm: installation avec élargisseurs [01] [02] (étapes 12-17).
06

GAUCHE

DROIT

OU

0U
06 Contrcler le sens d'ouverture.

Assemblage



07 Caler le bloc porte en place.
Les coins de blocage horizontally doivent être mis en regard des montants verticaux
[03]. Les coins de blocage latéraux doivent être mis à hauteur des charnières.
08


08 Vérifier au moyen du niveau à bulle le bon aplomb dans les 3 dimensions et sur tous les cotés.
Ouvrir avec précaution la porte [10] et retirer les cales [08].
09

[03] x 02


09
Percer les montants verticaux: chaque montant [03] doit être percé en trois points: 10 cm du sol, 100 cm du sol, 190 cm du sol.
Assemblage

10
[13] x 06

[12] x 06

2,3cm
10 Visser la huisserie du bloc porte sur la cloison en utilisant les vis [13] prévues à cet effet, appliquer les bouchons couvrant les vis [12] et enlever les coins de blocage.

11

11 Faire une découverte rectangularire sur les chambranes pour montants verticaux [06].

12 pour le cas B

12 Mesurer l'épaisseur du mur (S).
Assemblage

13 pour le cas B

13 Recouper les élargisseurs [01][02] à la dimension du mur (S) - 35 mm en maintainant inchangé le côté rainuré pour l'emboîtement des chambranes [06][07] (recouper-les sur le côté opposé).

14 pour le cas B
14 Mettre quelques points de silicone en fond de feuillage sur montants verticaux [03] et traverse [04] pour parfaire le maintain des élargisseurs [01][02] avant leur mise en place.

15 pour le cas B

15
Mettre les élargisseurs verticaux [01] en place en 1^er puis l'élargisseur horizontal [02] en tapant légèrement avec la main.
Assemblage
16 pour le cas B

16 Mettre quelques points de silicone en fond de feuillage sur tous les élargisseurs [01] [02] pour parfaire le maintain des chambranes avant leur mise en place.
17 pour le cas B


17 Sur la face élargisseurs,mettre les chambranes verticaux [06] en place en 1^er puis le chambranle horizontal [07] en tapant légèrement avec la main.
18 pour le cas A


18 Sur la face à pousser,mettre quelques points de silicone en fond de feuillage sur montants verticaux [03] et traverse [04] pour parfaire le maintain des chambranes avant leur mise en place.
Assemblage

19 pour le cas A

19
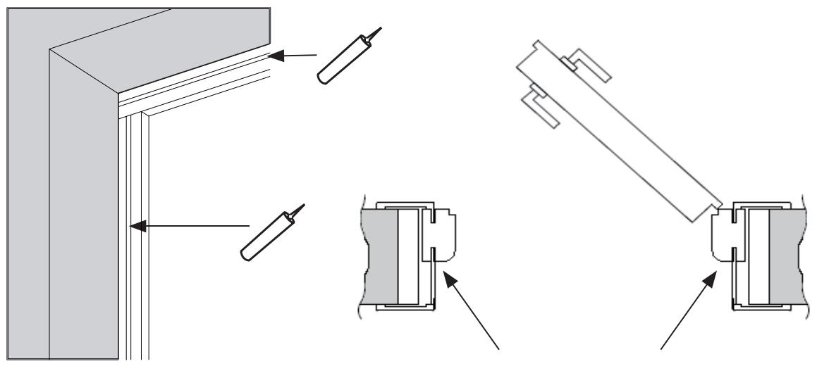
Mettre les chambranes verticaux [06] en place en 1^er puis le chambranle horizontal [07] en tapant légèrement avec la main.

20

20
Sur l'autre face,mettre quelques points de silicone en fond de feuillage sur montants verticaux [03] et traverse [04] pour parfaire le maintain des chambranles [06][07] avant leur mise en place.

21

21
Mettre la poignée en place, ouvrir la porte [10] puismettre les chambranes verticaux [06] restants en place en 1^er puis le chambranle horizontal [07] en tapant legement avec la main. 47

www.castorama.fr
Service consommateur Castorama
BP101- 59175 Templemars

Notice Facile