BIARRITZ-S - Poêle à bois PANADERO - Notice d'utilisation et mode d'emploi gratuit
Retrouvez gratuitement la notice de l'appareil BIARRITZ-S PANADERO au format PDF.
| Type d'appareil | Poêle à bois |
| Modèle | Non précisé |
| Matériau | Acier |
| Puissance thermique | Non précisé |
| Rendement | Non précisé |
| Capacité de chargement | Non précisé |
| Dimensions (L x H x P) | Non précisé |
| Poids | Non précisé |
| Type de vitre | Vitre résistante à haute température |
| Type de tirage | Conduit vertical |
| Installation | Sur pied |
| Couleur | Noir |
| Utilisation | Chauffage domestique |
| Normes | Non précisé |
| Garantie | Non précisé |
| Accessoires inclus | Non précisé |
FOIRE AUX QUESTIONS - BIARRITZ-S PANADERO
Téléchargez la notice de votre Poêle à bois au format PDF gratuitement ! Retrouvez votre notice BIARRITZ-S - PANADERO et reprennez votre appareil électronique en main. Sur cette page sont publiés tous les documents nécessaires à l'utilisation de votre appareil BIARRITZ-S de la marque PANADERO.
MODE D'EMPLOI BIARRITZ-S PANADERO
Le bois: une énergie ecologique
Le bois est une énergie renouvelable qui répond aux défis énergétiques et environnementaux du 21eme siècle.
Tout au long de sa vie, un arbre pousse grâce à la lumière du soleil, l'eau, les sels mineraux et le CO2. Il accumule de manière naturelle l'énergie solaire et nous offre l'oxygène indispensableable à la vie.
La quantité de CO2 qui se dégage pendant la combustion du bois n'est pas supérieure à cette qui serait émise lors de sa décomposition naturelle. Nous sommes donc devant un type d'énergie qui respecte le cycle naturel de millions d'années. La combustion du bois n'augmente pas le CO2 dans l'environnement, c'est une énergie écologique qui ne participe pas à l'effet de serre.
Avec nos poées, le bois se brûle proprement et ne laïssse aucurn résidu. La cendre du bois représenté un engrais de haute qualité, riche en sels mineraux.
En achetant un poèle à bois, vous aidez l'environnement, vous aurez un chauffage économique et vous pourrez apprécié ce spectacle des flammes qu'aucun autre type de chauffage peut offrir.
INSTRUCTIONS D'UTILISATION ET D'ENTRETIEN
Vou venez d'acquerir un produit de la marque PANADERO, nos poëles non seulement requierent un entretien ajustat mais également une installation conforme à la législation en vigueur. Nos produits sont conformes à la norme européen EN 13240:2001 et A2: 2004 mais il est très important que le consommateur sache utiliser correctement son poële selon les conseils que nous vous indiquons. Pour cette raison, avant d'installer notre produit vous devrez dire rigoureusement ce manuel et suivre nos instructions d'utilisation et d'entretien.
POSITION DU CONDUIT DE FUMEE
- Placer le premier tuyau dans la sortie de fumée du poèle et continuez dans cette même position avec les autres tuyaux.
- Mettre un chapeau sur le dernier tuyau si celui ci se trouve à l'extérieur.
INSTALLATION
- Vous avez achete un poèle à bois dont la chambre à combustion est revêtue de vermiculite.
Ne pas enlever ces pieces en vermiculite. - Il est nécessaire de respecter les réglementations nationales, régionales et locales sur l'utilisation des appareils et des combustibles lors de l'installation du poêle.
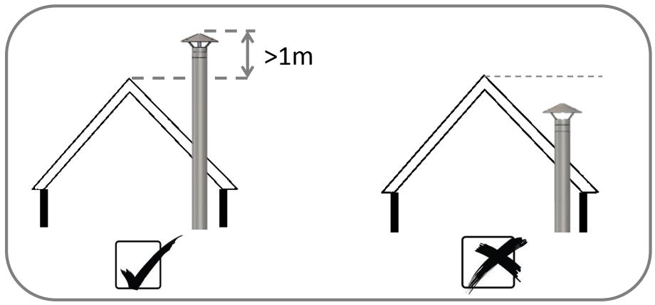
- L'installation doit être le plus verticale possible, en évitant l'utilisation de couces ou déviations. Si l'installation se racorde à un conduit de cheminée de maçonnerie, il est conseilé qu'elle soit munie de tubes jusqu'à la sortie extérieure. Dans le cas où l'installation soit seulement munie de tubes, il est conseilé qu'elle ait au moins 3 mètres linéaires.
- Attention: l'installation de ce poèle à bois doit être effectuee par un professionnel qualié. Ne pas obstruer les ouvertures d'aération. Attention: ce poèle doit etre installé dans une piece aérée et bien ventilée. Il est conseilé d'avoir au moins une fenetre qui puisse s'ouvrir, dans la même piece ou sera installee le poèle.
- Les tuyaux doivent être scellés avec un mastic réfractaire pour empêcher que la suite produit par la combustion ne coule par les joints.
- Ne pas placer le poèle pres de murs combustibles. Le poèle doit être installé sur un sol non inflammable, dans le cas contraire, une plaque devra être installée sous l'appareil, elle devra couvrir la superficie du poèle et dépasser de 15 cm. sur les cots et 30 cm. sur la partie de devant.
- Pendant le fonctionnement, éloignez du poèle, toute matière pouvant être alterée par la chaleur: meubles, rideaux, papiers, vêtements, etc... La distance de sécurité minimum à matériaux combustibles est celle indiquée à la dernière page de ce manuel.
- Il est important de prévoir le facile accès pour le nettoyage de l'appareil, du conduit de fumée et de la cheminée. Si vous pensez placer votre poète pres d'un mur non inflatable, nous vous conseillons de laisser une distance minimum pour faciliter les opérations de nettoyage.
-
Ce poèle n'est pas fait pour être installé dans un système de cheminée comparti avec d'autres apparèils.
-
L'appareil doit être installé sur un sol ayant une capacité de portée ajusté. Si la construction ne répond pas à cette exigence, il faudra adopter les mesures nécessaires (par exemple en installing une plaque de distribution de charge).
COMBUSTIBLE
- Utilisé comme combustible du bois sec, en veillant à ce qu'il ne dépasse pas 20% le degré d'humidité. Sachez, qu'un bois ayant 50% ou 60% d'humidité ne chauffe pas, il a une très mauvaise combustion, il crée beaucoup de goudron, il dégage une vapeur d'eau excessive et il produit des sédements excessifs dans l'appareil, la vitre et les conduits de fumée. Vous pouvez également utiliser des briquettes de bois présse.
- Allumez le feu avec des pastilles prévues à cet effet, ou avec l'aide de papier et brindilles. N'utilise jamais d'alcool à brûler ou de produits similaires.
- Ne brûlez pas de déchets menagers, matières plastiques ou de produits gras qui polluent l'environnement et provoquent des risques de feu de cheminée par encrassement du conduit.
FONCTIONNEMENT
- Lors des premiers allumages, il est normal que de la fumée se dégage. Cela est dû à ce que certains composants de la peinture anticalorifique brûlent en même temps que s'adhere le pigment au poële. Nous conseillons d'aérer abondamment la piece jusqu'à ce que cela disparaïssé.
- Le poèle n'est pas prévu pour fonctionner «porte ouverte».
- Cet apparéil est prévu pour fonctionner de manière discontinue avec des temps de recharge de combustible.
- Pour l'allumage du poèle il est recommandé d'utiliser du papier, des pastilles d'allumage et des brindilles. Une fois que le feu commence à fonctionner, ajoutez pour la première charge deux morceaux de bois de 1,5 à 2 Kg. Pendant cette phase d'allumage, les tirages d'air doivent être complètement ouverts.
- Une fois que le feu commence à prendre de l'intensité, régler l'intensité du feu en fermant plus ou moins les tirages d'air.
- Pour atteindre la puissance nominale de l'appareil vous devez utiliser une quantité approximative de 1.7 Kg. de bois (deux bùches d'environ 1 Kg.) en intervales 45 min. Les bùches doivent être disposées horizontally en laissant un petit espace entre chacune d'elles afin d'assurer une correcte combustion. Vous ne devez pas recharger de combustible votre apparéil avant que la charge antérieure ne se soit consummée et qu'il reste seulement le lit de braises nécessaire à la reprise de la combustion.
- Pour arriver à une combustion au ralenti vous devrez régler l'intensité du feu par les tirages d'air. Ceux-ci dévont rester toujours libres d'accès pour permettre une bonne circulation de l'air de combustion.
- Il est normal que le joint en fibre de verre se désintègre. Bien que le poèle puisse fonctionner sans le joint, nous vous recommendons de le changer chaque saison.
-
Le tiroir sert à retirer les cendres. Videz le régulièrement sans attendre qu'il se replissse trop afin d'éviter que se détirole la grille.
Sachez que jusqu'à 24 heures après, les cendres peuvent être encore chaudes. -
N'ouvre pas la porte de l'appareil brusquement afin déviter que la fumée ne sorte. N'ouvre jamais la porte sans avoir ouvert avant le registre. Ouvrez la porte seulement quand vous doivent charger le poèle avec le combustible ajustat.
- La vitre, les pieces en laiton et l'appareil en general peuvent atteindre des températures élevées, attention aux risques de brûlures lors de l'utilisation. Pour manipuler ces pieces, utilisez le gant fourni avec le poèle.
- Tenez eloignés les jeunes enfants pour éviter des brûlures lors de l'utilisation.
- Si le démarrage du poèle cause certains problèmes (Inter-saison, cheminée froide...). Vous pouvez allumer un feu d'appoint avec du papier froissé ce qui aidera àmettre en marche le poèle.
- Dans le cas de surchauffe, fermez le tirage d'air pour réduire l'intensité du feu.
- Dans le cas de mauvais fonctionnement, fermez le tirage d'air et consultez le fabricant.
- Pour obtenir les最好的 prestations de l'appareil, lors de l'allumage commencer par ouvré seulement l'air primaire et lorsque le feu est bien vif (1 ou 2 minutes) fermer la plus grande partie de l'air primaire en laissant une très légère ouverture et ainsi laisser une combustion très lente.
ENTRETIEN
- Un nettoyage quotidien de la vitre permet d'éviter le dépôt de suie sur le verre. Utilisez pour cela un nettoyant spécial vendu dans le commerce. N'utilisez jamais d'eau. Ne tentez jamais de nettoyer votre poèle en fonctionnement.
- Il est aussi très important de nettoyer régulièrement les conduits de fumée de l'appareil et vous devrez vous assurer l'absence de bloquage avant de remettre en marche l'appareil après une période prolongée de non allumage.
- Chaque début de saison, il est important qu'un professionnel réalise l'entretien de votre installation.
- Dans le cas d'un incendie de cheminée, si vous le pouvez, fermez les tirages d'air et contactez immeditatement les autorités.
- Toute piece de rechange doit être recommendée par le fabricant.
- La fibre de verre qui est utilisé pour les oints peut se dégrader avec le temps. Dans le cas ou cela se produit, il faudrait alors procédé à son remplacement.
GARANTIE
Cet apparéil est un produit de qualité qui a été fabriqué avec le plus grand soin. Si malgré tout, vous constatiez une anomalie, commencez par demander conseil au revendeur. Si ce dernier n'est pas en mesure de vous solutionner le problème, il nous contactera et, si la situation l'excige nous enverra l' apparéil. Le délambda de garantie étant de deux ans à compter de la date d'achat, nous nous engage ons à remplacer gratuitement les pieces défectueuses pendant ce délambda. Néanmoins les frais de transport sont à la charge du client.
Étant donné que ce dispositif a été testé par un laboratoire agréé, ne sont pas couverts par la garantie les pieces suivantes:
-Vitre
-La grille en fonte
- Vermiculite
- Poignées (de la porte et tirage)
A l'intérieur de l'emballage se trouve une fiche de contrôle de qualité, nous vous prions de la remettre au revendeur en cas de réclamation.
MESURES ET CHARACTERISTIQUES
| - Hauteur | 800 mm |
| - Largeur | 800 mm |
| - Profondeur | 458 mm |
| - Poids | 128 Kg |
| - Porte entrée bois | 607 x 273 mm |
| - Sortie fumée | 200 mm |
| - Corps en acier de 5 mm. | |
| - Grille en fonte | |
| - Peinture résistante à 800 °C | |
| - Vitre vitrocéramique 750 °C | |
| - Bûches jusqu'à 60 cm |
| - Puissance nominale | 8.1 kW |
| - Rendement | 79.3 % |
| - Emission de CO | 0.15 % |
| - Tirage minimum de la cheminée pour puissance nominale | 12,3 Pa |
| - Débit massique des fumées | 6.3 g/s |
| - Température des fumées | 290 °C |
| - Distance par rapport aux materiaux combustibles adjacentes | 70 cm |
| - Volume de chauffe (aprox.) | 250 m³ |
| CE EN 13240: 2001 & A2: 2004 | HIJODEMIGUEL PANADERO P.I. CAMPOLLANO AVENIDA 5a, 13-15 02007 ALBACETE-SPAIN |
| POÉLE A BOIS "MAJA".11 POÉLE INDEPENDANT A COMBUSTIBLE SOLIDE COMBUSTION INTERMITTENTE CERTIFICATE № EZKA/11/054-10b DECLARATION DES PERFORMANCES .11220 L ORGANISME NOTIFIE.0608 | |
| Puisance calorifique.8.1 kW Rendement énergétique.79.3% Emission de CO par les produits de combustion.0.15% Temperatures des produits de combustion 290 °C Distance par rapport aux matériaux combustibles.70 cm Type de combustible.Bois et briquettes Utiliser exclusivement des combustibles recommends Suivre les instructions dutilisation | |




TÜVRheinland®
CERT
ISO 9001
HIJO DE MIGUEL
PANADERO
P.I. CAMPOLLANO
A V E N I D A 5°, 13-15
02007 ALBACETE - SPAIN
Telf.: (+34) 967 59 24 00
Fax: (+34) 967 59 24 10
panadero@panadero.com
Notice Facile