ADRIAN - Radiateur eau chaude RADIATORI 2000 - Notice d'utilisation et mode d'emploi gratuit
Retrouvez gratuitement la notice de l'appareil ADRIAN RADIATORI 2000 au format PDF.
| Intitulé | Description |
|---|---|
| Type de produit | Radiateur électrique à convection |
| Caractéristiques techniques principales | Chauffage rapide, thermostat intégré, design moderne |
| Alimentation électrique | 230 V, 50 Hz |
| Dimensions approximatives | 80 cm x 50 cm x 10 cm |
| Poids | 8 kg |
| Compatibilités | Compatible avec les systèmes de domotique |
| Puissance | 2000 W |
| Fonctions principales | Chauffage, programmation hebdomadaire, mode éco |
| Entretien et nettoyage | Nettoyage avec un chiffon humide, pas de produits abrasifs |
| Pièces détachées et réparabilité | Disponibilité de pièces de rechange sur demande |
| Sécurité | Protection contre la surchauffe, arrêt automatique en cas de basculement |
| Informations générales | Garantie de 2 ans, installation facile |
FOIRE AUX QUESTIONS - ADRIAN RADIATORI 2000
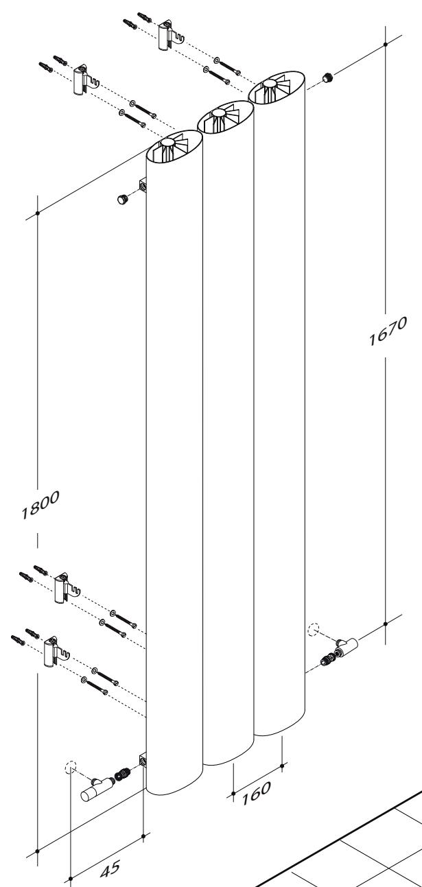
Comment installer le radiateur RADIATORI 2000 ADRIAN ?
Pour installer le radiateur, commencez par couper l'alimentation en eau et en électricité. Fixez le radiateur au mur à l'aide des supports fournis, puis branchez les conduites d'eau. Assurez-vous que tout est bien étanche avant de rétablir l'alimentation.
Quels sont les dimensions du RADIATORI 2000 ADRIAN ?
Les dimensions du radiateur RADIATORI 2000 ADRIAN sont de 2000 mm de longueur, 600 mm de hauteur et 100 mm de profondeur.
Que faire si le radiateur ne chauffe pas ?
Vérifiez que le thermostat est réglé correctement. Assurez-vous également que le robinet d'alimentation en eau est ouvert. Si le problème persiste, il peut être nécessaire de purger le radiateur pour éliminer l'air emprisonné.
Comment nettoyer le radiateur RADIATORI 2000 ADRIAN ?
Pour nettoyer le radiateur, utilisez un chiffon doux et un nettoyant non abrasif. Évitez d'utiliser des produits chimiques agressifs qui pourraient endommager la surface.
Le radiateur est-il compatible avec un thermostat intelligent ?
Oui, le radiateur RADIATORI 2000 ADRIAN est compatible avec la plupart des thermostats intelligents disponibles sur le marché.
Comment régler la température du radiateur ?
La température peut être réglée à l'aide du thermostat intégré. Tournez le bouton pour augmenter ou diminuer la température souhaitée.
Quelle est la garantie du RADIATORI 2000 ADRIAN ?
Le radiateur RADIATORI 2000 ADRIAN est garanti 2 ans contre tout défaut de fabrication.
Que faire si le radiateur fuit ?
En cas de fuite, éteignez immédiatement l'alimentation en eau et contactez un professionnel pour évaluer et réparer le problème.
Peut-on utiliser le radiateur pour chauffer une grande pièce ?
Oui, le RADIATORI 2000 ADRIAN est conçu pour chauffer efficacement des pièces de taille moyenne à grande, selon le niveau d'isolation et la configuration de la pièce.
Quels types de fluides sont compatibles avec le RADIATORI 2000 ADRIAN ?
Le radiateur est compatible avec les systèmes de chauffage à eau chaude et peut utiliser des fluides de chauffage standard.
Téléchargez la notice de votre Radiateur eau chaude au format PDF gratuitement ! Retrouvez votre notice ADRIAN - RADIATORI 2000 et reprennez votre appareil électronique en main. Sur cette page sont publiés tous les documents nécessaires à l'utilisation de votre appareil ADRIAN de la marque RADIATORI 2000.
MODE D'EMPLOI ADRIAN RADIATORI 2000

Radiateur en 3 éléments: 1 trou sur le collecteur pour placement diaphragme.
Radiateur a partir de 4 elements: 2 trous sur le collecteur pour placement diaphragme.


Notice Facile