MODE D'EMPLOI BASIC, 300 L EQUATION
FR Notice de montage, utilisation et entretien
EQ2-xxx
EAN CODE:3276000588825
EAN CODE:3276000588849
EAN CODE:3276000588863
EAN CODE:3276000588887
EAN CODE:3276000588900
EAN CODE:3276000588924

FR CHAUFFE-EAU ÉLECTRIQUE
| Modèle | Puissance maximale (W) | Voltage (V) | Connexion hydraulique (Ø) | A (mm) | B (mm) | C (mm) | Poids du chauffe-eau rempli (kg) |
| 50 L | 1500 | 220-240V | 1/2" | 433 | 445 | 624 | 66 |
| 75 L | 1200 | 220-240V | 3/4" | 505 | 525 | 770 | 100 |
| 100 L | 1200 | 220-240V | 3/4" | 505 | 525 | 915 | 128 |
| 150 L | 1800 | 220-240V | 3/4" | 505 | 525 | 1240 | 185 |
| 200 L | 2400 | 220-240V | 3/4" | 505 | 525 | 1565 | 243 |
| 300 L | 3000 | 220-240V | 3/4" | 575 | 590 | 1780 | 373 |
| ∅ 1/2" | ∅ 3/4" | 50 L |
| x2 | x2 | 75 à 100 L |
| ∅ 1/2" | ∅ 3/4" | |
| 50 L | 75 à 300 L | |
| | | 150 à 200 L |
FR
AVERTISSEMENTS GÉNÉRAUX
Cet apparéil n'est pas destiné à être utilisé par des personnes (y compris des enfants) représentant un handicap physique, sensoriel ou mental, ou par des personnes dénuées d'expérience ou de connaissances, sauf si elles ont pu bénéficier, par l'intémédiaire d'une personne responsable de leur sécurité, d'une surveillance adequate ou d'instructions préalables concernant l'utilisation de l' apparéil. Les enfants doivent être surveillés afin de s'assurer qu'ils ne jouent pas avec l' apparéil.
Cet apparéil peut être utilisé par des enfants âgés d'au moins 8 ans et par des personnes représentant des capacities physiques, sensorielles ou mentales réduites, ou dénuées d'expérience ou de connaissances, s'ils sont correctement surveillés ou s'ils ont reçu les instructions nécessaires à une'utilisation sécurisée de l' apparéil et que les risques sont pris en considération. Les enfants ne doivent pas journer avec l' apparéil. Le nettoyage et l'entretien ne doivent pas été effectuels par des enfants sans surveillance.
ATTENTION! Article lourd. Manipuler avec soin :
- Installer l'appareil dans une piece à l'abri du gel. L'appareil n'est pas couvert par la garantie s'il est endommagé suite au blocage du groupe de sécurité.
- S'assurer que le mur sur lequel l'appareil est monté peut supporter le poids de l'appareil rempli d'eau.
- Si l'appareil doit être installé dans une piece ou un endroit où la température ambiente est supérieure à 35^ , il convient d'apporter une ventilation suffisante.
- Dans une salle de bains, l'appareil ne doit pas être installé dans les volumes V1 et V2 (Voir fig. 1.1, p. 15). Si lechauffe-eau doit être installé au-dessus d'un espace de vie, un bac de détention avec une évacuation raccordée à l'égout devra être installé. Lechauffe-eau doit être installé dans un endroit facile d'accès.
-
En cas d'utilisation de tuyaux PER, il est fortement recommandé dinstaller un régulateur thermostatique sur le tuyau de sortie de l'appareil. Il sera réglé en fonction de la performance du matériel utilisé.
-
Installation d'un apparéil mural vertical : afin de permettre le remplacement de l'élement chauffant, laisser un espace libre de 500 mm entre les extrémités des tubes et le mur ou le meuble fixe.
- Pour éviter tout risque de blessure ou de chocolélectrique, couper l'alimentation électrique avant desteroler le capot.
- L'installation doit être équipée, en amont de l'appareil, d'un dispositif de coupure bipolaire (fusible, disjoncteur) conforme aux réglementations locales (disjoncteur différentiel 30 mA).
- Si le cable d'alimentation est endommagé, il doit être remplaçé par un cable ou un ensemble spécial disponible auprès du fabricant ou du service après-vente.
- Un groupe de sécurité (ou tout autre nouveau dispositif permettant de limiter la pression de la cuve) à 0,7 ou 0.9MPa (7 ou 9 bars), selon la pression nominale, et de dimensions 1/2 ou 3/4 sera obligatoirement installé sur l'entrée du chauffe-eau, à l'abri du gel et dans le respect des réglementations locales.
- Faire fonctionner de façon régulière le dispositif de vidange du groupe de sécurité afin d'eviter la formation de calcaire et vérifier qu'il n'est pas bloqué.
- Les accessoires hydrauliques ne doivent pas se trouver entre le groupe de sécurité et l'arrivée d'eau floide. Un réducteur de pression (non fourni) est requis lorsque la pression d'alimentation en eau est supérieure à 0,5 MPa (5 bars) et devra être installé sur l'alimentation principale.
- Raccorder le groupe de sécurité à un tuyau d'évacuation non pressurisé, à l'abri du gel, avec une pente continue permettant d'évacuer l'eau pendant la chauffe ou la vidange du chauffe-eau.
- Les tuyaux utilisés doivent supporter 1 MPa (10 bars) et 100^ .
- Ne jamais allumer le chauffe-eau sans eau.
- Pour vidanger l'appareil : couper l'alimentation électrique et l'arrivée d'eau froide, ouvrir les robinets d'eau chaude et manoeuvrer la valve de sécurité.
-
Les produits décrits dans ce manuel peuvent être modifiés à tout moment afin d'être en conformité avec la technologie et les normes. Ces apparèils sont conformes aux directives 2014/30/UE concernant la compatibilité electromagnétique, 2014/35/UE concernant la basse tension, 2015/863/UE et 2017/2102/UE complétant la directive 2011/65/UE concernant la ROHS et au règlement 2013/814/UE complétant la directive 2009/125/EC pour l'écoconception.
-
Traitement des apparils électriques et électroniques en fin de vie (Applicable dans les États membres de l'UE). Ce pictogramme
indique que ce produit ne doit pas etre eliminé avec des
déchets menagers non triés. Un système d'élimination et de traitement spécifique aux équipements électriques etlectroniques usages, dont l'utilisation est obligatoire,
a été mis en place complenant un droit de reprise gratuite de l'équipement usage à l'occasion de l'achat d'un équipement neuf et une collecte sélective par un organisme/agréé. Pour plus de renseignements vous pouvez vous adresser à votre magasin ou à votre mairie. Une élimination correcte des équipements ELECTriques et Electroniques usages garantit un traitement et une valorisation appropriée permettant d'éviter des dommages à l'environnement et à la santé humaine et de préserver les ressources naturelles.

- Ce produit est destiné à être utilisé à une altitude maximum de 3000 m.
- Toujours connecter le fil de terre du cable à la terre ou à la borne appropriée identifiée par le symbole © .
- Le livre d'instruction de ce produit est disponible auprès du service après-vente (page 9).
- Se reporter aux figures d'installation (pages 15 à 17).
FR INSTALLATION
- INSTALLATION DU PRODUIT. Voir « Avertissements généraux » de N° 1 à N° 6
Pour l'installation du produit, se reporter aux schémas de la section 1, pages 15 à 17.
2. CONNEXION HYDRAULIQUE
Pour le raccordement hydraulique, se reporter aux schémas de la section 2, page 18. La tuyauterie d'alimentation doit être nettoyée avant de procéder au raccordement hydraulique. Afin d'eviter la corrosion du tuyau (contact direct fer/cuivre), le raccordement à la sortie d'eau chaude doit être réalisé avec un raccord dielectrique. L'utilisation de raccords en laiton est interdite.
L'installation doit composer un réducteur de pression si la pression d'alimentation est supérieure à 0,5 MPa (5 bar). Le réducteur de pression doit être monté au départ de la distribution générale. Une pression de 0,3 à 0,4 MPa (3 à 4 bar) est recommendée. L'installation doit être effectue avec un groupe de sécurité taré à 0,7 MPa (7 bar) (non fourni), neuf, de dimensions 1/2 ou 3/4 suivant la capacité installée.
Il est obligatoire de placer le groupe de sécurité NEUF directement sur l'entrée d'eau froide, et à l'abri du gel.
En outre, il ne faut absolument pas qu'en cas de surpression, l'écoulement en résultat puisse être freiné. Raccorder l'organe de sécurité à un tuyau de vidange maintenu à l'air libre, dans un environnement hors gel, en pente continue vers le bas, pour évacuer l'eau de dilatation de la chauffe ou l'eau en cas de vidange du chauffe-eau. Ceci implique que le tube de vidange ait un diamètre adapté au débit.
3. CONNECTION ELECTRIQUE
Pour le raccordement électrique, se reporter aux schémas de la section 3, pages 19-20.
- Le chauffe-eau peut être raccordé et utilisé uniquement sur 220-240 V CA. Raccarder le chauffe-eau à l'aide d'un cable rigide avec des conducteurs de 2,5mm^2 . Utiliser une canalisation standardisée (conduit rigide ou flexible) jusqu'à capot du boîtier établient.
- Toujours raccorder le fil de terre du cable à la terre ou à la borne appropriée identifiée par le symbole 1 2 Pour des raisons de sécurité, ce raccordement est obligatoire. Le fil de terre, vert - jaune, doit être plus long que les fils des phases. L'installation doit être équipée, en amont de l'appareil, d'un dispositif de coupure bipolaire (fusible, distance de contact minimum de 3mm , disjoncteur). Dans le cas où les raccords hydrauliques sont en matière isoèle, les circuits électriques doivent être protégés par un disjoncteur différentiel de 30~mA adapté aux normes locales.
Coupe-circuit thermique (voir les schémas de la section 3, pages 19-20): tous nos produits sont équipés d'un thermostat avec coupe-circuit thermique et d'un réarmement manuel qui coupe l'alimentation électrique du chauffe-eau en cas de surchauffe.
Si la sécurité se déclenché couper l'alimentation électrique et réarmer le coupecircuit thermique.
Si le coupe-circuit continue à se déclencher, remplacer le thermostat. Ne jamais court-circuiter la coupure de sécurité ou le thermostat. Raccorder l'alimentation électrique uniquement via la borne.

Les modeles dotés d'un élément chauffant électrique seraient certainement endommages.
- Remplir entièrement la cuve. Avant d'allumer le chauffe-eau, ouvrir les robinets d'eau chaude et vidanger les tuyaux afin d'évacuer l'air.
- Vérifier l'étanchéité des tubulures et du joint de bride sous le capot en plastique. En cas de fuite, desserrer de façon modérée. Vérifier le fonctionnement des composants hydrauliques et du groupe de sécurité.
-
Allumer le chauffe-eau. ÀpRES 15 à 30 minutes, selon la capacité de l'appareil, l'eau devrait s'écouler par le drain. C'est normal, cela est dû à l'expansion de l'eau. Vérifier l'absence de fuite au niveau des raccords et, si nécessaire, rétabrir l'étanchéité. Pendant la chauffe et selon la qualité de l'eau, les cuves d'eau chaude peuvent faire un bruit de bouillonnement. Ce bruit est normal et n'indique pas un défaut de l'appareil.
-
TÉMOIN D'ALIMENTATION POWER Ce témoin lumineux indique que les pièces actives de l'appareil sont alimentées. Le témoin lumineux d'alimentation est indépendant du statut du thermostat de sécurité. Le témoin reste allumé, tant que l'appareil est alimenté en électricité.
- TÉMOIN DE CHAUFFE Ce témoin indique que le chauffe-eau chauffe l'eau et que l'élement chauffant est en marche.
3. MOLETTE DE RÉGULATION
- Position hors-gel
- Position ECO (sentir le cliC)
- Position MAX
(Consulter le schéma 4, page 21).

MAINTENANCE
- ATTENTION! Avant dePTRer le capot en plastique, assurez-vous que l'alimentation electrique est coupée afin d'eviter tout risque de blessure ou de chocoléctrique.
1. ENTRETIEN PAR L'UTILISATEUR
Une fois par mois, faire fonctionner le dispositif de vidange de la valve de sécurité afin d'éviter la formation de calcaire et à vérifier que le groupe de sécurité n'est pas bloqué. Si cela n'est pas fait, des dommages pourraient survenir et la garantie
pourtrait être invalidée. Si l'installation comporte une pompé de surpression, avant de la démarrer après une longue période d'inactivité, tournier le rotor conformément aux instructions du fabricant.
2. ENTRETIEN PAR UN PERSONNEL QUALIFIÉ
- Détartrage :sterol les depôts de calcaire. Ne pas racler ou taper pour décrocher la couche de calcaire. Cela pourrait endommager le revêtement.
- Anode en magnésium : changer l'anode en magnésium tous les 2 ans ou si son diamètre est inférieur à 10 mm.
- Élement chauffant : le remplacement d'un élément chauffant gainé implique la vidange du chauffe-eau et le remplacement du joint de bride. Remonter l'élement chauffant, serrer raisonnablement les écrous (serrage en croix), vérifier l'absence de fuite à l'issue de la première chauffe, desserrer si nécessaire.
- Vidange: couper l'alimentation électrique et l'alimentation d'eau froide; ouvrin les robinets d'eau chaude et la valve de vidange du groupe de sécurité.
List des pièces détaches : joint de bride, anode en magnésium (voir section 5, page 22).
Conseils aux utilisateurs
Lorsque l'eau a un TH >20^ f, il est recommandé de la traiter avec un adoucisseur. Si vous utilisez un adoucisseur, la durée de l'eau doit rester au-dessus de 15^ f.
En cas d'absence prolongée, tout particulièrement en hiver, vidangez votre apparéil en suivant la procédure ci-dessus.
Ce chauffe-eau est équipé d'un thermostat ayant une température de fonctionnement supérieure à 60^ en position maximale (voir schéma page 21), capable de limiter la prolifération des bacteriés de Legionella dans le réservoir.
- Attention! Au-dessus de 50^ , l'eau peut provoquer immédiatement de graves brûlures. Faire attention à la température de l'eau avant un bain ou une douche.

PORTEE DE LA GARANTIE
Le chauffe-eau doit être installé, utilisé et entretenu conformément aux bonnes pratiques et dans le respect des normes en vigueur dans le pays où il est installé et des instructions containues dans leprésent document.
Au sein de l'Union Européenne, cet apparil est couvert par la garantie légale accordée aux consommateurs conformément à la directive 1999/44/CE. Cette garantie entre en vigueur au moment où l' apparil est livré au consommateur.
Outre la garantie légale, certains éléments sont couverts par une garantie supplémentaire portant uniquement sur l'échange gratuite de la cuve et des composants identifiés comme défectueux. Cela n'inclut pas les frais de remplacement ou de transport.
Voir le tableau ci-dessous. Cette garantie commerciale n'affecte pas vos droits légaux. Elle s'applique dans le pays où le produit a été acheté, à la condition qu'il soit également installé dans ce même pays. Le revendeur doit être informé de tout dommage avant que le produit soit échangé sous garantie et l'appareil doit être mis à la disposition des experts de la Compagnie d'assurance et du fabricant pour inspection.
| Garantie légale | 2 ans |
| Garantie commerciale supplémentaire sur cuve émaillée | 3 ans (soit 5 ans) |
| Pièces et main d'œuvre | 2 ans |
Exclusions : pièces d'usure : anodes en magnésium. Équipement qui ne peut pas être évalué (accès difficile pour les réparations, l'entretien ou l'évaluation). Équipement exposé à des conditions environnementales anormales : gel, intempéries, eau anormalement agressive ou non conforme aux normes relatives à l'eau potable, surtensions électriques. Équipement installé sans tenir compte des normes en vigueur dans le pays d'installation : absence ou mauvaise installation des dispositifs de sécurité, corrosion anormale due à des raccords d'eau inappropriés (contact fer/cuivre), mauvaise mise à la terre, épaisseur de cable inadaptée, non respect des schémas de raccordement disponibles dans les Presents instructions.
Équipement n'était pasenetretenu conformément aux présentes instructions. Réparations ou remplacement de pieces ou de composants de l'équipement n'avant pas été effectuels ou n'avant pas été autorisés par l'entreprise responsable de la garantie. Le changement d'un composant ne rallonge pas la durée de la garantie
Les produits illustrés dans les prsentes instructions peuvent être modifiés à tout moment afin de reflérer les changements de fabrication et les normes en vigueur.
Pour faire fonctionner votre garantie, contactez votre installereur ou votre revendeur. Si nécessaire, contactez :
FRANCE:
Certaines opérations peuvent nécessiter les compétences d'un professionnel. Pour toutes questions, appelezez le 0977401016 Service gratuite du lundi au vendredi de 8h à 12h30 et de 13h30 à 18h.
L'installation du chauffe-eau doit avoir lieu dans un local dont la température reste au-dessus de 5^ (risque de gel dans le groupe de sécurité pouvant générer des surpressions dans le chauffe-eau).
| Type / Récurrence : | | GARANTIE LÉGALE |
| Numéro de série : | |
| Nom et adresse du client : | |

GUIDE DE DÉPANNAGE
1-CONSULTEZ LES TABLEAUX D'AIDE AU DÉPANNAGE PAS D'EAU CHAUBE
I - À contrôler par l'usage :
- Vérifier que levoyant d'alimentation POWER est allumé
- La molette n'est pas régée en mode hors gel
- Vérifier qu'un dispositif de protection ne soit pas abaisse (disjoncteur) ou replacer le fusible
Si les étapes du point I sont vérifiées et que le problème n'est pas résolu, procéder comme ci-dessous.
- Attention! Les manipulations suivantes nécessitent l'intervention d'un professionnel qualifié.
Les mesures de tension doivent être effectuées avec un multimètre. L'utilisation d'un « Tournevis testeur » est dangereuse car il ne permet pas la vérification fiable de présence de tension ou d'absence de tension.
II - Les manipulations suivantes nécessitent de s'assurer, à chaque étape, que l'appareil a bien été mis hors tension à l'aide d'un Vérificateur d'Absence de Tension (V.A.T.).
- Couper l'alimentation électrique et vérifier l'absence de tension au niveau du raccordement électrique de l'appareil au réseau électrique du logement.
- Vérifier que le coupe-circuit thermique (voir schéma 3 pages 19-20) ne s'est pas déclenché en appuyant sur le petit bouton rond au centre.
Si le coupe-circuit thermique ne s'était pas déclenché, procédéer aux mesures ci-dessous :
III - Mesurer la tension avec un multimètre à chacun des points suivants :

50L

75 à 300 L
| Repère | Descriptif du point de prise de tension | S'il n'y a pas de courant |
| 1 | Au raccordement du chauffe-eau sur l'alimentation électrique du logement | Problème d'alimentation à corriger par un électricien |
| 2 | À la sortie de la sécurité thermique | Sécurité thermique Hors Service |
| 3 | Au niveau de la résistance électrique | Problème de thermostat |
Si la tension est bonne sur la totalité des points précédents, couper l'alimentation électrique, débrancher la résistance (repère 3) et mesurer la résistance ohmique de la résistance. Si la valeur est de 0 Ohm, alors la résistance est hors service : elle est à replacer.
| Actions à mener | Solution | Cause possible |
| 1/ Vérifier la position de la molette sur le boîtier de commande | Positionner le thermostat au maximum (MAX) en tournant la molette au maximum à droite | Réglage du thermostat trop bas |
| 2/ Ouvrir un robinet d'eau chaude de l'habitation | Vérifier la résistance, la replacer si nécessaire | Défaut d'alimentation |
PROBLÉME DE FUITE
Couper l'alimentation électrique puis procéder à la vidange du chauffe-eau (voir Maintenance, Article 2)
| Actions à mener | Solution | Cause possible |
| Localiser la fuite : au niveau des raccords d'eau froide et eau chaude (Voir Maintenance, Article 2) | Refaire l'ensemble des raccords. (Voir schémas 2, page 18). | Mauvaise étanchéité des raccords |
| Localiser la fuite : au niveau des écrous sous le capot plastique (Voir Maintenance, Article 2) | Procedure au remplacement du joint d'étanchéité | Joint d'étanchéité déterminé |
| Localiser la fuite : au niveau de la cuve (Voir Maintenance, Article 2) | Remplacer le chauffe-eau | Corrosion de la cuve |
| Vérifier que le bruit a lieu quand le chauffe-eau est en cours de chauffe | Si le bruit à lieu pendant la chauffe, procéder au détartrage du chauffe-eau (Voir Maintenance, Article 2) | Chauffe-eau entartré |
| Si le bruit n'a pas lieu pendant la chauffe ou s'il s'agit de bruits de claquements ou s'il a lieu au moment de l'ouverture d'un robinet, faire intervenir un plombier pour qu'il trouve l'origine du problème | Le chauffe-eau n'est pas en cause |
EAU TROP CHAUBE
| Actions à mener | Solution | Cause possible |
| Baisser légèrement le réglage du thermostat en tournant la molette dans le sens inverse des aiguilles d'une montre (Voir Installation et Mise en marche) | Régler le thermostat à la température souhaitée | Thermostat réglé au maximum |
Faites réparer cet apparéil par une personne qualifiée.
Ce produit électrique est conforme aux normes de sécurité en vigueur. Les réparations ne devont être réalisées que par des techniciens qualifiés utilisant des pieces de rechange d'origine. Tout manquement à cette consigne peut s'avérer particulièrement dangereux pour les usagers.
2-SI LE PROBLÉME PERSISTE, RELEVEZ LES RÉFERENCES DE VOTRE PRODUIT
| IP24 C E A R
Rapantry / Warranty:
2 roda / 2 years
Zebet: 6elbien | EQUATION
921458
Es-AS015PCBKC-B12MMMU08DLL
EQ2-15-1
1200 W (Bt)
220-240 V~ (B)
0,8 MPa (8 bar)
BmeCTIMoCTb: 15l/15dm3(n)
Дата prorozbrodtsa: 12/2018
N/S: 184810001
SN: 0927390203121801000001
UF: 1709ED
Сденив ВЕRUEN | Code
Référence |
| Homnailhajma Mooshoctb: 1200 W (Bt)
Homnailhajma HarnpajceHne: 220-240 V-(B)
Macca HETTO: NW: xx kg (Kg)
Pazempei (B x w x d/r): xx*xx*xx cm (cm)
Пожибочьпел/Manufacturer:
Atlantic Engineering Company for Energy Technology (ECET)
3A3EMJIHNE OБЯ3ATEЛьно
ADEO Services: 135 rue Sadi Carnot
CS0001 - 59 790 RONCHIN - FRANCE | 1 pc
H*W*D: xx*xx*xx cm (cm) | |
| D W H
0927390283121801000001
0927390283121801000001
0927390283121801000001
0927390283121801000001
0927390283121801000001
0927391203121801000001
0927391203121801000001
0927391203121801000001
0927391203121801000001
09273912031218011000001
09273912031218011000001
09273912031218011000001
09273912031218011000001
0927391203121801100
0927391203121801100
0927391203121801100
0927391203121801100
0927391203121801100
0927391203121801101
0927391203121801101
0927391203121801101
0927391203121801101
0927391203121801101
0927391203121801102
0927391203121801102
0927391203121801102
0927391203121801102
0927391203121801102
0927391203121801103
0927391203121801103
0927391203121801103
0927391203121801103
0927391203121801103
0927391203121801104
0927391203121801104
0927391203121801104
0927391203121801104
0927391203121801104
0927391203121801105
0927391203121801105
0927391203121801105
0927391203121801105
0927391203121801105
0927391203121801106
0927391203121801106
0927391203121801106
0927391203121801106
0927391203121801106
0927391203121801107
0927391203121801107
0927391203121801107
0927391203121801107
0927391203121801107
0927391203121801108
0927391203121801108
0927391203121801108
0927391203121801108
0927391203121801108
0927391203121801109
0927391203121801109
0927391203121801109
0927391203121801109
0927391203121801109
0927391203121801108
0927391203121801108
0927391203121801108
0927391203121801108
0927391203121801107
0927391203121801107
0927391203121801107
0927391203121801107
0927391203121801106
0927391203121801106
0927391203121801106
0927391203121801106
0927391203121801105
0927391203121801105
0927391203121801105
0927391203121801105
0927391203121801104
0927391203121801104
0927391203121801104
0927391203121801104
0927391203121801103
0927391203121801103
0927391203121801103
0927391203121801103
0927391203121801102
0927391203121801102
0927391203121801102
0927391203121801102
0927391203121801104
0927391203121801104
0927391203121801104
0927391203121801104
0927391203121801106
0927391203121801106
0927391203121801106
0927391203121801106
0927391203121801108
0927391203121801108
0927391203121801108
0927391203121801108
0927391203121801106
0927391203121801106
0927391203121801106
0927391203121801106
0927391203121801104
0927391203121801104
0927391203121801104
0927391203121801104
0927391203121801108
0927391203121801108
0927391203121801108
0927391203121801108
0927391203121801105
0927391203121801105
0927391203121801105
0927391203121801105
0927391203121801108
0927391203121801108
0927391203121801108
0927391203121801108
0927391203121801104
0927391203121801104
0927391203121801104
0927391203121801104
0927391203121801107
0927391203121801107
0927391203121801107
0927391203121801107
0927391203121801105
0927391203121801105
0927391203121801105
0927391203121801105
0927391203121801107
0927391203121801107
0927391203121801107
0927391203121801108
0927391203121801106
0927391203121801106
0927391203121801106
0927391203121801105
0927391203121801106
0927391203121801106
0927391203121801106
0927391203121801105
0927391203121801104
0927391203121801104
0927391203121801105
0927391203121801105
0927391203121801106
0927391203121801106
0927391203121801107
0927391203121801107
0927391203121801108
0927391203121801108
0927391203121801106
0927391203121801106
0927391203121801105
0927391203121801105
0927391203121801106
0927391203121801106
0927391203121801105
0927391203121801105
0927391203121801104
0927391203121801104
0927391203121801105
0927391203121801106
0927391203121801106
0927391203121801105
0927391203121801106
0927391203121801105
0927391203121801105
0927391203121801106
0927391203121801107
0927391203121801107
0927391203121801106
0927391203121801105
0927391203121801105
0927391203121801106
0927391203121801105
0927391203121801106
0927391203121801105
0927391203121801106
0927391203121801106
0927391203121801105
0927391203121801104
0927391203121801105
0927391203121801105
0927391203121801106
0927391203121801105
0927391203121801105
0927391203121801105
0927391203121801106
0927391203121801105
0927391203121801104
0927391203121801105
0927391203121801106
0927391203121801105
0927391203121801106
0927391203121801107
0927391203121801107
0927391203121801108
0927391203121801106
0927391203121801105
0927391203121801105
0927391203121801106
0927391203121801104
0927391203121801105
0927391203121801105
0927391203121801106
0927391203121801107
0927391203121801106
0927391203121801105
0927391203121801105
0927391203121801105
0927391203121801104
0927391203121801105
0927391203121801106
0927391203121801106
0927391203121801107
0927391203121801105
0927391203121801105
0927391203121801106
0927391203121801105
0927391203121801107
0927391203121801106
0927391203121801105
0927391203121801106
0927391203121801105
0927391203121801107
0927391203121801105
0927391203121801106
0927391203121801105
0927391203121801106
0927391203121801104
0927391203121801105
0927391203121801106
0927391203121801105
0927391203121801107
0927391203121801108
0927391203121801106
0927391203121801105
0927391203121801106
0927391203121801105
0927391203121801104
0927391203121801106
0927391203121801105
0927391203121801106
0927391203121801105
0927391203121801108
0927391203121801106
0927391203121801105
0927391203121801106
0927391203121801107
0927391203121801106
0927391203121801106
0927391203121801105
0927391203121801106
0927391203121801107
0927391203121801105
0927391203121801106
0927391203121801105
0927391203121801107
0927391203121801107
0927391203121801
0927391203
0927391203 | | |
Coordonnées SAV page 9.
1-Entrée d'eau froide
2-Réducteur de pression >0,5 MPa (5 bar)
3-Manchondielectrique
4-Groupe de sécurité
5-Siphon
6-Sortied'eauchaude

NE JAMAIS ALLUMER LE CHAUFFE-EAU SANS EAU

2.2
10L/min.
3
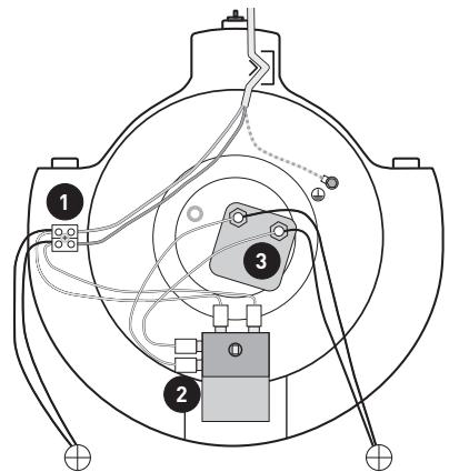
FR CONNEXION ÉLECTRIQUE

1-Cable d'alimentation
2 - Élement chauffant
3 - Thermostat de régulation
4-Témoin de chauffe lumineux
5 - Témoin d'alimentation lumineux
6 - Coupe-circuit thermique
7 - Régiment manuel

FR CONNEXION ÉLECTRIQUE

1 - Câble d'alimentation
2 - Élement chauffant
3 - Thermostat de régulation
4-Témoin dechauffe lumineux
5 - Témoin d'alimentation lumineux
6 - Coupe-circuit thermique
7 - Réarmement manuel

A. Témoin d'alimentation lumineux
B. Témoin de chauffe lumineux
C. Molette de régulation
- Position hors-gel
- Position ECO (sentir le cliç)
- Position MAX*

CONSOMMABLES
| Capacité | 50 L |
| Kit consommables: joint + anode | Kit N° 4 |
| EAN | 3276000639541 |
| Capacités | 75 L | 100 L | 150 L | 200 L |
| Kit consommables: joint + anode | Kit N° 2 |
| EAN | 3276000639527 |
| Capacité | 300 L |
| Kit consommables: joint + anode | Kit N° 3 |
| EAN | 3276000639534 |




PAP


Points de collecte sur www.quefaideresmedeches.fr Privilegiae la réparation ou le don de cette appellé
Garantie 5 ans pour la cuve.
Garantie 2 ans pour les pièces électriques et la main d'oeuvre*.
- Conformément au lieu en vigueur, le dernier vendeur du produit est tenu d'appliquer une garantie 2 ans pièces et main d'ouvre au consommateur.


50L


75 à 300 L
ADEO Services
135 rue Sadi Carnot - CS 00001
59790 RONCHIN - France