OLYMPIA - Pergola PALRAM - Notice d'utilisation et mode d'emploi gratuit
Retrouvez gratuitement la notice de l'appareil OLYMPIA PALRAM au format PDF.
| Intitulé | Détails |
|---|---|
| Type de produit | Abri de jardin en polycarbonate |
| Matériau de la structure | Aluminium et polycarbonate |
| Dimensions approximatives | Longueur : 2,5 m, Largeur : 2,5 m, Hauteur : 2,1 m |
| Poids | Environ 50 kg |
| Couleur | Transparent et gris |
| Utilisation | Rangement d'outils, abri pour plantes, espace de loisirs |
| Entretien et nettoyage | Nettoyer avec de l'eau savonneuse et un chiffon doux |
| Résistance aux intempéries | Résistant aux UV et aux chocs |
| Installation | Montage facile avec instructions fournies |
| Sécurité | Verre polycarbonate incassable, structure stable |
| Garantie | Garantie de 5 ans contre les défauts de fabrication |
| Accessoires inclus | Visserie et instructions de montage |
| Pièces détachées et réparabilité | Disponibilité de pièces de rechange via le fabricant |
FOIRE AUX QUESTIONS - OLYMPIA PALRAM
Téléchargez la notice de votre Pergola au format PDF gratuitement ! Retrouvez votre notice OLYMPIA - PALRAM et reprennez votre appareil électronique en main. Sur cette page sont publiés tous les documents nécessaires à l'utilisation de votre appareil OLYMPIA de la marque PALRAM.
MODE D'EMPLOI OLYMPIA PALRAM
① Fondation en béton :
FR
Utilisez les vis et les pattes de scellement fournies avec le kit de couverture de patio.
② Fondation en bois :
Utilisez des fixations appropriées pour le bois. Fixez-les dans le bois sur une profondeur minimale de 6 cm (2,4 po).
③ Fondation au sol:
Creusez des trous de 40 × 40 × 40 cm (15,8x15,8x15,8 po) dans le sol, puis replisssez-les de béton (voir le schéma correspondant).
*Pour les zones gelées, veuillez vérifier la profondeur nécessaire requise pour ces trouss
Pour tout autre type de surface dure / fondation :
Veuillez consulter un expert quant aux fixations compatibles à votre type de fondation
Important! La position des poteaux peut être ajustée au moment de l'installation. Le positionnement des poteaux est flexible, ce qui vous permet de les installer à distance de votre maison ou entre les poteaux situés à l'entrée.
① Betonovy základ:
CS
Lire attentivement ces instructions avant de commencer le montage de ce toit de terrasse. Suivez bien les étapes indiquées dans l'ordre indiqué.
Conserve ce mode d'emploi dans un endroit sur pour référence ultérieure.

Lorsque vous rencontrez l'icone information, merci de vous referez à l'étape d'assemblage appropriée pour toute remarque et assistance additionnelle.
Recommendations d'entretien et de sécurité
- Suivez les instructions dans l'ordre indiqué dans ce manuel.
- Vous venez d'acheter un grand abri de terrasse, veillez vous assurer que vous avez reçu toutes les boîtes mentionnées dans la page additionnelle du manuel d'instruction (Extension de votre abri de terrasse).
- Dès que vous étés prét à assemblerer votre abri de terrasse (vous pouvez commencer avec cette boîte), triez les pièces et vérifiez le contenu indiqué dans la liste des éléments.
- Vérifiez que le paquet contient bien toutes les pieces.
- Pour des raisons de sécurité, nous recommendons vivement que le produit soit assemblé par deux personnes au minimum.
- Certaines pieces comportent des arêtes en métal. Soyez prudent en manipulant les pieces.
- Toujours porter des gants, des chaussures et des lunettes de sécurité pendant le montage.
- N'essayez pas de procéder au montage s'il y a du vent ou s'il pleut.
- Se défaire de tous les emballages en plastique en veillant à ne pas les laisser à la portée des enfants.
- Eloignez les enfants du site de montage.
- N'essayez pas de monter le produit si vous âtes fatigué, si vous avez pris des médicaments ayant un effet sur votre état d'éveil, des drogues ou si vous avez bu de l'alcool, ni si vous âtes sujet à des vertiges.
- Lorsque vous utilisez une échelle ou des outils électriques, veiliez à suivre le mode d'emploi et les conseils de sécurité du fabricant des appareils.
- Ne pas grimper ni se tener sur le toit.
- Ne pas adosser des objets lourds contre les poteaux.
-
Ne pas accrocher ou poser des objets sur les profils.
-
Veuillez vérifier auprès des autorités locales si des permis de construire ou autres autorisations sont requis avant l'installation du produit.
- Une charge de neige trop lourde sur le toit entraine un risque d'endommagement du produit et de danger pour les personnes se tenant en dessous ou à proximité.
- Ce produit a été consçu pour être principalement utilisé comme bache pour patio.
- Si la peinture a été égratignée pendant le montage, elle peut être réparée.
Instructions de nettoyage :
Lorsqu'il vous faut nettoyer le produit, utilisez Un détergent doux et rincez à l'eau froide propre. Ne pas utiliser d'acétone, de produits abrasifs ni d'autres détergents spéciaux pour nettoyer le panneau.
Avant l'assemblage
- Ce produit doit être assemblé sur une base solide (tel que du béton ou de l'asphalte) et ancre au sol.
- Choisissez votre site avec soin avant de commencer l'assemblage.
- Triez et vérifie les pieces par rapport à la liste du contenu.
- La surface du site doit être nivelée (principalement en dessous des montants).
- Veuillez vous renseigner auprès des autorités locales afin de savoir si des permis sont nécessaires avant de débuter la construction du produit.
- Avant d'agrandir l'abri de la terrasse, plusieurs parties doivent être démontees et il est recommendé de les conserver dans un lieu sur pour une utilisation ultérieure.
- Remarque: Utilisez uniquement les pieces enregistrées dans la liste de contenu, certaines pieces peuvent être excédentaires.
Outils et matériel requis

T001 (fournis)
Remarques à prendre en compte pendant l'assemblage
- Servez-vous d'un support en matièreouple en dessous des pieces afin d'éviter les risques d'égratignures ou autres dommages.
- Veuillez you assurer d'avoir installe les panneaux avec le cote anti-UV vers l'extérieur (indiqué par l'inscription « THIS SIDE OUT») Retirez les stickers en plastique alors que les panneaux sont verrouillés en place.
- Les dimensions du produit sont ajustables en fonction de vos besoin particuliers :
- Le profilé de raccordement de paroi (supérieur-àrrière) est ajustable de 260 à 305 cm (102,4 à 120 po.) au-dessus du sol.
Cet ajustement s'effectue au moment de la prise de mesures et du perçage (étape 5).
Veuillez prendre note de la hauteur d'installation conseillée indiquée dans le Schéma A.
Veuillez noter que I'aspect du produit peut etre tegement modifie en consequence, mais que la charge de neige autorise reste la meme.
- La distance des montants par rapport à la paroi est ajustable de 226 à 286 cm (89 à 112,6 po.), comme indiqué dans le Schéma B1. La distance des montants par rapport aux bords des côts est ajustable de 5 à 54 cm (2 à 21,6 po.), comme indiqué dans le Schéma B2. Ces ajustements s'effectuent après l'assemblage et avant l'ancrage (étape 24), en faisant glisser les montants et les profilés 7040 +7041 sur les rails de profilés du toit.
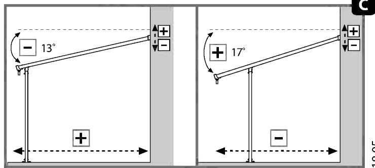
- Le raccordement à la paroi et la distance par rapport à celle-ci déterminent l'angle du toit et la profondeur totale du produit (distance de la gouttière par rapport à la paroi). Un raccordement plus élevé sur la paroi et une distance plus courte entre la paroi et les montants augmenteront l'angle du toit et réduiront la profondeur totale, comme montré dans le Schéma C.

Étapes :
Étape 7: Avant de commencer l'assemblage, il est important de bien préparer la zone d'installation, de marquer et de niveler la surface en respectant les instructions du mode d'emploi. Assurez-vous d'utiliser les bonnes vis et pattes de scellement.
Étape 13 : Appliquez les joints en silicone au-dessus de la poutre 7288 + 7290 afin d'empêcher l'eau d'y pénétrez.
Étape 15 : Vérifiéz que l'angle entre la paroi arrêté et les parois de soutenement soit bien de 90 degrés.
Étape 17: Veuillez vous assurer d'avoir installé les panneaux avec le côté anti-UV vers l'extérieur (indiqué par l'inscription « THIS SIDE OUT») Retirez les stickers en plastique alors que les panneaux sont verrouillés en place.
Étape 21b: Appliquée les joints en silicone des deux côtés de la partie reliant 8071 et 8072 afin d'éviter toute infiltration d'eau, comme vous pouvez le voir sur l'illustrération 19b.
Étape 22a: Appliquée les joints en silicone sur la face interne de 7997 et raccordez-le à la paroi, comme vous le voyagez sur l'illustration 20a.
Étape 22c: Ne serrez pas encore la vis 4043, car cela nous empêcherais d'effectuer les derniers ajustements décrits à l'étape 24b.
Étapes 24a et 24c: Ajustez les perches (à l'intérieur et sur les côts) en les faisant glisser vers leur position finale avant de les fixer. Assurez-vous bien du fait que la distance entre les perches et le bord du toit du patio ne dépasse pas 54 cm.
Étape 24b: Ajustez l'angle de la bouche de la gouttière en fonction de vos besoin, puis serrez la vis 4043.
Étape 26 : Il est nécessaire d'ancrer ce produit dans le sol afin d'assurer sa stabilité et sa rigidité. Notre garantie ne peut s'appliquer tant que vous n'avez pas effectué cette étape.
* Serrez toutes les vis à la fin de l'assemblage.
Remarque:
Le kit de fixation murale fournit avec ce produit peut uniquement etre utilise avec des murs en beton ou en briques. Les autres types de murs nécessitent un kit de fixation murale adapte.






- Legen Sie eine weiche Unterlage unter die Bauteile, um Kratzer und Beschädigungen zu vermeiden.
- Veuillez vous assurer d'avoir installé les panneaux avec le côté anti-UV vers l'extérieur (indiqué par l'inscription « THIS SIDE OUT») et de décoller le film recouvrant les panneaux.

Garantie limitée à 10 ans de Palram
Détails du produit: Abris de Jardin et Couvres Patio

Palram Applications (1995) Ltd (Compagnie n^ 512106824) dont le siège social est adressé au Parc Industriel Teradion, M.P. Misgav 2017400, Israel ("Palram") garantit que le Produit n'a aucurn début de matériel ou de manufacture pour une période de 10 ans à dater de la date d'acquisition, conformément aux définitions et conditions incluses dans cette garantie.
I. Garanties légales
1. Garantie de défaut caché
1.1 Conformément à l'article 1641 du Code Civil, l'acheteur est en droit demettre en œuvre la garantie pour vice caché dans un décai de 2 ans au plus tard a compter de la découverte du début.
1.2 Afin de bénéficier de cette garantie contre les défauts cachés, l'acheteur doit fournir (i) une preuve d'achat, (ii) la preuve que le défaut du produit était caché et existant au moment de l'achat du produit, et (iii) qu'un tel défaut rend le produit impropre à l'usage auquel il est destiné ou qu'il altère tellement l'utilisation du produit que l'acheteur ne l'aurait pas acheté, ou aurait seulement payé un prix moindre pour cela, aurait il/elle connu de tels défauts.
1.3 Conformément à l'article 1644 du Code civil, l'acheteur a lechioentre returner le produit aux frais de Parlam et se faire rembourser le prix, ou gérer le produit et se faire rembourser une partie du prix.
2. Garantie de conformité
1.1 En application des articles L.217-4 et suivants, du Code de la consommation, le produit doit, au moment de la livraison, être conforme au contrat. Toutre réclamation relative à un début de conformité du produit doit être représentée dans un délai de deux ans au plus tard à compter de la livraison du produit.
1.2 Afin de bénéficier de cette garantie de conformite, I'acheteur doit fournir une preuve d'achat.
1.3 En application de l'article L. 217-9 du Code de la consommation, en cas de défaut de conformité du produit, l'acheteur peutCHOISIR entre la réparation et le remplacement du produit.. Palram peut neaanmoins CHOIsR de ne pas proceder conformement au choix de l'acheteur si cechoix entraine un cout manifestement disportionné par rapport à l'autre option, compte tenu de la valeur du produit ou de la gravite dudefault.Palram procederait alors avec l'option non choisis par I'acheteur, a moins que cela s'avere impossible.
1.5 Si aucune réparation ou remplacement du produit n'est possible, l'acheteur peut returner le produit et obtenir le remboursement du prix ou garder le produit et obtérer le remboursement d'une partie du prix. La même option s'auppliesait également (i) si la solution demandée, proposée ou convenue conformément à l'article 1.3 ne peut être mise en œuvre dans le mois suivant la demande de l'acheteur, ou (ii) si cette solution ne peut être mise en œuvre sans inconvenient majorer pour l'acheteur compte tenu de la nature du produit et de son usage prévu. La vente ne sera toute fois pas annulée si le défaut de conformité est mineur.
Ces garanties legales s'appliquent qu'elle que soit la garantie commerciale définie ci-dessous.
II. Garantie commerciale
1. Conditions
1.1 Cette garantie ne sera valide que si le produit est instalé, nettoyé, manipulé et entretenu conformément aux recommendations écrites de Palram.
1.2 Sans déroger de ce qui est susdit, tout dommage causé par usage de la force, une mauvaise manipulation, un usage inapproprié, une utilisation, un montage ou une maintenance négligente, des accidents, un impact avec d'autres objets étrangers, du vandalisme, des polluants, un dégât, une peinture, connexion, collage, scellage qui n'est pas conforme avec le manuel de l'utilisateur ou tout dommage resultant de son nettoyage avec un détergent incompatible et les moirndes déviations du produit ne sont pas couverts par cette garantie.
1.3 Ce t g s a d m r d f i h, la tempete, une tornade, un oragan, un blizzard, une inondation ou les effets d'un incendie.
1.4 Cetie gantie est nulle si des parties de la structure et des composants ne sont pas compatibles avec les recommendations ecrites par Palram.
1.5 Cette garantie ne s'a applique qu'a l'acheteur d'origine du produit. Elle ne s'estend pas a tout autre acquereur ou utiliseatr du produit (y compris mais non limité à toute personne qui accuerrait le produit de son acquereur d'origine).
2. Réclamations et notifications
2.1 Toute réclamation de garantie (autre que les garanties légales énoncées dans la section I. ci-dessus) doit être notificationé par écrit à Palram dans les 30 jours suivant la découverte du produit défectueux, en joignant le reçu original et cette garantie.
2.2 Le demandeur doit permettre à Palram d'inspecter le produit implique et le site d'installation lorsque le produit est dans son emplacement d'origine et n'a pas ete enleve ou deplacé ni modifie de quelque facon et/ou envoyer le produit a Palram pour verification (les taxes et frais de ports n'est pas a la charge du client).
2.3 Palram se reserve le droit d'enquête indépendamment sur la cause de toute panne.
3. Compensation
3.1 Si une réclamation sous cette Garantie est convenablement notificationé et approuvée par Palram, l'acheteur, au besoin de Palram, peut soit
(a) acquérir un Produit de remplacement ou les pièces détachées nécessaires; ou (b) receivevoir un remboursement du prix d'achat du Produit d'origine:
| Période depuis bachat | Produit de remplacement ou partie | Remboursement |
| Jusqu'à un an après l'achat | Gratisuit | 100% |
| De la fin de la 1er année à la fin de la 2nde | L'acquéreur paiera 10% du prix d'achat d'origine | 90% |
| De la fin de la 2nde année à la fin de la 3e | L'acquéreur paiera 20% du prix d'achat d'origine | 80% |
| De la fin de la 3eannée à la fin de la 4theme | L'acquéreur paiera 30% du prix d'achat d'origine | 70% |
| De la fin de la 4thannée à la fin de la 5e | L'acquéreur paiera 40% du prix d'achat d'origine | 60% |
| De la fin de la 5eannée à la fin de la 6e | L'acquéreur paiera 50% du prix d'achat d'origine | 50% |
| De la fin de la 6eannée à la fin de la 7e | L'acquéreur paiera 60% du prix d'achat d'origine | 40% |
| De la fin de la 7eannée à la fin de la 8e | L'acquéreur paiera 70% du prix d'achat d'origine | 30% |
| De la fin de la 8eannée à la fin de la 9e | L'acquéreur paiera 80% du prix d'achat d'origine | 20% |
| De la fin de la 9eannée à la fin de la 10e | L'acquéreur paiera 90% du prix d'achat d'origine | 10% |
4. Conditions generales et limitations
4.1 MIS A PART CE QUI A ETE SPECIFIQUEMENT INDIQUE DANS CETTE GARANTIE, TOUTES LES AUTRES GARANTIES, EXPRESSES OU SOUS-ENTENDUES, Y COMPRIS TOUTES LES GARANTIES SOUS-ENTENDUES DE VALEUR MARCHANDE OU D'ADAPTABILITE POUR UN OBJECTIF PARTICULARI SONT EXCLUES POURS AUTANT QUE LA LOI LE PERMET.
4.2 MIS A PART LA OU NOUS L'AVONS SPECIFIQUÉMENT DECLARE DANS CETTE GARANTIE, PALRAM N'EST PAS RESPONSABLE DE TOUTE PERTE OU DOMMAGE DONT L'ACQUÈREUR SOUFFRIRAIT, DIRECTEMENT, INDIRECTEMENT OU EN CONSEQUENCE DE L'UTILISATION DU PRODUIT
OU DE TOUTE AUTRE MANIÈRE LIEE AU PRODUIT.
4.3 SI PALRAM N'AP S LE DROIT SELON LA MOINDER LOI APPLICABLE D'EXCLURE LES GARANTIES SOUS-ENTENDUES DE VALEUR MARCHANDE OU OD ADAPTABILITE A UNE FIN SPECIFIQUE EN RAPPORT AVEC LE PRODUIT, LA DUREE D'UNE TELLE GARANTIE EST EXPRESSEMENT LIMITEE
A CELLE DE CETTE GARANTIE OU, SI ELLE EST PLUS LONGUE, A LA PERIODE MAXIMALE EXIGEE PAR LA LOI.
4.4 L'ACHETEUR EST LE SEUL RESPONSABLE DANS LA DETERMINATION SI LA MANIPULATION, LE STOCKAGE, LE MONTAGE, L'INSTALLATION OU L'UTILISATION DU PRODUIT EST SURE ET APPROPRIEE POUR TOUT ENDROIT, POUR TOUTE APPLICATION DONNEE OU DANS Toute CIRCONSTANCE DONNEE. PALRAM N'EST PAS RESPONSABLE DE TOUT DOMMAGE OU BLESSURE CAUSE A L'ACHETEUR, TOUTE AUTRE PERSONNE OU BIEN RESULTANT D'une MANIPULATION, UN STOCKAGE, UNE INSTALLATION, UN MONTAGE OU UNE UTILISATION DU PRODUIT OU UN MANQUE A SUIVRE LES INSTRUCTIONS ECRITES CONCERNANT LA MANIPULATION, LE STOCKAGE, LE MONTAGE, L'INSTALLATION OU L'UTILISATION DU PRODUIT.
4.5 SAUF DISPOSITION CONTRAIRE EXPRESSEMENT INDIQUEE PAR PALRAM, LE PRODUIT EST DESTINÉ UNIQUÉMENT À DES USAGES RÉSIDENTIELS ET COMMERCIAUX NORMAUX. PALRAM N'EST PAS RESPONSABLE DE TOUTE PERTE, DOMMAGE, FRAIS OU DEPENSE RÉSULTANT D'UNE UTILISATION DU PRODUIT POUR Toute FIN QUI N'EST PAS RECOMMANDEE PAR LES INSTRUCTIONS ÉCRITES OU QUI N'EST PAS PERMISE PAR LA MOINDRE LOI OU AUTRES CODES APPLICABLES DANS L'ENDROIT OU L'ACQUÈEUR UTILISERAIT LE PRODUIT.

Déclaration de Performance
Conformément à la Directive du Conseil sur les Produits de Construction UE N°305/2011 et EN 14963:2006
Date d'émissione 23/02/2017
| 1. Code d'identification : Olympiatri |
| 2. Type: une structure de toiture en polycarbonate à double paroi autoportante, transmettant la lumière, avec armature en aluminum et des éléments en acier galvanisé |
| 3. Usage prévu : toiture ouverte polyvalente |
| 4. Fabricant : Palram Applications (1995) Ltd. Teradion Industrial Park, M.P. Misgav 2017400, P.O.B. 53, Israël |
| 5. Évaluation et vérification de la constance des performances : Système 3 |
| 6. Performance déclarée : |
| Résistance à la charge ascendante : UL 1000 |
| Résistance aux charges descendantes : DL 1500 |
| Réaction au feu : B, s1, d0 pour les dispositions de montage et de fixation, voir EN 16153:2013 |
| Résistance au feu : pas de performance déterminée |
| Performance en cas d'exposition à un incendie extérieur : FROOF |
| Imperméabilité :Pour le dôme de toit avec armature : PassPour les matériaux en feuilles : Pass |
| Résistance aux impacts :Pour la petite structure rigide : PassPour la grande structureSouple : pas de performance déterminée |
| Transmission thermique :Pour le dôme de toit : pas de performance déterminée (non pertinent dans le cas d'une toiture ouverte polyvalente)Pour les matériaux en feuilles : 2,10 W/(m2·K) |
| Isolation directe aux bruits aériens : pas de performance déterminée (non pertinent dans le cas d'une toiture ouverte polyvalente) |
| Transmission du rayonnement :- Transmission de la luzière : Tv - 610 %- Transmission solaire directe : Te - 49,1 %Facteur solaire : valeur g - 0.52 |
| Perméabilité à l'air :Pour le dôme de toit : pas de performance déterminée (non pertinent dans le cas d'une toiture ouverte polyvalente)Pour les matériaux en feuilles : Pass |
| Durabilité (des matériaux en feuilles) : ΔA, Cu 1, Ku 1 |
| 7. La performance du produit identifié aux points 1 et 2 est en conformité avec la performance déclarée au point 6.Cette déclaration de performance est publiée conformément à l'Annexe ZA.2.2 – EN 14963:2006, sous la seule responsabilité de Palram Applications (1995) Ltd.Les rapports ITT et les enregistements du Contrôle de la Production en usine sont disponibles sur demande sur le site www.palramapplications.com |
| Signé au nom et pour le compte de Palram Applications (1995) Ltd. par : PALRAM APPLICATIONSTeradion Industrial Park, Misgav, 23/02/2017 |
Notice Facile