VOM540026 - Sèche-serviettes VOLTMAN - Notice d'utilisation et mode d'emploi gratuit
Retrouvez gratuitement la notice de l'appareil VOM540026 VOLTMAN au format PDF.
| Type d'appareil | Radiateur électrique |
| Fonction | Chauffage |
| Alimentation | Électrique |
| Installation | Mural |
| Matériau | Non précisé |
| Dimensions | Non précisées |
| Poids | Non précisé |
| Couleur | Blanc |
| Type de commande | Thermostat digital |
| Certification | NF Électricité, CE |
| Pays de fabrication | RPC |
| Importateur | DISMO FRANCE |
| Garantie | Non précisée |
| Utilisation | Intérieur |
| Protection | Indice de protection standard |
FOIRE AUX QUESTIONS - VOM540026 VOLTMAN
Questions des utilisateurs sur VOM540026 VOLTMAN
Pour coupler le boîtier de commande avec votre sèche-serviettes VOLTMAN VOM540026, suivez ces étapes précises :
1. Vérifiez l'alimentation électrique
Assurez-vous que votre sèche-serviettes est correctement alimenté en électricité et que le disjoncteur correspondant n'est pas déclenché.
2. Réinitialisez le sèche-serviettes
Coupez l'alimentation électrique du sèche-serviettes pendant environ 2 à 3 minutes, puis rétablissez-la. Cette opération permet de réinitialiser le système et de préparer l'appareil au couplage.
3. Activez le mode couplage sur le sèche-serviettes
Sur le sèche-serviettes, localisez le bouton de couplage (souvent un petit bouton poussoir). Maintenez-le enfoncé pendant quelques secondes (généralement 3 à 5 secondes) jusqu'à ce qu'un signal lumineux ou sonore indique que l'appareil est en mode appairage.
4. Activez le mode couplage sur le boîtier de commande
De la même manière, mettez le boîtier de commande en mode couplage en appuyant sur son bouton dédié. Cela permet aux deux appareils de se détecter mutuellement.
5. Assurez une bonne proximité et évitez les interférences
- Placez le boîtier de commande à proximité immédiate du sèche-serviettes pendant la procédure de couplage.
- Éloignez les autres appareils électroniques susceptibles de créer des interférences (téléphones portables, routeurs Wi-Fi, micro-ondes, etc.).
6. Confirmez le couplage
Une fois le couplage réussi, un signal visuel (clignotement ou lumière fixe) ou sonore devrait confirmer l'association entre le boîtier et le sèche-serviettes.
Si après ces étapes le couplage ne fonctionne toujours pas, il est possible que le boîtier ou le sèche-serviettes présente un défaut matériel ou nécessite une assistance technique plus approfondie.
Si votre sèche-serviettes VOLTMAN VOM540026 reste allumé même lorsque vous appuyez sur le bouton OFF, voici plusieurs étapes à suivre pour tenter de résoudre ce problème :
1. Vérification de l'affichage et du bouton
- Assurez-vous que l'affichage indique bien "OFF" après avoir appuyé sur le bouton.
- Parfois, un appui prolongé (quelques secondes) sur le bouton OFF est nécessaire pour éteindre complètement l'appareil.
2. Réinitialisation de l'appareil
- Débranchez le sèche-serviettes de la prise électrique.
- Patientez environ 5 minutes pour permettre une réinitialisation complète.
- Rebranchez l'appareil et vérifiez si le problème persiste.
3. Vérification des commandes et du mode de fonctionnement
- Vérifiez que le sèche-serviettes n'est pas en mode programmation ou minuterie qui pourrait maintenir l'appareil allumé.
- Essayez d'utiliser les autres boutons ou commandes pour voir si l'appareil réagit normalement.
4. En cas de dysfonctionnement persistant
Si après ces vérifications et manipulations, le sèche-serviettes reste allumé, il est possible qu'il y ait un défaut technique lié au bouton ou au système électronique. Dans ce cas :
- Contactez un service après-vente ou un professionnel qualifié pour un diagnostic et une réparation.
- Évitez de tenter des réparations vous-même pour ne pas annuler la garantie ou endommager l'appareil.
Pour régler l'heure sur votre sèche-serviettes VOLTMAN VOM540026, suivez les étapes ci-dessous :
- Allumez l'appareil : Assurez-vous que le sèche-serviettes est branché et sous tension.
- Accédez au mode de réglage : Sur le panneau de contrôle, appuyez sur le bouton SET ou PROGRAM pour entrer dans le mode de configuration.
- Sélectionnez l'option heure : Utilisez les boutons fléchés (▲ ou ▼) pour naviguer jusqu'à l'option de réglage de l'heure, puis appuyez à nouveau sur SET ou PROGRAM pour valider.
- Réglez l'heure : Ajustez l'heure avec les boutons fléchés. Confirmez en appuyant sur SET ou PROGRAM.
- Réglez les minutes : Procédez de la même manière pour les minutes, puis validez.
- Quittez le mode réglage : Appuyez plusieurs fois sur SET ou PROGRAM jusqu'à revenir à l'affichage normal.
Si le panneau de contrôle de votre appareil diffère ou si vous rencontrez des difficultés, vérifiez que les boutons sont bien fonctionnels et que l'appareil est correctement alimenté.
Si votre sèche-serviettes VOLTMAN VOM540026 ne fonctionne pas, voici plusieurs étapes à vérifier pour résoudre le problème :
1. Vérification de l'alimentation électrique
- Assurez-vous que l'appareil est bien branché sur une prise électrique fonctionnelle.
- Vérifiez que l'interrupteur est en position ON.
2. Contrôle du thermostat et des réglages
- Réglez le thermostat sur une température suffisamment élevée pour que le radiateur se mette en marche.
- Si votre modèle dispose de plusieurs modes (comme éco ou confort), sélectionnez le mode approprié.
3. Vérification de la minuterie
- Si une minuterie est présente, assurez-vous qu'elle est réglée correctement pour permettre le fonctionnement du sèche-serviettes.
4. Contrôle des fuites (pour les modèles à eau)
- Vérifiez qu'il n'y a pas de fuite dans le circuit hydraulique, car cela peut empêcher l'appareil de chauffer.
5. Redémarrage de l'appareil
- Débranchez le sèche-serviettes pendant quelques minutes, puis rebranchez-le pour réinitialiser son système.
Si après ces vérifications votre sèche-serviettes ne fonctionne toujours pas, il est recommandé de contacter un professionnel ou le service après-vente pour une assistance technique approfondie.
Téléchargez la notice de votre Sèche-serviettes au format PDF gratuitement ! Retrouvez votre notice VOM540026 - VOLTMAN et reprennez votre appareil électronique en main. Sur cette page sont publiés tous les documents nécessaires à l'utilisation de votre appareil VOM540026 de la marque VOLTMAN.
MODE D'EMPLOI VOM540026 VOLTMAN
Importé par DISMO FRANCE
3 Av de la Patelle, 95310
Saint-Ouen-l'Aumone
MERCI DE BIEN VOULOIR LIRE LES CONSIGNES DE SECURITE ATTENTIVEMENT AVANT D'UTILISER L'APPAREIL.
- Cet apparéil peut être utilisé par des enfants âgés d'au moins 8 ans et par des personnes ayant des capacité physiques, sensorielles ou mentales réduites ou dénuées d'expérience ou de connaissance, s'ilts (si elles) sont correctement surveillé(e)s ou si des instructions relatives à l'utilisation de l' apparéil en toute sécurité leur ont été données et si les risques encourus ont été appréhendés. Les enfants ne doivent pas jouer avec l' apparéil. Le nettoyage et l'entretien par l'usager ne doit pas être effectués par des enfants sans surveillance.
- Il convient de maintainir à distance les enfants de moins de 3 ans, à moins qu'ils ne soient sous une surveillance continue.
- Les enfants âgés entre 3 ans et 8 ans doivent uniquementmettre l'appareil en marche ou a l'arrêt, à condition que ce dernier ait eté place ou installé dans une position normale prévue et que ces enfants disposent d'une surveillance ou aient reçu des instructions quant à l'utilisation de l'appareil en toute sécurité et en complrennent bien les dangers potentiels.
-
Les enfants âgés entre 3 ans et 8 ans ne doivent ni brancher, ni régler ni nettoyer l'appareil, et ni réaliser l'entretien de l'utilisateur.
-
ATTENTION! - Certaines parties de ce produit peuvent devenir très chaudes et provoquer des brûlures. Il faut préter une attention particulière en présence d'enfants et de personnes vulnérables.
-
Si le cable d'alimentation est endommagé, il doit être remplace par le fabricant, son service après-ventes ou des personnes de qualification similaire afin d'éviter un danger.
- L'appareil de chauffage ne doit pas etre place juste en dessous d'une prise de courant.

MISE EN GARDE: Pour éviter une surchauffe, ne pas couvrir l'appareil.
- MISE EN GARDE: Cet apparéil est destiné seulement au séchage du linge lavé à l'eau.
- MISE EN GARDE: Pour éviter tout danger pour les très jeunes enfants, il est recommendé d'inverter cet apparéil de façon telle que le barreau chauffant le plus bas soit au moins à 600 mm au-dessus du sol.
- Si le cable d'alimentation est endommagé, il doit être remplace par le fabricant, son service après vente ou des personnes de qualification similaire afin d'éviter un danger.
- ATTENTION: Afin d'éviter tout danger du au réarmement intempestif du coupe-circuit thermique, cet appeareil ne doit pas être alimenté par l'intermédiaire d'un interrupteur externe, comme une minuterie, ou être connecté à un
circuit qui est régulièrement mis sous tension et hors tension par le fournisseur d'électricité.
- L'installation électrique doit être effectuee par un électricien qualifié en respect de la réglementation en vigueur dans le pays d'installation (NFC15-100 pour la France)
- Le raccordement au secteur s'effectue par le cable d'alimentation via un boîtier de raccordement.
- L'appareil de chauffage doit être installé de façon telle que les interrupteurs et autres dispositifs de commande ne puissant pas été touchés par une personne se trouvant dans la baignoire ou la douche.
- Un moyen de déconnexion du réseau d'alimentation ayant une distance d'ouverture des contacts de tous les pôles doit être prévu dans la canalisation fixe conformément aux règles d'installation.
- L'appareil doit être alimenté par l'intérimédiaire d'un dispositif à courant différentiel résiduel (DDR) ayant un courant différentiel de fonctionnement assigné ne dépassant pas 30 mA.
- Pour votre sécurité, l'appareil est équipé d'un coupe circuit thermique. En cas de surchauffe, l'alimentation électrique sera coupée.
-
En ce qui concerne les informations détaillées sur la méthode de fixation et pour l'installation de l'appareil de chauffage destiné à être fixé par des vis ou d'autres moyens, se réferer à la section "INSTALLATION".
-
En ce qui concerne les informations détaillées sur le raccordement du cable électrique, se réferer à la section “RACCORDEMENT ÉLECTRIQUE”.
INSTALLATION
RECOMMANDATIONS IMPORTANTES A LIRE AVANT L'INSTALLATION
- Ne pas placer l'appareil juste en-dessous d'une prise de courant.
- Ne pas placer l'appareil dans une piece humide ou à proximité d'un point d'eau.
- Ne pas utiliser l'appareil à l'extérieur.
- Ne pas installer l'appareil dans un courant d'air susceptible de perturber sa régulation.
- Ne pas placer l'appareil à proximité d'obstacle limitant la circulation de l'air autour.
- Fixer verticalément l'appareil au mur tel que décrit ci-dessous.
- Choiser des vis et chevilles adaptés aux matériaux du mur et au poids de l'appareil.
Accrocher le radiateur au mur
Pour accrocher votre chauffage au mur :
- Choisissez un emplacement ajustat pour le chauffage. (Figure 1)
-
Fixez les 2 tubes muraux (le plus petit) sur un mur plat et solide à l'aide des vis et des chevilles appropriées, conformément aux dimensions individues sur le schéma d'installation (fig. 2).
-
Fixez les 2 plus gros montants (le plus grand) et abaissez le support sur l'ordinateil. (Fig 3).
- Placez l'appareil devant le mur et insérez le montant du corps dans les tubes muraux (Fig 4).
- Marquez la position des trous pour les supports inférieurs. (Fig 5)
- Percez des trous et insérez les bouchons en plastique. (Fig. 6)
- Placez l'appareil devant le mur et insérez les montants du corps dans les tubes muraux. (Fig 7)
- Vissez fermement le support inférieur au mur. (Fig 8)
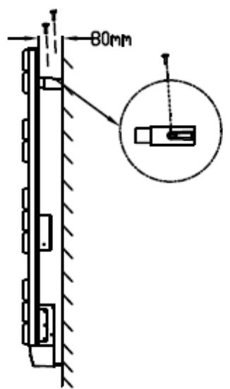
- Utilisez ensuite les vis fournies à cet effet pour maintainir l'appareil sur les tubes muraux fixés au mur. ÀpRES la fixation, la distance entre l'appareil et le mur est de 80 mm, comme indiqué sur le dessin. (Fig 9)
- Si nécessaire, suspendez les 2 cintres à la barre plate (Fig 10).

(1)

(2)



⑤




⑨

Pour accrocher la télécommande au mur

- Choisissez une option et assurez-vous que la position ne sera pas aspergée d'eau sur la télécommande. Percez les trous et insérez les bouchons en plastique. Fixez le support de la télécommande au mur avec des vis. (Fig 1)
- Insérez la télécommande sur le support. (Fig 2)
- Assurez-vous toujours que la télécommande est correctement fixée et stable après l'installation. (Figure 3)
Remplacement de la batterie de la télécommande
La télécommande fonctionne avec deux piles de type AAA (LR03) 1,5 V (non fournies). Si la télécommande ne fonctionne pas comme prévu, remplacez les piles.

INSTALLATION DANS LA SALLE DE BAIN
Avertissement: cet apparéil doit être installé uniquement dans le volume 2 ou hors volume d'une salle de bain conformément aux exigences de la norme française d'installation électrique NF C 15-100.
Note: Le schéma ci-dessous est donné uniquement à titre d'exemple.
Nous vous suggérons de contacter un électricien professionnel pour toute aide.

RACCORDEMENT ÉLECTRIQUE
ATTENTION : avant toute intervention, coupe l'électricité au disjoncteur principal.
- L'installation doit être réalisée dans les règles de l'art et être conforme aux normes en vigueur dans le pays (NFC15-100 en France).
- L'appareil doit être raccordé dans un boîtier mural normalisé placé à 60 cm au moins du sol.
- L'appareil ne doit pas être raccordé sur une prise murale avec une fiche secteur.
- L'appareil doit être alimenté par l'intérimédiaire d'un dispositif à courant différentiel résiduel (DDR) ayant un courant différentiel de fonctionnement assigné ne dépassant pas 30 mA.
- L'appareil ne doit pas être raccordé au fil de terre (fil jaune et vert).
RACCORDEMENT ELECTRIQUE
Fil bleu ou gris clair connecté à Neutre (230V)
Fil marron ou rouge connecté à Phase (230V)
Fil noir connecter à Fil pilote. Fonction optionnelle à utiliser uniquement en cas de commande par un boitier pilote.
(Ne pas le connecter à la terre).
- En l'absence de fil pilote, isolez le bout dénudé du fil noir pour éviter tout contact électrique avec les autres fils ou la terre

Fonctions des iconônes sur l'écran LCD:
| Symbole | Fonction |
| ① | Mode veille (l'appareil ne fonctionne pas mais est mis sous tension) |
| ● | Mode hors gel (l'appareil maintient la température ambiente à environ 7°C) |
| ● | Mode comport (réglage de la température souhaiée) |
| ● | Mode eco (maintient la température ECO qui est égale à la température de comport abaissee de 3,5°C. Ce mode permet de diminuer la température sans déprégrer la température souhaiée dans le mode comport) |
| P | Mode pilote (programmes quotidiens parprogrammateur fil pilote) |
| ← | Verrouillage du clavier |
| 图 | La fonction détection automatique d'aération |
| Ventilateur activé | |
| °C | Température (centigrades) |
| Réglage personnelisé du mode: | |
| I | Mode Confort active |
| I | Mode ECO active |
TABLEAU DE COMMANDES

| Symbole | Fonction |
| (1) | Veille |
| OK-boost | bouton de confirmation ou maintenez pendant 3 secondes pour sélectionner le mode bSt1 / bSt2 / bSt1 + / bSt2 + ou appuyez brièvement sur sélectionner le mode de fonctionnement : Confort / ECO / Programme ou Fil pilote / Hors-gel |
| MENU | Appuyez M en même temps pour afficher le menu de réglage : réglage du minuteur, réglage du mode Programme, Détention de fenêtre, verrouillage du clavier. |
| + / - | Température/Temps/Jour de la这段时间 réglage |
FONCTIONNEMENT
Après 30 secondes d'inactivité, afin de réduire la consommation électrique de la batterie, la
telécommande passera en état de sommeil " - - - - - " sans affecter le fonctionnement normal de
I'appareil. Appuyez sur n'importe quelle touche pour afficher le mode de fonctionnement actuel.

I. Sélectionner le mode (bouton OK-boost)
1) Connectez l'appareil à l'alimentation électrique et installez la batterie (deux piles de type AAA (LR03) 1,5 V (non fournies)) sur la télécommande. Réglez l'heure ou après 10 secondes, il passera automatiquement en mode veille. Vous pouvez appuyer sur le bouton de veille pour entrer en mode comfort.
Remarques: En cas d'absence de batterie, l'appareil ne stocke que les paramètres, la température et le mode de fonctionnement. Lorsque la batterie est installée, l'horloge doit être réinitialisée pour pouvoir utiliser le mode programme normalement.
Appuyez sur OK-boost pour selectionner l'un des modes : Confort 🇨 / ECO 🙜 /
Programme ou Fil Pilote. / Hors-gel
2) Les modes Programme et Fil pilote s'excluent mutuellesment. Quand l'appareil fonctionne dans le mode Programme, appuyez sur le bouton MENU pendant 3 s pour qu'il bascule du mode Programme au mode Fil pilote.
Quand l'appareil fonctionne dans le mode Fil pilote, appuyez sur le bouton MENU pendant 3 s pour qu'il bascule du mode Fil pilote dans le mode Programme.
Les interfaces des modes Programme et Fil pilote sont les suivantes :

modeProgramme

mode Fil pilot
Remarque: Pour le mode Programme, le réglage et la sélection du mode sont séparés. Pour régler le mode programme, appuyez simultanément sur MENU pour afficher le menu de réglage et Sélectionner le réglage du mode Programme, puis appuyez sur OK-boost pour afficher l'interface de réglage. Pour plus de détails, consultez le sous-chapitre 2 « Régler le mode Programme » du chapitre IV « Menu de réglage »
Mode Fil pilote
Appuyez sur le bouton OK-boost pour selectionner le mode Programme 0 6 12 18 24h ou
Fil pilote P. Dans le mode Fil pilote, selectionnez le mode via la commande externe (pour la France uniquement). Pour les pays autres que la France, si vousCHOISSEZ le mode Fil pilote, l'appareil fonctionnera dans le mode Confort par defaut.
Quand l'interface est dans le mode Programme, appuyez sur le bouton MENU pendant 3 s pour qu'il bascule du mode Programme dans le mode Fil pilote.
Lorsque le contrôleur externe estprogrammé, l'affichage indique:
| Réglage du mode commande du pilote | Icone affichée |
| Mode Confort | P-1 |
| Mode Confort -1 | P-2 |
| Mode Confort -2 | P-3 |
| Mode Eco★ | P☆ |
| Mode Hors Gel | P※ |
| Mode Veille | P∅ |
II. Mode Boost
Sous tous les autres modes de travail, à l'exception du mode pilote Fil, maintenez le bouton OK-boost enforcé pendant 3 secondes pour activer ou désactiver le mode boost. En mode boost, la température est automatiquement régée à 29 et ne peut pas être ajustée. Appuyez sur
+/- pourCHOISIR bSt1 / bSt2 / bSt1 + / bSt2 . Appuyez brièvement sur OK-boost pour confirmer et activer le mode boost, ou appuyez sur MENU pour quitter ou attendez 30 secondes pour que l'appareil sorte automatiquement et revienne à l'interface de travail précédente.
bSt1: le portes-serviettes fonctionne en mode boost pendant une heures, puis revient au mode precedent.
bSt2: le portes-serviettes fonctionne en mode boost pendant deux heures, puis revient au mode precedent.
bSt1 + : le porteserviettes et le ventilateur fonctionnent pendant une heures, puis revient au mode precedent.
bSt2 + : le porteserviettes et le ventilateur fonctionnent pendant deux heures, puis revient au mode precedent.




Pour quitter le mode boost, appuyez sur le bouton MENU ou maintenez OK-boost pendant 3 secondes.
III. Régler la température
- Dans le mode Confort ou ECO (à l'exception du mode Hors-gel), la température est régiable. Appuyez sur + ou - pour régler la température désirée du mode Confort entre 5^ et 29^ . La différence de température entre le mode ECO et le mode Confort est de 3,5^ , donc la plage de température du mode ECO est comprise entre 1,5^ et 25,5^ .
- Appuyez sur les boutons autres que +/- pour finir le réglage ou attendez 5 s qu'il soit automatiquement sauvégardé.
- Quand la température de la piece est supérieure à la température régée, le radiateur arrêté de chauffer.

IV. Menu de réglage (MENU)
Appuyez MENU pour afficher l'interface du menu de réglage.
Appuyez sur +/- pour sélectionner le réglage de l'horloge 12:00, le réglage du mode Programme 6 12 18 24h, Détction de fenêtre , le réglage du verrouillage clavier 0. L'icone selektionnée clignote et les autres icônes restent allumées.
Appuyez MENU pour quitter le menu de réglage ou attendez 30 s que l'appareil le quitte automatiquement et returne à l'interface de fonctionnement.
1. Régler l'horloge 12:00
Appuyez sur MENU pour afficher l'interface du menu de réglage, puis appuyez sur +/- pour sélectionner le réglage de l'horloge 12:00. Quand 12:00 clignote, appuyez sur OK-boost
pour commencer le réglage.
Appuyez sur + / - pour régler les heures entre 00 et 23.
Appuyez sur OK-boost pour confirmer le réglage des heures et passer au réglage des minutes (00~59).
Appuyez sur OK-boost pour confirmer le réglage des minutes et passer au réglage du jour de la période (1~7).
Appuyez sur OK-boost pour confirmer ou attendez 30 s que l'appareil sauvegarde automatiquement et returne à l'interface de fonctionnement.
2. Régler le mode Programme
Dans le mode Programme, vous pouvezCHOISIR l'un des 7 programmes de 24 h prerégles (P1~P7) pour chaque jour de la semaine. Les 7 programmes de 24 h prerégles (P1~P7) sont programmables. Pour chaque heures, vous pouvezCHOISIR le mode Confort ou le mode ECO.
Dans le mode Programme, les réglages par défaut des jours 1 à 7 de la semaine sont les suivants :
Jours 1 à 5 : utilisation du programme P1,
Jours 6 et 7 : utilisation du programme P3.
Les réglages par défaut des programmes P1 à P7 sont les suivants :
| P1 | 0 6 12 18 24h |
| P2 | 0 6 12 18 24h |
| P3 | 0 6 12 18 24h |
| P4 | 0 6 12 18 24h |
| P5 | 0 6 12 18 24h |
| P6 | 0 6 12 18 24h |
| P7 | 0 6 12 18 24h |
Appuyez MENU pour afficher l'interface du menu de réglage et Sélectionnez le réglage du mode Programme 6 12 18 24h avec +/-. Appuyez sur OK-boost pour afficher l'interface de réglage du mode Programme.
Appuyez sur +/- pourCHOISIR un programme de P1 à P7 pour le jour 1 (Lundi). Appuyez sur OK-boost pour confirmer etCHOISIR pour le jour suivant. Avres avoir terminé le réglage du jour 7 (Dimanche), appuyez sur OK-boost pour confirmer ou attendez 30 s que l'appareil returne automatiquement à l'interface de fonctionnement.

Réglages des 7 programmes de 24 h pré régles (P1~P7)
Dans l'interface de réglage du mode Programme, quel que soit le jour, vous pouvez désirer le programme P1 à P7, appuyez sur OK-boost pendant 3 s pour afficher l'interface de réglage du mode. Les réglages sont mémorisés (en cas de coupure de courant, ils restent mémorisés).
- Sélectionnez le mode pour l'heure : appuyez sur + pour sélectionner le mode Confort , appuyez sur - pour sélectionner le mode ECO ou sur OK-boost pour conserver le réglage précédent. Ensuite, l'appareil passe automatiquement au réglage de l'heure suivante.

- À la première heures, appuyez sur +/- ou sur OK-boost pour terminer le réglage et returner à l'interface de réglage initiale.
Par exemple, si vous effectuez le réglage de P1 depuis l'interface ci-dessous (jour 1, P1), l'apparil returnera à l'interface ci-dessous (jour 1, P1) quand vous aurez fini le réglage de la 24^e heures de P1.

Remarques :
- En cas d'absence de batterie, l'appareil conserve en mémoire uniquement les paramètres, la température et le mode de fonctionnement. Quand le courant est rétabli, il faut régler à nouveau l'horloge pour pouvoir utiliser normalement le mode Programme.
- ÀpRES avoir terminé les réglages du mode Programme, ils sont sauvégardés, mais l'appareil ne commence pas automatiquement à fonctionner dans le mode Programme. Vous doivent appuyer sur OK-boost pour selectionner le mode Programme et faire fonctionner le radiateur dans ce mode.
3. Mode détction de fenêtre
Appuyez MENU pour afficher l'interface du menu de réglage et Sélectionnéz la fonction de détction de fenêtre avec +/-. Appuyez sur +/-. pour désirir “ON” ou “OFF”. Si “ON” est sélectionné, la fonction détction automatique d'aération est activée et l'icone “®” apparaitra à l'écran. Lorsque la baisse de température est détectée, l'appareil passe automatiquement en mode hors gel avec l'icone clignotant. Lorsque l'augmentation de température est détectée, l'appareil reviendra au mode précédent avec l'icone allumée. Vous pouvez désirir “OFF” pour désactiver la fonction détction automatique d'aération.
Remarques: la fonction détction automatique d'aération n'est pas disponible en mode hors gel et mode boost.
4. Verrouillage du clavier 0
Appuyez MENU pour afficher l'interface du menu de réglage, puis sur +/- pour sélectionner l'icône du verrouillage du clavier 0-, ensuite appuyez sur OK-boost pour activer le verrouillage du clavier 0 et returner à l'interface de fonctionnement.
Pour désactiver le verrouillage, appuyez sur MENU pendant 3 s.

Remarques :
- Le verrouillage du clavier ne verrouille pas le bouton veille (口)
- Le verrouillage du clavier est automatiquement désactivé dans les cas suivants :
1) L'appareil est mis en veille en appuyant sur le bouton ①.
2) La pile de la télécommande est en panne d'électricité.
V. En cas d'absence de charge électrique sur la pile de la télécommande
Tous les réglages ci-dessus de température, heures, date et programmes restent valides tant que l'alimentation électrique n'est pas coupée.
Après avoir installé la batterie, lors de la remise sous tension l'appareil se met en mode veille. Vous
pouvez appuyer sur le bouton pour revenir dans le mode et à la température sélectionnés avant la coupure de courant.
L'appareil conserve uniquement en mémoire les paramètres : température et mode du thermostat. Lors de la remise sous tension, la date et l'heure devront impérativement être régées afin de faire fonctionner les différents programmes correctement.
CHARACTERISTIQUES TECHNIQUES
| Modèle/ Ref. | HJEDF/ VOM540026 | HJ8EDF/ VOM540027 |
| Tension nominale | 230 V ~ | 230 V ~ |
| Fréquence nominale | 50 Hz | 50 Hz |
| Puisance nominale | 1500 W | 1750 W |
| Classe de protection | II | II |
| Protection IP | IP24 | IP24 |
| Fil pilote | 6 ordres | 6 ordres |
Exigences d'informations applicables aux dispositifs de chauffage decentralisés électriques
Référence(s) du modele: HJEDF (Réf: VOM540026)
| Caracteristique | Symbole | Valeur | Unité | Caracteristique | Unité | |
| Puisance thermique | Type d'apport de chaleur, pour les dispositifs de chauffage décentralisés électriques à accumulation uniquement (sélectionner un seul type) | |||||
| Puisance thermique nominale | Pnom | 1,3 | kW | contrôle thermique manuel de la charge avec thermostat intégré | NA | |
| Puisance thermique minimale (indicative) | Pmin | 0 | kW | contrôle thermique manuel de la charge avec réception d'informations sur la tempête de la pièce et/ou extérieure | NA | |
| Puisance thermique maximale continue | Pmax,c | 1,3 | kW | contrôle thermique électronique de la charge avec réception d'informations sur la tempête de la pièce et/ou extérieure | NA | |
| Consommation d'électricité auxiliaire | puisance thermique régulable par ventilateur | NA | ||||
| À la puissance thermique nominale | elmax | 0 | kW | Type de contrôle de la puissance thermique/de la tempête de la pièce (sélectionner un seul type) | ||
| À la puissance thermique minimale | elmin | 0 | kW | contrôle de la puissance thermique à un palier, pas de contrôle de la tempête de la pièce | [non] | |
| En mode veille | elsb | 0 | kW | contrôle à deux ou plusieurs paliers manuels, pas de contrôle de la tempête de la pièce | [non] | |
| contrôle de la tempête de la pièce avec thermostat mécanique | [non] | |||||
| contrôle électronique de la tempête de la pièce | [non] | |||||
| contrôle électronique de la tempête de la pièce etprogrammateur journalier | [non] | |||||
| contrôle électronique de la tempête de la pièce etprogrammateur hebdomadaire | [oui] | |||||
| Autres options de contrôle (sélectionner une ou plusieurs options) | ||||||
| contrôle de la tempête de la pièce, avec détecteur de présence | [non] | |||||
| contrôle de la tempête de la pièce, avec | [oui] | |||||
| décteur de fenêtre ouverte | ||||||
| option contrôle à distance | [non] | |||||
| contrôle adaptatif de l'activation | [non] | |||||
| limitation de la durée d'activation | [non] | |||||
| capteur à globe noir | [non] | |||||
| Coordonnées de contact | Dismo France – 3 avenue de la Patelle, 95310, Saint-Ouen l'Aumône | |||||
Exigences d'informations applicables aux dispositifs de chauffage décentralisés électriques
| Référence(s) du modele: HJ8EDF (Réf: VOM540027) | ||||||
| Caracteristique | Symbole | Valeur | Unité | Caracteristique | Unité | |
| Puisance thermique | Type d'apport de chaleur, pour les dispositifs de chauffage décentralisés électriques à accumulation uniquement (sélectionner un seul type) | |||||
| Puisance thermique nominale | Pnom | 1,5 | kW | contrôle thermique manuel de la charge avec thermostat intégré | NA | |
| Puisance thermique minimale (indicative) | Pmin | 0 | kW | contrôle thermique manuel de la charge avec réception d'informations sur la température de la piece et/ou extérieure | NA | |
| Puisance thermique maximale continue | Pmax,c | 1,5 | kW | contrôle thermique électronique de la charge avec réception d'informations sur la température de la piece et/ou extérieure | NA | |
| Consommation d'électricité auxiliaire | puisance thermique régulable par ventilateur | NA | ||||
| À la puissance thermique nominale | eImax | 0 | kW | Type de contrôle de la puissance thermique/de la température de la piece (sélectionner un seul type) | ||
| À la puissance thermique minimale | eImin | 0 | kW | contrôle de la puissance thermique à un palier, pas de contrôle de la température de la piece | [non] | |
| En mode veille | eISB | 0 | kW | contrôle à deux ou plusieurs paliers manuels, pas de contrôle de la température de la piece | [non] | |
| contrôle de la température de la piece avec thermostat mécanique | [non] | |||||
| contrôle électronique de la température de la | [non] | |||||
| pièce | ||||||
| contrôle électronique de la température de la pièce etprogrammateur journalier | [non] | |||||
| contrôle électronique de la température de la pièce etprogrammateur hebdomadaire | [oui] | |||||
| Autres options de contrôle (sélectionner une ou plusieurs options) | ||||||
| contrôle de la température de la pièce, avec détecteur de présence | [non] | |||||
| contrôle de la température de la pièce, avec détecteur de fenêtre ouverte | [oui] | |||||
| option contrôle à distance | [non] | |||||
| contrôle adaptatif de l'activation | [non] | |||||
| limitation de la durée d'activation | [non] | |||||
| capteur à globe noir | [non] | |||||
| Coordonnées de contact | Dismo France – 3 avenue de la Patelle, 95310, Saint-Ouen l'Aumône | |||||
EN CAS DE PROBLEMES
| Problème | Solution |
| L'appareil ne chauffe pas | Vérifiez que les disjoncteurs de l'installation sont enclenchés, ou que le délesteur n'a pas coupé l'alimentation (si l'installation en comporte un). |
| Sélectionnez le mode CONFORT. | |
| Augmentez le réglage de température. | |
| Dans les 10 secondes suivant la connexion de l'appareil à l'électricité, assurez-vous que la télécommande est en mode veille, puis appuyez simultanément sur "+" et "OK-boost" pendant 2 secondes pour coupler la télécommande et l'appareil. Vous entendrez un son "Bee" une fois le couplage réussi. Maintenant, vous pouvez commencer l'opération. | |
| L'appareil chauffe en permanence | Vérifiez que l'appareil n'est pas dans un courant d'air. |
| Diminuez le réglage de température. |
MAINTENANCE
- Isolez toujours l'appareil de l'alimentation électrique et laissez-le refroidir avant toute opération de maintenance.
- Utilisez un aspirateur pour enlever la poussière des grilles.
- Nettoyer l'extérieur de l'appareil en l'essuyant avec un linge humide et en le séchant avec un linge sec. N'immergez jamais l'appareil dans l'eau et ne laissez jamais d'eau PENETRER dans l'appareil.
RECYCLAGE (ELIMINATION DU PRODUIT EN FIN DE VIE)

Le pictogramme de la poubelle barrée indique que le produit doit faire l'objet d'un tri. Il doit être recyclé conformément à la réglementation environnementale locale en matière de déchets. En triant les produits portant ce pictogramme, vous contribuez à réduire le volume des déchets incinérés ou enfouis, et à diminuer tout impact négatif sur la santé humaine et l'environnement.

EMBALLAGES
CARTONS ET PAPIER
A TRIER
Notice Facile