VN-120 - Dictaphone numérique OLYMPUS - Notice d'utilisation et mode d'emploi gratuit
Retrouvez gratuitement la notice de l'appareil VN-120 OLYMPUS au format PDF.
| Intitulé | Description |
|---|---|
| Type de produit | Dictaphone numérique |
| Caractéristiques techniques principales | Enregistrement stéréo, 2 Go de mémoire interne, prise en charge des formats WAV et MP3 |
| Alimentation électrique | Fonctionne avec 2 piles AAA |
| Dimensions approximatives | 105 x 36 x 15 mm |
| Poids | Environ 100 g |
| Compatibilités | Compatible avec Windows et Mac pour le transfert de fichiers |
| Type de batterie | Piles alcalines ou rechargeables AAA |
| Tension | 1,5 V par pile |
| Fonctions principales | Enregistrement, lecture, suppression de fichiers, fonction de recherche rapide |
| Entretien et nettoyage | Nettoyer avec un chiffon doux, éviter l'humidité |
| Pièces détachées et réparabilité | Réparabilité limitée, pièces de rechange disponibles auprès du fabricant |
| Sécurité | Ne pas exposer à des températures extrêmes, éviter les chocs physiques |
| Informations générales utiles | Idéal pour les étudiants et les professionnels pour la prise de notes audio |
FOIRE AUX QUESTIONS - VN-120 OLYMPUS
Questions des utilisateurs sur VN-120 OLYMPUS
0 question sur cet appareil. Repondez a celles que vous connaissez ou posez la votre.
Poser une nouvelle question sur cet appareil
Téléchargez la notice de votre Dictaphone numérique au format PDF gratuitement ! Retrouvez votre notice VN-120 - OLYMPUS et reprennez votre appareil électronique en main. Sur cette page sont publiés tous les documents nécessaires à l'utilisation de votre appareil VN-120 de la marque OLYMPUS.
MODE D'EMPLOI VN-120 OLYMPUS
Merci d'avoir porté votrechoix sur cet
enregistreur vocal numérique.
Lisez ce mode d'emploi pour les informations
concernant l'emploi correct et sur de l'appareil.
Conservez-le à portée de la main pour toute référence ultérieure.
Nosusyourecommandonsde testerlafonctiond'enregistrementet levolumeavantl'utilisationpourobtenirdebonsenregistrements.
OLYMPUS IMAGING CORP.
Shinjuku Monolith, 3-1 Nishi-Shinjuku 2-chome, Shinjuku-ku, Tokyo 163-0914, Japan. Tel. 03-3340-2111
OLYMPUS IMAGING AMERICA INC.
Two Corporate Center Drive, PO BOX 9058 Melville, NY 11747-9058, U.S.A. Tel. 1-800-622-6372
OLYMPUS IMAGING EUROPA GMBH
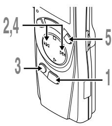
Identification des éléments
Prise pour microphone
Pince
Affichage (ecran ACL)
Témoin d'enregistrement/lecture
Touche DISPLAY
Touche STOP
Touche (retour rapide) /Touche -
Touche PLAY
Touche ERASE
Touchche MENU /Touche FOLDER

Microphone intégré
Prise d'écouteur
Haut-parleur intégré
Touche REC (enregistrement)
Touche ENTER/Touche INDEX*
Commande VOLUME
Touche (avance rapide) / Touche +
Couvercle du logement piles
Terminal PC (USB)*
- Touche INDEX...VN-240/VN-240PC/VN-480/VN-480PC/VN-960PC
Terminal PC (USB)...VN-120PC/VN-240PC/VN-480PC/VN-960PC
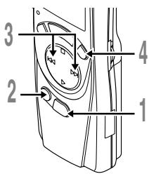
Insertion des piles

1 Appuyez légèrement sur la flèche et faites coulisser le couvercle des piles pour l'ouvrir.
2 Insérez deux piles alcalines AAA en respectant les polarités.
3 Refermez correctement le couvercle du logement des piles. Heure/date apparaisent à l'écran. L'indication de l'heure clignote, indiquant le début de la procédure de réglage de l'heure/date. (voir "Réglage de l'heure/date" pour les détails)
Vous pouvez aussi utiliser une batterie optionnelle rechargeable Olympus pour l'enregistreur.
Remplacement des piles
Quand s'affiche, remplacez les piles le plus tôt possible. Des piles alcalines AAA sont recommandees. Quand les piles sont usées, s'affiche et l'enregistreur se coupe. Il est recommandé de régler le commutateur HOLD sur HOLD avant de replacier les piles pour maintenir les réglages actuels (heure/date etc.). Pratique, cet enregistreur sauvégarde aussi les réglages actuels dans la mémoire interne toutes les heures.
Mode d'attente et coupure de l'affichage
Si l'enregistreur est mis à l'arrêt ou en pause pendant 60 minutes ou plus pendant l'enregistrement ou la lecture, il passe en mode d'atte (mode d'économie d'énergie) et l'affchage s'eteint. Appuyez sur une touche qualconque pour quitter le mode d'attente et activer l'affchage.
Réglage de l'heure/date (TIME)
Si vous avez regle l'heure et la date, les informations concernant I'enregistrement du fichier son sont automatquement mémorisées dans ce fichier.
Le réglage de l'heure et de la date est nécessaire pour la gestion des fichiers dans le dossier S (VN-240/VN-240PC/VN-480/VN-480PC/VN-960PC), pour la fonction de lecture d'alarme et pour leprogrammateur d'enregistrement (VN-480/VN-480PC/VN-960PC).
A la première installation des piles ou à chaque remplacement des piles, l'indication de l'heure clignotera. Dans ce cas, réglez bien l'heure et la date en suivant les étapes 5 à 9 ci-dessous.

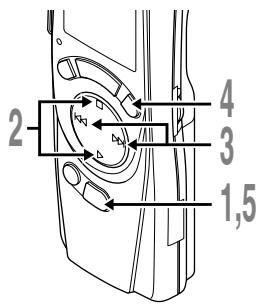
1 Maintenez la touche MENU pressée 1 seconde au moins.
2 Appuyez sur la touche STOP ou PLAY jusqu'à ce que "TIME" clignote sur l'affichage.
3 Appuyez sur la touche ENTER. L'indicateur de l'heure clignote.
4 Appuyez sur la touche STOP ou PLAY pour régler les heures.
5 Appuyez sur la touche ENTER pour accepter les minutes. L'indicateur des minutes clignote. Appuyez sur la touche - pour régler de nouveau l'heure.
6 Appuyez sur la touche STOP ou PLAY pour régler les minutes.
Répétez les étapes 5 et 6 pour régler les minutes, l'année, le mois et la date de la même manière.
7Aprèsleréglage de la date,appuyez sur la touche ENTER. La procédure d'implantation de l'heure/date estmaintenant terminée.
8 Appuyez sur la touche MENU.

- Vous pouvez commuter l'indication de l'heure entre les systèmes 12 heures et 24 heures en appuyant sur la touche DISPLAY pendant le réglage des heures ou des minutes.
- Vous pouvez changer l'ordre d'indication de la date en appuyant sur la touche DISPLAY pendant le réglage de l'année, du mois ou du jour. (Exemple: 14 février 2005)
$$ \boxed {2. 1 4 0 5 \rightarrow 1 4. 2 0 5 \rightarrow 0 5. 2. 1 4} $$
Réglage du commutateur HOLD sur la position HOLD. Toutes les touches d'exploitation sont invalidées. Cette caractéristique est utile quand l'enregistreur doit être transporte dans un sac ou une poche.
N'oubliez pas de régler le commutateur HOLD pour réutiliser l'enregistreur.
Remarques
- L'alarme retentira à l'heure programmée même si l'enregistreur est régle sur HOLD. Il commencerà à dire le fichier associé à l'alarme à la pression d'une touche quelconque.
- L'enregistreur fonctionne comme suit avec le commutateur HOLD régle sur HOLD:
- Si l'enregistre est en cours de lecture, l'affchage s'assombri à la fin de la lecture du filchier actuel.
- Si vous reglez le commutateur HOLD sur la position HOLD pendant la lecture, vous pouvez quand même ajuster le volume avec la commande VOLUME.
- Si l'enregistreur est en train d'enregistre, l'affichage s'assombriha quand l'enregistrement s'arrêtera automatiquement à l'épuisement de la mémoire libre de l'enregistreur.

Pince
Utilisation de la pince

- Appuyez sur la zone vers laquelle pointe la flèche.
N'etendez pas plus la pince de force, elle pourrait casser.
Remarques sur les dossiers
L'enregistreur est doté de quatre dossiers: A, B, C et S. Pour commuter entre les dossiers, appuyez sur la touche FOLDER quand l'enregistreur est à l'arrêt.
- Dossiers A, B et C Chaque filchier enregistré est stocké dans un dossier. L'emploi des dossiers pour le classement des fichiers facilité la recherche des fichiers auxquels vous pouvez acceder par la suite.
- Dossier S (VN-240/VN-240PC/VN-480/VN-480PC/VN-960PC)
Ce dossier est pourvu de sous-dossiers* du 1er janvier au 31 décembre. 10 fichiers peuvent être stockés dans chaque sous-dossier de date, une fonction pratique pour gérer son programme en stockant le programme d'un certain jour pour référence ultérieure. Pour commuter entre les sous-dossiers de date, Sélectionnez le dossier S, puis appuyez sur la touche + ou - quand l'enregistreur est à l'arrêt. 100 fichiers maximum peuvent être enregistrés dans le dossier S. - Il y a un sous-dossier de date pour chaque jour de l'année.

Dossier actuel


1 Appuyez sur la touche FOLDER pour selectionner le dossier souhaite (A, B, C ou S).
A la selection du dossier S, le sous-dossier de date actuel s'affiche.
- Si vous sélectionné le dossier S, appuyez sur la touche + ou - pour sélectionner le sous-dossier de date souhaïte.
2 Appuyez sur la touche REC pour démarrer l'enregistrement.
Le témoin d'enregistrement/ lecture devient rouge et l'enregistrement commence.
3 Pour arrêté l'enregistrement, appuyez sur la touche STOP.
Les nouveaux enregistements sont sauvégardés comme dernier fjich dans le dossier.

a Dossier actuel

Date à enregistrer



Pause d'enregistrement
Pour faire une pause
Appuyez sur la touche REC pendant l'enregistrement.
“PAUSE” s'affiche et le témoin d'enregistrement/lecture clignote.
Pour reprendre l'enregistrement
Appuyez à nouveau sur la touche REC.
L'enregistrement reprend à partir du point d'interruption.
Mode d'enregistrement actuel
Numéro du fichier actuel
(6) Temps d'enregistrement
Temps d'enregistrement restant (REMAIN)
Remarques
- Si "FULL" s'affiche, l'enregistrement dans le dossier sélectionné est impossible. Dans ce cas, effacez des fichiers inutilles ou téléchargez vers un ordinateur (VN-120PC/VN-240PC/VN-480PC/VN-960PC).
- Si l'enregistreur est placé directement sur la table pour l'enregistrement d'une réunion, il aura tendance à ramasser les vibrations de la table. Placez un cahier ou un autre article entre la table et l'enregistreur pour obtenir un enregistrement plus net.
- Meme si vous appuyez sur la touche DISPLAY, l'affichage ne passera pas au temps d'enregistrement actuel si le temps d'enregistrement restant est de 5 minutes ou moins.
- Lorsque le temps d'enregistrement tombe à 1 minute ou moins, le tímoin d'enregistrement/lecture clignote en rouge.
- L'enregistreur passe en mode d'arrêt s'il est laissé en pause 10 minutes ou plus.
- En cas de conditions acoustiques difficiles ou si le locuteur a une voix faible, l'enregistrement en mode HQ ou SP est recommendé; l'emploi d'un microphone extérieur (vendu séparément) peut aussi améliorer la qualité des enregistements.
Informations de l'écran ACL
Yououpvez selectionner une option pour l'affichage de I'enregistre.Si you appuyez sur la touche DISPLAY pendant I'arrêt ou la lecture, I'ecran ACL change et you pouvez confirmer les informations du fichier ainsi que les differents réglages de I'enregistre.
| Etat de l'enregistreur | Opération | l'écran ACL |
| En mode Stop | Presse et maintenez le bouton STOP | Le nombre total de fichiers enregistrrés et la durée d'enregistrement disponible s'afficht. |
| Appuyez sur la touche DISPLAY | Heure → Temps d'enregistrement restant → Date → Heure ... (avec le dossier A, B ou C sélectionné). L'indication sélectionnée s'affiche chaque fois que l'enregistreur s'arrête. | |
| En mode enregistrement | Appuyez sur la touche DISPLAY | L'affichage permute entre le temps d'enregistrement actuel et le temps d'enregistrement restant. |
| En mode lecture | Appuyez sur la touche DISPLAY | Temps de lecture → Temps de lecture restant → Date d'enregistrement du fichier → Temps d'enregistrement du fichier → Temps de lecture ... |

1 Appuyez sur la touche FOLDER pour selectionner le dossier souhaite (A, B, C ou S).
2 Appuyez sur la touche + ou - pour sélectionner le fichier à生存.
SiyouselectionnezledossierS,choisissez the sousdossier de date souhaite.
- Quand vous sélectionné le sous-dossier de date souhaite, maintenez la touche + ou - pressée au moins 1 seconde. L'enregistre localisera le sous-dossier de date suivant contenant des fichiers enregistrés.
3 Appuyez sur la touche PLAY pour démarrer la lecture.
Le témoin d'enregistrement/lecture devient vert, et la durée de lecture écoulée s'affiche.
4 Ajustez le volume selon vos préférences avec la commande VOLUME.

a Dossier actuel
⑥ Numéro du fichier actuel
Temps de lecture
Annulation de la lecture
Pour arrête
Appuyez sur la touche STOP.
L'enregistreur s'arrête au milieu du fichier en cours de lecture.
Pour reprendre la lecture
Appuyez à nouveau sur la touche PLAY.
La lecture reprendra à partir du point d'interruption.
A la lecture d'un fichier dans un sous-dossier de date sans sélection d'un fichier particulier, l'enregistreur lira tous les fichiers dans le sous-dossier de date sélectionné à partir du nom de fichier "01". A la lecture d'un fichier immédiatement après son enregistrement, seul le fichier le plus récemment enregistré sera lu.
Avance rapide et Retour rapide
Avance rapide
Maintenez la touche I pressée pendant la lecture d'un fichier.
A la libération de la touche I, l'enregistreur reprendra la lecture normale.
Retour rapide
Maintenez la touche ↓ pressée pendant la lecture d'un fichier.
A la libération de la touche I▲, l'enregistreur reprendra la lecture normale.
- Aucun son ne sortira du haut-parleur intégré pendant l'avance ou le retour rapide.
- La fin du fjichier se localise en maintainant la touche▶I pressée pendant l'avance rapore. L'enregistreur fait une pause à la fin du fjichier. Si vous ne relâchez pas la touche▶I, l'avance rapore continuera.
- Le début du fichier se localise en maintainant la touche ↓ pressée pendant le retardur rapide. L'enregistreur fait une pause au début du fichier. Si vous ne relâchez pas la touche ↓, le retardur rapide continues.
Changement de la vitesse de lecture
Vos pouvez changer la vitesse de lecture en appuyant sur la touche PLAY lorsque l'enregistreur lit.

- Lorsque le mode de lecture lente est sélectionné, "SLOW" s'allume et, pour le mode de lecture rapide, "FAST" s'allume à l'affichage lorsque l'enregistreur lit.
- L'enregistre arrête la lecture quand vous appuyez sur la touche STOP en mode de lecture lente/rapide ou quand il atteint la fin du fichier. Si vous appuyez une fois sur la touche STOP et redémarrez la lecture, l'enregistre lira aussi les fichiers à vitesse normale.
Localisation du début d'un fichier
Si vous appuyez sur les touches + ou - lors de la lecture en mode lent/rapide, l'enregistreur avance ou revient au début du fichier précédent ou suivant respectivement. Si une marque index est rencontres en route, la lecture commence à cette position. (voir "Marques index" pour les détails)
Ecoute avec des écouteurs
Vous pouvez écouter des fichiers. en raccordant des écouteurs à la prise d'écouteurs.
Si un écouteur est raccordé, aucun son ne sort du haut-parleur. Le son sera lu en monaural.
- Aucun écouteur n'est fourni avec les VN-120,VN-120PC,VN-240 et VN-480. Vous pouvez utiliser un ou des écouteurs monauraux standard 3,5 mm.
Effacement dans le dossier A, B ou C
Vous pouvez facilement effacer des fichiers inutiles. Les numeros de fichiers séquentiels seront automatiquement réassignés.

Effacement d'un fichier à la fois
1 Appuyez sur la touche FOLDER pour selectionner le dossier A, B ou C.
2 Appuyez sur la touche + ou - pourCHOISIR LE FICHIER A EFFACER.
3 Appuyez sur la touche ERASE.
4 Appuyez sur la touche + ou - pour selectionner "YES" à生存.
5 Appuyez sur la touche ENTER.


Effacement de tous les fichiers d'un dossier
1 Appuyez sur la touche FOLDER pour selectionner le dossier.
2 Appuyez deux fois sur la touche ERASE.
3 Appuyez sur la touche + ou - pour selectionner "YES" à dire.
4 Appuyez sur la touche ENTER.

Remarque
Si vous ne touche pas à l'enregistreur pendant 8 secondes ou plus avant d'appuyer sur la touche ENTER, le mode Clear sera annulé, et l'enregistreur passera en mode Stop.
Effacement dans le dossier S
(VN-240/VN-240PC/VN-480/VN-480PC/VN-960PC)
Pour effacer le dossier S, Sélectionnez-le, puis appuyez à plusieurs reprises sur la touche ERASE pour sélectionner le mode d'effacement souhaïte. A chaque fois que vous appuyez sur la touche ERASE, le mode d'effacement change dans l'ordre suivant : par fichier → par date → par mois → par dossier → désactifé.
Effacement d'un dossier à la fois dans un sous-dossier de date
1 Appuyez sur la touche FOLDER pour selectionner le dossier S.
2 Appuyez sur la touche + ou - pour désir le sous-dossier de date.
3 Appuyez sur la touche PLAY.
4 Appuyez sur la touche + ou - pour désir le fichier à effacer.
5 Appuyez sur la touche STOP.
6 Appuyez sur la touche ERASE.
7 Appuyez sur la touche + ou - pour selectionner "YES" à dire.
8 Appuyez sur la touche ENTER.
Les numérodes fichiers suivants sont automatiquement réassignés.
Effacement de tous les fichiers dans un sous-dossier de date
1 Appuyez sur la touche FOLDER pour selectionner le dossier S.
2 Appuyez sur la touche + ou - pour désir le sous-dossier de date à effacer.
3 Appuyez deux fois sur la touche ERASE.
4 Appuyez sur la touche + ou - pour selectionner "YES" à dire.
5 Appuyez sur la touche ENTER.


Effacement de tous les fichiers dans un sous-dossier de mois
1 Appuyez sur la touche FOLDER pour selectionner le dossier S.
2 Appuyez trois fois sur la touche ERASE.
3 Appuyez sur la touche STOP ou PLAY pour selectionner le sous-dossier du mois à effacer.
4 Appuyez sur la touche ENTER.
5 Appuyez sur la touche + ou - pour selectionner "YES" à dire.
6 Appuyez sur la touche ENTER.


Effacement de tous les fichiers dans le dossier S
1 Appuyez sur la touche FOLDER pour selectionner le dossier S.
2 Appuyez quatre fois sur la touche ERASE.
3 Appuyez sur la touche + ou - pour selectionner "YES" à dire.
4 Appuyez sur la touche ENTER.


Remarque
Si vous ne touche pas à l'enregistreur pendant 8 secondes ou plus avant d'appuyer sur la touche ENTER, le mode Clear sera annulé, et l'enregistreur passera en mode Stop.
En utilisant la fonction menu, vous pouvez changer plusieurs régles selon vos goûts.


Ecran de réglage du menu
Fonctionnement de base mode menu
1 Maintenez la touche MENU pressée au moins 1 seconde pendant que l'enregistreur est à l'arrêt.
2 Appuyez sur la touche STOP ou PLAY pour selectionner ce que vous souhaitez implanter. Les éléments selectionnés dans le menu clignotent.
3 Utilisez les touches + ou - pour changer les réglages.
4 Appuyez sur la touche ENTER pour valider le réglage.
5 Appuyez sur la touche MENU pour referrer le menu.
Déplacez la sélection d'une position vers le haut/augmente le numéro.

Déplacez la sélection d'une position vers la droite.
Déplacez la sélection d'une position vers le bas/diminue le nombre.
Remarques
- L'enregistreur s'arrête si vous le laissez inactif pendant 3 minutes pendant une opération de réglage de menu, quand un article seLECTIONné n'est pas appliqué.
- Si vous appuyez sur la touche MENU pendant une opération de réglage de menu, l'enregistreur s'arrête et appliquera les éléments régés à ce point.
Modes d'enregistrement (HQ SP LP)
Vouaves lechoix entre trois modes d'enregistrement:mode HQ (haute qualite),mode SP(lecture standard)et mode LP(lecture longue).
Sélection de mode dans menu... HQ, SP, LP
| Modèle Mode | VN-120 / VN-120PC | VN-240 / VN-240PC | VN-480 / VN-480PC | VN-960PC |
| HQ | Environ 43 minutes | Environ 88 minutes | Environ 177 minutes | Environ 355 minutes |
| SP | Environ 65 minutes | Environ 133 minutes | Environ 267 minutes | Environ 535 minutes |
| LP | Environ 121 minutes | Environ 245 minutes | Environ 493 minutes | Environ 990 minutes |
- Le temps d'enregistrement disponible indiqué ci-dessus est celui pour un fjichier continu.
Le temps d'enregistrement disponible peut être plus court que spécifique si plusieurs fjichiers sont enregistrés. (Utilisez le temps restant et le temps d'enregistrement seulement à titre de référence.)

© Mode d'enregistrement actuel
Sensibilité du microphone (HI ☐ LOW)
La sensibilité du microphone est ajustable en fonction des besoin d'enregistrement.
Sélection de mode dans menu... HI, LOW
HI: Mode basse sensibilité adapté à la dictée.
LOW: Mode haute sensibilité qui enregistre les sons dans toutes les directions.
- Pour réussir l'enregistrement, faites un enregistrement d'essay pour désigner la sensibilité correcte avant l'enregistrement.
- Si vous choisissez HI, nous给您 recommandons de réglier le mode d'enregistrement sur HQ ou SP pour profiter au moins de la sensibilité accrue.
- Si vous choissiez HI, les bruits de fond peuvent être importants selon les conditions d'enregistrement.
Utilisation du Déclenchement à la voix (VCVA)
Quand le microphone percoit que lessons ontatteint le niveau prerégèle, le Déclenchement à la voix (Variable Control Voice Actuator) intégre démarre automatiquement l'enregistrement, et s'arrête quand le volume baisse. Particulierrement utile pour l'enregistrement prolongé, le VCVA non seulement économique la mémoire en coupant l'enregistrement pendant les périodes de silence, mais rend aussi l'enregistrement plus efficace et commode.
Selection de mode dans menu... ON, OFF
- Le témoin d'enregistrement/lecture est allumé pendant l'enregistrement. Quand l'enregistre est en mode d'atte, le témoin d'enregistrement/lecture clignote et "VCVA" clignote sur l'affichage.
Avertissements sonores (BEEP)
L'enregistre émet des bips pour vous signaler les opérations de touche ou vous avertir en cas d'erreur. Les avertissements sonores peuvent être coupés.
Sélection de mode dans menu... ON, OFF
- Si la fonction de lecture d'alarme a eté régée, l'alarme sonnera à l'heure prévue même si lessons du système sont désactivés.

Affichage de la sensibilité du microphone

a Indicateur VCVA

Fonction de lecture d'alarme (())
Voussoupezutiliser la fonction de lecture d'alarme pour faire sonner l'alarmependant 5 minutes au momentprogramme.Au coursde ces 5 minutes,appuyer sur une touche qualconquere autre que le commutateur HOLDdéclenchéla lecture du fichier préselectionné.
Délection de mode dans menu... SET, ON, OFF→Après avoir sélectionné SET, appuyez sur la touche ENTER pour régler l'heure.
Un seul fichier peut être lu avec la fonction de lecture d'alarme. Sélectionné un fichier pour la fonction avant de régler l'heure. Pour le dossier S, tous les fichiers du sous-dossier de la date sont lus.

(a) Indicateur d'alarme
Pour annuler une lecture d'alarme
Pour dans le mode menu, selectionnez OFF et appuyez sur la touche ENTER.
- Quel que soit le dossier sélectionné, lorsque l'alarme a été régée, elle sonnera tous les jours à moins que le réglage ne soit modifié.
- Pour voir le réglage en cours, Sélectionnez ON, puis appuyez sur la touche ENTER.
La tonalité d'alarme s'arrête automatiquement si aucune touche n'est pressée dans les 5 minutes après le début de l'alarme. Le fjicher n'est pas lu dans ce cas. - Si l'enregistre n'a pas de filchier enregistré dans le dossier sélectionné, la fonction de lecture d'alarme n'est pas disponible.
- Alarme de programme a lieu tous les jours à moins qu'elle soit réglée sur OFF.
- Meme si aucun fichier n'est enregistré dans le sous-dossier de date du jour, une tonalité bip retentira. Dans ce cas, aucun son ne sera audible même si vous appuyez sur une touche pendant le détenteusement de l'alarme.
Programmateur d'enregistrement (TIMER)
Vous pouvez programmer un enregistrement automatique, en spécifient les heures de démarriage et de fin de l'enregistrement. Lorsque l'enregistrement programmé est terminé, le réglage est remis à zéro.
Délection de mode dans menu... SET, ON, OFF→Après avoir sélectionné SET, appuyez sur la touche ENTER pour régler l'heure.
Pour annuler le réglage du programmeur
Pour le programmateur du mode menu, Sélectionné OFF, puis appuyez sur la touche ENTER.
- Pour afficher le réglage actuel, Sélectionnéz ON, puis appuyez sur la touche ENTER.
- Avec cette fonction, vous ne pouvez régler que les heures de démarriage et d'arrêt de
I'enregistrement. Les réglages actuels du mode d'enregistrement, sensibilité du microphone, VCVA et dossiers, s'appliquent avant que vous ne regliez l'enregistrement professionnel. - Un réglage excédant la durée d'enregistrement restante n'est pas possible.
- Vous pouvez enregistrer à n'importe quel moment même hors de la durée d'enregistrement spécifique. Cependant, si a cause de cela la durée d'enregistrement restante est insuffisante pour l'enregistrementprogramme, l'enregistrement ne sera pas complet.
- Si une opération est en cours, l'enregistrement programme est annulé.
Autres informations
Transfert de fichiers entre les dossiers
Voupez transférer des fichiers enregistrres dans les dossiers A, B et C à d'autres dossiers. Le fichier transféré est ajoute à la fin du dossier de destination.
1 Choisissez le fichier que vous souhaitez transférer et appuyez sur la touche PLAY pour le litre.
2 Maintenez la touche FOLDER pressée au moins 1 seconde pendant la lecture du fichier.
3 Appuyez sur la touche + ou - pour selectionner le dossier de destination.
4 Appuyez sur la touche ENTER.
Le dossier de destination et le numero du fichier transféré s'affichent, et le transfert se termine.
Si le dossier de destination est plein (100 fichiers), "FULL" s'affiche, et vous ne pourrait pas transférer le fjichier dans ce dossier.
- Vous ne pouvez pas transférer des fichiers entre le dossier S et les autres dossiers.
Marques index (VN-240/VN-240PC/VN-480/VN-480PC/VN-960PC)
Des marques index peuvent être incorporees dans un fjichier pendant l'enregistrement ou la lecture pour faciliter la localisation d'une information intéressante.
1 Appuyez sur la touche INDEX pendant l'enregistrement (Pause d'enregistrement) ou la lecture pour poser une marque index. Un numero d'index s'affiche à l'écran.

Effacement d'une marque index
Appuyez sur la touche ERASE lorsque le numéro d'index s'affiche pendant 2 secondes.
- Jusqu'à 10 marques index peuvent être posées dans un fichier.
- Les nombres des marques d'index sequentielles sont réassignés automatiquement.
Remetre l'enregistreur dans l'etat initial (CLEAR)
Cette fonction remet le temps actuel et les autres réglages à leur état initial. Elle est pratique si vous avez des problèmes avec l'enregistreur, ou si vous souhaitez effacer toute sa mémoire.

1 Maintenez la touche STOP pressée, et appuyez sur la touche ERASE au moins 3 secondes.
2 Appuyez sur la touche + ou - pour selectionner "YES" à dire.
3 Appuyez sur la touche ENTER.
Remarque
Si vous laissez l'enregistreurs sans sollicitation 8 secondes ou plus avant d'appuyer sur la touche ENTER à l'etape 3, le mode d'effacement sera annulé, et l'enregistreurs passera en mode d'arrêt.
Pour unemploi sur et correct
Lisez attentivement ce mode d'emploi pour pouvoir manipuler correctement et suturement.
Conserve-let a portee de la main pour toute referece ulterieure.
- Les symboles Avertissement indiquent des informations importantes liées à la sécurité. Pour vous protégé vous-même et les autres contre les blessures ou contre les dégats matériels, il est essentiel que vous préniez toujours en compte les avertissements et infomations fournis.
Avertissement relatif aux pertes de données
Les données enregistrées dans la mémoire risquent d'être détruites ou effacées en cas d'erreur de procédure, d'anomalie de l'appareil, ou pendant des travaux de réparation. Pour les enregistements importants, nous vous recommendons de les écrire quelques part (pour les VN-120/VN-240/VN-480) ou de faire une sauvégarde en les téléchargeant sur un ordinateur (pour les VN-120PC/VN-240PC/VN-480PC/VN-960PC).
Précautions générales
- Ne laïsez pas le lecteur dans un endroit chaud, humide comme dans une voiture fermée en plein soleil ou sur une plage en été.
- Ne rangez pas l'enregistreur dans un endroit trop exposé à l'humidité ou à la poussière.
- N'utilisez pas de solvant organique, tel qu'alcool ou diluant pour vernis, pour nettoyer l'appareil.
- Ne placez pas l'enregistreur sur ou pres d'un autre apparéil électrique tel que téléviseur ou réfrigérateur.
- Evitez le sable ou la saleté. Is peuvent cause des dommages irréparables.
- Evitez les vibrations ou chocs violents.
- Ne démontez pas, ne répAREZ pas et ne modifiez pas cet apparéil vous-même.
- N'utilisez pas cet apparéil pendant la conduite d'un vehicule (tel que bicyclette, motocyclette ou pousette).
- Conservez l'appareil hors de portée des enfants.
Piles
Avertissement
-
Les piles ne doivent jamais être exposées à une flamme, chauffées, court-circuitées ou démontes.
-
N'essayez pas de recharger des piles alcalines, au lithium ou autres piles non-rechargeables.
-
N'utilisez jamais une pile à couvercle extérieur éventré ou fissure.
-
Conservez les piles hors de portée des enfants.
-
Si vous notez quelques choses d'inhabitantuel à l'utilisation de ce produit, par exemple un bruit anormal, de la chaleur, de la fumée ou une odeur de brûlé:
① retirez immédiatement les piles en prénant garde de ne pas vous brûler, et;
② appelez votre revendeur ou le représentant Olympus local pour une révision.
Dépannage
- Les piles sont peut-être usées.
- Les piles sont peut-être mal introduites.
Q1 Rien ne se produit lorsqu'une touche est pressée.
A1 • L'enregistreur est peut'être régé sur HOLD.
Q2 Aucun son ou un son assourdi est audible du haut-parleur pendant la lecture.
A2 • La fiche de l'écouteur peut être branchée dans l'enregistreur.
- Le volume est peut-être régle au minimum.
Q3 L'enregistrement n'est pas possible.
A3 En appuyant sur la touche STOP à plusieurs reprises quand l'enregistreur est arrêté, vérifier que ce qui suit s'affiche:
- La durée limite d'enregistrement restante dans le dossier sélectionné est peut-être atteinte "00:00".
- Le nombre de messages enregistrés dans le dossier sélectionné est peut-être arrivé à 100.
Vérifiez que FULL s'affiche quand vous appuyez sur REC.
Le nombre de messages de la même date dans le dossier S est peut-être arrivé à 10.
Q4 La vitesse de lecture est trop rapide (lente).
A4 Il est possible que l'enregistreur soit regle sur Fast (slow) Playback (Lecture rapide (lente).
Q5 Le temps d'enregistrement restant semble trop court.
A5 Des fichiers sont peut-être stockés dans le dossier S. L'affichage indiquera le nombre total d'enregistements dans le dossier S.
Q6 You ne pouze pas transférer le fichier.
A6 • Le nombre de fichiers enregistrés dans le dossier de destination a peut-être atteint 100.
- Vérifiez que vous n'avez pas transféré au ou du dossier S.
Support d'enregistrement: Durée d'enregistrement:
Mémoire flash incorporee
VN-120 (16 MO) / VN-120PC (16 MO)
Mode HQ: Env. 43 min
Mode SP: Env. 65 min
Mode LP: Env. 121 min
VN-240 (32 MO) / VN-240PC (32 MO)
Mode HQ: Env. 88 min
Mode SP: Env. 133 min
Mode LP: Env. 245 min
VN-480 (64 MO) / VN-480PC (64 MO)
Mode HQ: Env. 177 min
Mode SP: Env. 267 min
Mode LP: Env. 493 min
VN-960PC (128 MO)
Mode HQ: Env. 355 min
Mode SP: Env. 535 min
Mode LP: Env. 990 min
Microphone intégré: Haut-parleur:
Sortie max. utile:
Prise de l'écouteur (monauraux):
Prise pour microphone (monauraux):
Source d'alimentation:
Microphone Electret condensateur (monauraux) Haut-parleur dynamique rond intégré 0 28 mm 120 mW
0 3,5 mm diamètre, impedance 8 Ω
3,5 ~mm diamètre, impedance 2 k
Deux piles AAA (LR03 ou R03) ou deux
Durée d'utilisation continue des piles
Dimensions: Poids:
Deux piles alcalines: Environ 25 heures
Deux batteries rechargeables Ni-MH: Environ 19 heures 99 (L) × 39 (P) × 21,5 (H) mm
VN-120/VN-240/VN-480:66,5g (avec les piles)
VN-120PC/VN-240PC/VN-480PC/VN-960PC: 68 g (avec les piles)
- La durée de vie est estimée par Olympus. Elle peut varier considérablement selon le type de batteries et les conditions d'utilisation.
- Le contenu de vos enregistrements est uniquement destiné à votre usage ou plaisir personnel. Il est interdit, d'après la loi sur les droits d'auteur, d'enregistrrer des matérielux protégés sans la permission du propriétaire de ces droits.
- Les spécifications et la conception peuvent changer sans prévis dans un but d'amélioration des performances.
Accessoires (vendus séparation)
Chargeur de batteries rechargeables Ni-MH: BU-400 (Europe uniquement)
Cordon de raccordement (Prise d'écouteur Prise de microphone): KA333
Microphone condensateur à électrets: ME15
Casque: E99
Adaptateur sur répondeur automatique: TP7
Cet apparail numero ne depasse pas les limites de Categorie B pour les emissions de bruit radio emanant d'appareils numeriques, tel que prevu dans les Reglements sur l'Interference Radio du Department Canadian des Communications.
L'indication "CE" signifie que ce produit est conforme aux exigences concerment la sécurité, la santé, l'environnement et la protection du consommateur.

Le symbole [poubelle sur roue barrée d'une croix WEEE annexe IV] indique une collecte séparée des déchets d'équipements électriques et électroniques dans les pays de L'UE. Veuillesne pas jeter l'équipment dans les ordures domestiques. A utiliser pour la mise en rebut de ces types d'équipements conformément aux systèmes de traitement et de collecte disponibles dans votre pays.
Produit applicable : VN-120/VN-240/VN-480/VN-120PC/VN-240PC/VN-480PC/VN-960PC, Microphone
Notice Facile