ARL110DFFCY/C-EU - Chaudière FALCON - Notice d'utilisation et mode d'emploi gratuit
Retrouvez gratuitement la notice de l'appareil ARL110DFFCY/C-EU FALCON au format PDF.
| Type d'appareil | Chaudière mixte (dual fuel) |
| Combustible | Gaz et fioul |
| Installation | Murale ou au sol |
| Puissance thermique | Non précisé |
| Rendement | Non précisé |
| Type de chauffage | Central |
| Contrôle de température | Thermostat intégré |
| Dimensions | Non précisées |
| Poids | Non précisé |
| Type d'évacuation | Conduit de fumée |
| Alimentation électrique | 230 V |
| Garantie | Non précisée |
| Normes | Conforme aux normes en vigueur |
| Entretien | Instructions fournies |
| Utilisation | Résidentielle et commerciale légère |
FOIRE AUX QUESTIONS - ARL110DFFCY/C-EU FALCON
Questions des utilisateurs sur ARL110DFFCY/C-EU FALCON
0 question sur cet appareil. Repondez a celles que vous connaissez ou posez la votre.
Poser une nouvelle question sur cet appareil
Téléchargez la notice de votre Chaudière au format PDF gratuitement ! Retrouvez votre notice ARL110DFFCY/C-EU - FALCON et reprennez votre appareil électronique en main. Sur cette page sont publiés tous les documents nécessaires à l'utilisation de votre appareil ARL110DFFCY/C-EU de la marque FALCON.
MODE D'EMPLOI ARL110DFFCY/C-EU FALCON
Instructions d'installation et d'entretien

U110141 - 01
Table des Matieres
1. Avant de Commencer... 1
Important! 1
Installation et Entretien 1
Odeur de Neuf 1
Si vous Sentez une Odeur de Gaz 1
Ventilation 1
Sécurité Personnelle 1
Entretien de la plaque chauffante en
3
Entretien de la cuisineire 4
Nettoyage 4
2. Vue d'ensemble de la cuisine 5
Brûleurs de table de cuisson 5
Brûleur de wok 6
Warmer 7
Grill 7
Fours 8
8
Horloge 9
Accessoires 1
Eclairage du four principal 1
Rangement 1
3. Conseils pour la Cuisson 12
Conseils pour la cuisson avec minuterie 12
Conseils généraux pour la cuisson au four 12
4. Cuisson de la table 13
5. Nettoyage de la Cuisinière 14
Informations Importantes 14
Brûleurs de Table de Cuisson 14
Brûleurs Mono-élément 14
Brûleur de Wok 14
Ceramic Hotplate 15
Grill 15
Panneau de Commande et Portes 16
Fours 16
Panneaux de porte 16
Tableau Nettoyage 17
6. Dépannage 18
7. Installation 21
A l'intention de l'installateur 21
Mesures et règlements de sécurité 21
Ventilation 21
Emplacement de la cuisineire 21
Modification 21
Positionnement de la cuisine 23
Déplacement de la cuisine 23
Exécution du mouvement 24
Fixation de l'équre ou chaîne de stabilisation 24
Repositionnement de la cuisinière
après raccordement 24
Modification en vue de l'utilisation d'un autre gaz 25
Mise à niveau 25
Raccordement de l'alimentation en gaz 25
Raccordement electrique 26
Montage de la plinthe 27
Conseils à la clientèle 27
8. Modification au gaz propane 28
Injecteurs 28
Réglage du Robinet de Commande 28
Etiquette Autocollante 29
Essai de Pression 29
9. Schémas de câblage 30
10. Fiche technique 31
1. Avant de Commencer…
Nous vous remercions d'avoir acheté cette cusinière. Installée et utilisée correctement, cette cusinière vous donna de nombreuses années de service fiable. Il est important de dire la presente section avant de commencer, en particulier si vous n'avez jamais utilisé de cusinière mixte.
Important!

Cet apparéil est donc uniquement pour un usage domestique. Toute autre utilisation n'engage ni la responsabilité, ni la garantie du fabricant. En particulier, n'utilise PAS le four pour chauffer la cuisine - non seulement cette pratique invalidera les réclamations, mais elle constituya un gaspillage d'énergie et un risque de surchauffe des boutons de commande.

Cette cuisinière est un apparéil électroménager de classe 1.
Installation et Entretien
Son installation doit être conforme aux instructions appropriées des générées et satisfaire à la réglementation nationale et locale en vigueur, ainsi qu'aux prescriptions des entreprises de gaz et d'électricité locales.
Vérifiez que l'alimentation en gaz est en service et que la cuisinière est raccordée à l'alimentation électrique et sous tension (la cuisinière a besoin d'électricité).
La cusinière doit faire l'objet d'un entretien effectué par un technicien d'entretien qualifié, lequel doit utiliser uniquement des pièces de rechange approvées.
Laissez toujours la cusinière refroidir et mettez-la hors tension avant de la nettoyer ou d'effectuer une intervention d'entretien, sauf indication contraire dans les prsentes instructions.
Odeur de Neuf
Une légère odeur de neuf peut se dégager lors de la première utilisation de la cusinière. Elle disparaître rapidement à l'utilisation.
Avant la première utilisation de l'appareil, assurez-vous qu'il ne resteaucun matériel d'emballage,puisreglezlesfoursur 200^ etfaites-les marcherpendantuneheureafin d'éliminer l'odeur de neuf.
Avant la première utilisation du grill, allumez-le et faites-le marcher pendant 15 minutes, avec la l'echefrite bien en place, et en laissant la porte du grill ouverte.
Veillez à ce que la pierce soit bien ventilée (voir
« Ventilation » ci-dessous). Il est commandé aux personnes souffrant de problèmes respiratoires ou d'allergies de quitter la pierce pendant ce temps.
Sivous Sentez une Odeur de Gaz
N'actionnez aucun interrupteur électrique, ni pour allumer, ni pour éteindre.
- Ne fumez pas.
N'tutilisez pas de flammes hues.
- Coupe le gaz au compteur ou au niveau de la bouteille de gaz.
Ouvrez portes et fenêtres pour évacuer le gaz.
Eloignez toute personne de l'endetroit concerné.
- Appelez votre fournisseur de gaz.
Ventilation
L'utilisation d'un apparéil de cuisson produit de la chaleur et de l'humidité dans la piece contenant l' apparéil. Par conséquent, veillez à ce que la cuisine soit bien ventilée. Laissez les ouvertures de ventilation naturelle ouvertes ou installez une hotte aspirante à évacuation extérieure. En cas d'utilisation simultanée de plusieurs brûleurs ou d'utilisation prolongée de la cusinière, ouvrez une fenêtre ou mettez en marche une hotte aspirante.
Sécurité Personnelle
Appareil ne DOIT PAS estre modifie.
A Cet apparéil n'est pas prévu pour être utilisé par des personnes (y compris des enfants) dont les capacité physiques, sensorielles ou mentales sont réduites, ou par des personnes manquant d'expérience ou de connaissances, sauf si elles ont pu bénéficiair, par l'intémédiaire d'une personne responsable de leur sécurité, d'une surveillance ou d'instructions préalables concernant l'utilisation de l'appareil.
N'utilise PAS de nettoyeur à vapeur sur votre cuisinière.
Les parties accessibles de la cusinière deviennent chaudes lorsque celle-ci est en marche et resteront chaudes même après la cuisson. Ne laissez pas les bébés et les enfants s'approcher de la cusinière et ne portez jamais de vêtements amples ou flottants lors de l'utilisation de la cusinière.
Vérifiez toujours que les commandes sont sur la position Arrêt [OFF] lorsque le four n'est pas en marche et avant de nettoyer la cusinière.
Lorsque le four est en marche, ne laissez PAS la portedu four ouverte plus longtemps que nécessaire,afin de prévenir une surchauffe des boutons decommande.
A Lors de l'utilisation du grill, veillez à ce que la l'echefrite soit en place et insérée à fond dans l'enceinte du grill, ici pour prévenir le risque de surchauffe des boutons de commande.
A Notez que cet apparéil électroménager possède un ventilateur. Lorsqu'un four ou une grille est en fonctionnement le ventilateur fonctionnera pour refroidir la commande et les boutons de commandes.

Fig.1-1
Veillez à ce que les matériaux combustibles, (rideaux, liquides inflammables, etc.) soient toujours suffisamment éloignés de la cuisine.
N'utilise PAS d'aerosols à proximé de la cuisinière lorsque cette-ci est en marche.
Au besoin, utilisez des gants isolants secs - l'emploi de gants humides risque de cause des brûlures dues à la vapeur lors du contact avec une surface chaude. N'utilisez pas de torchon ou autre chiffon écais à la place d'un gant isolant - ils risquent de d'enflammier au contact d'une surface chaude.
Ne faites jamais fonctionner la cusinière avec les mains mouillées.
Ne recouvre pas les grilles, les panneaux internes ou la voute du four de papier aluminium.
Ne chauffez jamais des récipients alimentaires qui n'ont pas été ouverts. La pression accumulée à l'intérieur des récipients peut les faire éclater et blesser l'utilisateur.
N'utilisez pas des casseroles instables. Tournez toujours les manches des recipients de cuisson vers l'intérieur de la table de cuisson.
N'UTILISEZ PAS de récipiens de cisson de diamètre supérieur à celui du foyer.
Ne laissez jamais la table de cuisson en marche sans surveillance si les brûleurs sont régliés sur maximum. Le débordement des recipients peut produit de la fumée et des taches de gras qui risquent de s'enflammer. Si possible, utilisez un thermomètre à bain de friture pour prévenir une surchauffe de l'huile au-delà du point de fumée.
Ne laïsez jamais une friteuse sans surveillance. Faites toujours chauffer l'huile lentement, en la surveillant. Les friteuses ne doivent être remplies qu'à un tiers de leur capacité. Une friteuse trop pleine peut déborder lorsqu'on y plonge des alimentés. Si vous utilisez un mélange d'huile et de graisse pour la friture, mélangez-les avant de chauffer, ou pendant la fonte des graisses.
Les alimentés à frire doivent être le plus sec possible. La présence de cristaux de glace sur des alimentés congelés ou d'humidité sur des alimentés frais peut provoquer une ébullition et un débordement de l'huile. Surveillez attentivement pour prévenir les débordements et la surchauffe pendant la friture à haute ou moyenne température. N'essayez jamais de déplacer un écipient de cuisson contenant de l'huile chaude, en particulier une friteuse. Attendeze que l'huile ait refroidi.
Lorsque le grill est en marche, ne vous servez pas de la grille d'évacuation (la grille le long de la partie arrêté de la cusinière) pour réchauffer des assiettes ou des plats, sécher des torchons ou ramollir du beurre.

N'utilise pas d'eau pour eteindre les incendies dus à la graisse et ne soulevez jamais un reçipient de cuisson qui a pris feu. Eteignez la cusinière etétouffez un récipient qui a pris feu sur une table de cuisson en le recouvrant complètement avec un couvercle de taille appropriée ou une plaque de cuisson. Si possible, utilisez un extincteur à poudre chimique ou à mousse de type polyvalent.
La cuisson d'aliments à haute teneur en eau peut produit une « bouffée de vapeur » à l'ouverture de la porte du four. Lorsque vous ouvrez la porte du four, reculez-vous et attendez que la vapeur se soit dissipée (Fig.1-1).
Veillez à prévenir toute infiltration d'eau dans l'appareil.

Cet apparéil est lourd; prenez garde lorsque vous le déplacez.
Entretien de la plaque chauffante en céramique

Ne faites jamais cuire des alimentes à même la table de cuisson.

Ne découpez pas des alimentés sur la table de cuisson.
Ne laissez pas des ustensiles, alimentés ou produits combustibles sur la table de cuisson lorsqu'elle n'est pas en service (torchon, ou poèle contenant de l'huile, par exemple).

Ne placez pas des feuilles en plastique ou aluminium ou des recipients en plastique sur la table de cuisson.

Ne laissez pas les foyers allumés s'ils ne sont pas utilisés pour la cuisson.
Ne déposez pas d'objets lourds sur la table de cuisson. Meme si la surface en vitrocérémente est très résistante, un impact violent ou la chute accidentelle d'un objet sur la surface risque de la fissurer (Fig.1-2).

Dès l' apparition d'une fissure sur la table de cuisson, mettez immédiatement la cusinière hors tension et faites-la réparer.
SOULEVEZ toujours les récipiens pour les retarder de la table de cuisson. Ne les faites pas glisser sur la surface, car vous risquez de la marquer et de la rayer (Fig.1-3). Mettez toujours le bouton de commande sur la position arrêt [Off] avant de retarder un récipient
Ne placez rien entre le fond du écipient de cuisson et la surface de cuisson (plaque d'amiate, feuille de papier aluminium ou support de Wok, par exemple).

Evitez de faire chauffer un récipient de cuisson vide. Ceci risque en effet d'abîmer la table de cuisson et le récipient.
Seuls certains types de bénéficiaires en verre, vitrocérément, terre cuite ou autres bénéficiaires peuvent être utilisés sur la table de cuisson; les autres risquent de se briser en raison du changement soudain de température.


François
Entretien de la cuisineire
En raison de la condensation de vapeur pendant la cuisson, vous devrez peut-etre essuyer (avec un chiffon doux) des gouttelettes d'eau presentses sur la garniture extérieure du four. Cette précaution contribuera également à prévenir les taches et la décoloration de l'extérieur du four dues aux vapeurs de cuisson.
Nettoyage
Pour des raisons d'hygiène et de sécurité, la cusinière doit toujours être propre, afin de prévenir le risque d'incendie causé par l'accumulation de graisse et autres particules alimentaires.
Nettoyez uniquement les composants indiqués dans les prsentes instructions.
Nettoyez avec précaution. Si vous utilisez une éponge ou un chiffon humide pour essuyer des taches sur une surface chaude, prenez garde au risque de brûlures par la vapeur. Certains produits nettoyants peuvent produit des vapeurs nocives au contact d'une surface chaude.
2. Vue d'ensemble de la cuisineire

Fig.2-1
La cusinière à gaz avec four électrique 110 possède les caractéristiques suivantes (Fig.2-1):
A. 5 brûleurs de table de cuisson, y compris un brûleur de Wok
B. Un panneau de commande
C. Ungril
D. Four conventionnel principal
E. Four ventilé
F. Un tiroir de rangement
Brûleurs de table de cuisson
Le schéma à côté de chaque bouton indique le brûleur associé à ce bouton.
Chaque brûleur est doté d'un dispositif de sécurité spécial qui coupe l'alimentation en gaz en cas d'extinction de la flamme.
Lorsqu'on appuie sur le bouton de commande, une étincelle se produit à chaque brûleur – ceci est normal. N'essayez jamais de démonter ou de nettoyer autour d'un brûleur lorsqu'un autre brûleur est allumé. Vous risqueriez de receivevoir une décharge électrique.
Pour allumer un brûleur, appuyez sur le contacteur d'allumage et appuyez sur le bouton de commande associé et mettez-le sur le symbole grande flamme (H), (Fig.2-2).

Fig.2-2
François

Fig.2-3





Le dispositif d'allumage produit une étincelle et allume le gaz. Continuez d'appuyer sur le bouton pendant quelques secondes pour permettre l'arrivée du gaz dans le brûleur.
Si le brûleur s'éteint lorsque vous relâchez le bouton de commande, le dispositif de sécurité n'a pas été enclenché. Mettez le bouton de commande sur la position Arrêt [Off] et attendez une minute avant d'essayer de nouveau, en appuyant un peu plus longtemps sur le bouton.
Tournez le bouton en sens anti-horaire pour régler la hauteur de flamme (Fig.2-3).
Si la flamme d'un brûleur s'éteint, mettez le bouton de commande sur la position Arrêt [Off] et attendez une minute avant de rallumer.
Veillez à ce que les flammes ne dépassent pas des récipients de cuisson. Utilisez un couvercle sur les récipients de cuisson pour porter à ébullition plus rapidement (Fig.2-4).
Veillez à ce que les recipients de cuisson de grande taille soient bien espacés entre eux.
N'utilissez pas de casseroles ou marmites à fond concave ou à fond à rebord incurve vers le bas (Fig.2-5).
L'utilisation de dispositifs de mjotage, de type plaques d'amiate ou plaques métalliques, est DECONSEILLEE (Fig.2-6). Ces dispositifs diminueront les performances de la cuisinière et risquent d'endommager les grilles de la table de cuisson.
N'utilise pas des recipients de cuisson instables ou déformés susceptibles de se renverser, ni des recipients de cuisson à fond de très petit diamètre (casseroles à lait, pocheuses individuelles, etc.) (Fig.2-7).
Le diamètre minimum recommendé pour les récipients de cuisson est de 120mm . Le diamètre maximum pour les récipients de cuisson est de 250mm .
N'UTILISEZ PAS de recipients de cuisson de diamètre supérieur à celui du foyer.
Brûleur de wok
Le brûleur de Wok (coup de feu) est donc pour fournir une chaleur uniforme sur une grande surface. Il est parfait pour les grandes poêles et la friture rapide à feu vif (Fig.2-8).
Les petits brûleurs sont plus adaptés aux réciements de cuisson plus petits.
Les composants du brûleur sont démontables pour facilitier le nettoyage. Voir « Nettoyage de la cuisine »
En cas de débordement, essuyezès que possible la surface émaillée autour des brûleurs de la table de cuisson. Tâchez d'essuyer la substance renversée pendant que l'émail est encore chaud.
Remarque: Les recipients en aluminium peuvent laisser des traces métalliques au niveau des grilles de la table de cuisson. Ces traces sont sans incidence sur la durabilité de l'émail et peuvent être éliminées à l'aide d'un nettoyant pour métaux.
Chauffe-plats
La partie droite de la table de cuisson compte un chauffe-plats (Fig.2-9). Utilisez le chauffe-plats pour garder les alimentents au chaud pendant que vous terminez la préparation du repas. Tournez le bouton de commande en sens anti-horaire pour lemettre surMarche.
Pour obtenir les valeurs résultats, préchauffez un plat de service et son couvercle pendant 10 minutes avant d'y déposer les alimentés.
Utilisez uniquement des plats résistant à la chaleur.
Gril
Ouvrez la porte du gril et tirez la l'echefrite vers vous à l'aide de la poignée (Fig.2-10).
Le grill a deux éléments qui permettent deCHAuffer la totalité de la lèchefrite ou seulement la partie droite de cette-ci.
Tournez le bouton de commande pour régler la chaleur du grill. Pour un chauffage total, tournez le bouton en sens horsaire (Fig.2-11).
Pour le chauffage de la partie droite, tournez le bouton en sens antihoraire. Le voyant à côté de la commande du grill s'allumera.
Pour deromeurs résultats,faire rentrer le chariot dans la chambre du grill et préchauffer la/les partie(s) appropriée(s) du grill pendant deux minutes. Vous pouvez retirer la grille de la lèchefrite et y déposer les alimentés pendant le préchauffage.
Après préchauffage, retirez le support du gril de l'enceinte du grill. Replacez la l'échefrite et réinsérez le support du grill dans l'enceinte du grill. Vérifie que'il est bien inséré.

Des composants accessibles risquent devenir chauds pendant l'utilisation du grill. Eloignez les enfants de la cuisineire.
La grille de la l'échefrite est réversible pour permettre deux positions de grils (Fig.2-12).
Ne laissez jamais le grill en marche pendant plus de quelques instants si la l'échefrite n'est pas en place sous le grill.

Ne fermez jamais la porte du grill lorsque celui-ci est en marche.





Fig.2-13

Fig.2-14
Fours
L'horloge doit être réglée sur l'houre actuelle pour que les jours puissant fonctionner. Voir les instructions de la section « Horloge » pour le réglage de l'heure.
Remarque - Les références au four gauche et droit s'entendant vu de l'avant.
Le four gauche est un four conventionnel, le four droit est un four ventilé.
Un four conventionnel doté de deux éléments chauffants, l'un visible dans la VOûTE du four, et l'autre sous la sole du four.
Remarque: Veillez à ne pas toucher l'élement supérieur et le déflecteur de l'élement lors de l'insertion ou du retrait des plats dans le four.
L'élement supérieur exposé risquant de cuire certains aliments trop rapidement, nous vous recommandons de placer les alimentés dans la partie inférieure du four. Vous devrez peut-être aussi diminuer la température du four.
Des alimentéssemblablescuits ainsi devront'êtreintervertis pour cuire uniformément.
Four droit à ventilateur
Le four droit à ventilateur est un four ventilé qui fait circuler de l'air chaud en continu, ce qui permet une cuisson rapide et plus constante.
En général, les températures de cuisson recommandées pour un four ventilé sont plus basses que celles pour un four conventionnel.
N'oubliez pas : toutes les cusinières sont différentes - les températures de vos nouveaux jours peuvent être différentes de celles de votre ancienne cusinière.
Fonctionnement du four
Mettez le bouton du four sur la température requise (Fig.2-13).
Levoyant du four restera allumé jusqu'à ce que le four atteigne la température requise. Il s'allumera et s'éteindrapendant la cuisson (Fig.2-14).
Elément gratineur
L'élement gratineur est situé dans la partie supérieure du four gauche. Il peut être utilisé à la fin de la période de cuisson normale pour gratiner davantage un gratin ou dorer une viande.
Lorsque la cuisson normale est terminée, tournez le bouton de thermostat du four gauche en sens horaire pour lemettre sur la position de gratinage, indiquee par le (symbole Gratinage) ( ) sur le panneau de commande.
Seul l'élément brunissement fonctionnent lorsque le thermostat est réglé à cette position. Les éléments de cuisson supérieure et la base s'éteindra automatiquement.
Horloge
Vous pouvez utiliser l'horloge pourmettre en marche et eteindre les jours. L'horloge doit etre reglee sur l'heure actuelle pour que les jours puissant fonctionner (Fig.2-15).
Réglagedel'heure
Après raccordement initial de l'horloge, l'affichage clignotera pour indiquer (0.00) et (1) alternatively.
Appuyez en continu sur les boutons [♀] et [♂] (Fig.2-16). En même temps, appuyez sur (-) ou (+) jusqu'à l'affichage du temps de cuisson requis.
N'oubliez pas qu'il s'agit d'une horloge 24 heures.
Si vous faites une erreur ou si vous vous trompez de bouton, mettez l'appareil hors tension pendant une ou deux minutes, puis recommencez la procédure.
Minuterie
Appuyez sans relâcher sur la minuterie [Ω] (Fig.2-17), En même temps, appuyez sur[+] jusqu'à l'affichage du temps de cuisson requis (Fig.2-18).
Vous pouvez vérifier le temps de cuisson qui reste en appuyant sur [Ω] et annuler le signal sonore en appuyant encore une fois sur [Ω].
Le « temps de cuisson », c'est-à-dire la durée pendant laquelle vous pouze que le four fonctionne.
« L'heure d'arrêt», c'est-à-dire l'heure à laquelle vous poulez que le four s'arrête.
Arrêt automatique du four
Appuyez sans relâcher sur le bouton Heure d'arrêt [□]
(Fig.2-19). En même temps, appuyez sur (-) ou (+) jusqu'à
« l'heure d'arrêt » s'affiche (Fig.2-20). AUTO sera affchéé.
Le signal sonore indiquera la fin de la cuisson à l'heure prévue. Mettez d'abord le bouton de commande du four sur la position 0 (Arrêt), puis appuyez une fois sur [ ] pour arrêté le signal sonore, appuyez de nouveau sur [ ] pour revenir au fonctionnement manuel.
Pour démarrer et arrêt automatique les jours
Avant de régler la minuterie,CHOISSEZ le « temps de cuisson », et « l'heure d'arrêt »
Remarque: Vous ne pouvez pas régler directement une heures de mise en marche – celle-ci est régée automatiquement lors de la seLECTION du « temps de cuisson » et de « l'heure d'arrêt »
Appuyez sans relâcher sur le bouton Temps de cuisson [+]
(Fig.2-21). En même temps, appuyez sur (-) ou (+) jusqu'à l'affichage du temps de cuisson requis (Fig.2-22).
Appuyez sans relâcher sur le bouton Heure d'arrêt [□]
(Fig.2-23). En même temps, appuyez sur (-) ou (+) jusqu'à « l'heure d'arrêt » s'affiche (Fig.2-24). Relâchez les boutons.
AUTO sera affché.
Réglez le four sur la température requise. Le signal sonore indiquera la fin de la cuisson. Mettez d'abord le bouton de






François





commande du four sur la position 0 (Arrêt), puis appuyez une fois sur [凹] pour arrêter le signal sonore, appuyez de nouveau sur [凹] pour revenir au fonctionnement manuel.
Si vous étés absent pendant la cuisson, ne vous inquiétez pas au sujet de l'arrêt du signal sonore, celui-ci s'arrêtea après un certain temps. A votre retour, mettez d'abord le bouton de commande du four sur 0, puis appuyez deux fois sur [ ] pour revenir au fonctionnement manuel.
AUTO est affché, et vous foulez remetre le four sur fonctionnement manuel
Pour revenir à un fonctionnement manuel après un fonctionnement automatique, vous doivent annuler le « temps de cuisson ». Appuyez en continu sur la touche [□] puis appuyez sur la touche [−] jusqu'à ce que l'affichage indique (0.00).
Appuyez sur la touche [m] pour revenir à un fonctionnement manuel.
Fonction de verrouillage
Après activation de la fonction de verrouillage, le four est verrouillé et ne se mettra pas en marche.
Activation de la fonction de verrouillage
Vérifiez que l'horloge est sur le mode manuel et annulez tout programme en cours.
Appuyez sans relâcher sur les boutons Minuterie [a] et Temps de caisson [a]. « On » (marche) sera affché
(Fig.2-25) Appuyez une fois sur le bouton [+] . Le symbole de clé [·] disparaît et « OF » (Arrêt) s'affiche (Fig.2-26). Relâchez les boutons.
Les jours sont désormais verrouillées, comme indiqué par l'affichage de l'heure et du symbole clé (Fig.2-27).
Arrêt de la fonction de verrouillage
Appuyez sans relâcher sur les boutons Minuterie [♀] et Temps de caisson [♂]. « OF » (Arrêt) sera affché (Fig.2-28) Appuyez une fois sur le bouton [+]. Le symbole de clé [♀] disparaît et « On » (marche) s'affiche (Fig.2-29). Relâchez les boutons.
Après quelques secondes, l'heure est de nouveau affichée.
Le four peut être maintainant utilisé normalement.
Accessoires
Grilles de four
Les grilles de four peuvent être facilement retirées et remises en place (Fig.2-30).
Tirez la grille vers l'avant jusqu'à ce que l'arrière de la grille soit arrêté par les butées d'arrêt latérales du four (Fig.2-31).
Soulevez l'avant de la grille pour faire passer l'arrière de la grille sous la butée d'arrêt, puis tirez la grille vers l'avant (Fig.2-32).
Pour remettre la grille en place, mettez la grille à niveau avec une glissière latérale du four, puis insérez la grille à fond jusqu'à ce que les extrémités soient en contact avec la butée d'arrêt de la grille. Soulevez l'avant de la grille pour que les extrémités poussent dépasser les butées, puis abaissez l'avant pourmettre la grille à l'horizontal, avant de l'insérer à fond (Fig.2-33).
Eclairage du four principal
Appuyez sur le bouton approprié pour allumer l'éclairage du four (Fig.2-34).
Si l'éclairage est défectueux, mettez la cusinière hors tension avant de changer l'ampoule. Pour des informations détaillées sur la façon de changer une ampoule de four, reportez-vous à la section « Dépannage »
Rangement
Le tiroir inférieur permet le rangement des plaques de cuisson et autres ustensiles de cuisine (Fig.2-35). Il peut devenir très chaud; n'y rangez pas des objets susceptibles de fondre ou de s'enflammer.
Pour-retirer le tiroir, ouvre-le complètement et tirez vers le haut.





François
3. Consels pour la Cuisson
Conseils pour la cuisson avec minuterie
Si vous désirez cuire plusieurs plats simultanément,CHOISSE des plats nécessitant approximativement le même temps de cuisson. Cependant, la cuisson de certains plats peut etre légèrement « ralentie » en utilisant des petits plats de cuisson et en les recouvrant d'une feuille de papier aluminium, ou « accélérée » en utilisant de plus petites quantités ou des plats de cuisson plus grands.
Ne place pas des alimentes chauds dans le four qui sera utilisé avec la fonction minuterie.
N'utilise pas un four deja chaud avec la fonction minuterie.
N'utilise pas la fonction minuterie avec un four si le four adjacent est déjà chaud.
Décongelez complètement les volailles entières avant de lesmettre au four. Assurez-vous que les viandes et volailles sont bien cuites avant de les servir.
Conseils généraux pour la cuisson au four
Veillez à ce que les grilles soient toujours insérées à fond dans le four.
Placez les plaques de cuisson, plats à rotir, etc., à niveau, au centre des grilles du four. Eloignez les plaques et les plats de cuisson des bords du four, afin de ne pas trop dorer les alimentes.
Pour dorer un plat uniformément, il est recommendé d'utiliser une plaque de cuisson de dimensions maximales de 340 mm x 340 mm.
Lorsque le four est en marche, NE LAISSEZ PAS la portedu four ouverte plus longtemps que nécessaire, afin deprévenir une surchauffe des boutons de commande.
- Laissez toujours un « doigt de largeur » entre des plats placés sur une grille de four. Ceci afin de facilititer la circulation de chaleur autour des plats.
Pour réduire les projections grasses lorsque vous ajoutez des légumes dans laGRAISSÉchaude autour d'un roti, séchez soigneusement les légumes ou enduisez-les d'un peu d'huile à friture. - Placez les plats susceptibles de bouillir et déborderpendant la cuisson sur une plaque de cuisson.
- Les panneaux internes autonettoyants (voir la section « Nettoyage de la cuisine ») sont plus efficaces lorsqu'on évite les projections grasses. Couvre la viandependant la cuisson.
Le four produit assez de chaleur pendant la cuisson pour rechauffer des assiettes placées dans l'enceinte du grill.
Si vous souhaitez dorer un fond de tarte, préchauffez une plaque de cuisson pendant 15 minutes avant de placer le plat au centre de la plaque.
4. Cuisson de la table
Les températures du four et les temps de cuisson sont fournis à titre indicatif uniquement. En fonction des goûts de chacun, les températures devront peut-être être modifiées dans un sens ou dans l'autre, pour obtenir les résultats que vous recherchez.
Dans un four ventilé les plats sont cuits à une température plus basse que dans un four traditionnel. Lorsque vous suivez une recette, réduisez la température indiquée de 10^ et le temps de cuisson de 5-10 minutes. La température dans un four ventilé ne varie pas selon la position dans le four - vous pouvez donc utiliser n'importe chaque grille.

Haut
Centre
Base
Position de grille
Température Four
Conventional ^ C
Position
de grille
Température
Four Ventilé ^ C Temps de Cuisson Approximatif
| Boeuf | 160 | C | 150 | 30-35 minutes par 500g +30-35 minutes. | Farci et roulé - Ajoutezapproximativement 10 minutes/500gaux temps de cuisson ci-dessus oufaites cuire à 200°C pendant 20minutes, puis à 160°C pendant lereste de la cuisson. |
| 200 | C | 190 | 20-25 minutes par 500g +20-25 minutes. | ||
| Agneau | 160 | C | 150 | 30-35 minutes par 500g +30-35 minutes. | |
| 200 | C | 190 | 20-25 minutes par 500g +20-25 minutes. | ||
| Porc | 160 | C | 150 | 35-40 minutes par 500g +35-40 minutes. | |
| 200 | C | 190 | 25-30 minutes par 500g +25-30 minutes. | ||
| Volatile | |||||
| Poulet | 160 | C | 150 | 20-25 minutes par 500g +20-25 minutes. | Volatile farcie - Cuisson à 200°C ouà 200°C pendant 20 minutes, puis à160°C pendant le resté de lacuisson.Préemballée (fraîche ou congelée):Suivre les temps de cuissonindiqués sur l'emballage.Avant la cuisson, decongelezcompletement les rotis et volaillescongeles. |
| 200 | C | 190 | 15-20 minutes par 500g +15-20 minutes. | ||
| Dinde | 160 | C | 150 | 25-30 minutes par 500g +25-30 minutes. | |
| 200 | C | 190 | 20 minutes par 500g +20 minutes. | ||
| Canard | 160 | C | 150 | 25-30 minutes par 500g. | |
| 200 | C | 190 | 20 minutes par 500g. | ||
| Plat braisé | 140-150 | C | 130-140 | 2-4 heures selon la recette. | |
| Poisson | |||||
| 190 | C | 180 | Filet 15-20 minutes. Morceau entier 15-20 minutes par 500g. | ||
| 190 | C | 180 | Morceau entier 10 minutes par 500g +10 minutes. | ||
| 190 | C | 180 | Steaks selon l'épaisseur. | ||
| Gâteau | |||||
| Cake 100% fruits confits | 140 | C/B | 130 | 45-50 minutes par 500g de pâte. | |
| Fruits 180mm | 150 | C/B | 140 | 2-2,5 heures. | |
| Fruits 230mm | 150 | C/B | 140 | 3,5 heures. | |
| Gâteau quatre quarts 180mm | 180 | C | 170 | 20-30 minutes. | |
| Desserts | |||||
| Tarte pâté brisée | 200 | C | 190 | 30-40 minutes. | |
| Tourtes aux fruits | 180 | C | 170 | 30-40 minutes permutation après 25 minutes. | |
| Tartelettes | 180 | C | 170 | 15-20 minutes. | |
| Pâté feuilletée | 220 | C | 210 | 20-40 minutes selon la taille. | |
| Meringues | 100 | C | 90 | 2-2,5 heures selon la taille. | |
| Pain | 220 | C | 210 | 20-30 minutes. | |
5. Nettoyage de la Cuisinière
Fig.5-1

A-Chapeau, B-Tete, C-Encoche, D-Socle, E-Electrode
Fig.5-2

A-Chapeau de bruleur interne, B-Chapeau de bruleur externe,
C-Tete de bruleur interne, D-Tete de bruleur externe,
E-Socle de bruleur de Wok

Fig.5-3
Fig.5-4

A - Encochrome, B - Electrode allumage
Informations Importantes
Avant un nettoyage complet, mettez la cuisinière hors tension. Laissez-la refroidir.
N'utilise jamais de solvants pour peinture, de cristaux de soude, de nettoyants caustiques, de poudres biologiques, d'eau de Javel, de nettoyants chlorés, ni de produits abrasifs à gros grain ou de sel. Ne mélangez pas plusieurs produits nettoyants, car ils risquent de réagir entre eux et d'avoir des effets nocifs.
Toutes les parties de la cusinière peuvent être lavées à l'eau savonneuse chaude – mais voirlez à prévenir toute infiltration d'eau dans l'appareil.
N'oubliez pas de mesure de l'électricité avant de réutiliser la cuisine.
Brûleurs de Table de Cuisson
Les têtes et chapeaux de brûleurs sont démontables pour faciliter le nettoyage. Vérifié qu'ils sont complètement secs avant de les remettre en place.
Brûleurs Mono-élément
Lors de la remise en place de la tête du brûleur, assurez-vous que l'encoche est en face de l'électrode ou du trou sur le socle. Vérifiez que la tête du brûleur est à niveau et que le chapeau est bien centré sur la tête du brûleur (Fig.5-1).
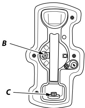
Brûleur de Wok
Le brûleur de Wok est un peu plus complexe mais est aussi démontable à des fins de nettoyage.
Lors du remontage des éléments du brûleur de Wok (Fig.5-2), returnez l'anneau de garniture et repérez la partie en forme de « D » (Fig.5-3). Tournez la tête jusqu'à ce que le « D » corresponde à celui situé sur le socle du brûleur. Retournez la tête et placez-la sur le socle du brûleur.
Pour monter le petit brûleur interne, repêrez la grande encoche d'électrode sur le bord du brûleur. Alignez-la sur l'électrode d'allumage blanche et placez le brûleur interne sur le grand anneau du socle (Fig.5-4).
Montez les deux chapeaux de brûleur, en vérifiant qu'ils sont placés correctement.
Assurez-vous que les orifices de brûleur ne sont pas obstrués. En cas d'obstruction des orifices, retirez les particules tenaces à l'aide d'un bout de fusible.
Plaque de cuisson en céramique
Entretien Quotidien
Vérifiez tout d'abord que tous les indicateurs de chaleur résiduelle sont éteints et que la table de cuisson a refroidi. Appliquez une petite quantité de nettoyant semi-liquide pour surface vitrocéramique au centre de chaque zone à nettoyer. A l'aide de papier essuie-tout propre et humide, étalez le produit nettoyant sur la surface de cuisson. Pour finir, essuyez la surface avec du papier essuie-tout propre et sec.
Nettoyage des Débordements
En cas de déversement ou débordement accidentel pendant la cuisson, éteignez la cusinière et essuyez autour de la zone chaude avec du papier essuie-tout propre. Si les alimentents renversés (autres qu'une substance sucrée) se trouvent sur une zone chaude de la table de cuisson, attendez que cette-ci ait entièrement refroidi pour nettoyer et suivez les instructions ci-dessous (« Nettoyage des déversements brûlés »).
En cas de fonte accidentelle d'un objet ou de déversement d'aliments à force teneur en sucre (confiture, sauce tomate, jus de fruit, etc.), ENLEVEZ IMMEDIATEMENT les alimentés déversés à l'aide d'un racloir à lame pendant que la table est encore chaude.
IMPORTANT: Utilisez un gant isolant pour ne pas vous brûler.
Raclez le plus gros des alimentés déversés ou de toute matière qui aurait fondu sur la zone de cuisson et poussez-les vers une zone froide. Mettez ensuite la cusinière sur la position Arrêt [OFF] et laissez-la refroidir avant de continuer le nettoyage. Lorsque la surface de cuisson a refroidie et que les indicateurs de chaleur résiduelle sont éteints, suivez la procédure de nettoyage quotidien décrite plus haut.
Nettoyage des Déversements Brûlés
Vérifiez que les indicateurs de chaleur résiduelle sont éteints et que la table de cuisson a refroidi. Retirez toute matière brûlée à l'aide d'un racloir à lame simple. Tenez le racloir à un angle d'environ 30^ au-dessus de la surface et raclez pour éliminer les dépôts (Fig.5-5).
Lorsque le plus gros a ete enleve a l'aide du racloir, suivez la procedure de nettoyage quotidien decrite plus haut.
Nettoyage des traces métalliques
Lorsquils sont glissés sur la table de cuisson, les recipients en aluminium ou en cuivre peuvent y laisser des marques. Meme si elles ressemblent souvent à des rayures, ces marques sont faciles à-retirer au moyen de la procédure de nettoyage des substances renversées décrite plus haut. Dans le cas de marques tenaces, utilisez un produit nettoyant semi-liquide et un racleur.
Gril

Avant dePTRirer des composants du gril pour les nettoyer, assurez-vous quils ont refroidi ou protégez-vous avec des gants isolants.

François



La lèchefrite et le support sont amovibles pour faciliter le nettoyage (Fig.5-6).
Après les grillades de viandes ou d'aliments salissants, faites tremper dans l'évier, pendant quelques minutes, immédiatement après la cuisson. Les taches tenaces sur la grille peuvent être enlevées à l'aide d'une brose en nylon.
Lavez la lèchefrite et la grille à l'eau savonneuse chaude. La lèchefrite peut aussi être lavée au lave-vaisselle.
Panneau de Commande et Portes
N'utilisez pas des produits nettoyants abrasifs, y compris des produits nettoyants semi-liquides, sur les surfaces en acier inoxydable brossé. Les mêleurs résultats s'obtiennent avec des détergents liquides.
Le panneau et les boutons de commande doivent uniquement être nettoyés avec un chiffon doux imbibé d'eau savonneuse chaude – mais prenez garde à ce qu'aucun excédent d'eau ne s'infiltré dans l'appareil. Essuyez avec un chiffon propre puis astique avec un chiffon sec.
Fours
Sur certains modèle, le panneau avant de la porte du four peut être retirepour permettre le nettoyage des panneaux en verre. Avancez la cusinière afin de pouvoir acceder aux parties laterales (veuillez dire la section « Déplacement de la cusinière » des prsentes instructions).
Panneaux deporte
Entrouvre la porte du four et retirez les vis de fixation du panneau avant des côts de la porte (deux de chaque côté) (Fig.5-7).
Soulevez le panneau de porte extérieur avec précaution. Vous pouvez à présent nettoyer la face interieure des panneaux, en veillant à ne pas déplacer ni mouiller les joints d'étanchéité de la porte.
Remarque: Si la porte est dotée d'un triple vitrage, les panneaux interieurs sont fixés ensemble et ne doivent pas séparés. Àpres nettoyage, reposez le panneau de porte extérieur avec précaution et replacez les vis de fixation.
N'UTILISEZ PAS de produits nettoyants décapants et abrasifs ni de racloirs métalliques acérés pour nettoyer la surface en verre de la porte du four, afin de prévenir tout risque de rayures et de fissures du verre.
Panneaux autonettoyants du four
Le four principal est doté de panneaux amovibles à revêtement émailé qui sont partiellement autonettoyants. Ceci n'empêche pas complètement la formation de taches sur le revêtement, mais réduit le nettoyage manuel nécessaire.
Le nettoyage automatique des panneaux est plus efficace à une température supérieure à 200^ . Si, en général, vous utilisez le four à des températures inférieures, retirez occasionnellement les panneaux et essuyez-les avec un chiffon non pelucheux imbibé d'eau savonneuse chaude. Séchez et replacez les panneaux dans le four chauffé à
200 °C pendant environ une heures. Ceci assurera un bon fonctionnement des panneaux autonettoyants.
Nettoyage de l'intérieur du four
Si vous souhaitez nettoyer l'émail à l'intérieur du four, il vous faudra òter les grilles, puis les panneaux 'Cuisson & Nettoyage'. Chaque panneau lésral est maintenu en place par quatre vis de fixation. Les panneaux peuvent être retirés sans avoir à enlever les vis. Soulevez chaque panneau lésral pour le décrocher des vis. Tirez-le ensuite vers l'avant (Fig.5-8).
Après retrait des panneaux internes, vous pouvez nettoyer l'intérieur émailé du four.
N'utilise pas de paille de fer ou tout autre matériel susceptible de rayer la surface.
Tableau Nettoyage
Les produits nettoyants indiqués sont en vente dans les supermarchés ou les magasins d'accessoires électriques (Tableau 5-1).
Pour les surfaces émailées, utilisez un produit nettoyant recommende pour l'email vitrifié.
Un nettoyage régulier est recommandé. Pour faciliter le nettoyage, essuyez les taches immédiatement.
Tableau 5-1
| Table de cuisson | ||
| Composant | Finition | Méthode de nettoyage recommmandée |
| Surface de la table de cuisson | Email ou acier inoxydable | Eau savonneuse chaude, chiffon doux. Frottez doucement avec un tampon à récurer en nylon pour éliminer les taches tenaces. |
| Table de cuisson céramique/induction | Verre trempé | Eau savonneuse chaude, nettoyant crème/tampon à récurer si nécessaire. |
| Plaque à griller (selon les modèles) | Surface antiadhésive | Laissez refroidir. Lavec à l'eau savonneuse chaude. N'utilise pas de produits nettoyants/tampons abrasifs. Lave-vaisselle. |
| Zone de réchauffage (selon les modèles) | Verre trempé | Eau savonneuse chaude, nettoyant crème/tampon à récurer si nécessaire. |
| Exterieur de la cusinière | ||
| Composant | Finition | Méthode de nettoyage recommmandée |
| Porte, pourtour de portet etextérieur du tiroir de rangement | Email ou peinture | Eau savonneuse chaude, chiffon doux. Frottez doucement les tâches tenaces avec un détergent liquide. |
| Acier inoxydable | Chiffon multi-uses en microfibre (supermarché). | |
| Côtés et plinthe | Surface peinte | Eau savonneuse chaude, chiffon doux. |
| Dosseret / Grille arrête | Email ou acier inoxydable | Eau savonneuse chaude, chiffon doux. Nettoyez soigneusement avec un produit nettoyant semi-liquide, si nécessaire. |
| Panneau de commande | Peinture, émail ou acier inoxydable | Eau savonneuse tiège. N'utilise pas de produits nettoyants abrasifs sur les caractères. |
| Boutons de commande/poignées et garnitures | Plastique/chrome ou cuivre | Eau savonneuse tiège, chiffon doux. |
| Laiton | Produit de polissage pour laiton (supermarché). | |
| Vitre de porte de four / Couvercle en verre | Verre trempé | Eau savonneuse chaude, nettoyant crème/tampon à récurer si nécessaire. |
| Four et Gril | ||
| Composant | Finition | Méthode de nettoyage recommmandée |
| Parois, sole et voute du four - PAS les PANNEAUX AUTONETTOYANTS (voir ci-dessous) | Tout produit nettoyant pour four utilisable avec l'émail. ATTENTION : PRODUITS NETTYANTS CORROSIFS/CAUSTIQUES POUR FOURIS : SUIVEZ LES INSTRUCTIONS DU FABRICANT. Evitez tout contact avec les éléments du four. | |
| Panneaux autonettoyants de four (selon les modèles) | Email spécial partiellement autonettoyant | Cette surface est autonettoyante à 200 °C ou plus; vous pouvez également retarder les panneux et les nettoyer à l'eau savonneuse chaude et avec une brose en nylon. |
| Grilles de four, Handyrack, grille de l'echefrite, Handygrill | Chrome | Tout produit nettoyant pour four utilisable avec le chrome. Tampon à récurer savonneux. Lave-vaisselle. |
| L'echefrite/Plat à viande (selon les modèles) | Eau savonneuse chaude. Tampon à récurer savonneux. Lave-vaisselle. | |
François
6. Dépannage
Défaillance de l'allumage ou des brûleurs de la table de cuisson
L'appareil est-il sous tension? L'horloge est-elle éclairée?
Si ce n'est pas le cas, l'alimentation électrique est peut-être défectueuse.
Les encoches du générateur d'étincelles (électrode d'allumage) ou du brûleur sont-elles obstruées par des débris?
Les anneaux de garniture et les chapeaux des brûleurs sont-ils places correctement : voir la section « Nettoyage de la cuisine »?
Les brûleurs de la table de cuisson ne s'allument pas
Assurez-vous que les éléments du brûleur ont été replaced correctement après avoir été essuyés ou retirés pour nettoyage.
Vérifiez que l'alimentation en gaz n'est pas défectueuse. Pour ce faire, vérifie le fonctionnement de vos autres apparèils à gaz.
Les brûleurs produits-ils une étincelle lorsque vous appuyez sur le bouton?
Si non, vérifie que le courant est allumé en s'assurant que l'horloge est illuminaire.
De la vapeur s'échappe du four
Pendant la cuisson d'aliments à haute teneur en eau (frites surgelées, par exemple) un peu de vapeur peut être visible à la grille à l'arrête du chauffe-plates.
Faites attention en ouvrant la porte du four, une bouffée de vapeur peut s'échapper momentarily à l'ouverture du four. Reculez-vous et attendez que la vapeur se soit dissipée.
Une fissure est visible sur la surface de la table de cuisson
Mettez immédiatement la cusinière hors tension et faites-la réparer. N'utilise pas la cusinière tant qu'elle n'a pas été réparée.
La table de cuisson est rayée
Utilisez toujours les méthodes de nettoyage recommandées dans les Presents instructions, et voirlez à utiliser des recipients de cuisson à fond lisse et propre.
Les traces laissées par les dépôts mineraux dus à l'eau et aux alimentes, peuvent être éliminés à l'aide d'un produit nettoyant semi-liquide. Il n'est pas toujours possible d'éliminer les toutes petites rayures, mais celles-ci s'estomperont à la longue après plusieurs nettoyages.
Traces de métal sur la table de cuisson
Ne faites pas glisser de récipient de cuisson en aluminium ou en cuivre sur la surface de cuisson. Les traces de récipient en aluminium et en cuivre, de
meme que les dépôts inorganiques issus de l'eau et des alimentents, peuvent être retirees à l'aide d'un produit nettoyant semi-liquide.
Quels sont les produits de nettoyage recommendés pour la cuisineire?
Reportez-vous à la section « Nettoyage » pour en savoir plus sur le matériel recommendé pour le nettoyage.
N'utilise jamais de produits nettoyants caustiques ou abrasifs qui abimeront la surface.
Le ventilateur du four est bruyant
Le bruit du ventilateur peut changer pendant le chauffage du four - ici est tout à fait normal.
Les boutons de commande deviennent chauds lorsque j'utilise le four ou le grill. Comment faire pour empêcher cela?
Ceci est dû à la chaleur provenant du four ou du gril. Ne laissez pas la porte du four ouverte.
Lorsque vous utilisez le grill, assurez-vous que la l'echefrite du grill est bien insérée jusqu'à la butée arrête.
Laissez toujours la porte de l'enceinte du grill ouverte pendant l'utilisation du grill.
En cas de problème concernant l'installation, si mon installateur d'origine ne peut pas venir résoudre le problème, à qui incombent les frais?
C'est à vous qu'incombent ces frais. Les sociétés d'entretien factureront leurs interventions si elles réparent une installation effectuee par votre installerur d'origine. Il est de votre intérêt de contacter votre installerur d'origine.
Panne de courant
En cas de panne de courant, n'oubliez pas de régler de nouveau l'horloge pour permettre le fonctionnement automatique du four.
Les alimentés cièsent trop lentement, trop rapidement, ou brûlent
Les temps de ciisson peuvent être différents de ceux de leur ancien four.
Vérifiez que vous utilisez les températures et positions de grilles de four recommends. Les températures du four et les temps de cuisson sont fournis à titre indicatif uniquement.
En fonction des goûts de chacun, les températures devront peut-être être modifiées dans un sens ou dans l'autre, pour obtenir les résultats que vous recherchez.
La ciisson au four n'est pas uniforme
N'utilise pas de plat ou de plaque de cuisson de dimensions supérieures à celles indiquées dans la section « Conseils généaux pour la cuisson au four »
Dans le cas d'un grand plat, vous devrez peut-être le tourner pendant la cuisson.
Si vous utilisez deux grilles, vérifie qu'il y a assez de place pour permettre à la chaleur de circuler. Lorsque vous insérez une plaque de cuisson dans le four, voirlez à la placer au centre de la grille.
Vérifiez que le joint d'étanchéité de la porte n'est pas endommagé et que le loquet de porte est régle de façon à ce que la porte soit bien appuyée contre le joint.
Un récipient d'eau place sur la grille doit avoir une profondeur uniforme. (S'il est plus profond à l'arrière, par exemple, l'arrête de la cusinière doit être levé ou l'avant de la cusinière abaisse). Si la cusinière n'est pas à niveau, demandez à votre fournisseur de laMETRE à niveau.
Le four ne s'allume pas
L'appareil est-il sous tension? L'horloge est-elle éclairée? Si ce n'est pas le cas, l'alimentation électrique est peut-être défectueuse.
Le sectionneur de l'alimentation électrique de la cuisine est-il sur la position Marche?
L'heure a-t-elle ete reglee?
Le symbole clé (†) s'affiche-t-il pour indiquer le verrouillage du four ? Reportez-vous à la section « Horloge » des générantes instructions pour un complément d'informations sur la fonction de verrouillage.
Le four ne s'allume pas avec la mise en marche automatique
Le bouton de commande du four a-t-il eté laissé par erreur sur ARRET (OFF)?
Four est-il verrouillé (voir ci-dessus)?
Avec le temps, la température du four de la cuisinière devient plus chaude
Si le fait demettre le bouton de réglage sur une température inférieure n'a pas eu d'effet ou a eu un effet-temporaire, vous devrez peut-être replacer le thermostat. Cette intervention doit être effectué par un spécialiste de l'entretien.
L'éclairage du four ne fonctionne pas
L'ampoule a probablement grillé. Vous pouvez acheter une ampoule de rechange (non couverte par la garantie) dans un magasin d'accessoires électriques. Demandez une ampoule à culot vissable Edison 15 W 240 V, POUR FOURS. Cette ampoule doit pouvoir résister à une température de 300^ (Fig.6-1).
Coupez l'alimentation à l'aide du disjoncteur.
Avant de retirer l'ampoule usagée, mettez la cusinière hors tension et assurez-vous que le four a refroidi. Ouvrez la porte du four et retirez les grilles du four.

Fig.6-1
François

Fig.6-2


Fig.6-3

Effet de l'ajustement de la charnière - exagéré pour plus de clarté
Fig.6-4
Ligne centrale de I'axe de charnière

Omission de la porte du four pour plus de clarté
Dévissez le couvercle de l'ampoule en tournant en sens anti-horaire (il peut être très difficile à dévisser) (Fig.6-2).
Dévissez l'ampoule en tournant en sens anti-horaire, en vous protégéant les mains avec un gant pour ne pas vous blesser.
Vissez l'ampoule de rechange, puis revissez le couvercle de l'ampoule. Remettez l'appareil sous tension et contrôle le fonctionnement de l'éclairage.
La porte du four est alignée mal
La charnière inférieure de la porte peut être ajustée afin de modifier l'angle de la porte (Fig.6-3). Desserrez les vis de fixation de la charnière inférieure, et utilisez le cran et un tournevis à lame plate pour changer la position de la charnière et la régler (Fig.6-4).
Resserrez les vis de la charnière.
INSTALLATION
Une fois le travail terminé, vérifie que les alimentations de gaz et d'électricité sont correctement rebranchées.
7. Installation
A l'intention de l'installateur
Avant de commencer l'installation, veuillez replir la fiche ci-dessous. Ceci permettra à votre client de vous contacter facilement en cas de problème relat à l'installation.
| Nom de l'installateur |
| Société de l'installateur |
| Numéro de telephone de l'installateur |
| Numéro de série d'appareils |
Mesures et règlements de sécurité
Vous doivent avoir connaissance des mesures & règlements de sécurité suivants.

Cette cusinière doit être installée conformément aux instructions appropriées des générées et à la reglementation nationale et locale en vigueur, ainsi qu'aux prescriptions des compagnies de gaz et d'électricité locales.

Avant l'installation, vérifie que la cuisine convient au type de gaz et à la tension d'alimentation électrique. Reportez-vous au badge technique.

Cet apparéil doit être installé conformément à la réglementation en vigueur, et uniquement dans un endroit bien ventilé.

Lisez les instructions avant d'installer ou d'utiliser cet apparéil.

Dans votre intérêt et par souci de sécurité, légalement, tous les-appareils à gaz doivent être installés par des personnes compétentes. Une installation incorrecte n'engage ni la responsabilité, ni la garantie du fabricant, et peut donner lieu à des poursuites.

Cet apparéil peut être modifié afin d'être utilisé avec d'autres types de gaz.
Ventilation
Cet apparéil n'est pas raccordé à un dispositif d'évacuation des produits de combustion. Prétez particulièrement attention à la reglementation en vigueur concernant la ventilation.
Emplacement de la cusinière
La cusinière peut être installée dans une cuisine/un salon-cuisine, mais PAS dans une piece contenant une baignoire ou une douche.
Cet apparéil est conçu uniquement pour un usage domestique. Toute autre utilisation n'engage ni la responsabilité, ni la garantie du fabricant.
Remargue: Un apparéil utilisable avec du gaz de pétrole liquéfié (GPL) ne doit pas être installé dans une piece ou un espace interieur souterrain, par exemple dans un sous-sol.
Modification
L'appareil est place pour:
G20 20 mbar
Cat II 2 H 3+
Cat II _2E+3+
A la livraison, cet apparéil est régèle sur gaz naturel de type H (G20 à 20 millibars).
Un kit de modification permettant l'utilisation d'autres gaz est fourni avec la cuisineire.
Si la cuisine doit être modifiée pour fonctionner avec un autre gaz, nous recommendons d'effectuer cette modification avant l'installation. Reportez-vous aux instructions fournies avec le kit de modification.
Après modification de l'appareil, veuilles apposer l'étiquette de modification sur la partie appropriée du badge technique, pour permettre d'identifier le type de gaz utilisé pour l'installation de la cusinière.
INSTALLATION
Une fois le travail terminé, vérifie que les alimentations de gaz et d'électricité sont correctement rebranchées.
L'installation de la cuisine nécessitera l'emploi du matériel indiqué ci-dessous:
Dispositif stabilisateur: Un dispositif stabilisateur (équerre ou chaine) doit être monté sur la cusinière si celle-ci est alimentée en gaz par le biais d'un tuyau flexible.
Ce dispositif stabilisateur n'est pas fourni avec l'appareil mais est en vente dans la plupart des magasins de bricolage.
Manometre.
Tuyau flexible de gaz: Doit être conforme aux normes appropriées.
Multimetre: Pour les contrôles électriques.
Vou aurez aussi besoin des outils suivants:
- Perceuse électrique
- Foret à maconnerie (nécessaire seulement pour montage sur sol en pierre ou en béton)
- Chevilles Rawlplugs (necessaires seulement pour montage sur sol en pierre ou en béton)
- Metre en acier
- Tournevis cruciforme
- Tournevis à lame plate
- Niveau à bulle
- Crayon
- Clé réglable
- Clé polygonale ou à douilles de 13 mm
Vérification des Pièces:
| 3 grilles de table de cuisson | L'échefrite et grille |
| 4 grille plates | Le kit de modification |
| Plinthe |
Positionnement de la cusinière
Le schéma indique les cotes minimales recommendées entre la cusinière et les surfaces adjacentes (Fig.7-1).
Ne placez pas la cusinière sur un support. Le pourtour de la table de cuisson doit être au niveau ou au-dessus de tout plan de travail adjacent.
Laissez un espace de 75 mm AU-DESSUS du niveau de la table de cuisson entre chaque côté de la cusinière et toute surface verticale adjacente. Pour les surfaces non combustibles (telles que le métal non peint ou les carrelages), cette cote peut être de 25 mm. Laissez un espace de 650 mm au minimum entre la partie supérieure de la table de cuisson et une surface horizontalé combustible.
La Fig.7-2 indique les dégagements recommendés audessus de la cuisineire.
Toute hotte de cuisine doit être installée conformément aux instructions du fabricant de hotte.
Les surfaces des meubles et des murs de chaque côté et à l'arrête de l'appareil doivent être résistantes à la chaleur, aux éclaboussures et à la vapeur. Certains types de meubles de cuisine en vinyle ou en stratifié sont particulièrement susceptibles aux risques de dommages thermiques et de décoloration. Nous déclinons toute responsabilité pour des dommages résultat d'une'utilisation normale de la cusinière et subis par des matériaux qui se décollent ou se décolorent à des températures de moins de 65^ au-dessus de la température ambiente.
Nous recommendons de laisser un espace de 1100 mm entre les unités pour permettre le déplacement de la cusinière. Si la cusinière doit être encastrée, placez-la à niveau avec l'objet d'un côté, puis montez l'élement de l'autre côté.
La cusinière ne doit pas être encastrée - elle doit pouvoir être déplacee vers l'avant et vers l'arriere pour le nettoyage et l'entretien.
Si la cusinière est pres d'un coin de la cuisine, un dégagement de 130 mm est nécessaire pour permettre l'ouverture des portes de fours (Fig.7-3). La cote d'ouverture des portes est légèrement inférieure à ce dégagement, mais ceci inclut une marge de sécurité pour la protection des mains lors de l'ouverture de la porte.
Déplacement de la cuisineire

N'essayez jamais de déplacer la cusinière lorsque cette-ci est sous tension.

La cuisine est très lourde, faites très attention.
Nous recommendons de faire appel à deux personnes pour déplacer la cusinière. Assurez-vous que le revêtement du sol est solidement fixé en place ou retirez-le afin de ne pas l'abimer en déplaçant la cusinière. Deux galets arrirée de mise à niveau et deux supports avant vissables facilitent le déplacement de la cusinière. Retirez le socle d'emballage en polystyrene. Depuis l'avant, inclinez la cusinière vers l'avant et retirez la partie avant du socle d'emballage en polystyrene (Fig.7-4). Répétez cette procédure à l'arrière et retirez la partie arrirée du socle.




INSTALLATION
Une fois le travail terminé, vérifie que les alimentations de gaz et d'électricité sont correctement rebranchées.

Fig.7-6


Fig.7-7

Fig.7-8 Support stabilisateur
Fixation sol classique

Fig.7-9
Fixation mur classique
Baissez les deux galets arrirée
Pour ajuster la hauteur de l'arrière de la cusinière,mettre d'abord une clé à douille ou à crochet de 13 mm dans l'écrou hexagonal d'ajustement. Tourner l'écrou dans le sens horaire pour soulever et dans le sens antihoraire pour baisser.
Effectuez 10 tours complets (360^) en sens hora (Fig.7-5).
Veillez à abaisser les DEUX GALETS ARRIERE.
Exécution du mouvement
Dépliez le bord (carton) arrêté du plateau d'emballage. Ouvrez la porte du grill et la porte du four croit afin d'avoir une bonne prise sur la partie inférieure du panneau de commande pour déplacer la cusinière (Fig.7-6).
Poussez la cusinière vers l'arrière avec précaution pour la dégager de son socle d'emballage. Retirez le plateau d'emballage. Poussez la cusinière pres de sa position finale, en laissant juste assez de place pour pouvoir avoir accès à l'arrière.

N'utilise pas les poignées de portes ou les boutons de commande pour déplacer la cusinière.
Fixation de l'équre ou chaine de stabilisation
Sauf indication contraire, une cusinière raccordée à un tuyau flexible de gaz doit être fixée avec un dispositif stabilisateur adapté.
Les dispositifs stabilisateurs adaptés sont représentés en Fig.7-7, Fig.7-8 et Fig.7-9. Si vous utilisez une chaîne de stabilisation (Fig.7-7) la chaîne devra alors être aussi courte que possible et fixée fermement à l'arrière de la cuisineire.
Si vous utilisez une équerre de stabilisation (Fig.7-8 et Fig.7-9), ajustez alors l'équerre de façon à avoir le moins de dégagement possible entre l'équerre et le rail de prise à l'arrière de la cusinière. Fixez l'équerre de sorte qu'elle s'encastre le plus loin possible dans le châssis de la cusinière.
Repositionnement de la cusinière après raccordement
Si vous nevez déplacer la cusinière après son raccordement, débranchez la cusinière, agrippez-la sous le panneau de commande et levez légèrement l'avant de la cusinière (Fig.7-6), puis vérifie à l'arrière de l'appareil que le cable d'alimentation n'est pas entravé.
Pendant le déplacement de la cusinière, assurez-vous que le cable électrique et le tuyau de gaz ne sont pas entravés.
Si la cusinière est dotée d'une chaîne stabilisatrice, défaites-la pour pouvoir manœuvrer la cusinière. N'oubliez pas de la remettre en place lorsque vous replace la cusinière.
Lors de la remise en place de la cusinière, vérifie de nouveau que le cable électrique et le tuyau de gaz ne sont pas entravés ou coincés.
Modification en vue de l'utilisation d'un autre gaz
A ce stade, vous doivent effectuer la modification nécessaire si vous souhaitez utiliser la cusinière avec un autre type de gaz. Reportez-vous à la section sur la modification dans les générantes instructions et reportez-vous aux instructions fournies avec le kit de modification.
Mise à niveau
Nous vous recommendons d'utiliser un niveau à bulle placé sur une des grilles de four pour vérifier le niveau.
Placez la cusinière à l'emplacement prévu pour son installation, en veillant à ne pas exercer de force de torsion lorsque vous l'insérez entre les éléments de cuisine, pour ne pas l'endommager ou endommager les éléments.
Les supports avant et les galets arrêté réglibres permettant la mise à niveau de la cusinière. Pour régler la hauteur de l'arrière de la cusinière, tourner les écrous de réglage aux coins avant inférieurs de l'appareil. Pour régler les supports avant, tournez les socles pour lever ou abaiser.
Raccordement de l'alimentation en gaz
Doit être conforme aux normes appropriées. Le tuyau flexible (non fourni avec la cusinière) doit être conforme aux normes en vigueur. Les tuyaux flexibles sont disponibles dans la plupart des magasins de matériel et de bricolage.
L'alimentation en gaz doit être terminée par un coude de tuyau et un racord de type à baïonnanette à face descendante. Le racord de l'appareil est situé juste au-dessous du niveau de la table de cuisson, à l'arrête de la cusinière. En cas de doute, contactez votre fournisseur.
Montage de la norme ISO 7-1 à connecteur ISO 228-1 pour les fournitures de gaz français
Le raccord d'admission de la cusinière est de type interne ISO 7-1. Si le raccordement doit être de type ISO 228-1, utilisez le raccord d'adaptation ISO 7-1-ISO 228-1 fourni dans le kit de modification. Vissez le raccord dans l'admission de la cusinière en serrant à la main. A l'aide de deux outils appropriés, l'un place au niveau de l'admission située sur la cusinière pour veiller à en assurer stabilité et l'autre sur le raccord, vissez le raccord dans l'admission (Fig.7-10). Couple minimum 15 Nm. Couple maximum 20 Nm. Raccordement du tuyau flexible au connecteur.
Les boitiers arrirée de la cusinière limitent la position du point d'alimentation. Il est difficile de donner des cotes précises, étant donné que la hauteur de la cusinière est réglable et que chaque raccordement est différent.
Vous pouvez utiliser un tuyau flexible de 900~mm , mais un tuyau de 1250~mm offre plus de flexibilité quant au positionnement du raccord baionnette et facilitite le déplacement de la cusinière. Montez le tuyau de façon à ce que les raccords d'admission et de sortie soient verticaux et que le tuyau pende en forme de «U». Idéalement, le raccord d'alimentation domestique doit être dans la partie ombree indiquée (Fig.7-11).

Fig.7-10

INSTALLATION
Une fois le travail terminé, vérifie que les alimentations de gaz et d'électricité sont correctement rebranchées.

Fig.7-12

Fig.7-13
Vissez l'extrémité filtée du tuyau flexible dans l'admission de gaz. Lorsque le raccordement est terminé, effectuez un essai de pression pour contrôle l'étanchéité de la cusinière.
Essai de pression
La pression de gaz peut être mesurée au niveau de l'injecteur de l'un des brûleurs centraux de la table de cuisson (non pas au niveau du brûleur de Wok). Retirez la tête d'un des brûleurs. Montez le manomètre sur le giclaur. Mettez en marche un des autres brûleurs de la table de cuisson. Tournez et appuyez sur le bouton de commande du brûleur avec manomètre, pour permettre l'arrivée du gaz.
Reportez-vous au badge technique pour les pressions d'essais.
Eteignez les bruleurs. Replacez le chapeau du bruleur, en veillant à le remonter correctement sur le corps du bruleur.
Raccordement electrique
Cet apparéil doit être installé par un électricien qualifié, conformément à la réglementation en vigueur et aux prescriptions de la compétie d'électricité locale.

MISE EN GARDE: CET APPAREIL DOIT ETRE MIS A LA TERRE.
Disjoncteurs differentials
L'utilisation conjointe de votre cuisinière et d'autres apparêls domestiques peut entraîner des disjonctions fortuites; par conséquent, nous recommendons de protéger la cuisinière par un disjoncteur différentiel.
EN CAS DE Doute, CONSULTEZ UN ELECTRICIEN QUALIFIE.
Remarque: La cusinière doit être raccordée à l'alimentation électrique correcte, indiquée sur l'étiquette de tension sur l'appareil, par le biais d'une unité de commande de cusinière appropriée à interrupteur bipolaire (avec une séparation de contact de 3 mm au minimum entre les pôles).

Cette cuisinière ne doit pas etre raccordee a une prise d'alimentation domestique ordinaire.
Pour acceder au bornier d'alimentation secteur, retirez le boitier électriche sur le panneau arrière. Raccordez le cable d'alimentation secteur aux bornes correctes pour votre type d'alimentation électriche (Fig.7-12 et Fig.7-13). Vérifiez que les connecteurs sont montés correctement et que les vis des bornes sont bien serrées. Fixez le cable d'alimentation secteur à l'aide du serre-cable.
INSTALLATION
Une fois le travail terminé, vérifie que les alimentations de gaz et d'électricité sont correctement rebranchées.
Vérifications finale
Contrôle de la table de cuisson
Contrôlez le fonctionnement de chaque brûleur (voir la section « Brûleurs de la table de cuisson » au début des prsentes instructions).
Contrôle du grill
Tournez le bouton de commande du grill et vérifie que le grill commence àCHAuffer.
Contrôle des fours
Réglez l'horloge conformément aux instructions données precedemment, et allumez les fours. Vérifiez que les ventilateurs des fours se mettent en marche et que les fours commencent àCHAuffer. Eteignez le four.
Montage de la plinthe
Dévissez les trois vis le long du bord inférieur avant de la cuisine. Insérez l'encoche centrale en forme de trou de serrer sur la vis centrale. Tournez et insérez les encoches d'extrémités en trou de serrer sur leurs vis respectives. Serrez les vis de fixation (Fig.7-14).
Conseils à la clientèle
Veuillez inscrite les informations vous concernant dans les générées instructions. De même, indiquez à l'utilisateur comment faire fonctionner la cusinière et remettez-lui les instructions.
Merci.

8. Modification au gaz propane

Fig.8-1

A - Gicleur, B -Injecteur interne, C -Injecteur externe

Fig.8-2
Vérifiez sur la Fiche technique au verso de la présente brochure si la cusinière peut être modifiée pour pouvoir utiliser le gaz de votrechoix.
Cette modification doit être effectué par une personne compétente. Àpres modification, l'installation doit être conforme aux réglementations en vigueur, ainsi qu'aux prescriptions de la compagnie d'électricité locale. Lisez les instructions avant d'effectuer une modification sur cet apparéil.
Une modification incorrecte n'engage ni la responsabilité, ni la garantie du fabricant, et peut donner lieu à des poursuites.

Lors de l'entretien ou du remplacement de composants d'alimentation en gaz, débranchez le gaz avant le début de l'intervention et, au terme de celle-ci, effectuez les contrôle des sécurité nécessaires pour les apparèils à gaz.

N'utilise pas de commandes de gaz remises à neuf ou non autorisées.

Débranche l'appareil avant toute intervention d'entretien.

Avant de rebrancher l'alimentation électrique, effectuez les contrôle des sécurité nécessaires.
Injecteurs
Retirez les chapeaux et les têtes des brûleurs. Retirez les giclleurs usagés (Fig.8-1). Montez les nouveaux gicleurs. Le type de giclaur correct est indiqué sur la Fiche technique au dos de la présente brochure. Remontez en procédant dans l'ordre inverse.
Réglage du Robinet de Commande
Enlever la panneau de commande
Retirez tous les boutons de commande. Retirez les vis de fixation au-dessous du panneau de commande.
Faites glisser le panneau de commande vers la droite, puis tirez vers l'avant, Veillez à ne pas endommager ou trop tirer les câbles.
Remplacement de la vis de dérivation du robinet
Dévissez la vis de dérivation du robinet (Fig.8-2). A l'aide d'une pince à bec long, retirez la vis de dérivation avec précaution et montez la vis de rechange correcte. La taille correcte est indiquée sur la Fiche technique au dos de la présente brochure. Serrez la vis. Remontez le panneau de commande.
ATTENTION !! CETTE MODIFICATION DOIT ÉTRE EFFECTUÉE PAR UNE PERSONNE COMPÉTENTE.
Débranche l'appareil avant toute intervention d'entretien. Les contrôles de sécurité lorsque vous avez terminé.
Etiquette Autocollante
Apposez l'étiquette appropriée sur le badge technique pour indiquer le gaz à utiliser avec la cuisinière.
Essaide Pression
Raccordez la cusinière à l'alimentation en gaz.
Contrôlez l'étanchéité de l'appareil.
La pression de gaz peut être mesurée au niveau de l'injecteur de l'un des brûleurs de la table de cuisson (non pas au niveau du brûleur de Wok).
Retirez la tête d'un des brûleurs. Montez le manomètre sur le giclreur. Allumez le brûleur de la table de cuisson et allumez un des autres brûleurs. ÀpRES avoir vérifié la pression, fermez les robinets et replacez la tête du brûleur.
Replacez le chapeau du brûleur, en veillant à le remonter correctement sur le corps du brûleur.
Contrôlez le fonctionnement de tous les brûleurs.
9. Schémas de câblage

Legende
Le raccord indiqué sur le schéma de câblage est pour une alimentation monophasée. Les capacités nominales sont pour 230 V 50 Hz.
| Code | Description |
| A1 | Commande de grill |
| A2 | Elément du grill gauche |
| A3 | Elément du grill droit |
| B1 | Thermostat de four gauche |
| B2 | Le bouton de commande du four gauche |
| B3 | Elément interieur de four gauche |
| B4 | Elément supérieur de four gauche |
| B5 | Elément gratineur de four gauche |
| C | Horloge |
| D1 | Thermostat du four droit |
| D2 | Le bouton de commande du four ventilé droit |
| D3 | Elément du four ventilé droit |
| D4 | Ventilateur du four droit |
| Code | Description |
| F1 | Chauffe-plat contrôleur |
| F2 | Elément chauffe-plats |
| G1 | Contacteur d'allumage |
| G2 | Générateur d'allumage |
| H1 | Gauche Interrupteur d'éclairage du four |
| H2 | Gauche éclairage du four |
| I1 | Droit Interrupteur d'éclairage du four |
| I2 | Droit d'éclairage du four |
| J | Néon |
| K | Protecteur thermique |
| Code | Couleur |
| b | Bleu |
| br | Brun |
| bk | Noir |
| or | Orange |
| r | Rouge |
| v | Voilet |
| w | Blanc |
| y | Jaune |
| g/y | Vert / jaune |
| gr | Gris |
10. Fiche technique
LA CUISINIÈRE EST DE CATEGORIE: Cat II 2H3+ ; Cat II 2E+3+
A la livraison, cet apparéil est réglé sur gaz naturel de type H. Un kit de conversion de gaz naturel au gaz propane est emballé avec la cusinière.
A L'INTENTION DE L'INSTALLATEUR: Veuille remetre les prsentes instructions à l'utilisateur.
EMPLACEMENT DU BADGE TECHNIQUE: Arrière de la cusinière, badge auxiliaire de numéro de série sous l'ouverture de la porte du four.
PAYS DE DESTINATION: FR
Raccordements
| Gaz (Rp 1/2 au niveau du côte arrière droit) | Electricité | |
| Gaz naturel | 20 mbar | 230-400 V 50 Hz |
| Butane | 29 mbar | |
| Propane | 37 mbar | |
(Voir le badge technique de l'appareil pour les pressions d'essais)
Dimensions
| Hauteur hors tout | minimale 900 mm | maximale 925 mm |
| Largeur hors tout | 1100 mm | |
| Profondeur hors tout | 600 mm (jusqu'à l'avant de la façon); 650 mm (au dessus des poignées) | |
| Cote minimale au-dessus de la table de cuisson | 650 mm | |
Voir « Positionnement de la cusinière »
Puisances
| Gaz Naturel 20 mb | Le gaz propane liquide | |||||
| Table de cuisson | Injecteur | Vis | Injecteur | Vis | ||
| Brûleur de Wok | 3,5 kW | Interne 80 | 96 | 3,5 kW (246 g/h) | Interne 54 | 57 |
| Externe 129 | Externe 77 | |||||
| Grands brûleurs | 3,0 kW | 134 | 54 | 3,0 kW (210 g/h) | 87 | 40 |
| Brûleurs moyens | 1,7 kW | 109 | 39 | 1,7 kW 119 g/h) | 68 | 32 |
| Petit brûleur | 1,0 kW | 75 | 38 | 1,0 kW (70 g/h) | 51 | 28 |
Efficacité de four
| Fours | Four principal | Four Haut |
| Convection forçée | Convection forçée | |
| Puisance de sortie maximale @ 230 V 50 Hz | 2,2 kW | 2,5 kW |
| Catégorie d'efficacité énergétique: Sur une échelle de A (plus efficace) à G (moins efficace) | A | A |
| Consommation d'énergie basée sur une charge standard | 0,99 kWh | 0,85 kWh |
| Volume utilisable (litres) | 67 | 69 |
| Taille | Grande | Grande |
| Temps de cuisson – charge standard | 40 minutes | 38 minutes |
| Surface de cuisson | 1400 cm² | 1400 cm² |
| Gril | 2,3 kW |
| Elément chauffe-plats | 160 W |
Charge électrique totale maximaè à 230 V : 7,2 kW (total approximatif complenant éclairages de fours, ventilateur de four, etc).
Notice Facile