Z 9700 MCX INOX - Cuisinière ARTHUR MARTIN - Notice d'utilisation et mode d'emploi gratuit
Retrouvez gratuitement la notice de l'appareil Z 9700 MCX INOX ARTHUR MARTIN au format PDF.
| Type d'appareil | Cuisinière |
| Nombre de foyers | 4 |
| Type de cuisson | Électrique |
| Four | Oui |
| Capacité du four | Non précisé |
| Programmateur | Non précisé |
| Type de commandes | Manuelles |
| Dimensions (HxLxP) | Non précisé |
| Couleur | Blanc |
| Consommation énergétique | Non précisé |
| Sécurité enfant | Non précisé |
| Type de porte du four | Vitre |
| Fonction gril | Oui |
| Type d'alimentation | Électrique |
| Marque | Non précisé |
FOIRE AUX QUESTIONS - Z 9700 MCX INOX ARTHUR MARTIN
Questions des utilisateurs sur Z 9700 MCX INOX ARTHUR MARTIN
0 question sur cet appareil. Repondez a celles que vous connaissez ou posez la votre.
Poser une nouvelle question sur cet appareil
Téléchargez la notice de votre Cuisinière au format PDF gratuitement ! Retrouvez votre notice Z 9700 MCX INOX - ARTHUR MARTIN et reprennez votre appareil électronique en main. Sur cette page sont publiés tous les documents nécessaires à l'utilisation de votre appareil Z 9700 MCX INOX de la marque ARTHUR MARTIN.
MODE D'EMPLOI Z 9700 MCX INOX ARTHUR MARTIN
Pour une vie plus facile.
Lors de sa fabrication, cet apparéil a été construit selon des normes, directives et/ou décrets pour une utilisation sur le territoire français.
Pour la sécurité des biens et des personnes ainsi que pour le respect de l'environnement, vous doivent d'abord dire impératifement les préconisations suivantes avant toute utilisation de votre apparéil.

Pour éviter tout risque de dépréciation de l'appareil, transportez-le dans sa position d'utilisation muni de ses cales de transport (selon modèle).
Au déballage de celui-ci, et pour empêcher des risques d'asphyxie et corporel, tenez les matériaux d'emballage hors de la portée des enfants.

Pour éviter tout risque (mobilier, immobilier, corporel,...), l'installation, les raccordements (eau, gaz, électricité, évacuation selon modèle), la mise en service et la maintenance de votre apparéil doivent être effectuels par un professionnelnel qualifié.

Votre appareil a ete conu pour etre utilise par des adultes. Il est destiné a un usage domestique normal. Ne l'utilise pas a des fins commerciales ou industrielles ou pour d'autres buts que ceux pour lesquels il a ete conu. Vos eviterez alsis des risques matieriel et corporel.

Débranchez vous appareil avant toute opération de nettoyage manuel. N'utilise que des produits du commerce non corrosifs ou non inflammables. Toute projection d'eau ou de vapeur est proscrite pour écarter le risque d'électrocution.

Si voire appareil est equiped d'un eclairage, debranchez l'appareil avant de proceder au changement de I'ampoule (ou du neon, etc.) pour eviter de s'electrocuter.

Afin d'empêcher des risques d'explosion et d'incendie, ne place pas de produits inflammables ou d'éléments imbibés de produits inflammables à l'intérieur, à proximé ou sur l'appareil.

Lors de la mise au rebut de votre apparéil, et pour éçarter tout risque corporel, mettez hors d'usage ce qui pourrait désenter un danger : coupez le cable d'alimentation au ras de l' apparéil. Informez-vous auprès des services de votre commune des endroits autorisés pour la mise au rebut de l' apparéil.

Pendant et après le fonctionnement de l'appareil, le hublot de porte est chaud, les rciponents et leur contenu peuvent basculer. Tenez les enfants eloiignes.
Si ces différents points ne sont pas respectés, cela pourrait occasionner des risques matériel et corporel.
Veuillez maintainant dire attentivement cette notice pour une utilisation optimale de votre apparéil.
SOMMAIRE
A l'attention de l'utilisateur
A l'attention de l'installateur
Avertissements importants 4
Description de l'appareil 6
Conseils avant la première utilisation 7
Leprogrammateurélectronique 8
Minuteur 9 Horloge
Commentutiliserla tabledecuisson 10
Commentutiliserle four 11
Conseils d'utilisation 14
Entretien et nettoyage 16
En cas d'anomalie de fonctionnement 17
Garantie 17
ServiceAprèsVente 17
18
Installation 19
Changement de gaz 21
Remplacement de l'ampoule d'éclairage du four 21
Comment dire votre notice d'utilisation?
Les symboles suivants vous guideront tout au long de la lecture de votre notice d'utilisation.

Instructions de sécurité

Description d'opérations étape par étape

Conseils et recommendations

Informations liées à la protection de l'environnement
Cet apparéil doit être installé par une personne qualifiée et selon les normes en vigueur.
AVENTISSEMENTS IMPORTANTS
Conservez cette notice d'utilisation avec votre apparéil. Si l' apparéil devait être vendu ou cédé à une autre personne, assurez-vous que la notice d'utilisation l'accompagne. Le nouvel utilisateur pourrait alors être informé du fonctionnement de celui-ci et des averissements s'y rapportant.
Ces averissements ont ete redigés pour voite sccurté et celde d'autrui.
Utilisation
- Cét apparéil a été concu pour être utilisé par desadultes. Veillez à ce que les enfants n'y touchent pas et ne l'utilisent pas comme un jouet.
- A la réception de l'appareil, déballez-le ou faites-le déballer immidiatement. Vérifiez son aspect général. Faites les éventuelles réserves par écrit sur le bon de livreaison ou sur le bon d'enlevement dont vous garderez un exemplaire.
- Voiture appareil est destiné à un usage domestique normal. Ne l'utilise pas à des fins commerciales ou industrielles ou pour d'autres buts que celui pour lequel il a été lié.
- Ne modifiez pas ou n'essayez pas de modifier les caractéristiques de cet apparéil. Cela représentait un danger pour vous.
-
Avant d'utiliser votre cuisinière pour la première fois, faites chauffer le four à vide afin d'éliminer l'odeur du calorifuge et les graisses de protection utilisées lors de la fabrication:
-
Enlevez le(s) accessoire(s) du four,
- Enlevez les évventuels autocollantsétiquettes publicitaires, pellicule de protection des enjolveurs,
-
Chauffez le four en positionnant la commande du four sur la position maximum pendant 45 minutes environ. Pendant cette opération, votre apparéil fume. Aérez convenablement lapiece pourlimiterlesodeurs etledégagementdefumée.
-
Prenez également la précaution de nettoyer le(s) accessoire(s) du four avec un dédTangent doux. Rincez et séchez soignement.
- L'utilisation d'un apparéil de cuisson au gaz conduit à la production de chaleur et d'humidité dans la piece où il est installé. Veillez à assurer une bonne aération de la cuisine : maintenez ouverts les orifices d'aération naturelle ou installez un dispositif d'aération mécanique.
- Une utilisation intensive et prolongée de l'appareil peut nécessiter une aération supplémentaire en ouvrant la fenêtre, ou une aération plus efficace, par exemple en augmentant la puissance de la ventilation mécanique si elle existe.
- Si vous utilisez un apparéil électrique à proximé de votre cusinière (par exemple un batteur électrique), assurez-vous que le cable d'alimentation de cet apparéil électrique ne soit pas en contact avec la surface chaude de la cusinière ou coincide dans la porte du four.
- Surveiliez attentivement la cuisson lors de fritures dans l'huile ou la graisse (pomme de terre frites, beignets,...): les graisses surchauffées s'enflammment facilement.
- N'utilisez pas de recipients instables ou déformés : ils pourraient se renverser et être la cause de dommages corporels.
- Ne tirez jamais votre apparéil par la poignée de la porte du four.
- En plus du(des) accessoire(s) fournis avec votre apparéil, n'utilisez que des plats, des moulés à gâteaux, ... résistant à de haute températures (suivez les instructions des fabricants).
-
Ne stockez pas de produits d'entretien ou de produits inflammables dans le tiroir ou le logement de rangement (si votre apparéil en est équipé) ou à proximité de l' apparéil.
-
Sur la porte ouverte du four :
-ne posez pas de charge lourde,
-assurez-vous qu'un enfant ne puisse ni monter, ni s'asseoir.
- En enfournant ou en sortant vos plats du four, prenez la précaution de ne pas vousapprocher du(des) élément(s) chauffant(s) etutilisez des gants thermiques de cuisine.
- Ne placez jamais de papier aluminium directement en contact avec la sole, la chaleur accumulée pourrait entraîner une dépréciation de l'émail.
- N'employez jamais la lèchefrite comme plat à rôtir.
Pour éviter d'endommager les commandes de votre apparéil, ne laisser que pas la porte ouverte lorsqu'il est en fonctionnement ou encore chaud. - Un brûleur doit partager une flamme régulière. Evitez tout courant d'air. Si la flamme présente une anomalie, nettoyez le brûleur. Si l'anomalie persististe, faites appel au service après vente.
- ÀpRESutilisation de voscuiSière,assurez-vous que toutes les manettes se trouvent sur la position «arrêt».
- Veillez à ne rien laisser sur la table pendant l'utilisation des brûleurs (torchons, feuilles d'aluminium, etc.).
- Changez le tuyau d'arrivée du gaz un peu avant l'expiration de la date de vieillissement indiquée sur celui-ci.
- N'utilisez jamais de bouteille de propane dans votre cuisine ou autre local fermé.
- Eloignez les jeunes enfants de l'appareil pendant son fonctionnement. Vous évitez ainsi qu'ils se brulent en touchant la surface de la table, en renversant un réseau de cuisson ou en touchant la façade chaude de votre apparéil.
Assurez-vous que les enfants ne manipulent pas les commandes de l'appareil. - Avant de procéder au nettoyage de votre apparéil, vérifie qu'aucun élément n'est sous tension (toutes les commandes doivent se trouver sur la position «arrêt») et que les parois soient suffisamment refroidies.
Pour obtenir de bons résultats culinaires et d'utilisation, veillez à ce que votre apparéil soit toujours propre; lors de la cuisson de certaines préparations, les projections gratuitesuses peuvent dégager des odeurs désagréables. - Ne faites jamais fonctionner votre table de cuisson à vide (sans récipient dessus).
- Baissez ou éteignez toujours la flamme d'un brûleur avant de retarder un récipient.
- Ne laissez rien sur la table de cuisson. Une mise en fonctionnement accidentelle pourrait provoquer un incendie.
- Nettoyez votre apparéil après chaque utilisation, afin de garantir un fonctionnement correct.
- N'utilisez jamais d'appareils à vapeur ou à haute pression pour nettoyer le four (exigences relatives à la sécurité électrique).
Installation
- Les opérations d'installation et de branchement de votre apparéil doivent être réalisées par un technicien qualifié.
- Avant l'installation, assurez-vous que les conditions de distribution locale (nature et pression du gaz) et le réglage de l'appareil sont compatibles.
- Les conditions de réglage de cet apparéil sont inscrites sur la plaque signalétique.
- Cet apparéil n'est pas raccordé à un dispositif d'évacuation des produits de la combustion. Il doit être installé et raccordé conformément aux règles d'installation en vigueur. Une attention particulière sera accordée aux dispositions applicables en matière de ventilation.
Assurez-vous que l'appareil est installé dans une piece correctement aérée : une mauvaise ventilation peut entraîner un manque d'oxygène. Consultez un installer qualifié ou adressez-vous à la compétie de distribution du gaz de votre région. - Si le cable d'alimentation doit être remplaced, le remplacement ne doit être effectué que par un technicien qualifié.
- Si l'installation électrique de votre habitation nécessite une modification pour le branchement de votre apparéil, faites appel à un électricien qualifié.
- Les réparations ne doivent être effectuées que par un service après vente qualifié. Une réparation non conforme peut être la cause de graves dommages.
- L'appareil doit être débranché pendant l'installation ou dans l'eventualité d'une intervention.
- Débranchez l'appareil ou enlevez le fusible correspondant à la ligne de branchement de la cusinière si celle-ci présente une quelconque anomalie.

Protection de l'environnement
Tous les matéiaux marqués par le symbole sont recyclables. Déposez-les dans une déchetterie prévue à cet effet (renseignez-vous auprès des services de votre commune) pour qu'ils puissant être récapurées et recyclés.
Si vous procédez à la mise à la casse de votre apparéil, mettez hors d'usage ce qui pourrait représentier un danger : par exemple, coupeze le cable d'alimentation au ras de l'appareil.
En cas d'anomalie de fonctionnement, reportez-vous à la rubrique "EN CAS D'ANOMALIE DE FONCTIONNEMENT". Si malgré toutes les vérifications, une intervention s'avèré nécessaire, le vendeur de votre apparéil est le premier habilité à intervenir. A défaut (déménagement de votre part, fermeture du magasin où vous avez effectué l'achat...), veuillez consulter le Centre Contact Consommateurs qui vous communiquera alors l'adresse d'un ServiceAprès Vente.
En cas d'intervention sur votre apparéil, exigez du service après vente les pièces de rechange certifiées Constructeur.

Veuillez tire attentivement ces remarques avant d'utiliser et d'installer cet apparéil. Nous vous remercions de votre attention. Notre responsabilité ne saurait être engagée, en cas de mauvaise utilisation et de non respect des règles de sécurité. Veillez également à respecter scrupuleusement les instructions d'entretien et de nettoyage.
DESCRIPTION DE L'APPAREIL
Le bandeau de commande
Modèle Z 9700 MCX

Modèle Z 9705 MCX

Modèle Z 9700 MCN

1.Programmateur, horloge, minuteur
2.Manette du tournebroche
3.Thermostat
4.Sellecteur de fonctions
5.Manette brûleur avant gauche
6.Manette brûleur arrêté gauche
7.Manette bruleur central
8.Manette bruleur arriere droit
9.Manette brûleur avant droit
La table de cuisson

CONSEILS AVANT LA PREMIÈRE UTILISATION
Le four
Premier nettoyage
Enlevez les accessoires et lavez-les à l'eau savonneuse en prénant soin de bien les rincer.
Première opération

Avant la première utilisation de votre four faites-le chauffer une fois à vide afin d'éliminer l'odeur du calorifuge et les graisses de protection utilisées lors de la fabrication.
Assurez-vous alors que la pièce soit suffisamment aérée : VMC (Ventilation Mécanique Contrôlee) en fonctionnement ou fenêtre ouverte.

Comment professionnel?
- Enlevez tous les accessoires du four.
- Retirez les évventuels autocollants, étiquettes publicitaires,...(sauf la plaque signalétique) qui pourrait se couver sur la façade de votre apparéil.
- Chauffez le four en positionnant la manette de commande du four sur la position maximum pendant 45 minutes environ afin d'éliminer l'odeur du calorifuge.
Pendant cette opération, votre apparéil fume. Aéréz convenablement la piece pour limiter les odeurs et le dégagement de fumée.

La porte est chaude pendant le fonctionnement du four. Eloignez les jeunes enfants.
Selon le modele, votre apparéil est équipé soit d'unprogrammateur electronique, d'un minuteur ou d'une horologeminuteur
LE PROGRAMMATEUR ELECTRONIQUE

Mise à l'heure duprogrammateur
A l'instant où l'appareil est raccordé au réseau d'alimentation électrique, les chiffres qui apparaissent sur l'écran d'affichage clignotent, indiquant ainsi la nécessité d'une mise au point. Pour régler l'heure, appuyez simultanément sur les touches « durée de cuisson » et « fin de cuisson » et Sélectionnez l'heure en appuyant sur les touches
《》ou《A》.
« AUTO » clignote.
Lorsque le symbole « AUTO » clignote, il n'est pas possible de faire fonctionner le four manuellement.
Fonctionnement manuel
Le four peut être utilisé manuellement, c'est à dire sans aucune programmation.
Avant d'effectuer toute opération, appuyez sur la touche « position manuelle » : le symbole « AUTO » s'éteint et le symbole « CASSEROLE » s'affiche.
Il est alors possible d'utiliser le four à l'aide du sélecteur de fonction et du thermostat.
Le minuteur
Cette fonction ne peut être obtenue que lorsque le programmeur est en mode de fonctionnement manuel.
Pour cela, appuyez sur la touche « minuteur » et seLECTIONnez le temps désiré à l'aide des touches
Durant le fonctionnement du minuteur, le symbole « CLOCHE » s'affiche.
Au terme du temps régle, un signal sonore se déclenché et le symbole « CLOCHE » s'eteint.
La minuterie n'interrompt pas la cuisson à la fin du temps régle.
Pour eteindre le four, ramenez le selecteur de fonction et le thermostat sur les positions
《ARRET》.
Le signal sonore
Le signal sonore se déclenché au terme d'une programmation et dure 15 minutes environ.
Pour l'interrompre avant, appuyez sur une touche quelconque.
Fonctionnement automatique
Il est possible de programmer automatique le début et la fin d'une cuisson.
Exemple : il est 9h25, on souhaite que la cisson débute à 11h00 et qu'elle se termine à 12h00 (durée de cisson 1 heures).
- ÀpRES avoir disposé le plat à cuire, appuyez sur la touche «durée de cuisson».
- Appuyez sur la touche « ⊕ » pour sélectionner la durée de cisson可以选择 : 01.00. Ajustez évientuellesment cette durée avec la touche « ∩ » . Les symboles « AUTO » et « durée de cisson » s'affichent.
- Appuyez sur la touche « fin de cuisson »
- Appuyez sur la touche « » pour sélectionner l'heuredefin de cuisson: 12.00. Le symbole «durée de cuisson »
- Tournez le thermostat et le/selecteur de fonctions sur les positions désirées. A 11h00, le four démarrera automatiquement et le symbole « durée de cuisson » s'allume.
- Au terme de la cuisson (à 12h00), le symbole «AUTO » clignote, le symbole « durée de cuisson » s'éteint et un signal sonore retentit. Pour interrompre le signal sonore, appuyez sur une touche quelconque.
- Tournez le thermostat et le sélecteur de fonctions sur les positions « ARRET »
Fonction semi-automatique
Il est possible de commencer immédiatement la cuisson et de programmer automatiquement la durée.
Exemple : il est 11h35, on souhaite que le four démarre immédiatement pendant 25 minutes.
1.Appuyez sur la touche « durée de cuisson »
1.Appuyez sur la touche « » pour selectionner la durée de cuisson : 00.25. Ajustez eventuèlement cette durée avec la touche « ». Les symboles « AUTO » et « durée de cuisson » s'affichent.
2. Tournez le thermostat et le sélecteur de fonctions sur les positions désirées. Le four démarre immédiatement.
3.Au terme de la cuisson (25 minutes après), le four et le symbole « durée de cuisson » s'éteignent, le symbole « AUTO » clignote et un signal sonore retentit. Pour interrompre le signal sonore, appuyez sur une touche quelconque.
4. Tournez le thermostat et le sélecteur de fonctions sur les positions « ARRET »
Annulation d'un programme
Il est possible d'annuler un programme en appuyant sur la touche « durée de cuisson » puis sur la touche « » jusqu'à afficher « 0.00 »
A la fin de toute cuisson programmée, appuyez sur la touche « position manuelle »
PROGRAMMATEUR FIN CUISSON
Le minuteur
Le minuteur commande l'arrêt automatique du four après écoulement du temps affché en début de cuisson (120 minutes maximum).


Comment utiliser le minuteur
- Placez le sélecteur de fonctions et le thermostat sur les positions désirées selon la cuisson à effectuer.
- Affichez le temps nécessaire à la cuisson en tournant le minuteur dans le sens des aiguilles d'une montre jusqu'à la durée désirée.
- A la fin de la cuisson, un signal sonore bref retentit. Replacez le minuteur sur la position manuelle stop et ramenez les commandes de four sur la position Arrêt (thermostat et sélecteur de fonctions sur 0).
Si vous désirez utiliser votre four sans l'aide du minuteur, assurez-vous qu'il soit sur la position manuelle stop
L'horloge / minuteur

L'horloge

Commentmettreàl'hourel'horloge
Pressez et tournez la manette située à droite du cadran de l'horloge pour afficher l'heure du jour.
Relâchez la manette.
Le minuteur
Le minuteur commande l'arrêt automatique du four après écoulement du temps affiché en début de cuisson.

Comment utiliser le minuteur
- Placez le sélecteur de fonctions et le thermostat sur les positions désirées selon la cuisson à effectuer.
- Affichez le temps nécessaire à la cuisson en tournant la manette du minuteur (en bas à droite du cadran d'affichage) dans le sens des aiguilles d'une montre jusqu'à la durée désirée (180 minutes maximum).
- A la fin de la cuisson, un signal sonore retentit. Replacez le minuteur sur la position manuelle et ramenez les commandes de four sur la position Arrêt (thermostat et sélecteur de fonctions sur 0).
Si vous désirez utiliser votre four sans l'aide du minuteur, assurez-vous qu'il soit sur la position manuelle
COMMENT UTILISER LA TABLE DE CUISSON
En faisant coïncider le symbole de la manette avec le repère situé sur le bandeau de commande, vous obtiendrez :
Principales positions d'utilisation
Position « Arrêt »
Débit maximum
Débit minimum
Utilisez le débit maximum pour obtenir l'ébullition et le débit minimum pour le mijotage des alimentents ou le maintain en ébullition.
Votre table de cuisson est équipée de brûleurs à sécurité par thermocouple vous garantissant l'utilisation de votre apparéil en toute sécurité :
- Parce qu'il faut maintainir les commandes plusieurs secondes avant que la flamme ne se stabilise, un jeune enfant ne peut allumer les brûleurs en dehors de votre contrôle,
- En cas d'extinction accidentelle de la flamme, le thermocouple stoppe l'échévement de gaz au bout de quelques secondes.
Les brûleurs de table sont équipés d'un allumage intégré à la manette. Il permet d'effectuer l'allumage en actionnant seulement les manéttes de commande des brûleurs.

Pour allumer les brûleurs
- Poussez et tournez à l'inverse des aiguilles d'une montre la manette du brûleurChoisi,
- Maintenez la manette en position poussée jusqu'à l'allumage du brûleur (une étincelle se produit environ toutes les secondes).
Ou
- Présentez une flamme au brûleur après avoir tourné la manette (en cas de manque d'énergie).
-
Avec apparition de la flamme, maintenez la manette enforcée pendant 10 secondes environ pour activer la sécurité de table (thermocouple).
-
Relâchez la manette, le brûleur reste allumé. Si le brûleur s'éteint, renouvelez l'opération en maintainant la commande enfoncée 15 secondes.

Pour eteindre les bruleurs
Tournez la manette dans le sens des aiguilles d'une montre jusqu'à la butée, sur la position arrêt « ● ».

Eloignez les jeunes enfants de l'appareil tant qu'il est le chaud.
Veillez à ne poser sur la table de cissonaucun object ou aliment susceptible de fondre (ustensiles avec manche en plastique, feuille d'aluminium, aliment contenant du sucre, etc.); en cas d'incident, nettoyez immédiatement.
Lorsque vous faites des fritures, surveillez attentivement la cuisson car l'huile ou laGRAisse pourrait facilement s'enflammer par suite d'une surchauffe.
Toutes les positions de fonctionnement doivent être choisisés entre les positions maximum et minimum et non pas entre les positions maximum et arrêt.
COMMENT UTILISER LE FOUR
Le thermostat
Le réglage de la température s'effectue à l'aide du thermostat en tournant la manette.
La température peut varier de 60^ à max.
Le thermostat regule la température du four.
Levoyant derégulation du thermostat
Levoyant s'allume pendant le préchauffage du four et s'eteint lorsque la température sélectionnée est atteinte. Il se rallume lors de la cuisson pour indiquer que la température de cuisson sélectionnée est maintainue.
Après utilisefaction de votre four, assurez-vous que les manettes se trouvent sur la position « Arrêt » (thermostat sur « 0 » et le sélecteur de fonctions sur « 0 »).

Les commandes de four
Lechioix du mode de cuisson s'effectue à l'aide du sélecteur de fonctions du four et du thermostat.
Le selecteur de fonctions
Pour sélectionner le mode de cuisson désiré, tournez la manette du selecteur de fonctions.

La manette du tournebroche (selon modele)
L'utilisation du tournebroche s'effectue à l'aide de cette manette en la tournant à gauche ou à droite sur le repère

Eclairage
L'éclairage fonctionne dés que le/selecteur de fonctions est tournée sur la position 圆

Décongélation
Cette position convient pour décongeler partiellement ou totalement par exemple des gâteaux, du beurre, du pain, des fruits ou d'autres alimentés congelez.
Pour cette fonction, seul le ventilateur fonctionne. Le four nechauffe pas.

Cuisson traditionnelle
Elle convient à toutes les cuissons, tout spécialement pâtisseries, poissons, terrines et préparations à base de légumes.

Cuisson par chaleur pulsée
Elle permet de cuire simultanément sur plusieurs niveaux de préparations identiques ou de nature différentes. Elle convient à tous les types de préparations culinaires, même délicates.

Cuisson au grill (tournebroche selon le modele 念 ) Elle permet de griller les pieces de viandes ainsi que les poissons, de dorer les toasts ou de gratiner des plats déjà cuits et chauds.

Cuisson au maxi gril (tournebroche selon le modele ) Elle permet de griller des pieces de viandes epaisses, de gros poissons ou par exemple des saucisses, ... en grandes quantités. Elle permet aussi de gratiner des plats déjà cuits et chauds de préférence. Le thermostat doit être place entre 180^ - 200^

Cuisson au maxi grill ventilé
(tournebroche selon le modele)
En seLECTIONnant cette position, le grill et le ventilateur sont en fonctionnement (volaille, saucisses et viandes rouges). Le thermostat doit être placé entre 180^ et 200^ .

Cuisson ventilée et par élément chauffant inférieur En selectionnant cette position, l'élement chauffant inférieur et le ventilateur sont en fonctionnement. Cette position peut être utilisée pour la sterilisation des alimentés.
Pourmettrele four en fonctionnement,choisissez la position du sélecteur de fonctionspuis la température appropriéeà l'aide du thermostat.
Pour arrêter le four, ramenez le thermostat sur « 0 » et le sélecteur de fonctions sur « 0 »

Les parties accessibles peuvent être chaudes lors de la désation du grill. Eloignez les jeunes enfants.
L'utilisation du grill doit être faite porte fermée et sous votre surveillance.
La cuisson se fait par rayonnement. Seul l'élement chauffant supérieur fonctionne.
Le grill sert à griller les pieces de viande (côte de boeuf, côtes de porc, etc.) qui restent moelleuses, à dorer les toasts ou à gratiner des plats déjà cuits et chauds de préférence (gratin de pâtes, etc.).
Les grillades
- Préparez la pierce à griller et placez-la directement sur la grille support de plat.
- Positionnéz le sélecteur de fonction sur la position gril et le thermostat sur la position 180 - 200^ .
- Glissez la grille support de plat dans le gradin supérieur et la l'échefrite dans le gradin inférieur.
- Fermez la porte
- Lorsque la première face est dorée, returnez la piece sans la piquer pour éviter de lui faire perdre son jus.
- Faites griller la deuxième face.
- Salez en fin de cuisson.
Le temps de cuisson doit être déterminé par l'épaisseur de la pierce à griller et non par son poids.
Les gratins
- Positionnéz le sélecteur de fonction sur la position gril et le thermostat sur la position 180 - 200^ .
- Placez le plat sur la grille support et glissez l'ensemble dans le gradin supérieur.
- Fermez la porte.
- Laissez le mets exposé quelques minutes au rayonnement du gril.
Plus la préparation sera proche de l'élément rayonnant, plus le « grattinage » sera rapide.
Vérifiez après l'utilisation du four que le/selecteur de fonction et lethermostat sont sur la position « Arrêt »
Les ciussons au tournebroche
La broche et son support ( ses supports selon modèle ) sont très chauds après la cuisson. Utilisez des gants thermiques de cuisine.
Les parties accessibles de la cuisine ne peuvent etre chaudes lors de l'utilisation du tournebroche. Eloignez les jeunes enfants.
L'utilisation du tournebroche se fait porte fermée sous votre surveillance.

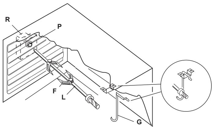
Comment utiliser le tournebroche
- Enfilez une fourchette (F) sur la broche (L) puis la pièce à rôtir en veillant à cequelle soit bien centrée.
- Enfilez ensuite la seconde fourchette (F).
- Bloquez les fourchettes à l'aide des vis.
- Enfilez la pointe (P) de la broche dans le cardan (R) fixé sur le support (G).
- Glissez l'ensemble (support et broche) dans le gradin inférieur.
- Engagez l'extrémité de la broche (I) du cardan (R) dans l'orifice d'entrainement du moteur (H) (orifice situé à gauche sur la paroi de fond du four) du tournebroche (M).
- Positionnez la l'échefrite dessous et versez-y toujours un peu d'eau.
- Refermez la porte.
- Selon le modele, tournez la manette du tournebroche sur l'un des deux repères ou placez le selectiveur de fonction sur la position tournebroche.
- Vérifiez que la broche tourne.

Pour sortir la pièce
- Selon le modele, mettez la manette du tournebroche et/ou le selecteur de fonction sur la position « Arrêt »
- Sortez l'ensemble support-broche du four.
Vérifiez après l'utilisation du four que le sélecteur de fonction et le thermostat sont sur la position « Arrêt »




Comment utiliser le tournebroche
- Enfilez une fourchette (F) sur la broche (L) puis la pièce à rôtir en veillant à cequelle soit bien centrée.
- Enfilez ensuite la seconde fourchette (F).
- Bloquez les fourchettes à l'aide des vis.
- Enfilez la pointe de la broche dans l'orifice d'entrainment (P) du moteur (R).
- Posez la broche (L) sur le support (G).
- Positionnez la l'échefrite dessous et versez-y toujours un peu d'eau.
- Refermez la porte.
- Selon le modele, tournez la manette du tournebroche sur l'un des deux repères ou placez le selectiveur de fonction sur la position tournebroche.
- Vérifiez que la broche tourne.

Pour sorting la piece
- Selon le modele, mettez la manette du tournebroche et/ou le selecteur de fonction sur la position « Arrêt »
- Sortez l'ensemble support-broche du four.
Vérifiez après l'utilisation du four que le sélecteur de fonction et le thermostat sont sur la position « Arrêt »

CONSEILS D'UTILISATION: LA TABLE DE CUISSON
Choix des recipients
Choisissez toujours un récipient à fond bien plat et proportionné au diamètre du brûleur utilisé.
Si vous utilisez un填补ant a large fond (stérisatateur, lessiveuse, bassine à confiture, couscuoussier,...), placez-le légèrement décalé vers l'arrête de la table de cuisson de telle sorte que la base du填补ant ne dépasse pas le bord avant de la table, ici évite le débordement des flammes et une surchauffe au niveau du bandeau de commandes.
Pour un bon allumage de vos brûleurs
Veillez à garder les couronnées des brûleurs en parfait état de propriété, leurs encrassement pourrait être la cause d'un mauvais allumage gaz.
Si vous avez demonté les brûleurs pour les nettoyer, assurez-vous avant l'allumage que les couronnés et les chapeaux soient :
- correctement mis en place,
- parfaitation secs.
Conseils d'utilisation
La table de cuisson est consque pour l'utilisation exclusive de récipients à fond plat.


CONSEILS D'UTILISATION : LE FOUR
Le préchauffage se fait sur la position choses pour la cuisson pendant 10 minutes environ.
Le rechauffage et la décongélation de plats préparés à l'avance s'effectuant en position cuisson traditionnelle.
Conseils pratiques
Ne placez jamais le papier d'aluminium directement en contact avec le bas de votre four, ici entrainerait une déterioration de l'email.
Pour préserver la propriété de votre four, une feuille d'aluminium intercalée entre le plat et la grille support protégera la sole en cas de débordement. Afin de permettre une bonne circulation d'air, cette feuille ne doit pas couvrir la totalité de la surface de la grille.
- Piqué la peu des volailles et saucisses à l'aide d'une fourchette, avant ciisson. Vous évitez que la peu ne gonfle et n'éclate sous l'effet de la chaleur.
- Laissez le moins de barde possible autour de vos rôts pour réduire les projections et obtenir un mets moins riches enGRAISS.
Choix des recipients
L'épaissur, la conductibilité et la couleur des recipients influencent les résultats culinaires.
- Pendant la cuisson, certaines préparations augmentent de volume, par conséquent,CHOISSEZ vos réciPIENTS de manière à ce que la préparation crue laisse le tiers supérieur du moule libre.
Pour prévenir les projections graisseuses trop importantes, utilisez pour la cuisson des rôts et des volailles, des plats à bords hauts ou des cocottes en verre à feu munies de leur couvercle dont les dimensions sont proportionnées à la pièce à rôtir.
- Réservez les plats en verre à feu pour vos gratins et vos souflés.
- Ajoutez les matieres grasses un peu avant la fin de la cuisson.
Pour réaliser des économies d'énergie
- Prenez l'habitude d'eteindre vous four quelques minutes avant la fin de la cuisson. Pendant ce laps de temps, n'ouvre pas la porte, la cuisson se terminera grâce à la chaleur accumulée dans le four.
- Faites se succeder plusieurs cuissons, vous economiserez l'énergie nécessaire au préchauffage du four.
Influence des recipients sur les résultats de cuisson
Sachez que :
A) L'aluminium, les plats en terre cuite, la terre à feu, diminuent la coloration dessous et préservent l'humidité des alimentents. Nous vous les conseillons pour les pâtisseries moelleuses, la cuisson des Gratis, des rôts.
B) La fonte émaillee, le fer étamé, le verre et la porcelaine à feu, les recipients, avec interieur anti-adhésif et extérieur coloré, augmentent la coloration dessous et favorisent le dessèchement des alimentés. Nous vous les conseillons pour les tartes, les quiches et toutes cuissons croustillantes qui doivent être aussi dorées dessous que dessus.
| Vous constatez | Que faire ? |
| Dessous trop pâle pas assez cuit ou dessus trop foncé | prénez un moule du type B ou descendez le moule d'un niveau |
| Dessous trop foncé, trop cuit ou dessus trop clair | prénez un moule du type A ou remontez le moule d'un niveau |
LES ACCESSOIRES DU FOUR
En plus des accessoires fournis avec votre cuisinière, nous vous conseillons de n'utiliser que des plats, des moulés à gâteaux,...résistant à de haute températures (suivez les instructions des fabricants).
Votrecuisiniereestequipee:
- de deux grilles support de plat (selon le modele) Elles permettent de poser les plats (rotis, gratins, les moulés à pâtisserie, etc.), ainsi que les grillades. Notre plat doit être centré sur la grille.
d'une lechefrite
Elle est utilisé pour recueillir le jus des grillades. Elle n'est pas prévue pour être utilisé comme plat de cuisson. Lorsque vous n'utilise pas la lèchefte veilze à la retireur du four.
- d'un tournebroche (selon le modele)
ENTRETIEN ET NETTOYAGE
Avant de procéder au nettoyage, assurez-vous que toutes les manettes sont sur la position « arrêt», que l'appareil est complètement refroidi, que la prise de courant est débranchée ou l'interrupteur principal déconnecté.
N'employez jamais de produits abrasifs ou caustiques, ni d'éponges avec gratoir pour procéder au nettoyage de votre apparéil.
Notre responsabilité ne saurait etre engagée, en cas de dommages dus à un entretien incorrect de votre table de cuisson.
Nettoyage de la table de cuisson
Après chaque utilisation, passez une éponge imbibée d'eau tiède et de détergent doux en évitant tout écoulement dans les orifices de la table. Rincez et séchez avec un chiffon doux. En cas de débordement, mouillez et laissez détrempier mais ne grattez pas et n'utilise jamais de produits abrasifs ou caustiques qui risqueraient de rayer et d'endommager la surface.
Les brûleurs (chapeaux et couronnnes)
Lavez les chapeaux avec de l'eau chaude et un détergent doux.
N'employez jamais d'eau vinaigrée.
Veiliez à garder les couronnées de brûleurs en parfait état de propre, leur encrassement pouvant être la cause d'un mauvais allumage.
Assurez-vous avant l'allumage que les couronnnes et les chapeaux sont bien en place et parfaitement secs.
Les grilles
Lavez-les à l'eau chaude additionnée d'un détergent doux. Utilisez un produit légèrement abrasif.
Bandeau de commande, manettes, logement de rangement, façade et parois latérales de l'appareil
Utilisez une éponge humide additionné d'eau savonnexe. Rincez et séchez soigneusement. N'utilisez enaucun cas de produits abrasifs.
Les apparêls en acier inox doivent être nettoyés avec des produits spéciaux pour acier inox vendus dans le commerce. Ces détergents doivent être appliqués à l'aide d'un chiffon doux.
Nettoyage du four à émail catalytique
Principe
Les parois de votre four (sauf la sole) sont recouvertes d'un émail spécial, poreux.
Vou le reconnaîtrez par son aspect mat et rugueux au toucher. Il absorbe et détruit les projections grasses sous l'action de la chaleur.
Entretien
Lors des cuissons provoquant beaucoup de projections grasses (volailles, grillades,...), la durée ou la température ne sont pas toujours suffisantes pour éliminer toutes les graisses. Dans ce cas à la suite de la cuisson, retirez tous les accessoires du four (grille, lèchefrite), placez le thermostat sur le repère maxi puis laissez chauffer à vide 45 minutes sans les accessoires, ensuite placez le sélectionur sur la position « grin » pendant 5 minutes. Si vous réalissez cette opération à partir d'un four froid, comptez 60 minutes de nettoyage.
Ne projetez pas de produits nettoyants sur les surfaces recouvertes d'email catalytiques.
La portedu four est plus chaude que d'habitude lors du nettoyage, eoignez les jeunes enfants.
N'utilisez pas les brûleurs de table pendant le nettoyage.
La sole est en émail non auto - dégraissant, brillant et lisse au toucher, le nettoyage est « manuel »
En cas de débordement sur la sole, nettoyez-la à l'aide d'une éponge et d'un détergent doux.
Nous vous recommendons de ne jamais utiliser déponce métallique, de produits abrasifs, de détergents, d'objets tranchants, tels que couteaux, grattoirs, qui rendraient l'émail définitivement inefficace.
Nettoyage des accessoires
Lavez-les à l'eau savonneuse en prénant soin de bien les rincer et de les essuyer.

EN CAS D'ANOMALIE DE FONCTIONNEMENT
Nous you rmandons vivement de faire les verifications suivantes sur voite cuisiniere avant d'appeler vret service apres vente. Il se peut que le probleme soit simple et que you pouissiez y remedier you meme.
Si après avoir vérifié ces différents points l'anomalie persiste, contactez votre service après vente.
| Symptômes | Solutions |
| Aucun brûleur ne s'allume | Vérifiez que : - l'arrivée de gaz est ouverte, - la position du tuyau gaz est correcte, -la bouteille de gaz ou la cuve n'est pas vide. |
| Un brûleur de table ne s'allume pas. | Vérifiez que : - l'ensemble du brûleur de table est correctement remonté, - le brûleur n'est pas mouillé. |
| Les résultats de cuisson ne sont pas satisfaisants. | Vérifiez que : - le thermostat est correctement positionné, - la durée de cuisson est adaptée, - la grille est bien positionné dans le four, - le réseau de cuisson est bien adapté. |
| Le four fume | Vérifiez que : - le four ne nécessite pas de nettoyage, - la préparation ne déborde pas, - il n'y a pas de projections excessives de graisse/jus sur les parois du four. |
| Le four ne fonctionne pas | Vérifiez que : - l'appareil n'est pas débranché - il n'y a pas une coupure d'électricité - les fusibles sont en bon état et n'ont pas disjoncté. |
GARANTIE
Conformément à la Législation en vigueur, votre Vendeur est tenu, lors de l'acte d'achat de votre apparéil, de vous communiquer par écrit les conditions de garantie et sa mise en œuvre appliquées sur celui-ci.
Sous son entière initiative et responsabilité,Vote Vendeur repondra à toutes vos questions concernant l'achat de votre apparéil et les garanties qui y sont attachées.
N'hésitez pas à le contacter.
SERVICE APRES-VENTE
En cas d'anomalie de fonctionnement, reportez-vous à la rubrique "EN CAS D'ANOMALIE DE FONCTIONNEMENT". Si malgré toutes les vérifications, une intervention s'avère nécessaire, le vendeur de votre apparéil est le premier habilité à intervenir. A défaut (déménagement de votre part, fermeture du magasin où vous avez effectué l'achat...), veuillez consulter le Centre Contact Consommateurs qui vous communiquera alors l'adresse d'un Service Àpès Vente.
En cas d'intervention sur votre apparéil, exigez du Service Àpres Vente les Pièces de Rechange certifiées Constructeur.

PLAQUE SIGNALTIQUE
En appelant un ServiceAprèsVente,indiquez-lui le modèle,le numero de produit et le numero de série de l'appareil.Ces indications figurent sur la plaque signalétique située sur votre apparéil.
A L'ATTENTION DE L'INSTALLATEUR
Consignes de sécurité
- Avant l'installation, assurez-vous que les conditions de distribution locale (nature et pression du gaz) et le réglage de l'appareil sont compatibles.
- Cet apparéil doit être installé uniquement dans un local suffisamment aéré.
- Les conditions de réglage de cet apparéil sont inscrites sur la plaque signalétique.
- Cet apparéil n'est pas raccordé à un dispositif d'évacuation des produits de combustion. Il doit être installé et raccordé conformément aux règes d'installation en vigueur. Une attention particulière sera accordée aux dispositions applicables en matière de ventilation.
- Voiture apparéil doit être installé comme indiqué au chapitre « INSTALLATION », et les distances minimales entre l'apparéil et les parois de tous les meubles doivent être respectées. L'apparéil ne doit pas être installé sur un socle.
- Àprous l'installation, la prise de courant doit être accessible.
- Les parois adjacentes à la cusinière doivent être soit en une matière résistant à la chaleur, soit revêtres d'une telle matière.
Raccordement à un réseau gaz
- Vérifiez que le début du compteur et le diamètre des canalisations sont suffisants pour alimenter tous les appareils de l'installation (consultez votre compétie de distribution du gaz).
- Vérifiez que tous les raccords sont étanches.
- Installez un robinet de barrageage visible et accessible.
- Si vous utilisez un tube couple, il doit être visible et accessible sur toute sa longueur et ne doit pas passer derrière l'appareil.
- Changez le tubeSouple un peu avant la date d'expiration indiquée sur celui-ci.
Raccordement electrique
Vérifiez que :
la puissance de l'installation est suffisante,
les lignes d'alimentation sont en bon etat,
le diamètre des fils est conforme aux règles d'installation,
Si un apparéil fixe n'est pas muni d'un cable d'alimentation et d'une fiche, prévoir un dispositif de déconnexion sur le réseau d'alimentation avec une distance d'ouverture des contacts qui permette la déconnexion complète dans les conditions de la catégorie de surtension III, conformément aux règles d'installation
L'installation et l'entretien doivent être effectuels par un professionneliel qualifié conformément aux textes réglementaires et règes de l'art en vigueur, notamment :
L'appareil ne doit pas etre raccordé à l'aide d'un prolongateur, d'une prise multiple ou d'un raccordement multiple (risque d'incendie).Verifiez que la prise de terre est conforme aux reglements en vigueur.
■ Arrêté du 2 août 1977
Règles Techniques et de Sécurité applicables aux installations de gaz combustibles et d'hydrocarbures liquifiés à l'intérieur des batiments d'habitation et de leurs dépendances.
Norme DTU P 45-204
Installation de gaz (anciennement DTU n°61-1 - Installations de gaz - Avril 1982 + additif n°1 Juillet 1984).
Règlement Sanitaire Départemental.
Norme NF C 15-100. Installations électriques à basse tension.
Notre responsabilité ne saurait être engagée en cas d'accidents ou d'incidents provoqués par une mise à la terre inexistante ou défectueuse.
CHARACTERISTIQUES TECHNIQUES
Appareil isolé classe 1
| La table de cuisson | ||
| Grilles de table | ||
| Brûleur avant droit | Auxiliaire | 1 kW |
| Brûleur arrière droit | Semi rapide | 1,75 kW |
| Brûleur avant gauche | Rapide | 3 kW |
| Brûleur arrière gauche | Semi-rapide | 1,75 kW |
| Brûleur central | Triple couronne | 3,3 kW |
| ultra rapide | ||
Le four
Four
Puissance du four
Grill
Puisance du grill
Eclairage de four
Electrique
2850 W
Electrique
2800 W
Ampoule 15 W type E14
| Accessories | Grilles |
| Lèchefrite | |
| Tournebroche |
| Dimensions | Hauter | 850 |
| Largeur | 900 | |
| Profondeur | 600 |
INSTALLATION
Emplacement
L'emballage et les revêtements en plastique retirés, installez la cusinière dans un endroit sec et aéré. Elle doit être éloignée des rideaux, papiers, alcohol, essence, etc.
L'appareil doit être posé sur un sol résistant à la chaleur.
N'installez pas l'appareil sur un socle.
Cette cusinière est de classe « 1 ou classe 2 sous-classes 1 » en ce qui concerne la protection contre la surchauffe des surfaces environnantes.
Respectez les distances minimales prévues par rapport aux parois laterales des meubles (fig. A).
Le revêtement du meuble doit supporter des températures minimum de 90^ .
Montage des pieds
La cusinière est munie de pieds à visser respectivement sur les coins arrêté et avant de la cusinière (pieds régables en hauteur).
Aération de la piece
La combustion du gaz est possible grâce à l'oxygène de l'air (2 m^3 air/h x Kw de puissance installé - reportez-vous à la plaque signalétique de votre apparéil).
Il est donc nécessaire que cet air soit renouvelé et les produits de combustion soient évacués.


Raccordement gaz
Le système d'arrivée du gaz doit être réalisé conformément aux réglementations locales en vigueur.
Votre cusinière est livrée pour fonctionner au type de gaz indiqué sur la plaque signalétique (placee dans le tiroir inférieur de l'appareil).
Il peut s'avérer nécessaire de passer de l'utilisation d'un gaz à un autre. Dans ce cas, il faut effectuer les opérations décrites ci-après.
Pour un fonctionnement correct, une consommation réduite et une plus grande durée de vie de l'appareil, assurez-vous que la pression d'alimentation correspond aux valeurs indiquées dans le tableau n°2.
Si l'appareil est alimenté en gaz Butane ou Propane, vérifie que le régulateur de pression débite le gaz à une pression de 28 mbar pour le Butane et 37 mbar pour le Propane.
1. Pour les gaz distribués par réseau :
Tube couple
- Utilisez un tube souse en caoutchouc d'une longueur maxi de 1,50 m et de 15 mm de diamètre interieur monte avec son about gaz.
- Veillez à l'enforcer suffisamment et à le fixer avec un collier (figure 1).
Tuyau flexible à embouts mécanique longueur maxi 1,50 m (figure 2)
- Nous recommendons l'emploi d'un tuyau flexible normalisé d'une longueur mini de 1 m; dont la longueur est à désirer en fonction de la position du robinet de barrageage.
- Raccordez une extrémité du tuyau flexible au robinet de barrageage, puis, avant de positionner l'appareil entre les meubles, raccordez l'autre extrémité à la rampe (fig. 2) en intercalant un joint.
- Positionnez l'appareil en vérifier que la boucle formée par le tuyau flexible se développpe dans le vide sanitaire du meuble adjacent.


Tuyau rigide
- Un tuyau rigide avec écrou.
2. Pour les gaz butane propane en bouteille ou en cuve :
- Nous vous recommendons l'emploi d'un tuyau flexible normalisé d'une longueur minimum de 1 m; cette longueur est àCHOISIR en fonction de la position du raccordement à l'alimentation gaz.
- Raccordez une extrémité du tuyau flexible à l'alimentation gaz, puis, avant de positionner l'appareil entre les meubles, raccordez l'autre extrémité à la rampe (fig. 2) en intercalant un joint.
Pour les installations ancienne et en butane, vous pouvez utiliser un tube souple en caoutchouc d'une longueur maxi de 1,50 m et de 6 mm de diamètre interieur, monté avec l'about spécial butane. - Véiliez à l'enforcer suffisamment et à le fixer avec un collier à chaque extrémité (figure 3).
Pour l'achat des tuyaux
- TubeSouple en caoutchouc : il doit etre marquee NF GAZ.
- Tuyau flexible : il doit être conforme à la norme NF D 36 121 ou NF D 36 103 ou NF D 36 107.
NOTE : Si le passage du tuyau de raccordement derrière la cusinière est nécessaire, respecter les prescriptions données dans le figure 4 en ayant soin dans ce dernier cas deMAINTER le tuyau dans le support A. Vérifiéz qu'il n'y a aucune perte de gaz.
Raccordement électrique Important
! Quelque soit le mode de raccordement, l'appareil doit être relié à la terre conformément aux règlements en vigueur prescriptions de la norme NF C 15.100 et aux règlements en vigueur. Notre responsabilité ne saurait être engagée en cas d'accident consécutif à une mise à la terre inexistante ou incorrecte.
Capacité du fusible : 16 A.
Remarque :
Contrôlez sur la plaque signalétique la valeur de la puissance totale de raccordement pour étabir la puissance du fusible.
Si un appeareil fixe n'est pas muni d'un cable d'alimentation et d'une fiche, prévoir un dispositif de déconnexion sur le réseau d'alimentation avec une distance d'ouverture des contacts qui permette la déconnexion complète dans les conditions de la catégorie de surtension III, conformément aux règles d'installation.
Le conducteur de mise à la terre jaune-vert ne doit pas être coupé par l'interrupteur.
Le cable d'alimentation sera positionné de façon à ce qu'en aucun point sa température n'excède 50^ à la température ambiente.
Avant de procéder au branchement, vérifie que :
- les fusibles, ainsi que l'installation électrique domestique, sont en mesure de supporter la charge de l'appareil (voir la plaque signalétique),
- la prise ou le disjoncteur omnipolaire utilisé pour le branchement est facilement accessible lorsqu'ellappeil est installé.
Pour les différents cas de branchement, reportez-vous au tableau n°1.
Avant de faire le branchement, il est vivement recommandé de repérer phase(s), neutre et terre sur le réseau.
Si le cable d'alimentation doit être changé, il ne doit être remplaçé que par un professionnel qu'il est.


Tableau n°1
| Type de branchement | Monophasé | |
| A | Raccordement du cable sur la plaque à bornes | 1 2 3 4 5 L1 N PE |
| Tension au réseau | 230 V | |
| Tension des éléments chauffants | 230 V |
REEMPLACEMENT DE L'AMPOULE D'ECLAIRAGE DU FOUR
Avant de procéder au changement de l'ampoule
d'éclairage du four, veillez à ce que toutes les commandes soient sur la position Arrêt « ● ».
Débranche l'alimentation électrique de l'appareil. Assurez-vous aussi que l'intérieur du four soit froid.
L'ampoule est située au fond du four.
Pour changer l'ampoule, retirez le verre de protection.
Cette ampoule de 15 W, de type culot à vis E14 (230/240 V) est une ampoule spéciale « chaleur » résistant à une température de 300^ . Elle vous sera fournie sur demande par le Service Àpres Vente de votre magasin vendeur.

CHANGEMENT DE GAZ
Votre cuisine est prévue pour fonctionner en gaz naturel, propane ou butane. Elle n'est pas prévue pour fonctionner avec de l'air butané ou propané.
Pour changer le type de gaz, il est nécessaire de :
- changer les injecteurs (table),
- modifier les réglages de début réduit (table),
- vérifier le mode de raccordement gaz.

Collez l'étiquette autocollante fournie avec l'appareil (pochette
des injecteurs) correspondant au type de gaz utilisé.
TABLEAU N° 2 DES INJECTEURS
Valeurs se référant à Hs - 15°C - 1013.25mbar
Cat. III 1c2E+3+
| Gaz | Brûleur | Injecteur N. | Puisance minimum (kW) | Puisance nominale (kW) |
| G20 20 mbar | Auxiliaire | 72 | 0,33 | 1,00 |
| G25 25 mbar | Semi rapide | 97 | 0,48 | 1,75 |
| Gaz naturel | Rapide | 115 | 0,75 | 3,00 |
| Ultra rapide | 128 | 1,30 | 3,30 | |
| G30 28-30 mbar | Auxiliaire | 50 | 0,33 | 1,00 |
| Butane | Semi rapide | 65 | 0,48 | 1,75 |
| G31 37 mbar | Rapide | 85 | 0,75 | 3,00 |
| Propane | Ultra rapide | 93 | 1,30 | 3,30 |
| G130 8 mbar | Auxiliaire | 145 | 0,33 | 1,00 |
| Air | Semi rapide | 185 | 0,48 | 1,75 |
| Butane | Rapide | 260 | 0,75 | 3,00 |
| Propane | Ultra rapide | 290 | 1,30 | 3,30 |
Attention : Les injecteurs pour l'air butané et l'air propagated ne sont pas livrés avec l'appareil mais, en cas de nécessité, ils sont disponibles chez leur fournisseur.
Remplacement des injecteurs de table
Chaque appareil est muni d'un jeu d'injecteurs pour chaque type de gaz. Le diamètre de l'orifice de chaque injecteur est indiqué sur l'injecteur.

Pour remplacer les injecteurs de table
- Retirez les grilles.
- Retirez les brûleurs et les chapeaux.
3.Retirez l'injecteur et remplaceze-le par celui approprié au nouveau type de gaz utilisé (voir tableau n^2
Réglage du ralenti des brûleurs de la table
1.Allumez chacun des bruleurs.
2.Tournez les manettes jusqu'à la position minimum.
3. Retirez les manettes.
Alimentation en gaz naturel
Agissez sur la vis de réglage (selon le modele) jusqu'à l'obtention d'une petite flamme régulière.
Alimentation en gaz Butane ou Propane
Vissez à fond la vis (selon le modele), celle-ci étant déjà prévue pour assurer le débit minimum. Contrôlez en tournant la manette de la position de débit minimum et vice versa, que la flamme ne s'eteint pas.
Remarque: La vis de réglage est de petite dimension, utilisez un tournevis plat très fin.
4.Remontez les manettes en effectuant les opérations dans l'ordre inverse.



Vis de réglage du débit minimum
Cet apparéil est conforme aux Directives Communautaires suivantes : 90/683 ; 73/23 (Basse Tension) et modifications successives, 89/336 (Compatibilité Electromagnétique) et modifications successives, 90/396 (Appareil Gaz)É; 93/68 (Directives Générales) et modifications successives.
Cet apparéil porte le symbole du recyclage conformément à la Directive Européenne 2002/96/CE concernant les Déchets d'Équipements Électriques et Électroniques (DEEE ou WEEE).En procedant correctement à la mise au rebut de cet apparéil, vous contribuerez à empêcher toute conséquence nuisible pour l'environnement et la santé de l'homme.
Le symbole présent sur l'appareil ou sur la documentation qui l'accompagne indique que ce produit ne peut enaucun cas etre traitedechet menager. Ildoit par conssequent et remis à un centre de collecte des déchets charged du recyclage des équipements electriques et electroniques. Pour la mise au rebut, respectez les normes relatives à l'élimination des déchets en vigueur dans le pays d'installation.Pour obtenir de plus amples details au sujet du traitement, de la recupération et du recyclage de cet apparieil,veuilliez yous adresser au bureau competent de�te commune,à la société de collecte des déchets ou directement a�te revendeur.
Electrolux Home Products France S.A.S. au capital de 67 500 000 € - 552 042 285 RCS SENLIS
ARTHUR MARTIN ELECTROLUX
Pour tenir nos engagements, nous écoutons les Consommateurs
Info Conso Electrolux est le lien privilégie entre la marque et ses Consommateurs. Il assure en permanence une double mission : satisfaire au mieux vos exigences et tirer parti de cette proximé pour améliorer sans cette les produits que nous vous proposons.
AVANT L'ACHAT
Toute une equipe répond avec clarté et précision à vos sollicitations concernant l'éventail de nos gAMES de produits et vous apporte desinfos pour vous aider dans votre choix en fonction de vos propres besoin.
APRÉS L'ACHAT
Exprimez-vous sur la perception que vous avez de nos produits et votre satisfaction à l'usage. Mais interrogez aussi nos spécialistes sur l'utilisation et l'entretien de vos appareils. C'est alors que notre mission prend tout son sens. Ecouter, comprendre, agir : trois temps essentiels pour tener l'engagement de la marque dans le plus grand respect du Consommateur.
A bientot!
Dans le souci d'une amélioration constante de nos produits, nous nous réservons le droit d'apporter à leurs caractéristiques toutes modifications liées à l'évolution technique (décret du 24.03.78).
Info Conso
Electrolux

BP 50142-60307 SENLIS CEDEX
Tel.:0890710344 (0,15 TTC / mn)
Fax:0344622154
E-MAIL:info.conso@electrolux.fr
Permanence téléphonique du lundi au vendredi
Pour toute question technique :
Centre Contact Consommateurs
BP 20139-60307 SENLIS CEDEX
Tel.: 08 92 68 24 33 (0,34 € TTC/mn)
E-MAIL: ehp.consommateur@electrolux.fr
Permanence téléphonique du lundi au vendredi
ARTHUR MARTIN
Electrolux
Pour une vie plus facile.
Notice Facile