EXL 110 ECBL/CUE - Chaudière FALCON - Notice d'utilisation et mode d'emploi gratuit
Retrouvez gratuitement la notice de l'appareil EXL 110 ECBL/CUE FALCON au format PDF.
| Intitulé | Détails |
|---|---|
| Type de produit | Four à gaz |
| Caractéristiques techniques principales | Four à convection, 2 compartiments, commandes électroniques |
| Alimentation électrique | 230 V, 50 Hz |
| Dimensions approximatives | Largeur : 110 cm, Profondeur : 70 cm, Hauteur : 90 cm |
| Poids | 150 kg |
| Compatibilités | Compatible avec divers accessoires de cuisson FALCON |
| Type de batterie | Non applicable |
| Tension | 230 V |
| Puissance | 3,5 kW |
| Fonctions principales | Cuisson, rôtissage, pâtisserie |
| Entretien et nettoyage | Nettoyage régulier des grilles et des surfaces internes, utilisation de produits non abrasifs |
| Pièces détachées et réparabilité | Disponibilité de pièces détachées via le service après-vente FALCON |
| Sécurité | Équipé de dispositifs de sécurité pour éviter les fuites de gaz |
| Informations générales utiles | Garantie de 2 ans, service client disponible pour assistance technique |
FOIRE AUX QUESTIONS - EXL 110 ECBL/CUE FALCON
Questions des utilisateurs sur EXL 110 ECBL/CUE FALCON
0 question sur cet appareil. Repondez a celles que vous connaissez ou posez la votre.
Poser une nouvelle question sur cet appareil
Téléchargez la notice de votre Chaudière au format PDF gratuitement ! Retrouvez votre notice EXL 110 ECBL/CUE - FALCON et reprennez votre appareil électronique en main. Sur cette page sont publiés tous les documents nécessaires à l'utilisation de votre appareil EXL 110 ECBL/CUE de la marque FALCON.
MODE D'EMPLOI EXL 110 ECBL/CUE FALCON
Mode d'emploi et instructions d'installation et d'entretien
Excel 110 Dual Fuel
Brûleurs de table de cuisson 3
Table de cuisson vitrocéramique/ Plaque à griller 4
Gril 6
Fours principaux 7
Horloge 8
Cuisson avec minuterie 9
Fonctions du four Multifonctions 10
Grilles de four 11
Handyrack 12
Eclairage du four 12
Four Cuisson lente 12
Nettoyage de la cuisine 13
Dépannage 16
Consignes generales de sécurité 18
Entretien et pieces de rechange 19
Installation 20
Entretien 24
Fiche technique 29
Schéma de câblage 58
Sécurité avant tout
Mise en garde
Les composants accessibles deviendront chauds pendant l'utilisation. Eloignez les enfants de la cuisine pour prévenir les risques de brûlures et d'ébouillante.
Tout comme vous, votre cuisinière a besoin d'air frais. Les flammes des brûleurs produits des gaz de combustion, de la chaleur et de l'humidité. Veillez à ce que la cuisine soit bien ventilée : laissez les ouvertures de ventilation naturelle ouvertes ou installez une hotte aspirante à évacuation extérieure. En cas d'utilisation simultanée de plusieurs brûleurs ou d'utilisation prolongée de la cuisinière, ouvrez une fenêtre ou mettez en marche une hotte aspirante. Pour des informations plus détaillées, reportez-vous aux Instructions d'installation.
Ne posez pas d'objets lourds sur la table en vitrocéramique. Meme si la surface en vitrocéramique est très résistante, un impact violent ou la chute accidentelle d'un objet sur la surface risque de la fissurer.
Dès qu'une fissure est visible sur la surface, mettez immédiatement la cusinière hors tension et faites-la réparer.
Veillez à prévenir toute infiltration d'eau dans la cuisineire.
La cusinière est chaude pendant et après l'utilisation. Il importe donc de faire preuve de vigilance en présence d'enfants en bas âge. Si vos jeunes enfants viennent dans la cuisine, voirlez absolument à ne pas les laisser sans surveillance à aucun moment.
Nous vous recommendons de dire les « Consignes générales de sécurité » (en particulier si vous n'avez jamais utilisé de cusinière mixte). Elles contiennent des conseils de base en vue d'une utilisation sûre de votre cusinière.
Alimentation en gaz et électricité
Vérifiez que l'alimentation en gaz est en marche et que l'alimentation électrique de la cuisinière est raccordée et en marche. La cuisinière a besoin d'électricité.
Odeur de neuf
Une légère odeur de neuf peut se dégager lors de la première utilisation de la cuisineire. Elle disparaître rapidement à l'utilisation.
Avant la première utilisation de l'appareil, assurez-vous qu'il ne resteaucun matériel d'emballage,puis,réglezlesfours sur 230^ et faites-les marcher pendant une heures afin d'éliminer I'odeur de neuf.
Avant la première utilisation du grill, allumez-le et faites-le marcher pendant 30 minutes, avec la l'echefrite bien en place, et en laissant la porte du grill ouverte.
Veillez à ce que la pièce soit bien ventilée, en ouvrant les fenêtres, par exemple, ou en mettant la hotte en marche. Il est recommendé aux personnes souffrant de problèmes respiratoires ou d'allergies de quitter la pièce pendant ce temps.
Installation
Une installation incorrecte n'engage ni la responsabilité, ni la garantie du fabricant, et peut donner lieu à des poursuites.
Cet apparéil doit être installé conformément à la réglementation en vigueur, et uniquement dans un endroit bien ventilé. Lisez les instructions avant d'installer ou d'utiliser cet apparéil.
Brûleurs de table de cuisson

Le schéma à côté de chaque bouton indique le brûleur associé à ce bouton. Chaque brûleur a un dispositif de sécurité spécial qui coupe l'alimentation en gaz en cas d'extinction de la flamme.
Un dispositif d'allumage par étincelle est déclenché lorsqu'on appuie sur le bouton.
Appuyez sur un bouton et mettez-le sur le symbole grande flamme (A). Le dispositif d'allumage produit une etincelle et allume le gaz.


Continuez d'appuyer sur le bouton pendant quelques secondes pour permettre l'arrivee du gaz dans le bruleur.
Si le brûleur s'éteint lorsque vous relâchez le bouton de commande, le dispositif de sécurité n'a pas été enclenché. Mettez le bouton de commande sur la position Arrêt [Off] et attendez une minute avant d'essayer de nouveau, en appuyant un peu plus longtemps sur le bouton.
Lorsque vous appuyez sur le bouton de commande, une étincelle se produit à chaque brûleur – ceci est normal. N'essayez jamais de démonter ou de nettoyer autour d'un brûleur lorsqu'un autre brûleur est allumé. Vous pourriez receivevoir une décharge électrique.
Tournez le bouton pour régler la hauteur de flamme.
Le symbole petite flamme indique la « position minimum ». Tournez le bouton vers celle-ci lorsque le contenu du réseau de cuisson est parvenu à ébullition.

Veillez a ce que les flammes ne dépassent pas des recipients de cuisson.
Utilisez un couvercle sur les recipients de cuisson pour porter à ébullition plus rapidement.

N'utilisez pas de casseroles ou marmites à fond concave ou à fond à rebord incurve vers le bas.

L'utilisation de dispositifs de mjotage, de type plaques d'amiate ou plaques métalliques, est DECONSEILLEE. Ces dispositifs diminuéreront les performances de la cuisine et risquent d'endommager les grilles de la table de cuisson.
N'utilisez pas de récipiens de cuisson instables ou déformés susceptibles de se renverser, ni de récipiens de cuisson à fond de très petit diamètre (casseroles à lait, pocheuses individuelles, etc.).

Le diamètre minimum recommendé pour les recipients de cuisson est de 120mm .
Le diamètre maximum pour les récipients de cuisson est de 250 mm.
Le brûleur Wok (coup de feu) est conçu pour fournir une chaleur uniforme sur une grande surface. Il est parfait pour les grandes poèles et la friture rapide à feu vif. Les petits brûleurs sont plus adaptés aux récipients de cuisson plus petits.
Vou pousse retarder les éléments du brûleur pour les nettoyer.
Reportez-vous à la section « Nettoyage de la cuisinière »
En cas de débordement, essuyezès que possible la surface en émail autour des brûleurs de la table de cuisson. Tâchez d'essuyer la substance renversée pendant que l'émail est encore chaud.
Remarque:
Les recipients en aluminium peuvent laisser des traces métalliques au niveau des grilles de la table de cuisson. Ces traces sont sans incidence sur la durabilité de l'email et peuvent être éliminées à l'aide d'un nettoyant pour métaux.
Support spécial de Wok
Le support spécial de Wok se place sur la grille du brûleur Wok droit et est créé pour être utilisé avec un Wok Typhoon™ Professional 35 cm (Référence de piece 13840S). Il est disponible en grands magasins.
Si vous utilisez un autre modele de Wok, vérifie qu'il repose correctement sur le support spécial. Les Woks peuvent avoir des taillles et des formes très variees. Il est important que le Wok repose correctement sur le support - mais si le Wok est trop petit, il ne sera pas bien maintainu en place par le support spécial.

François
Le support spécial de Wok doit être utilisé uniquement sur le brûleur Wok à triple élément.

Lorsque vous placez le support spécial, vérifie que le Wok repose bien sur les barres avant et arrêté et qu'il est bien soutenu par une grille de la table de cuisson.

Vérifiez que le support spécial est stable et que le Wok est placé à niveau sur le brûleur.

Le support spécial deviendra très chaud pendant l'utilisation – laissez-le refroidir suffisamment longtemps avant de le retirer.

Entretien et Nettoyage Informations importantes
N'utilise jamais de solvants pour peinture, de cristaux de soude, de nettoyants caustiques, de poudres biologiques, d'eau de Javel, de nettoyants chlorés, de produits abrasifs à gros grain ou de sel.
Il est recommendé d'utiliser de l'eau savonneuse chaude, un tampon recureur savonnex humide, un produit de nettoyage semi-liquide ou un tampon recureur en nylon pour nettoyer la cuisineire.
Table de cuisson vitrocéramique/ Plaque à griller

La partie gauche de la table de cuisson est à double usage. Elle peut être utilisée comme table vitrocéramique pour le chauffage d'une casserole, ou bien pour le chauffage de la plaque à griller fournie.
Utilisation avec une casserole
La zone arrête, indiquée par un cercle, s'utilise pour la cuisson avec une casserole.

Deux éléments permettent d'utiliser la totalité de la surface ou seulement la partie arrêté.

Tournez le bouton de commande en sens anti-horaire pour utiliser le foyer arrêté.
Levoyant au-dessus du bouton de commande s'allume lorsqu'une commande est mise en marche et reste allumé pendant le refroidissement de la surface.
Vous pouvez aussi placer une grande poissonnière sur les deux zones de cuisson. Tournez le bouton en sens horaire pour chauffer la totalité de la surface.
Prenez toujours garde lorsqu vous touchez la surface, car même eteinte, elle peut etre encore tres chaude.
Utilisez uniquement des cassetoles conçues pour les tables de cuisson en vitrocéramique.
Il est conseilé d'utiliser des cassetoles en acier inoxydable et en émail car les cassetoles à fond en cuivre ou en aluminium laissent des marques difficiles à éliminer sur la table de cuisson.
Les plats de cuisson en vitrocéramique ne convennent pas du fait de leur faible conductivité.
Utilisez des casseroles à fond écais, lisse et plat. Ceci permet un transfert de chaleur maximal de la table de cuisson à la casserole, d'ou une cuisson plus rapide et plus économique.
N'utilisez jamais de Wok à fond rond, même avec un support.
Les casseroles les mistrées sont celles qui, à l'état froid, sont très légèrement bombées vers l'intérieur. En plaçant une règle sur le fond de ces casseroles, on peut constater que la surface est légèrement incurée vers le milieu. Sous l'effet de la chaleur, le métal se dilate et la totalité du fond du recipient de cuisson est en contact avec la surface de cuisson.
Veillez à ce que le fond du écipient de cuisson soit propre et se pour éviter que des résidus d'aliments ne brûlent et n'attachent sur la plaque de la table de cuisson. Ceci permet également d'éviter les rayures et les dépôts (tels que les particules de calcaire).
Veillez à toujours utiliser des récipients de la même taille (ou légèrement plus grands) que le diamètre indiqué sur la surface de cuisson. L'utilisation de récipients plus petits entraine une perte de chaleur et, en cas de débordement, le contenu du récipient attachera à la surface de cuisson. Utilisez un couvercle sur les récipients de cuisson pour porter à ébullition plus rapidement.
Soulevez toujours les recipients pour les retarder de la surface de cuisson. Ne les faites pas glisser sur la surface, car vous risquez de la marquer et de la rayer.




Mettez toujours le bouton de commande sur la position arrêt [Off] avant desteroler un récipient de la surface de cuisson.
Meme si la surface en vitrocéramique est très résistante, un impact violent ou la chute accidentelle d'un objet (une salière, par exemple) risque de la fissurer. Si la surface est fissurée, mettez immédiatement la cusinière hors tension et faites-la réparer.
Veillez a prévenir toute infiltration d'eau dans la cusinière.
Nettoyez la surface après chaque utilisation pour prévenir les rayures et les taches.
Lorsque vous cuisinez sur la table de cuisson, le foyer utilise pourra s'éclairer et s'éteindre. Ceci est dû à un dispositif de sécurité qui limite la température de la table de cuisson. Ceci est tout à fait normal, surtout à des températures élevées. Toutefois, si cela se produit féquèment avec un réseau de cuisson particulier, cela peut venir du fait que celui-ci ne convient pas à une table de cuisson en vitrocérément car il est trop petit ou a un fond trop irrégulier.
La table de cuisson sera endommagée de façon permanente en cas de déversement accidentel de sucre sur la surface. Veillez donc à nettoyer immédiatement et soigneusement la zone tachée. Ne laissez jamais sécher des taches de sucre avant de les nettoyer.
Si du sucre ou des alimentes à force teneur en sucre, des objets en aluminium ou en plastique ont fondu accidentellement sur la surface de la table de cuisson, retirez-les immediatement de la partie chaude de la table à l'aide d'un racloir à lame pour ne pas abimer la surface. Reportez-vous à la section « Nettoyage de la cusinière »
Ne coupez jamais des alimentés directement sur la surface de cuisson.
Ne faites pas cuire des alimentes directement sur la surface de cuisson, c'est-à-dire sans lesmettre au préalable dans un recipient ou un ustensile de cuisson.
N'utilissez pas la table de cuisson comme plan de travail.
Ne faites pas glisser des ustensiles sur la table de cuisson.
Ne placez rien entre le fond du recipient de cuisson et la surface de cuisson (plaque d'amiente, feuille de papier aluminium ou support de Wok, par exemple).
Ne laissez pas des ustensiles, des alimentes ou des produits combustibles sur la table de cuisson lorsqu'elle n'est pas en service (torchon, ou poèle contenant de l'huile, par exemple).
Ne placez pas de plastique, de feuille de papier aluminium ou de récipients en plastique sur la table de cuisson.
Ne laissiez pas les foyers allumés s'ils ne sont pas utilisés pour la cuisson.
N'utilisze pas des reçipients de cuisson plus grands ou plus petits qu'un foyer. Placez toujours les reçipients de cuisson bien au centre du foyer.
Ne laissez jamais qui que ce soit grimper ou se tenirABOUT sur la table de cuisson.

Utilisation avec la plaque à griller
La plaque à griller est donc pour être montée en toute sécurité sur les goupilles de positionnement au-dessus de la surface de cuisson en vitrocéramique.

N'essayez pas de l'utiliser sur un des brûleurs à gaz. Elle ne sera pas bien maintainue en place et vous risquez d'abîmer la surface antiadhésive.
Deux éléments permettent d'utiliser la totalité de la surface ou seulement la partie arrêté.
François
Tournez le bouton en sens hora pourCHAuffer la totalite de la surface.

Tournez-le en sens anti-horaire pour chauffer uniquement le foyer arrêté.

Levoyant au-dessus du bouton de commande s'allume lorsqu'une commande est mise en marche et reste allumé pendant le refroidissement de la surface.
La plaque à griller se place sur deux goupilles de positionnement.
Vérifiez qu'elle est placée correctement.
Elle s'utilise pour la cuisson directe des alimentes. N'utilise pas de recipients de cuisson sur cette plaque. La plaque a griller a une surface antiadhésive susceptible d'être endommagée par des ustensiles de cuisine métalliques (spatules, par exemple). Utilisez des ustensiles en bois ou en plastique thermoresistant.
Avant l'utilisation, vous pouvez enduire la plaque d'une légère couche d'huile à friture.
Préchauffez la plaque à griller pendant 5 minutes au maximum avant d'y déposer les aliments. Un préchauffage plus long risque de l'endommager.
Mettez le bouton de commande sur un réglage inférieur pour diminuer la température de la plaque à griller.
Utilisez les réglages suivants comme guide de cuisson sur la plaque à griller.
| Supérieur/Moyen: | Crèpes, Bacon, Côtelettes, Steak,Hamburgers. |
| Moyen/Inférieur: | Galettes de pommes de terre, Oeufs, Galettesde poisson. |
Avec la pratique, vous vous familiariserez rapidement avec les réglages corrects adaptés à la préparation de vos plats.
La plaque à griller deviendra très chaude pendant l'utilisation – laissez-la refroidir suffisamment longtemps avant de la retirer.
Utilisez uniquement des gants de cuisine secs
L'emploi de gants humides sur des surfaces chaudes peut provoquer des brûlures par la vapeur. Ne laissez jamais des gants de cuisine entra en contact avec des éléments chauffants chauds.
N'utilise pas de torchon ou autre chiffon épais à la place d'un gant de cuisine. Ils risquent de s'enflammer au contact d'une surface chaude.
Ne faites jamais fonctionner la cuisineire avec les mains mouillées.
Un espace situé dans le coin
droit arrêté de la plaque à
griller vous permet de déverser
l'exçédent deGRAISSSE après la
cuisson. Faites attention – la
plaque peut être très chaude.

Après utilise, nettoyez la plaque avec de l'eau savonneuse chaude et un chiffon doux. Laissez refroidir la plaque avant de la nettoyer.
Gril

Attention : Des composants accessibles risquent devenir chauds pendant l'utilisation du grill. Eloignez les enfants de la cuisineire.
Avant la première utilisation du grill, allumez-le et faites-le marcher pendant 30 minutes, avec la l'echefrite bien en place, et en laissant la porte du grill ouverte.
Veillez à ce que la pièce soit bien ventilée, en ouvrant les fenêtres, par exemple, ou en mettant la hotte en marche. Il est recommandé aux personnes souffrant de problèmes respiratoires ou d'allergies de quitter la pièce pendant ce temps.
Utilisation du grill
Ouvrez la porte du grill et tirez le support de la lèchefrite vers l'avant au moyen de la poignée.

Placez les alimentes sur la grille, puis insérez le support de la l'échefrite dans l'enceinte de grill. Vérifié qu'il est inséré à fond.
Le gril a deux éléments qui permettent deCHAuffer la totalité de la l'echefrite ou seulement la partie droite de cette-ci.
Tournez le bouton en sens horaire pour chauffer la totalité du grill.

Tournez-le en sens anti-horaire pour chauffer la partie droite.
Levoyant au-dessus de la commande de grill s'allumera.
Pour obtenir les salariés résultats possibles, préchauffez pendant 2 minutes avec la l'échéfte en place. Placez les alimentés sur la grille de la l'échéfte, puis insérez le support. Tournez le bouton de commande pour régler la chaleur du grill.
Vérifiez que le support de la lèchefrite est inséré à fond.
Ne fermez jamais la porte du grill lorsque celui-ci est en marche.
La grille de la lèchefrite est réversible pour permettre deux positions de grill.


Ne laisses jamais le grill en marche pendant plus de quelques instants si la lèchefrite n'est pas en place sous le grill.
Pour obtenir les valeurs résultats possibles, notamment pour griller des tranches de pain, préchauffezpendant deux minutes avec la lèchefrite en place.
Vous pouvez-retirer la grille de la lèchefrite et y déposer les alimentés pendant le préchauffage.
La grille de la l'échefrite est réversible pour permettre deux positions de grin.
La l'échéfte et le support sont amovibles pour faciliter le nettoyage. Reportez-vous à la section « Nettoyage de la cuisine »
Lorsque you tirez la l'echefrite vers I'avant, le bord large est-il a I'avant? Il est important qu'il soit situé à I'avant.

Fours principaux
L'appareil devient chaud lorsqu'il est en marche. Veillez à ne pas toucher les éléments chauffants à l'intérieur du four.
Avant d'utiliser l'appareil pour la première fois, réglez les jours sur 230^ et faites-les marcher pendant une heures afin d'éliminer l'odeur de neuf. Pour éliminer l'odeur de neuf, assurez-vous que la pièce est bien aérée, en ouvrant les fenêtres, par exemple, ou en mettant la hotte en marche. Il est recommendé aux personnes souffrant de problèmes respiratoires ou d'allergies de quitter la pièce pendant ce temps.
Four gauche

Le four gauche est un four Multifonctions. Outre le ventilateur du four et l'élement du ventilateur, le four est doté de deux éléments
chauffants supplémentaires, l'un visible dans la voûte, et l'autre sous la sole. Veiliez à ne pas toucher l'élement supérieur et le déflecteur de l'élement lors de l'insertion ou du retrait des plats dans le four. Pour un complément d'informations au sujet de ce four, veuilles vous reporter à la section « Four Multifonctions »

Le four Multifonctions est doté de deux commandes, un sélecteur de fonction et un bouton de réglage de température.
| Tournez le sélecteur de fonction pour lemettre sur une fonction de cuisson. | |
| Tournez le bouton de réglage de température du four pour lemettre sur la température requise. | |
| Levoyant du four sera allumé jusqu'à ce que le four attaigne la température requise.II s'allumera et s'éteindra pendant la cuisson. |
Four droit

Le ventilateur dans le four droit brasse l'air chaud continuellement, assurant ainsi une cuisson plus rapide et plus uniforme.
En général, les températures de cuisson recommendées pour un four ventilé sont plus basses que celles pour un four conventionnel.
Le bouton de commande du four ventilé droit est à droite du panneau de commande.

Français
| Tournez le bouton de réglage de température du four pour lemettre sur la température requise. | 0 15 25 35 45 55 65 75 85 95 105 |
| Le voyant du four sera alluméjusqu'à ce que le four attaigne latempérature requise. Il s'allumeraet s'éteindra pendant la cuisson. | 0 15 25 35 45 55 65 75 85 95 105 |
Horloge
Vous pouvez utiliser la minuterie pour allumer et éteindre le four Multifonctions gauche. L'horloge doit être régée sur l'heure actuelle pour que ce four puisse fonctionner.
Réglage de l'heure

A Bouton de Minuterie B Bouton de Réglage
Après raccordement initial de l'horloge, l'affichage clignotera pour indiquer ( . ) et ( ) alternatively.
Pour régler l'horloge sur l'heure actuelle, tournez et appuyez sans relâcher sur le bouton de Minuterie pour lemettre sur le symbole horloge (®) et simultanément tournez le bouton de Réglage vers la gauche ou vers la droite jusqu'à l'affichage de l'heure correcte. N'oubliez pas que c'est une horloge 24 heures. Relâchez le bouton de Minuterie ; il revienda rla position verticale de réglage manuel de four.
Réglage de la minuterie pour la cuisson (minuterie)
| Tournez le bouton de Minuterie vers la droite sur le réglage minuterie (°) - vous devrez entendre un déclic lorsqu'il est à la position correcte. |
| Utilisez le bouton de Réglage pour régler le temps de cuisson comme indiqué ci-dessous | 0.20 AUTO |
Vous pouvez remettre le bouton sur le réglage manuel (M) pour pouvoir voir l'heure ou le laisser sur la position minuterie (D) pendant toute la durée de la cuisson.
Arrêt du signal sonore lorsque celui-ci retentit
Tournez le bouton de Réglage en sens anti-horaire.
Arrêt automatique
Utilisez cette fonction lorsque vous avez mis le four en marche manuellement.
Tournez le bouton de Minuterie pour lemettre sur la position ( 1

Utilisez le bouton de Réglage pour régler le temps de cuisson comme indiqué ci-dessous.

« L'heure d'arrêt » [« Stop Time »] sera affchéé. AUTO sera affchéé. Tournez le bouton de Minuterie pour lemettre sur la position
« AUTO ». Le signal sonore indiquera la fin de la cuisson. Tournez le bouton de Minuterie pour lemettre sur la position verticale (M) pour revenir au fonctionnement manuel.
Mise en marche et arrêt automatiques du four
Avant de régler la minuterie, vous doivent avoir deux chiffres à l'esprit.
Le « temps de cuisson», c'est-à-dire la durée pendant laquelle vous poulez que le four fonctionne.
« L'heure d'arrêt », c'est-à-dire l'heure à laquelle vous pouze que le four s'arrête.
Vous ne pouvez pas régler directement une heures de mise en marche – celle-ci est réglée automatiquement lorsque vous réglez le temps de cuisson et l'heure d'arrêt.
Tournez le bouton de Minuterie pour lemettre sur la position ( ).

Utilisez le bouton de Réglage pour régler le « temps de cuisson »

Tournez le bouton de Minuterie pour lemettre sur la position ( ).L'affichage indiquera I'heure et le « temps de cuisson » que vous venez de régler..

A的前提,lesfoursverrouillés.Aprèsquelquessecondes,l'affichageindiquendeveau l'heure et le symbole dela clé.

Utilisez le bouton de Réglage pour régler « l'heure d'arrêt » « L'heure d'arrêt » sera affichée. AUTO sera affchéé.

Arrêt de la fonction de verrouillage
Appuyez sans relâcher sur l'Hournez et appuyez sans relâcher sur le bouton de Minuterie pour lemettre surlesymbole (P)pendant environ 8 secondes. «Of» ([Arrêt]) sera affché.

Réglez le (les) four(s) à la température requise (n'oubliez pas de désirir une fonction si vous utilisez le four multifonctions). Tournez le bouton de Minuterie pour lemettre sur la position « AUTO ».
Le signal sonore indiquera la fin de la cuisson. Tournez le bouton de Minuterie pour lemettre sur la position verticale ( ) pour revenir au fonctionnement manuel.
Si vous étés absent pendant la cuisson, ne vous inquiétez pas au sujet de l'arrêt du signal sonore, celui-ci s'arrête aès un certain temps. A votre retour, tournez le bouton de Minuterie pour lemettre sur la position verticale (m) pour revenir au fonctionnement manuel.
AUTO est affché, et vous foulez remetre le four sur fonctionnement manuel.
Pour annuler tout réglage automatique ou réglage de minuterie, tournez brievement le bouton de Minuterie pour lemettre sur le symbole horloge (①) puis relâchéz-le.
Fonctions spéciales de l'horloge
Fonction de verrouillage
Lorsque la fonction de verrouillage est activée, l'horloge fonctionne comme de coutume mais le four est verrouillé et ne peut s'allumer. De cette façon, s'il arrivait à votre enfant de selectionner un programme de cuisson, la mise en route du programme ne serait pas activée et le four ne s'allumerait pas.
Mise en marche de la fonction de verrouillage
Vérifiez que l'horloge est sur le mode manuel et annulez tout programme en cours.
Tournez et appuyez sans relâcher sur le bouton de Minuterie pour le mesure sur le symbole (①) pendant environ 8 secondes. « On » ([Marche]) sera affché..

Continuez de maintainir le bouton de Minuterie sur le symbole () et tournez le bouton de Reglage dans le sens hora jusqu'à l'affichage du symbole de clé (♀) et de « Of » ([Arrêt]). Relâchez les boutons.

Continuez de maintainir le bouton de Minuterie sur le symbole (⊙) et tournez le bouton de Reglagedans le sens horaire jusqu'à ceque le symbole de clé (♀) soit remplacé par l'affichage de « Of »([Arrêt]). Relâchéz les boutons.

Après quelques secondes,
l'affichage indique de nouveau
l'heure.
A的前提,lesfourspeuventetreutilisésnormalement.

Cuisson avec minutesie
La minuterie ne peut commander que le four Multifonctions gauche.
Vous pouvez régler le four pour qu'il se mette en marche à un moment donné dans les 24 heures après le réglage.
Si vous désirez cuire plusieurs plats simultanément,CHOISSEZ des plats nécessitant approximativement le même temps de cuisson. Cependant, la cuisson de certains plats peut etre légèrement « ralentie » en utilisant des petits plats de cuisson et en les recouvrant d'une feuille de papier aluminium, ou « accélérée » en utilisant de plus petites quantités ou des plats de cuisson plus grands.
Evitez d'utiliser des alimentes rapidement périssables (poisson, porc, etc.) si vous prévoyez une longue période d'attente,URTout par temps chaud.
Ne placez pas des alimentes chauds dans le four.
N'utilisez pas un four deja chaud.
N'utilisez pas ce mode de cuisson si le four adjacent est chaud.
Evitez d'utiliser du vin ou de la bière si vous prévoyez une période d'attente, ceci afin de prévenir le risque de fermentation.
Pour empêcher la crème de tourner, ajoutez-la aux plats juste avant de servir.
Enduisez les légumes frais de matière grasse fondue ou faites-les tremper dans une solution d'eau et de jus de citron, pour prévenir leur décoloration pendant la période d'atte.
La cuisson des tartes aux fruits, tartes à la crème ou autres mélanges humides sur fonds de tartes non cuits ne donnera de
François
bons résultats que si la période d'attente avant la cuisson est courte. Les plats contenant des restes de viande ou de volaille cuite ne doivent pas etre cuits automatiquement si la période d'attente est longue.
Décongelez complètement les volailles entières avant de lesmettre au four.
Vérifiez que la viande et la volaille sont complètement cuites avant de les servir.
Four gauche et four droit
Avant d'utiliser l'appareil pour la première fois, réglez les jours sur 230^ et faites-les marcher pendant une heures afin d'éliminer l'odeur de neuf. Pour éliminer l'odeur de neuf, assurez-vous que la pièce est bien aérée, en ouvrant les fenêtres, par exemple, ou en mettant la hotte en marche. Il est recommendé aux personnes souffrant de problèmes respiratoires ou d'allergies de quitter la pièce pendant ce temps.
Pour ne pas endommager le revêtement émailé interieur, ne placez pas de moulés à viande ou de plaques de cuisson sur la partie inférieure du four et ne recouvre pas la sole du four de papier aluminium. Ne recouvre pas les grilles, les panneaux internes ou la voûte du four de papier aluminium.
Veillez à ce que les grilles soient toujours insérées à fond dans le four.
Placez les plaques de cuisson, moules à viandes, etc., à niveau, au centre des grilles du four. Eloignez les plaques et les plats de cuisson des bords du four, afin de ne pas trop dorer les alimentents.
Pour dorer un plat uniformément, il est recommendé d'utiliser une plaque de cuisson de dimensions maximales 340 mm x 340 mm.
La cuisson d'aliments à haute teneur en eau peut produit une « bouffée de vapeur » à l'ouverture de la porte du four. Lorsque vous ouvrez la porte du four, reculez-vous et attendez que la vapeur se soit dissipée.
Lorsque le four est en marche, ne laissez pas la porte du four ouverte plus longtemps que nécessaire, afin de prévenir une surchauffe des boutons de commande.

Laissez toujours un «doigt de largeur» entre des plats placés sur une grille de four. Ceci afin de facilititer la circulation de chaleur autour des plats.
- Les panneaux internes autonettoyants (voir la section « Nettoyage de la cuisine ») sont plus efficaces lorsqu'on évite les projections grasses. Couvrez la viande pendant la cuisson.
Pour réduire les projections grasses lorsque vous ajoutez des légumes dans laGRAISSÉchaudeautour d'un roti, séchez soigneusement les légumes ou enduisez-les d'un peu d'huile à friture.
- Si vous souhaitez dorer un fond de tarte, préchauffez une plaque de cuisson pendant 15 minutes avant de placer le plat au centre de la plaque.
- Placez les plats susceptibles de bouillir et déborderpendant la cuisson sur une plaque de cuisson.
Fonctions du four Multifonctions
Le four Multifonctions permet de nombreuses utilisations variees. Nous vous conseillons de bien surveiller la cuisson jusqu'à ce que vous soyez familiarisé avec chaque fonction. N'oubliez pas : toutes les fonctions ne convennent pas à tous les types d'aliments.

Réponse Rapide
Le réglage Réponse Rapide permet un préchauffage ultrarapide du four. Elle utilise l'élement du four ventilé et la chaleur supplémentaire d'un des éléments de la voûte du four. Les fours ventilés Rangemaster préchauffent rapidement, mais la fonction Réponse Rapide accélère le préchauffage pour vous permettre de commencer la cuisson plus rapidement.
Pour utiliser la fonction Réponse Rapide, il suffit de tourner le bouton de commande de fonction sur R et de régler à la température requise. Le voyant sur le panneau de commande à côté du symbole R s'allumera. Lorsque le four aura atteint la température requise, le voyant s'éteindra, ainsi que l'élement dans la voûte du four. L'élement du ventilateur et le ventilateur du four continueuron àMAINNER la température de cuisson可以选择.
Si vous choisissez de placer des alimentés dans le four froid avant la cuisson tout en utilisant la fonction Réponse Rapide, veillez à ce que les gâteaux, etc. ne soient pas placés trop haut dans le four.
Comme pour tout type de cuisson, en particulier pour les volailles, viandes et plats préparés, vérifie que les alimentents sont bien chauds avant de servir.

Décongélation
Avec cette fonction, le ventilateur du four brasse uniquely de l'air froid. Il n'y a pas de chaleur. Cette fonction permet de décongeler des alimentes, en petites quantités, par exemple des desserts, gâteaux à la crème, morceaux de viande, poisson et volaille.
Ce type de décongélation accélère le processus de décongélation et protège les alimentés des mouches. Placez les morceaux de viande,.POisson et volaille sur une grille, au-dessus d'une plaque prévue pour l'égouttement. N'oubliez pas de nettoyer la grille et la plaque après décongélation.
La portedou four doitetre ferméependant la décongélation.
Des alimentés plus volumineux, tels que des poulets entiers et des rôts, ne doivent pas être décongelés de cette façon. Nous vous conseillons de les déconceler au réfrigérateur.
Ne décongelez pas des alimentés dans un four tiège ou à côté d'un four en marche ou encore chaud.
Vérifiéz que les alimentés à base de produits laitiers, la viande et la volaille sont complètement décongelés avant de les cuire.

Four ventilé
Cette fonction commande le ventilateur et l'élement chauffant autour de celui-ci. Une chaleur uniforme est produit partout dans le four, ce qui permet la cuisson rapide de grandes quantités d'aliments.
La cuisson par four ventilé est particulièrement utile pour la cuisson simultanée d'aliments sur plusieurs grilles et est une
excellente fonction « polyvalente ». Vous devrez peut-être diminuer la température de 10^ environ pour des plats que vous aviez l'habitude de cuir dans un four conventionnel.
Si vous souhaitez préchauffer le four, attendez que levoyant s'éteigne avant demettre le plat au four.

Cuisson au four avec grill ventilé
Cette fonction commande le ventilateur pendant que
l'élement chauffant supérieur est en marche. On obtient ainsi une chaleur plus uniforme, moins intense que celle d'un grill conventionnel. Pour obtenir lesassageurs résultats possibles, placez les alimentes à griller sur une grille sur un plat à rôtir qui doit être plus petit qu'une lèchefrite de grill conventionnel. Ceci assure une的良好 circulation de l'air. Ce type de cuisson est idéal pour les morceaux de viande ou de poisson écais, car la circulation de l'air diminue l'intensité de la chaleur du grill. La porte du four doit être fermée pendant la cuisson au grill pour éviter un gaspillage d'énergie. Vous constaterez que vous dévre moins surveiller et tournier les alimentés cuits de cette façon. Ce type de cuisson nécessite un préchauffage du four.

Four ventilé mixte
Cette fonction commande le ventilateur et brasse l'air chauffé par les éléments chauffants de la voûte et de la sole du four. Cette fonction, qui combine la cuisson ventilée et la cuisson conventionnelle (chaleur supérieure et inférieure), est un moyen de cuisson idéal pour les alimentents volumineux (gros roti, par exemple) pour lesquels une cuisson complète est très importante. On peut également faire cuire des plats simultanément sur deux grilles, mais les plats devront être intervertis pendant la cuisson, car, avec cette fonction, la chaleur est plus intense dans la voûte du four qu'au niveau de la sole.
Ce mode de cuisson est intensif et rapide; surveillez les alimentés cuits ainsi jusqu'à ce que vous soyez familiarisé avec cette fonction.

Four conventionnel (chaleur de voute et de sole)
Cette fonction combine la chaleur fournie par les éléments supérieurs et inférieurs. Elle est particulièrement utile pour la cuisson des alimentes rôtis et des pâtes à tartes, gâteaux et biscuits. Les alimentes cuits sur la grille supérieure gratineront et doreront plusrapidement que ces光辉 sur la grille inférieure car la chaleur est plus intense dans la voûte du four qu'au niveau de la sole, comme dans le cas de la fonction « Four ventilé mixte » Des alimentessemblablescuits ainsi devront être intervenrtis pour cuire uniformément. Cette fonction permet donc de cuire des alimentés nécessitant des températures de cuisson différentes, en utilisant la zone moins chaude dans la partie inférieure du four et la zone pluschaude dans la partie supérieure du four.

Elément gratineur
Cette fonction utilise uniquement l'objet situé dans la
voute du four. C'est une fonction utile pour gratiner ou finir des gratins de pâtes, des légumes en sauce et des lasagnes, le plat à gratiner étant déjà chaud avant la mise en marche de l'élement supérieur.

Chaleur inférieure
Cette fonction utilise uniquement l'objet inférieur. Elle mettra de dorer le fond d'une pizza ou d'une quiche ou de miner la cuisson d'un fond de tarte sur une grille inférieure. Ist également une chaleur douce, parfaite pour le mijotage de ts placés au milieu du four ou pour rechauffer des assiettes.
Les fonctions Elément gratineur et Chaleur inférieure sont des adjonctions utiles à votre four et vous permettent de finir vos plats à la perfection. Vous constaterezrapidement que leur utilisation contribue àétendre vos compétencesculinaires.
Four droit
Le ventilateur dans le four droit brasse l'air chaud continuèlement, assurant ainsi une cuisson plus rapide et plus uniforme.
En général, les températures de cuisson recommendées pour un four ventilé sont plus basses que celles pour un four conventionnel.
Grilles de four

Le protège-grille doit être à l'arrière, et pointer vers le haut.
Outre les grilles plates, certains modèles sont fournis avec une grille surbaissée. La grille surbaissée augmente les possibités d'espacement entre les grilles de four.
Grille plate

Grille surbaissée

Les grilles de four s'inserent et s'exraient facilement.
Tirez la grille vers l'avant jusqu'à ce que l'arrière de la grille soit arrêté par les butées d'arrêt laterales du four.

Soulevez la partie avant de la grille pour faire passer l'arrière de la grille sous la butée d'arrêt, puis tirez la grille vers l'avant.

François

Pour remettre la grille en place, mettez la grille à niveau avec une glissière latérale du four, puis insérez la grille à fond jusqu'à ce que les extrémités soient en contact avec la butée d'arrêt de la grille. Soulevez l'avant de la grille pour que les extrémités puissant dépasser les butées, puis abaissez l'avant pourmettre la grille à l'horizontal, avant de l'insérer à fond.
Handyrack
Le Handyrack peut supporter un poids maximum de 5,5 kg. Il ne doit être utilisé qu'avoc le moule à viande fourni, qui est spécialement élevé pour être utilisé avec le Handyrack. Tout autre récipient de cuisson risque d'être instable.

Le Handyrack se monte uniquement sur la porte du four gauche. Il est facile de surveiller les alimententscisant ainsi car vous pouvez y acceder lorsque la porte est ouverte. Vous pouze le monter sur deux positions. Retirez une des grilles et placez l'autre selon les besoins.
Lorsque le Handyrack est utilisé sur sa position supérieure maximum, d'autres plats peuvent être cuits sur une grille placée à la position inférieure du four.
Lorsque le Handyrack est utilisé sur sa position inférieure maximum, d'autres plats peuvent être cuits sur une grille placée à la deuxième position du four.
Pour monter le Handyrack,
placez un côté sur le
support de la porte.


Faites-sortir l'autre cotope pour l'accrocher sur I'autre support.
Eclairage du four

Appuyez sur le bouton approprié pour allumer l'une des lampes de four.
Si l'une des lampes est défectueuse, mettez la cusinière hors tension avant de changer l'ampoule. Pour des informations détaillées sur la façon de changer une ampoule, reportez-vous à la section « Dépannage »
Four Cuisson lente

Le four Cuisson lente de votre cuisine et Excel est prévu pour les alimentés à cuisson lente tels que les plats cuits en cocotte, les rôts, etc.
Réglage du four Cuisson lente
Le bouton de température gradué du panneau de commandes permet une cuisson lente sur plusieurs heures ou toute la journée lorsque vous vous absentez.
Pour une cuisson longue durée, Sélectionnéz l'une des températures les plus basses et pour un temps de cuisson plus court, Sélectionnéz l'un des réglages les plus élevés.

Votre four Cuisson lente permet de proceder à la cuisson d'un repas complet, comme par exemple un plat cuit en cocotte, un gâteau de riz et des pommes de terre en robe des champs, ou de simplement réchauffer les plats (utiliser uniquement des plats résistant à la chaleur).
Points à retenir lors de la cuisson lente :
- Préchauffez le four pendant 20-30 minutes avant de commencer la cuisson.
Veillez à éviter que les plats ne touchent les éléments chauffants situés des deux côts du four. - Les plats cuits en cocotte et les soupes doivent toujours être parvenus à ébullition sur la table de cuisson avant d'être placés dans un plat convenant à une cuisson lente.
Vérifiez qu'il y a suffisamment de liquide dans les plats cuits en cocotte pendant une durée prolongée.
Recouvre les plats cuits en cocotte d'un couvercle ou d'une feuille de papier aluminium durant la cuisson afin d'eviter l'évaporation.
- Avant de préparer les aliments, vérifie que les plats ne sont pas trop grands pour le four.
- Enveloppez les pommes de terre en robe des champs lavées et percées de trough dans du papier aluminium avant de les faire cuire.
- Dans le cas de la viande en général et de la volaille en particulier, voirlez à ce que la température interne de la viande atteigne au minimum 90^ avant de servir cette dernière.
- Avant la cuisson, décongelez toujours complètement les aliments congelés.
Votre four Cuisson lente est également très utile pour réchauffer les assiettes et les plats de service (utiliser uniquement des plats résistant à la chaleur).
Vous pouvez faire cuire un cake dans le four Cuisson lente en utilisant le réglage maximum (si les autres fours sont déjà utilisés, par exemple). Si vous utilisez en même temps le four ventilé situé sous le four Cuisson lente, prévoyez un temps de cuisson un peu plus long.
Vous obtiendrez également des meringues croquantes en les cuisant dans le four Cuisson lente.
Les temps de cuisson dans le four Cuisson lente dépendent de la température, de la quantité et du type de plat cuisine. A titre de guide, le temps de cuisson minimum recommendé pour les plats cuits en cocotte est de 3 heures.
Surveillance attentivement la cuisson en attendant de vous familiariser avec le four.
Nettoyage de la cuisineire
Informations importantes
Avant un nettoyage complet, mettez la cusinière hors tension. N'oubliez pas de la remettre sous tension et de régler l'horloge lorsque le nettoyage est terminé.
N'utilisez jamais de solvants pour peinture, de cristaux de soude, de nettoyants caustiques, de poudres biologiques, d'eau de Javel, de nettoyants chlorés, de produits abrasifs à gros grain ou de sel. Ne mélangez pas plusieurs produits nettoyants, car ils risquent de réagir entre eux et d'avoir des effets nocifs. N'utilisez pas de nettoyeur à vapeur sur votre cuisineire.
Des produits de nettoyage recommendés sont indiqués au « Tableau de nettoyage » à la fin de cette section.
Toutes les parties de la cuisine ne peuvent ettre lavées à l'eau savonneuse chaude, mais veiliez à prévenir toute infiltration d'eau dans l'appareil.
Brûleurs de table de cuisson
Certains modèles ont un anneau de garniture séparé qui se place sur la tête du brûleur.
Les têtes et chapeaux de brûleurs sont démontables pour faciliter le nettoyage. Vérifiez qu'ils sont complètement secs avant de les remettre en place.
Brûleurs mono-élément
A chapeau
B tête
C encoche
D electrode
E socle

Lors de la remise en place de la tête du brûleur, assurez-vous que l'encoche est en face de l'électrode ou du trou sur le socle. Vérifiez que la tête du brûleur est à niveau et que le chapeau est bien centré sur la tête du brûleur.
Brûleur de Wok
Le brûleur de Wok est un peu plus complexe, mais est aussi démontable à des fins de nettoyage.

Brûleur de Wok
A chapeau de brûleur interne, B chapeau de brûleur externe
C tete de bruleur interne D tete de bruleur externe
E socle de bruleur de Wok
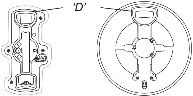
Lors du remontage des éléments du brûleur de Wok, returnez le grand anneau de garniture et repérez la partie en forme de « D ».

Tournez la tête jusqu'à ce que le « D » corresponde à celui situé sur le socle du brûleur. Retournez la tête et placez-la sur le socle du brûleur.
François
Pour monter le petit brûleur interne, trouvez la grande encoche d'électrode sur le bord du brûleur. Alignez-la sur l'électrode d'allumage blanche et placez le brûleur interne sur le grand annexe du socle.

A Encoche d'électrode
B Electrode d/allumage
Montez les deux chapeaux de brûleur, en vérifiant qu'ils sont placés correctement.
Table vitrocéramique
La table de cuisson se nettoie très facilement avec un produit recommandé.
ATTENTION : N'utilisez pas de produits nettoyants ou tampons de nettoyage abrasifs, arosols, tampons de nettoyage pour four ou détachants sur la table de cuisson.
Entretien quotidien
Tout d'abord, assurez-vous que les voyants de chaleur résiduelle sont eteints et que la surface de cuisson est froide. Appliquez une petite quantite (2 cm de diametre environ) de produit nettoyant semi-liquide pour surface vitroceramique au centre de chaque zone à nettoyer. A l'aide de papier essuie-tout propre et humide, etalez le produit nettoyant sur la surface de cuisson, comme pour nettoyer une vitre. Pour finir, essuyez la surface avec du papier essuie-tout propre et sec.
Nettoyage des déversements accidentels
En cas de déversement ou débordement accidentel pendant la cuisson, éteignez la cusinière et essuyez autour de la zone chaude avec du papier essuie-tout propre. Si les alimentés déversés (autres qu'une substance sucrée) se trouvent dans une zone chaude de la table de cuisson, attendez que celle-ci ait entièrement refroidi pour nettoyer et suivez les instructions ci-dessous (« Nettoyage des déversements brûlés »). En cas de fonte accidentelle d'un object ou de déversement d'aliments à force teneur en sucre (confiture, sauce tomate, etc.) sur la table de cuisson, ENLEVEZ IMMEDIATEMENT les alimentés déversés à l'aide d'un racloir à lame pendant que la table est encore chaude. IMPORTANT: Utilisez un gant isolant pour ne pas vous brûler. Raclez le plus gros des alimentés déversés ou de toute matière qui aurait fondu sur la zone de cuisson et poussez-les vers une zone froide. Laissez refroidir la surface en vitrocérément avant de continuer à nettoyer. Lorsque la surface de cuisson est refroidie et que les voyants de chaleur résiduelle sont éteints, suivez la procédure de nettoyage quotidien déscripte plus haut.
Nettoyage des déversements brûlés
Vérifiez que les voyants de chaleur résiduelle sont éteints et que la table de cuisson a refroidi. Retirez toute matière brûlée à l'aide d'un racloir à lame simple.
Tenez le racloir à un angle d'environ 30^ au-dessus de la surface et raclez la matière brûlée comme si vous enleviez la peinture d'une fenêtre.

IMPORTANT: Procedez avec précaution si vous utilisez un racloir coupant.
Lorsque le plus gros a ete enleve à l'aide du racloir, suivez la procedure de nettoyage quotidien decrite plus haut.
Nettoyage des traces métalliques
Le fait de faire glisser des recipients en aluminium ou en cuivre sur la table de cuisson peut marquer la surface. Ces marques ressemblant souvent à des rayures, mais sont facies à éliminer au moyen de la procédure de nettoyage des déversements accidentels décrite plus haut. Dans le cas de marques tenaces, utilisez un produit nettoyant semi-liquide et un racloir à lame, en procédant selon la méthode décrite plus haut.
Gril
Lavez la lèchefrite et la grille à l'eau savonneuse chaude. ÀpRES les grillades de viandes ou d'aliments salissants, faites tremper dans l'évier, pendant quelques minutes, immédiatement après la cuisson. Les taches tenaces sur la grille peuvent être enlevées à l'aide d'une brosse en nylon. La lèchefrite peut aussi être lavée au lave-vaisselle.
Pourrirerle supportde la lèchefrite,tirezla lèchefritevers l'avant.

Soulevez la l'échefrite du support. Le support est maintainu sur les glissières laterales par deux clips de chaque côté.

Pour chaque côté, soutenez la glissière latérale d'une main et, de l'autre, soulevez le support pour le dégager des clips lateraux.
Tableau Nettoyage
Table de cuisson
| Composant | Finition | Méthode de nettoyage recommmandée |
| Surface de la table de cuisson | Email ou acier inoxydable | Eau chaude savonneuse, chiffon doux. FrottezDoucement avec un tampon à récurer en nylon pour éliminer les taches tenaces. |
| Grilles de table de cuisson, et support spécial Wok (selon les modèles) | Fonte à revêtement émaillé | Produit nettoyant semi-liquide Cif (Faberge Lever) et un tampon à récurer en nylon.Lave-vaisselle. |
| Chapeaux de brûleurs | Produit nettoyant semi-liquide, tampon à récurer en nylon. Lave-vaisselle. | |
| Anneaux de garniture (selon les modèles) et têtes de brûleurs | Aluminium | Cif ou autre produit nettoyant semi-liquide avec un chiffon doux. Ne frottez pas trop fort. |
| Plaque à griller (selon les modèles) | Surface antiadhésive | Laissez refroidir. Lavez à l'eau savonneuse chaude. N'utilise pas de produits nettoyants/tampons abrasifs. Lave-vaisselle. |
Table vitrocéramique
| Composant | Finition | Méthode de nettoyage recommandée |
| Table vitrocéramique | Vitrocéramique | Enlevez tout résidu alimentaire brûlé à l'aide d'un racloir pour table vitrocéramique. Nettoyez avec un produit nettoyant semi-liquide pour vitrocéramique et lustrez avec un chiffon doux. N'utilise pas de produits nettoyants pour vitrocéramique sur le pourtour de la table. Nettoyez le pourtour de la table uniquement avec de l'eau savonneuse chaude et un chiffon doux. |
Extérieur de la cuisineire
| Composant | Finition | Méthode de nettoyage recommmandée |
| Porte, pourtour de portet et extérieur du tiroir derangement | Email ou peinture | Eau savonneuse chaude, chiffon doux.Frottez doucement les tâches tenaces avec un détergent liquide. |
| Acier inoxydable | « Swiss Cleaner » de Kuhn Rikon | |
| Côtés et plinthe | Surface peinte | Eau savonneuse chaude, chiffon doux. |
| Dosseret/Grille arrrière | Email ou acier inoxydable | Eau savonneuse chaude, chiffon doux. Nettoyez soigneusement avec un produit nettoyant semi-liquide, si nécessaire. |
| Panneau de commande | Peinture, émail ou acier inoxydable | Eau tiège savonneuse. Ne pas utiliser de produits nettoyants abrasifs sur les caractères. |
| Boutons de commande/ Poignées | Plastique/Chrome | Eau tiège savonneuse, chiffon doux. |
| Vitre de portedour/ Couvercle en verre | Verre trempé | Eau savonneuse chaude, produit nettoyant semi-liquide, si nécessaire. |
Fours
| Composant | Finition | Méthode de nettoyage recommandée |
| Côtés, sole et voute du four - PAS LES PANNEAUX AUTONETTOYANTS DE FOUR (Voir ci-dessous) | Tout produit nettoyant pour four utilisable avec l'émail. ATTENTION : PRODUITS NETTYANTS CORROSIFS/CAUSTIQUES POUR FOUR - SUIVEZ LES INSTRUCTIONS DU FABRICANT. Evitez tout contact avec les éléments du four. | |
| Panneaux autonettoyants de four (selon les modèles) | Email spécifique partiellement autonettoyant | Cette surface est autonettoyante à 200°C et plus; vous pouvez aussi retarder les panneaux et les nettoyer avec de l'eau savonneuse chaude et une Brosse en nylon. (Voir la section «Fours » dans « Nettoyage de la cusinière »). |
| Grilles de four, Handyrack, Grille de grill | Chrome | Tout produit nettoyant pour four utilisable avec le chrome. Tampon récureur savonneux. Lave-vaiselle. |
| Lèchefrite/Moule à viande | Eau savonneuse chaude. Tampon récureur savonneux. Lave-vaiselle. |
Pour les surfaces émailées, utilisez un produit nettoyant recommende pour l'email vitrifé.
Un nettoyage régulier est recommandé. Pour faciliter le nettoyage, essuyez les taches immédiatement.
Pour éviter les projections grasses dans le four, recouvre les rôts de papier aluminium ou utilisez un sac de cuisson. Enduisez les légumes de matière grasse avant de les placer autour de la viande.
François

Par sécurité, repoussez les glissières laterales dans l'enceinte du grill.
Pour faciliter le nettoyage de l'enceinte du gril, vous pouze retarder les glissières laterales en les décrochant des côtés de l'enceinte. Vous pouze nettoyer les glissières en les essuyant avec un chiffonouple imbibé de détergent doux.

N'utilizez pas de produit abrasif.
NE LAVEZ PAS les glissières latérales au lave-vaissette.
Après le nettoyage, raccrochez les glissières laterales sur les côtés de l'enceinte du gril. Pour remonter le support, tirez les glissières laterales vers l'avant, et, pour chaque côté, soutenez la glissière et appuyez sur le support pour le réinsérer dans les glissières. Replacez la l'échéfrite.
Panneau de commande et portes des fours
N'utilisez pas de produits nettoyants abrasifs, y compris des produits nettoyants semi-liquides (Cif, par exemple) sur les surfaces en acier inoxydable brossé. Les meilleurs résultats s'obtiennent avec des détergents liquides.
Le panneau et les boutons de commande doivent être nettoyés uniquement avec un chiffon doux imbibé d'eau savonneuse chaude. Essuyez avec un chiffon humide propre, puis lustrez à l'aide d'un chiffon sec. Les portes des jours doivent être nettoyées uniquement avec un chiffon doux imbibé d'eau savonneuse chaude.
Fours principaux
Les jours sont dotés de panneaux amovibles à revêtement émailé qui sont partiellement autonettoyants. Ceci n'empêche pas complètement la formation de taches sur le revêtement, mais réduit le nettoyage manuel nécessaire.
Le nettoyage automatique des panneaux est plus efficace à une température supérieure à 200^ . Si, en général, vous utilisez le four à des températures inférieures, retirez occasionallyment les panneaux et essuyez-les avec un chiffon non pelucheux imbibé d'eau savonneuse chaude. Séchez et replacez les panneaux dans le four chauffé à 200^ pendant environ une heures. Ceci assurera un bon fonctionnement des panneaux autonettoyants.
N'utilisez pas de paille de fer ou tout autre matériel susceptible de rayer la surface. N'utilisez pas de tampons de nettoyage pour fours.
Dépose des panneaux internes des fours principaux
Certains panneaux internes de four sont amovibles afin de permettre leur nettoyage et le nettoyage derrière les panneaux. Retirez d'abord les grilles du four.
Les panneaux latéraux des jours peuvent être retireés. Chaque panneau létal est maintainu en place par quatre vis de fixation. Les panneaux peuvent être retireés sans avoir à enlever les vis. Soulevez chaque panneau létal pour le décrocher des vis. Tirez-le ensuite vers l'avant.

Après retrait des panneaux internes, vous pouvez nettoyer l'intérieur émailé du four.
Dépannage
De la vapeur s'échépe du four
Pendant la cuisson d'aliments à haute teneur en eau (frites surgelées, par exemple) un peu de vapeur peut être visible sur la grille arrière. Faites attention en ouvrant la porte du four, une bouffée de vapeur peut s'échapper momentarily à l'ouverture du four. Reculez-vous et attendez que la vapeur se soit dissipée.
Le ventilateur du four est bruyant
Le bruit du ventilateur peut changer pendant le chauffage du four - ceci est tout à fait normal.
Quels sont les produits de nettoyage recommendés pour la cuisine ?
Pour plus d'informations sur les produits de nettoyage recommandés, reportez-vous à la section « Nettoyage ». Certains produits nettoyants contiennent des produits chimiques susceptibles d'abimer les surfaces de la cuisinière.
Le gril ne cuit pas correctement
Utilisez-vous la lèchefrite et la grille fournies avec la cuisinière? Utilisez-vous la lèchefrite sur les glissières et non pas directement sur la surface inférieure de l'enceinte du grill? La lèchefrite est-elle insérée à fond jusqu'à la butée?
Lorsque you tirez la l'echefrite vers l'avant, le bord large est-il à l'avant? Il est important qu'il soit situé à l'avant.

Les boutons de commande deviennent chauds lorsque j'utilise le four ou le grin; comment faire pour empêcher cela?
Ceci est dû à la chaleur provenant du four ou du gril. Ne laissez pas la porte du four ouverte. Lorsque vous utilisez le gril, vérifie que la l'échefrite du gril est insérée à fond jusqu'à la « butée arrrière »
En cas de problème concernant l'installation, si mon installateur d'origine ne peut pas venir résoudre le problème, à qui incombent les frais?
C'est à vous qu'incombent ces frais. Les sociétés d'entretien factureront leurs interventions si elles réparent une installation effectuee par votre installerur d'origine. Il est de votre intérêt de contacter votre installerur d'origine.
Disjoncteurs différentiels
Lorsque l'installation de la cusinière est protégée par un dispositif pour courant résiduel (DCR) d'une sensibilité de 30 milliampères, l'utilisation combinée de votre cusinière et d'autres apparèls domestiques peut occasionnellement cause des disjonctionsfortuites. Dans ce cas, il est utile de protéger le circuit de la cusinière avec un dispositif de 100mA . Cette intervention doit être effectué par un électricien qualifié.
Panne de courant
En cas de panne de courant, les brûleurs de la table de cuisson peuvent être allumés avec une allumette.
Les alimentés cièsent trop lentement, trop rapidement, ou brûlent
Les temps de cuisson peuvent être différents de ceux de votre ancien four. Essayez une cuisson à une autre température.
La cuisson au four n'est pas uniforme
N'utilisez pas de plat ou de plaque de cuisson de dimensions supérieures à 340 mm x 340 mm.
Dans le cas de la cuisson d'un grand plat, vous devrez peut-être le tourner pendant la cuisson.
Si vous utilisez deux grilles, vérifie qu'il y a assez de place pour permettre à la chaleurur de circuler. Lorsque vous insérez une plaque de cuisson dans le four, veillez à la placer au centre de la grille.
Vérifiez que le joint d'étanchéité de la porte n'est pas endommagé et que le loquet de porte est régle de façon à ce que la porte soit bien appuyée contre le joint.
Un réseau d'eau place sur la grille doit avoir une profondeur uniforme. (S'il est plus profond à l'arrière, par exemple, l'arrête de la cusinière doit être levé ou l'avant de la cusinière abaisse). Si la cusinière n'est pas à niveau, demandez à votre fournisseur de la dette à niveau.
Le four Multifonctions gauche ne s'allume pas lorsqu'il est actionné manuellement.
L'appareil est-il sous tension? L'horloge est-elle éclairée?
Si ce n'est pas le cas, l'alimentation électrique est peut-être défectueuse. Le sectionneur de l'alimentation électrique de la cuisine est-il sur la position Marche?
L'heure a-t-elle ete reglee?
Avez-vous sélectionné une fonction pour la cuisson ?
Le symbole clé (l) s'affiche-t-il? Reportez-vous à la section Horloge des générantes instructions pour un complément d'informations sur la fonction de verrouillage de l'horloge.
Le four Multifonctions gauche ne s'allume pas lorsqu'il est actionné automatiquement.
La minuterie est reglee correctement, mais le bouton du four a-itil ete laissé par erreur sur ARRET [OFF] ?
Le symbole clé (l) s'affiche-t-il? Reportez-vous à la section Horloge des générantes instructions pour un complément d'informations sur la fonction de verrouillage de l'horloge.
Avez-vous sélectionné une fonction pour la cuisson ?
Avec le temps, la température du four de la cusinière devient plus chaude
Si le fait demettre le bouton de réglage sur une température inférieure n'a pas eu d'effet ou a eu un effet-temporaire, vous devrez peut-être remplancer le thermostat. Cette intervention doit être effectuee par un spécialiste de l'entretien.
L'éclairage du four ne fonctionne pas
L'ampoule a probablement grillé. Vous pouvez acheter une ampoule de rechange (non couverte par la garantie) dans un magasin d'accessoires électriques.
Demandez une ampoule à culot vissable Edison 15 W 240 V, POUR FOURS. Cette ampoule doit pouvoir résister à une température de 300^ .

Mettez l'appareil hors tension.
Assurez-vous que le four a refroidi. Ouvrez la porte du four et retirez les grilles du four.
Dévissez le couvercle de l'ampoule en tournant en sens anti-horaire. Il peut être très difficile à dévisser.


Dévissez l'ampoule avec précaution, pour ne pas risquer de vous bleisser.
Vissez l'ampoule de rechange, puis revissez le couvercle de l'ampoule. Remettez l'appareil sous tension et vérifie que l'ampoule fonctionne.
Défaillance de l'allumage ou des brûleurs de la table de cuisson
L'appareil est-il sous tension? L'horloge est-elle éclairée?
Si ce n'est pas le cas, l'alimentation électrique est peut-être défectueuse.
Les encoches du générateur d'étincelles (électrode d'allumage) ou du brûleur sont-elles obstruées par des débris ?
L'anneau de garniture du brûleur est-il placé correctement ?
Les chapeaux des brûleurs sont-ils placés correctement?
Voir la section «Nettoyage de la cusinière»
Les brûleurs de la table de cuisson ne s'allument pas
Assurez-vous que les éléments du brûleur ont été replacés correctement après avoir été essuyés ou retirees pour nettoyage. Vérifiez que l'alimentation en gaz n'est pas défectueuse. Pour ce
François
faire, vérifie le fonctionnement de vos autres apparèls à gaz. Les brûleurs produits-ils une étincelle lorsque vous appuyez sur le bouton? Si ce n'est pas le cas, vérifie que la cuisine est sous tension – l'horloge est-elle éclairée?
Consignes générales de sécurité
Cet apparéil doit être installé par une personne compétente, conformément aux instructions d'installation. L'installation doit être conforme aux réglementations en vigueur, ainsi qu'aux prescriptions de la Compagnie d'électricité locale.
Si vous sentez une odeur de gaz :
N'actionnez aucun interrupteur électrique, ni pour allumer, ni pour éteindre
Ne fumez pas
N'utilisez pas de flammes hues
Coupez le gaz au compteur ou au niveau de la bouteille de gaz
Ouvrez portes et fenêtres pour évacuer le gaz Appelez votre fournisseur de gaz.
Cette cuisinière est donc uniquement pour un usage domestique. Toute autre utilisation n'engage ni la responsabilité, ni la garantie du fabricant.
L'utilisation d'un apparéil de cuisson à gaz produit de la chaleur et de l'humidité dans la pièce contenant l' apparéil. Veillez à ce que la cuisine soit bien ventilée : laissez les ouvertures de ventilation naturelle ouvertes ou installez un dispositif de ventilation mécanique, (hotte d'extraction mécanique).
Une utilisation intensive prolongée de l'appareil peut nécessiter une ventilation supplémentaire (ouverture d'une fenêtre, par exemple) ou une ventilation plus efficace (augmentation de la puissance du dispositif d'extraction mécanique, par exemple).
La cusinière doit faire l'objet d'un entretien effectué par un technicien d'entretien qualifié, lequel doit utiliser uniquement des pieces de rechange approuvées. Demandez à l'installateur de vous indiquer l'emplacement du commutateur de commande de la cusinière. Notez cet emplacement à des fins de référence. Laissez toujours la cusinière refroidir et mettez-la hors tension avant de la nettoyer ou d'effectuer une intervention d'entretien, sauf indication contraire dans les générées instructions.
Toutes les parties de la cusinière deviennent chaudes lorsque l'appareil est en marche et resteront chaudes même lorsque la cuisson est terminée.
Prénez garde lorsqu vous touche la cusinière; pour limiter les risques de brûlure, vérifie toujours que les commandes sont sur ARRET (OFF) et que la cusinière a refroidi avant de la nettoyer.
Au besoin, utilisez des gants de cuisine secs - l'emploi de gants humides risque de causeur des brûlures dues à la vapeur lors du contact avec une surface chaude. Ne faites jamais fonctionner la cusinière avec les mains mouillées.
N'utilise pas de torchon ou autre chiffon épais à la place d'un gant de cuisine. Ils risquent de s'enflammer au contact d'une surface chaude.
Nettoyez avec précaution. Si vous utilisez une éponge ou un chiffon humide pour essuyer des taches sur une surface chaude, prenez garde aux brûlures par la vapeur. Certains
produits nettoyants peuvent produit des vapeurs nocives au contact d'une surface chaude.
N'utilise pas des cassetoles instables et tournez les manches vers l'intérieur de la table de cuisson.
Ne laïsez jamais les bébés, les tout-petits et les jeunes enfants s'approcher de la cusinière. Ne les laïsez jamais s'asseoir ni monter sur une partie de la cusinière. Apprenez-leur à ne pas jouer avec les commandes ou avec une partie quelconque de la cusinière.
Ne rangez jamais dans des placards au-dessus d'une cusinière qui que ce soit susceptible d'attirer l'attention des enfants - des enfants grimpant sur une cusinière pour atteindre des objets risquent de se blesser gravement.
Nettoyez uniquement les composants indiqués dans les générées instructions.
Pour des raisons d'hygiene et de sécurité, la cusinière doit toujours être propre, afin de prévenir le risque d'incendie causé par l'accumulation de graisse et autres particules alimentaires.
Veillez à ce que les revêtements muraux inflammables, rideaux, etc. soient toujours suffisamment éloignés de la cusinière.
N'utilise pas d'áerosols à proximé de la cuisinière lorsque celle-ci est en marche.
N'entreposez pas de matérieliaux combustibles ou de liquides inflammables à proximé de la cusinière.
N'utilissez pas d'eau pour eteindre les incendies dus à la graisse. Ne soulevez jamais un reipient de cuisson qui a pris feu. Eteignez la cusinière. Etouffez un reipient qui a pris feu sur une table de cuisson, en le recouvrant complètement avec un couvercle de taille appropriée ou une plaque de cuisson. Si possible, utilisez un extincteur à poudre chimique ou à mousse de type polyvalent.
Ne laissiez jamais la cusinière en marche sans surveillance si les brûleurs de la table de cuisson sont régles sur haute température. Le débordement des recipients peut produit de la fumée et des taches de gras qui risquent de s'enflammer.
Ne portez pas de vêtements amples ou flottants lorsqu vous utilisez la cuisineière. Prenez garde lorsque vous essayez d'atteindre des objets dans des placards situés au-dessus de la table de cuisson. De s matériaux inflammables risquent de s'enflammer au contact d'une surface chaude et de provoquer des brûlures graves.
Faites très attention lors du chauffage des graisses et des huiles car celles-ci risquent de s'enflammer en cas de surchauffe.
Si possible, utilisez un thermomètre à bain de friture pour prévenir une surchauffe de l'huile au-delà du point de fumée.
Ne laissez jamais une friteuse sans surveillance. Faites toujours chauffer l'huile lentement, en la surveillant. Les friteuses ne doivent être remplies qu'à un tiers de leur capacité. Une friteuse trop pleine peut déborder lorsqu'on y plonge des alimentents. Si vous utilisez un mélange d'huile et de graisse pour la friture, mélangez-les avant de chauffer, ou pendant la fonte des graisses.
Les alimentés à frire doivent être le plus sec possible. La présence de cristaux de glace sur des alimentés congelés ou d'humidité sur des alimentés frais peut provoquer une ébullition et un débordement de l'huile. Surveillance attentivement pour prévenir les débordements et la surchauffe pendant la friture à haute ou moyenne température. N'essayez jamais de déplacer un réseau de cuisson contenant de l'huile chaude, en particulier une friteuse. Attendez que l'huile ait refroidi.
Lorsque le grill est en marche, ne vous servez pas de la grille d'évacuation (la grille le long de la partie arrrière de la cuisine) pour réchauffer des assiettes ou des plats, sécher des torchons ou ramollir du beurre.
Si vous utilisez un apparéil électrique à proximité de la table de cuisson, veillez à ce que le cordon de l' apparéil n'entre pas en contact avec la table de cuisson.
Veillez à prévenir toute infiltration d'eau dans la cusinière.
Seuls certains types de bénépents en verre, vitrocéramique, terre cuite ou autres bénépents émailles peuvent être utilisés sur la table de cuisson; les autres risquent de se briser en raison du changement soudain de température.
N'autorisez personne à grimper, se tenirABOUT ou s'accrocher sur ou à une partie de la ciusinière.
Pour ne pas endommager le revêtement émailé interieur, ne placez pas de moulés à viande ou de plaques de cuisson sur la partie inférieure du four et ne recouvre pas la sole du four de papier aluminium. Ne recouvre pas les grilles, les panneaux internes ou la voûte du four de papier aluminium.
Veillez à ce que la cuisine soit bien ventilée en permanence. Utilisez des extracteurs ou des hottes aspirantes dans la mesure du possible.
Ne chauffez jamais des recipients alimentaires qui n'ont pas ete ouverts. La pression accumulée a l'intérieur du recipient peut le faire eclater et blesser l'utilisateur.
La cuisine est conçue uniquement pour la curisson domestique et ne doit pas être utilisée à d'autres fins.
N'UTILISEZ PAS le four pour chauffer la cuisine; non seulement c'est un gaspillage l'énergie, mais il peut y avoir surchauffe des boutons de commande.
Lorsque le four est en marche, NE LAISSEZ PAS la porte du four ouverte plus longtemps que nécessaire.
Les caractéristiques techniques de cette cuisine ne doivent pas été modifiées.
Cet apparéil est lourd; prenez garde lorsqu vous le déplacez.
Lorsque la cusinière n'est pas utilisé, vérifie que les boutons de commande sont sur la position Arrêt (Off).
Entretien et pieces de rechange
Veuillez replir la fiche technique ci-dessous et la conserver à des fins de référence ultérieure – cette information nous permettra d'identifier exactement votre cuisinière et de mistrésions à vos besoin. Cette fiche vous fera gagner du temps et vous sera très utile plus tard en cas de problème concernant votre cuisinière. Nous vous conseillons également de conserver votre facture d'achat avec la présente brochure. Vous devrez peut-êtreprésenter cette facture pour valider une visite sur place dans le cadre de la garantie.
| Type de combustible : Mixte |
| Nom de l'appareil : Falcon Classic Deluxe 110 |
| Couleur de l'appareil* |
| Numéro de série de l'appareil* : |
| Nom et adresse du détaillant : |
| Date d'achat : |
| Nom et adresse de l'installateur : |
| Date d'installation : |
- Cette information figure sur le badge technique de l'appareil.
En cas de problème
Dans le cas où vous auriez un problème avec votre cuisine, veuillez d'abord tire la suite de la presente brochure, en particulier la section de dépannage, pour vérifier que l'appareil est utilisé correctement.
Si le problème persiste, contactez votre fournisseur.
Remarque
Si vous appeareil n'est plus couvert par la garantie, notre fournisseur de services d'entretien peut vous facturer cette visite.
Si vous devez faire appel à un technicien d'entretien et si le défaut n'est pas la responsabilité du fabricant, notre fournisseur de services d'entretien se réserves le droit de facturer son intervention.
Les rendez-vous non respectés par le client peuvent être facturés.
Après la période de garantie
Nous recommendons un entretien périodique de nos apparéils pendant toute leur vie utile afin de garantir des performances et une efficacité optimes.
Les travaux d'entretien doivent être effectuels uniquement par des personnes techniquement compétentes et qualifiées.
Pèces de rechange
Pour garantir une performance optimale et sure, nous recommendons l'utilisation exclusive de pieces d'origine. N'utilise pas de commandes de gaz remises à neuf ou non autorisées. Contactez votre fournisseur.
Français Installation
Cette cusinière est consque uniquement pour un usage domestique. Toute autre utilisation n'engage ni la responsabilité, ni la garantie du fabricant.
Avant l'installation, vérifie que la cuisinière convient au type de gaz et à la tension d'alimentation électrique. Reportez-vous au badge technique de la cuisinière.
Vérifiez le type de gaz prévu pour votre cuisinière sur le badge technique.
Modification
Cet apparéil est de catégorie : -
G 20 20 millibars
CAT II2E3+
Un kit de modification permettant l'utilisation d'autres gaz est fourni avec la cusinière. Si la cusinière doit être modifiée pour fonctionner avec un autre gaz, nous recommendons d'effectuer cette modification avant l'installation. Reportez-vous aux Instructions de modification fournies avec le kit de modification. Àpres modification de l'appareil, veuillez apposer l'étiquette de modification sur la partie appropriée du badge technique, pour permettre d'identifier le type de gaz utilisé pour l'installation de la cusinière.
Mesures/Règlements de sécurité
Cet apparéil doit être installé par une personne compétente. L'installation doit être conforme aux réglementsations en vigueur, ainsi qu'aux prescriptions de la compagnie d'électricité locale. Lizez les instructions avant d'installer ou d'utiliser cet apparéil.
Dans votre intérêt et par souci de sécurité, légalement, tous les apparêils à gaz doivent être installés par des personnes compétentes. Une installation incorrecte n'engage ni la responsabilité, ni la garantie du fabricant, et peut donner lieu à des poursuites.
Avant l'installation, vérifie que la cuisinière convient au type de gaz et à la tension d'alimentation électrique. Reportez-vous au badge technique.
Installes la cusinière dans un endroit bien ventilé.
Ventilation
Cet apparéil n'est pas raccordé à un dispositif d'évacuation des produits de combustion. Il doit être installé et raccordé conformément à la réglementation en vigueur concernant l'installation. Prétez particulièrement attention à la réglementation en vigueur concernant la ventilation.
Respectez la réglementation locale sur la ventilation, mais au minimum :
Toutes les pieces nécessitent une fenêtre ouvrable ou un dispositif équivalent, et certaines pieces nécessitent une mise à l'air libre permanente en plus de la fenêtre ouvrable. La cusinière ne doit pas être installée dans une chambre-salon de volume inférieur à 20 m3. En cas d'installation dans une piece de volume inférieur à 5 m3, une mise à l'air libre de surface utile de 100 cm2 est nécessaire; en cas d'installation dans une piece de volume entre 5 m3 et 10 m3, une mise à l'air libre de surface utile de 50 cm2 est nécessaire; si le volume est supérieur à 11 m3, aucune mise à l'air permanente n'est nécessaire. Cependant, si la piece a une porte ouvrant directement sur l'extérieur, aucune mise à l'air libre permanente n'est nécessaire, même pour une piece entre 5 m3 et 10 m3. Si la piece contient d'autres apparueils
à combustible, une ventilation supplémentaire peut être nécessaire.
Emplacement de la cuisineire
La cuisine ne peut etre installee dans une cuisine/un salon-cuisine, mais PAS dans une piece contenant une baignoire ou une douche.
REMARQUE:
Un apparéil utilisable avec du gaz de pétrole liquifié (GPL) ne doit pas être installé dans une piece ou un espace interieur souterrain, par exemple dans un sous-sol.
Positionnement de la cusinière
Les schémas indiquent les cotes minimales recommendées entre la cusinière et les surfaces adjacentes.
Ne placez pas la cuisineire sur un support.

Le pourtour de la table de cuisson doit être au niveau ou au-dessus de tout plan de travail adjacent. Au-dessus du niveau de la table de cuisson, laissez un espace de 75 mm entre chaque côté de la cusinière et toute surface verticale adjacente.
Pour les surfaces non combustibles (telles que le métal non peint ou les carrelages), cette cote peut être de 25 mm.
Laissez un espace de 650 mm au minimum entre la partie supérieure de la table de cuisson et une surface horizontally combustible.

- Toute hotte de cusinière doit être installée conformément aux instructions du fabricant de hotte.
Les surfaces des meubles et des murs de chaque côté et à l'arrête de l'appareil doivent être résistantes à la chaleur, aux éclaboussures et à la vapeur. Certains types de meubles de cuisine en vinyle ou en stratifié sont particulièrement susceptibles aux risques de dommages thermiques et de décoloration. Nous déclinons toute responsabilité pour des dommages résultat d'une'utilisation normale de la cusinière et subis par des matériaux qui se décollent ou se décolorent à
des températures de moins de 65^ au-dessus de la température ambiente.
Par mesure de sécurité, ne placez pas de rideaux directement derrière la cuisineire.
Nous recommendons de laisser un espace de 1 110 mm entre les unités pour permettre le déplacement de la cusinière. La cusinière ne doit pas être encastrée. Elle doit pouvoir être déplacée vers l'avant et vers l'arrière pour le nettoyage et l'entretien.
Si la cusinière est pres d'un coin de la cuisine, un dégagement de 130mm est nécessaire pour permettre l'ouverture des portes du four. La cote d'ouverture des portes est légèrement inférieure à ce dégagement, mais ceci inclut une marge de sécurité pour la protection des mains lors de l'ouverture de la porte.

Déballage de la cusinière
N'enlevez:aucun emballage de la cusinière tant que cette-ci n'est pas directement en face de l'emplacement ou elle sera installee (sauf si, dans son emballage externe, la cusinière ne peut pas passer par une porte).
Coupez les courroies d'emballage et otez le carton recouvrant la cuisinière, mais laissez la cuisinière sur le plateau d'emballage. Reportez-vous à la feuille d'instructions de déballage fournie.
Déplacement de la cuisineire
La cuisine est très lourde. Faites très attention.
Nous recommendons de faire appel à deux personnes pour déplacer la cusinière. Assurez-vous que le revêtement du sol est solidement fixé en place ou retirez-le afin de ne pas l'abimer en déplaçant la cusinière. Vous devrez utiliser l'outil de mise à niveau.
Depuis l'arrière, inclinez la cuisine et vers l'avant et retirez la partie arrête du socle d'emballage en polystyrene.
Répétez cette procédure à l'avant et retirez la partie avant du socle.


Localisez les 3 écrous de réglage à la partie inférieure avant de la cusinière. Ces écrous permettent d'abaisser les galets.

L'écrou central commande le galet avant central, les deux autres écrous commandent les galets arrêté.

Placez l'util de mise à niveau sur chaque écrou de réglage et abaissez les galets en donnant 10 tours complets (360°) en sens horsaire. (Tournez et retirez l'util de mise à niveau 20 fois).

Veillez abaisser les trois galets.
Dépliez le bord arrrière du plateau d'emballage.
Ouvrez les portes du grill et du four Cuisson lente. Placez les mains sous le bord inférieur du panneau de la table de cuisson, soulevez légèrement l'avant de la cusinière, puis faites rouler la cusinière sur les galets.
Dépliez le bord arrêté du plateau d'emballage. Inclinez la cuisinière vers l'avant avec précaution pour la dégager de son socle d'emballage. Poussez la cuisinière après de sa position finale, en laissant juste assez de place pour pouvoir avoir accès à l'arrête.
François

Veiliez à ne pas exercer de force de torsion lorsque vous insérez la cusinière entre les éléments de cuisine, pour ne pas l'endommager ou endommager les éléments.
Modification en vue de l'utilisation d'un autre gaz
A ce stade, vous devez effectuer la modification nécessaire si vous souhaitez utiliser la cusinière avec un autre type de gaz. Reportez-vous aux instructions fournies avec le kit de modification.
Mise à niveau
Nous vous recommendons d'utiliser un niveau à bulle placé sur une des grilles de four pour vérifier le niveau.
Placez la cusinière à l'emplacement prévu pour son installation, en veillant à ne pas exercer de force de torsion lorsque vous l'insérez entre les éléments de cuisine, pour ne pas l'endommager ou endommager les éléments.
Les galets réglables permettent la mise à niveau de la cusinière. Pour régler la hauteur de l'arrière de la cusinière, utilisez l'outil de mise à niveau fourni pour tourner les écrous de réglage à la partie inférieure avant de l'appareil.
Réglez la hauteur du galet avant pourmettre la cusinière à niveau. Tournez en sens horaire pour lever la cusinière et en sens anti-horaire pour l'abaisser.
Lorsque la hauteur et le niveau sont corrects, levez l'avant de la cusinière d'un tour du dispositif de réglage du galet avant. Dévissez les supports avant jusqu'à ce qu'ils touchent le sol. Vissez le dispositif de réglage du galet avant en sens anti-horaire pour remonter le galet avant, de sorte que l'avant de la cusinière repose sur les supports, et non pas sur le galet avant, afin de prévenir tout mouvement accidentel de la cusinière.
Montage du dosseret (option)
Déposez les deux vis de fixation (vis à pans creux hexagonales 3 mm) et les écrous qui traversent la partie supérieure de la grille arrrière. Maintenez le dosseret en place. De l'arrête, replacez les 2 vis et les écrous.
Raccordement de gaz
Dispositif stabilisateur
Un dispositif stabilisateur doit être monté sur la cusinière si celle-ci est alimentée en gaz par un tuyau flexible. Tout dispositif stabilisateur doit être attaché à la structure de la pièce et doit pouvoir être défait pour permettre le déplacement de la cusinière à des fins de nettoyage ou d'entretien.
Tuyau flexible de gaz
Un robinet d'isolement de gaz doit être monté entre l'alimentation en gaz et le tuyau flexible de raccordement. Le tuyau flexible (non fourni avec la cusinière) doit être conforme aux normes en vigueur. En cas de doute, contactez votre fournisseur.
Il n'y a que 50 mm d'écart entre les boîtiers arrêté de la cusinière et le mur arrêté lorsque la cusinière est en place.
Le raccord d'admission de la cuisine est de type interne ISO 7-1. Si le raccordement doit etre de type ISO 228-1,utilisez le raccord d'adaptation ISO 7-1-ISO 228-1 fourni dans le kit de modification. Appliquez un produit d'etanchete pour filtage approprié à l'extrémité ISO 7-1.

Vissez le raccord dans l'admission de la cusinière et serrez manuellement. A l'aide de deux outils appropriés, l'un placé au niveau de l'admission située sur la cusinière, pour assurer sa stabilité, et l'autre sur le raccord, vissez le raccord dans l'admission.
Couple minimum 15 Nm. Couple maximum 20Nm. Raccordement du tuyau flexible au connecteur.
Le tuyau doit être monté de sorte que les racçords d'entrée et de sortie soient verticaux pour que le tuyau pende en forme de « U » Il est difficile de donner des cotes précises, étant donné que la hauteur de la cusinière est régable et que chaque raccordement est différent. Idealement, le raccord d'alimentation domestique doit être dans la partie ombrée indiquée sur le schéma représentant l'arrière de l'appareil (« B » sur le schéma). Sinon, effectuez un raccordement latéral.

vua arriere
A admission de gaz de l'appareil
B position du raccord d'alimentation en gaz, sinon, effectuez un raccordement latéral.
C boitier electrique
Lorsque le raccordement est terminé, effectuez un essai de pression pour contrôle l'étanchéité de la cusinière. Lors du contrôle de l'étanchéité, n'utilise pas de liquide détergent pour vaisselle, qui risque d'endommager le matériel. Utilisez un produit conçu spécifique pour la détction des fuites.
ATTENTION : N'UTILISEZ PAS DE FLAMME POUR DETECTOR LES FUIITES DE GAZ.
Essai de pression
Raccordez la cuisine à l'alimentation en gaz. Contrôlez l'étanchéité de l'appareil.
La pression de gaz peut être mesurée au niveau d'un des giclleurs des brûleurs de la table de cuisson centrale. Retirez la tête d'un des brûleurs. Montez le manomètre sur le gicleur. Allumez le brûleur de la table de cuisson et allumez un des autres brûleurs.
Après avoir vérifié la pression, fermez les robinets et replacez la tête du brûleur.
Replacez le chapeau du bruleur, en veillant à le remonter correctement sur le corps du bruleur.
Raccordement électrique
Cette cusinière doit être installée par un électricien qualifié, conformément à la réglementation en vigueur et aux prescriptions de la compétie d'électricité locale.
MISE EN GARDE : CET APPAREIL DOIT ETRE MIS A LA TERRE
Remarque
La cusinière doit être raccordée à l'alimentation électrique correcte, indiquée sur l'étiquette de tension sur l'appareil, par le biais d'une unité de commande de cusinière appropriée à interrupteur bipolaire (avec une séparation de contact de 3 mm au minimum entre les pôles). Cette cusinière ne doit pas être raccordée à une prise d'alimentation domestique ordinaire.
La charge électrique totale de cet apparéil est de 11,8 kW à 230 V CA.
Il doit être raccordé à une alimentation électrique monophasée ou multiphasée permettant une intensité maximale d'au moins 51 Ampères. (Sauf si les réglementations locales permettent de réduire cette charge par l'application de facteurs de diversité).
Alimentations triphasées
En raison des charges de phase, l'appareil ne doit pas etreraccordé à une alimentation triphasée plus neutre (3N) 16 A maximum par phase.
Pour les raccordements multiphasés, l'appareil doit être raccordé uniquement à une alimentation triphasée plus neutre (3N) avec une capacité d'alimentation de 25 A par phase.
Le câblage doit permettre les charges maximales approximatives suivantes sur chaque phase : -
| Phase 1 | 20 Ampères |
| Phase 2 | 16 Ampères |
| Phase 3 | 15 Ampères |

230VAC 50Hz

3N ac
230/400V 50Hz 人


Pour acceder au bornier d'alimentation secteur, retirez le couvercle du boitier électrique sur le panneau arrêté. Lors de la préparation des cables d'alimentation électrique, assurez-vous que le fil de terre est plus long que les fils de phase ou de neutre. Le fil de terre doit être assez long pour ne pas subir de contraintes.
Raccordez les cables d'alimentation secteur aux bornes correctes pour votre type d'alimentation électrique (voir fig.). Vérifiez que les connecteurs sont montés correctement et que les vis des bornes sont bien serrées. Fixez le cable d'alimentation secteur à l'aide du serre-câble.
Ces apparèils sont de type X pour ce qui est de la protection contre la surchauffe des surfaces adjacentes.
Disjoncteurs différentiels
Lorsque l'installation de la cusinière est protégée par un dispositif pour courant résiduel (DCR) d'une sensibilité de 30 milliampères, l'utilisation combinée de votre cusinière et d'autres apparèls domestiques peut occasionnellement cause des disjonctionsfortuites. Dans ce cas, il est utile de protégér le circuit de la cusinière avec un dispositif de 100mA . Cette intervention doit être effectué par un électricien qualifié.
Table de cuisson
Contrôlez le fonctionnement de chaque brûleur. Un dispositif de sécurité coupe l'alimentation en gaz du brûleur en cas d'extinction de la flamme et un dispositif d'allumage est activé lorsqu'on appuie sur le bouton de commande. Pour chaque brûleur, mettez le bouton de commande sur le symbole grande flamme. Appuyez sur le bouton de commande pour activer l'alimentation en gaz du brûleur. Le gaz doit s'éclairer. Continuez d'appuyer sur le bouton de commande pendant 10 secondes environ.
Si le brûleur s'éteint lorsque vous relâchez le bouton de commande, le dispositif de sécurité n'a pas été enclenché.
Attendez une minute, puis essayez de nouveau en appuyant un peu plus longtemps sur le bouton de commande.
Contrôle des jours
L'horloge doit être réglée sur l'heure actuelle pour que le four Multifonctions gauche puisse fonctionner.
Pour le réglage de l'horloge, voir la section « Horloge »
Allumez les jours. Vérifiez que le ventilateur du four ventilé se met en marche et que le four commence àCHAuffer. Eteignez les jours.
Montage de la plinthe
Montez la plinthe interieure à l'avant inférieur de la cuisine à l'aide des cinq vis fournies.

Montez la plinthe extérieure (une vis à chaque extrémité) sur la plinthe interieure. Une encoche permet d'ajuster la position de la plinthe extérieure, qui peut être déplacée vers le haut ou le bas.
François

A plinthe interieure, B plinthe exterieure, C vis fixant la plinthe exterieure
Conseils à la clientèle
Veuillez indiquer vos coordonnées au début de cette section.
Veuillez indiquer au client comment faire fonctionner la cusinière et lui remetre les générantes instructions.
Merci.
Entretien
AVANT TOUTE INTERVENTION D'ENTRETIEN SUR UN COMPOSANT D'ALIMENTATION EN GAZ. COUPEZ LE GAZ.
Contrôlez l'étanchéité de l'appareil une fois l'intervention d'entretien terminée. Lors du contrôle de l'étanchéité, n'utilise pas de liquide détergent pour vaisse, qui risque d'endommager le matériel. Utilisez un produit conçu spécifique pour la détction des fuites.
N'utilise pas de commandes de gaz remises à neuf ou non autorisées.
Débranche l'alimentation électrique avant toute intervention d'entretien, notamment si vous doivent retarder un des éléments suivants : panneau de commande, panneau lésalé, plaque de cuisson ou tout composant ou boîtier électrique.
Avant de rebrancher l'alimentation électrique, effectuez les contrôtres de sécurité nécessaires.
Remarque - Les références au four gauche et droit s'entendant vu de l'avant.
1 Dépose du panneau de commande
Débranche l'appareil de l'alimentation électrique.
Retirez tous les boutons de commande.
Ouvrez la porte du gril et du four croit et retirez les 4 vis de fixation au-dessous du panneau de commande.
Le panneau de commande devrait s'abaisser légèrement. Il est maintenu sur la partie supérieure par deux trous sur le bord supérieur, un de chaque côté, qui s'insèrent sur des languettes sur le panneau interieur.
Décroche le panneau de commande du panneau interieur et tirez-le vers l'avant.

1

2

3
Débranche le câblage à l'arrière.
Remontez en procédant dans l'ordre inverse. Pour rebrancher les fils électriques, reportez-vous au schéma de câblage. Contrôlez le fonctionnement de la minuterie.
2. Dépose de la table de cuisson
Débranche l'appareil de l'alimentation électrique.
Attention
Le matériel de la table de cuisson craint beaucoup plus les rayures sur le dessous que sur le dessus de la table.
Veillez à ne pas toucher ni rayer le dessous de la surface en vitrocéramique, ce qui diminuerait sa résistance et pourrait faire éclater la surface de cuisson.
Retirez les grilles de la table de cuisson et les têtes des brûleurs. Retirez les vis de fixation des brûleurs sur la table de cuisson.
Retirez les 6 vis et les 2 goujons de fixation de la table de cuisson sur le chassis.

Tout en veillant à ne pas endommager les electrodes du brûleur, soulevez avec précaution la table de cuisson, débranchez le fil de terre (situé à l'arrière, à droite) de la traverse arrière et retirez la table de cuisson.
Remontez en procédant dans l'ordre inverse, en veillant à rebrancher les fils. Veillez à ne pas endommager les électrodes d'allumage des brûleurs.
N'oubliez pas de rebrancher les fils de terre lors de la remise en place des vis de fixation, car ils font partie intégrante de la mise à la terre de la cusinière.
Contrôlez le fonctionnement des brûleurs.
3. Dépose des panneaux latéraux
Débranche l'appareil de l'alimentation électrique.
Déposez le panneau de commande – voir 1. Tirez la cusinière vers l'avant. Retirez les 4 vis de fixation sur chaque panneau (1 à l'avant du socle, 1 en haut et 2 à l'arrête).
Remontez en procedant dans l'ordre inverse.
4. Dépose de l'interrupteur d'éclairage
Débranche l'appareil de l'alimentation électrique.
Déposez le panneau de commande – voir 1.
N.B. L'interrupteur usage peut être endommagé pendant la dépose. Pour extraire l'interrupteur de l'encadrement, maintenez le corps de l'interrupteur depuis l'arrête du panneau de commande et tournez d'un coup sec. Pour extraire l'encadrement, repliez ses languettes de fixation et poussez-le vers l'avant. Pour monter le nouvel encadrement sur le panneau de commande, alignez d'abord la clavette saillante sur le corps de l'encadrement et la découpe sur le panneau de commande, puis enforcez pour insérer l'encadrement. Pour monter le nouvel interrupteur sur l'encadrement, alignez les parties-clés et enforcez pour insérer. Enforcez le nouveau bouton depuis l'avant.
Remontez le panneau de commande en procédant dans l'ordre inverse et contrôle le fonctionnement de l'interrupteur.
5 Remplacement d'un contacteur d'allumage
Remplacez le robinet de gaz comme indiqué à la Section 9.
6. Déposé de l'horloge
Débranche l'appareil de l'alimentation électrique.
Déposez le panneau de commande (voir 1). Tirez pour-retirer les boutons de commande de la minuterie.
Pour détacher l'ensemble minuterie/support du panneau de commande, retirez les deux vis de fixation.
Pour détacher la minuterie de son support de montage, appuyez sur les languettes en plastique situées sur le boitier de la minuterie tout en tirant la minuterie vers l'avant.
Remontez en procédant dans l'ordre inverse. Pour rebrancher les fils électriques, reportez-vous au schéma de câblage. Contrôlez le fonctionnement de la minuterie.
7. Déposé d'un thermostat
Débranche l'appareil de l'alimentation électrique.
Déposez le panneau de commande et la table de cuisson (voir 1 & 2). Ouvrez la porte du four. Retirez les accessoires du four et tirez sur le panneau de VOUTE pour I'extraire (le cas échéant). Tirez la cuisinière vers l'avant pour acceder au boitier situé à l'arrière de la cuisinière. Déposez les vis retenant le couvercle et retirez celui-ci. Le thermostat du four est fixé à la plaque arrière du four par une plaque de mise à la terre. Retirez les vis et la plaque.

tube capillaire du thermostat plaque de mise à la terre
Four principal gauche
Retirez les deux vis fixant le tube en verre de détction de température du thermostat sur le couvercle du ventilateur du four, à l'arrière du four.
Four principal droit et four Cuisson lente
Retirez le couvercle du tube en verre du thermostat (2 vis).
Dégagez le tube en verre de détéction de température du thermostat des clips de retenue à l'arrête du four.


Couvercle de tube en verre de détction de température du thermostat du four Cuisson lente.
Sortez le tube capillaire du thermostat du four. Débranchez le câblage du thermostat. Retirez les deux vis de fixation du thermostat sur le panneau de montage. Remplacez le thermostat et remontez en procédant dans l'ordre inverse. Vérifiez que le tube en verre est bien fixé à l'arrête du four et qu'il est centré entre les clips.
N'oubliez pas de remonter la plaque de mise à la terre.
Contrôlez le fonctionnement du thermostat.
8. Remplacement du régulateur de grill ou de table vitrocéramique
Débranche l'appareil de l'alimentation électrique.
Déposez le panneau de commande et la table de cuisson (voir 1 & 2). Débranchez le câblage du régulateur. Retirez les deux vis de fixation du régulateur sur le panneau de montage. Placez le nouveau régulateur et remontez en procédant dans l'ordre inverse. Contrôlez le fonctionnement du régulateur.
François
AVANT TOUTE INTERVENTION SUR UN COMPOSANT D'ALIMENTATION EN GAZ, COUPEZ LE GAZ.
9. Dépose d'un robinet de table de cuisson
Débranche l'appareil de l'alimentation électrique.
Déposez le panneau de commande et la table de cuisson (voir 1 & 2).
Débranchez le fil du dispositif de sécurité (FSD) de l'arrière du robinet. Défaites le raccord de compression situé à l'arrière du robinet. Retirez les fixations du robinet sur la conduite de gaz. Débranchez le câblage du contacteur d'allumage.
Retirez le robinet. Retirez le joint et jetez-le. Montez un joint neuf sur le robinet de rechange. Remontez en procédant dans l'ordre inverse. Contrôlez l'étanchéité de l'appareil. Contrôlez l'allumage de la table de cuisson.
10. Remplacement d'un injecteur de brûleur de table de cuisson
Retirez le chapeau et la tête du brûleur. Retirez le giclaur usage. Placez le nouvel injecteur. Remontez en procédant dans l'ordre inverse. Contrôlez l'étanchéité de l'appareil.
11. Remplacement d'une electrode de brûleur de tableau de cuisson
Retirez les grilles de la table de cuisson et le chapeau du brûleur. Retirez la vis de fixation de l'électrode. Tirez l'électrode verticalément de façon à tener le fil entre le pouce et l'index. Retirez l'électrode, tout en continuant à tener le fil. Montez la nouvelle électrode sur le fil. Vissez l'électrode sur le brûleur. Replacez le chapeau du brûleur. Contrôlez le fonctionnement de l'allumage. Replacez les grilles.
12 Dépose ou remplacement d'un brûleur de table de cuisson
Déposez la table de cuisson (voir 2).
Les brûleurs, à l'exception du brûleur de Wok croit, sont montés sur des barres supports. Pour ces brûleurs, débranchez les tuyaux d'alimentation en gaz. Retirez les vis de fixation des supports, à l'avant et à l'arrière. Soulevez pour-retirer les supports et les brûleurs. Les brûleurs sont fixés au support par 2 vis. Dévissez le brûleur à remplacer et montez le nouveau brûleur. Remontez en procédant dans l'ordre inverse. Contrôlez le fonctionnement du brûleur.
Brûleur de Wok droit
Débranchez les tuyaux d'alimentation en gaz du brûleur. Remplacez le brûleur et remontez en procédant dans l'ordre inverse. Contrôlez le fonctionnement du brûleur.
13. Dépose d'une porte de four
Ouvrez la portedu four.Desserrez les deux vis supérieures de.
charniere.
Soutenez la porte et retirez la vis située le plus après de l'axe de la charnière. Faites pivoter la charnière vers le haut pour l'extraire de l'axe sur la porte.


Levez la porte pour la dégager de la charnière inférieure.
Remontez en procedant dans l'ordre inverse.
Lors de la remise en place de la porte, veillez à ce que la douille de charnière en nylon soit en place entre l'axe de charnière et le support de charnière en bas et en haut.
14. Remplacement du panneau extérieur de portedou four
Tirez la cusinière vers l'avant afin de pouvoir acceder aux côtes. Entrouvre la porte du four et retirez les vis de fixation du panneau avant des côtes de porte (deux de chaque côté).

Soulevez le panneau de porte extérieur avec précaution.
Retirez la poignée de porte du panneau en dévissant les 2 écrous de fixation. Montez la poignée de porte sur le nouveau panneau.
Montez le panneau sur la porte. Remontez en procédant dans l'ordre inverse.
15. Remplacement du verrouillage de porte du four
Retirez le panneau de porte extérieur (voir 14). Retirez les vis « B » de fixation de l'ensemble du dispositif de verrouillage sur le panneau de porte extérieur. Montez le nouveau dispositif de verrouillage et remontez en procédant dans l'ordre inverse.
Contrôlez le fonctionnement de la porte.

16. Réglage de la gâche du loquet de porte de four
Ouvrez la porte du four, desserrez l'écrou de verrouillage à la base de la gâte et serrez ou desserrez jusqu'à obtention du réglage requis. Resserrez l'écrou de verrouillage.
17. Remplacement des joints d'étanchéité des portes de fours
Fours principaux
Ouvrez la porte du four. Le joint est maintainu en place par des petits crochets placés sur la face arrière. Depuis le coin, tirez sur le joint en diagonale, en l'éloignant du centre de la porte, jusqu'à ce que ce crochet se défasse. Passez au crochet suivant et défaites-le, ainsi que les suivants, de la même façon. Vous pouvez forcer si les crochets résistant car le joint usage sera mis au rebut.

Lors de la pose d'un nouveau joint, positionnez le raccord dans la partie inférieure. Accrochez le nouveau joint dans un des orifices situés à un angle de la porte et poursuivez l'opération sur tout le tour de façon àmettre chaque crochet en place.
Joints d'étanchéité de porte de four Cuisson lente
Ce joint d'étanchéité est en deux parties : une partie supérieure en « poteau », qui peut être défaite de la même façon que les joints des fours principaux, et un joint inférieur séparé.
Vou deves déposer la portepour pouvoir remplacer le joint inférieur.Déposez le panneau droit (voir 3).Retirez les plinthes et le couvercle vertical central (5 vis).Retirez les deux vis à tete noyée (1 de chaque côté) qui relienment les bras articulés à l'avant de l'enceinte.
REMARQUE : Les bras sont sur ressorts. Retirez la porte avec précaution. Conservez les joints. Le joint inférieur de porte est à présent accessible et peut être défait et replacé.
Remontez dans l'ordre inverse, en vérifiant que le joint est monté entre le bras articulé et l'avant de l'enceinte.
18. Dépose d'un élément de grill
Débranche l'appareil de l'alimentation électrique.
Retirez la l'échéfte de l'enceinte du grill. Dans l'enceinte du grill, retirez la protection émaillée avant de la voûte du grill, les 2 vis et les rondelles. Retirez les 2 vis et les rondelles de fixation du support avant de l'élement du grill. Retirez les vis des éléments du grill.
Retirez les éléments avec précaution; débranche les fils des bornes des éléments, en.notant leur position. Si vous ne pouvez pas débrancher les fils de cette façon, tirez la cuisine vers l'avant afin de pouvoir acceder à l'arrière, dévisze le boitier électrique sur la plaque arrière et débranche les bornes de l'arrière.
Placez les nouveaux éléments et remontez en procédant dans l'ordre inverse. Contrôlez le fonctionnement du grill.
19. Dépose de la partie arrière interne du four principal
Ouvrez la porte du four et retirez les 4 vis et rondelles de fixation de la partie arrête interne à l'arrête du four.

Soulevez la partie arrête interne avec précaution. Remontez dans l'ordre inverse, en veillant à bien serrer les 4 vis et rondelles.
20. Remplacement d'un ventilateur de four principal
Débranche l'appareil de l'alimentation électrique.
Tirez la cusinière vers l'avant afin de pouvoir acceder à l'arrière. Otez les vis de fixation du boîtier électrique sur la plaque arrière et retirez le boîtier. Débranchez les 3 bornes raccordées au
ventilateur, en.notant leur emplacement. Retirez la partie arrière interne du four (voir 20 [shouldn't it be 19 ?]).Maintenez les pales du ventilateur et defaites I'ecrou central (fletage gauche),les 2 rondelles en laiton,les pales et le jonc d'arrêt.Devissez les ecrous de serrage et les rondelles (3 de chaque) et soulevez pour extraire le ventilateur de la partie arriere de la cuisineire.Montez le nouveau ventilateur en procédant dans l'ordre inverse. Contrôlez le fonctionnement du four.
21 Dépose d'un protecteur thermique d'élement de four
Débranche l'appareil de l'alimentation électrique.
Tirez la cusinière vers l'avant afin de pouvoir acceder au boitier arrrière. Dévissez et enlevez le boitier. Le protecteur thermique est situé sur la plaque de mise à la terre, à côté des raccords d' éléments du four. Débranchez le câblage du protecteur thermique. Retirez les fixations du protecteur sur la plaque de mise à la terre et retirez le protecteur. Insérez le protecteur de rechange et remontez en procédant dans l'ordre inverse.
22. Retrait d'un élément de ventilateur de four principal
Débranche l'appareil de l'alimentation électrique.
Retirez la partie arrière interne du four (voir 19).
Retirez 2 vis situées en haut de l'élement et 1 vis en bas de l'élement à l'intérieur du four.
Retirez l'élément avec précaution, débranche les fils des bornes de l'élement, en.notant leur position.

Insérez le nouvel élément et remontez en procédant dans l'ordre inverse. Contrôlez le fonctionnement du four.
3. Dépose des éléments inférieurs et supérieurs du four principal gauche
Débranche l'appareil de l'alimentation électrique.
Elément inférieur
Tirez la cuisine vers l'avant pour pouvoir acceder aux boîtiers situés à l'arrière de l'appareil. Dévissez et enlevez le boîtier.

François
Retirez les 2 vis « A » de façon à permettre à la plaque de descendre. Retirrez les 2 vis « B », abaissez la plaque supérieure et sortez-la par la fente à l'arrière de la cusinière.
Défaites les branchements de borne, en.notant leurs positions.
Retirez les fixations d'élément et retirez l'élement. Remplacez l'élement et remoncez en procédant dans l'ordre inverse.
Elément supérieur
Ouvrez la porte du four gauche et retirez les fixations de l'écran thermique. Retirez les fixations du support d'élement supérieur et retirez l'élement. Remplacez l'élement et remontez en procédant dans l'ordre inverse. Contrôlez le fonctionnement du four.
24. Dépose d'un élément du four Cuisson lente
Déposez la vis de fixation du couvercle d'élement et souveze le couvercle pour lesorting de la vis de support arrêté.

Retirez la vis maintainant l'élément à l'arrière du four. Retirez l'élément avec précaution, débranchez les fils des bornes de l'élément, en.notant leur position. Si vous ne pouvez pas débrancher les fils de cette façon, tirez la cusinière vers l'avant afin de pouvoir acceder à l'arrière, dévissez le boitier électrique sur la plaque arrière et débranchez les bornes de l'arrière.
Posez le nouvel élément, en veillant à placer le reflecteur d'élement entre l'élement et la paroi latérale du four et remoncez en procédant dans l'ordre inverse.

reflecteur d'elément
Contrôlez le fonctionnement du four.
25. Remplacement de la table vitrocéramique
Déposez la table de cuisson, voir 2. Montez la nouvelle table vitrocéramique.
Remontez en procédant dans l'ordre inverse. Contrôlez le fonctionnement de la table vitrocéramique.
26. Remplacement d'un élément de table de cuisson
Déposez la table de cuisson, voir 2. Les éléments sont à présent accessibles.
Remontez en procédant dans l'ordre inverse. Contrôlez le fonctionnement de la table vitrocéramique.
27. Remplacement de l'ampoule d'éclairage de four
Mettez l'appareil hors tension.
Assurez-vous que le four a refroidi. Ouvrez la porte du four et retirez les grilles.
Dévissez le couvercle de l'ampoule en tournant en sens antihoraire. Il peut être très difficile à dévisser.

Dévissez l'ampoule avec précaution, pour ne pas risquer de vous bleisser.

Montez une ampoule à culot visable Edison 15 W 240 V, POUR
FOURS. Cette ampoule doit pouvoir résister à une température de 300^ .
Vissez l'ampoule de rechange, puis revissez le couvercle de
I'ampoule. Remettez I'appareil sous tension et vérifiez que
I'ampoule fonctionne.
28 Réglage de l'angle de la porte du four
La charnière du bas de la porte peut être régée afin de modifier l'angle de la porte.
Desserrez les vis de fixation de la charnière inférieure, et utilisez le cran et un tournevis à lame plate pour régler la position de la charnière.
Resserrez les vis de la charnière.
Effet du réglage de la charnière - exagéré pour plus de clarté


Ligne centrale de I'axe de charnière

Omission de la porte du four pour plus de clarté
Cette cuisinière est de catégorie II2H3+
Elle est fournie préréglée pour une utilisation avec du gaz naturel de type H. Un kit de modification permettant l'utilisation de gaz de petrole liquéfié est fourni avec la cusinière.
INSTALLATEUR: Veuille remetre les presentes instructions à l'utilisateur.
EMPLACEMENT DU BADGE TECHNIQUE : Arriere de la cuisine, badge auxiliaire de numero de série sous l'ouverture de la porte du four.
Pays de destination : F
| Gaz | Electricité | |
| Gaz naturel | 20 mbars | 220 – 240 V 50 Hz |
| Butane | 29 mbars | |
| Propane | 37 mbars | |
(Reportez-vous au badge technique de l'appareil pour les pressions d'essais)
| Dimensions | Hauteur hors tout | minimum 896 mm | maximum 925 mm |
| Largeur hors tout | 1 100 mm Voir « Positionnement de la cisinière » | ||
| Profondeur hors tout | 648 mm | ||
| Espace prévu pour fixation | Voir « Positionnement de la cisinière » | ||
| Espace minimum au-dessus de la table de cuisson | 650 mm | ||
| Raccordements | Gaz : | Electricité |
| Rp 1/2 au niveau du côté arrêté droit | 220 – 240 V 50 Hz |
| Puisances | Gaz naturel | Gaz de pétrole liquéfié | |||
| Table de cuisson | Injecteur | Injecteur | |||
| Brûleur de Wok droit | 3,65 kW | interne 80 | 3,5 kW (255 g/h) | interne 54 | |
| externe 129 | externe 77 | ||||
| Grands brûleurs | 3,0 kW | 134 | 3,0 kW (218 g/h) | 87 | |
| Brûleurs moyens | 1,7 kW | 109 | 1,7 kW (124 g/h) | 68 | |
| Petit brûleur | 1,0 kW | 75 | 1,0 kW (73 g/h) | 51 | |
Les valeurs correspondant aux brûleurs à gaz sont basées sur la valeur calorifique brute.
| Table vitrocéramique | |
| Élement avant | 1,1 kW |
| Élement arrêté | 1,1 kW |
| Fours | Multifonctions | Convection |
| Catégorie d'efficacité énergétiqueSur une échelle de A (plus efficace) à G (moins efficace) | B | A |
| Consommation d'énergie basée sur une charge standard | 0,90 kWh | 0,85 kWh |
| Volume disponible (litres) | 62 | 67 |
| Taille | Moyenne | Grande |
| Temps de cuisson – charge standard | 41 minutes | 38 minutes |
| Surface de cuisson | 1400 cm2 | 1400 cm2 |
| Gril | 2,3 kW |
| Four Cuisson lente | 1 kW |
Charge électrique totale maximale à 230 V 11.7 kW (total approximatif complenant éclairages de jours, ventilateur de four, etc.)
Scheme de câblage
Le raccord indiqué sur le schéma de câblage est pour une alimentation monophasée. Les capacités nominales sont pour 230 V 50 HZ
Code Elément
A1 Régulateur de puissance du grill
A2 Eléments du grill
B1 Thermostat du four Multifonctions gauche
B2 Commande des fonctions du four Multifonctions
B3 Element de sole du four Multifonctions
B4 Elément de voute du four Multifonctions (paire extérieure)
B5 Elément gratineur du four Multifonctions (paire interieure)
B6 Elément du ventilateur du four Multifonctions
B7 Ventilateur du four Multifonctions
C1 Régulateur de puissance de la table de cuisson
C2,C3 Eléments de la table de cuisson
D Horloge
F1 Thermostat du four droit
F2 Bloc-interrupteurs du four droit
F3 Elément du four ventilé droit
F4 Ventilateur du four droit
G1 Contacteurs d'allumage
G2 Générateur d'allumage
H Interrupteur d'éclairage du four
I Eclairage du four
J Protecteur thermique
K Neon
M1 Thermostat du four Cuisson lente
M2 Bloc-commutateurs du four Cuisson lente
M3 Éléments du four Cuisson lente
Code Couleur
b Bleu
n Noir
br Brun
Orange
Rouge
Violet
w Blanc
y Jaune

Notice Facile