VG 330-111 - Plaque de cuisson GAGGENAU - Notice d'utilisation et mode d'emploi gratuit
Retrouvez gratuitement la notice de l'appareil VG 330-111 GAGGENAU au format PDF.
| Type d'appareil | Plaque de cuisson à gaz |
| Nombre de foyers | 4 |
| Type de gaz | Gaz naturel ou GPL |
| Allumage | Électrique intégré |
| Matériau de la surface | Acier inoxydable |
| Commandes | Manettes rotatives |
| Sécurité | Arrêt automatique en cas d'extinction |
| Dimensions (L x P) | Non précisé |
| Puissance totale | Non précisé |
| Brûleurs spéciaux | Brûleur wok |
| Grilles | Fonte émaillée |
| Installation | Encastrable |
| Consommation gaz | Non précisé |
| Accessoires fournis | Non précisé |
| Couleur | Acier inoxydable |
| Garantie | Non précisé |
FOIRE AUX QUESTIONS - VG 330-111 GAGGENAU
Questions des utilisateurs sur VG 330-111 GAGGENAU
0 question sur cet appareil. Repondez a celles que vous connaissez ou posez la votre.
Poser une nouvelle question sur cet appareil
Téléchargez la notice de votre Plaque de cuisson au format PDF gratuitement ! Retrouvez votre notice VG 330-111 - GAGGENAU et reprennez votre appareil électronique en main. Sur cette page sont publiés tous les documents nécessaires à l'utilisation de votre appareil VG 330-111 de la marque GAGGENAU.
MODE D'EMPLOI VG 330-111 GAGGENAU
Bedienungs- und Montageanleitung Notice d'utilisation et d'installation Operating and installation instructions Gebruiksaanwijzing en installmentvoorschrift Instruzioni per l'uso ed il montaggio Instrucciones de UTILIZACION y montaje
VG 330-…
Gas-Kochmulde
Plaque de cuisson à gaz
Gas hob
Gaskookplaat
Piano di cottura a gas
Encimera a gas
Utilisation
| - Instructions générales | Page 24 |
| - Équipement | Page 25 |
| - Utilisation de la plaque de cuisson à gaz | Page 26 |
| - Allumage de la plaque de de cuisson à gaz | Page 27 |
| - Arrêt de la plaque de cuisson à gaz | Page 27 |
| - Nettoyage | Page 28 |
| - Maintenance | |
| - Instructions de réparation | Page 29 |
Montage
| - Instructions générales | Page 30 |
| - Instructions destinées à l'installateur | Page 31 - 32 |
| - Branchement électrique | Page 32 |
| - Montage de la plaque de cuisson | Page 33 - 36 |
| - Changement de gaz | Page 37 |
| - Changement des injecteurs de feu réduit | Page 38 - 39 |
| - Changement des injecteurs principaux | Page 40 |
| - Régulation de l'air primaire | Page 41 |
| - Réglage de la fente d'air | Page 41 - 42 |
| - Puisance pour tous les types de gaz | Page 42 - 43 |
Utilisation
Instructions générales pour l'utilisation
Avant demettre l'appareil en service, lisez attentivement la notice d'utilisation et d'installation. Elle contient des informations importantes pour l'emploi, l'installation et la maintenance de l'appareil.Conservez soigneusement la notice d'utilisation et d'installation,le cas échéant pour la remetre au futur proprieteire.
L'utilisation d'un apparéil de cuisson à gaz provoque un dégagement de chaleur et une formation d'humidité dans la piece où il est installé.
Pour cette raison, il faut assurer une bonne ventilation de la pièce. Les orifices naturels d'aération doivent rester ouverts ou bien il faut prévoir un dispositif de ventilation mécanique, par exemple une hotte d'évacuation.
Une utilisation intensive et prolongée de l'appareil peut donc nécessaire une aération supplémentaire, par exemple par ouverteure d'une fenêtre ou mise en place d'une ventilation plus puissant (sous forme d'un dispositif mécanique de ventilation).
Si vous utilisez une hotte aspirante a évacuation, veillez à ce que l'apport d'air frais soit suffisant.
Pendant qu'elle marche, la plaque de cuisson chauffe, soyez prudent et tenez les enfants à distance!
Utilisez le brûleur uniquement si un wok, une casserole ou une poële se trouve dessus. Si vous enlevez la casserole ou la poële pendant un court moment, mettez le brûleur en position feu réduit. Vous économiserez ainsi du gaz et contribuerez à la préparation de l'environnement.
N'utilisez pas votre plaque de cuisson pour chauffer votre cuisine.
Attention lorsque vous chauffez des graisses et huiles qui s'enflammment facilement en cas de surchauffe. Les mets chauffés dans laGRAisse ou l'huile (frites par exemple) doivent donc rester sous surveillance permanente.
Si vous branchez des apparèils électriques à des prises de courant situées à proximité de la plaque de cuisson, faites attention à ce que les cordons d'alimentation n'entrent pas en contact avec des parties chaudes de la plaque ou avec les flammes.
En cas de panne de courant, vous pouvez allumer le brûleur avec des allumettes ou une autre source d'allumage. Le thermocapteur doit chauffer pendant 5 à 10 secondes avant que vous puissiez relâcher la manette.
Les casseroles doivent avoir un diamètre minimum de 160~mm . Si vous utilisez des casseroles plus grandes, voirlez à respecter une distance minimale de 100~mm entre la casserole et les éléments environnants inflammables.
Nous recommendons d'utiliser des casseroles à fond écais, de façon à favoriser la répartition de la chaleur, en particulier à feu doux.
L'utilisateur est responsable de l'entretien et de l'emploi corrects de l'appareil dans son habitation.
Aucune garantie ne peut etre accordedepour les dommages eventuels provoqués par le non-respect de cette notice.
Remarque:
Pour nettoyer la table de cuisson à gaz, il est interdir d'utiliser des matériels à haute pression ou à jet de vapeur qui constituent un risque pour la sureté électrique de l'appareil.
Sous réserve de modifications techniques.
Équipement

1 Brûleur pour WOK 5,0 kW
2 Bougie d'allumage automatique
3 Sécurité thermoélectrique
4Grille pour wok
5 Manette
6 Plaque
7 Couvercle (accessoire)
Utilisation de la plaque de cuisson à gaz VG 330
La plaque de cuisson à gaz encastrable VG 330 est prévue pour une utilisation domestique et peut être associée à tous les apparciels de la grande gamme VARIO de Gaggénau (voir page 30).
Cet appeareil se commande d'une seule main.
Une brève pression sur une des manettes de commande active l'allumage.
Le brûleur est doté d'une sécurité thermoelectrique empêchant la sortie de gaz non brûlé.
Pour tous les types de gaz, la puissance nominale totale s'éleve à 5,0 kW pour HS^* (4,5 kW pour HU ).
La puissance nominale dépend des injecteurs montés (voir tableau des injecteurs).
Pour changer de type de gaz, il faut replacer les injecteurs et réajuster si nécessaire la fente d'air.
Signification des symboles sur la manette de commande:
ARRET
6 plein feu
feu réduit
Entre ces niveaux, la puissance de chauffe varie en continu.
Utilisation
Allumage de la plaque de cuisson à gaz VG 330
Poser le wok ou la casserole sur le point de cuisson.
Appuyer sur la manette, puismettre sur le niveau «plein feu en la faisant tourner vers la gauche.
Le brûleur s'allume automatiquement.
Si la flamme ne s'allume pas dans un laps de temps de 2 à 4 secondes, continuez à faire tourner la manette vers la gauche jusqu'au niveau «Feu réduit ♂», puis, après allumage, ramenez sur le niveau «plein feu ♂».
Dès que la flamme brûle, maintenez la manette enforcée 5 à 10 secondes. Avant de la relâcher, appuyez fortement afin d'enclencher la sécurité. Si la flamme ne tient pas, recommencez l'opération en appuyant un peu plus fort et plus longtemps sur la manette.
Pour obtenir la taille de flamme souhaïée, faites tourner lentement la manette de la position «plein feu» vers «feu réduit».
Arrêt de la plaque de cuisson à gaz VG 330
Pour éteindre, faites tourner la manette en butée vers la droite jusqu'à la position ARRET.
Allumez le brûleur seulement lorsque tous ses éléments sont bien en place. Sinon, le fonctionnement du dispositif d'allumage risque d'être perturbé.
Nettoyage et entretien

Fig. 2
Essuyez immédiatement les alimentés qui ont pu déborder afin qu'ils ne brûlent pas sur la plaque de cuisson.
Nous conseillons de nettoyer la plaque de cuisson uniquement avec de l'eau chaude savonnneuse ou avec des produits de nettoyage usuels. N'employez pas de produits à récuerer ou corrosifs. Nettoyez les manettes avec un chiffon doux. Pour le nettoyage, il est possible d'enlever la grille, la petite bague de brûleur 1, la grande bague de brûleur 2 et la tête de brûleur 3 (fig. 2). Pour nettoyer ces pieces, utilisez également de l'eau de vaisselle chaude.
Remarque:
Ne nettoyez pas au lave-vaisselle les éléments du brûleur et la grille!
Lors du remontage, veilles à ce que la tête de brûleur 3 repose bien solidement sur la bague de fixation 4 de la plaque. Placez la grande bague de brûleur 2 par le haut sur la tête de brûleur 3. L'ergot d'arrêt 7 de la bague de brûleur doit entra dans l'évidement 8 de la tête de brûleur (voir fig. 2). Ensuite, placer la petite bague de brûleur en la centrant dans la tête de brûleur 3. La grille doit reposer sur la plaque de façon que les ergots d'arrêt entrent dans les creux prévus à cet effet sur la plaque.
Allumer le brûleur uniquement lorsque tous ses éléments sont bien en place, afin d'éviter les anomalies de fonctionnement du dispositif d'allumage. Pour que votre apparéil s'allume correctement, voirlez à ce que la bougie d'allumage et le thermocapteur restent propres.
Remarque:
Pour ne pas affecter la sécurité électrique de l'appareil, l'utilisation de nettoyeurs haute pression ou à jet de vapeur est interdite!
Maintenance
Instructions de réparation:
En cas d'anomalie dans le fonctionnement de la plaque de cuisson, vérifiez si l'alimentation en gaz et en électricité est assurée.
Si c'est le cas, mais si vous appareil ne fonctionne toujours pas, adressez-vous au concessionnaire ou au service après-venture Gaggenau compétent, en indiquant le type de l'appareil.
Pour garantir la sécurité, les réparations doivent être effectues exclusivement par des spécialistes qualifiés.
Toute intervention non-conforme entraine la perte de la garantie.
Installation
Instructions générales d'installation
La plaque de cuisson à gaz encastrable VG 330 est prévue pour une utilisation domestique. La plaque de cuisson peut être combinée avec tous les apparêils de la gamme VARIO de Gaggenau. Pour des raisons techniques liées au gaz, ou bien en raison de la puissance élevée du brûleur, il n'est pas possible de combiner l'apparéil avec les ventilateurs Vario VL 330/331.
Attention!
Avant de raccorder l'appareil, vérifier si les conditions locales de branchement (tension secteur, type de gaz et pression) correspondent au réglage de l'appareil.
Les réglages de l'appareil sont indiqués sur un autocollant situé à proximité de la tubulure de branchement du gaz.
Cette plaque de cuisson à gaz ne se raccorde pas à une évacuation des gaz brûlés. Elle doit être posée et raccordée conformément aux conditions d'installation en vigueur dans le pays. Veillez en particulier à prendre les mesures nécessaires pour assurer une ventilation correcte.
Aération:
Pour garantir une combustion correcte, il faut que la piece soit suffisamment grande et bien ventilée.
La pièce où est installée l'appareil doit pré-senter un volume minimal de 10m^3 et être dotée d'une porte ouvrant sur l'extérieur ou d'une fenêtre qui peut être ouverte. Si d'autres apparéils de cuisson à gaz sont installés dans la même pièce, cette dernière devra être d'autant plus grande!
En France:
Conditions réglementaires d'installation et d'entretien
L'installation et l'entretien de l'appareil doivent être effectuels par un professionnelnel qualifié conformément aux texted règlementaires et régles de l'art en vigueur notamment:
- Arrête du 02 août 1977
Régles techniques et de Sécurité applicables aux installations de gaz combustible et d'hydrocarbures liquéfiés situées à l'intérieur des bâtiments d'habitation et de leurs dépendances. - Norme DTU P 45-204 - Installations de gaz (anciennement DTU n° 61-1 - Installations de gaz - Avril 1982 + additif n° Juillet 1984).
- Règlement sanitaire département Pour les apparèils raccordés au réseau électrique:
- Norme NF C 15-100 - Installations électriques à basse tension - Regles.
En Suisse, l'installation doit être faite en respectant les directives en vigueur du SVGW et de l'Association des Assurances incendie cantonales ainsi que les instructions d'installation du fabricant.
Il faut eventuellement adapter l'appareil au type de gaz dont vous disposez, en changeant les injecteurs principaux.
Les injecteurs de feu réduit doivent être changés aussi si vous utilisez du gaz naturel ou du gaz liquéfié. Avec le gaz de ville, le débit du gaz se règle au moyen d'une fente annulaire. Le réglage de la douille de régulation d'air est indiquédans le tableau.
L'appareil est reglé pour le type de gaz indiqué sur l'autocollantitué pres de la tubulure de raccordement.
Installation
Une distance minimale de 100 mm doit être respectée entre la plaque de cuisson et des éléments ou plans de travail sensibles à la chaleur (côtés de meubles). La paroi arrêté doit être fabriquée dans un matériel non inflammable.
Cette plaque de cuisson est conforme à la classe d'appareil 3 et à la classe d'isolation Y et doit être posée dans le plan de travail conformément au schéma de pose. Seuls un côté et la paroi arrêtère peuvent êtreplaces contre un élément haut ou contre le mur de la cuisine. De l'autre côté, on n'installera qu'un apparéil ou un élément de même hauteur que la plaque.
La distance minimale entre un élément haut et le plan de travail doit être de 550 mm.
Les couvre-joints de mur doivent être résistantes à la chaleur. La distance minimale est de 25 mm entre la plaque de cuisson et le couvre-joint de mur et de 40 mm entre la plaque et la paroi arrière. Adapter l'épaissieur du couvre-joint de mur aux cotes d'encastrement afin qu'il soit possible d'ouvrir entièrement le couvercle de l'appareil.
Si la plaque de cuisson est installée pres d'autres apparèils de la grande gamme VARIO, il faut utiliser le couvre-joint VV 340-000. Les apparèils VARIO pourrait aussi être posés dans des découpes individuelles, en respectant une distance minimale de 50~mm entre les différents apparèils.
Plaquette d'identification:
GAGGENAU
VG 330-...
AC 220-240 V
QN5,0kW
50/60 Hz
0,6 VA
Instructions pour l'installateur
Le bon fonctionnement de l'appareil a ete verifie en usine. La garantie ne peut etre assurer que si l'appareil a ete raccorde par un installerateur agree par le distributeur de gaz, en conformite avec les directives et reglementations en vigueur, et si, le cas echeant, il a ete adapte au type de gaz concemé.
Pour la France, la plaque de cuisson VG 330 correspond à la catégorie III 1c2E+3+.
Pour la Suisse, la plaque de cuisson VG 330 correspond à la catégorie II2H3B/P ou II2H3+.
Pour la Belgique, la plaque de cuisson VG 330 correspond à la catégorie I 2E+ ou I 3+.
Le raccordement du gaz doit être tel que le robinet d'arrêt reste accessible et, le cas échéant, visible après ouverture de la portedu meuble.
Installation
L'appareil doit être branché avec le raccord coudé R 1/2" et le joint fournis (voir fig. 3), au moyen d'un tuyau d'alimentation rigide ou d'un tuyau couple homologué et conforme à la norme DIN 3383, l're partie.
Si le tuyau suple est entierement en métal, la température ambiante ne doit pas dépasser 115^ . S'il est partiellement constitué de métal, la température ambiante ne doit pas dépasser 70^ .
Le tuyau couple doit être posé de manière à ne pas pouvoir enter en contact avec les parties mobiles des éléments de cuisine (tiroir par exemple) et ne doit être géné en aucune façon. Il ne doit pas non plus être en contact avec des éléments d'autres apparèils pouvant atteindre une température supérieure à 70^ .
Pour tous les types de gaz, la puissance nominale totale s'éleve à 5,0 kW pour HS^* (4,5 kW pour HU ).
La puissance nominale dépend des injecteurs fixes qui sont montés sur l'appareil (voir tableau des injecteurs).
L'installateur est responsable du bon fonctionnement de l'appareil là où il se trouve.
Il doit en expliquer le fonctionnement à l'utilisateur, à l'aide de la notice d'utilisation, et lui dire comment l'appareil peut être débranché (électricité et gaz) si nécessaire.
Gaggenau ne peut pas etre considere comme responsable des dommages provoqués par le non-respect de cette notice.
Sous réserve de modifications techniques.
- Hs est la nouvelle désignation internationale et correspond à l'ancien Ho.
Branchementélectrique
Le branchement au secteur AC 220-240 V s'effectue au moyen du cordon d'alimentation doté d'une fiche de sécurité à brancher dans une prise de courant ou une boîte de jonction mise à la terre, qui doit rester accessible après l'installation de l'appareil.
Après installation, si la plaque de cuisson ne peut pas être isolée de tous les pôles du secteur au moyen de la fiche, il faut prévoir sur l'installation électrique un dispositif de sectionnement dont les contacts sont écartsés d'au moins 3 mm.
Au moment des branchements, veillez à ce que des cordons d'alimentation ne soient pas en contact avec des parties chaudes de la plaque de cuisson à gaz.
Installation


Pose de la plaque de cuisson
- Déballer l'appareil en vérifier qu'il n'a pas subi de dommages pendant le transport. Si nécessaire, prévenir immédiatement l'entreprise de transport.
-
Faire dans le plan de travail une découvert comme indiqué en figure 3. Les dimensions incluent la place pour le couvre-joint.
-
Conformément à la fig. 4, et à l'aide du gabarit de perçage, faire le trou A (Ø 13 mm) pour l'axe de commande dans la façade de l'élement bas. Respecter impérativement la cote de 105 mm entre le bord haut du plan de travail et le centre du perçage A.
-
Retirer le film protecteur de la bande d'étanchéité et coller celle-ci sur le pourtour de la découpe de façon qu'elle déborde de la moitié vers l'intérieur. Les extrémités des bandes doivent être poséesbout à bout sans se chevaucher.
Installation

Fig. 5
1 Corps de la plaque
2 Joint
3 Rondelle de marquage
4 Vis
5 Rondelle couvrante
6 Ressort
7 Manette


Fig. 6
Fig. 7
- Vérifier si le type de gaz disponible correspond bien à l'appareil. Si ce n'est pas le cas, il faut procéder à la modification nécessaire (voir changement du type de gaz). Si le type de gaz correspond, poursuivre au point 6.
-
Enlever la bague de brûleur 2 et la tête de brûleur 3. Enlever l'écrou de fixation du thermocouple et de la rondelle d'étanchéité. Il n'est pas nécessaire d'enlever la bougie d'alumage. Desserrez la bague de fixation 4 de la plaque et le joint 6 (voir fig. 12). Soulevez la plaque avec précaution et tirez le conducteur jaune / vert de mise à la terre sous la plaque. Soulevez ensuite la plaque avec précaution, afin de ne pas détacher le cable d'alumage de la bougie, puis la poser sur le côte ou derrière.
-
Avec les vis de serrage 1 ouvrir les étriers de blocage 2 en fonction de l'épaisseur du plan de travail (fig. 5) et placer les étriers sur le boîtier (attention au sens de rotation vers la droite!).
Inséorer l'appareil, marque Gaggenau vers l'avant. Ensuite, centrez l'appareil dans la découpe du plan de travail.
- Faire pivoter les étriers 2 vers la gauche, sous le plan de travail. Serrer uniformément les vis 1 (fig. 5).
La plaque de cuisson doit être étanche par rapport au meuble bas afin d'éviter qu'à feu réduit, les flammes ne s'éteignent lors de l'ouverture ou de la fermeture rapide des portes des éléments bas.
Installation

- Introduire la rondelle de marquage 3 (fig. 6) dans le trou percé dans le bandeau, selon la figure 7. Centrer et fixer avec les vis jointes. Le marquage des feuels se trouve à gauche.
- A l'avant, relier le boitier au plan de travail avec deux vis 8 placées au bon endroit, dans la rangée de troughs verticale 14 (fig. 8). En cas de montage dans un plan de travail en pierre ou plastique, utiliser eventuellement des chevilles adaptées. La fixation correcte du bac est indispensable au bon fonctionnement de l'appareil.
- Introduire l'axe joint 9 de l'intérieur dans le bac, à travers la rondelle de repérage. Introduire l'axe par le haut dans l'articulation de la tige 10, en commençant par le côté plat et enforcer jusqu'à la butée.
- Desserrer la vis 12 pour plastique (5,5 avec pointe 90^ ) sur l'objet de serrage 11. Maintenir le gabarit 13 sur la rondelle de repérage 16 et ajuster la tige 10 jusqu'à ce que l'axe 9 touche le gabarit (cote 37,5 mm), puis serrer la vis 12 (fig. 8). La qualité d'ajustage et de fixation est décisive pour le bon fonctionnement de l'appareil!
Installation



- Glisser la rondelle couvrante 5 sur l'axe 9, le marquage 0 étant en haut. Emboiter le dessort 6 et la manette 7 (fig. 9). Vérifiez si le mécanisme de la manette fonctionne.
- Le branchement du gaz se trouve dans la partie centrale arrière. Brancher l'appareil à la conduite de gaz. Purger la conduite de gaz et vérifier l'absence de fuite de gaz.
- Connecter le conducteur jaune / vert de mise à la terre à la fiche située sous la plaque. Faites passer le cable d'allumage à travers l'orifice du support de brûleur, vers le bas. Emboîtez ensuite le thermocouple à travers l'orifice de la plaque. Ensuite, posez correctement la plaque.
Attention:
La pointe du thermocouple se situe à 3 mm sous le bord supérieur de la bague de brûleur (fig. 10).
- Brancher le cordon d'alimentation dans la prise de courant etmettre le bruleur en marche comme indiquedans la notice d'utilisation. Si l'appareil a ete bien posed et bien regle, les flammes en position feu reduit ne doit pas s'eteindre a l'ouverture et a la fermeture des portes de I'elément bas.
Pose du couvercle
Visser au bord arrêté de l'appareil les
charnières jointes (figure 11).
Monter le couvercle conformément à la notice
de montage VD 050.
Installation

Changement de type de gaz
Le changement d'injecteurs doit etre effectue uniquely par un spécialiste qualifie.
Les injecteurs sont disponibles sous forme de lot complet. Veuillez indiquer le type de l'appareil et le type de gaz souhaité ainsi que la pression du gaz disponible chez vous.
La plaque de cuisson doit être adaptée au nouveau type de gaz par changement des injecteurs fixes de feu maximum et de feu réduit.
Débranche la plaque de cuisson!
Enlever ensuite la grille, les bagues de brûleur, les couvercles de brûleur et la tête de brûleur. Enlever l'éçrou de fixation du thermocouple et de la rondelle d'étanchéité. En revanche, il n'est pas nécessaire d'enlever la bougie d'allumage. Desserrez la bague de fixation 4 de la plaque et le joint 6 (voir fig. 12). Soulevez la plaque avec précaution et tirez le conducteur jaune/vert de mise à la terre, à l'avant et en bas du bandeau. Soulever ensuite la plaque avec précaution, afin de ne pas détacher le cable d'allumage de la bougie, puis la poser sur le côte ou derrière. PourGRAisser les robinets, utiliser uniquement de laGRAisse spéciale.

Changement des injecteurs
Pour changer les injecteurs, procédez exactement dans l'ordre suivant:
1. Changement de l'injecteur de feu réduit
Changer l'injecteur de feu réduit sur le robinet à gaz (fig. 13) en fonction du nouveau type de gaz et des indications figurant dans le tableau des injecteurs de feu réduit.
Avec le gaz naturel et le gaz liquéfié, il faut ajuster la position feu réduit au type de gaz en remplaçant l'injecteur de feu réduit 1.
Pour ces gaz, visser l'injecteur de feu réduit jusqu'à la butée. Vérifiez ensuite l'étanchéité de cet injecteur!
Avec tous les gaz de ville, visser l'injecteur de feu réduit marqué 88 jusqu'à la butée, puis dévisser d'environ un tour (fente annulaire).
Lors d'un passage rapide de la position plein feu à la position feu réduit, la flamme ne doit pas faire de retard, ni s'éteindre.
Étant donné qu'il y a trois zones de flammes, une position feu réduit plus puissant (1,5 kW) est nécessaire. La puissance nominale pour tous les types de gaz est de 5,0 kW.
Installation
Tableau:Injecteur feu réduit
Tableau des injecteurs de feu réduit pour la France (marquage en 1/100ème mm)
| Gaz de ville 1 c 8 mbar | Gaz naturel 2 E + 20/25 mbar | Gaz liquuéfé 3 + 28-30 / 37 mbar | |
| Grand brûleur C | fente annulaire 88 | 88 | 61 |
Tableau:Injecteur feu réduit
Tableau des injecteurs de feu réduit pour la Suisse (marquage en 1/100ème mm)
| Gaz naturel 2 H 20 mbar | Gaz liquuéfié 3+ 28-30/37 mbar | Gaz liquuéfié 3 B/P 50 mbar | |
| Grand brûleur C | 88 | 61 | 54 |
Tableau:Injecteur feu réduit
Tableau des injecteurs de feu réduit pour la Belgique (marquage en 1/100ème mm)
| Gaz naturel 2 E + 20/25 mbar | Gaz liquéfié 3 + 28-30 / 37 mbar | |
| Grand brûleur C | 88 | 61 |
Installation

2. Changement de l'injecteur principal
Dévisser la douille de régulation d'air 2 (voir figure 14) du robinet à gaz. Changer l'in-jecteur principal 1 de plein feu, en fonction du nouveau type de gaz et des indications du tableau des injecteurs.
Vérifier l'étanchéité de l'injecteur principal. Revisser la douille de régulation d'air sur le robinet à gaz.
En fonction du nouveau type de gaz, coller l'autocollant joint pres du branchement du gaz, par dessus le marquage precedent.
Tableau:Injecteur principal
Tableau des injecteurs principaux pour la France (marquage en 1/100ème mm)
| Gaz de ville1 c8 mbar | Gaz naturel2 E +20/25 mbar | Gaz liquuéfié3 +28-30 / 37 mbar | |
| Grand brûleur C | 340 | 160 | 110 |
Tableau:Injecteur principal
Tableau des injecteurs principaux pour la Suisse (marquage en 1/100ème mm)
| Gaz naturel 2 H 20 mbar | Gaz liquuéfié 3 + 28-30/37 mbar | Gaz liquuéfié 3 B/P 50 mbar | |
| Grand brûleur C | 160 | 110 | 95 |
Tableau:Injecteur principal
Tableau des injecteurs principaux pour la Belgique (marquage en 1/100ème mm)
| Gaz naturel 2 E + 20/25 mbar | Gaz liquéfié 3+ 28-30 / 37 mbar | |
| Grand brûleur C | 160 | 110 |
Installation

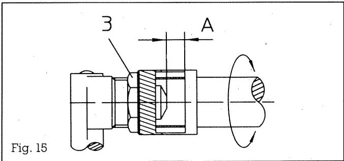
Réglage de l'air primaire
Pour obtenir une flamme stable et silencieuse avec des types et pressions de gaz différents, il peut être nécessaire de modifier le réglage de l'air primaire.
Si les flammes sont instables et bruyantes, tourner la douille de régulation en direction de l'injecteur, afin que la flamme soit plus douce en position plein feu (fig. 15).
Veiller à ce que les flammes n'aient pas de pointes jaunes.
Lors d'un passage rapide de la position plein feu à la position feu réduit, la flamme ne doit pas faire de retard, ni s'éteindre. La flamme doit être stable et silencieuse.
3. Réglage des fentes d'air
Proceder au réglage de la fente d'air "A" selon la fig. 15 et le tableau des fentes d'air.
Serrer le contre-écrou 3 contre la douille de régulation d'air.
Tableau réglage de la fente d'air pour la France
| Gaz de ville 1 c 8 mbar | Gaz naturel 2 E + 20/25 mbar | Gaz liquuéfié 3+ 28-30 / 37 mbar | |
| Grand brûleur C | 4 | 2 | 3 |
Installation
Tableau: Fente d'air cote A (en mm)
Tableau réglage de la fente d'air pour la Suisse
| Gaz naturel 2 H 20 mbar | Gaz liquuéfié 3 + 28-30/37 mbar | Gaz liquuéfié 3 B/P 50 mbar | |
| Grand brûleur C | 2 | 3 | 0,5 |
Tableau: Fente d'air cote A (en mm)
Tableau réglage de la fente d'air pour la Belgique
| Gaz naturel 2 E + 20/25 mbar | Gaz liquéfié 3 + 28-30 / 37 mbar | |
| Grand brûleur C | 2 | 3 |
Tableau: Puisance nominale
| Puisance nominale Hs* | Consommation à la puissance nominale gaz liquéfié Hs* | Puisance feu réduit Hs* | |
| Grand brûleur C | 5,0 kW | 364 g/h | < 1,5 kW |
Puisance pour tous les types de gaz
La puissance nominale est fonction du montage de l'injecteur approprié (voir tableau des injecteurs).
Installation

Une fois que tous les réglages sont faits, redémontez les éléments du brûleur et la bague de fixation de la plaque. Connectez le conducteur jaune/vert de mise à la terre à la fiche correspondante, en bas du bandeau. Faites passer le cable d'allumage à travers l'orifice du support de brûleur, vers le bas. Emboîtez le thermocouple à travers l'orifice de la plaque. Ensuite, posez correctement la plaque. Placez une rondelle d'étanchéité sur le thermocouple et le tuyau de brûleur. Vissez le thermocouple avec l'écrou, et le tuyau de brûleur avec la bague de fixation de la plaque.
Remarque:
Faites attention à ce que la pointe du thermocouple se situe à 3 mm sous le bord supérieur de la bague de brûleur (fig. 16).
Placez maintenant la tete de brûleur, les bagues de brûleur et la grille.
GAGGENAU
GAGGENAU HAUSGERATE GMBH
P.O. BOX 100250·D-80076 MUNCHEN
(089)4590-01
FAX (089) 45 90-23 47
GAGGENAU
GAGGENAU HAUSGERATE GMBH
P.O. BOX 12 60·D-76568 GAGGENAU, GERMANY
(07225)65-0·FAX (07225) 65-101
0180 533 5300 (KUNDENDIENST) · 0180 533 5304 (ERSATZTEILE)
Notice Facile