DAC-HA300 - Amplificateur audio ONKKYO - Notice d'utilisation et mode d'emploi gratuit
Retrouvez gratuitement la notice de l'appareil DAC-HA300 ONKKYO au format PDF.
| Intitulé | Valeur / Description |
|---|---|
| Type de produit | Convertisseur numérique-analogique (DAC) portable |
| Caractéristiques techniques principales | Supporte des fichiers audio haute résolution jusqu'à 24 bits/192 kHz |
| Alimentation électrique | Alimentation par batterie rechargeable ou via USB |
| Dimensions approximatives | 130 mm x 70 mm x 20 mm |
| Poids | Environ 200 g |
| Compatibilités | Compatible avec les appareils iOS, Android, Windows et Mac |
| Type de batterie | Batterie lithium-ion rechargeable |
| Tension | 5 V via USB |
| Puissance | Sortie audio jusqu'à 100 mW à 32 ohms |
| Fonctions principales | Conversion audio, amplification, prise en charge des formats audio variés |
| Entretien et nettoyage | Essuyer avec un chiffon doux, éviter les produits chimiques agressifs |
| Pièces détachées et réparabilité | Disponibilité limitée des pièces détachées, consulter un professionnel pour les réparations |
| Informations générales | Idéal pour les audiophiles et les utilisateurs souhaitant améliorer la qualité sonore de leurs appareils portables |
FOIRE AUX QUESTIONS - DAC-HA300 ONKKYO
Questions des utilisateurs sur DAC-HA300 ONKKYO
0 question sur cet appareil. Repondez a celles que vous connaissez ou posez la votre.
Poser une nouvelle question sur cet appareil
Téléchargez la notice de votre Amplificateur audio au format PDF gratuitement ! Retrouvez votre notice DAC-HA300 - ONKKYO et reprennez votre appareil électronique en main. Sur cette page sont publiés tous les documents nécessaires à l'utilisation de votre appareil DAC-HA300 de la marque ONKKYO.
MODE D'EMPLOI DAC-HA300 ONKKYO
- Des précautions doivent être prises pour l'emploi d'écouteurs ou d'un casque avec le produit car une pression acoustique (volume) excessive dans les écouteurs ou dans le casque peut provoquer une perte d'audition.
AVERTISSEMENT

Pour évider les dommages auditifs, nécoutez pas à un volume élévé pendant de longues périodes.
CAUTION
- N'exposez pas cet apparéil aux gouttes ni aux éclaboussures.
- Si le produit utilise des batteries (y compris un pack d'accus ou des batteries fixes), elles ne doivent pas'être exposées au soleil, au feu ou à une chaleur excessive.
Modèle pour le Canada
Conformité de brouillage
Cet apparéil numérique de la classe B est conforme à la norme NMB-003 du Canada.
Modèles pour l'Europe
Déclaration de Conformité
Nous déclarons, sous notre seule responsabilité, que le produit est conforme aux normes:
- Sécurité
- Limites et méthodes de mesure des caractéristiques des perturbations radioélectriques
- Limits pour les émissions de courant harmonique
- Limitation des variations de tension, des fluctuations de tension et du papilotement
- Directive RoHS, 2011/65/UE

WEEE
http://www.onkyo.com/manual/weewe/weee.pdf
ATTENTION
Les changements ou modifications apportés à ce équipement et dont la conformité n'est pas expressément approuvée par Onkyo CORPORATION invalideront la garantie de l'utilateur.
Introduction
Nous vous remercions d'avoircisioni Onkyo.
Lisez ce mode d'emploi avec attention pour tirer les mêilles performances de cette unité.
Après avoir lu ce mode d'emploi, gardez-le en lieu sür pour vous y référer ultérieurement.
INSTRUCTIONS DE SECURITE IMPORTANTES 19
Introduction 20
Accessoires fournis 20
Caracteristiques 20
Précautions concernant l'emplacement 21
Recyclage des batteries rechargeables 21
Produits Apple qui peuvent etre utilisés avec cette unité 21
Logiciel de lecture 21
Systèmes d'exploitation pris en charge. 22
Nomenclature et fonctions des parties 22
Recharge 26
Fonction d'économie automatique d'énergie 27
Fonctionnement de base 27
Écran d'accueil 28
Ecran de lecture (PLAY) 29
Écran MUSIC 31
Fichiers audio lisibles par cette unité 32
Réglages 32
Téléchargement du dernier firmware 33
Guide de dépannage 33
Caracteristiques techniques. 34
Accessoires fournis
Vérifiez que vous disposez bien de tous les accessoires représentés ci-dessus. Veuillez contacter le magasin dans lequel vous ave acheté cette unité si l'un de ces accessoaires manque ou a été endommagé durant le transport.
Cable d'alimentation CC (fiche CC vers connecteur USB A) × 1
Cable USB pour connexion à l'ordinateur
connecteur USB micro-B vers connecteur USB A) × 1
Cable de conversion (RCA vers mini-jack) × 1
Bandes de caoutchouc pour la fixation* × 2
Mode d'emploi (ce document) × 1
*Servent à fixer un lecteur de musique ou autre apparéil à cette unité.
\section*{Caracteristiques}
Ce convertisseur N/A /amplificateur de casque / lecteur audio SD prend en charge les produits iOS Apple. Utilisant un monde asynchrone qui gère l'audio (192 kHz/24 bits et DSD 128 à 5,6 MHz) par USB, cette unité peut fidèlement convertir les signaux numériques en analogue au moyen de son horloge intégrée de haute précision pour permettre la reproduction de données audio à haute résolution.
Précautions concernant l'emplacement
- Ne posez rien sur l'unité.
- Evitez d'exposer l'unité directement au soleil et de la placer près d'une quelconque source de chaleur telle qu'un radiateur, une bouche de chauffage, une chiminee ou un amplificateur. Evitez aussi les endroits sujets aux vibrations ou exposés à une poussière excessive, au froid et à l'humidité.
- Placez l'unité sur une surface stable prês du système audio que vous allez utiliser avec elle.
- La tension d'alimentation de l'unité doit correspondre à la tension imprimée sur son panneau arrêté. Si vous ave des doutes à ce sujet, consultez un électricien.
- Nouvrez pas le boitier de l'unité car cela peut endommager le circuit ou causeur un chic électrique. Si un objet étranger pénétre dans l'unité, consultez cette revendeur.
- Quand vous débranchez le cordon d'alimentation de la prise secteur, tirez toujours sur la prise, jamais sur le cordon.
Recyclage des batteries rechargeables
Cette unité utilise une batterie lithium-ion. Les batteries lithium-ion sont des ressources précieuses qui peuvent être recyclées. Veulillez cooperé à leur recyclage.

Produits Apple qui peuvent être utilisés avec cette unité
Les produits Apple suivants peuvent être connectés et utilisés avec cette unité.
iPhone 5s, iPhone 5c, iPhone 5, iPad Retina (4e generation), iPad Air, iPad mini, iPad mini Retina, iPod touch (5e generation)
- Utilisez toujours le cable USB qui était fourni avec l'iPod, l'iPhone ou l'iPad pour le connecter au port USB standard de cette unité. Un bon fonctionnement ne peut pas'être garanti si vous utilisez un autre cable que celui d'origine.
Logiciel de lecture
Notre application Onkyo HF Player (pour Windows et Mac ainsi que les applis iOS et Android) prend en charge la lecture des fischiers audio à haute résolution. Vous pouverez la télécharger depuis le site internet d'Onkyo.
Avis important
- Ne démonTEX jamais cette unité si cè n'est avant de vous en débarrasser.
Systèmes d'exploitation pris en charge
Des ordinateurs fonctionnant sous les systèmes d'exploitation suivants peuvent être connectés par USB à cette unité.
Microsoft Windows
Windows 7, Windows 8, Windows 8.1
- Pour qu'un ordinateur sous Windows puisse servir à la lecture, vous ne devez au préalable y installer le pilote dédié.
Telechargez the pilot deiede depuis le site Web d'Onkyo.
Avis important
Instalzietz plusieurs le logiciel pilote dédié sur l'ordinateur Windows avant de connecter l'unité à ce dernier au moyen d'un cable USB. Si vous connectez cette unité à un ordinateur Windows sur lequel le pilote n'a pas encore été installé, le bon fonctionnement ne sera pas possible. En outre, sachez qu'il pourrait même devenir impossible d'instructor normalement le pilote en cas de connexion avant l'installation de ce dernier.
MacOS X
OS X Lion 10.7
OS X Mountain Lion 10.8
OS X Mavericks 10.9
- Cette unité peut fonctionner avec le pilote standard du système d'exploitation (OS), donc il n'y a pas besoin d'installer de pilote.
Le fonctionnement avec des systèmes d'exploitation autres que ceux ci-dessus n'est pas garantie.
Nomenclature et fonctions des parties

A Voyants
POWER: il est allumé en bleu quand l'unité est sous tension.
CHARGE: il est allumé en rouge quand l'unité se recharge. Une fois la recharge terminée, il s'estint.
B Prises d'entree/sortie audio numérique et d'entree audio analogue
Peut servir d'entrée/sortie numérique ou d'entrée audio analogue.
- L'unité se commute automatiquement entre les connexions optique et coaxiale.
Pour l'entrée numérique :
Connexion optique : Utilisez un cable optique à mini-fiche.
Connexion coaxiale: Utilisez le cable de conversion RCA fourni.
Pour l'entrée analogue:
Utilisez un cable à fiche mini-jack 3,5 mm stéreo.
Pour la sortie numérique :
Connexion coaxiale: Utilisez le cable de conversion RCA fourni.
C Sélecteur numérique/analogique
Utilisé ce sélecteur pourCHOISIR entre entree/sortie numérique et entree analogue.
Si la position du selecteur ne correspond pas au cable branché à la prise, l'entrée et la sortie audio ne seront pas possibles.
- Utilisez l'écran SETTINGS pourCHOISER entre l'entree et la sortie numériques.
D Prise casque (PHONES)
Branchez à cette prise la fiche d'un casque (mini-jack 3,5 mm stéreo).
ATTENTION
- Réduisez toujours le volume au minimum avant de brancher un casque et de lemettre. N'allumez/n'éteignez pas l'unité et ne branchez/débranchez pas le casque quand vous portez ce dernier. Cela pourrait entrainer un bruit fort et soudain risquant d'endommager votre audition.
- Veiliez à ne pas confondre la prise casque avec la prise de sortie numérique et confonce jusqu'à cette poursuivit entrainer des bruits bizarres et même endommager l'équipment connecté.
E Selecteur GAIN
Sert à changer le niveau de sortie en fonction du casque utilisé.
H: haut niveau de sortie
L: bas niveau de sortie
Baissez le volume avant de basculer ce selecteur sur H.
ATTENTION
Lorsque vous utilisez pour la première fois un casque avec cette unité, reglez le selecteur GAIN sur L et veillez à monter progressively le volume durant la reproduction pour contrôler la sensibilité de pression acoustique.
F Bouton d'alimentation/volume
Tournze-l dans le sens antihoraire jusqu'à ce qu'il s'arrête pour etéindre l'unité.
Utilisez-le pour regler le volume. Tournez-le dans le sens horsaire pour allumer l'unité. Continue dans le sens horsaire pour augmenter le volume. Tournez-le dans le sens antihoraire pour baisser le volume.

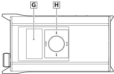
G Ecran
Affiche des informations sur le morceau durant la lecture et les morceaux en écran MUSIC, ainsi que des pages de réglage de l'unité.
H Touches de transport et de navigation
Touche HOME
Appuyez sur cette touche pour ouvrir l'écran d'accueil.
A l'arret ou en pause, appuyez sur cette touche pour lancer la lecture.
Pendant la lecture, appuyez sur cette touche pourmettre en pause.
Touches de saut/recherche (▲/▶)
Servent à sauter à la piste précédente ou suivante.
Maintenze une de ces touches pressée pour une recherche en arrêté/avant.

Lecteur de carte microSD
Insérez ici une carte SD avec des fichiers musicaux.
- En raison des limitations de taille maximale de filchier du format FAT32,les cartes SDHC ne peuvent pas containir de fichiers faisant 4Go ou plus.
- Utilisez des cartes SDXC si vous souhaitez utiliser des fichiers de 4 Go ou plus.
J Commutateur HOLD
Failet-le glisser sur la croite pour activer la fonction de verrouillage, qui désactive les autres touches.
K Touche multifonction latérale (→ ● →)
En écran MUSIC, sert à diverses fonctions dont la sélection de piste et le saut de piste.
Tourné la molette pour effectuer une scélection et appuyez sur cette-ci pour valider.


Cable USB pour connexion à l'ordinateur (connecteur USB micro-B vers connecteur USB A)
L Port de connexion d'ordinateur
Utilisez le cable USB fourni pour la connexion à l'ordinateur (connecteur USB micro-B vers connecteur USB A) pour relier cette unité à un ordinateur.
- Pour qu'un ordreur sous Windows puisse servir à la lecture, vous deveuze au prétabley agingé le pilote dédié.
M Interrupteur d'extinction forée
Ramenez le bouton d'alimentation/volume en position OFF puis insérez une pointe fine comme l'extrémité d'un trombone dans cet orifice. L'unité s'estinent.
N Port de connexion pour iPod/iPhone/iPad
Utilisé le cable USB fourni avec l'IPod/iPhone/iPad pour relier celui-ci à l'unité.
- Brancher autre chose qu'un iPod/iPhone/iPad/ à ce port pourrait réduire significativément l'autonomie de la batterie.
Précaution pendant le fonctionnement
Quand un message tel que « Processing... » (traitement...), « Loading... » (chargement...) ou « Removing... » (suppression...) s'ouvre à l'écran, n'éfectuez aucune connexion ou déconnexion du port de branchement à l'ordinaire ou du port de branchement à l'IPod/IPhone/IPad.
Note à propos des sources d'entrée
Cette unité n'a pas de seleucter d'entrie. Quand cette unité est allumée, le premier périphérique qui lui est connecté devient la source d'entrie.
Si plusieurs périhériques sont déjà branchés à cette unité quand on l'allume, la source d'entrée sera可以选择 selon l'ordre de priorité suivant: port de connexion d'ordinateur, port de connexion pour iPod/iPhone/iPad, prise d'entrée/sorting audio numérique et d'entrée audio analogue, lecteur de carte microSD.
Pour changer de source d'entrée, éteignez l'unité et branchez le périphérique désiré.
Recharge
Cette unité a une batterie lithium-ion rechargeable intégrée.
- Chargez-la avant de l'utiliser para la première fois après l'achat et après qu'elle soit restée longtemps non utilisée.
Assurez-vous que la température ambiante est comprise entre 5 et 35^ lors de la recharge. La recharge peut ne pas correctement s'effectuer hors de cette plage de température. - Un ordinateur connecté au moyen du cable USB fourni peut également recharger l'unité.
- Connectez toujours cette unité directement à l'ordinateur. S'il sont reliés au travers d'un concentrateur (hub) USB ou d'un autre apparéil, la recharge peut ne pas se faïre correctement.
- Si vous faites la connexion à un ordinateur au moyen du cable USB fourni, la recharge peut ne pas commencer si l'ordinateur ne reconnait pas cette unité comme un périhérique USB calculable.
- Pour être rechargée par sa connexion à un ordinateur, cette unité doit être eteinte. Si l'unité est connectee a un ordinateur en etant allumee, elle ne se rechargeras pas.
- Meme si vous utilisez le cable d'alimentation CC fourni et que la recharge a commenced, l'énergie de la batterie peut neanmoins être consommée si vous écoutez à volume élevé.
- Un adaptateur secteur (TASCAM/PS-P515U) qui fonctionne avec cette unité est disponible à l'achat. Connectez le cable d'alimentation CC fourni à l'unité pour la recharger. Le courant maximal lors de la recharge est de 1 A. Par rapport à la recharge depuis un ordinateur, l'unité peut être rechargée plusrapidement enutilisant une alimentation CC.
- Quand le cable d'alimentation CC fourni et le cable USB pour la connexion à l'ordinateur sont tous les deux branchés, l'unité se charge depuis le cable d'alimentation CC. Dans ce cas, l'alimentation ne sera pas fournie par l'ordinateur.

Fonction d'économie automatique d'énergie
Cette unité passera automatiquement en mode de veille dans les circunstances suivantes.
Enutilisation comme amplificateur pour casque
- ÀpRES 30 minutes sans entrée audio analogue ou numérique.
NOTE
La fonction de'économie automatique d'énergie est inactive si un iPod/iPhone/iPad (allumé) est branché au port de connexion pour iPod/iPhone/iPad ou un ordinaire (allumé) au port de connexion d'ordinaire.
Durant la lecture de carte SD
- Quand la fonction d'économie automatique d'énergie du lecteur est activée et que le lecteur n'a pas été utilisé depuis un temps donné.
NOTE
Pourmettrefinau mode de veille,tournez le bouton de volume dans lesensantihoraire jusqu'acce que l'unité s'éteigne.
Fonctionnement de base
Terminate tous les branchements avant demettre l'unité sous tension.
- Lizez les modes d'emploi de tous les apparciels qui seront connectés et suivues leurs instructions.
- Ne regroupez pas les câbles de connexion avec le cordon d'alimentation. Cela pourrait entrainer des bruits.
- Branchez bien toutes les fiches.
Lecture sur un périphérique d'entrée externe
1 Branchez la source d'entrée.
2 Allumez cette unité.
Réglez le volume à un niveau bas.
3 Attendez que la source d'entrée ait esté sélectionnée.
4 Lancez la lecture sur le périhérique source d'entrée.
5 Tournez le bouton d'alimentation/volume de cette unité pour régler le volume.
Lecture de fichiers audio sur une carte SD
1 Insérez la carte SD.
2 Allumez cette unité.
Réglez le volume à un niveau bas.
3 Utilise la touche multifonction latérale ( / - ) pour selectionner un fichier à lire sur l'écran MUSIC.
4 Appuyez sur la touche multifonction laterale pour lancer la lecture.
5 Tournez le bouton d'alimentation/volume de cette unité pour régler le volume.
Écran d'accueil
C'est l'écran de base, qui apparait à l'allumage de l'unité.

Le mode actuellement seLECTIONné apparait sur ligné.
Appuyez sur la touche multifonction latérale pour ouvrir l'écran du mode sélectionné.
Avec la touche multifonction latérale (→▶), désissez l'un des trois écans de mode suivants.
Ecran d'accueil

Écran de lecture (PLAY)
Cet écran apparait quand des fichiers sont lus depuis la carte SD.
Séléctionnez PLAY en écran d'accueil pour ouvrir cet écran.

Utilisez la touche multifonction laterale pour contrcler la lecture.
| Action sur la touche | Fonction |
| ( pousser) | Lance/pause la lecture du morceau |
| ▶ | Saute à la piste suivante |
| ← | Saute à la piste précédente |
You pouve utiliser les touches de transport et de navigation pour contrôler la lecture du morcau, ajouter des morceaux à vos favorisés et Changeur d'écran.
| Action sur la touche | Fonction |
| HOME | Oùvre l'écran d'accueil |
| ►/II | Lance/pause la lecture du morceau |
| Maintenez pressée►/II | Ajoute le morceau lu aux favorsis |
| ► | Lit le morceau suivant |
| ← | Lit le morceau précédent |
| Maintenez pressée► | Recherche en avant |
| Maintenez pressée← | Recherche en arrêté |
a Indicateur de la zone de lecture
| Icône | Zone de lecture |
| all | Tous les fichiers de la carte SD |
| # | Tous les fichiers de l'artiste sélectionné |
| In | Tous les fichiers de l'album sélectionné |
| # | Fichiers ajoutés à la playlist (liste de lecture) |
| # | Fichiers ajoutés aux+favors |
| # | Fichiers du genre sélectionné |
b Indicateur du mode de lecture
| Icône | Indication |
| Lecture de tous les morceaux | |
| Lecture d'un morceau | |
| Lecture aléatoire | |
C Indicateur du mode de répétition
| Icône | Indication |
| Aucune | Pas de répétition de lecture |
| Répétition de tous les morceaux | |
| Répétition d'un seul morceau |
Réglage de l'égaliser
Ceci montre la qualite sonore selectionnee.
e Indication de charge de la batterie
La charge de la batterie est indiquée sous forme de pourcentage.
f Informations sur le fichier
Type et débit binaire ou fréquence d'échantillonnage du fichier lu.
9 Temps ecoulé
Temps écoulé (en heures : minutes : secondes) dans le fichier lu.
h Nom du morceau
Nom du morceau d'après les informations de la balise du fichier lu.
Indicateur de carte SD
Signale s'il y a ou non une carte SD.
j Temps restant
Temps restant (en heures : minutes : secondes) dans le fichier lu.
k Indicateur de position de lecture
Cette barre affiche la position actuelle de la tete de lecture.
Indicateur d'etat du lecteur
| Icône | Indication |
| ® | Lecture ou recherche en avant/arrête |
| Π | Pause |
Écran MUSIC
C'est l'écran de sélection des fichiers sur la carte SD. Sélectionnez MUSIC en l'écran d'accueil pour ouvrir cet écran.

Sert à sélectionner et génér les morceaux sauvégardés sur la carte SD. Utilisez la touche multifonction latérale pour rechercher des morceaux et les sélectionner.
| Action sur la touche | Indication |
| ( pousser) | Sélectionne et lit les morceaux |
| ▲ | Saute au morceau suivant |
| ▲ | Saute au morceau précédent |
You pouvez utiliser les touches de transport et de navigation pour contrôler la lecture du morceau, ajouter des morceaux à vos favoris et changer d'écran.
| Action sur la touche | Indication |
| HOME | Retour à l'écran précédent |
| ■/■ | Sélectionne, lit et pause les morceaux |
| Maintenez pressée ▷/■ | Ajoutez le morceau sélectionné aux favoris |
| ■● | Lit le morceau suivant |
| ←▲ | Lit le morceau précédent |
| Maintenez pressée ▷● | Recherche en avant |
| Maintenez pressée ←▲ | Recherche en arrêté |
MUSIC ALL Affiche tous les morceaux de la carte SD ALBUM Affiche les morceaux par balise d'album ARTIST Affiche les morceaux par balise d'artiste GENRE Affiche les morceaux par balise de genre PLAYLISTS Afficher les morceaux ajoutes a la playlist* FAVORITES Affiche les morceaux ajoutes aux favors Effecteur un appui prolonge sur la touche lecture/ pause (一 / II) yous permet de retirer le morceau selectionné des favors.
*Les listedes lecture (playlists) de Onkyo HF Player peuvent être utilisées.
Création de playlists (listes de lecture) avec Onkyo HF Player
1 Allumez I'ordinateur.
2 Insérez une carte SD dans l'unité et connectez cette-ci à l'ordinateur au moyen d'un cable USB.
L'unité fonctionnera comme un lecteur/enregistrateur de carte SD.
- Vous pouce aussi utiliser un lecteur/enregistrateur de carte SD ordinaire connecté à l'ordinaire.
3 Lancez Onkyo HF Player et ajoutez les moceaux désirés de la carte SD à la playlist.
- Cette unité ne peut pas dire de morceaux ajoutés à la playlist depuis le disque dur de l'ordinaireur.
4 Sauvegardez la playlist dans le dossier « PLAYLISTS » de la carte SD.
Fichiers audio lisibles par cette unité
MP3
Extension de fichier .mp3, .MP3
Frequ. d'échantillonnage 44,1 kHz, 48 kHz
Extension de fichier .wma, .WMA
Frequ. d'échantillonnage 44,1 kHz, 48 kHz
Débit binaire 48-384 kbit/s, débit binaire VBR (variable)
WAV
Extension de fichier .wav,WAV
Frequ. d'échantillonnage 44,1 kHz, 48 kHz, 88,2 kHz, 96 kHz, 176,4 kHz,
192 kHz
Résolution de quantification 16 bits - 24 bits
AAC
Extension de fichier .aac, m4a, .mp4, AAC, .M4A, .MP4
Frequ. d'échantillonnage 44,1 kHz, 48 kHz
Débit binaire 64-320 kbit/s, débit binaire VBR (variable)
FLAC
Extension de fichier .flac, .FLAC
Frequ. d'échantillonnage 44,1 kHz, 48 kHz, 88,2 kHz, 96 kHz
Résolution de quantification 16 bits - 24 bits
DSD (DSF, DSDIFF)
Extension de fichier .dsf,DSF,dff.DFF
Frequ. d'échantillonnage 5,6 MHz (DSD128), 2,8 MHz (DSD64)
Résolution de quantification 1 bit
Réglages
C'est l'écran des réglages du lecteur.
Selectionnez SETTINGS en écran d'accueil pour ouvrir cet écran.

Utilisez la touche multifonction laterale pour faire les réglages.
| Action sur la touche | Indication |
| ( pousser) | Sélectionne |
| Fait monter le curseur | |
| Fait descendre le curseur |
Yououpouvezutiliserles touchesde transportet de navigation pour controler la lecture du morceau et les changements d'écran.
| Action sur la touche | Indication |
| HOME | Retour à l'écran précédent |
| ►/■ | Sélectionné, lit et pause les morceaux |
| ► | Lit le morceau suivant |
| ← | Lit le morceau précédent |
| Maintenez pressée | Recherche en avant |
| Maintenez pressée | Recherche en arrêté |

*Lautomène de la batterie en utilisation en continu augmente avec LOW, mais le niveau de sortie nominal est réduit.
Téléchargement du dernier firmware
Le firmware le plus récent est accessible sur le site Web d'Onkyo.
Guide de dépannage
Si vous aveu un probleme avec cette unite, veuillez vérifier les points suivants avant de demander une intervention. Si cette unite ne fonctionne always pas correctement, contactez le revendeur chez qui vous l'avoz achetee.
L'unité ne s'allume pas.
Si la batterie n'est plus assez chargee, l'unité ne sallume pas. Alimentez l'unité par la fiche CC ou le port USB micro-B.
La fonction d'économie automatique d'énergie a-t-elle fait passer l'unité en voille? Tournez le bouton de volume dans le sens anti-hoivre pour eteindre l'unité.
Aucun son n'est produit.
Utilisez le bouton de volume pour regler le volume.
Vérifiez que l'appareil connecté est en lecture.
Vérifiez la connexion à la prise PHONES.
\section*{Caracteristiques techniques}
Réponse en fréquence. 10 Hz - 80 kHz (en cas d'emploi de l'entrée LINE IN)
Distorsion 0,004 %
(32Ω,1kHz,sortie 100mW + 100mW JEITA
Impedance de casque prise en charge 8-600Ω
Entree maximale (LINE IN) 2 Vrms
Puisance maximale efficace de la sortie
170 mW + 170 mW (32 Ω, 1 kHz, 10 %, JEITA)
80 mW + 80 mW (300 Ω, 1 kHz, 10 %, JEITA)
Température de fonctionnement 0 °C à 35 °C
Autonomie de la batterie en continu
(avec une charge de 32 ,une sortie de 1mW + 1mW et PWR MODE LOW)
Appareil iOS Apple . environ 7 heures
- L'autonomie sur batterie dépend de l'utilisation et d'autres conditions.
Temps de charge . environ 9 heures (par USB)
environ 4 heures (avec entree CC par PS-P515U)
Dimensions externes 69,6 mm × 123 mm × 21,5 mm
Fréquence/RESolution d'échantillonnage prises en charge
PCM:jusqu'ä 192 kHz/24 bits
DSD:jusqu'a5,6448MHz/1bit
Adaptateur secteur recommandé. TASCAM/PS-P515U (vendu séparation)
Supports compatibles. cartes microSD (64 Mo - 2 Go)
cartes microSDHC (4 Go - 32 Go)
cartes microSDXC (64 Go - 128 Go)
- Tous les supports ne sont pas nécessairement compatibles avec cette unité.
Systèmes de fichiers pris en charge . . . . . . . . . . . . . . . . . . . . . . . . . . . . . . . . . . . . . . . . . . . . . . . . . . . . . . . . . . . . . . . . . . . . . . . . . . . . . . . . . .
-
Conception et caractéristiques techniques sont sujéttes à modifications sans préavis.
-
Le poids et les dimensions sont des valeurs approchées.
-
Les illustrations peuvent levergerement differer des modèle de production.
ONKYO
Onkyo Corporation
Kitahama Chuo Bldg, 2-2-22 Kitahama, Chuo-ku, OSAKA 541-0041
JAPAN
http://www.onkyo.com/
The Americas
Onkyo U.S.A. Corporation
Notice Facile