PROP110DFGB/CEU NOIR - Chaudière FALCON - Notice d'utilisation et mode d'emploi gratuit
Retrouvez gratuitement la notice de l'appareil PROP110DFGB/CEU NOIR FALCON au format PDF.
| Type de produit | Cuisson à gaz |
| Caractéristiques techniques principales | Four à gaz avec 5 brûleurs, dont un brûleur wok |
| Alimentation électrique | Non applicable (fonctionne au gaz) |
| Dimensions approximatives | Largeur : 110 cm, Profondeur : 60 cm, Hauteur : 90 cm |
| Poids | Environ 100 kg |
| Compatibilités | Compatible avec les bouteilles de gaz et le gaz de ville |
| Type de batterie | Non applicable |
| Tension | Non applicable |
| Puissance | Brûleurs de 1,0 kW à 4,0 kW |
| Fonctions principales | Cuisson, rôtissage, pâtisserie, grillade |
| Entretien et nettoyage | Nettoyage régulier des brûleurs et de la cavité du four |
| Pièces détachées et réparabilité | Disponibilité de pièces détachées auprès du fabricant |
| Sécurité | Système de sécurité anti-fuite de gaz, allumage électronique |
| Informations générales utiles | Garantie de 2 ans, installation recommandée par un professionnel |
FOIRE AUX QUESTIONS - PROP110DFGB/CEU NOIR FALCON
Questions des utilisateurs sur PROP110DFGB/CEU NOIR FALCON
0 question sur cet appareil. Repondez a celles que vous connaissez ou posez la votre.
Poser une nouvelle question sur cet appareil
Téléchargez la notice de votre Chaudière au format PDF gratuitement ! Retrouvez votre notice PROP110DFGB/CEU NOIR - FALCON et reprennez votre appareil électronique en main. Sur cette page sont publiés tous les documents nécessaires à l'utilisation de votre appareil PROP110DFGB/CEU NOIR de la marque FALCON.
MODE D'EMPLOI PROP110DFGB/CEU NOIR FALCON
Instructions d'installation & d'entretien

U109772-05
Table des matières
| Avant de commencer... | 1 |
| Vue d'ensemble de la cusinière | 2 |
| Brûleurs de table de cuisson | 2 |
| Plaque à griller | 4 |
| Gril Coulissant | 5 |
| Fours | 6 |
| Horloge | 6 |
| Conseils pour la cuisson avec minuterie | 8 |
| Guide pour la cuisson au four | 9 |
| Conseils généraux pour la cuisson au four | 10 |
| Grilles de four | 10 |
| Handyrack | 11 |
| Eclairage d'un four | 11 |
| Elément gratineur | 11 |
| Rangement | 11 |
| Nettoyage de la cusinière | 12 |
| Dépannage | 14 |
| Installation | 16 |
| Modification Gaz de petrole liquéfié GPL | 22 |
| Entretien | 23 |
| Schéma de câblage | 27 |
| Fiche technique | 28 |
Avant de commencer…
Nous vous remercions d'avoir acheté une cuisinière Professional ^+. Installée et utilisée correctement, cette cuisinière vous donnera de nombreuses années de service fabuleux. Il est donc important de lire la présente section avant de commencer, en particulier si vous n'avez jamais utilisé de cuisinière mixte.
Cet appareil est conçu uniquement pour un usage domestique. Toute autre utilisation n'engage ni la responsabilité, ni la garantie du fabricant. En particulier, n'utilise PAS le four pour chauffer la cuisine – non seulement cette pratique invalidera les réclamations, mais elle constituera un gaspillage d'énergie et un risque de surchauffe des boutons de commande.
Installation et entretien
Toutes les installations doivent être conformes aux instructions appropriées des fabricants et satisfaire à la réglementation nationale et locale en vigueur, ainsi qu'aux prescriptions des compagnies de gaz et d'électricité locales.
Vérifiez que l'alimentation en gaz est en service et que la cuisine est raccordée à l'alimentation électrique et sous tension (la cuisine a besoin d'électricité).
Réglez l'horloge pour permettre le fonctionnement des jours - voir la section appropriée des présentes instructions.
La cuisinière doit faire l'objet d'un entretien effectué par un technicien d'entretien qualifié, lequel doit utiliser uniquement des pièces de rechange approuvées.
Laissez toujours la cuisinière refroidir et mettez-la hors tension avant de la nettoyer ou d'effectuer une intervention d'entretien, sauf indication contraire dans les présentes instructions.
Odeur de neuf
Une légère odeur de neuf peut se dégager lors de la première utilisation de la cuisinière. Elle disparaîtra rapidement à l'utilisation.
Avant la première utilisation de l'appareil, assurez-vous qu'il ne reste aucun matériel d'emballage, puis reglez les fours sur 200°C et faites-les marcher pendant une heure afin d'éliminer l'odeur de neuf.
Avant la première utilisation du grill, allumez-le et faites-le marcher pendant 30 minutes, avec la lèchefrite bien en place, et en laissant la porte du grill ouverte.
Si vous sentez une odeur de gaz :
- Ne actionnez aucun interrupteur électrique, ni pour allumer, ni pour éteindre.
- Ne fumez pas.
N'utilisez pas de flammes nues. - Coupe le gaz au compteur ou au niveau de la bouteille de gaz. Ouvrez portes et fenêtres pour évacuer le gaz. Éloignez toute personne de l'endroit concerné. - Appelez votre fournisseur de gaz.
Ventilation
L'utilisation d'un appareil de cuisson à gaz produit de la chaleur et de l'humidité dans la pièce contenant l'appareil. Par conséquent, veillez à ce que la cuisine soit bien ventilée : laissez les ouvertures de ventilation naturelle ouvertes ou installez une hotte aspirante à évacuation extérieure. En cas d'utilisation simultanée de plusieurs brûleurs ou d'utilisation prolongée de la cuisinière, ouvrez une fenêtre ou mettez en marche une hotte aspirante.
Sécurité personnelle
Les parties accessibles de la cuisinière deviennent chaudes lorsque celle-ci est en marche et resteront chaudes même après la cuisson. Ne laissez pas les bébés et les enfants s'approcher de la cuisinière et ne portez jamais de vêtements amples ou flottants lors de l'utilisation de la cuisinière. Vérifiez toujours que les commandes sont sur la position Arrêt [OFF] lorsque le four n'est pas en marche et avant de nettoyer la cuisinière.
Lorsque le four est en marche, ne laissez PAS la porte du four ouverte plus longtemps que nécessaire, afin de prévenir une surchauffe des boutons de commande.
La cuisson d'aliments à haute teneur en eau peut produire une « bouffée de vapeur » à l'ouverture de la porte du four. Lorsque vous ouvrez la porte du four, reculez-vous et attendez que la vapeur se soit dissipée.

Veillez à ce que les matériaux combustibles, (rideaux, liquides inflammables, etc.) soient toujours suffisamment éloignés de la cuisinière.
N'utilise pas d'aérosols à proximité de la cuisine réelle que cette-ci est en marche.
Au besoin, utilisez des gants isolants secs - l'emploi de gants humides risque de causer des brûlures dues à la vapeur lors du contact avec une surface chaude. N'utilisez pas de torchon ou autre chiffon épais à la place d'un gant isolant - ils risquent de s'enflammier au contact d'une surface chaude.
Ne faites jamais fonctionner la cuisinière avec les mains mouillées. Ne recouvrez pas les grilles, les panneaux internes ou la voute du four de papier aluminium. Ne chauffez jamais des récipients alimentaires qui n'ont pas été ouverts. La pression accumulée à l'intérieur des récipients peut les faire éclater et blesser l'utilisateur. N'utilisez pas des casseroles instables. Tournez toujours les manches des récipients de cuisson vers l'intérieur de la table de cuisson. Ne laissez jamais la table de cuisson en marche sans surveillance si les brûleurs sont réglés sur maximum. Le débordement des récipients peut produire de la fumée et des taches de gras qui risquent de s'enflammer. Si possible, utilisez un thermomètre à bain de friture pour prévenir une surchauffe de l'huile au-delà du point de fumée. Ne laissez jamais une friteuse sans surveillance. Faites toujours chauffer l'huile lentement, en la surveillant. Les friteuses ne doivent être remplies qu'à un tiers de leur capacité. Une friteuse trop pleine peut déborder lorsqu'on y plonge des aliments. Si vous utilisez un mélange d'huile et de graisse pour la friture, mélangez-les avant de chauffer, ou pendant la fonte des graisses.
Les aliments à frire doivent être le plus sec possible. La présence de cristaux de glace sur des aliments congelés ou d'humidité sur des aliments frais peut provoquer une ébullition et un débordement de l'huile. Surveillez attentivement pour prévenir les débordements et la surchauffe pendant la friture à haute ou moyenne température. N'essayez jamais de déplacer un récipient de cuisson contenant de l'huile chaude, en particulier une friteuse. Attendez que l'huile ait refroidi.
Lorsque le grill est en marche, ne vous servez pas de la grille d'évacuation (la grille le long de la partie arrière de la cuisine) pour réchauffer des assiettes ou des plats, sécher des torchons ou ramollir du beurre.
N'utilisez pas d'eau pour éteindre les incendies dus à la graisse et ne soulevez jamais un récipient de cuisson qui a pris feu. Éteignez la cuisinière et étouffez un récipient qui a pris feu sur une table de cuisson en le recouvrant complètement avec un couvercle de taille appropriée ou une plaque de cuisson. Si possible, utilisez un extincteur à poudre chimique ou à mousse de type polyvalent.
Veillez à prévenir toute infiltration d'eau dans l'appareil.
Seuls certains types de récipients en verre, vitrocéramique, terre cuite ou autres récipients émaillés peuvent être utilisés sur la table de cuisson; les autres risquent de se briser en raison du changement soudain de température.
Cet appareil est lourd ; prenez garde lorsque vous le déplacez.
Nettoyage
Pour des raisons d'hygiène et de sécurité, la cuisine doit toujours être propre, afin de prévenir le risque d'incendie causé par l'accumulation de graisse et autres particules alimentaires.
Nettoyez uniquement les composants indiqués dans les instructions.
Nettoyez avec précaution. Si vous utilisez une éponge ou un chiffon humide pour essuyer des taches sur une surface chaude, prenez garde au risque de brûlures par la vapeur. Certains produits nettoyants peuvent produire des vapeurs nocives au contact d'une surface chaude.
Vue d'ensemble de la cuisine

La cuisinière Professional + 110 Mixte comprend :
- Six brûleurs de table de cuisson, y compris un brûleur de Wok, chacun doté d'un Dispositif de Sécurité Spécial. Une plaque à griller et un support spécifique de Wok. Un panneau de commande. Un grille-loussant.
- Un four conventionnel et un four ventilé.
- Un tiroir de rangement.
Brûleurs de table de cuisson

Le schéma à côté de chaque bouton indique le brûleur associé à ce bouton.
Chaque brûleur est doté d'un dispositif de sécurité spécial qui coupe l'alimentation en gaz en cas d'extinction de la flamme.

Un dispositif d'allumage par étincelle est déclenché lorsqu'on appuie sur le bouton d'ignitor.
Lorsqu'on appuie sur le bouton d'ignitor, une étincelle se produit à chaque brûleur – ceci est normal. N'essayez jamais de démonter ou de nettoyer autour d'un brûleur lorsqu'un autre brûleur est allumé. Vous risqueriez de recevoir une décharge électrique.
Pour allumer un brûleur, appuyez sur le contacteur d'allumage et appuyez sur le bouton de commande associé et mettez-le sur le symbole grande flamme ():

Le dispositif d'allumage produit une étincelle et allume le gaz. Continuez d'appuyer sur le bouton pendant quelques secondes pour permettre l'accélération du gaz dans le brûleur.
Si le brûleur s'éteint lorsque vous relâchez le bouton de commande, le dispositif de sécurité n'a pas été enclenché. Mettez le bouton de commande sur la position Arrêt [Off] et attendez une minute avant d'essayer de nouveau, en appuyant un peu plus longtemps sur le bouton.
Tournez le bouton en sens horaire pour régler la hauteur de flamme:

Si la flamme d'un brûleur s'éteint, mettez le bouton de commande sur la position Arrêt [Off] et attendez une minute avant de rallumer.
Veillez à ce que les flammes ne dépassent pas des récipients de cuisson. Utilisez un couvercle sur les récipients de cuisson pour porter à ébullition plus rapidement:

Veillez à ce que les récipients de cuisson de grande taille soient bien espacés entre eux.
N'utilise pas de casseroles ou marmites à fond concave ou à fond à rebord incurvé vers le bas:

L'utilisation de dispositifs de mijotage, de type plaques d'amiate ou plaques métalliques, est DECONSEILLEE. Ces dispositifs diminuérer les performances de la cusinière et risquent d'endommager les grilles de la table de cuisson :

N'utilise pas des récipients de cuisson instables ou déformés susceptibles de se renverser, ni des récipients de cuisson à fond de très petit diamètre (casseroles à lait, pocheuses individuelles, etc.)

Le diamètre minimum recommandé pour les récipients de cuisson est de 120mm. Le diamètre maximum pour les récipients de cuisson est de 250mm.
Brûleur de wok
Le brûleur de Wok (coup de feu) est conçu pour fournir une chaleur uniforme sur une grande surface. Il est parfait pour les grandes poèles et la friture rapide à feu vif.

Les petits brûleurs sont plus adaptés aux récipients de cuisson plus petits.
Les composants du brûleur sont démontables pour faciliter le nettoyage. Voir « Nettoyage de la cuisine »
En cas de débordement, essuyez dès que possible la surface émaillée autour des brûleurs de la table de cuisson. Tâchez d'essuyer la substance renversée pendant que l'émail est encore chaud.
Remarque:
Les récipients en aluminium peuvent laisser des traces métalliques au niveau des grilles de la table de cuisson. Ces traces sont sans incidence sur la durabilité de l'émail et peuvent être éliminées à l'aide d'un nettoyant pour métaux.
Support spécial de wok
Le support spécifique de Wok est donc pour permettre l'utilisation d'un Wok professionnel de 35 cm (disponible dans notre gamme d'ustensiles de cuisine - Référence de pièce RM095).
Si vous utilisez un autre modèle de Wok, vérifiez qu’il repose correctement sur le support spécial. Les Woks peuvent avoir des tailles et des formes très variées. Il est important que le Wok repose correctement sur le support – mais si le Wok est trop petit, il ne sera pas bien maintenu en place par le support spécial :

Le support spécial de Wok doit être utilisé uniquement sur le brûleur de Wok à triple élément.
Lorsque vous placez le support spécial, vérifiez que le Wok repose bien sur les barres avant et arrière et qu’il est bien soutenu par une grille de la table de cuisson :

Vérifiez que le support spécial est stable et que le Wok est placé à niveau sur le brûleur. Le support spécial deviendra très chaud pendant l'utilisation – laissez-le refroidir suffisamment longtemps avant de le retirer.
Plaque à griller
La plaque à griller se pose sur la grille centrale gauche de la table de cuisson, d'avant en arrière.

Placez la plaque à griller sur les grilles des brûleurs de la table de cuisson. Vérifiez qu'elle est placée correctement.
Ne la placez pas transversalement - elle sera mal placée et instable.

Ne la placez pas sur le brûleur du Wok à gauche - elle n'est pas conçue pour être placée sur cette grille:

Veillez à ce qu'il y ait toujours suffisamment de place autour de la plaque à griller pour permettre l'échappement des gaz. N'utilisez jamais deux plaques à griller côte à côte :

La plaque s'utilise pour la cuisson directe des aliments. N'utilise pas de récipients de cuisson sur cette plaque. La plaque à griller a une surface antiadhésive susceptible d'être endommagée par des ustensiles de cuisine métalliques (spatules, par exemple). Utilisez des ustensiles en bois ou en plastique thermorésistant.
Avant l'utilisation, vous pouvez enduire la plaque d'une légère couche d'huile à friture :

Allumez les brûleurs de la table de cuisson et réglez la hauteur de flamme selon les besoins.
Préchauffez la plaque à griller pendant 5 minutes au maximum avant d'y déposer les aliments. Un préchauffage plus long risque de l'endommager.

Pour réduire la chaleur, tournez les boutons de commande vers le réglage inférieur indiqué par le symbole petite flamme.
Après la cuisson, laissez refroidir la plaque à griller avant de la nettoyer.
Gril coulissant
Ouvrez la porte du grille et tirez le support de la lèchefrite vers l'avant à l'aide de la poignée:

Le grill a deux éléments qui permettent de chauffer la totalité de la lèchefrite ou seulement la partie droite de cette-ci.
Tournez le bouton de commande pour régler la chaleur du grill. Pour un chauffage total, tournez le bouton en sens horaire :

Pour le chauffage de la partie droite, tournez le bouton en sens antihoraire. Le voyant à côté de la commande du grill s'allumera.
Pour obtenir les meilleurs résultats possibles, préchauffez le grill pendant 2 minutes avec le support du grill en place. Vous pouvez retirer la grille de la lèchefrite et y déposer les aliments pendant le préchauffage.
Après préchauffage, retirez le support du gril de l'enceinte du grill. Replacez la lèchefrite et réinsérez le support du grill dans l'enceinte du grill. Vérifiez qu'il est bien inséré.
La grille de la lèchefrite est réversible pour permettre deux positions de grill:

Ne laissez jamais le grill en marche pendant plus de quelques instants si la l'échéfrite n'est pas en place sous le grill.
Ne fermez jamais la porte du grill lorsque celui-ci est en marche.
Fours
L'horloge doit être réglée sur l'heure pour que le four principal (four programmable gauche) puisse fonctionner. Voir les instructions de la section « Horloge » pour le réglage de l'heure.
Remarque - Les références au four gauche et droit s'entendent vue de l'avant.
Le four gauche est un four conventionnel, tandis que le four droit est un four ventilé qui peut être utilisé avec la fonction minuterie.
Four gauche

Le four gauche est un four conventionnel doté de deux éléments chauffants, l’un visible dans la voûte du four, et l’autre sous la sole du four. Veillez à ne pas toucher l’élément supérieur et le défecteur de l’élement lors de l’insertion ou du retrait des plats dans le four.
Four droit

Le ventilateur dans le four brosse l'air chaud continûment, assurant ainsi une cuisson plus rapide et plus uniforme. En général, les températures de cuisson recommandées pour un four ventilé sont plus basses que celles pour un four conventionnel.
Tournez le bouton de réglage de température du four pour le mettre sur la température requise :

Le voyant du four sera allumé jusqu'à ce que le four atteigne la température requise. Il s'allumera et s'éteindra pendant la cuisson :

Pendant la cuisson d'aliments à haute teneur en eau, un peu de vapeur peut être visible à la grille à l'arrière du chauffe-plats. Ceci est tout à fait normal.

Réglage de l'heure


A-Bouton Minute, B-Bouton Réglage
Après raccordement initial de l'horloge, l'affichage clignotera pour indiquer (0.00) et ( ) alternativement.
Pour régler l'horloge sur l'heure actuelle, tournez et appuyez sans relâcher sur le bouton Minuterie pour le mettre sur le symbole horloge (⑦), tout en tournant le bouton Réglage vers la gauche ou vers la droite jusqu'à l'affichage de l'heure correcte. N'oubliez pas que c'est une horloge 24 heures. Relâchez le bouton Minuterie ; il reviendra à la position verticale de réglage manuel de four.
Minuterie
Tournez le bouton Minuterie vers la droite jusqu'à la position minuterie () – vous devrez entendre un déclic lorsqu'il est à la position correcte :

Utilisez le bouton Réglage pour régler le temps de cuisson comme indiqué ci-dessous :

Vous pouvez remettre le bouton sur la position verticale de réglage manuel (m) pour pouvoir voir l'heure ou le laisser sur la position minuterie (L) pendant toute la durée de la cuisson.
Tournez le bouton Réglage en sens antihoraire pour arrêter le signal sonore.
Arrêt automatique du four croît
Tournez le bouton Minuterie pour le mettre sur la position ()

Réglez l'heure d'arrêt du four à l'aide du bouton Réglage. Voulez régler le four pour qu'il s'arrête à n'importe quel moment dans les 24 heures qui suivent. AUTO sera affiché :

Tournez le bouton Minuterie pour le mettre sur la position « AUTO ». Le signal sonore indiquera la fin de la cuisson à l'heure prévue. Tournez le bouton Minuterie pour le mettre sur la position verticale ( ) pour revenir au fonctionnement manuel.
Mise en marche et arrêt du four droit avec minuterie
Avant de régler la minuterie, CHOISSEZ le « temps de cuisson », c'est-à-dire la durée pendant laquelle vous voulez que le four fonctionne, et « l'heure d'arrêt », c'est-à-dire l'heure à laquelle vous voulez que le four s'arrête.
Vous ne pouvez pas régler directement une heure de mise en marche – celle-ci est réglée automatiquement lors de la sélection du temps de cuisson et de l'heure d'arrêt.
Tournez le bouton Minuterie pour le mettre sur la position ():

Utilisez le bouton Réglage pour régler le « temps de cuisson » comme indiqué ci-dessous :

Tournez le bouton Minuterie pour le mettre sur la position (). L'affichage indiquera l'heure et le « temps de cuisson » que vous venez de régler. Utilisez le bouton Réglage pour régler « l'heure d'arrêt » comme indiqué ci-dessous :

« L'heure d'arrêt » et « AUTO » seront affichés. Réglez le four à la température requise. Tournez le bouton Minuterie pour lemettre sur la position « Auto »
Le signal sonore indiquera la fin de la cuisson. Tournez le bouton Minuterie pour le mettre sur la position verticale (d) pour revenir au fonctionnement manuel.
Si vous êtes absent pendant la cuisson, ne vous inquiétez pas au sujet de l'arrêt du signal sonore, celui-ci s'arrête après un certain temps. À votre retour, tournez le bouton Minuterie pour le mettre sur la position verticale (d) pour revenir au fonctionnement manuel.
AUTO est affiché, et vous voulez remettre le four sur fonctionnement manuel.
Pour annuler tout réglage automatique, tournez brièvement le bouton Minuterie pour le mettre sur le symbole horloge (①) puis relâchez-le.
Fonction de verrouillage
Après activation de la fonction de verrouillage, le four gauche peut fonctionner normalement, mais le four droit est verrouillé et ne s'allumera pas.
Activation de la fonction de verrouillage
Vérifiez que l'horloge est sur le mode manuel et annulez tout programme en cours. Tournez et appuyez sans relâcher sur le bouton Minuterie pour le mettre sur le symbole horloge (⊙) pendant environ 8 secondes. « On » ([Marché]) sera affiché :

Tout en maintenant le bouton Minuterie sur le symbole horloge (⊙), tournez le bouton Réglage en sens horaire jusqu'à l'affichage du symbole clé (⊙) et de « Off » ([Arrêt]). Relâchez les boutons.

Le four droit est à présent verrouillé, comme indiqué par l'affichage de l'heure et du symbole clé :
Après activation de la fonction de verrouillage, le four gauche peut fonctionner normalement, mais le four droit est verrouillé et ne s'allumera pas.

Désactivation de la fonction de verrouillage
Tournez et appuyez sans relâcher sur le bouton Minuterie pour le mettre sur le symbole horloge (Ø) pendant environ 8 secondes. « Off » ([Arrêt]) sera affiché :

Tout en maintenant le bouton Minuterie sur le symbole horloge (Ø), tournez le bouton Réglage en sens horaire jusqu'à ce que le symbole clé (Ø) soit remplacé par l'affichage de « On » ([Marche]). Relâchez les boutons.

Après quelques secondes, l'heure est de nouveau affichée :

Le four cuit peut être à présent utilisé normalement.
Conseils pour la cuisson avec minuterie
Si vous désirez cuire plusieurs plats simultanément, CHOISSEZ des plats nécessitant approximativement le même temps de cuisson. Cependant, la cuisson de certains plats peut être légèrement « ralentie » en utilisant des petits plats de cuisson et en les recouvrant d'une feuille de papier aluminium, ou « accélérée » en utilisant de plus petites quantités ou des plats de cuisson plus grands.
Évitez d'utiliser des aliments rapidement périssables (poisson, porc, etc.) si vous prévoyez une longue période d'attente, surtout par temps chaud.
Ne placez pas des aliments chauds dans le four qui sera utilisé avec la fonction minuterie. N'utilisez pas un four déjà chaud avec la fonction minuterie. N'utilisez pas la fonction minuterie avec un four si le four adjacent est déjà chaud.
Décongelez complètement les volailles entières avant de les mettre au four. Assurez-vous que les viandes et volailles sont bien cuites avant de les servir.
Guide pour la cuisson au four
Les températures du four et les temps de cuisson indiqués dans le tableau ci-contre sont fournis uniquement à titre indicatif. En fonction des goûts individuels, les températures devront peut-être être modifiées pour obtenir les résultats que vous recherchez.
Lors de la cuisson dans le four ventilé, utilisez les temps de cuisson minimum indiqués dans le tableau. Dans un four ventilé, les plats sont cuits à une température plus BASSE que dans un four traditionnel. Lorsque vous suivez une recette, réduisez la température indiquée de 10°C et le temps de cuisson de 5 à 10 minutes. La température dans un four ventilé ne varie pas selon la position dans le four - vous pouvez donc utiliser n'importe quelle grille.
Si vous utilisez plusieurs grilles, laissez toujours au minimum un espace de glissière entre chaque grille. Placez les plaques de cuisson, les moules à gâteaux individuels et les plats à cuire au centre de la grille. Pour obtenir les meilleurs résultats possibles, préchauffez le four jusqu'à l'extinction du voyant du four.
| Aliment | Four conventionnel (four gauche) | Four ventilé (four droit) | ||
| Température | Position grille | Température | Temps de cuisson approximatif | |
| POISSON | 190°C | 3 | 180°C | Filets 15-20 minutes |
| 190°C | 3 | 180°C | Morceau entier 10 minutes/500 g + 10 minutes | |
| 190°C | 3 | 180°C | Steaks selon l'épaissur | |
| VIANDES ROTIES | ||||
| Bœuf non désossé | 160°C | 2-3 | 150°C | 20-25 minutes/500g + 20-25 minutes |
| 200°C | 2-3 | 190°C | 15-20 minutes/500g + 15-20 minutes | |
| Bœuf désossé | 160°C | 2-3 | 150°C | 30-35 minutes/500g + 30-35 minutes |
| 200°C | 2-3 | 190°C | 20-25 minutes/500g + 20-25 minutes | |
| Agneau | 160°C | 2-3 | 170°C | 30-35 minutes/500g + 30-35 minutes |
| 200°C | 2-3 | 190°C | 25-35 minutes/500g + 25-30 minutes | |
| Porc | 160°C | 2-3 | 150°C | 35-40 minutes/500g + 35-40 minutes |
| 200°C | 2-3 | 190°C | 25-30 minutes/500g + 25-30 minutes | |
Farci et roulé - Ajoutez approximativement 10 minutes/500g aux temps de cuisson ci-dessus ou faites cuire à 200°C pendant 20 minutes, puis à 160°C pendant le reste de la cuisson.
AVANT LA CUISSON, DECONGELEZ COMPLETEMENT LES ROTIS ET VOLAILLLES CONGELES. VOLAILLE
| Poulet et Dinde | 160°C | 2-3 | 150°C | 20-25 minutes/500g + 20-25 minutes |
| 200°C | 2-3 | 190°C | 15-20 minutes/500g + 15-20 minutes | |
| Volatile farcie - Cuisson à 200°C ou à 200°C pendant 20 minutes, puis à 160°C pendant le reste de la cuisson. Préemballée (fraîche ou congelée) : Suivre les temps de cuisson indiqués sur l'emballage.. | ||||
| PLAT BRAISÉ | 140-150°C | 2-3 | 140°C | 2-4 heures selon la recette |
| GATEAUX | ||||
| Cake 100% fruits confits | 140°C | 2 | 140°C | 45-50 minutes/500g de pâte |
| Cake aux fruits confits (180 mm) | 150°C | 2 | 145°C | 2½- 3 heures. |
| PATISSERIE | ||||
| Tourte aux fruits | 200°C | 2 & 4 | 190°C | 35-40 minutes |
| Tartelettes | 200°C | 4 | 190°C | 15-20 minutes selon la taille. |
| Pâté feuilletée | 220°C | 2, 3 ou 4 | 200°C | 20-40 minutes selon la taille. |
| PAIN | 220°C | 2 & 4 | 200°C | 20-30 minutes |
Conseils généraux pour la cuisson au four
Veillez à ce que les grilles soient toujours insérées à fond dans le four.
Placez les plaques de cuisson, plats à rôtir, etc., à niveau, au centre des grilles du four. Éloignez les plaques et les plats de cuisson des bords du four, afin de ne pas trop dorer les aliments.
Pour dorer un plat uniformément, il est recommandé d'utiliser une plaque de cuisson de dimensions maximales de 340 mm x 340 mm pour le four gauche (four principal) et de 230 mm x 320 mm pour le four droit (four haut).
Laissez toujours un « doigt de largeur » entre des plats placés sur une grille de four. Ceci afin de faciliter la circulation de chaleur autour des plats.
Les panneaux internes autonettoyants (voir « Nettoyage de la cuisine ») sont plus efficaces lorsqu'on évite les projections grasses. Couvrez la viande pendant la cuisson.
Pour réduire les projections grasses lorsque vous ajoutez des légumes dans la graisse chaude autour d'un roti, séchez soigneusement les légumes ou enduisez-les d'un peu d'huile à friture.
Si vous souhaitez dorer un fond de tarte, préchauffez une plaque de cuisson pendant 15 minutes avant de placer le plat au centre de la plaque.
Placez les plats susceptibles de bouillir et déborder pendant la cuisson sur une plaque de cuisson.
Grilles de four
Outre la grille plate, la cuisinière est fournie avec une grille surbaissée, qui augmente les possibilités d'espacement entre les grilles de four :
A- Vue d'en haut, B- Vue de côté, C- Garde d'étagère, D- Avant
Le protège-grille doit être à l'arrière, et pointer vers le haut :
A - Étagère plate, B - Étagère de baisse
Les grilles de four s'insèrent et s'extraient facilement :
Tirez la grille vers l'avant jusqu'à ce que l'arrière de la grille soit arrêté par les butées d'arrêt latérales du four.

Soulevez l'avant de la grille pour faire passer l'arrière de la grille sous la butée d'arrêt, puis tirez la grille vers l'avant :

Pour remettre la grille en place, mettez la grille à niveau avec une glissière latérale du four, puis insérez la grille à fond jusqu'à ce que les extrémités soient en contact avec la butée d'arrêt de la grille. Soulevez l'avant de la grille pour que les extrémités dépassent les butées, puis abaissez l'avant pour permettre la grille à l'horizontal, avant de l'insérer à fond:

Le Handyrack peut supporter un poids maximum de 5,5 kg. Il ne doit être utilisé qu'avec le plat à rôtir fourni, qui est spécialement conçu pour être utilisé avec le Handyrack. Tout autre récipient de cuisson risque d'être instable.
D'autres plats à rôtir sont disponibles dans notre gamme d'ustensiles de cuisine – Référence de pièce RM027.

Le Handyrack se monte uniquement sur la porte du four gauche. Il est facile de surveiller les aliments, ainsi car vous pouvez y accéder lorsque la porte est ouverte.
Vous pouvez le monter sur deux positions. Retirez une des grilles et placez l'autre selon les besoins.
Lorsque le Handyrack est utilisé sur sa position supérieure, d'autres plats peuvent être cuits sur une grille placée à la position inférieure ou placée directement sur la sole du four.
Lorsque le Handyrack est utilisé sur sa position inférieure, d'autres plats peuvent être cuits directement sur la sole du four.
Pour monter le Handyrack, placez un côté sur le support de la porte :

Extraire l'autre côté pour l'accrocher sur l'autre support :

Éclairage d'un four
Appuyez sur le bouton approprié pour allumer l'éclairage du four.

Si l'éclairage est défectueux, mettez la cuisinière hors tension avant de changer l'ampoule. Pour des informations détaillées sur la façon de changer une ampoule de four, reportez-vous à la section « Dépannage ».
Élément gratineur
L'élément gratineur est situé dans la partie supérieure du four gauche. Il peut être utilisé après la cuisson normale pour gratiner davantage un gratin ou dorer une viande.
Lorsque la cuisson normale est terminée, tournez le bouton de thermostat du four gauche en sens horaire pour le mettre sur la position de gratinage, indiquée par ( ) sur le panneau de commande. Lorsque le bouton de thermostat est sur cette position, seul l'élément gratineur fonctionnera. Les éléments chauffants supérieurs et inférieurs s'arrêtent automatiquement.
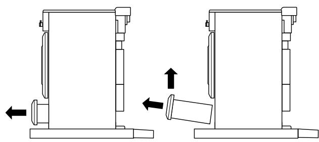
Rangement

Le tiroir inférieur permet le rangement des plaques de cuisson et autres ustensiles de cuisine. Il peut devenir très chaud; n'y rangez pas des objets susceptibles de fondre ou de s'enflammer. Pour retirer le tiroir, ouvrez-le complètement et tirez vers le haut :

Informations importantes
Avant un nettoyage complet, mettez la cuisinière hors tension. Laissez-la ensuite refroidir.
N'utilise jamais de solvants pour peinture, de cristaux de soude, de nettoyants caustiques, de poudres biologiques, d'eau de Javel, de nettoyants chlorés, ni de produits abrasifs à gros grain ou de sel. Ne mélangez pas plusieurs produits nettoyants, car ils risquent de réagir entre eux et d'avoir des effets nocifs.
Toutes les parties de la cuisine ne peuvent être lavées à l'eau savonneuse chaude, mais veillez à prévenir toute infiltration d'eau dans l'appareil.
N'oubliez pas de remettre sous tension et de régler de nouveau l'horloge avant d'utiliser la cuisinière.
Nous avons développé une gamme de produits nettoyants qui permettent d'obtenir des résultats optimaux sans abimer les surfaces émaillées et peintes. Des informations complémentaires figurent dans la brochure Collection Ustensiles de cuisine [Cookware Collection] fournie avec votre cuisinière ou sur notre site Internet www.rangemaster.co.uk.
Brûleurs de table de cuisson
Certains modèles ont un anneau de garniture séparé qui se place sur la tête du brûleur.
Les têtes et chapeaux de brûleurs sont démontables pour faciliter le nettoyage. Vérifiez qu'ils sont complètement secs avant de les remettre en place.
Brûleurs mono-élément
Lors de la remise en place de la tête du brûleur, assurez-vous que l'encoche est en face de l'électrode ou du trou sur le socle. Vérifiez que la tête du brûleur est à niveau et que le chapeau est bien centré sur la tête du brûleur.
A-Chapeau, B-Tête, C-Encoche, D-Électrode, E-Socle
Brûleur de wok
Le brûleur de Wok est un peu plus complexe mais est aussi démontable à des fins de nettoyage.
Brûleur de Wok A - Chapeau de brûleur interne, B - Chapeau de brûleur externe, C - Tête de brûleur interne, D - Tête de brûleur externe, E - Socle de brûleur de Wok
Lors du remontage des éléments du brûleur de Wok, retournez l'anneau de garniture et repérez la partie en forme de « D »:

Tournez la tête jusqu'à ce que le « D » corresponde à celui situé sur le socle du brûleur. Retournez la tête et placez-la sur le socle du brûleur.
Pour monter le petit brûleur interne, repérez la grande encoche d'électrode sur le bord du brûleur. Alignez-la sur l'électrode d'allumage blanche et placez le brûleur interne sur le grand anneau du socle.
A - Encoche, B - Électrode d'allumage
Montez les deux chapeaux de brûleur, en vérifiant qu'ils sont placés correctement.
Support spécial de wok
Il est recommandé d'utiliser de l'eau savonneuse chaude, un tampon recouvrant savonneux humide, un produit de nettoyage semi-liquide ou un tampon recouvrant en nylon pour le nettoyage.
Gril coulissant
Lavez la lèchefrite et la grille à l'eau savonneuse chaude. Après les grillades de viandes ou d'aliments salissants, faites tremper dans l'évier pendant quelques minutes, immédiatement après la cuisson. Les taches tenaces sur la grille peuvent être enlevées à l'aide d'une brosse en nylon. La lèchefrite peut aussi être lavée au lave-vaisselle.
Avant de démonter des composants du gril pour les nettoyer, assurez-vous qu'ils ont refroidi ou protégez-vous avec des gants isolants.
Procédez comme suit pour retirer la lèchefrite à des fins de nettoyage:
Pour retirer le support de la lèchefrite, tirez la lèchefrite vers l'avant:

Soulevez la lèchefrite du support. Le support est maintenu sur les glissières latérales par deux clips de chaque côté :

Pour chaque côté, soutenez la glissière latérale d'une main et, de l'autre, soulevez le support pour le dégager des clips latéraux :

Par sécurité, repoussez les glissières latérales dans l'enceinte du grill.
Pour faciliter le nettoyage de l'enceinte du grill, vous pouvez retirer les glissières latérales en les décrochant des côtés de l'enceinte et essuyer les côtés avec un chiffon doux imbibé de détergent doux.

N'utilisez pas de produit abrasif.
NE LAVEZ PAS les glissières latérales au lave-vaissette.
Après nettoyage, raccrochez les glissières latérales sur les côtés de l'enceinte du gril. Pour remonter le support, tirez les glissières latérales vers l'avant, et, pour chaque côté, soutenez la glissière et appuyez sur le support pour le réinsérer dans les glissières. Replacez la lèchefrite.
Lors de la remise en place de la lèchefrite, assurez-vous que le bord large est à l'avant :

Panneau de commande et portes
N'utilise pas des produits nettoyants abrasifs, y compris des produits nettoyants semi-liquides, sur les surfaces en acier inoxydable brossé. Les meilleurs résultats s'obtiennent avec des détergents liquides.
Le panneau et les boutons de commande doivent être nettoyés uniquement avec un chiffon doux imbibé d'eau savonnée chaude. Après nettoyage, lustrez à l'aide d'un chiffon sec.
Fours
Les fours sont dotés de panneaux amovibles à revêtement émaillé qui sont partiellement autonettoyants. Ceci n'empêche pas complètement la formation de taches sur le revêtement, mais réduit le nettoyage manuel nécessaire.
Le nettoyage automatique des panneaux est plus efficace à une température supérieure à 200°C. Si, en général, vous utilisez le four à des températures inférieures, retirez occasionnellement les panneaux et essuyez-les avec un chiffon non pelucheux imbibé d'eau savonneuse chaude. Séchez et replacez les panneaux dans le four chauffé à 200°C pendant environ une heure. Ceci assurera un bon fonctionnement des panneaux autonettoyants. N'utilisez pas de paille de fer ou tout autre matériel susceptible de rayer la surface.
Dépose des panneaux internes du four principal
Certains panneaux internes de four sont amovibles afin de permettre leur nettoyage. Retirez d'abord les grilles du four.
Chaque panneau latéral est maintenu en place par quatre vis de fixation. Les panneaux peuvent être retirés sans avoir à enlever les vis. Soulevez chaque panneau latéral pour le décrocher des vis. Tirez-le ensuite vers l'avant :
Après retrait des panneaux internes, vous pouvez nettoyer l'intérieur émaillé du four.
Le ventilateur du four est bruyant.
Le bruit du ventilateur peut changer pendant le chauffage du four - ceci est tout à fait normal.
Le gril ne cuit pas correctement.
Utilisez-vous la lèchefrite et la grille fournies avec la cuisinière ? Utilisez-vous la lèchefrite sur les glissières et non pas directement sur la surface inférieure de l’enceinte du grill ? La lèchefrite est-elle insérée à fond jusqu’à la butée arrête ?
Ceci est dû à la chaleur provenant du four ou du grill. Ne laissez pas la porte du four ouverte. Lorsque vous utilisez le grill, assurez-vous que la lèchefrite du grill est bien insérée jusqu'à la butée arrête. Laissez toujours la porte de l'enceinte du grill ouverte pendant l'utilisation du grill.
En cas de problème concernant l'installation, si mon installateur d'origine ne peut pas venir résoudre le problème, à qui incombent les frais ?
C'est à vous qu'incombent ces frais. Les sociétés d'entretien factureront leurs interventions si elles réparent une installation effectuée par votre installateur d'origine. Il est de votre intérêt de contacter votre installateur d'origine.
Panne courant.
En cas de panne de courant, n'oubliez pas de régler de nouveau l'horloge pour permettre le fonctionnement automatique du four.
Les alimentés cièsent trop lentement, trop rapidement, ou brûlent.
Les temps de cuisson peuvent être différents de ceux de votre ancien four. Vérifiez que vous utilisez les températures et positions de grilles de four commandées. Ajustez ensuite les réglages en fonction de vos goûts individuels.
La cuisson au four n'est pas uniforme.
N'utilise pas de plat ou de plaque de cuisson de dimensions supérieures à celles indiquées dans la section « Conseils généraux pour la cuisson au four »
Dans le cas d'un grand plat, vous devrez peut-être le tourner pendant la cuisson. Si vous utilisez deux grilles, vérifiez qu'il y a assez de place pour permettre à la chaleur de circuler. Lorsque vous insérerez une plaque de cuisson dans le four, veillez à la placer au centre de la grille.
Vérifiez que le joint d'étanchéité de la porte n'est pas endommagé et que le loquet de porte est réglé de façon à ce que la porte soit bien appuyée contre le joint.
Un récipient d'eau placé sur la grille doit avoir une profondeur uniforme. (S'il est plus profond à l'arrière, par exemple, l'arête de la cuisinière doit être levé ou l'avant de la cuisinière abaissé). Si la cuisinière n'est pas à niveau, demandez à votre fournisseur de la détente à niveau.
Le four ne s'allume pas lorsqu'il est mis en marche manuellement.
L'appareil est-il sous tension ? L'horloge est-elle éclairée ? Si ce n'est pas le cas, l'alimentation électrique est peut-être défectueuse. Le sectionneur de l'alimentation électrique de la cuisine est sur la position Marche ?
L'heure a-t-elle été réglée ? Le symbole clé () s'affiche-t-il pour indiquer le verrouillage du four ? Reportez-vous à la section « Horloge » des présentes instructions pour un complément d'informations sur la fonction de verrouillage.
Le four ne s'allume pas avec la mise en marche automatique.
Le bouton de commande du four a-t-il été laissé par erreur sur ARRET (OFF)? Le four est-il verrouillé (voir ci-dessus)?
Si le fait de mettre le bouton de réglage sur une température inférieure n'a pas eu d'effet ou a eu un effet temporaire, vous devrez peut-être remplacer le thermostat. Cette intervention doit être effectuée par un spécialiste de l'entretien.
L'éclairage du four ne fonctionne pas.
L'ampoule a probablement grillé. Vous pouvez acheter une ampoule de rechange (non couverte par la garantie) dans un magasin d'accessoires électriques. Demandez une ampoule à culot vissable Edison 15W 240V, POUR FOURS. Cette ampoule doit pouvoir résister à une température de 300°C. Veuillez vous reporter à la brochure « Conseils à la clientèle » pour vous procurer des pièces de rechange par correspondance.

Avant de retirer l'ampoule usagée, mettez la cuisinière hors tension et assurez-vous que le four a refroidi. Ouvrez la porte du four et retirez les grilles du four.
Dévissez l'ampoule en tournant en sens antihoraire (il peut être très difficile à dévisser):

Dévissez l'ampoule en tournant en sens antihoraire, en vous protégeant les mains avec un gant pour ne pas vous blesser.

Vissez l'ampoule de rechange, puis revissez le couvercle de l'ampoule. Remettez l'appareil sous tension et contrôlez le fonctionnement de l'éclairage.
Défaillance de l'allumage ou des brûleurs de la table de cuisson.
L'appareil est-il sous tension ? L'horloge est-elle éclairée ? Si ce n'est pas le cas, l'alimentation électrique est peut-être défectueuse.
Les encoches du générateur d'étincelles (électrode d'allumage) ou du brûleur sont-elles obstruées par des débris?
Les anneaux de garniture et les chapeaux des brûleurs sont-ils placés correctement (voir la section « Nettoyage de la cuisine »)?
Les brûleurs de la table de cuisson ne s'allument pas.
Assurez-vous que les éléments du brûleur ont été replacés correctement après avoir été essuyés ou retirées pour nettoyage.
Vérifiez que l'alimentation en gaz n'est pas défectueuse. Pour ce faire, vérifiez le fonctionnement de vos autres appareils à gaz.
Les brûleurs produisent-ils une étincelle lorsque vous appuyez sur le bouton ? Si ce n'est pas le cas, vérifiez que la cuisinière est sous tension – l'horloge est-elle éclairée ?
Installation
Une fois le travail terminé, vérifie que les alimentations de gaz et d'électricité sont correctement rebranchées.
Installation
Avant de commencer l'installation, veuillez remplir la fiche ci-dessous. Ceci permettra à votre client de vous contacter facilement en cas de problème relatif à l'installation.
Respectez les prescriptions et réglementations de sécurité ci-dessous :
Avant l'installation, vérifie que les conditions de distribution locales (type et pression de gaz) et le réglage de l'appareil sont compatibles.
Lisez les instructions avant d'installer ou d'utiliser cet appareil.
Dans votre intérêt et par souci de sécurité, légalement, tous les appareils à gaz doivent être installés par des personnes compétentes. Une installation incorrecte n’engage ni la responsabilité, ni la garantie du fabricant, et peut donner lieu à des poursuites.
La cuisinière doit être installée conformément aux Réglementations Construction/IEE en vigueur.
Ventilation
Cet appareil n'est pas raccordé à un dispositif d'évacuation des produits de combustion. Prêtez particulièrement attention à la réglementation en vigueur concernant la ventilation.
Emplacement de la cuisinière
La cuisinière peut être installée dans une cuisine/un salon-cuisine, mais PAS dans une pièce contenant une baignoire ou une douche.

Cet appareil ne doit pas être installé dans un bateau ou une caravane.
Remarque:
Un appareil utilisable avec du gaz de pétrole liquéfié (GPL) ne doit pas être installé dans une pièce ou un espace intérieur souterrain, par exemple dans un sous-sol.
Modification
Tous les modèles fournis sont régés pour une utilisation avec gaz naturel groupe H. Un kit de modification permettant l'utilisation de gaz de pétrole liquéfié (GPL) est fourni avec l'appareil. Reportez-vous aux instructions fournies avec le kit de modification. Après modification de l'appareil, veuillez apposer l'étiquette de modification sur la partie appropriée du badge technique, pour permettre d'identifier le type de gaz utilisé pour l'installation de la cuisinière.
Cet appareil est conçu uniquement pour un usage domestique. Toute autre utilisation n'engage ni la responsabilité, ni la garantie du fabricant.
L'installation de la cuisinière nécessitera l'emploi du matériel indiqué ci-dessous :
Dispositif stabilisateur
Un dispositif stabilisateur (équerre ou chaîne) doit être monté sur la cuisinière si celle-ci est alimentée en gaz par le biais d'un tuyau flexible.

Ce dispositif stabilisateur n'est pas fourni avec l'appareil mais est en vente dans la plupart des magasins de bricolage.

TUYAU flexible de gaz
Doit être conforme aux normes appropriées.

(pour les contrôles électriques)

Installation
Une fois le travail terminé, vérifie que les alimentations de gaz et d'électricité sont correctement rebranchées.
Vous aurez aussi besoin des outils suivants :
- Perceuse électrique
- Foret à maçonnerie (nécessaire seulement pour montage sur sol en pierre ou en béton)
- Chevilles Rawlplugs (nécessaires seulement pour montage sur sol en pierre ou en béton)
- Metre en acier
- Tournevis cruciforme
- Tournevis à lame plate
- Clés hexagonales 4 mm et 3 mm
- Niveau à bulle
- Crayon
- Clé régliable
- Vis pour le montage de l'équerre stabilisatrice
Vérification des pièces
| 4 grilles de table de cuisson | Outil de mise à niveau et clés hexagonales |
| L'échefrite et grille | 3 grilles de four plate et 1 grille surbaissée |
| Handyrack | Plat à rôtir |
| Plinthe | Plaque à grillier |
| Support spécial de Wok |
Positionnement de la cuisinière
Les schémas indiquent les cotes minimales recommandées entre la cuisineire et les surfaces adjacentes.
Ne placez pas la cuisinière sur un support.

Le pourtour de la table de cuisson doit être au niveau ou au-dessus de tout plan de travail adjacent. Laissez un espace de 75 mm au-dessus du niveau de la table de cuisson entre chaque côté de la cuisinière et toute surface verticale adjacente.
Pour les surfaces non combustibles (telles que le métal non poreux ou les carrelages), cette cote peut être de 25 mm.
Laissez un espace de 650 mm au minimum entre la partie supérieure de la table de cuisson et une surface horizontalement combustible.

- Toute hotte de cuisine doit être installée conformément aux instructions du fabricant de hotte.
Les surfaces des meubles et des murs de chaque côté et à l'arrière de l'appareil doivent être résistantes à la chaleur, aux éclaboussures et à la vapeur. Certains types de meubles de cuisine en vinyle ou en stratifié sont particulièrement susceptibles aux risques de dommages thermiques et de décoloration. Nous déclinons toute responsabilité pour des dommages résultant d'une utilisation normale de la cuisinière et subis par des matériaux qui se décollent ou se décolorent à des températures de moins de 65°C au-dessus de la températureambiante.
Nous recommandons de laisser un espace de 1110 mm entre les unités pour permettre le déplacement de la cuisinière. La cuisinière ne doit pas être encastrée. Elle doit pouvoir être déplacée vers l'avant et vers l'arrière pour le nettoyage.
Installation
Une fois le travail terminé, vérifie que les alimentations de gaz et d'électricité sont correctement rebranchées.
et l'entretien. Si la cuisine est près d'un coin de la cuisine, un dégagement de 130 mm est nécessaire pour permettre l'ouverture des portes de jours. La cote d'ouverture des portes est légèrement inférieure à ce dégagement, mais ici inclut une marge de sécurité pour la protection des mains lors de l'ouverture de la porte.

Déballage de la cuisinière
N'enlevez aucun emballage de la cuisinière tant que celle-ci n'est pas directement en face de l'emplacement où elle sera installée (sauf si, dans son emballage externe, la cuisinière ne peut pas passer par une porte). Coupez les courroies d'emballage et ôtez le carton recouvrant la cuisinière, mais laissez la cuisinière sur le plateau d'emballage. Reportez-vous à la feuille d'instructions de déballage fournie.
Déplacement de la cuisinière
N'essayez jamais de déplacer la cuisinière lorsque celle-ci est sous tension.
La cuisinière est très lourde ; faites très attention. Nous recommandons de faire appel à deux personnes pour déplacer la cuisinière. Assurez-vous que le revêtement du sol est solidement fixé en place ou retirez-le afin de ne pas l'abimer en déplaçant la cuisinière.
Deux galets arrêté de mise à niveau, un galet avant de mise à niveau et deux supports avant vissables facilitent le déplacement de la cuisinière. Vous devrez utiliser l'outil de mise à niveau.
Depuis l'arrière, inclinez la cuisinière vers l'avant et retirez la partie arrière du socle d'emballage en polystyrène :


Répétez cette procédure à l'avant et retirez la partie avant du socle. Tirez le tiroir jusqu'à la butée :

Insérez l'outil de mise à niveau sur le dispositif de réglage rectangulaire comme illustré ci-dessous :

ABAISSEZ LE GALET AVANT en effectuant 14 tours complets (360^) en sens horaire. (Tournez et retirez l'outil de mise à niveau 56 fois).
ABAISSEZ LES DEUX GALETS ARRIERE. Insérez d'abord l'outil de mise à niveau dans l'écrou de réglage hexagonal comme illustré ci-dessous:

Effectuez 10 tours complets (360^) en sens inverse. (Tournez et retirez l'outil de mise à niveau 20 fois):

Installation
Une fois le travail terminé, vérifie que les alimentations de gaz et d'électricité sont correctement rebranchées.
Veillez à abaisser les DEUX GALETS ARRIERE. Il y a deux écrous de réglage, un pour chaque galet, aux coins avant inférieurs de la cuisine.
Dépliez le bord arrêté du plateau d'emballage. Poussez la cuisinière vers l'arrière avec précaution pour la dégager de son socle d'emballage. Poussez la cuisinière près de sa position finale, en laissant juste assez de place pour pouvoir avoir accès à l'arrière.

Modification GPL
Si vous souhaitez modifier l'appareil en vue de l'utilisation d'un gaz de pétrole liquéfié, effectuez la modification à ce stade. Reportez-vous à la section sur la modification dans les générées instructions.
Mise à niveau
Nous vous recommandons d'utiliser un niveau à bulle placé sur l'une des grilles du four pour vérifier le niveau.
Placez la cuisinière à l'emplacement prévu pour son installation, en veillant à ne pas exercer de force de torsion lorsque vous l'insérez entre les éléments de cuisine, pour ne pas l'endommager ou endommager les éléments.
Les galets réglables permettent la mise à niveau de la cuisinière. Pour régler la hauteur de l'arrière de la cuisinière, utilisez l'outil de mise à niveau fourni pour tourner les écrous de réglage aux coins avant inférieurs de l'appareil.
Réglez la hauteur du galet avant pour permettre la cuisinière à niveau. Tournez en sens horaire pour lever la cuisinière et en sens antihoraire pour l'abaisser.
Lorsque la hauteur et le niveau sont corrects, levez l'avant de la cuisinière d'un tour du dispositif de réglage du galet avant. Dévissez les supports avant jusqu'à ce qu'ils touchent le sol. Vissez le dispositif de réglage du galet avant en sens antihoraire pour remonter le galet avant, de sorte que l'avant de la cuisinière repose sur les supports, et non pas sur le galet avant, afin de prévenir tout mouvement accidentel de la cuisinière.
Laissez l'outil de mise à niveau sur le dispositif de réglage avec la poignée tournée vers l'arrière de la cuisinière, pour que le client puisse l'utiliser, s'il le désire, pour déplacer l'appareil.
Replacez le tiroir après l'avoir inséré sur les glissières latérales.
Montage d'un dispositif stabilisateur
Montez une équerre ou une chaîne stabilisatrice (non fournie avec la cuisinière) sur la cuisinière si celle-ci est raccordée à un tuyau flexible d'alimentation en gaz.
Avant le montage d'un dispositif stabilisateur, lisez les générales instructions ainsi que les instructions de montage fournies avec le dispositif.
A-Mise à niveau des rouleaux, B-Mise à niveau pièces, C-Visage mur, D-Ligne de crayon sur le plancher

- Placez la cuisinière à l'emplacement prévu et mettez-la à niveau.
- Tracez une ligne au crayon à 100 mm du bord avant des supports de mise à niveau.
- Tracez l'axe pour l'équerre à 550 mm du côté gauche de la cuisine.
- Abaissez le galet avant et déplacez la cuisine vers l'avant.
- À partir de la ligne au crayon, mesurez 500 mm vers l'arrière pour indiquer le bord avant de l'équerre. Placez l'équerre de sorte qu'elle soit éloignée de l'axe de la cuisinière pour réduire le risque d'entravement du câble électrique ou du tuyau de gaz. Attachez l'équerre au sol.
- Mesurez la hauteur entre le niveau du sol et le bord de prise à l'arrière de la cuisinière. Ajoutez 3 mm à cette cote et montez l'équerre stabilisatrice à cette hauteur (entre le niveau du sol et le revers du membre supérieur), et vérifiez que l'équerre ne gène pas le brûleur du four.
Installation
Une fois le travail terminé, vérifie que les alimentations de gaz et d'électricité sont correctement rebranchées.
Raccordement de l'alimentation en gaz
Doit être conforme aux normes appropriées.
La cuisinière n'est pas fournie avec un tuyau flexible ; les tuyaux flexibles sont disponibles dans la plupart des magasins de matériaux et de bricolage.
L'alimentation en gaz domestique doit être terminée par un raccord bayonnette orienté vers le bas. Les boîtiers arrêté de la cuisinière limitent la position du point d'alimentation.
A - admission de gaz de l'appareil, B - emplacement du raccord d'alimentation en gaz - un raccordement latéral est aussi possible.
Il est difficile de donner des cotes précises, étant donné que la hauteur de la cuisinière est réglable et que chaque raccordement est différent. Idéalement, le raccord baionnette d'alimentation domestique doit être situé dans la partie ombrée indiquée sur le schéma. Vous pouvez utiliser un tuyau flexible de 900 mm, mais un tuyau de 1250 mm offre plus de flexibilité quant au positionnement du raccord baionnette et facilite le déplacement de la cuisinière. Montez le tuyau de façon à ce que les raccords d'admission et de sortie soient verticaux et que le tuyau pendente en forme de «U».
Le raccord de l'appareil est installé juste au-dessous du niveau de la table de cuisson, à l'arrière de la cuisinière (voir au-dessous).
Dans le cas d'une alimentation en gaz naturel, le tuyau flexible doit être conforme à la norme BS 669. - Dans le cas d'une alimentation GPL, le tuyau doit pouvoir résister à une pression de 50 mbar, une augmentation de température de 70° C et porter une étiquette, un collet ou une bande rouge.
En cas de doute, contactez votre fournisseur.
Vissez l'extrémité filtre du tuyau flexible dans l'admission de gaz au revers du bloc de connexion à l'arrête de la cuisinière.
Lorsque le raccordement est terminé, effectuez un essai de pression pour contrôler l'étanchéité de la cuisine.
Essai de pression
La pression de gaz peut être mesurée au niveau de l'injecteur de l'un des brûleurs centraux de la table de cuisson (non pas au niveau du brûleur de Wok). Retirez la tête d'un des brûleurs. Montez le manomètre sur le gicleur. Mettez en marche un des autres brûleurs de la table de cuisson. Tournez et appuyez sur le bouton de commande du brûleur avec manomètre, pour permettre l'arrivée du gaz.
Pressions
| Gaz naturel | Cuisinières GPL | |
| 20 mbars | Butane | 29 mbars |
| Propane | 37 mbars | |
Eteignez les brûleurs. Replacez le chapeau du brûleur, en veillant à le remonter correctement sur le corps du brûleur.
Installation
Une fois le travail terminé, vérifie que les alimentations de gaz et d'électricité sont correctement rebranchées.
Raccordement électrique
Cet appareil doit être installé par un électricien qualifié, conformément à la réglementation I.E.E. en vigueur et aux prescriptions de la Compagnie d'électricité locale.

Mise en GARDE : cet appareil DOIT etre MIS a la TERRE.
Remarque: La cuisinière doit être raccordée à l'alimentation électrique correcte, indiquée sur l'étiquette de tension sur l'appareil, par le biais d'une unité de commande de cuisinière appropriée à interrupteur bipolaire (avec une séparation de contact de 3 mm au minimum entre les pôles).
Cette cuisinière ne doit pas être raccordée à une prise d'alimentation domestique ordinaire.
Alimentation monophasée
Alimentation triphasée
Pour accéder au bornier d'alimentation secteur, retirez le boîtier électrique sur le panneau arrière. Raccordez le câble d'alimentation secteur aux bornes correctes pour votre type d'alimentation électrique. Vérifiez que les connecteurs sont montés correctement et que les vis des bornes sont bien serrées. Fixez le câble d'alimentation secteur à l'aide du serre-câble.
Contrôle de la table de cuisson
Contrôlez le fonctionnement de chaque brûleur (voir la section "Brûleurs de table de cuisson" au début des instructions).
Contrôle des fours
Réglez l'horloge conformément aux instructions données précédemment, et allumez les jours. Vérifiez que le ventilateur du four croit se mettre en marche et que le four gauche commence à chauffer. Éteignez les jours.
Montage de la plinthe
Dévissez les trois vis le long du bord inférieur avant de la cuisine. Insérez l'encoche centrale en forme de trou de serrer sur la vis centrale. Tournez et insérez les encoches d'extrémités en trou de serrer sur leurs vis respectives. Serrez les vis de fixation.

Conseils à la clientèle
Veuillez indiquer vos coordonnées au début de cette section. Veuillez indiquer au client comment faire fonctionner la cuisinière et lui remettre les générees instructions.
Modification gaz de pétrole liquéfié GPL
Vérifiez sur la Fiche technique au verso de la présente brochure si la cuisinière peut être modifiée pour pouvoir utiliser le gaz de votre choix.
Cette modification doit être effectuée par une personne compétente, conformément aux présentes instructions et aux prescriptions de la compagnie de gaz locale.
Une modification incorrecte n'engage ni la responsabilité, ni la garantie du fabricant, et peut donner lieu à des poursuites.
Les générales instructions doivent être utilisées en conjonction avec les autres instructions relatives à cet appareil, en particulier en ce qui concerne les informations sur les normes, le positionnement de la cuisinière, le choix des tuyaux de raccordement appropriés, etc.
Lors de l'entretien ou du remplacement de composants d'alimentation en gaz, débranchez le gaz avant le début de l'intervention et, au terme de celle-ci, effectuez les contrôles de sécurité nécessaires pour les appareils à gaz.
N'utilise pas de commandes de gaz remises à neuf ou non autorisées.
Débranchez l'appareil avant toute intervention d'entretien. Avant de rebrancher l'alimentation électrique, effectuez les contrôles de sécurité nécessaires.
Injecteurs
Bruleur standard
Brûleur wok A - Gicleur, B - Injecteur interne, C - Injecteur externe
Retirez les chapeaux et les têtes des brûleurs. Retirez les anciens gicleurs. Montez les nouveaux gicleurs (les gicleurs corrects sont indiqués sur la Fiche technique au verso de la présente brochure). Remontez en procédant dans l'ordre inverse.
Réglage du robinet de commande
Débranche l'appareil de l'alimentation électrique.
Retirez tous les boutons de commande.
Ouvrez la porte du grille-pain et du four et retirez les quatre vis de fixation au-dessous du panneau de commande.
Le panneau de commande devrait s'abaisser légèrement. Il est maintenu sur la partie supérieure par deux trous, un à chaque extrémité, qui s'insèrent sur des languettes situées sur
le panneau interne.
Décrochez le panneau de commande du panneau interne et tirez-le vers l'avant :



Veillez à ne pas endommager ou trop tirer les câbles.
Modification en vue de l'utilisation d'autres gaz
A - Vis de dérivation du robinet
Tournez la vis de dérivation sur chaque commande en sens inverse jusqu'à la butée. Remontez le panneau de commande. Réinsérez les trous du bord supérieur sur les languettes situées sur le panneau interne et revissez les vis de fixation inférieures sur le panneau de commande.
Étiquette autocollante
Apposez l'étiquette GPL sur la partie gaz naturel de l'étiquette de données techniques de l'appareil.
Essai de pression
Raccordez la cuisine à l'alimentation en gaz. Contrôlez l'étanchéité de l'appareil.
La pression de gaz peut être mesurée au niveau d'un des gicleurs de brûleur de la table de cuisson gauche. Retirez la tête d'un brûleur. Montez le manomètre sur le gicleur. Allumez le brûleur de la table de cuisson et allumez l'un des autres brûleurs.
La pression doit être de 29 millibars pour le butane, et de 37 millibars pour le propane. Après avoir vérifié la pression, fermez les robinets et remplacez la tête du brûleur.
Remplacez le chapeau du brûleur, en veillant à le remonter correctement sur le corps du brûleur.
Contrôlez l'étanchéité de l'appareil.
Contrôlez le fonctionnement de tous les brûleurs.
Entretien

AVANT TOUTE INTERVENTION D'ENTRETIEN SUR UN COMPOSANT D'ALIMENTATION EN GAZ, COUPEZ LE GAZ.
Contrôlez l'étanchéité de l'appareil une fois l'intervention d'entretien terminée. Lors des contrôles pour la détection des fuites de gaz, utilisez un produit conçu spécifiquement pour la détection des fuites.
N'utilise pas de commandes de gaz remises à neuf ou non autorisées.
Débranche l'alimentation électrique avant toute intervention d'entretien, notamment si vous devez retirer un des éléments suivants : panneau de commande, panneaux latéraux, table de cuisson ou tout composant ou boîtier électrique. Avant de débrancher l'alimentation électrique, effectuez les contrôles de sécurité nécessaires.
1 Dépose du panneau de commande
Débranchez l'appareil de l'alimentation électrique.
Retirez tous les boutons de commande.
Ouvrez la porte du grill et du four droit et retirez les quatre vis de fixation au-dessous du panneau de commande.
Le panneau de commande devrait s'abaisser légèrement. Il est maintenu sur chacun des deux bords supérieurs par deux troughs, un à chaque extrémité, qui s'insèrent sur des languettes situées sur le panneau interne.
Décrochez le panneau de commande du panneau interne et tirez-le vers l'avant :
Débranche le câblage à l'arrière.
Remontez en procédant dans l'ordre inverse. Pour rebrancher les fils électriques, reportez-vous au schéma de câblage. Contrôlez le fonctionnement de la minuterie.
2. Dépose de la table de cuisson
Débranchez l'appareil de l'alimentation électrique.
Retirez les grilles de la table de cuisson et les têtes des brûleurs. Retirez les vis de fixation des brûleurs sur la table de cuisson.
Retirez les quatre vis de fixation de la table de cuisson sur le châssis.

Tout en veillant à ne pas endommager les électrodes du brûleur, soulevez la table de cuisson avec précaution, débranchez le fil de mise à la terre (situé à l'arrière, à droite) de la traverse arrêté et retirez la table de cuisson.
Remontez en procédant dans l'ordre inverse, en veillant à rebrancher les fils. Veillez à ne pas endommager les électrodes d'allumage des brûleurs.
N'oubliez pas de rebrancher les fils de mise à la terre lors de la remise en place des vis de fixation, car ils font partie intégrante de la mise à la terre de la cuisinière.
Contrôlez le fonctionnement des brûleurs.
3. Dépose des panneaux latéraux
Débranchez l'appareil de l'alimentation électrique.
Déposez le panneau de commande – voir point 1. Tirez la cuisinière vers l'avant. Retirez les quatre vis de fixation sur chaque panneau (une à la partie avant inférieure, une à la partie avant supérieure et deux à l'arrière).
Remontez en procédant dans l'ordre inverse.
4. Remplacement du contacteur d'allumage ou de l'interrupteur d'éclairage
Débranchez l'appareil de l'alimentation électrique. Déposez le panneau de commande – voir point 1.
Remarque: L'interrupteur d'usage peut être endommagé pendant la dépose.
Retirez l'ancien interrupteur en tenant fermement le corps de l'interrupteur depuis l'arrière du panneau de commande et en tournant d'un coup sec. Pour extraire l'encadrement, repliez ses languettes de fixation et poussez-le vers l'avant. Pour monter le nouvel encadrement sur le panneau de commande, alignez d'abord la clavette saillante du corps de l'encadrement et la découpe sur le panneau de commande, puis poussez pour insérer.
Pour monter le nouvel interrupteur sur l'encadrement, alignez les parties clavétées et poussez pour insérer. Montez le nouveau bouton en le poussant depuis l'avant. Remontez en procédant dans l'ordre inverse et contrôlez le fonctionnement de l'interrupteur.
5. Remplacement de la minuterie
Débranchez l'appareil de l'alimentation électrique. Déposez le panneau de commande (voir point 1). Retirez le(s) bouton(s) de commande de la minuterie.
Retirez l'ensemble minuterie / support de montage du panneau de commande après avoir retiré les vis de fixation.
AVERTISSEMENT - INTERVENTION D'ENTRETIEN NE DEVANT ETRE EFFECTUEE QUE PAR UNE PERSONNE QUALIFIÉE Avant toute intervention d'entretien, débranchez les alimentations de gaz et d'électricité. Une fois le travail terminé, effectuez les contrôle des sécurité nécessaires.
Pour détacher la minuterie de son support de montage, appuyez sur les languettes en plastique situées sur le boîtier de la minuterie tout en tirant la minuterie vers l'avant.
Remontez en procédant dans l'ordre inverse. Pour rebrancher les fils électriques, reportez-vous au schéma de câblage.
Contrôlez le fonctionnement de la minuterie.
6. Remplacement d'un thermostat
Débranchez l'appareil de l'alimentation électrique.
Déposez le panneau de commande et la table de cuisson (voir points 1 et 2). Ouvrez la porte du four. Retirez les accessoires du four et dégagez le panneau de voute (le cas échéant).
Pour le four droit, retirez le couvercle du tube en verre du thermostat (deux vis). Dégagez le tube en verre des clips de retenue à l'arrière du four.
Pour le four gauche, tirez la cuisinière vers l'avant pour accéder au boîtier situé à l'arrière de la cuisinière. Retirez les quatre vis de fixation du boîtier et retirez celui-ci.
Pour quelconque four, sortez le tube capillaire du thermostat du four. Débranchez le câblage du thermostat. Retirez les deux vis de fixation du régulateur sur la plaque de montage. Insérez le nouveau thermostat et remontez en procédant dans l'ordre inverse. Vérifiez que le tube en verre est bien fixé à l'arrière du four, en position centrale, entre les clips de retenue.
N'oubliez pas de remonter la plaque de mise à la terre.
Contrôlez le fonctionnement du thermostat.
7. Remplacement du régulateur de grill
Débranchez l'appareil de l'alimentation électrique.
Déposez le panneau de commande et la table de cuisson (voir points 1 et 2). Débranchez le câblage du régulateur. Retirez les deux vis de fixation du régulateur sur la plaque de montage. Insérez le nouveau régulateur et remontez en procédant dans l'ordre inverse. Contrôlez le fonctionnement du régulateur.
8. Remplacement d'un robinet de la table de cuisson
Débranchez l'appareil de l'alimentation électrique.
Déposez le panneau de commande et la table de cuisson (voir points 1 et 2).
Débranchez le câble DSS à l'arrière du robinet. Défaites le raccord de compression situé à l'arrière du robinet. Retirez les fixations du robinet sur la conduite de gaz. Débranchez le câblage du contacteur d'allumage.
Retirez le robinet. Retirez le joint et mettez-le au rebut. Posez le nouveau joint sur le robinet de rechange. Remontez en procédant dans l'ordre inverse. Contrôlez l'étanchéité de l'appareil. Contrôlez l'allumage de la table de cuisson.
9. Dépose d'un injecteur de brûleur de la table de cuisson
Retirez le chapeau et la tête du brûleur. Retirez l'ancien injecteur. Insérez le nouvel injecteur et remontez en procédant dans l'ordre inverse. Contrôlez l'étanchéité de l'appareil.
10. Remplacement d'une électrode de brûleur de la table de cuisson
Retirez la grille et le chapeau du brûleur. Retirez la vis de fixation de l'électrode. Tirez l'électrode vers le haut pour pouvoir tenir le fil entre le pouce et l'index. Retirez l'électrode, tout en continuant à tenir le fil.
Montez la nouvelle électrode sur le fil. Vissez l'électrode sur le brûleur. Replacez le chapeau du brûleur. Contrôlez le fonctionnement du brûleur. Replacez la grille.
11. Remplacement d'un brûleur de la table de cuisson
Déposez la table de cuisson (voir point 2).
À l'exception du brûleur de Wok, situé à droite, (voir ci-dessous) les brûleurs sont montés sur des supports. Pour ces brûleurs, débranchez les tuyaux d'alimentation en gaz au niveau du brûleur. Retirez les vis de fixation des supports, à l'avant et à l'arrière. Soulevez pour déplacer les supports et les brûleurs. Les brûleurs sont fixés au support par deux vis. Dévissez le brûleur à replacer et montez le nouveau brûleur. Remontez en procédant dans l'ordre inverse. Contrôlez le fonctionnement du brûleur.
Brûleur wok de droite
Débranchez les tuyaux d'alimentation en gaz au niveau du brûleur. Remplacez le brûleur et remontez en procédant dans l'ordre inverse. Contrôlez le fonctionnement du brûleur.
12. Remplacement d'une porte de four
Ouvrez la porte du four et retirez le Handyrack (le cas échéant) en faisant glisser un côté du support de la porte et en faisant glisser l'autre côté. Desserrez les deux vis de fixation de la charnière supérieure.
La porte est lourde, faites attention.
Soutenez la porte et retirez la vis située le plus après de l'axe de la charnière. Faites pivoter la charnière vers le haut pour l'extraire de l'axe sur la porte. Levez la porte pour la dégager de la charnière inférieure. Remontez en procédant dans l'ordre inverse.
Lors de la remise en place de la porte, veillez à ce que la douille de charnière en nylon soit en place entre l'axe de charnière et le support de charnière en bas et en haut.
13. Remplacement du panneau extérieur d'une porte de four
Tirez la cuisinière vers l'avant pour pouvoir accéder aux côtés. Entrouvez la porte du four et retirez les vis de fixation du panneau avant des côtés de porte (deux de chaque côté):

Une fois le travail terminé, effectuez les contrôles de sécurité nécessaires.
Soulevez le panneau de porte extérieur avec précaution.
Retirez la poignée de porte du panneau après avoir dévissé les deux écrous de fixation.
Montez la poignée de porte sur le nouveau panneau. Posez le panneau sur la porte. Remontez en procédant dans l'ordre inverse.
14. Remplacement du verrouillage d'une porte de four
Retirez le panneau de porte extérieur (voir point 13). Retirez les vis « B » fixant l'ensemble du dispositif de verrouillage au panneau de porte extérieur :

Posez le verrouillage de rechange et remontez en procédant dans l'ordre inverse. Contrôlez le fonctionnement de la porte.
15. Réglage de la gâchette du loquet d'une porte de four
Ouvrez la porte du four et desserrez le contre-écrou de la partie inférieure de la gâche. Réglez la gâche vers l'intérieur ou l'extérieur jusqu'à obtention du réglage requis :

Resserrez le contre-écrou.
16. Remplacement du joint d'une porte de four
Ouvrez la porte du four. Le joint est maintenu en place par des petits crochets placés sur la face arrière. Depuis le coin, tirez sur le joint en diagonale, en l'éloignant du centre de la porte, jusqu'à ce que ce crochet se défasse. Passez au crochet suivant et défaites-le, ainsi que les suivants, de la même façon. Vous pouvez forcer si les crochets résistent car le joint usage sera mis au rebut.

Lors de la pose d'un nouveau joint, positionnez le raccord dans la partie inférieure. Accrochez le nouveau joint dans l'un des orifices situés à un coin de la porte et poursuivez l'opération sur tout le pourtour pour insérer chaque crochet.
17. Remplacement d'un élément de grill
Débranche l'appareil de l'alimentation électrique.
Retirez la l'échefe de l'enceinte du grill. Dans l'enceinte du grill, retirez la protection émaillée avant de la voûte du grill (deux vis et rondelles). Retirez les deux vis et les rondelles de fixation du support avant de l'élement du grill. Retirez les vis de l'élement.
Levez l'objet pour l'extraire avec précaution, en débranchant les fils des bornes de l'objet (veillez à noter leurs positions). Si vous ne pouvez pas débrancher les fils de cette façon, tirez la cuisinière vers l'avant afin de pouvoir accéder à l'arrière, dévissez le boîtier électrique sur la plaque arrière et débranchez les bornes de l'arrière.
Insérez le nouvel élément et remontez en procédant dans l'ordre inverse. Contrôlez le fonctionnement du grill.
18. Dépose de la partie arrière interne d'un four
Ouvrez la porte du four et retirez les vis et rondelles de fixation de la partie arrière interne à l'arrière du four :

Soulevez la partie arrière interne avec précaution. Remontez en procédant dans l'ordre inverse, en veillant à bien serrer les quatre vis et rondelles.
19. Remplacement du ventilateur du four croît
Débranchez l'appareil de l'alimentation électrique. Tirez la cuisinière vers l'avant pour pouvoir accéder à l'arrière. Dévissez et retirez le boîtier électrique sur la plaque arrière. Débranchez les trois bornes raccordées au ventilateur en veillant à noter leurs positions. Déposez la partie arrière interne du four (voir point 18). Maintenez les pales du ventilateur et défaites l'écrou central (filetage gauche), les deux rondelles en laiton, les pales et le joint d'arrêt. Dévissez les écrous de fixation et les rondelles (trois de chaque) et retirez le ventilateur de la partie arrière de la cuisinière. Insérez le nouveau ventilateur et remontez en procédant dans l'ordre inverse. Contrôlez le fonctionnement du four.
20. Remplacement d'un protecteur thermique d'élément de four
Débranchez l'appareil de l'alimentation électrique. Tirez la cuisinière vers l'avant pour pouvoir accéder au boîtier. Dévissez et retirez le boîtier. Le protecteur thermique est situé sur la plaque de mise à la terre, à côté des raccords d'éléments du four. Débranchez le câblage du protecteur thermique, défaites les fixations du protecteur sur la plaque de terre et retirez le protecteur. Insérez le protecteur de rechange et remontez en procédant dans l'ordre inverse.
21. Remplacement d'un élément du four droit
Débranchez l'appareil de l'alimentation électrique.
Déposez la partie arrêté interne du four (voir point 18). Retirez les deux vis de la partie supérieure de l'élément et la vis de la partie inférieure de l'élément à l'intérieur du four :

Levez l'objet pour l'extraire avec précaution, en débranchant les fils des bornes de l'objet (veillez à noter leurs positions). Si vous ne pouvez pas débrancher les fils de cette façon, tirez la cuisinière vers l'avant afin de pouvoir accéder à l'arrière. Dévissez le boîtier électrique sur la plaque arrière et débranchez les bornes à l'arrière.
Insérez le nouvel élément et remontez en procédant dans l'ordre inverse. Contrôlez le fonctionnement du four.
22. Dépose des éléments inférieurs et supérieurs du four principal gauche
Débranche l'appareil de l'alimentation électrique.
Élément inférieur
Tirez la cuisinière vers l'avant pour pouvoir accéder aux boîtiers situés à l'arrière de l'appareil. Dévissez et enlevez le boîtier.

Retirez les 2 vis « A » de façon à permettre à la plaque de descendre. Retirez les 2 vis « B », abaissez la plaque supérieure et sortez-la par la fente à l'arrière de la cuisinière. Défaites les branchements de borne, en notant leurs positions. Retirez les
Fixations d'objet et retirez l'objet. Remplacez l'objet et remontez en procédant dans l'ordre inverse.
Élément supérieur
Ouvrez la porte du four gauche et retirez les fixations de l'écran thermique. Retirez les fixations du support d'éléments supérieur et retirez l'élement. Remplacez l'élement et remontez en procédant dans l'ordre inverse. Contrôlez le fonctionnement du four.
23. Réglage de l'angle de la porte du four
La charnière inférieure de la porte peut être ajustée afin de modifier l'angle de la porte. Desserrez les vis de fixation de la charnière inférieure, et utilisez le cran et un tournevis à lame plate pour changer la position de la charnière et la régler. Resserrez les vis de la charnière.
Effet de l'ajustement de la charnière — exagéré pour plus de clarté

Ligne centrale de l'axe de charnière. Omission de la porte du four pour plus de clarté.

Légende
Le raccord indiqué sur le schéma de câblage est pour une alimentation monophasée. Les capacités nominales sont pour 230 V 50 Hz.
| Code | Description |
| A1 | Régulateur de puissance du grill |
| A2 | Élement du grill gauche |
| A3 | Élement du grill droit |
| B1 | Thermostat du four gauche |
| B2 | Interrupteur de four gauche |
| B3 | Élement gratineur de four gauche |
| B4 | Élement supérieur de four gauche |
| B5 | Élement interieur de four gauche |
| C | Horloge |
| Code | Description |
| D1 | Thermostat du four croit |
| D2 | Interrupteur de four croit |
| D3 | Elément du four ventilé croit |
| D4 | Ventilateur du four croit |
| F1 | Contacteur d'allumage |
| F2 | Générateur d'étincelles |
| G1 | Interrupteur d'éclairage du four |
| G2 | Eclairage de four |
| H | Néon |
| I | Protecteur thermique |
| Code | Couleur |
| b | Bleu |
| br | Brun |
| bk | Noir |
| or | Orange |
| r | Rouge |
| v | Voilet |
| w | Blanc |
| y | Jaune |
| g/y | Vert / jaune |
| gr | Gris |
| bk/w | Noir / blanc |
Fiche technique
Elle est fournie préreglée pour une utilisation avec du gaz naturel de type H. Un kit de modification permettant l'utilisation de gaz de pétrole liquéfié (GPL) est fourni avec la cuisinière.
A L'INTENTION DE L'INSTALLATEUR: Veuillez remettre les présentes instructions à l'utilisateur.
EMPLACEMENT DU BADGE TECHNIQUE : Arrière de la cuisinière, badge auxiliaire de numéro de série sous l'ouverture de la porte du four.
| Gaz (Rp 1/2 au niveau du côte arrière droit) | Electricité | |
| Gaz naturel | 20 mbars | 220 - 240V 50Hz |
| Butane | 29 mbars | |
| Propane | 37 mbars | |
(Voir le badge technique de l'appareil pour les pressions d'essais)
Dimensions
| Hauteur hors tout | minimum 903 mm | maximum (jusqu'à la grille d'évacuation) 930 mm |
| Largeur hors tout | 1100 mm. Voir « Positionnement de la cuisinière » | |
| Profondeur hor tout | 650 mm | |
| Cotes emplacement de montage | Voir « Positionnement de la cuisinière » | |
| Cote minimale au-dessus de la table de cuisson | 650 mm | |
Puisances
| Gaz naturel | Gaz de pétrole liquéfié | |||
| Table de cuisson | Injecteur | Injecteur | ||
| Brûleur de Wok droit | 3,5 kW | interne 80 | 3,5 kW (255g/h) | interne 54 |
| externe 129 | externe 77 | |||
| Grands brûleurs | 3,0 kW | 134 | 3,0 kW (218g/h) | 87 |
| Brûleurs moyens | 1,7 kW | 109 | 1,7 kW (124g/h) | 68 |
| Petit brûleur | 1,0 kW | 75 | 1,0 kW (73g/h) | 51 |
Les valeurs correspondant aux brûleurs à gaz sont basées sur la valeur calorifique brute.
| Fours | Conventional | Convection | |
| Four | Elément gratineur | ||
| 2,2 kW | 1,15 kW | 2,5 kW | |
| Catégorie d'éfficacité énergétique: Sur une échelle de A (plus efficace) à G (moins efficace). | A | A | |
| Consommation d'énergie basée sur une charge standard | 0,99 kWh | 0,85 kWh | |
| Volume disponible (litres) | 67 | 67 | |
| Taille | Grande | Grande | |
| Temps de cuisson – charge standard | 40 minutes | 38 minutes | |
| Surface de cuisson | 1400 cm2 | 1400 cm2 | |
| Grid | 2,3 kW |
Charge électrique totale maximale à 230 V: 7,1kW (total approximatif comprenant éclairages de fours, ventilateur de four, etc.).
Notice Facile