GR-I2289STK - Réfrigérateur LG-GOLDSTAR - Notice d'utilisation et mode d'emploi gratuit
Retrouvez gratuitement la notice de l'appareil GR-I2289STK LG-GOLDSTAR au format PDF.
| Type de produit | Réfrigérateur combiné |
| Capacité totale | 250 litres |
| Type de froid | Froid statique |
| Alimentation électrique | 220-240 V, 50 Hz |
| Dimensions approximatives | 60 cm (largeur) x 170 cm (hauteur) x 65 cm (profondeur) |
| Poids | 60 kg |
| Classe énergétique | A+ |
| Fonctions principales | Réfrigération, congélation, éclairage intérieur LED |
| Entretien et nettoyage | Nettoyage régulier des surfaces intérieures et extérieures, dégivrage si nécessaire |
| Pièces détachées et réparabilité | Disponibilité de pièces détachées, réparabilité modérée |
| Sécurité | Protection contre les surcharges électriques, conformité aux normes de sécurité |
| Informations générales | Garantie de 2 ans, service après-vente disponible |
FOIRE AUX QUESTIONS - GR-I2289STK LG-GOLDSTAR
Questions des utilisateurs sur GR-I2289STK LG-GOLDSTAR
0 question sur cet appareil. Repondez a celles que vous connaissez ou posez la votre.
Poser une nouvelle question sur cet appareil
Téléchargez la notice de votre Réfrigérateur au format PDF gratuitement ! Retrouvez votre notice GR-I2289STK - LG-GOLDSTAR et reprennez votre appareil électronique en main. Sur cette page sont publiés tous les documents nécessaires à l'utilisation de votre appareil GR-I2289STK de la marque LG-GOLDSTAR.
MODE D'EMPLOI GR-I2289STK LG-GOLDSTAR
Guide d'Utilisation et d'Entretien
Veuillez tirer ce manuel en entier avant de mettre en marche l'unité et conservez-le à portée de la main pour le consulter à tout moment.
Mesures de sécurité 37-38
Spécifications pour la mise à la terre 38
Composants et fonctions 39
Installation du réfrigérateur 40-47
Déballage du réfrigérateur 40
Instructions de Sécurité Importantes 40
Ensuite 40
Comment Enlever Les Poignées de la Porte 41-42
Extraction et réinstallation des portes et des poignées de votre réfrigérateur 43-44
Comment Enlever et Réinstaller le Tiroir Coulissant 45-46
Nivellement et alignement de la porte 47
Utilisation de votre réfrigérateur 48-58
Réglage des commandes 48
Pour garantir une circulation de l'air appropriée 48
Fonction Diagnostic (Détection de Panne) 49
Utilisation d'un nouveau bac à glaçons de porte 50
Réglage de la configuration des commandes 51
Guide pour le stockage d'aliments 51
Stockage d'aliments congelés 52
COMPARTIMENT RÉFRIGÉRATEUR
Distributeur d'eau 52
Tabletes du réfrigérateur 53
Porte-bouteilles (optionnel) 53
Chef fresh / plateau à casse-croute (sur certains modèles) 54
Bac à légumes Optibin 54
Contrôle de l'humidité dans le bac à légumes 54
Enlèvement des bacs à légumes 54
Couvercle du bac à légumes avec grille dans sa surface intérieure 55
Compartiment à Produits Laitiers (Optionnel) 55
Modular Door Bin (Casiers Modulaires de Porte) 56
Porte-oeufs (Optionel) 56
COMPARTIMENT CONGÉLATEUR
Porte inclinable 56
Panier métallique de la porte du congélateur (Optionel) 56
Bac à glace 56
Durabase 57
Cloison du Durabase 57
Tiroir coulissant 57
FILTRE à eau 58
Entretien et nettoyage 59-60
Conseils pour le nettoyage général 59
Extérieur 59
Parois intérieures 59
Contre-porte et paniers de la porte 59
Pièces en plastique 59
Serpentin 59
Remplacement de l'ampoule d'éclairage 59-60
Pannes d'électricité 60
Si vous partez en vacances 60
Quand vous déménagez 60
Connexion du conduit d'eau 62-64
Guide de dépannage 65-68
Thermomètre 69-70
Instructions de sécurité importantes
Ce manuel contient plusieurs messages de sécurité importants. Lisez et obéissez à tous les messages de sécurité.

Celui-ci est le symbole d'un avis de sécurité. Il vous avertit sur des messages de sécurité vous signalant des risques de mort ou de blessures pour vous ou pour d'autres personnes ou bien sur des risques d'endommager le produit.
Tous les messages de sécurité seront précédés du symbole d'avis de sécurité et du mot-indicateur DANGER, AVERTISSEMENT, ATTENTION. Ces mots signifient :
Attention
Vous serez mort ou gravement blessé si vous ne suivez pas ces instructions.
Vous pouvez être mort ou gravement blessé si vous ne suivez pas ces instructions.
Signale des situations dangereuses, sinon interdites, pouvant provoquer des blessures peu importantes ou endommager uniquement le produit.
Tous les messages de sécurité identifient le risque, vous disent comment réduire les chances de vous blesser et vous racontent ce qui s’est passé si les instructions ne sont pas respectées.
Awertissement
Lisez toutes les instructions avant d'utiliser cet appareil.
- Ne débranchez JAMAIS votre réfrigerateur en tirant sur le câble d'alimentation. Saisissez toujours fermement la fiche et débranchez-la bien de la prise de courant.
- Réparez ou remplacez immédiatement tout cordon d'alimentation devenu effiloché ou endommagé d'une autre manière. N'utilisez pas de cordons montrant des fissures ou des marques d'abrasion le long de sa longueur ou dans la fiche ou l'extrémité du connecteur.
- Lorsque vous éloignez l'appareil du mur, assurez-vous de ne pas le faire rouler sur le cordon d'alimentation ou de ne pas l'abimer autrement.
- N'emmagasinez ni n'utilisez de l'essence ou d'autres liquides ou gaz inflammables près de cet appareil ou de n'importe quel autre appareil.
- Ne permettez pas aux enfants de grimper, s'asseoir, se mettre debout ni de se pendre à la porte centrale du réfrigérateur. Ils pourraient ouvrir le réfrigérateur et subir des blessures graves.
- Maintenez vos doigts loin des zones des points de pincement ; les espaces entre les portes et le boîtier étant nécessairement minuscules. Veillez à fermer les portes lorsqu'il y a des enfants dans les alentours.
- Débranchez votre réfrigerateur avant de procéder à toute opération de nettoyage ou réparation.
REMARQUE: Toute réparation doit être effectuée par un technicien qualifié.
- Avant de replacer une ampoule d'éclairage brûlée, débranchez le réfrigérateur ou déplacez le disjoncteur ou le fusible sur la position arrêt afin d'éviter le contact avec le filament d'un fil sous tension. (Une ampoule d'éclairage brûlée peut se casser lorsqu'elle est remplacée.)
REMARQUE: Même si vous régalez un interrupteur ou les deux interrupteurs sur la position Arrêt, cela ne met pas le circuit de la lampe hors tension.
- Ce réfrigerateur doit être correctement installé en respectant les Instructions pour l'installateur qui sont collées sur la façade du réfrigerateur.
- Dès que votre réfrigérateur est en marche, ne touchez pas aux surfaces froides du compartiment du congélateur si vos mains sont humides ou mouillées. Votre peau pourrait s'adherer à ces surfaces extrêmement froides.
- Évitez le contact avec les pièces mobiles du mécanisme d'éjection ou avec l'objet chauffant qui libère les glaçons dans les réfrigerateurs à machine à glaçons automatique. Ne placez pas vos doigts ou vos mains dans le mécanisme automatique de la machine à glaçons alors que le réfrigerateur est branché.
- Ne congelez pas de nouveau les aliments qui se sont complètement dégelés. Le Ministère de l'Agriculture des États-Unis dit, dans son bulletin n° 69:
... Vous pouvez, en toute sécurité, congeler de nouveau des alimentés congelés qui se sont dégelés s'ils contiennent encore des cristaux de glace ou qu'ils sont encore froids—au-dessous de 4°C.... La viande hachée, la volaille ou le poisson dégelés ayant une odeur ou une couleur anormales ne doivent être ni congelés de nouveau ni mangés. La crème glacée fondue doit être jetée. Si l'odeur ou la couleur d'un aliment quelconque est mauvaise ou douteuse, en débarrasssez-vous.
Il pourrait être dangereux de manger de tels aliments. Même une décongélation partielle et une nouvelle congélation réduisent la qualité pour la consommation des aliments, notamment des fruits, des légumes et des plats préparés. La qualité pour la consommation des viandes rouges est moins affectée que celle de la plupart des autres aliments. Utilisez les aliments recongelés dès que possible afin de préserver autant que possible leur qualité.
- Ne modifiez ni ne rallongez le cordon d'alimentation.
Autrement, vous risquez de provoquer un choc électrique ou un incendie.


RISQUE Pour les enfants de RESTER enfermes à l'intérieur du réfrigérateur
Les enfants enfermés et suffoqués accidentellement ne représentent pas des problèmes du passé. Les réfrigerateurs jetés ou abandonnés sont encore dangereux... même si on pense qu'ils n'y resteront que quelques jours. Si vous avez débarrassé de votre vieux réfrigerateur, veuillez bien suivre les instructions pour aider à prévenir des accidents.

Avant de vous debarraser de votre VIEUX refrigerateur ou congelateur
- Enlevez les portes.
- Laissez les tablettes à leur place pour que les enfants ne puissent pas y grimper aisément.
Élimination du CFC
Votre vieux réfrigérateur peut avoir un système de réfrigération employant du CFC (chlorofluorocarbure). Les réfrigérants CFC seraient nocifs pour l'ozone stratosphérique.
Si vous jetez votre vieux réfrigérateur, veillez à enlever le réfrigérant CFC pour une élimination appropriée par un technicien qualifié. Si vous libérez intentionnellement ce réfrigérant CFC, vous pouvez être soumis à des amendes et à des peines d'emprisonnement suivant les dispositions de la législation en matière d'environnement.
N'utilisez pas de rallonges
Dans la mesure du possible, branche le réfrigerateur sur sa propre prise de courant individuelle afin d'éviter que celui-ci et d'autres appareils ou lumières de la maison ne produisent une surcharge.
Accès facile à la fiche d'alimentation
La fiche d'alimentation du réfrigérateur-congélateur doit être placée de manière à y avoir un accès facile permettant de la débrancher rapidement en cas d'accident.
Remplacement du cordon d'alimentation
Si le cordon d'alimentation est endommagé, il doit être remplacé par le fabricant, par son service technique ou par une personne également qualifiée, afin d'éviter des risques.
Avant l'installation
- La machine à glaçons automatique doit être installée uniquement par le fabricant.
- Le fonctionnement de la machine à glaçons automatique requiert une pression d'eau de 147 834kPa (1.5 8.5kgf/cm^2) (Ce qui peut dire qu'un verre jetable en papier (180~cm^3) sera rempli en 3 s.)
- Si la pression de l'eau n'atteint pas les 147 kPa (1.5kgf / cm^2) ou
- Maintenez la longueur totale de la tuyauterie d'alimentation en eau au-dessous des 8 mètres et veillez à ne plier ni enrouler le tuyau. Si la tuyauterie mesure 8 mètres ou plus, des problèmes pourraient se présenter dans l'alimentation en eau à cause de la pression de l'eau drainée.
- Installez la tuyauterie d'alimentation en eau loin de toute source de chaleur.
Avertissement
- Ne raccordez cette tuyauterie qu'à une canalisation d'eau potable.
- Pour l'installation, reportez-vous aux instructions fournies avec le jeu de filtres à eau.
Averagement
- Le réfrigérant et les gaz pour soufflage d'isolement utilisés dans cet appareil supposent des procédures spéciales pour leur mise au rebut. Pour la mise au rebut, veuillez consulter un technicien ou toute autre personne qualifiée.

Utilisez cette page pour vous familiariser avec les différentes parties et fonctionnalités de l'appareil. Les pages de référence sont indiquées pour vous aider.
Remarque: Ce guide couvre plusieurs modèles. Le réfrigérateur que vous avez acheté peut posséder quelques uns ou l'ensemble des éléments détaillés ci-dessous. L'emplacement des fonctionnalités montrées peut varier en fonction du modèle.
Lampe du réfrigérateur (p. 59) Filtre (Intérieur) (p. 58) Bacs modulables de porte (p. 56) Étagères du réfrigérateur (p. 53) Bac à légumes Ultra Fraîcheur avec Compartiment à Basculement (p. 54) Compartment Glaçons (p. 50) Tiroir coulissant (p. 57) Moteur Turbo
1 Panier de la porte du congélateur (p. 56) (Optionel) • Durabase (p. 57) κ Diviseur (p. 57) Bac à glaçons (p. 56) Face avant Plateau à casse-croute (p. 54) Oeufrier (p. 56) (Optionel) ℙ Compartiment à produits laitiers (p. 55) (Optionel) • Porte-bouteilles (p. 53) (Optional)
Réceptacle à glaçons

Risque de poids excessif
Faites appel à deux ou plus personnes pour déplacer et installer le réfrigerateur.
Autrement, vous risquez de vous faire mal au dos ou de subir d'autres blessures.
Déballage de votre réfrigérateur
Enlevez le ruban adhésif et tout autre étiquette temporaire de votre réfrigerateur avant de l'utiliser.
N'enlevez aucune étiquette d'avertissement, ni l'étiquette du numéro de méthode et de série ni la fiche technique qui est attachée à la face arrière du réfrigerateur.
Pour retirer tout reste de ruban adhesif ou de colle, frottez rapidement la zone avec de l'eau tiède. Les restes de ruban adhesif ou de colle peuvent être également enlevés en frottant une petite quantité de savon liquide à vaisselle sur l'adhésif avec vos doigts.
Nettoyez-le avec de l'eau tiède et séchez-le.
N'employez pas d'instruments tranchants, de l'alcool à brûler, de substances inflammables ni des détergents abrasifs pour enlever le ruban adhésif ou la colle. Ces produits peuvent endomager la surface de leur réfrigerateur. Pour plus d'informations, reportez-vous à la section Instructions de sécurité importantes.
Les tablettes du réfrigerateur sont installées dans la position prévue pour le transport de l'unité.
Veuillez réinstaller les tablettes suivant vos besoins personnels de stockage.

Si vous déplacez votre réfrigérateur:
Votre réfrigerateur est lourd. Si vous le déplacez pour effectuer des opérations de nettoyage ou des réparations, assurez-vous de protégerez le plancher. Tirez toujours du réfrigerateur tout droit pour le déplacer. N'essayez de déplacer le réfrigerateur en le balançant ni en le faisant faire de petits pas, car le plancher pourrait en résultat être endommagé.


Risque d'explosion
Maintenez les matériaux et les gaz inflammables, tels que l'essence, loin du réfrigerateur.
Autrement, vous risquez de provoquer des morts, une explosion ou un incendie.
Installation
- Afin d'éviter des vibrations, l'unité doit être nivelée. Réglez les vis de réglage pour compenser les irregularités du plancher, si besoin. La façade du réfrigerateur doit être légèrement plus haute que la partie arrière afin de rendre plus facile la fermeture de la porte. Vous pouvez facilement faire tourner les vis de réglage en inclinant légèrement le boîtier. Faites tourner les vis de réglage dans le sens des aiguilles d'une montre ( ) pour rehauser l'unité, et dans le sens contraire des aiguilles d'une montre ( ) pour l'abaisser.
- Installez cet appareil à un endroit où la température reste entre 13°C et 43°C. Si la température de la pièce où se trouve l'appareil est trop froide ou trop chaude, elle pourrait affecter la capacité de refroidissement du réfrigerateur.
- Prévoyez un espace libre d'au moins 2 pouces à partir du plafond et de 1 pouce à partir des murs latéraux pour un refroidissement plus efficace, une installation plus facile, une circulation d'air et des connexions électriques appropriées. ATTENTION: Evitez de ranger l'unité près des sources de chaleur ou à un endroit où elle serait exposée à la lumière directe du soleil ou à l'humidité.
Ensuite
- Nettoyez complètement votre réfrigérateur et enlevez toute la poussière accumulée pendant le transport de l'unité.
- Installez les accessoires tels que le bac à glace, les tiroirs, les tablettes, etc., à leur place. Ils ont été emballés ensemble afin de prévenir de possibles dommages pendant le transport de l'unité.
- Faites marcher votre réfrigérateur pendant 2 ou 3 heures minimum avant d'y ranger des aliments. Vérifiez le flux d'air refroidi dans le compartiment du congélateur pour garantir un refroidissement approprié. Votre réfrigérateur est maintenant prêt pour être utilisé.

Avertissement
- Faites attention lorsque vous travaillez avec la charnière, la grille inférieure, le taquet, etc. Vous pourriez subir des blessures.
- Ne placez ni vos mains ni vos pieds ni des bâtons métalliques dans les grilles d’aération, la grille inférieure ou la partie inférieure du réfrigérateur. Vous pourriez subir des blessures ou un choc électrique.
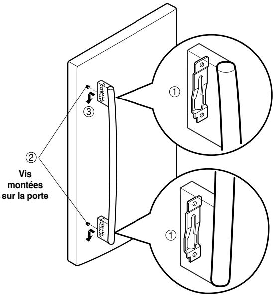
Comment enlever les poignées de la porte
Pour déplacer le réfrigérateur par la porte d'une maison, il peut être nécessaire de retirer les poignées de portes du réfrigérateur.
REMARQUE: L'aspect de la poignée peut varier par rapport aux illustrations dans cette page.
1. Enlever la poignée du réfrigérateur
Saisissez fermement la poignée avec les deux mains et faites-la glisser vers le haut (1) (ceci suppose une certaine force). - Les encoches en trou de serrure (2) dans la face arrière de la poignée vous permettent de la saisir pour la séparer des vis de montage (3). ATTENTION: Si vous frappez la poignée à l'aide d'un marteau lorsque vous l'enlevez ou l'attachez, elle pourrait en résultat endommager et cassée. ATTENTION: Lorsque vous montez ou démontez la poignée, vous devez pousser et tirer avec force.

2. Enlever la poignée du tiroir du congélateur
- Saisissez fermement la poignée avec les deux mains et faites-la glisser vers la droite (1) (ceci suppose une certaine force).
- Les encoches en trou de serrure (2) dans la face arrière de la poignée vous permettent de la saisir pour la séparer des vis de montage (3).

Comment réinstaller les poignées de la porte
REMARQUE: L'aspect de la poignée peut varier par rapport aux illustrations dans cette page.
1. Réinstaller la poignée de la porte du réfrigérateur
- Alignez les encoches en trou de serrure (1) dans les parties supérieure et inférieure de la face arrière de la poignée, à l'aide des vis (2) montées sur la façade de la porte.
- Pressez la poignée contre la façade de la porte, en vous assurant que les vis (2) rentrent dans les encoches en trou de serrure (1).
- Tout en saisissant la poignée avec les deux mains, pressez-la fermement contre la façade de la porte et faites glisser la poignée vers le bas (3).

2. Réinstaller la poignée du tiroir du congélateur
- Alignez les encoches en trou de serrure (4) dans les parties droite et gauche de la face arrière de la poignée, à l'aide des vis (5) montées sur la façade du tiroir.
- Pressez la poignée contre la façade du tiroir, en vous assurant que les vis (5) rentrent dans les encoches en trou de serrure (4).
- Tout en saisissant la poignée avec les deux mains, pressez-la fermement contre la façade du tiroir et faites glisser la poignée vers la gauche (6).

1. Extraction des portes du réfrigérateur
ATTENTION: Débranchez le réfrigérateur avant de commencer. Enlevez les aliments et les paniers des portes.
Portegauche
- Déconnectez le conduit d'alimentation d'eau en poussant en arrêté l'anneau de raccordement (4).
- Ouvrez la porte. Desserrez la vis du couvercle de la charnière supérieure (1). Utilisez un tournevis à pointe plate pour soulever le levier des crochets du couvercle avant (3) qui sont dessous. Soulevez le couvercle.
- Déconnectez le faisceau du câble de l'interrupteur de la porte (2). Enlevez le couvercle.
- Retirez le tube.
- Déconnectez le faisceau à trois câbles (5). Enlevez la vis de terre (6).
- Faites tourner le levier de la charnière (7) dans le sens contraire des aiguilles d'une montre. Enlevez la charnière supérieure (8) libérée du verrou du levier à charnière (9). ATTENTION: Lorsque vous enlevez la charnière supérieure libérée du verrou du levier à charnière, veillez à ce que la porte ne tombe pas en avant.
- Soulevez la porte à partir de l'axe de la charnière centrale (10) et enlevez la porte.
- Rangez la porte, la partie intérieure au-dessus, sur une surface où elle ne subisse pas des rayures.
Porte droite
- Ouvrez la porte. Desserrez la vis du couvercle de la charnière supérieure (1). Soulevez le couvercle (3).
- Déconnectez le faisceau du câble de l'interrupteur de la porte (2). Enlevez le couvercle.
- Déconnectez le faisceau à câbles (5). Enlevez la vis de terre (6).
- Faites tourner le levier de la charnière (7) dans le sens des aiguilles d'une montre et enlevez-le. Soulevez la charnière supérieure (8) libérée du verrou du levier à charnière (9). ATTENTION: Lorsque vous enlevez la charnière supérieure libérée du verrou du levier à charnière, veillez à ce que la porte ne tombe pas en avant.
- Soulevez la porte à partir de l'axe de la charnière centrale (10) et enlevez-la.
- Rangez la porte, la partie intérieure au-dessus, sur une surface où elle ne subisse pas des rayures.

Porte droite
- Abaissez la porte sur l'axe de la charnière centrale (10).
- Encastrez la charnière supérieure (8) sur le verrou du levier de la charnière (9) et à sa place. Insérez le levier de la charnière (7) sur le verrou du levier. Faites tourner le levier dans le sens contraire des aiguilles d'une montre pour fixer la charnière.
- Installez la vis de terre (6) et connectez le faisceau à trois câbles (5).
- Connectez le faisceau du câble de l'interrupteur de la porte (2).
- Accrochez la languette sur le couvercle (3), du côté de l'interrupteur de la porte, sous l'extrémité de l'ouverture destinée au câble dans la partie supérieure du boîtier. Rangez le couvercle à sa place. Insérez et serrez la vis du couvercle (1).
Portegauche
- Abaissez la porte sur l'axe de la charnière centrale (10).
- Encastrez la charnière supérieure (8) sur le verrou du levier de la charnière (9) et à sa place. Insérez le levier de la charnière (7) sur le verrou du levier. Faites tourner le levier dans le sens des aiguilles d'une montre pour fixer la charnière.
- Installez la vis de terre (6) et connectez le faisceau à trois câbles (5).
- Connectez le faisceau du câble de l'interrupteur de la porte (2).
- Insérez le tuyau d'arrivée d'eau (4) à l'intérieur du tube de raccordement jusqu'à ce que vous VOYZ la marque d'un cran. (Enforcez complètement le tube sur 5/8"(15mm)).
- Accrochez la languette sur le couvercle (3), du côté de l'interrupteur de la porte, sous l'extrémité de l'ouverture destinée au câble dans la partie supérieure du boîtier. Rangez le couvercle à sa place. Insérez et serrez la vis du couvercle (1).

Comment enlever et installer le TIROIR detachable
IMPORTANT: Afin d'éviter de possibles blessures, des dommages au produit ou d'autres dommages matériels, il faut deux personnes pour suivre les instructions suivantes.
1. Extraction du tiroir détachable
- Tirez le tiroir pour l'ouvrir dans toute sa longueur. Enlevez le panier inférieur (1) en le soulevant du système de guidage.

- Appuyez sur les deux bras avec les pouces pour les soulever.
- Séparez les rails gauche et droit du couvercle.

- Retirez les vis(2) du rail des deux côtés.

- Avec les deux mains, maintenez les deux côtés de la porte et tirez pour les séparer.

- Avec les deux mains, maintenez le centre de la barre et poussez-la pour que les deux rails entrent en même temps.


ATTENTION: Lorsque vous enlevez le tiroir, ne saisissez pas la poignée. Si elle est enlevée, vous pourriez subir des blessures. ATTENTION: Lorsque vous déposez le tiroir sur le plancher, veillez à ne pas endommager le plancher et à ne pas vous faire mal au pied avec les bords affilés du côté de la charnière.
Comment enlever et installer le TIROIR detachable
IMPORTANT: Afin d'éviter de possibles blessures, des dommages au produit ou d'autres dommages matériels, il faut deux personnes pour suivre les instructions suivantes.
2. Installation du tiroir détachable
- Avec les deux mains, maintenez le centre de la barre et poussez-la pour que les deux rails se détachent en même temps.

- Montez le connecteur de la porte (1) sur le bras du rail (2).

- Poussez vers le bas et fixez le connecteur de la porte en serrant les vis (3).

- Vérifiez la forme de gauche et droite du rail du couvercle.

- Alignez les orifices du haut du rail du couvercle avec ceux du bas du connecteur de la porte pour monter le rail du couvercle.

- Avec le tiroir étendu à son extension totale, insérez le panier inférieur (4) dans le système de guidage jusqu'à ce qu'il ne se déplace plus en avant.

AVERTISSEMENT: Pour éviter que les enfants ou les animaux domestiques puissent rester atrapés ou suffoqués dedans, ne leur permettez pas de jouer dans l'intérieur du tiroir.
AVERTISSEMENT: Ne marchez ni ne vous asseyez sur la porte du congélateur.
Nivellement
Votre réfrigerateur a deux vis de réglage avant - l'une à gauche et l'autre à droite. Si votre réfrigerateur semble instable ou que vous pouvez que les portes se ferment plus facilement, réglez l'inclinaison du réfrigerateur en suivant les instructions ci-dessous:
- Brancher le cordon électrique du réfrigerateur à la prise de courant mise à la terre. Déplacez le réfrigerateur vers sa position finale.
Pour retirer le couvercle de la base:
- Ouvrez le tiroir du congélateur. (Tiroir non représenté pour davantage de clarté.)
- Lorsque le tiroir est ouvert, le dégagement est suffisant pour retirer les vis situées au-dessus du couvercle.
Pour remplacer le couvercle de la base:
- Mettez le couvercle en position puis insérez et serrez les vis.

- Faites tourner la vis de réglage dans le sens des aiguilles d'une montre pour rehausser ce côté du réfrigerateur ou dans le sens contraire des aiguilles d'une montre pour le faire descendre. Il peut être nécessaire de faire tourner la vis de réglage plusieurs fois pour régler l'inclinaison du réfrigerateur.

REMARQUE: Si vous demandez à quelqu'un de faire pression contre la partie supérieure du réfrigerateur, cela diminue le poids sur les vis de réglage, ce qui rend le réglage des vis plus facile.
- Ouvrez encore une fois les deux portes et examinez-les pour vérifier qu'elles se ferment facilement. Autrement, inclinez légèrement le réfrigerateur plus vers l'arrière en faisant tourner les deux vis de réglage dans le sens des aiguilles d'une montre. Il peut être nécessaire de faire tourner la vis de réglage plusieurs fois et vous devez faire tourner les deux vis de réglage le même nombre de fois.
- Réglez-les de nouveau si besoin.
- Remplacez le couvercle de la base.
REMARQUE: Votre nouveau réfrigérateur est conçu d'une manière unique avec deux portes pour aliments frais. Chaque porte peut être ouverte ou fermée indépendamment de l'autre. Vous aurez peut-être besoin d'exercer une légère pression sur les portes pour les fermer complètement.
Alignement de la porte
Si l'espace entre les portes est irrégulier, suivez les instructions ci-dessous pour aligner les portes:
- D'une main, soulevez la porte que vous souhaitez élever au niveau de la charnière du milieu.
- De l'autre main, utilisez des pinces à épiler pour insérer l'anneau élastique comme sur l'illustration.
- Insérez des anneaux élastiques supplémentaires jusqu'à ce que les portes se trouvent l'une en face de l'autre. (Trois anneaux élastiques sont fournis avec l'appareil.)

Réglage des commandes
- Votre réfrigérateur est pourvu d'un dispositif de commande situé sur le distributeur, vous permettant de régler la température dans les compartiments du congélateur et du réfrigérateur.
- Initialement, réglez la commande du réfrigérateur sur 3°C et celle du congélateur sur -18°C. Ne modifiez pas ces réglages pendant 24 heures (un jour) pour permettre au système de se stabiliser. Réglez alors la température des compartiments à votre gré.

- Chaque fois que vous appuyez sur la touche de réglage de la température du congélateur, la température change comme il suit : “-13” → “-14” → “-15” → “-16” → “-17” → “-18” → “-19” → “-20” → “-21” → “-13”.
- Chaque fois que vous appuyez sur la touche de réglage de la température du réfrigerateur, la température change comme il suit : “0” → “8” → “7” → “6” → “5” → “4” → “3” → “2” → “1” → “0”.
ATTENTION: Éliminez l'humidité avant d'utiliser la touche d'affichage car le fonctionnement de la touche est basé sur le procédé d'activation par pression, et si la surface de la touche est affectée par l'humidité, ceci peut ralentir l'activation de la touche ou bien activer une touche autre que celle désirée.
REMARQUE: C'est pour empêcher l'erreur de fonctionnement inattendue en touchant encore. Quand 10 secondes a passé depuis la touche finale, l'affichage existé clignote une fois et puis la clef commence à fonctionner par la deuxieme touche.
Express FRZ.
Lorsque vous appuyez sur la touche « EXPRESS FRZ. », le dessin [♀] s'allume et reste allumé dans l'afficheur pendant 24 heures. Il s'éteint automatiquement une fois ces 24 heures passées. Ou bien, vous pouvez annuler cette fonction en appuyant de nouveau sur la touche « ICE PLUS » - Cette fonction augmente aussi bien la capacité de production de glace que celle de congélation.
Distributeur
Veuillez sélectionner water [eau], crushed ice [glacons écrabés] ou cubed ice [glacons en cube] en appuyant sur la touche DEPENGER en fonction de cette choice. - Il peut y avoir quelques goutte-ments après la distribution. Il est recommandé de garder votre tasse pendant quelques secondes après distribution.
Remarque: Le distributeur ne fonctionne pas lorsque la porte est ouverte.


Filtre
- Affiche en mois le nombre de mois qui restent avant le remplacement du filtre, à partir du moment où le réfrigérateur est mis sous tension.
- Si vous avez remplacé le filtre après 6 mois d'utilisation ou si vous souhaitez réinitialiser l'affichage du filtre, appuyez sur la touche « Filter Reset » [Réinitialisation du filtre] et maintenez-la enfoncée pendant 3 secondes ou plus ; l'affichage du filtre sera initialisé et vous entendrez un signal d'alarme.
REMARQUE: La durée de vie moyenne du filtre est de 6 mois.
Alarme
- Lorsque le réfrigerateur est mis sous tension, l'alarme de la porte est au début régée sur OFF [désactivée], et s'affichera sur l'écran d'affichage. Lorsque vous appuyez sur la touche, s'affiche pour indiquer que la fonction d'alarme de la porte est activée.
- Si la porte du réfrigerateur ou celle du congélateur sont laissées ouvertes pendant plus de 60 secondes, le signal d'alarme se déclenche pour indiquer qu'il y a une porte ouverte.
- Lorsque vous refermez la porte, l'alarme de la porte s'arrête.
- Si vous souhaitez désactiver la fonction d'alarme de la porte, appuyez sur la touche 0 ; 1 s'affichera à l'écran.
Verrouillage
Lorsque le réfrigerateur est mis sous tension pour la première fois, la fonction de verrouillage est régée sur OFF [désactivée]. - Si vous souhaitez activer la fonction de verrouillage pour bloquer d'autres touches, appuyez sans relâcher pendant 3 secondes ou plus sur la touche . L'indicateur s'affiche pour indiquer que la fonction de verrouillage est activée. - Si la fonction de blocage est activée, aucune touche ne fonctionnera, à l'exception de la touche et de cette du distributeur. - Pour désactiver la fonction de verrouillage, appuyez sans relâcher pendant 3 secondes ou plus sur la touche .
Pour garantir une circulation de l'air appropriée
Veillez à ce qu'aucun objet ou aliment ne bloque les canaux d'air ; en effet, la circulation de l'air empêche la perte de nourriture due à un manque d'air de refroidissement.
MISES en GARDE
Jetez les 20 premiers glaçons faits et les 7 premiers verres d'eau distribués après installation.
Ceci est également recommandé si le réfrigerateur n'a pas été utilisé pendant une longue période.
Maintenez les enfants loin du distributeur
Autrement, ils peuvent jouer avec l'appareil et/ou endommager les commandes.
Le stockage de boîtes ou autres articles à l'intérieur du récipient à glaçons risque d'endommager la machine à glaçons.
N'utilisez jamais de verre en cristal fin ni de poterie pour ramasser les glaçons.
De tels verres ou récipients risquent de se casser.
Jetez d'abord les glaçons dans un verre avant de distribuer l'eau.
L'eau risque de provoquer des éclaboussures si ceci est fait à l'envers...
Maintenez les mains et autres outils éloignés de la porte du réservoir à glaçons et du conduit du distributeur...
Autrement, vous risquez de casser quelque chose ou de vous blesser.
Secouez de temps en temps le récipient à glaçons pour permettre à niveau les glaçons à l'intérieur de celui-ci.
Parfois, les glaçons s'accumulent près de la machine à glaçons, ce qui fait que la machine à glaçons interprète de manière erronée la quantité de glaçons existante et, par conséquent, cesse d'en produire.
N'utilisez jamais de verres étroits ou profonds.
De la glace pourrait être coincée à l'intérieur du conduit du distributeur et de ce fait, le réfrigérateur pourrait fonctionner de manière incorrecte.
Maintenez les verres à une distance appropriée du conduit du distributeur.
Un verre placé trop près de la sortie risque d'empêcher les glaçons de passer.
Fermez hermétiquement la porte du réservoir à glaçons après l'avoir ouverte.
Si la porte du réservoir à glaçons n'est pas fermée de manière hermétique, l'air froid du réservoir à glaçons risque de se répandre à l'intérieur du compartiment du réfrigerateur et de surgeler les aliments. En plus, ceci risque de provoquer que la machine à glaçons arrête de produire des glaçons.
Fermez la porte du congélateur (freezer) jusqu'à ce que vous entendiez un petit coup.
Si la porte n'est pas correctement fermée, la glace du congélateur peut fondre, du givre ou de la glace pourrait se former à l'intérieur du réfrigérateur.


Utilisation d'un nouveau BAC à glaçons de porte
La machine à glaçons arrête de faire des glaçons lorsque le bac à glaçons deviendra plein. Si vous avez davantage besoin de glaçons, veuillez utiliser le récipient à glaçons supplémentaire qui se trouve dans le compartiment du congélateur, de sorte que la machine à glaçons puisse continuer à en produire.
Comment enlever le bac à glaçons de la porte.
1. Saisissez la poignée, tel que montré dans la figure.
2. Soulevez légèrement la partie inférieure.
3. Enlevez doucement le bac à glaçons.
Comment réinstaller le bac à glaçons de la porte.
1. Replacez le bac à glaçons en l'inclinant légèrement pour éviter de toucher la machine à glaçons.
* Évitez de toucher le bras de commande en broche lors du remplacement du récipient à glaçons.
Réglage de la configuration des commandes
Laissez du temps au réfrigerateur pour qu’il refroidisse complètement l’air avant de faire les réglages finaux. Il vaut mieux attendre 24 heures avant d’établir la configuration finale. Les réglages intermédiaires indiqués dans la section précédente doivent être corrigés pour une utilisation ménagère normale du réfrigerateur. Les commandes sont correctement réglées lorsque le lait et le fromage sont aussi frais que vous pouvez et que la crème glacée est fermée. La commande du réfrigerateur fonctionne comme un thermostat pour l’appareil tout entier (compartiments réfrigerateur et congélateur). Plus haut est le numéro auquel cette commande est réglée, plus longtemps marchera le compresseur pour maintenir la température plus froide. La commande du congélateur règle le flux d’air refroidi du congélateur au réfrigerateur. Régler la commande du congélateur à une température plus froide maintient plus frais l’air dans le compartiment du congélateur pour le refroidir encore plus. Si vous avez besoin de régler les températures dans le réfrigerateur ou le congélateur, commencez par régler celle du réfrigerateur. Ensuite, attendez 24 heures avant de vérifier la température dans le congélateur. Si elle est trop chaude ou trop froide, réglez alors la commande du congélateur. Utilisez les configurations listées dans le tableau ci-dessous comme un guide.
Rappelez-vous toujours d'attendre au moins 24 heures entre deux réglages.
| CONDITION/CAUSE: | RéGLAGERECOMMANDÉ: |
| ■ RÉFRIGERATEUR trop chaud. - Ouverture féquente de la porte. - Grande quantité d'alimentsajoutée. - Température ambiente tropchaude. | Réglez la commande du RÉFRIGERATEURvers le numéro plusbas suivant,attendez24 heures, puisverifiez de nouveau. |
| ■ CONGÉLATEUR trop chaud /production de glaceinsuffisamment rapide. - Ouverture féquente de la porte. - Grande quantité d'aliments ajoutée. - Température ambiente trop froide(le moteur ne se met pas enmarche suffisamment souvent). - Utilisation intense de glace. -Grilles d'aération obstruées pardes éléments. | Réglez la commande du CONGÉLATEURvers le numéro plusbas suivant,attendez24 heures, puisverifiez de nouveau.Déplacez les élémentshors du courant d'air. |
| ■ RÉFRIGERATEUR trop froid. - Commandes incorrectlyregliées pour les conditions defonctionnement actuelles. | Réglez la commande du RÉFRIGERATEURvers le numéro plushaut suivant,attendez24 heures, puisverifiez de nouveau. |
| ■ CONGÉLATEUR trop froid. - Commandes incorrectlyregliées pour les conditions defonctionnement actuelles. | Réglez la commande du CONGÉLATEURvers le numéro plushaut suivant,attendez24 heures, puisverifiez de nouveau. |
GUIDE pour le stockage d'aliments
Pour ranger les aliments dans le réfrigerateur, enveloppez-les ou rangez-les dans des récipients étanches et imperméables à l'air, sauf indication contraire. Ceci évite le transfert de l'odeur et du goût des aliments à travers le réfrigerateur. Pour les produits datés, vérifiez le code de la date pour garantir leur fraîcheur.
| Éléments | Comment faire |
| Beurre ou margarine | • Maintenez le beurre ouvert dans un récipient ou un compartmentement fermé. Si vous rangez un stock de réserve, enveloppez-le dans un emballage pour congelation et congelez-le. |
| Fromage | • Stockez-le dans son emballage original jusqu'à son utilisation. Àprou l'avoir ouvert, enveloppez-le de nouveau hermétiquement dans une pellicule plastique ou du papier-aluminium. |
| Lait | • Nettoyez les cartons à lait. Pour un meilleur stockage, rangez le lait sur une tablette interieure, non pas sur une tablette de porte. |
| Oeufs | • Rangez les oeufs dans leur emballage d'origine ou dans la Boîte à oeufs de l'étagère interieure, pas dans l'étagère de la porte. |
| Fruits | • Lavez-les, laissez-les sécher et rangez-les dans des sacs de plastique ou dans le bac à légumes à l'intérieur du réfrigerateur. Ne lavez ni n'épluchez le raisin jusqu'à ce vous soyez prêt à l'utiliser. Rangez et conservez le raisin dans leur récipient original dans un bac à légumes, ou rangez-le dans un sac en papier partiellement fermé sur une tablette du réfrigerateur. |
| Légumes-feuille | • Enlevez l'emballage employé pour leur stockage et coupez légèrement ou jetez les zones meurtriés et décolorées. Lavez-les avec de l'eau froide et égoutte-les. Placez-les dans des sacs en plastique ou des conteneurs en plastique et rangez-les dans le bac à légumes. |
| Légumes avec peu (carottes, poivrons) | • Placez-les dans des sacs en plastique ou dans des récipients en plastique et rangez-les dans le bac à légumes. |
| Poisson | • Utilisez leoisson frais et les crustacés et mollusques le même jour où vous les avons achetés. |
| Restes | • Couvrez les restes avec du film plastique ou du papier aluminium. Vous pouze également utiliser des récipiens en plastique munis de couvercles hermétiques. |
Stockage d'aliments congeles
REMARUQE: Pour tout renseignement supplémentaire concernant la préparation d'aliments pour sa congélation ou les temps de stockage des aliments, vérifie le mode d'emploi du congélateur ou un livre de cuisine fiable.
Emballage
Une congélation réussie dépend d’un emballage correct. Si vous fermez et scellez l'emballage, il ne doit pas permettre l’entrée ou la sortie d’air ou d’humidité. Si cela arrive, il pourrait y avoir un transfert de l’odeur et du goût des aliments à travers le réfrigérateur ainsi qu’une déshydratation des aliments congelés.
Emballages recommandés:
- Des contenants en plastique rigide avec couvercles hermétiques;
- des boîtes/recipients pour congélation cylindriques;
- des feuilles d'aluminium très résistantes;
- du papier plastifié;
- de la pellicule plastique imperméable;
- des sacs de plastique refermables spécifiés pour congélation.
Suivez les instructions figurant sur l'emballage ou le récipient pour appliquer des méthodes de congélation appropriées.
N'employez pas de :
- sacs de pain;
- contenants de plastiques non fabriqués en polyéthylène;
- contenants n'ayant pas de couvercles hermétiques;
- papier ciré ou papier paraffiné pour congélation;
- film plastique mince, semi-perméable.
ATTENTION: Ne pas conserver de cannette de boisson ou de récipient en plastique dans le compartiment du congélateur. Ceux-ci risquent de se briser lors de la congélation.
Congélation
Votre congélateur ne congèlera pas rapidement une grande quantité d'aliments. Ne rangez pas plus d'aliments décongelés dans le congélateur que la quantité qu'il peut congeler dans 24 heures (pas plus de 2 à 3 livres d'aliments par pied cube d'espace dans le congélateur). Laissez suffisamment d'espace dans le congélateur pour que l'air circule autour des emballages. Veillez à laisser suffisamment d'espace devant l'unité de telle façon que la porte ferme hermétiquement.
Les temps de stockage varieront en fonction de la qualité et du type d'aliment, du type d'emballage ou de couverture utilisé (imperméable à l'air et étanche) ainsi que de la température de stockage. La présence de cristaux de glace à l'intérieur d'un emballage scellé est normale. Ceci signifie tout simplement que l'humidité dans les aliments et l'air à l'intérieur de l'emballage s'est condensée, formant ainsi des cristaux de glace.
REMARQUE: Laissez les aliments chauds refroidir à la température ambiante pendant 30 minutes, puis emballez-les et congelez-les. Faire refroidir les aliments chauds avant de les congeler économise de l'énergie.
Distributeur de l'eau
Le plateau peut être facilement enlevé en le serrant et en tirant.

Inclinez vers le haut de l'avant du plateau légèrement et cassez les nervures dans les trous pour remplacer le plateau.


AVERTISSEMENT: N'introduisez pas les mains dans l'ouverture d'eau & glacée. Le non-respect de cette instruction peut causer une amputation ou des coupures.
Les tablettes du réfrigérateur
Les tablettes de votre réfrigerateur sont réglables pour s'adapter à vos besoins de stockage. Le modèle peut avoir des tablettes de verre ou des clayettes métalliques.
Si vous stockez des produits alimentaires similaires dans le même compartiment de votre réfrigerateur et si vous régalez les tablettes selon les différentes hauteurs des produits, vous pourrez trouver le produit voulu plus facilement. Cela contribuera aussi à réduire la quantité de temps que la porte du réfrigerateur restera ouverte, ce qui vous permettra de faire des économies d'énergie.
IMPORTANT: Ne nettoyez pas les tablettes de verre avec de l'eau chaude lorsqu'elles sont froides. Les tablettes pourraient se briser si elles sont soumises à des changements de température brusques ou des impacts, tels que des coups. Pour votre sécurité, les tablettes de verre sont fabriquées en verre trempé, lequel se brise, le cas échéant, en de très petits morceaux.
REMARQUE: Les tablettes de verre sont lourdes. Si vous les enlevez, ayez beaucoup de soin de ne pas les laisser tomber.
Réglage des tablettes
Enlevez les tablettes de leur position originelle et replacez-les selon votre préférence.
- Pour enlever une tablette—Inclinez le front de la tablette dans le sens (1) et tirez-le dans le sens (2). Retirez la tablette.

- Pour replacer une tablette—Inclinez le front de la tablette et insérez les crochets de la tablette dans les rainures à la hauteur désirée.
Puis, abaissez le front de la tablette pour que les crochets s'insèrent complètement dans les rainures respectives.

ATTENTION: Assurez-vous que les tablettes sont au même niveau des deux côtés. Autrement, la tablette ou les alimentés y contenus peuvent tomber.
Gissement des tablettes
Vous pouvez faire glisser vers l'extérieur et vers l'intérieur les tablettes de verre de votre réfrigerateur comme suit.
- Pour faire glisser la tablette vers l'extérieur, tirez vers vous le front de la tablette avec soin.
- Pour faire glisser la tablette vers l'intérieur, poussez la tablette jusqu'à la position originelle.

Porte-bouteilles (optionel)
Avec ce porte-bouteilles, vous pouvez stocker les bouteilles horizontalement. Ce dispositif peut être ajouté à n'importe quelle tablette.

Le porte-bouteilles peut être installé sur le bord de la tablette et être enlevé en le poussant vers l'extérieur.

Plateau à casse-croute (sur certains modèles)
Tout en tenant le "chef fresh" avec une main, tirez-le légèrement en avant.

BACS à légumes optibin

Les bacs à légumes Optibin vous permettent d'avoir des fruits et des légumes toujours frais grâce au contrôle d'humidité à l'intérieur de chaque bac à légumes. Les bacs à légumes Optibin incluent : 1) un bouton de contrôle d'humidité dans le front du couvercle du bac à légumes et 2) une large grille sur la surface intérieure du couvercle pour retenir ou libérer l'humidité.
Contrôlé d'humidité des BACS à legumes
Voupez contrôler le pourcentage d'humidité dans les bacs à légumes fraîcheur. Le stockage des légumes et des fruits exige plus ou moins d'humidité dans chaque bac à légumes. Réglez le contrôle entre et
Enlevez l'air humide du bac à légumes pour un meilleur stockage des fruits. - Gardez l'air humide dans le bac à légumes pour un meilleur stockage des légumes frais et feuillus.

ATTENTION: La tablette de verre sur le bac à légumes n'est pas solidement installée. Faites attention au moment de l'incliner.
Bacs à légumes sans glissières
- Pour l'enlever, ouvrez complètement le tiroir.
- Levez le front du bac à légumes et retirez-le.
- Pour le replacer, inclinez à peine le front du bac à légumes, introduisez le tiroir dans le cadre et poussez-le jusqu'à la position originelle.

Pour enlever le bac à légumes:
- Tirez du tiroir jusqu'à son extension complète.
- Enlevez la partie avant du panier, puis tirez tout droit vers l'extérieur.

Pour réinstaller le bac à légumes:
- Poussez les glissières vers la partie arrêtée du compartiment.

- Insérez le bord arrêté du panier dans le cadre.

- Inclinez légèrement la partie avant du bac vers le haut et poussez-le jusqu'à ce qu'il rentre à sa place.

Pour enlever la porte battante du bac à légumes:
- Levez la porte battante aussi ouverte que possible.
- Poussez vers le centre la charnière plastique de la porte battante avec vos doigts.
- Retirez la porte.
- Pour la replacer, suivez la procédure précédente à l'inverse.

Pour enlever le verre:
- Insérez un doigt dans le trou qui se trouve au-dessous du couvercle du bac à légumes, puis soulevez le verre.
- Tirez le verre en dehors vers le haut.

Couvercle du BAC avec GRILLE sur la surface interieure
Pour enlever la grille sur la surface intérieure:

- Retirez le couvercle du bac (tel qu'il est illustré en haut).
- Tenez le couvercle de verre et tournez le couvercle du bac.
- Pour enlever chaque grille, tenez la grille et poussez les côtés du couvercle vers l'extérieur.

Pour replacer la grille sur la surface intérieure:
- Pour replacer chaque grille, insérez l'onglet du milieu en 1 (proche du couvercle de verre) et poussez les côtés du couvercle pour insérer la grille.

- Pour enlever le compartiment à produits laitiers, simplement levez-le et retirez-le.
- Pour replacer le compartiment à produits laitiers, glissez-le dans la position désirée et poussez-le jusqu'au fond.

Modular DOOR BIN [casiers modulaires de porte]
Les balconnets de la porte sont démontables pour vous permettre de les nettoyer et de les régler facilement.
- Pour démonter un bac, simplement tirez-le vers le haut et retirez-le.
- Pour le replacer, glissez-le dans le support désiré et poussez-le jusqu'au fond.
![LG-GOLDSTAR GR-I2289STK - Modular DOOR BIN [casiers modulaires de porte] - 1](/content/2024/12/292455/images/3a9f4f8f6f3f5443a43fa50b248c91da9c660afe01b68193f9de863196452441.jpg)
AVERTISSEMENT: Il peut être dangereux de ne pas installer solidement les balconnets de la porte. REMARQUE: NE DÉMONTEZ PAS un bac contenant des alimentés. ATTENTION: NE PERMETTEZ PAS aux enfants de jouer avec les paniers. Les coins aiguisés des paniers peuvent les blesser.
Porte-oeufs (optionel)
Rangez les œufs dans la boîte à œufs de l’étagère intérieure, pas dans l’étagère de la porte. ATTENTION: N’utilisez pas la boîte à œufs pour conserver de la glace dans le compartiment du congélateur. La boîte à œufs risque de se briser facilement en cas de congélation.

Compartiment congélateur porte inclinable
La porte inclinable permet un accès facile aux aliments.
Comment utiliser:
Incliner la porte et tirer.

AVERTISSEMENT: Faire attention aux pieds en inclinant la porte.
Extraction du panier
- Tirez l'un des supports vers le haut.
- Retirez le panier des deux supports.
Remise en place du panier
- Insérez le support dans l'un des côtés. Accrochez l'extrémité du panier à l'intérieur du support.
- Accrochez l'autre extrémité du panier à l'intérieur de l'autre support. Poussez le support vers le bas pour le mettre en place.
- Assurez-vous que l'arrière du panier passe derrière la languette de détention de chaque support.


Bacàglace
- Pour retirer le bac à glace, tirez le tiroir autant que possible.
- Soulevez doucement et retirez le bac à glace.
- Pour réinstaller, tirez le tiroir autant que possible, mettez le bac à glace en position correcte puis repoussez le tiroir.

Utilisation de votre refrigerateur
- Pour enlever le Durabase, ouvrez-le au complet. Inclinez le front du Durabase et retirez-le.
- Pour le réinstaller, introduisez le Durabase dans les coulisses.

Cloison du durabase
La cloison du Durabase vous permet d'organiser l'espace du Durabase dans deux secteurs.

- Pour l'enlever, poussez la cloison vers l'extérieur.
- Pour la réinstaller, accrochez les coins supérieur de la cloison au bord supérieur du durabase.
AVERTISSEMENT: Si le tiroir du congélateur est ouvert, les enfants peuvent tomber à l'intérieur.
TIROIR coulissant
Changement d'instruction à partir du changement de disposition
Pour retirer le tiroir, poussez les crochets avant gauche et droit vers ① pour tirer vers le haut et retirez le tiroir. Soulevez doucement l'engrenage des côtés gauche et droit du tiroir et tirez vers ③

Pour réinstaller, repositionnez l'engrenage des côtés gauche et droit du tiroir après avoir tiré sur les rails autant que possible. Poussez doucement les côtés gauche et droit en vérifiant le crochet avant.

Filtre à eau
Il est recommandé de changer le filtre lorsque le voyant du filtre à eau s'allume ou lorsque vous observez une diminution de la performance de votre distributeur ou de celle de votre machine à glaçons.

Après avoir changé la cartouche du filtre à eau, réinitialisez l'affichage de l'état du filtre à eau ainsi que le voyant en maintenant le bouton enfoncé pendant 3 secondes.
1. Enlevez la vanne cartouche.
Veuillez placer un ant sous l'orifice du support du filtre.

REMARQUE : Lors de l'enlèvement du filtre, de l'eau s'écoule à travers le trou.
Faites tourner la poignée de la cartouche dans le sens des aiguilles d'une montre.

Retirez la cartouche du contrôle.

- Remplacez la cartouche par une cartouche neuve.
Retirez la cartouche neuve de son emballage puis retirez l'enveloppe de protection des joints toriques.
En orientant le bouton de la cartouche en position verticale, enfoncez la cartouche du filtre neuf à l'intérieur du couvercle jusqu'à ce qu'elle s'arrête.

Si vous ne parvenez pas à faire tourner le filtre d'un côté à l'autre, c'est qu'il n'est pas entièrement inséré.
Poussez-le fermement et pliez-le sur place. Vous entendrez un déclic lorsqu’il se remettra à sa place. À l’aide de la poignée, pliez la cartouche environ 1/4 de tour dans le sens des aiguilles d’une montre. Vous entendrez un déclic lorsqu’elle se remettra à sa place.


- Rinçage du système d'eau après le remplacement d'un filtre.
Faites couler de l'eau dans le distributeur d'eau pendant 3 minutes pour purger le système.

Risques d'explosion
Utilisez des nettoyeurs ininflammables.
Autrement, vous risquez de provoquer un incendie, une explosion, voir la mort.
Le réfrigérateur et le congélateur se décongèlent automatiquement. Pourtant, nettoyez ces deux compartiments au moins une fois par mois afin d'éviter les odeurs. Essuyez les déversements immédiatement.
Conseils généraux de nettoyage
- Débranche le réfrigerateur ou coupe l'alimentation.
- Démontez toutes les pièces démontables, telles que tablettes, bacs, etc. Adressez-vous aux sections pertinentes de Utilisation de votre réfrigerateur pour lire les instructions de démontage.
- Utilisez une éponge propre ou un tissu doux et du détergent neutre avec de l'eau tiède. N'utilisez pas des nettoyeurs abrasifs ou corrosifs.
- Lavez à la main, rincez et asséchez toutes les surfaces au complet.
- Branchez le réfrigérateur ou reconnectez l'alimentation.
Exterieur
Les surfaces extérieures en métal peint encaustiqué aident à prévenir la rouille. Ne cirez pas les pièces en plastique. Cirez les surfaces en métal peint au moins deux fois par an avec de la cire pour des appareils ménagers (ou cire auto-luisante).
Applique la cire avec un tissu propre et doux.
Pour les produits ayant des surfaces extérieures en acier inoxydable, utilisez une éponge propre ou un tissu doux et un détergent neutre avec de l'eau tiède.
N'utilisez pas des nettoyeurs abrasifs ou corrosifs.
Asséchez complètement avec un tissu doux.
Intérieur (permettez au congélateur de se réchauffer un peu pour éviter que le tissu se colle aux parois)
Pour enlever les odeurs plus facilement, vous pouvez laver l'intérieur du réfrigerateur avec un mélange de bicarbonate de sodium et eau tiède.
Mélangez 2 cuillères de bicarbonate de sodium dans 1 quart d'eau (26 g bicarbonate de sodium dans 1 litre d'eau.) Assurez-vous que le bicarbonate de sodium est complètement dissous pour ne pas égratigner les surfaces du réfrigerateur.
ATTENTION: En nettoyant l'intérieur, n'aspergez pas d'eau.
Compartiments contre-porte et JOINTS des PORTES
N'utilise pas de cires nettoyantes, de détergents concentrés, de lessives ni de nettoyeurs contenant du pétrole dans les pièces en plastique du réfrigérateur.
Pièces en plastique (couvercles et panneaux)
N'utilise pas de nettoyeurs de fenêtres, d'abrasifs ni de fluides inflammables. Ceux-ci peuvent égratigner ou endommager les matériaux.
Risque de choc électrique
Avant de remplacer une ampoule d'éclairage grillée, débranchez le réfrigerateur ou coupez l'alimentation à partir du disjoncteur ou de la boîte à fusibles.
REMARQUE: Le fait de mettre le contrôle en position OFF ne coupe pas l'alimentation du circuit d'éclairage.
D'éclairage
REMARQUE: Pas toutes les ampoules pour appareils ménagers ne fonctionneront dans votre réfrigérateur.
Assurez-vous de remplacer l'ampoule grillée pour une autre de la même dimension, forme et voltage.
Pour changer l'ampoule d'éclairage du réfrigérateur:
- Débranchez le cordon d'alimentation de la prise.
- Démontez les tablettes du réfrigerateur.
- Poussez l'écran de protection vers le bas et retirez-le.
- Tournez l'ampoule dans le sens inverse des aiguilles de l'horloge.
- Réinstallez tout dans l'ordre inverse de démontage.

Pour remplacer l'ampoule du congélateur:
- Débranchez le cordon d'alimentation du réfrigérateur de la prise secteur.
- Poussez l’écran de protection vers le bas et retirez-le.
- Insérez les languettes situées à l'arrière du couvercle dans les encoches du plafond du congélateur. Poussez le couvercle vers le haut pour enclencher l'avant à sa place.
ATTENTION: N'INTRODUISEZ PAS les doigts à l'intérieur du couvercle. L'ampoule peut être chaude.
Coupure d'energie
S'il y a une coupure d'énergie, appelez la compagnie d'énergie et demandez combien de temps durera la coupure.
- Si l'énergie est coupée pendant 24 heures ou moins, gardez les portes du réfrigerateur bien fermées pour éviter que les aliments se réchauffent et se décongèlent.
- Si l'énergie est coupée pendant plus de 24 heures : a) Retirez tous les aliments et stockez-les dans une glacière.
Quand vous PARTEZ en vacances
Si vous choisissez de laisser le réfrigérateur en fonctionnement pendant votre absence, suivez ces instructions afin de préparer votre réfrigérateur avant de partir.
- Consommez tous les produits périssables et congelez le reste.
- Videz le bac à glace.
Si vous choisissez d'éteindre le réfrigérateur pendant votre absence, suivez ces instructions.
- Retirez tous les aliments du réfrigérateur.
- Selon votre modèle, mettez le contrôle du thermostat (commande du réfrigérateur) en OFF. Lisez la section Configuration des commandes.
- Nettoyez le réfrigérateur, essuyez-le et asséchez-le complètement.
- Utilisez du ruban adhésif ou un morceau de bois pour empêcher les portes de se fermer. L'entrée d'air évitera que les odeurs et la moisissure se produisent.
Quand vous déménagez
Quand vous déménagez votre réfrigérateur à une nouvelle maison, suivez ces instructions pour le préparer au déménagement.
- Retirez tous les aliments du réfrigérateur et stockez tous les aliments surgelés avec de la glace sèche.
- Selon votre modèle, mettez la commande du thermostat (commande du réfrigérateur) en OFF. Lisez la section Configurations des commandes.
- Débranchez le réfrigérateur.
- Nettoyez-le, essuyez-le et séchez-le au complet.
- Démontez toutes les pièces démontables, emballez-les correctement et rangez-les toutes ensemble pour éviter qu'elles bougent et se brisent pendant le déménagement. Adressez-vous aux sections pertinentes de Utilisation de votre réfrigerateur pour lire les instructions de démontage.
- Selon le modèle, levez le front du réfrigérateur pour qu’il roule plus facilement OU vissez-le aux pattes de nivellement pour éviter d’égratigner le plancher. Lisez la section Fermeture de la porte.
- Fermez les portes et assurez-les avec du ruban adhésif et collez le cordon d'alimentation au réfrigérateur avec du ruban adhésif. Une fois arrivé dans votre nouvelle maison, réinstallez tout suivant les instructions de la section Installation de votre réfrigérateur.

Risque de blessures personnelles
Évitez le contact avec les pièces amovibles du mécanisme d’éjection ou avec l’élément chauffant fabriquant les cubes. NE PLACEZ PAS les doigts ni les mains dans le mécanisme de fabrication de glace automatique quand le réfrigérateur est branché.
Un réfrigérateur qui vient d'être installé peut tarder de 12 à 24 heures
Voyant de dimension des cubes Bouton de sélection de dimension des cubes
La machine à glaçons est capable de produire huit cubes par cycle—environ 100-130 cubes dans une période de 24 heures, selon la température du compartiment congélateur, la température ambiantе, la quantité de fois que la porte soit ouverte et les autres conditions de fonctionnement.
Si le réfrigérateur est utilisé avant de réaliser le raccordement de l'eau à la machine à glaçons, mettez l'interrupteur en O (off).
Si le réfrigerateur a été raccordé à une source d'eau, mettez l'interrupteur en I (on).
La machine à glaçons se replira d'eau lorsqu'elle est assez froide pour congeler.
Un réfrigérateur qui vient d'être installé peut tarder de 12 à 24 heures à fabriquer des glaçons.
Jetez les premiers lots de glaçons pour vous assurer que le conduit d'eau est propre.
Vérifiez que rien n'obstrue le balayage du bras palpeur.
Lorsque le compartiment atteint le niveau du bras palpeur, la machine à glaçons arrête la production de glace.
Il est normal que plusieurs glaçons soient collés.
Si les glaçons ne sont pas utilisés souvent, ils deviennent troubles, avec un goût de moins et rétrécis.
REMARQUE: Si la dimension du cube est inférieure ou supérieure à ce que vous vous attendiez, vous pouvez la régler avec le bouton de sélection de dimension des cubes.
Chaque fois que vous appuyez sur ce bouton, le voyant supérieur suivant s'allume. Le voyant se trouvant le plus haut correspond à la plus large dimension des cubes.
Étant dans la position la plus haute, si vous appuyez encore sur le bouton, le voyant se trouvant le plus bas s'allumera.
Quand vous DEVEZ METTRE l'interrupteur de la machine à glaçons en o (OFF)
- Lorsque l'approvisionnement d'eau sera coupé pendant plusieurs heures.
- Lorsque le bac à glace sera enlevé pendant plus d'une ou deux minutes.
- Lorsque le réfrigerateur ne sera pas utilisé pendant plusieurs jours.
BRUITS Normaux que vous POUVEZ entendre
REMARQUE: Si vous gardez l'interrupteur en position I (on) avant de raccorder le conduit d'eau, vous pouvez endommager la machine à glaçons.
- Vous entendrez le bruit des cubes tombant dans le bac et de l'eau coulant dans les tuyaux lors du remplissage de la machine à glaçons.
Preparation pour les vacances

- Si vous arrêtez la machine à glaçons et que le bac contient des glaçons, ceux-ci peuvent fondre et l'eau peut couler sur le plancher.
- Si vous mettez la machine à glaçons hors tension pendant une longue période, veillez à vider le bac à glaçons.
Avant de commencer
L'installation de ce conduit d'eau n'est pas couverte par la garantie du fabricant du réfrigerateur ou de la machine à glaçons. Suivez ces instructions avec soin pour minimiser le risque de dommages coûteux.
Le martèlement de l'eau (les coups de l'eau à l'intérieur des tuyaux) à l'intérieur de la tuyauterie de la maison peut endomager les pièces du réfrigerateur et provoquer des fuites ou des inondations. Contactez un plombier qualifié pour corriger le martèlement de l'eau avant d'installer le conduit d'approvisionnement d'eau au réfrigerateur.
Pour éviter de brûler ou d'endommager le produit, ne raccordez pas le conduit d'eau au conduit d'eau chaude.
Si vous utilisez votre réfrigérateur avant de raccorder le conduit d'eau, assurez-vous que l'interrupteur est en position O (off).
N'installez pas la tuyauterie de la machine à glaçons dans des secteurs où les températures tombent au-dessous du niveau de congélation.
Si vous utilisez un dispositif électrique (tel qu'une perceuse) lors de l'installation, assurez-vous que le dispositif aura une double isolation ou sera mis à la terre de façon à réduire le risque de choc électrique ou sera alimenté à piles.
Toutes les installations doivent être conformes aux contraintes des codes de plomberie locaux.
REMARQUE: Utilisez des protecteurs pour les yeux.
Ce dont vous AVEZ BESOIN
Tuyau de cuivre, de 1/4 de diamètre extérieur pour raccorder le réfrigérateur à la source d'eau. Assurez-vous que les deux extrémités du tuyau ont une coupe carrée.

Pour déterminer la longueur du tuyau à utiliser : mesurez la distance entre la vanne à eau à la partie arrière du réfrigérateur et le conduit d'approvisionnement d'eau et ajoutez-lui 8 pieds (2,4 m). Assurez-vous qu'il y a une section de tuyau supplémentaire (environ 8 pieds [2,4 m] bouclée dans 3 coudes d'un diamètre d'environ 10. [25 cm]) pour permettre la séparation du réfrigerateur du mur après l'skeleton.
- Une source d'eau froide. La pression d'eau doit être entre 20 et 120 psi pour les modèles sans filtre à eau et entre 40 et 120 psi pour les modèles avec filtre à eau. Perceuse. 1/2" ou clé de serrage régable.
- Tournevis courant et cruciforme.

- Deux écrous de serrage d'un diamètre extérieur de 1/4. et 2 viroles (manches) pour raccorder le tuyau de cuivre à la vanne de section vanne à eau du réfrigératoire

- Si vous conduit d'eau en cuivre à les extrémités évasées, vous aurez besoin d'un adaptateur (disponible dans les magasins d'articles de plomberie) pour raccorder au réfrigérateur OU vous pouvez utiliser un coupe-tube et dispositif de serrage.

La vanne de sectionnement pour racorder le conduit d'eau froide. La vanne de sectionnement doit avoir une entrée d'eau avec un diamètre intérieur minimal, raccordement au CONDU Les vannes de sectionnement sont incluses dans plusieurs d'approvisionnement d'eau assurez-vous qu'une vann conforme aux codes de pl

Instructions d'installation
Installez la vanne de sectionnement dans le conduit d'eau potable moins fréquemment utilisé.
1. COUPEZ l'approvisionnement d'eau principal
Fermez la vanne la plus proche pour soulager la pression du conduit.
2. Choisissez l'emplacement de la VANNE
Choisissez un emplacement facilement accessible pour la vanne. Il est de la placer dans un tuyau d'eau vertical. S'il est nécessaire de la placer dans un tuyau d'eau horizontal, installez-la dans la partie supérieure ou sur le côté, et non dans la partie inférieure, pour éviter les sédiments du tuyau d'eau.
3. PERCEZ un TROU pour la VANNE
Percez un trou de 1/4 dans le conduit d'eau (même si vous utilisez une vanne auto-perçante) avec une mèche aiguisée. Enlevez tous les

Rebords résultant du perçage du tuyau. Veuillez éviter le contact de l'eau avec la perceuse. Si vous ne percez pas un trou de 1/4, il est possible que la production de glace soit réduite ou que les glaçons soient plus petits.
4. SERREZ La VANNE de selectionnement
Serrez la vanne de sectionnement au tuyau d'eau froide avec un collier de serrage pour tuyaux.

REMARQUE: Les Codes de plomberie de l'état de Massachusetts 248CMR doivent être respectés. Les vannes du type étrier sont illégales et leur utilisation est interdite dans le Massachusetts. Consultez avec un plombier/agréé.
5. SERREZ le collier de serrage pour TUYAUX
Serrez les vis du collier de serrage jusqu'à ce que la rondelle d'étanchéité commence à se dilater.
REMARQUE: Ne serrez pas en excès ou vous risquez d'endommager la tuyauterie.

6. Acheminez la tuyauterie
Acheminez la tuyauterie entre le conduit d'eau froide et le réfrigerateur. Acheminez la tuyauterie à travers le trou percé dans le mur ou le plancher (derrière le réfrigerateur ou près de sa base) aussi proche que possible.
REMARQUE: Assurez-vous qu'il y a une section de tuyau supplémentaire (environ 8 pieds [2,4 m] bouclée dans 3 coudes d'un diamètre d'environ 10 [25 cm]) pour permettre la séparation du réfrigerateur du mur après l'installation.
7. Raccordez la tuyauterie à la VANNE
Placez l'écrou de serrage et la visserie (manche) pour le tuyau de cuivre dans le bout du tuyau et raccordez-le à la vanne de sectionnement. Assurez-vous que la tuyauterie est complètement introduite dans la vanne. Serrez l'écrou fortement.

REMARQUE: Les Codes de plomberie de l'état de Massachusetts 248CMR doivent être respectés. Les vannes du type étrier sont illégales et leur utilisation est interdite dans le Massachusetts. Consultez avec un plombier/agréé.
8. LAVAGE de la tuyauterie
Ouvrez
L'approvisionnement principal d'eau et laissez couler l'eau jusqu'à ce que l'eau soit propre.
Fermez le passage d'eau avec la vanne après avoir laissé s'écouler environ un quart d'eau dans la tuyauterie.

9. Raccordement du TUYAU au refrigerateur
Retrait et remplacement du couvercle de la vanne
REMARQUE: Avant de raccorder la conduite d'eau au réfrigerateur, vérifie que le cordon d'alimentation du réfrigerateur n'est pas branché sur la prise secteur.
- Placez un écrou de serrage et un embout (manchon) à l'extrémité du tuyau.

- Insérez le tuyau à l'intérieur de la vanne puis serrez à l'aide de la clé comme illustré ci-dessous.

ATTENTION: Vérifiez l'absence d'écoulement d'eau au niveau des raccordements des canalisations.
REMARQUE: Raccord du robinet automatique de débit d'eau. Guide du CVC. Au moment de séparer le raccord qui est connecté au robinet, pressez la partie ① et tirez le raccord avec le doigt comme le montre l'image ci-dessous.


10. OUVREZ La VANNE de selectionnement de l'eau
Serrez tous les raccordements représentant des fuites.
Remplace le couvercle d'accès au compartiment du compresseur.

11. Branchez le réfrigérateur
Placez le serpentin de la tuyauterie pour qu’il ne vibre pas contre la partie arrière du réfrigérateur ou contre le mur. Rapprochez le réfrigérateur au mur.
12. Demarrage de la machine a glacons
Positionnez l'interrupteur d'alimentation électrique de la machine à glaçons sur ON. La machine à glaçons commence à fonctionner dès qu'elle a atteint une température de -9°C.
Le fonctionnement commencera alors automatiquement si l'interrupteur de la machine à glaçons est en position I (on).
BRUITS Normaux que vous POUVEZ entendre
Votre nouveau réfrigerateur peut faire des bruits que votre ancien réfrigerateur ne faisait pas. Puisque ces bruits seront nouveaux pour vous, vous pouvez vous en préoccuper. La plupart de ces nouveaux bruits sont normaux. Les surfaces dures, comme le plancher, les murs et les armoires, peuvent augmenter la résonance des bruits. Le guide suivant décrit les types de bruits et quelle peut être leur source.

- La minuterie de décongélation émet un déclic lorsque le cycle de décongélation automatique commence et se termine. La commande du thermostat (ou commande du réfrigerateur, selon le modèle) produit aussi un déclic lorsque son cycle démarre et s'arrête.
- Des crépitements peuvent provenir du flux du réfrigérant, du conduit d'eau ou des produits placés sur le réfrigerateur.
- Voiture réfrigérateur est dessiné pour fonctionner plus efficacement afin de conserver vos aliments à la température désirée.
Le haut rendement du compresseur peut provoquer que votre nouveau réfrigerateur fonctionne plus longtemps que l'ancien et il est possible que vous entendiez un son modulé ou aigu.
Il est possible que vous entendiez le moteur du ventilateur de l'évaporateur faisant circuler l'air à travers les compartiments réfrigérateur et congélateur. - À la fin de chaque cycle, il est possible que vous entendiez un bruit de glouglou produit par la circulation du réfrigérant dans tout le réfrigérateur. - La contraction et l'expansion des parois intérieures peuvent provoquer des bruits d'éclatement. - L'égouttement d'eau dans le radiateur de décongélation pendant le cycle de décongélation peut provoquer un bruit de grésillement. - Il est possible que vous entendiez l'air soufflé par le ventilateur du condenseur, traversant le condenseur. - Il est possible que vous entendiez l'écoulement d'eau vers le bac de drainage pendant le cycle de décongélation. - Il se peut que lors de l'ouverture des portes, vous entendiez le bruit du ventilateur de la machine à glaçons dans le congélateur ou du côté gauche du réfrigérateur.
| Vérifiez si... | Alors... | |
| LE REFRIGERATEUR NE FONCTIONNE PAS | Le cordon d'alimentation est débranché. | • Branchez correctement le cordon à une prise ayant le voltage approprié. |
| Un fusible a sauté ou le disjoncteur a coupé le courant. | • Remplacez le fusible ou réinitialiser le disjoncteur. | |
| La commande du réfrigérateur est régée en position OFF. | • Lisez la section Configurations des commandes à la page 48. | |
| Le réfrigérateur est en cycle de décongélation. | • Attendeze environ 30 minutes jusqu'à la fin du cycle de décongélation. | |
| VIBRATIONS OU CRÉPITÉMENTS | Le réfrigérateur est solidement appuyé sur le plancher. | • Le plancher n'est pas assez solide ou égal ou les pattes de nivellement ont besoin d'un nouveau réglage. Lisez la section Installation à la page 40. |
| L'éCLAIRAGE NE FONCTIONNE PAS | Le cordon d'alimentation est débranché. | • Branchez correctement le cordon à une prise ayant le voltage approprié. |
| L'ampoule d'éclairage n'est pas bien serrée. | • Mettez la commande du réfrigérateur en position OFF et débranchez le réfrigérateur. Remplacez l'ampoule. Branchez le réfrigérateur et réinitialisez la commande du réfrigérateur. | |
| L'ampoule d'éclairage est grillée. | • Remplacez l'ampoule grillée par une autre du même voltage, dimension et forme disponible dans le magasin spécialisé de votre région. (Lisez la section Changement de l'ampoule d'éclairage aux pages 59-60.) Mettez la commande de température en position OFF et débranchez le réfrigérateur avant de remplacer l'ampoule. |
GUIDE de dépannage
| Vérifiez si... | Alors... | |
| LE MOTEUR DU COMPRESSEUR SEMBLE NE PAS FONCTIONNER ASSEZ LONGTEMPS | Le réfrigerateur replacé était un modele plus ancien.La température ambiente est plus haute que la température normale.La porte a été souvent ouverte ou une grande quantité d'aliments a été ajoutée. | Les réfrigerateurs modernes, ayant un espace de stockage plus grand, demandant une période de fonctionnement plus longue.Lé moteur fonctionnera plus longtemps dans des conditions plus chaudes. Dans des températures ambantes normales, le moteur devrait fonctionner environ 40% à 80% du temps. Dans des conditions plus chaudes, il devrait peut-être fonctionner encore plus longtemps.Lé fait d'introduire des alimentés et d'ouvir la porte réchauffe le réfrigerateur.II est normal que le réfrigerateur fonctionne plus longtemps pour pouvoir réfrigerer davantage.Lé fait d'introduire une grande quantité d'aliments réchauffe le réfrigerateur. Lisez la section Guide pour le stockage d'aliments à la page 51. Pour faire des économies d'énergie, essayez de sortir du réfrigerateur tout dont vous ave besoin en une seule fois, gardez les-aliments de façon ordonnée pour qu'il soit plus facile de les trouver et fermez la porte aussiot possible.Lé réfrigerateur tardera 24 heures à réfrigerer complètement.Lisez la section Réglage de la configurationdes commandes à la page 51.Fermez les portes correctement. Si vous ne pouvez pas les fermer complètement, lisez Les portes ne ferment pas à la fin de ce manuel.Cela évite le transfert d'air et oblige le moteur à fonctionner davantage.Nettoyez les serpentins de condensation. Lisez la section Entretien et nettoyage aux pages 59-60. |
| Le réfrigerateur vient d'être branché et la commande du réfrigerateur est réglée correctement.La commande du réfrigerateur n'est pas réglée correctement selon les conditions environnantes.Les portes ne sont pas bien fermées.Les serpentins de condensation sont sales. | ||
| LES PORTES NE FERMENT PAS COMPLÉTEMENT | Le réfrigerateur n'est pas nivélé.II y a des alimentés qui empêchent de bien fermer la porte.Lé bac à glace, le couvercle du bac à légumes, les tiroirs, les tablettes, les balconnets de la porte ou les paniers sont mal places.Les joints sont collés.Lé réfrigerateur se balance ou semble instable.Les portes ont été enlevées pendant l'installation du produit et mal réinstallées. | Lisez Nivellement et alignement de la porte à la page 47.Réordonnez les alimentés et les tablettes.Fermez les bacs correctement et placez le couvercle du bac à légumes, les tiroirs, les tablettes et les paniers correctement. Lisez la section Utilisation de votre Réfrigerateur aux pages 48-58.Nettoyez les joints et leurs surfaces de contact. Appliquée une fine couche de paraffine dans les joints après le nettoyage.Mettez le réfrigerateur à niveau. Lisez la section Nivellement et alignement de la porte à la page 47.Retirez et replacez les portes suivant les sections de Poignées et portes Démontage et remplacement du réfrigerateur aux pages 81-86 ou contactez un technicien qualifié. |
| IL Y A DES CRISTAUX DE GLACE OU DU GIVRE DANS LES ALIMENTSSURGELES | La porte n'est pas bien fermée.La porte est ouverte souvent. | Lisez Les portes ne ferment pas complètement en haut.Si la porte est ouverte, de l'air humide et chaud entre dans le conçélateur, ce qui produit la décongélation. |
GUIDE De depannage
| Vérifiez si... | Alors... | |
| LA GLACE A UN MAUVAIS GOÛT OU ODEUR | La machine à glaçons vient d'être installée. | N'utilisez pas les premiers lots de glaçons pour éviter les glaçons troubles et avec un mauvais goût. |
| La glace a été longtemps stockée. | Jetez lesieux glaçons et replissait le compartment avec de l'eau fraîche. | |
| Les alimentés n'ont pas été bien enveloppés dans leurs comportments. | Emballez les alimentés de nouveau pour éviter que leur odeur se transmette aux glaçons. | |
| L'eau contient des minéraux, tels que le suture. | Il peut être nécessaire un filtre à eau (ou de le replacer) afin d'éliminer les mauvaises odeurs et goûts. | |
| L'intérieur du réfrigérateur a besoin de nettoyage. | Lisez la section Entretien et nettoyage aux pages 59-60. | |
| Le bac à glace a besoin de nettoyage. | Videz et nettoyez le bac. N'utilisez pas les valeurs glaçons. | |
| IL Y A DE L'EAU DANS LE BAC DE DRAINAGE DE DÉCONGÉLATION | Le réfrigerateur est en décongélation. | L'eau sera evaporée. Il est normal que de l'eau tombe dans le bac de décongélation. |
| Il est plus humide que d'habitude. | Il est normal que l'eau du bac de décongélation tarde plus longtemps à être evaporée. Cela est normal lorsqu'il fait chaud ou humide. | |
| IL SEMBLE QUE LE RÉFRIGÉRATEUR FAIT BEAUCOUP DE BRUIT | Les bruits sont normaux dans votre réfrigerateur. | Lisez la section Bruits normaux que vous pouvez entendre à la page 65. |
| LA MACHINE À GLAÇONS NE PRODUIT PAS DE GLACE OU ELLE PREND TROP DE TEMPS À LA PRODUIRE | La température du congeilateur est assez froide pour conduire de la glace. | Attendez 24 heures après la mise en marche pour la production de glace. Lisez la section Configurations des commandes à la page 48. |
| La portec est restée ouverte. | Vérifiez s'il y a qu'elle chose qui garde la portec ouverte. | |
| LES CUBES PRODUITS PAR LA MACHINE À GLAÇONS SONT TRÉS PETITS | La dimension plus petite des cubes est sélectionnée. | Sélectionnez une dimension plus grande des cubes avec le sélectionur de dimension des cubes. |
| La vanne de sectionnement d'eau qui raccorde le réfrigerateur au conduit d'eau est bouchonnée. | Contactez un plombier pour nettoyer la vanne. | |
| IL EST TRÈS DIFFICILE D'OUVRIR LES PORTES | Les joints sont sales ou collants. | Nettoyez les joints et leurs surfaces de contact. Appliquez une fine couche de cire dans les joints après le nettoyage. |
| Vous foulez rouvrir la porte peu de temps après l'avoir ouverte. | Lorsque vous ouvre la porte, de l'air chaud entre dans le réfrigerateur. Le refroidissement brusque de l'air chaud créé un vide. S'il est difficile d'ouvir la porte, attendez 5 minutes pour permettre que la pression d'air s'équilibre et essayez alors de l'ouvir plus facilement. |
GUIDE de dépannage
| Vérifiez si... | Alors... | |
| LA TEMPERATURE EST TRÉS CHAUBE OU IL Y A DE L'HUMIDITÉ INTÉRIEURE | Les conduits de ventilation d'air sont bloqués. L'air circule du congélateur à la section des alimentés frais et revienne à travers les conduits de ventilation de la cloison divisant les deux sections. | Sentez le flux d'air des conduits de ventilation avec votre main et déplacez tous les alimentés qui bloquent les conduits de ventilation et réduisent le flux d'air. |
| Les portes sont ouvertes souvent. | Si la porte est ouverte, de l'air chaud entre dans le réfrigérateur. Plus de temps la porte est ouverte, plus d'humidité yentaera et plus d'air chaud le réfrigérateur devra refroidir. Pour garder le réfrigérateur froid, essayez de sortir du réfrigérateur tout ce dont vous avez besoin en une seule fois, gardez les alimentés de façon ordonnée pour qu'il soit plus facile de les trouver et fermez la porte aussiot possible. | |
| La commande n'est pas réglée correctement selon les conditions environnantes. | Lisez la section Configurations des commandes à la page 48. Attendez 24 heures pour que les températures deviennent stables. Si la température est très froide ou très chaude, composez un seul numéro par fois. | |
| Une grande quantité d'aliments vient d'être introduite dans le réfrigérateur ou dans le congélateur. | Quand vous introduizez des alimentés chauds dans le réfrigérateur, il est possible que le réfrigérateur tardé quelques heures pour reprendre la température normale. | |
| Les alimentés ne sont pas bien emballés. | Emballez les alimentés correctement et essuyez bien les compartments avant de les stocker dans le réfrigérateur pour éviter l'accumulation d'humidity. S'il est nécessaire, remballez les alimentés suivant les instructions de la section Guide pour le stockage d'aliments à la page 51. | |
| Les portes ne sont pas bien fermées. | Lisez Les portes ne ferment pas complètement à la page 66. | |
| Le temps est humide. | Dans un climat humide, l'air transporte de l'humidité vers le réfrigérateur lorsque les portes sont ouvertes. | |
| Un cycle de décongélation automatique vient de se compléter. | La formation de gouttelettes d'eau sur la paroi arrêté est normale après la décongélation du réfrigérateur. |

Élimination de vêture ANCIEN appareil
- Ce symbole, représentant une poubelle sur roulettes barrée d'une croix, signifie que le produit est couvert par la directive européenne 2002/96/EC.
- Les éléments électriques et électroniques doivent être jetés séparément, dans les vide-ordures prévus à cet effet par votre municipalité.
- Une élimination conforme aux instructions aidera à réduire les conséquences négatives et les risques éventuels pour l'environnement et la santé humaine.
- Pour plus d'informations concernant l'élimination de votre ancien appareil, veuillez contacter votre mairie, le service des ordures ménagères ou encore le magasin où vous avez acheté ce produit.
Avertissement important
Réfrigérateurs a
Afin d'éviter tous risques de contamination générés par une mauvaise conservation des produits frais, nous vous recommandons de prendre les précautions élémentaires suivantes
Réglage du thermostat
Le compartiment fraîcheur doit être maintenu à une température maximale de 4°C. Le thermomètre fourni vous permettra de régler cette température et de la contrôler régulièrement.
Positionnement du contrôleur de température
Mettre le thermomètre dans le compartiment fraîcheur de votre appareil
Le schéma ci-après vous permettra de positionner convenablement




Le compartiment fraîcheur est repéré en couleur,
Mettre le thermomètre à l'emplacement indiqué par la flèche
Modalités de réglage
Les indications communiquées ci-après vous permettront d'ajuster la température du compartiment fraîcheur de votre appareil.
Le réglage de la température de votre appareil devra être effectué
- Positionner le témoin de température comme indiqué sur le schéma ci-dessus
- Attendre que la température des aliments soit homogène (12 heures)
Nous vous recommandons d'effectuer le réglage du thermostat le matin de bonne heure car votre réfrigérateur n'a pas été chargé ou ouvert pendant la nuit
- Ajuster le thermostat du réfrigérateur de façon à voir apparaitre l'information dans la fenêtre du thermomètre.
- Recommencer l'opération plusieurs fois jusqu'à atteindre la température idéale de conservation des denrées fragiles (<4 °C)
Remarque
Le thermomètre à une certaine inertie et l'ouverture de la porte du réfrigérateur engendre des variations de température importantes. Aussi, nous vous demandons d'ajuster le réglage du thermostat en respectant un délai de quelques heures entre deux tentatives de réglage (durant ce laps de temps, les portes du réfrigérateur resteront fermées).
Contrôle périodique du réglage de température
Même si vous estimez avoir réglé convenablement le thermostat de votre réfrigérateur,
Laissez en permanence le thermomètre dans votre réfrigérateur. Vérifiez régulièrement si le symbole « OK » est affiché (température inférieure à +4 °C). Au besoin, modifiez le réglage du thermostat de façon à faire apparaître le symbole dans la fenêtre du thermomètre.
Tous les acteurs intervenant entre les producteurs et les consommateurs doivent impérativement préserver la basse température des aliments qu'ils transportent ou conservent.
Vousaussi, vousdevezimpérativement
- Ecourter au maximum le temps de transport des aliments tels que viande, poisson ou aliments cuisinés a base de...
- Garder au frais, les aliments durant le trajet Distributeur / Domicile
- Conserver les alimentés dans un emplacement réfrigéré à une température inférieure à +4 °C
Attention
La température d'un véhicule peut facilement atteindre 30°C.
De ce fait, l'augmentation de la température des alimentés transportés peut influer sur leur fraîcheur.
Au besoin et afin d’éviter tous risques liés à l’augmentation de température des alimentés sensibles, nous vous recommandons d’utiliser des sacs ou récipients isothermes. Si vous insérez un bloc réfrigérant dans un sac isotherme, le risque d’élévation de température des alimentés sera réduit (si le trajet est court).
Respect d'hygiène et de sécurité
Votre réfrigérateur conserve des denrées périssables, qui peuvent entrer en contact entre elles ou avec les parois de l'appareil.
Vous devez impérativement respecter les dates de péremption (indiquées sur la majorité des emballages des denrées périssables) et jeter les aliments ayant tournés, rassis ou suspects comme tel (couleur d'origine modifiée, moisissure apparaisant en surface, odeur suspecte...)
Toutes les surfaces du compartiment réfrigérateur de votre appareil doivent être régulièrement nettoyées et désinfectées.
Vous pouvez utiliser des lingettes (imbibées d'un produit nettoyant et désinfectant spécifique) ou un chiffon doux imbibé de produit nettoyant (solvants à proscrire).
Dernières recommandations
Utilisez exclusivement le thermomètre fourni par le constructeur et respectez scrupuleusement les consignes qui vous ont été. Réclamez un thermomètre à votre distributeur si votre réfrigérateur en est dépourvu.
Notice Facile